WO2015177942A1 - 無電極プラズマを加速するmpdスラスタ、及び、mpdスラスタを用いて無電極プラズマを加速する方法 - Google Patents

無電極プラズマを加速するmpdスラスタ、及び、mpdスラスタを用いて無電極プラズマを加速する方法 Download PDF

Info

Publication number
WO2015177942A1
WO2015177942A1 PCT/JP2014/072147 JP2014072147W WO2015177942A1 WO 2015177942 A1 WO2015177942 A1 WO 2015177942A1 JP 2014072147 W JP2014072147 W JP 2014072147W WO 2015177942 A1 WO2015177942 A1 WO 2015177942A1
Authority
WO
WIPO (PCT)
Prior art keywords
electrodeless plasma
cathode
mpd thruster
plasma
mpd
Prior art date
Legal status (The legal status is an assumption and is not a legal conclusion. Google has not performed a legal analysis and makes no representation as to the accuracy of the status listed.)
Ceased
Application number
PCT/JP2014/072147
Other languages
English (en)
French (fr)
Japanese (ja)
Inventor
拓也 山▲崎▼
清水 宏文
哲 藤原
章弘 佐宗
横田 茂
翔太 原田
輝明 馬場
Current Assignee (The listed assignees may be inaccurate. Google has not performed a legal analysis and makes no representation or warranty as to the accuracy of the list.)
Nagoya University NUC
Mitsubishi Heavy Industries Ltd
Original Assignee
Nagoya University NUC
Mitsubishi Heavy Industries Ltd
Priority date (The priority date is an assumption and is not a legal conclusion. Google has not performed a legal analysis and makes no representation as to the accuracy of the date listed.)
Filing date
Publication date
Application filed by Nagoya University NUC, Mitsubishi Heavy Industries Ltd filed Critical Nagoya University NUC
Priority to EP14892356.8A priority Critical patent/EP3139041B1/en
Priority to US15/313,746 priority patent/US10260487B2/en
Publication of WO2015177942A1 publication Critical patent/WO2015177942A1/ja
Anticipated expiration legal-status Critical
Ceased legal-status Critical Current

Links

Images

Classifications

    • FMECHANICAL ENGINEERING; LIGHTING; HEATING; WEAPONS; BLASTING
    • F03MACHINES OR ENGINES FOR LIQUIDS; WIND, SPRING, OR WEIGHT MOTORS; PRODUCING MECHANICAL POWER OR A REACTIVE PROPULSIVE THRUST, NOT OTHERWISE PROVIDED FOR
    • F03HPRODUCING A REACTIVE PROPULSIVE THRUST, NOT OTHERWISE PROVIDED FOR
    • F03H1/00Using plasma to produce a reactive propulsive thrust
    • F03H1/0081Electromagnetic plasma thrusters
    • HELECTRICITY
    • H01ELECTRIC ELEMENTS
    • H01JELECTRIC DISCHARGE TUBES OR DISCHARGE LAMPS
    • H01J27/00Ion beam tubes
    • H01J27/02Ion sources; Ion guns
    • H01J27/16Ion sources; Ion guns using high-frequency excitation, e.g. microwave excitation
    • HELECTRICITY
    • H05ELECTRIC TECHNIQUES NOT OTHERWISE PROVIDED FOR
    • H05HPLASMA TECHNIQUE; PRODUCTION OF ACCELERATED ELECTRICALLY-CHARGED PARTICLES OR OF NEUTRONS; PRODUCTION OR ACCELERATION OF NEUTRAL MOLECULAR OR ATOMIC BEAMS
    • H05H1/00Generating plasma; Handling plasma
    • H05H1/24Generating plasma
    • H05H1/46Generating plasma using applied electromagnetic fields, e.g. high frequency or microwave energy
    • HELECTRICITY
    • H05ELECTRIC TECHNIQUES NOT OTHERWISE PROVIDED FOR
    • H05HPLASMA TECHNIQUE; PRODUCTION OF ACCELERATED ELECTRICALLY-CHARGED PARTICLES OR OF NEUTRONS; PRODUCTION OR ACCELERATION OF NEUTRAL MOLECULAR OR ATOMIC BEAMS
    • H05H1/00Generating plasma; Handling plasma
    • H05H1/54Plasma accelerators
    • HELECTRICITY
    • H05ELECTRIC TECHNIQUES NOT OTHERWISE PROVIDED FOR
    • H05HPLASMA TECHNIQUE; PRODUCTION OF ACCELERATED ELECTRICALLY-CHARGED PARTICLES OR OF NEUTRONS; PRODUCTION OR ACCELERATION OF NEUTRAL MOLECULAR OR ATOMIC BEAMS
    • H05H1/00Generating plasma; Handling plasma
    • H05H1/24Generating plasma
    • H05H1/46Generating plasma using applied electromagnetic fields, e.g. high frequency or microwave energy
    • H05H1/4645Radiofrequency discharges
    • H05H1/4652Radiofrequency discharges using inductive coupling means, e.g. coils

Definitions

  • the present invention relates to an MPD thruster for accelerating an electrodeless plasma and a method for accelerating the electrodeless plasma using an MPD thruster.
  • An MPD thruster Magnetic-Plasma-Dynamic thruster
  • FIG. 1 shows an example of an MPD thruster.
  • the exemplary MPD thruster generates plasma by ionizing the propellant (gas) by arc discharge. Then, a Lorentz force is generated by the current flowing between the anode arranged on the outer peripheral side of the thruster and the cathode arranged on the center side, and a magnetic field generated by the current (or a magnetic field applied in advance). . The generated plasma is accelerated by the Lorentz force.
  • Patent Document 1 discloses an electric propulsion device that obtains thrust by discharging plasma formed by arc discharge from a nozzle.
  • Patent Document 2 discloses an ion engine that selectively accelerates charged particles formed by discharge using a screen electrode and an acceleration electrode.
  • the MPD thruster includes an electrodeless plasma generation device that generates electrodeless plasma from a propellant, an acceleration device that accelerates the electrodeless plasma, and a supply that supplies the generated electrodeless plasma to the acceleration device.
  • the acceleration device includes a magnetic coil, a cathode, an anode, and a voltage application device that applies a voltage between the cathode and the anode.
  • the supply path supplies the electrodeless plasma to a space between the cathode and the anode.
  • the magnetic coil generates an axial magnetic field component along the direction of the central axis of the magnetic coil and a radial magnetic field component orthogonal to the central axis in the space.
  • the voltage application device generates a current in the space.
  • the electrodeless plasma supplied to the space accelerates the electrodeless plasma by a Lorentz force induced by the axial magnetic field component, the radial magnetic field component, and the current.
  • the method of accelerating the electrodeless plasma in the present invention is a method of accelerating the electrodeless plasma using an MPD thruster.
  • the method of accelerating the electrodeless plasma includes a step of supplying an electrodeless plasma to a space between a cathode and an anode to lower an electrical resistivity in the space, and a direction of a central axis of the MPD thruster in the space. Generating a radial magnetic field component perpendicular to the central axis, generating a current in the space, the axial magnetic field component and the radial magnetic field component, and the current And accelerating the electrodeless plasma by a Lorentz force induced by.
  • the above configuration provides an MPD thruster that can suppress power supply, reduce electrode wear, and improve propulsion efficiency.
  • FIG. 1 is a cross-sectional view schematically showing a configuration of a conventional MPD thruster.
  • FIG. 2A is a cross-sectional view schematically showing the configuration of the MPD thruster according to the first embodiment of the present invention.
  • 2B is a cross-sectional view taken along the line AA in FIG. 2A.
  • 2C is a cross-sectional view taken along the line CC of FIG. 2A.
  • FIG. 3A is a cross-sectional view schematically showing a configuration of an MPD thruster according to the second embodiment of the present invention.
  • FIG. 3B is a cross-sectional view taken along the line AA in FIG. 3A.
  • FIG. 4 is a perspective view of the MPD thruster according to the second embodiment, in which a part of the thruster is cut away.
  • FIG. 5A is a diagram illustrating a first example of an antenna (plasma generating antenna).
  • FIG. 5B is a diagram illustrating a second example of an antenna (plasma generating antenna).
  • FIG. 5C is a diagram illustrating a third example of the antenna (plasma generating antenna).
  • FIG. 5D is a diagram illustrating a fourth example of the antenna (plasma generating antenna).
  • FIG. 5E is a diagram illustrating a fifth example of an antenna (plasma generating antenna).
  • FIG. 5A is a diagram illustrating a first example of an antenna (plasma generating antenna).
  • FIG. 5B is a diagram illustrating a second example of an antenna (plasma generating antenna).
  • FIG. 5C is a diagram illustrating
  • FIG. 5F is a diagram illustrating a sixth example of the antenna (plasma generating antenna).
  • FIG. 6 is a functional block diagram showing an example of an antenna operating device in the second embodiment of the present invention.
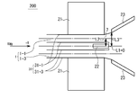
  • FIG. 7 is a schematic diagram showing the positional relationship between the supply path, the cathode, and the anode and the positional relationship between the supply path, the antenna, and the magnetic coil in the embodiment of the present invention.
  • FIG. 8 is a cross-sectional view showing a modified example of the supply path in the embodiment of the present invention, and is a cross-sectional view perpendicular to the X axis.
  • the coordinate system is defined with reference to FIGS. 2A and 3A.
  • the X direction is the front-rear direction of the MPD thrusters 100, 200, and the + X direction means the rear direction of the MPD thrusters 100, 200, that is, the nozzle side direction.
  • the ⁇ direction is the rotation direction around the X axis, which is the central axis of the MPD thrusters 100 and 200, and the + ⁇ direction means clockwise when viewed in the + X direction.
  • the + X direction side is defined as “downstream side”, and the ⁇ X direction side is defined as “upstream side”.
  • electrodeless plasma is defined as plasma generated by an electrodeless plasma generator.
  • An “electrodeless plasma generation apparatus” is defined as a plasma generation apparatus in which an electrode and plasma are not in direct contact in the plasma generation process.
  • FIG. 2A is a cross-sectional view schematically showing the configuration of the MPD thruster 100 according to the first embodiment.
  • 2B and 2C are a cross-sectional view taken along the line AA in FIG. 2A and a cross-sectional view taken along the line CC in FIG. 2A, respectively.
  • the MPD thruster 100 includes a supply path 1 for supplying electrodeless plasma, an acceleration device 2, and an electrodeless plasma generation device (not shown).
  • the supply path 1 includes, for example, four supply pipes 1-1, 1-2, 1-3, and 1-4.
  • the number of supply pipes is not limited to four and is arbitrary.
  • the inner diameter of the supply pipe may be 20 mm or more and 100 mm or less.
  • the supply pipes are preferably arranged at equal intervals around the cathode 22 described later.
  • the cathode 22 and the supply pipe may be separated so as not to contact each other.
  • a propellant is supplied into the supply path 1.
  • the propellant is, for example, a gas such as argon gas or xenon gas.
  • the propellant supplied to the supply path 1 is ionized (plasmaized) into positive ions P + and electrons e ⁇ by an electrodeless plasma generator, and electrodeless plasma is generated.
  • the electrodeless plasma generation apparatus may be any apparatus as long as it generates an electrodeless plasma.
  • the electrodeless plasma generated in advance by the electrodeless plasma generator may be supplied to the supply path 1.
  • the electrodeless plasma in the supply path 1 is supplied to the acceleration device 2. More specifically, the electrodeless plasma is supplied to the space S between the cathode 22 and the anode 23.
  • the acceleration device 2 includes a magnetic coil 21, a cathode 22, an anode 23, and a voltage application device 24.
  • the magnetic coil 21 is disposed so as to surround the supply path 1. In other words, the supply path 1 crosses the central region of the magnetic coil 21.
  • the central region of the magnetic coil 21 means a hollow region inside the inner diameter of the magnetic coil 21.
  • the central axis of the magnetic coil 21 preferably coincides with the X axis.
  • the magnetic coil 21 generates a magnetic field B in the space S between the cathode 22 and the anode 23.
  • Magnetic field B includes an axial magnetic field component B x is a component along the central axis of the magnetic coil 21 (X-axis), a radial magnetic field component B y is a component orthogonal to the central axis (X-axis).
  • the cathode 22 emits electrons.
  • the cathode 22 is preferably a hollow cathode with fine pores.
  • the anode 23 is disposed on the downstream side of the cathode.
  • the anode 23 is preferably constituted by a plate constituting at least a part of the inner surface of the nozzle 25.
  • the anode 23 may be constituted by a combination of divided bodies divided into a plurality of parts.
  • the nozzle 25 is preferably a nozzle having an inclined inner surface that expands toward the downstream side.
  • the voltage application device 24 applies a voltage between the cathode 22 and the anode 23, and generates a current I ac between the cathode 22 and the anode 23, that is, in the space S.
  • the wiring for connecting the voltage application device 24 and the cathode 22 and the wiring for connecting the voltage application device 24 and the anode 23 are described for the sake of convenience. . Therefore, the actual wiring arrangement is not limited to the arrangement shown in FIG.
  • the current Iac is a discharge current when a hollow cathode is not used.
  • the current I ac is a current based on the flow of thermoelectrons emitted from the hollow cathode.
  • the acceleration device 2 accelerates the electrodeless plasma supplied from the supply path 1 toward the downstream side by the Lorentz force induced by the magnetic field B and the current Iac .
  • the hollow cathode includes an insert made of a chemical substance.
  • the insert When this insert is heated by, for example, a heating device, the insert emits thermoelectrons.
  • the emitted thermoelectrons collide with the working gas supplied into the hollow cathode and generate plasma in the hollow cathode.
  • a positive electrode is disposed at the cathode outlet, electrons are emitted from the plasma to the outside of the cathode.
  • the insert is heated using a heating device. Once the cathode is activated, electrons can be emitted by the heat generated by the plasma.
  • Electrodeless plasma (positive ions P + and electrons e ⁇ ) is supplied from the supply path 1 to the space S between the cathode 22 and the anode 23. With this supply, the electrical resistivity of the space S between the cathode 22 and the anode 23 decreases.
  • the magnetic coil 21 by activating the magnetic coil 21, the space S, the magnetic field B comprising an axial magnetic field component B x and the radial magnetic field component B y is produced.
  • Voltage and power are applied between the cathode 22 and the anode 23, and a current Iac flows in the space S.
  • the current Iac may be a discharge current between the cathode 22 and the anode 23, or may be a current based on the flow of thermoelectrons emitted from the hollow cathode. Since the electrical resistivity of the space S is reduced, the applied voltage and power can be reduced as compared with a conventional MPD thruster. In addition, the order which starts the process of said (1), (2), (3) is arbitrary. Moreover, you may start the process of said (1), (2), (3) simultaneously. (4) Part of the electrons e ⁇ (electrons emitted from the cathode 22 and electrons contained in the electrodeless plasma) existing in the space S are captured by the anode 23 (responsible for the current Iac ).
  • the electrodeless plasma supplied from the supply path 1 is plasma generated without direct contact between the electrode and the plasma in the plasma generation process.
  • Such electrodeless plasma is generally accelerated using an acceleration device in which the electrode and the plasma do not contact each other.
  • the electrodeless plasma is accelerated by the acceleration device 2 provided with electrodes (anode and cathode) in contact with the plasma.
  • electrodeless plasma is used.
  • the cation density of the electrodeless plasma is not only higher than that of the plasma generated by arc discharge, but the latter has a high density region only in a very limited region called the positive column.
  • the former can form a high-density region over almost the entire discharge region. For this reason, the ratio of cations that can be generated can be about 100 times that of arc discharge, and as a result, a large thrust of the MPD thruster can be achieved.
  • the electrodeless plasma is supplied from the supply path 1. For this reason, the process which plasma-forms a propellant using an arc discharge or a thermal electron in an accelerator is unnecessary. As a result, the propulsion efficiency of the MPD thruster is improved.
  • MPD thrusters may use arc discharge for plasma generation. In order to generate arc discharge, large electric power is required. Further, since large electric power is input, the temperature of the thruster itself tends to be high. For this reason, it may be difficult for the MPD thruster to achieve steady operation. Therefore, the MPD thruster has a low propulsion efficiency and may be difficult to apply to a spacecraft with limited power supply and exhaust heat.
  • the MPD thruster 200 includes a supply path 1 for supplying electrodeless plasma, an acceleration device 2, and an electrodeless plasma generation device 3.
  • FIG. 3A is a cross-sectional view schematically showing the configuration of the MPD thruster 200 of the second embodiment.
  • 3B is a cross-sectional view taken along the line AA in FIG. 3A.
  • FIG. 4 is a perspective view of the MPD thruster 200 according to the second embodiment, in which a part of the thruster is cut away.
  • 5A to 5F are diagrams illustrating first to sixth examples of antennas (plasma generating antennas).
  • FIG. 6 is a functional block diagram illustrating an example of an antenna operating device.
  • the electrodeless plasma generator 3 includes a magnetic coil 21 and an antenna 31.
  • the magnetic coil is a component of the acceleration device 2 and a component of the electrodeless plasma generator 3.
  • the antenna 31 preferably includes a plurality of antennas 31-1, 31-2, 31-3, 31-4.
  • the plurality of antennas 31-1, 31-2, 31-3, 31-4 are respectively arranged around the plurality of supply pipes 1-1, 1-2, 1-3, 1-4.
  • the magnetic coil 21 is arranged so as to surround the supply pipes 1-1, 1-2, 1-3, 1-4 and the antennas 31-1, 31-2, 31-3, 31-4. In other words, the supply pipes 1-1, 1-2, 1-3, 1-4 around which the antenna is arranged cross the central region of the magnetic coil 21.
  • the supply path 1 (or supply pipe) around which the antenna 31 is arranged is supported by support mechanisms 32, 33, and 34.
  • the support mechanism 32 is a downstream support mechanism
  • the support mechanism 33 is a central support mechanism
  • the support mechanism 34 is an upstream support mechanism.
  • Each of the support mechanisms 32, 33, and 34 also has a function as a spacer that supports each supply path 1 (or each supply pipe) and the cathode 22 separately.
  • the antenna 31 is a high frequency antenna.
  • a helicon wave is generated by the interaction between the electric field induced by the high-frequency antenna and the axial magnetic field B t generated by the magnetic coil 21 (see FIG. 3A).
  • the helicon wave acts on the propellant supplied to the supply path 1 to turn the propellant into plasma.
  • helicon plasma which is electrodeless plasma is generated. Since helicon plasma can be generated at high density, it is preferable to use helicon plasma as electrodeless plasma.
  • FIG. 5A shows a first example of an antenna.
  • the antenna of the first example is a loop antenna.
  • FIG. 5B shows a second example of the antenna.
  • the antenna of the second example is a Boswell antenna.
  • FIG. 5C shows a third example of the antenna.
  • the antenna of the third example is a saddle type antenna.
  • FIG. 5D shows a fourth example of the antenna.
  • the antenna of the fourth example is a Nagoya type 3 type antenna.
  • a plurality of modes can be selected by changing the phase between the four coil currents.
  • FIG. 5E shows a fifth example of the antenna.
  • the antenna of the fifth example is a helical antenna.
  • FIG. 5F shows a sixth example of the antenna.
  • the antenna of the sixth example is a spiral antenna.
  • the antenna can be applied to a large-diameter plasma supply path.
  • the antenna operating device may include antennas 31-1, 31-2, 31-3, 31-4, an impedance matching unit 35, and a power supply device 36.
  • the impedance matching unit 35 is for matching the input impedance on the power supply device 36 side with the load impedance on the antennas 31-1, 31-2, 31-3, 31-4 side.
  • one power supply device 36 drives the plurality of antennas 31-1, 31-2, 31-3, 31-4 via the impedance matching unit 35.
  • the number of power supply devices 36 is preferably one, but is not limited to one.
  • the operation principle of the MPD thruster 200 in this embodiment is specified to use the magnetic coil 21 and the antenna 31 for generating electrodeless plasma, compared with the operation principle of the MPD thruster 100 in the first embodiment. It is different in point.
  • (1) The propellant is supplied to the supply path 1.
  • (3) The generated electrodeless plasma is supplied from the supply path 1 to the space S between the cathode 22 and the anode 23.
  • the operation principle after the electrodeless plasma is supplied to the space S is the same as the operation principle of the first embodiment.
  • electrodeless plasma is generated using the magnetic coil 21 of the acceleration device 2. That is, the acceleration magnetic field and the electrodeless plasma generation magnetic field are generated using the same magnetic coil 21. For this reason, the weight of the MPD thruster can be reduced. Moreover, the electric power required for the operation of the magnetic coil can be reduced. As a result, the propulsion efficiency of the MPD thruster is improved.
  • the density of cations can be further increased. As a result, it is possible to increase the thrust of the MPD thruster.
  • the weight of the thruster is reduced.
  • the position of the outlet 7 of the supply path 1 is preferably upstream of the position of the anode 23.
  • the position of the cathode 22 is preferably upstream of the position of the anode 23.
  • a distance L2 between the supply path 1 (center of each supply path) and the central axis (X axis) of the magnetic coil 21 is a distance L1 between the cathode 22 (center of the cathode 22) and the central axis (X axis) of the magnetic coil 21. Larger is preferred.
  • the distance L1 between the cathode 22 (the center of the cathode 22) and the central axis (X axis) of the magnetic coil 21 is zero, and the cathode 22 is preferably arranged along the central axis.
  • the distance L2 between the supply path 1 (the center of each supply path) and the central axis (X axis) of the magnetic coil 21 is the anode 23 (the part of the anode 23 closest to the central axis of the coil) and the magnetic coil. It is preferable that the distance L3 to the center axis (X axis) 21 is smaller than L3.
  • the radial magnetic field component B y perpendicular to the axial magnetic field component along the direction of the central axis of the magnetic coil 21 B x and the central axis is preferably generated.
  • the MPD thruster apparatus configuration can be made compact.
  • the axial magnetic field Bt is suitably generated inside the supply path 1 corresponding to the position of the antenna 31, and the generation efficiency of the electrodeless plasma is improved.
  • FIG. 8 is a cross-sectional view showing a modification of the supply path 1 and is a cross-sectional view perpendicular to the X axis.
  • the electrodeless plasma supply path 1 it is possible to arrange a supply path having a ring-shaped cross section instead of arranging a plurality of supply paths around the cathode 22.

Landscapes

  • Engineering & Computer Science (AREA)
  • Physics & Mathematics (AREA)
  • Plasma & Fusion (AREA)
  • Chemical & Material Sciences (AREA)
  • Combustion & Propulsion (AREA)
  • Spectroscopy & Molecular Physics (AREA)
  • Electromagnetism (AREA)
  • Mechanical Engineering (AREA)
  • General Engineering & Computer Science (AREA)
  • Plasma Technology (AREA)
PCT/JP2014/072147 2014-05-23 2014-08-25 無電極プラズマを加速するmpdスラスタ、及び、mpdスラスタを用いて無電極プラズマを加速する方法 Ceased WO2015177942A1 (ja)

Priority Applications (2)

Application Number Priority Date Filing Date Title
EP14892356.8A EP3139041B1 (en) 2014-05-23 2014-08-25 Magnetoplasmadynamic (mpd) thruster that accelerates electrodeless plasma, and electrodeless plasma accelerating method using mpd thruster
US15/313,746 US10260487B2 (en) 2014-05-23 2014-08-25 MPD thruster that accelerates electrodeless plasma and electrodeless plasma accelerating method using MPD thruster

Applications Claiming Priority (2)

Application Number Priority Date Filing Date Title
JP2014107583A JP6467659B2 (ja) 2014-05-23 2014-05-23 無電極プラズマを加速するmpdスラスタ、及び、mpdスラスタを用いて無電極プラズマを加速する方法
JP2014-107583 2014-05-23

Publications (1)

Publication Number Publication Date
WO2015177942A1 true WO2015177942A1 (ja) 2015-11-26

Family

ID=54553632

Family Applications (1)

Application Number Title Priority Date Filing Date
PCT/JP2014/072147 Ceased WO2015177942A1 (ja) 2014-05-23 2014-08-25 無電極プラズマを加速するmpdスラスタ、及び、mpdスラスタを用いて無電極プラズマを加速する方法

Country Status (4)

Country Link
US (1) US10260487B2 (enExample)
EP (1) EP3139041B1 (enExample)
JP (1) JP6467659B2 (enExample)
WO (1) WO2015177942A1 (enExample)

Cited By (3)

* Cited by examiner, † Cited by third party
Publication number Priority date Publication date Assignee Title
CN112943572A (zh) * 2021-03-23 2021-06-11 哈尔滨工业大学 一种改变霍尔推力器磁场后加载程度的磁路结构
GB2600493A (en) * 2020-11-03 2022-05-04 Neutronstar Systems Ug Propulsion unit for spacecraft
CN118622633A (zh) * 2024-06-25 2024-09-10 哈尔滨工业大学 一种新型微阴极电弧推力器及其加速方法

Families Citing this family (7)

* Cited by examiner, † Cited by third party
Publication number Priority date Publication date Assignee Title
JP6745134B2 (ja) * 2016-05-12 2020-08-26 東京エレクトロン株式会社 プラズマ処理装置
WO2019075051A1 (en) * 2017-10-10 2019-04-18 The George Washington University MICRO-SYSTEM OF PROPULSION
WO2021221767A2 (en) * 2020-02-26 2021-11-04 The George Washington University Two-stage low-power and high-thrust to power electric propulsion system
CN113217316B (zh) * 2021-05-14 2022-09-30 兰州空间技术物理研究所 一种基于Kaufman型离子推力器的推力调节方法及卫星应用
WO2022243543A1 (en) * 2021-05-20 2022-11-24 Neutronstar Systems Ug Thermal management system for spacecraft thruster
CN115013273B (zh) * 2022-05-06 2025-04-04 北京航空航天大学 一种场反构型脉冲等离子体推力器
CN119110473B (zh) * 2024-10-14 2025-09-12 兰州空间技术物理研究所 用于等离子体团加速性能提升的径向磁场增强方法及装置

Citations (2)

* Cited by examiner, † Cited by third party
Publication number Priority date Publication date Assignee Title
US3191092A (en) * 1962-09-20 1965-06-22 William R Baker Plasma propulsion device having special magnetic field
US6334302B1 (en) * 1999-06-28 2002-01-01 The United States Of America As Represented By The Administrator Of The National Aeronautics And Space Administration Variable specific impulse magnetoplasma rocket engine

Family Cites Families (13)

* Cited by examiner, † Cited by third party
Publication number Priority date Publication date Assignee Title
US3845300A (en) * 1973-04-18 1974-10-29 Atomic Energy Commission Apparatus and method for magnetoplasmadynamic isotope separation
US4866929A (en) * 1988-03-09 1989-09-19 Olin Corporation Hybrid electrothermal/electromagnetic arcjet thruster and thrust-producing method
JPH0545797A (ja) 1991-08-08 1993-02-26 Mitsubishi Paper Mills Ltd 帯電防止されたハロゲン化銀写真感光材料
US5357747A (en) * 1993-06-25 1994-10-25 The United States Of America As Represented By The Administrator Of The National Aeronautics And Space Administration Pulsed mode cathode
IL118638A (en) * 1996-06-12 2002-02-10 Fruchtman Amnon Beam source
US7400096B1 (en) * 2004-07-19 2008-07-15 The United States Of America As Represented By The Administrator Of The National Aeronautics And Space Administration Large area plasma source
JP2006147449A (ja) * 2004-11-24 2006-06-08 Japan Aerospace Exploration Agency 高周波放電プラズマ生成型二段式ホール効果プラズマ加速器
US7506497B2 (en) * 2005-03-31 2009-03-24 University Of Florida Research Foundation, Inc. Electric propulsion device for high power applications
US7436122B1 (en) * 2005-05-18 2008-10-14 Aerojet-General Corporation Helicon hall thruster
US8593064B2 (en) * 2007-02-16 2013-11-26 Ad Astra Rocket Company Plasma source improved with an RF coupling system
JP4925132B2 (ja) 2007-09-13 2012-04-25 公立大学法人首都大学東京 荷電粒子放出装置およびイオンエンジン
WO2015031450A1 (en) * 2013-08-27 2015-03-05 The Regents Of The University Of Michigan Electrodeless plasma thruster
JP6318447B2 (ja) * 2014-05-23 2018-05-09 三菱重工業株式会社 プラズマ加速装置及びプラズマ加速方法

Patent Citations (2)

* Cited by examiner, † Cited by third party
Publication number Priority date Publication date Assignee Title
US3191092A (en) * 1962-09-20 1965-06-22 William R Baker Plasma propulsion device having special magnetic field
US6334302B1 (en) * 1999-06-28 2002-01-01 The United States Of America As Represented By The Administrator Of The National Aeronautics And Space Administration Variable specific impulse magnetoplasma rocket engine

Non-Patent Citations (6)

* Cited by examiner, † Cited by third party
Title
AKIRA ANDO: "4. The Challenge of High Power Plasma Thruster for Manned Space Exploration (Fusion Technology Pioneers New Fields in Space Exploration, Front Runner", JOURNAL OF PLASMA AND FUSION RESEARCH, vol. 83, no. 3, 25 March 2007 (2007-03-25), pages 276 - 280, XP055341894 *
KAZUAKI MIYAMOTO: "Characterization of a helicon plasma thruster using multipole magnetic field", THE INSTITUTE OF ELECTRICAL ENGINEERS OF JAPAN KENKYUKAI SHIRYO PST-12-049 TO 067, 8 August 2012 (2012-08-08), pages 63 - 67, XP008183102 *
KENJI MIYAZAKI: "Dai Denryoku MPD Thruster no Jikkenteki Kenkyu", HEISEI 25 NENDO SPACE PLASMA KENKYUKAI - KOENSHU, JAPAN AEROSPACE EXPLORATION AGENCY, 27 February 2014 (2014-02-27), pages 1 - 4, XP008183990 *
NAOYA KINOSHITA: "27pA08P Experimental Study on ICRF Heating For A Plasma Propulsion System", DAI 18 KAI THE JAPAN SOCIETY OF PLASMA SCIENCE AND NUCLEAR FUSION RESEARCH, 20 November 2001 (2001-11-20), pages 44, XP055341903 *
SHUNJIRO SHINOHARA: "Helicon Plasma-gen no Kaihatsu to Oyo -Koiki Plasma Kagaku eno Tenkai", NIPPON BUTSURI GAKKAISHI, vol. 64, no. 7, 5 July 2009 (2009-07-05), pages 519 - 526, XP055341876 *
TOMOYA SUZUKI: "Research and Development of High- Power Permanent-Magnet Applied-Field MPD Thrusters with Multi-Hollow Cathodes", DAI 57 KAI PROCEEDINGS OF SPACE SCIENCES AND TECHNOLOGY CONFERENCE, 9 October 2013 (2013-10-09), pages 1 - 6, XP008183103 *

Cited By (5)

* Cited by examiner, † Cited by third party
Publication number Priority date Publication date Assignee Title
GB2600493A (en) * 2020-11-03 2022-05-04 Neutronstar Systems Ug Propulsion unit for spacecraft
CN112943572A (zh) * 2021-03-23 2021-06-11 哈尔滨工业大学 一种改变霍尔推力器磁场后加载程度的磁路结构
CN112943572B (zh) * 2021-03-23 2021-10-15 哈尔滨工业大学 一种改变霍尔推力器磁场后加载程度的磁路结构
CN118622633A (zh) * 2024-06-25 2024-09-10 哈尔滨工业大学 一种新型微阴极电弧推力器及其加速方法
CN118622633B (zh) * 2024-06-25 2025-09-05 哈尔滨工业大学 一种新型微阴极电弧推力器及其加速方法

Also Published As

Publication number Publication date
EP3139041A1 (en) 2017-03-08
EP3139041B1 (en) 2020-07-01
US20170198683A1 (en) 2017-07-13
EP3139041A4 (en) 2017-05-10
JP2015222069A (ja) 2015-12-10
JP6467659B2 (ja) 2019-02-13
US10260487B2 (en) 2019-04-16

Similar Documents

Publication Publication Date Title
JP6467659B2 (ja) 無電極プラズマを加速するmpdスラスタ、及び、mpdスラスタを用いて無電極プラズマを加速する方法
JP6318447B2 (ja) プラズマ加速装置及びプラズマ加速方法
CN110500250B (zh) 一种螺旋波电磁加速等离子体源
JP6120878B2 (ja) プラズマ推進機およびプラズマ推進力を生成するための方法
US9234510B2 (en) Hall effect thruster
US7294969B2 (en) Two-stage hall effect plasma accelerator including plasma source driven by high-frequency discharge
US9897079B2 (en) External discharge hall thruster
JP6583684B2 (ja) プラズマ加速装置およびプラズマ加速方法
JP2015222069A5 (enExample)
JP2008223655A (ja) ホール型電気推進機
JP6668281B2 (ja) イオン源及びイオンビーム発生方法
JP2017123310A5 (enExample)
KR100876052B1 (ko) 뉴트럴라이저 형태의 고주파 전자 소스
CN115898802B (zh) 霍尔推力器、包括其的空间设备及其使用方法
CN115355145B (zh) 一种基于气体场电离增强的微牛级变推力器
Hatakeyama et al. Preliminary study on radio frequency neutralizer for ion engine
RU2682962C1 (ru) Ионный ракетный двигатель космического аппарата
JP6693967B2 (ja) ホール効果スラスタ
JP2018503774A5 (enExample)
Ichihara et al. Thrust Density Enhancement in an electrostatic–magnetic hybrid Thruster
Raitses et al. Effects of cathode electron emission of Hall thruster discharge
Nakano et al. Feasibility study of a low-power applied-field MPD arcjet
Raitses et al. Optimization of cylindrical hall thrusters
Raitses et al. Effect of the magnetic field on the plasma plume of the cylindrical Hall thruster with permanent magnets
JPH029952A (ja) 電気推進装置

Legal Events

Date Code Title Description
121 Ep: the epo has been informed by wipo that ep was designated in this application

Ref document number: 14892356

Country of ref document: EP

Kind code of ref document: A1

NENP Non-entry into the national phase

Ref country code: DE

WWE Wipo information: entry into national phase

Ref document number: 15313746

Country of ref document: US

REEP Request for entry into the european phase

Ref document number: 2014892356

Country of ref document: EP

WWE Wipo information: entry into national phase

Ref document number: 2014892356

Country of ref document: EP