WO2015162996A1 - 電池モジュール - Google Patents
電池モジュール Download PDFInfo
- Publication number
- WO2015162996A1 WO2015162996A1 PCT/JP2015/055644 JP2015055644W WO2015162996A1 WO 2015162996 A1 WO2015162996 A1 WO 2015162996A1 JP 2015055644 W JP2015055644 W JP 2015055644W WO 2015162996 A1 WO2015162996 A1 WO 2015162996A1
- Authority
- WO
- WIPO (PCT)
- Prior art keywords
- battery
- battery cells
- bus bar
- connection bus
- pair
- Prior art date
- Legal status (The legal status is an assumption and is not a legal conclusion. Google has not performed a legal analysis and makes no representation as to the accuracy of the status listed.)
- Ceased
Links
Images
Classifications
-
- H—ELECTRICITY
- H01—ELECTRIC ELEMENTS
- H01M—PROCESSES OR MEANS, e.g. BATTERIES, FOR THE DIRECT CONVERSION OF CHEMICAL ENERGY INTO ELECTRICAL ENERGY
- H01M10/00—Secondary cells; Manufacture thereof
- H01M10/05—Accumulators with non-aqueous electrolyte
- H01M10/052—Li-accumulators
- H01M10/0525—Rocking-chair batteries, i.e. batteries with lithium insertion or intercalation in both electrodes; Lithium-ion batteries
-
- H—ELECTRICITY
- H01—ELECTRIC ELEMENTS
- H01M—PROCESSES OR MEANS, e.g. BATTERIES, FOR THE DIRECT CONVERSION OF CHEMICAL ENERGY INTO ELECTRICAL ENERGY
- H01M50/00—Constructional details or processes of manufacture of the non-active parts of electrochemical cells other than fuel cells, e.g. hybrid cells
- H01M50/20—Mountings; Secondary casings or frames; Racks, modules or packs; Suspension devices; Shock absorbers; Transport or carrying devices; Holders
- H01M50/204—Racks, modules or packs for multiple batteries or multiple cells
- H01M50/207—Racks, modules or packs for multiple batteries or multiple cells characterised by their shape
- H01M50/209—Racks, modules or packs for multiple batteries or multiple cells characterised by their shape adapted for prismatic or rectangular cells
-
- H—ELECTRICITY
- H01—ELECTRIC ELEMENTS
- H01M—PROCESSES OR MEANS, e.g. BATTERIES, FOR THE DIRECT CONVERSION OF CHEMICAL ENERGY INTO ELECTRICAL ENERGY
- H01M50/00—Constructional details or processes of manufacture of the non-active parts of electrochemical cells other than fuel cells, e.g. hybrid cells
- H01M50/20—Mountings; Secondary casings or frames; Racks, modules or packs; Suspension devices; Shock absorbers; Transport or carrying devices; Holders
- H01M50/262—Mountings; Secondary casings or frames; Racks, modules or packs; Suspension devices; Shock absorbers; Transport or carrying devices; Holders with fastening means, e.g. locks
- H01M50/264—Mountings; Secondary casings or frames; Racks, modules or packs; Suspension devices; Shock absorbers; Transport or carrying devices; Holders with fastening means, e.g. locks for cells or batteries, e.g. straps, tie rods or peripheral frames
-
- H—ELECTRICITY
- H01—ELECTRIC ELEMENTS
- H01M—PROCESSES OR MEANS, e.g. BATTERIES, FOR THE DIRECT CONVERSION OF CHEMICAL ENERGY INTO ELECTRICAL ENERGY
- H01M50/00—Constructional details or processes of manufacture of the non-active parts of electrochemical cells other than fuel cells, e.g. hybrid cells
- H01M50/20—Mountings; Secondary casings or frames; Racks, modules or packs; Suspension devices; Shock absorbers; Transport or carrying devices; Holders
- H01M50/289—Mountings; Secondary casings or frames; Racks, modules or packs; Suspension devices; Shock absorbers; Transport or carrying devices; Holders characterised by spacing elements or positioning means within frames, racks or packs
-
- H—ELECTRICITY
- H01—ELECTRIC ELEMENTS
- H01M—PROCESSES OR MEANS, e.g. BATTERIES, FOR THE DIRECT CONVERSION OF CHEMICAL ENERGY INTO ELECTRICAL ENERGY
- H01M50/00—Constructional details or processes of manufacture of the non-active parts of electrochemical cells other than fuel cells, e.g. hybrid cells
- H01M50/50—Current conducting connections for cells or batteries
- H01M50/502—Interconnectors for connecting terminals of adjacent batteries; Interconnectors for connecting cells outside a battery casing
- H01M50/503—Interconnectors for connecting terminals of adjacent batteries; Interconnectors for connecting cells outside a battery casing characterised by the shape of the interconnectors
-
- H—ELECTRICITY
- H01—ELECTRIC ELEMENTS
- H01M—PROCESSES OR MEANS, e.g. BATTERIES, FOR THE DIRECT CONVERSION OF CHEMICAL ENERGY INTO ELECTRICAL ENERGY
- H01M50/00—Constructional details or processes of manufacture of the non-active parts of electrochemical cells other than fuel cells, e.g. hybrid cells
- H01M50/50—Current conducting connections for cells or batteries
- H01M50/502—Interconnectors for connecting terminals of adjacent batteries; Interconnectors for connecting cells outside a battery casing
- H01M50/507—Interconnectors for connecting terminals of adjacent batteries; Interconnectors for connecting cells outside a battery casing comprising an arrangement of two or more busbars within a container structure, e.g. busbar modules
-
- Y—GENERAL TAGGING OF NEW TECHNOLOGICAL DEVELOPMENTS; GENERAL TAGGING OF CROSS-SECTIONAL TECHNOLOGIES SPANNING OVER SEVERAL SECTIONS OF THE IPC; TECHNICAL SUBJECTS COVERED BY FORMER USPC CROSS-REFERENCE ART COLLECTIONS [XRACs] AND DIGESTS
- Y02—TECHNOLOGIES OR APPLICATIONS FOR MITIGATION OR ADAPTATION AGAINST CLIMATE CHANGE
- Y02E—REDUCTION OF GREENHOUSE GAS [GHG] EMISSIONS, RELATED TO ENERGY GENERATION, TRANSMISSION OR DISTRIBUTION
- Y02E60/00—Enabling technologies; Technologies with a potential or indirect contribution to GHG emissions mitigation
- Y02E60/10—Energy storage using batteries
Definitions
- the present invention relates to a battery module in which a plurality of battery cells are integrated, and particularly to a single battery module in which terminals of a plurality of battery cells are connected by a connection bus bar.
- Patent Document 1 discloses a battery that can buffer a force generated between adjacent cells.
- the battery disclosed in Patent Document 1 includes three rectangular parallelepiped cells.
- Each cell includes a positive electrode terminal provided on the upper surface of each cell.
- the positive electrode terminal includes a first-stage laminated portion having a columnar and planar upper surface, and a columnar second-stage laminated portion provided on the first-stage laminated portion.
- the battery disclosed in Patent Document 1 includes a connection bar that electrically connects the positive terminals of two adjacent cells.
- the connection bar has two circular through-holes that are fitted into the second-tier stacked portions of the positive terminals of the two cells.
- connection bar is formed in a convex shape (inverted U shape) by curving a portion between two through holes.
- deformation for example, thermal expansion
- external force for example, thermal expansion
- the load applied to each terminal of the two cells can be reduced by using the connection bar in the battery.
- An object of the present invention is to provide a battery module that suppresses an excessive load in the juxtaposition direction from acting on the terminals of the battery cells even if the plurality of juxtaposed battery cells expand.
- a battery module that achieves the above object has a plurality of battery cells arranged side by side and a pair of plate members provided at both ends of the plurality of battery cells in a parallel arrangement direction, and is provided on the pair of plate members.
- a restraint that integrates the plurality of battery cells, at least one connection bus bar that connects terminals of the battery cells adjacent to each other in the juxtaposed direction, and absorbs expansion in the juxtaposed direction of the battery cells.
- an elastic member is provided.
- the at least one connection bus bar is provided between a pair of connection portions connected to the terminals and the pair of connection portions.
- a bent portion that can be extended and deformed in the juxtaposed direction in accordance with expansion of the battery cells in the juxtaposed direction.
- the total deformation allowance set based on the deformation allowance in the juxtaposed direction of the bent portions is set to be equal to or greater than the thickness of the elastic members in the juxtaposition direction.
- FIG. 1 It is a perspective view which shows the outline
- (A) is a principal part side view which shows the connection bar in the battery cell without expansion
- (b) is a principal part side view which shows the connection bar in the battery cell in which expansion
- (A) is a schematic top view of the battery module by the battery cell without expansion
- (b) is a schematic plan view of the battery module by the battery cell in which expansion
- the battery module used for the lithium ion secondary battery as a nonaqueous electrolyte secondary battery is illustrated.
- the battery module 10 includes a plurality of (seven in this embodiment) battery cells 11 arranged in parallel and a pair of plate members provided at both ends of the plurality of battery cells 11 in the arrangement direction. 12 and a bolt 13 and a nut 14 as a restraining tool for integrating the plurality of battery cells 11.
- the battery module 10 also has a single elastic member 15 that absorbs expansion in the direction in which the battery cells 11 are juxtaposed, and a plurality of connection bus bars 16 that connect the terminals of the adjacent battery cells 11.
- the battery cell 11 of this embodiment is a rectangular parallelepiped lithium battery, and the positive electrode terminal 18 and the negative electrode terminal 19 as terminals provided in the battery cell 11 are juxtaposed so as to protrude upward in the vertical direction.
- An electrode assembly (not shown) is accommodated in the battery cell 11.
- the positive electrode of the electrode assembly is connected to the positive electrode terminal 18 by a positive electrode conductive member (not shown).
- the negative electrode of the electrode assembly is connected to the negative electrode terminal 19 by a negative electrode conductive member (not shown).
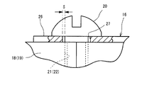
- the positive terminal 18 of the present embodiment includes a female screw portion 21 into which a fixing bolt 20 for fixing the connection bus bar 16 is screwed.
- the negative electrode terminal 19 includes a female screw portion 22 into which the fixing bolt 20 is screwed.
- Plate members 12 are respectively provided at both ends of the plurality of battery cells 11 in the juxtaposition direction.
- the plate member 12 is substantially square, and a protruding portion 23 that protrudes outward is formed on one of the four sides.
- a pair of through holes 24 are formed in the protruding portion 23.
- a pair of through holes 25 are formed in the vicinity of both ends of the side opposite to the side on which the protruding portion 23 of the plate member 12 is provided.
- the plate member 12 is disposed so that the protruding portion 23 protrudes upward in the vertical direction.
- the bolt 13 and the nut 14 are for integrating the plurality of battery cells 11. In the present embodiment, the bolt 13 is inserted into the through holes 24 and 25, and the bolt 13 and the nut are fastened.
- an elastic member 15 is interposed between one plate member 12 and the battery cell 11 facing the plate member 12.
- the elastic member 15 is provided to absorb expansion of the battery cells 11 in the parallel direction.
- the elastic member 15 is made of an elastically deformable material having sufficient elasticity.
- the thickness C (FIG. 4) in the parallel direction of the elastic member 15 is set by multiplying the maximum expansion amount in the parallel direction of one battery cell 11 assumed in advance by the number of battery cells 11.
- the maximum expansion amount means a rated maximum expansion amount that is allowed in an appropriate or normal use state of the battery cell 11. Therefore, the maximum expansion amount does not mean an expansion amount in a state where an abnormality due to a failure occurs in the battery cell 11 or an expansion amount in a use state in an inappropriate environment.
- a plurality of battery cells 11 are connected in series by using a plurality of connection bus bars 16.
- connection bus bar 16 is formed of a metal plate having excellent conductivity, and the connection bus bar 16 of the present embodiment is formed of a copper plate subjected to tin plating. As shown in FIG. 2, the connection bus bar 16 is formed of a rectangular plate. Connection portions 26 having through holes 27 are formed at both ends in the longitudinal direction of the connection bus bar 16.
- the connecting portion 26 is a part that contacts the positive terminal 18 or the negative terminal 19.
- the through hole 27 is a through hole through which the fixing bolt 20 is inserted when the connection bus bar 16 is fixed to the positive terminal 18 or the negative terminal 19.
- the bent portion 28 has a trapezoidal shape.
- the bent portion 28 of the present embodiment is formed by bending the connection bus bar 16, and a pair extending obliquely with respect to the pair of connection portions 26. And a parallel wall 30 that is formed between the pair of inclined walls 29 and parallel to the connecting portion 26.
- the bent portion 28 is a part for setting a deformation allowable amount A in the connection bus bar 16 and has a shape considering the ease of deformation. As shown in FIG. 3B, when the space between the positive electrode terminal 18 and the negative electrode terminal 19 in the juxtaposed direction increases due to expansion of the battery cells 11 in the juxtaposed direction, the bent portion 28 extends and deforms in the juxtaposed direction. To do. In detail, in the bending part 28, the length of the bending part 28 in a juxtaposition direction increases by deform
- the deformation allowable amount A in the connection bus bar 16 shown in FIG. 3B is set to a total deformation allowable amount B corresponding to the number of connection bus bars 16 in the battery module 10 as shown in FIG. 4A.
- the total deformation allowable amount B is set in consideration of the maximum expansion amount of the battery cell 11.
- the total deformation allowance A (A ⁇ 6) of the plurality of connection bus bars 16 corresponds to the total deformation allowance B, and is set to be larger than the thickness C of the elastic members 15 in the juxtaposition direction. Yes.
- the thickness C of the elastic member 15 is an initial thickness before the elastic member 15 is elastically deformed.
- the bent portion 28 of the connection bus bar 16 is in a deformable state.
- a pair of semicircular cutouts 31 are formed on both sides of the parallel wall 30 of the bent portion 28 (see FIG. 2).
- the notch 31 makes it easy to break the connection bus bar 16 when an abnormality such as a failure occurs in the battery cell 11 and the battery cell 11 exceeds an allowable maximum expansion amount, that is, excessively expands. Is formed.
- the notch 31 is notched in a direction perpendicular to the parallel arrangement direction of the battery cells 11 so that stress concentration is likely to occur on both sides of the parallel wall 30 when the battery cell 11 is abnormal, that is, excessively expanded. It is.
- FIG. 4A shows the battery module 10 when the battery cell 11 is not expanded
- FIG. 4B shows the battery module 10 when the battery cell 11 is expanded.
- the battery cells 11 may expand in the parallel direction due to deterioration over time due to long-term use, and may expand and contract in the parallel direction during charge and discharge.
- the expansion of the battery cells 11 in the juxtaposed direction gradually occurs due to deterioration over time, the thickness of the battery cells 11 in the juxtaposed direction increases, so that the distance between the positive electrode terminal 18 and the negative electrode terminal 19 of the adjacent battery cells 11 is increased. Expands.
- the elastic member 15 receives the expansion of the battery cells 11 and is contracted in the juxtaposed direction to absorb the expansion of the battery cells 11. As shown in FIG. 4B, assuming that the expansion of each battery cell 11 is uniform, the battery module 10 is obtained by multiplying the expansion amount in the juxtaposed direction of each battery cell 11 by the number of battery cells 11 (seven). The total expansion amount D is obtained.
- the expansion in the direction in which the battery cells 11 are juxtaposed increases the spacing in the direction in which the positive terminals 18 and the negative terminals 19 of the adjacent battery cells 11 are arranged.
- the connection bus bar 16 is deformed in accordance with the increase in the direction interval.
- the bent portion 28 of the connecting bus bar 16 is deformed so that the connecting portion 26 is separated, but the inclined angle of the inclined wall 29 of the bent portion 28 is deformed to be reduced. To do.
- the battery module of this embodiment has the following effects.
- (1) The total deformation allowable amount B in the battery module 10 based on the allowable deformation amount A of the bent portion 28 of the connection bus bar 16 is set to be larger than the thickness C of the elastic members 15 in the parallel arrangement direction. For this reason, in the range where the expansion amount of the battery cell 11 is absorbed by the elastic member 15, the deformation of the bent portion 28 of the connection bus bar 16 is always within the range of the allowable deformation amount A. Therefore, even if the plurality of battery cells 11 continue to expand, the positive terminal of the battery cell 11 connected to the connection bus bar 16 is within a range in which the total expansion D of the battery cell 11 is at least absorbed by the elastic member 15. It is possible to prevent an excessive load in the juxtaposition direction from acting on 18 or the negative electrode terminal 19. As a result, deformation and breakage of the positive electrode terminal 18 or the negative electrode terminal 19 due to the expansion of the battery cell 11 can be prevented.
- connection bus bar 16 Even if the battery cell 11 expands beyond the allowable deformation amount A of the connection bus bar 16, stress concentrates on the notch 31 of the connection bus bar 16, and the positive electrode terminal 18 or the negative electrode terminal 19 is significantly deformed or damaged.
- the connecting bus bar 16 is broken from the notch 31 before being cut.
- an excessive load in the juxtaposition direction does not act on the positive electrode terminal 18 or the negative electrode terminal 19, and deformation and breakage of the positive electrode terminal 18 or the negative electrode terminal 19 due to the expansion of the battery cell 11 are suppressed. Can do.
- connection bus bar is fixed to the positive electrode terminal or the negative electrode terminal of the battery cell by welding.
- the battery module 40 includes a plurality of battery cells 11, and the battery cells 11 include a positive electrode terminal 41 and a negative electrode terminal 42.
- connection bus bar 43 is fixed to the positive terminal 41 and the negative terminal 42 of the battery cell 11 by welding. Between the pair of connection portions 44, a bent portion 45 having a shape that protrudes upward is provided.
- the bent portion 45 of the present embodiment is formed by bending the connection bus bar 43 in a substantially inverted U shape. As in the first embodiment, the bending portion 45 sets the allowable deformation amount A of the connection bus bar 43, and the total allowable deformation amount B of the battery module 40 is set based on the allowable deformation amount A.
- the number of welded portions 46 welded at the connecting portion 44 is one. According to this embodiment, even when the connection bus bar 43 is fixed to the positive electrode terminal 41 or the negative electrode terminal 42 of the battery cell 11 by welding, the same effect as the effect of the first embodiment is achieved.
- This embodiment has the same configuration as that of the first embodiment, but is set so that no slip occurs between the connection bus bar and the positive electrode or the negative electrode when the connection bus bar is deformed due to the expansion of the battery cells. This is different from the first embodiment.
- the fixing bolt 20 is fixed so that no slip occurs between the connection bus bar 16 and the positive terminal 18 or the negative terminal 19. Axial force is set.
- the axial force of the fixing bolt 20 is greater than the load in the juxtaposition direction in which the load in the juxtaposition direction that causes deformation of the connection bus bar 16 causes the slip between the connection bus bar 16 and the positive electrode terminal 18 or the negative electrode terminal 19. It is set to be smaller.
- the present invention is not limited to the above-described embodiment, and various modifications are possible within the scope of the gist of the invention. For example, the following modifications may be made.
- the bent portion is formed by bending or bending a part of the connection bus bar, but the shape of the bent portion is not limited to the example of the above embodiment.
- the shape of the bent portion is not particularly limited as long as it can be formed by bending or bending and the allowable deformation amount can be set.
- the total deformation allowable amount based on the deformation allowable amount of the bent portion of the connection bus bar in the battery module is set to be larger than the thickness of the elastic members in the juxtaposed direction. You may set so that it may become the same as the thickness of the juxtaposition direction of a member. Also in this case, while the elastic member absorbs the expansion of the battery cell, the connection bus bar is deformed, so that an excessive load does not act on the terminal of the battery cell.
- the elastic member is provided between one plate member and the battery cell closest to the one plate member, but this is not restrictive.
- an elastic member may be interposed between the battery cells.
- the total thickness of the plurality of elastic members in the juxtaposed direction corresponds to the thickness of the elastic members in the juxtaposed direction.
- the bent portion of the connection bus bar has a shape that protrudes upward, but the bent portion may have a shape that protrudes downward, for example.
- the number of connection bus bars is set according to the number of battery cells. In the case of two battery modules, the number of connection bus bars is one. In this case, the total deformation allowance of the battery modules is equal to the deformation allowance of the connection bus bars.
- connection bus bar is notched, but the notch is not essential, and may be a connection bus bar not provided with a notch as in the second embodiment.
- the battery module of a lithium ion secondary battery as a nonaqueous electrolyte secondary battery has been exemplified, but the battery module is not limited to a lithium ion secondary battery.
- the type of the battery is not particularly limited as long as the battery cell expands in the juxtaposed direction.
Landscapes
- Chemical & Material Sciences (AREA)
- Chemical Kinetics & Catalysis (AREA)
- Electrochemistry (AREA)
- General Chemical & Material Sciences (AREA)
- Engineering & Computer Science (AREA)
- Materials Engineering (AREA)
- Manufacturing & Machinery (AREA)
- Connection Of Batteries Or Terminals (AREA)
- Battery Mounting, Suspending (AREA)
Priority Applications (3)
| Application Number | Priority Date | Filing Date | Title |
|---|---|---|---|
| DE112015001897.2T DE112015001897B4 (de) | 2014-04-21 | 2015-02-26 | Zellenmodul |
| US15/303,326 US9666840B2 (en) | 2014-04-21 | 2015-02-26 | Cell module |
| CN201580020124.9A CN106233502B (zh) | 2014-04-21 | 2015-02-26 | 电池模块 |
Applications Claiming Priority (2)
| Application Number | Priority Date | Filing Date | Title |
|---|---|---|---|
| JP2014087137A JP6281398B2 (ja) | 2014-04-21 | 2014-04-21 | 電池モジュール |
| JP2014-087137 | 2014-04-21 |
Publications (1)
| Publication Number | Publication Date |
|---|---|
| WO2015162996A1 true WO2015162996A1 (ja) | 2015-10-29 |
Family
ID=54332167
Family Applications (1)
| Application Number | Title | Priority Date | Filing Date |
|---|---|---|---|
| PCT/JP2015/055644 Ceased WO2015162996A1 (ja) | 2014-04-21 | 2015-02-26 | 電池モジュール |
Country Status (5)
| Country | Link |
|---|---|
| US (1) | US9666840B2 (enExample) |
| JP (1) | JP6281398B2 (enExample) |
| CN (1) | CN106233502B (enExample) |
| DE (1) | DE112015001897B4 (enExample) |
| WO (1) | WO2015162996A1 (enExample) |
Cited By (5)
| Publication number | Priority date | Publication date | Assignee | Title |
|---|---|---|---|---|
| CN105591060A (zh) * | 2016-02-25 | 2016-05-18 | 宁德时代新能源科技股份有限公司 | 动力电池组装置 |
| US20170179458A1 (en) * | 2015-12-18 | 2017-06-22 | Yazaki Corporation | Busbar module and battery pack |
| WO2017208804A1 (ja) * | 2016-05-31 | 2017-12-07 | パナソニックIpマネジメント株式会社 | 端子接続構造、電池積層体及び端子接続構造の形成方法 |
| CN111834566A (zh) * | 2019-04-22 | 2020-10-27 | 本田技研工业株式会社 | 蓄电池封装体 |
| CN113574722A (zh) * | 2019-01-17 | 2021-10-29 | Cps 科技控股有限公司 | 电池单元膨胀的塑料约束特征 |
Families Citing this family (24)
| Publication number | Priority date | Publication date | Assignee | Title |
|---|---|---|---|---|
| US10333132B2 (en) * | 2015-03-23 | 2019-06-25 | Sanyo Electric Co., Ltd. | Power source device including terminal fixing part and deformable buffer portion |
| US11374290B2 (en) * | 2016-01-29 | 2022-06-28 | Sanyo Electric Co., Ltd. | Power supply device, vehicle in which same is used, and bus bar |
| JP6610458B2 (ja) * | 2016-07-22 | 2019-11-27 | 株式会社デンソー | 電池パック |
| JP6741215B2 (ja) * | 2017-01-20 | 2020-08-19 | 株式会社オートネットワーク技術研究所 | 接続モジュール |
| KR102201347B1 (ko) | 2017-06-15 | 2021-01-08 | 주식회사 엘지화학 | 배터리 모듈과 이를 포함하는 배터리 팩 및 자동차 |
| JP6955387B2 (ja) | 2017-08-03 | 2021-10-27 | 株式会社Gsユアサ | 蓄電装置 |
| JP6946837B2 (ja) * | 2017-08-10 | 2021-10-13 | 株式会社豊田自動織機 | 電池パック |
| KR102161287B1 (ko) * | 2017-12-11 | 2020-09-29 | 삼성에스디아이 주식회사 | 배터리 팩 |
| KR102250204B1 (ko) | 2018-03-07 | 2021-05-10 | 주식회사 엘지화학 | 배터리 모듈, 이러한 배터리 모듈을 포함하는 배터리 팩 및 이러한 배터리 팩을 포함하는 자동차 |
| JP7147251B2 (ja) * | 2018-05-09 | 2022-10-05 | 株式会社Gsユアサ | 蓄電装置 |
| WO2020003801A1 (ja) * | 2018-06-26 | 2020-01-02 | 三洋電機株式会社 | バッテリシステムとバッテリシステムを備える電動車両及び蓄電装置 |
| US11289775B2 (en) * | 2018-08-29 | 2022-03-29 | Sumitomo Wiring Systems, Ltd. | Battery wiring module including elastic joiners |
| CN111193000B (zh) * | 2018-11-14 | 2023-06-09 | 三星Sdi株式会社 | 用于电池模块的汇流条和电池模块 |
| JP7184606B2 (ja) | 2018-11-20 | 2022-12-06 | 日本メクトロン株式会社 | 支持部材及びバッテリモジュール |
| US12199308B2 (en) * | 2019-05-22 | 2025-01-14 | Sanyo Electric Co., Ltd. | Bus bar plate |
| JP7094920B2 (ja) * | 2019-07-10 | 2022-07-04 | 本田技研工業株式会社 | 蓄電モジュール |
| CN111710822A (zh) * | 2020-06-19 | 2020-09-25 | 中航锂电(洛阳)有限公司 | 一种电池模组 |
| CN114094270A (zh) * | 2020-07-29 | 2022-02-25 | 郑州深澜动力科技有限公司 | 一种电池模组及其采样连接线束 |
| JP7447771B2 (ja) * | 2020-11-25 | 2024-03-12 | トヨタ自動車株式会社 | 電池モジュール |
| JP7636207B2 (ja) * | 2021-03-05 | 2025-02-26 | 本田技研工業株式会社 | バッテリモジュール |
| WO2022197867A1 (en) | 2021-03-17 | 2022-09-22 | Power.Global, Pbc | Battery module for vehicle or kiosk |
| CN113964457B (zh) * | 2021-09-28 | 2024-06-14 | 上海空间电源研究所 | 一种可恢复高膨胀率锂离子电池 |
| JP2024178990A (ja) * | 2023-06-14 | 2024-12-26 | 株式会社オートネットワーク技術研究所 | 配線モジュール |
| JP2025152184A (ja) * | 2024-03-28 | 2025-10-09 | 本田技研工業株式会社 | 電池モジュール |
Citations (10)
| Publication number | Priority date | Publication date | Assignee | Title |
|---|---|---|---|---|
| JP2008251352A (ja) * | 2007-03-30 | 2008-10-16 | Mitsubishi Heavy Ind Ltd | 電池モジュール |
| JP2008300083A (ja) * | 2007-05-29 | 2008-12-11 | Sanyo Electric Co Ltd | パック電池 |
| JP2009048973A (ja) * | 2007-08-23 | 2009-03-05 | Yazaki Corp | 電源装置 |
| JP2009182001A (ja) * | 2008-01-29 | 2009-08-13 | Nisshin Steel Co Ltd | セル積層構造体 |
| JP2010092833A (ja) * | 2008-09-09 | 2010-04-22 | Toyota Motor Corp | 蓄電装置 |
| JP2010192419A (ja) * | 2009-01-21 | 2010-09-02 | Toyota Motor Corp | 蓄電装置 |
| JP2011233491A (ja) * | 2010-04-08 | 2011-11-17 | Denso Corp | 電池パック及び電極端子間の接続方法 |
| JP2012181977A (ja) * | 2011-03-01 | 2012-09-20 | Mitsubishi Heavy Ind Ltd | 二次電池モジュール |
| JP2013165067A (ja) * | 2013-04-10 | 2013-08-22 | Toshiba Corp | 二次電池パック |
| JP2014063750A (ja) * | 2008-04-11 | 2014-04-10 | Kawasaki Heavy Ind Ltd | 密閉式角形電池およびこれを用いた電池モジュール |
Family Cites Families (7)
| Publication number | Priority date | Publication date | Assignee | Title |
|---|---|---|---|---|
| JP4127985B2 (ja) * | 2001-07-23 | 2008-07-30 | 松下電器産業株式会社 | 電池パック |
| WO2006118386A1 (en) * | 2005-05-02 | 2006-11-09 | Lg Chem, Ltd. | Improved middle or large-sized battery pack of increased safety |
| KR100684763B1 (ko) | 2005-07-29 | 2007-02-20 | 삼성에스디아이 주식회사 | 이차 전지 모듈과 이차 전지 모듈의 단위 전지 연결구 |
| JP2010067582A (ja) * | 2008-09-12 | 2010-03-25 | Toshiba Corp | バッテリ |
| JP5745938B2 (ja) * | 2011-05-30 | 2015-07-08 | 株式会社東芝 | 二次電池装置 |
| DE102011085467A1 (de) | 2011-10-28 | 2013-05-02 | Elringklinger Ag | Elektrochemische Vorrichtung |
| JP5433669B2 (ja) * | 2011-11-30 | 2014-03-05 | 三菱重工業株式会社 | 電池モジュール及び電池システム |
-
2014
- 2014-04-21 JP JP2014087137A patent/JP6281398B2/ja not_active Expired - Fee Related
-
2015
- 2015-02-26 CN CN201580020124.9A patent/CN106233502B/zh active Active
- 2015-02-26 US US15/303,326 patent/US9666840B2/en not_active Expired - Fee Related
- 2015-02-26 WO PCT/JP2015/055644 patent/WO2015162996A1/ja not_active Ceased
- 2015-02-26 DE DE112015001897.2T patent/DE112015001897B4/de not_active Expired - Fee Related
Patent Citations (10)
| Publication number | Priority date | Publication date | Assignee | Title |
|---|---|---|---|---|
| JP2008251352A (ja) * | 2007-03-30 | 2008-10-16 | Mitsubishi Heavy Ind Ltd | 電池モジュール |
| JP2008300083A (ja) * | 2007-05-29 | 2008-12-11 | Sanyo Electric Co Ltd | パック電池 |
| JP2009048973A (ja) * | 2007-08-23 | 2009-03-05 | Yazaki Corp | 電源装置 |
| JP2009182001A (ja) * | 2008-01-29 | 2009-08-13 | Nisshin Steel Co Ltd | セル積層構造体 |
| JP2014063750A (ja) * | 2008-04-11 | 2014-04-10 | Kawasaki Heavy Ind Ltd | 密閉式角形電池およびこれを用いた電池モジュール |
| JP2010092833A (ja) * | 2008-09-09 | 2010-04-22 | Toyota Motor Corp | 蓄電装置 |
| JP2010192419A (ja) * | 2009-01-21 | 2010-09-02 | Toyota Motor Corp | 蓄電装置 |
| JP2011233491A (ja) * | 2010-04-08 | 2011-11-17 | Denso Corp | 電池パック及び電極端子間の接続方法 |
| JP2012181977A (ja) * | 2011-03-01 | 2012-09-20 | Mitsubishi Heavy Ind Ltd | 二次電池モジュール |
| JP2013165067A (ja) * | 2013-04-10 | 2013-08-22 | Toshiba Corp | 二次電池パック |
Cited By (9)
| Publication number | Priority date | Publication date | Assignee | Title |
|---|---|---|---|---|
| US20170179458A1 (en) * | 2015-12-18 | 2017-06-22 | Yazaki Corporation | Busbar module and battery pack |
| US10581055B2 (en) * | 2015-12-18 | 2020-03-03 | Yazaki Corporation | Busbar module and battery pack |
| CN105591060A (zh) * | 2016-02-25 | 2016-05-18 | 宁德时代新能源科技股份有限公司 | 动力电池组装置 |
| WO2017208804A1 (ja) * | 2016-05-31 | 2017-12-07 | パナソニックIpマネジメント株式会社 | 端子接続構造、電池積層体及び端子接続構造の形成方法 |
| JPWO2017208804A1 (ja) * | 2016-05-31 | 2019-03-28 | パナソニックIpマネジメント株式会社 | 端子接続構造、電池積層体及び端子接続構造の形成方法 |
| US11158911B2 (en) | 2016-05-31 | 2021-10-26 | Panasonic Intellectual Property Management Co., Ltd. | Terminal connection structure, battery stack body, and method for forming terminal connection structure |
| CN113574722A (zh) * | 2019-01-17 | 2021-10-29 | Cps 科技控股有限公司 | 电池单元膨胀的塑料约束特征 |
| CN111834566A (zh) * | 2019-04-22 | 2020-10-27 | 本田技研工业株式会社 | 蓄电池封装体 |
| CN111834566B (zh) * | 2019-04-22 | 2022-09-16 | 本田技研工业株式会社 | 蓄电池封装体 |
Also Published As
| Publication number | Publication date |
|---|---|
| JP2015207442A (ja) | 2015-11-19 |
| CN106233502A (zh) | 2016-12-14 |
| US9666840B2 (en) | 2017-05-30 |
| DE112015001897T5 (de) | 2016-12-29 |
| JP6281398B2 (ja) | 2018-02-21 |
| DE112015001897B4 (de) | 2020-07-09 |
| CN106233502B (zh) | 2018-04-10 |
| US20170033332A1 (en) | 2017-02-02 |
Similar Documents
| Publication | Publication Date | Title |
|---|---|---|
| JP6281398B2 (ja) | 電池モジュール | |
| JP2015207442A5 (enExample) | ||
| US20190013501A1 (en) | Battery module | |
| JP6597480B2 (ja) | バスバー組付構造及び電池モジュール | |
| US20160359153A1 (en) | Electric storage device | |
| JP6358048B2 (ja) | 電池モジュール | |
| US10283743B2 (en) | Battery module | |
| JP6390721B2 (ja) | 電池パック | |
| JP6794709B2 (ja) | 電池モジュール | |
| JP6819159B2 (ja) | 電池モジュール | |
| US9742025B2 (en) | Battery pack | |
| JP6780359B2 (ja) | 電池モジュール | |
| JPWO2016189745A1 (ja) | バッテリーケース、バッテリーモジュールおよびバッテリーモジュールの製造方法 | |
| JP2017111914A (ja) | 電池パック | |
| JP2019036386A (ja) | 電池パック | |
| EP2605310B1 (en) | Secondary battery module | |
| JP6390722B2 (ja) | 電池パック | |
| JP6582570B2 (ja) | 電池モジュール | |
| JP6233110B2 (ja) | 電池モジュール | |
| JP2017147075A (ja) | 電池モジュールの製造方法、ハーネスユニット、及び、電池モジュール | |
| KR102796030B1 (ko) | 방열효율 저감 방지수단이 구비된 적층형 배터리팩 | |
| JP2018005996A (ja) | 電池モジュール | |
| JP2019046657A (ja) | 電池モジュール | |
| JP2018032489A (ja) | 電池モジュール | |
| JP6844361B2 (ja) | 電池モジュール |
Legal Events
| Date | Code | Title | Description |
|---|---|---|---|
| 121 | Ep: the epo has been informed by wipo that ep was designated in this application |
Ref document number: 15783478 Country of ref document: EP Kind code of ref document: A1 |
|
| WWE | Wipo information: entry into national phase |
Ref document number: 15303326 Country of ref document: US |
|
| WWE | Wipo information: entry into national phase |
Ref document number: 112015001897 Country of ref document: DE |
|
| 122 | Ep: pct application non-entry in european phase |
Ref document number: 15783478 Country of ref document: EP Kind code of ref document: A1 |