WO2015151584A1 - 狭所配管用継手 - Google Patents

狭所配管用継手 Download PDF

Info

Publication number
WO2015151584A1
WO2015151584A1 PCT/JP2015/053471 JP2015053471W WO2015151584A1 WO 2015151584 A1 WO2015151584 A1 WO 2015151584A1 JP 2015053471 W JP2015053471 W JP 2015053471W WO 2015151584 A1 WO2015151584 A1 WO 2015151584A1
Authority
WO
WIPO (PCT)
Prior art keywords
screw member
screw
pipe
locking ring
pipe connection
Prior art date
Legal status (The legal status is an assumption and is not a legal conclusion. Google has not performed a legal analysis and makes no representation as to the accuracy of the status listed.)
Ceased
Application number
PCT/JP2015/053471
Other languages
English (en)
French (fr)
Japanese (ja)
Inventor
泰章 谷口
Current Assignee (The listed assignees may be inaccurate. Google has not performed a legal analysis and makes no representation or warranty as to the accuracy of the list.)
Nitta Corp
Original Assignee
Nitta Corp
Priority date (The priority date is an assumption and is not a legal conclusion. Google has not performed a legal analysis and makes no representation as to the accuracy of the date listed.)
Filing date
Publication date
Application filed by Nitta Corp filed Critical Nitta Corp
Priority to CN201580003190.5A priority Critical patent/CN105829787A/zh
Publication of WO2015151584A1 publication Critical patent/WO2015151584A1/ja
Anticipated expiration legal-status Critical
Ceased legal-status Critical Current

Links

Images

Classifications

    • FMECHANICAL ENGINEERING; LIGHTING; HEATING; WEAPONS; BLASTING
    • F16ENGINEERING ELEMENTS AND UNITS; GENERAL MEASURES FOR PRODUCING AND MAINTAINING EFFECTIVE FUNCTIONING OF MACHINES OR INSTALLATIONS; THERMAL INSULATION IN GENERAL
    • F16LPIPES; JOINTS OR FITTINGS FOR PIPES; SUPPORTS FOR PIPES, CABLES OR PROTECTIVE TUBING; MEANS FOR THERMAL INSULATION IN GENERAL
    • F16L37/00Couplings of the quick-acting type
    • F16L37/08Couplings of the quick-acting type in which the connection between abutting or axially overlapping ends is maintained by locking members
    • F16L37/084Couplings of the quick-acting type in which the connection between abutting or axially overlapping ends is maintained by locking members combined with automatic locking
    • F16L37/098Couplings of the quick-acting type in which the connection between abutting or axially overlapping ends is maintained by locking members combined with automatic locking by means of flexible hooks
    • F16L37/0985Couplings of the quick-acting type in which the connection between abutting or axially overlapping ends is maintained by locking members combined with automatic locking by means of flexible hooks the flexible hook extending radially inwardly from an outer part and engaging a bead, recess or the like on an inner part
    • FMECHANICAL ENGINEERING; LIGHTING; HEATING; WEAPONS; BLASTING
    • F16ENGINEERING ELEMENTS AND UNITS; GENERAL MEASURES FOR PRODUCING AND MAINTAINING EFFECTIVE FUNCTIONING OF MACHINES OR INSTALLATIONS; THERMAL INSULATION IN GENERAL
    • F16LPIPES; JOINTS OR FITTINGS FOR PIPES; SUPPORTS FOR PIPES, CABLES OR PROTECTIVE TUBING; MEANS FOR THERMAL INSULATION IN GENERAL
    • F16L37/00Couplings of the quick-acting type
    • F16L37/08Couplings of the quick-acting type in which the connection between abutting or axially overlapping ends is maintained by locking members
    • F16L37/084Couplings of the quick-acting type in which the connection between abutting or axially overlapping ends is maintained by locking members combined with automatic locking
    • F16L37/091Couplings of the quick-acting type in which the connection between abutting or axially overlapping ends is maintained by locking members combined with automatic locking by means of a ring provided with teeth or fingers
    • FMECHANICAL ENGINEERING; LIGHTING; HEATING; WEAPONS; BLASTING
    • F16ENGINEERING ELEMENTS AND UNITS; GENERAL MEASURES FOR PRODUCING AND MAINTAINING EFFECTIVE FUNCTIONING OF MACHINES OR INSTALLATIONS; THERMAL INSULATION IN GENERAL
    • F16LPIPES; JOINTS OR FITTINGS FOR PIPES; SUPPORTS FOR PIPES, CABLES OR PROTECTIVE TUBING; MEANS FOR THERMAL INSULATION IN GENERAL
    • F16L37/00Couplings of the quick-acting type
    • F16L37/08Couplings of the quick-acting type in which the connection between abutting or axially overlapping ends is maintained by locking members
    • F16L37/084Couplings of the quick-acting type in which the connection between abutting or axially overlapping ends is maintained by locking members combined with automatic locking
    • F16L37/091Couplings of the quick-acting type in which the connection between abutting or axially overlapping ends is maintained by locking members combined with automatic locking by means of a ring provided with teeth or fingers
    • F16L37/0915Couplings of the quick-acting type in which the connection between abutting or axially overlapping ends is maintained by locking members combined with automatic locking by means of a ring provided with teeth or fingers with a separate member for releasing the coupling
    • FMECHANICAL ENGINEERING; LIGHTING; HEATING; WEAPONS; BLASTING
    • F16ENGINEERING ELEMENTS AND UNITS; GENERAL MEASURES FOR PRODUCING AND MAINTAINING EFFECTIVE FUNCTIONING OF MACHINES OR INSTALLATIONS; THERMAL INSULATION IN GENERAL
    • F16LPIPES; JOINTS OR FITTINGS FOR PIPES; SUPPORTS FOR PIPES, CABLES OR PROTECTIVE TUBING; MEANS FOR THERMAL INSULATION IN GENERAL
    • F16L27/00Adjustable joints; Joints allowing movement
    • F16L27/08Adjustable joints; Joints allowing movement allowing adjustment or movement only about the axis of one pipe
    • F16L27/0804Adjustable joints; Joints allowing movement allowing adjustment or movement only about the axis of one pipe the fluid passing axially from one joint element to another
    • F16L27/0837Adjustable joints; Joints allowing movement allowing adjustment or movement only about the axis of one pipe the fluid passing axially from one joint element to another the joint elements being bends
    • F16L27/0845Adjustable joints; Joints allowing movement allowing adjustment or movement only about the axis of one pipe the fluid passing axially from one joint element to another the joint elements being bends forming an angle of 90 degrees

Definitions

  • Embodiment of this invention is related with the joint for narrow places piping attached to the apparatus with a narrow space
  • FIG. 7 is a view showing a state in which the conventional joint 40 is attached to the device 3.
  • the pipe connecting member 21 is a part on the tube insertion port side.
  • a parallel male screw 23 is processed on the screw member 22, and a sealing material 24 and a sealing material 25 are arranged, and are connected to the pipe connection member 21 by edges 26 a and 26 b.
  • the sealing material 24 maintains the sealing performance between the device 3 and the joint 40.
  • the sealing material 25 maintains the sealing performance between the screw member 22 and the resin main body 27. Therefore, the joint 40 and the device 3 are attached by screwing the parallel male screw 23 on the screw member 22 side and the parallel female screw 12b on the device 3 side, and the sealing material 24 keeps the sealing performance.
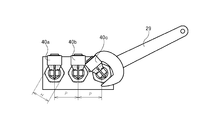
  • FIG. 8A and 8B are diagrams in the case where the conventional joint 40 is attached to a device 28 having a narrow pipe-to-pipe distance P using a spanner 29, FIG. 8A is a plan view, and FIG. 8B is a perspective view.
  • the joint 40a, the joint 40b, and the joint 40c are joints having the same size and shape, and the spanner 29 is of a general size. Even if the screw member 22a, 22b, 22c of each of the joints 40a, 40b, 40c is attached to the attachment hole of the device 28, the opposite side H of the hexagonal portion of the screw member 22a is sandwiched and rotated by the spanner 29, The resin main body of the joint 40a interferes with the joint 40b. Moreover, since the outer side of the spanner 29 interferes with the adjacent screw member 22b, it is difficult to rotate and attach the joint 40a.
  • the problem to be solved by the present invention is to provide a narrow pipe joint that can be installed in a place where the interval between the pipes is narrow without performing special processing on the equipment side or using a special tool. To do.
  • the joint for narrow pipes of the embodiment has a maximum dimension in the radial direction from the central axis of the stem part inner diameter of the pipe connecting member, and a maximum dimension in the radial direction of the hexagonal part from the central axis of the screw of the screw member.
  • a pipe joint for a larger narrow pipe comprising a pipe connecting member and a screw member, the screw member being a hexagonal portion for tightening with a tool, and a screw portion for screwing into a mounting hole of the device, A groove portion formed in the stem portion of the pipe connecting member is locked to the locking member in a state in which the locking member is included inside and the screw member is screwed and connected to the mounting hole of the device. It is characterized by that.
  • pipes and pipes that have a large maximum dimension in the radial direction from the center axis of the screw are used without special processing or using special tools on the equipment side. It can be installed even in places where the interval is narrow.
  • the partial cross section figure of a locking ring. The figure which shows the state which attached the screw member of one Embodiment of this application with narrow piping.
  • the figure which shows the process of the transition of the state of a locking ring and a stem until a screw member engages with a piping connection member The figure which shows the state of a locking ring and a stem when a screw member is engaged with the piping connection member.
  • the figure which shows the state which engaged the piping connection member and screw member which made the piping connection part the bamboo shoot shape.
  • the joint for narrow pipes according to the embodiment of the present invention includes a pair of a screw member 1 and a pipe connection member 2.
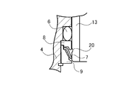
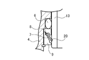
  • FIG. 1 shows a cross-sectional view of a state before the pipe connection member 2 is engaged with the screw member 1 attached to a device 3 (for example, an air brake valve).
  • the screw member 1 includes a screw member main body 4, a sealing material 5, a sealing material 6, a pipe locking ring 7, a locking ring holding member 8, a backup ring 9, and a snap ring 10.
  • the screw member main body 4 has a hexagonal portion 11 for tightening to the device 3, a parallel male screw portion 12a to be screwed onto the device 3, and a hole portion 11a. Further, a sealing material 6 for the pipe connection member 2, a pipe locking ring 7, a locking ring holding member 8, a backup ring 9 of the locking ring 7, and a snap ring 10 are arranged in the hole 11a inside. is doing. A sealing material 5 with the device 3 is disposed on the outer corner of the screw member main body 4.
  • the sealing material 5 is formed of an elastic body such as rubber and is compressed by the device 3 and the screw member main body 4 to maintain the sealing performance of the screw member 1 and the device 3.
  • the sealing material 6 is formed of an elastic body such as rubber, and is compressed by the stem 13 of the pipe connecting member 2 and the screw member main body 4 at a place where the screw member main body 4 and the locking ring holding member 8 are formed. 1 and the pipe connection member 2 are kept sealed.
  • FIG. 2A is a view of the locking ring 7 as viewed from the axial direction
  • FIG. 2B is a partial cross-sectional view of the locking ring 7.
  • the locking ring 7 is an annular member (disc spring) having a claw 70 that holds the stem 13 of the pipe connecting member 2 and having spring properties.
  • the backup ring 9 presses the locking ring holding member 8 and fits one side of the locking ring 7.
  • the snap ring 10 fixes the backup ring 9.
  • the pipe connecting member 2 includes a resin main body 14 and a sealing material 15, a backup ring 16, a locking ring 17, a locking ring holding member 18, and a release 19.
  • the resin main body 14 is formed with an insertion stem 13 having a groove 20 for locking and fixing to the locking ring 7 of the screw member main body 4.
  • the pipe connection member 2 is L-shaped, it may be T-shaped or Y-shaped.
  • the sealing material 15 is formed of an elastic body such as rubber and is compressed by a tube (not shown) and the resin main body 14 to maintain the sealing performance of the tube and the pipe connecting member 2.
  • the backup ring 16 presses the sealing material 15 from the side of the locking ring holding member 18 and fits one side of the locking ring 17.
  • the locking ring holding member 18 is press-fitted into the resin main body 14 so as to hold down the backup ring 16 and is tightly fixed to the side wall of the resin main body 14.
  • the release 19 is inserted into the locking ring holding member 18 and moves toward the backup ring 16 in the axial direction of the pipe connection member 2.
  • the diameter of the locking ring 17 can be increased by pressing from the locking ring holding member 18 side, and the tube can be removed.
  • a female screw 12b having the same size as the parallel male screw 12a of the screw member body 4 is processed, and the sealing material 5 is deformed at the corner of the hole 3a.
  • the chamfered portion 60 is provided.
  • the screw member 1 and the device 3 are joined by screwing the parallel male screw 12a and the parallel female screw 12b, and the sealing material 5 keeps the sealing performance.
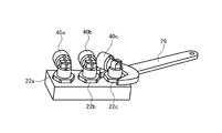
  • FIG. 3 is a diagram illustrating a state in which the screw member 1a, the screw member 1b, and the screw member 1c are attached to the screw member 1a, the screw member 1b, and the screw member 1c by using a spanner 29 and a socket wrench socket 30.
  • 3A is a plan view
  • FIG. 3B is a perspective view. In FIG. 3B, it has shown in the state which cut
  • the screw member 1a, the screw member 1b, and the screw member 1c have the same size and shape.
  • the spanner 29 has a general size
  • the socket wrench socket 30 also has a general size and shape. Even if the screw member 1a is rotated and attached in the state where the screw member 1b is attached, the outside of the spanner 29 interferes with the screw member 1b, and attachment is difficult.
  • the socket wrench socket 30 is formed by forming a hexagonal or dodecagonal female mold inside a cylindrical shape.
  • the sum of the cylindrical radius d and the maximum dimension f in the radial direction of the hexagonal portion from the center axis of the screw of the screw member 1b is smaller than the distance P between the pipes (P> (d + f)), and the gap m is smaller. If possible, the screw member 1c can be attached even when the adjacent screw member 1b is attached by fitting the socket 30 to the hexagonal portion 11c of the screw member 1c and rotating it with a ratchet handle or the like. Thus, the screw members 1a, 1b, and 1c are first screwed into the mounting holes of the device 28 and fixed.
  • FIG. 4 shows a state where the stem 13 of the pipe connecting member 2 is inserted and held after the screw member 1 is attached to the device 3.
  • the sealing material 6 is deformed in accordance with the outer diameter of the stem 13 and maintains the sealing performance of the screw member 1 and the pipe connecting member 2.
  • the pipe connection member 2 is pushed into the hole 11a from the upper part of the screw member 1, thereby easily connecting the screw member 1 and the pipe connection member 2 even in a narrow space. can do.
  • FIG. 5 shows the transition of the state of the locking ring 7 and the stem 13 until the screw member main body 4 and the pipe connecting member 2 are inserted and held.
  • FIG. 5A shows a state before the stem 13 presses the claw 70 of the locking ring 7.
  • FIG. 5B shows a state where the stem 13 presses the claw 70 and expands the locking ring 7, and shows a state before the claw 70 is locked with the groove 20 of the stem 13.
  • FIG. 5C shows a state where the claw 70 is engaged with the groove 20 of the stem 13.
  • the sealing material 6 is pushed by the outer diameter of the stem 13 and deformed (for example, the cross section is deformed from a circular shape to a vertically long ellipse), Pass through the retaining ring holding member 8.
  • claw 70 of the latching ring 7 is expanded by the front-end
  • the stem 13 expands the diameter of the locking ring 7, and is inserted into the groove 20 of the stem 13 until the claw 70 of the locking ring 7 is hooked, and is locked to engage the screw member 1 and the pipe connection member 2. Let Even if a force to remove the pipe connection member 2 is applied in this state, the claw 70 is locked to the groove 20 and cannot be removed.
  • FIG. 6 is a diagram illustrating a state in which the screw member 1 is attached to the device 3 and the pipe connection member 31 is inserted into the screw member 1.
  • the pipe connection portion 32 of the pipe connection member 31 has a bamboo shoot shape.
  • the mountain diameter of the bamboo shoot shape pipe connection portion 32 is larger than the inner diameter of the tube, and when the tube is inserted into the pipe connection portion 32, the diameter of the tube is increased. Thus, the sealing performance is maintained.
  • Other screw members 1 and equipment 3 are the same as those in the first embodiment. Although it is inferior in operability at the time of piping as compared with the first embodiment, the number of parts is small and the weight is light. If the stem 13 and the stem 33 of the first embodiment and the second embodiment have the same dimensions, the same screw member 1 can be used.

Landscapes

  • Engineering & Computer Science (AREA)
  • General Engineering & Computer Science (AREA)
  • Mechanical Engineering (AREA)
  • Mutual Connection Of Rods And Tubes (AREA)
  • Quick-Acting Or Multi-Walled Pipe Joints (AREA)
  • Non-Disconnectible Joints And Screw-Threaded Joints (AREA)
PCT/JP2015/053471 2014-04-03 2015-02-09 狭所配管用継手 Ceased WO2015151584A1 (ja)

Priority Applications (1)

Application Number Priority Date Filing Date Title
CN201580003190.5A CN105829787A (zh) 2014-04-03 2015-02-09 狭窄空间配管用接头

Applications Claiming Priority (2)

Application Number Priority Date Filing Date Title
JP2014-076594 2014-04-03
JP2014076594A JP2015197195A (ja) 2014-04-03 2014-04-03 狭所配管用継手

Publications (1)

Publication Number Publication Date
WO2015151584A1 true WO2015151584A1 (ja) 2015-10-08

Family

ID=54239924

Family Applications (1)

Application Number Title Priority Date Filing Date
PCT/JP2015/053471 Ceased WO2015151584A1 (ja) 2014-04-03 2015-02-09 狭所配管用継手

Country Status (3)

Country Link
JP (1) JP2015197195A (enExample)
CN (1) CN105829787A (enExample)
WO (1) WO2015151584A1 (enExample)

Families Citing this family (3)

* Cited by examiner, † Cited by third party
Publication number Priority date Publication date Assignee Title
CN109790949A (zh) * 2016-09-29 2019-05-21 霓达株式会社 管接头以及接头连接装置
CN109253336B (zh) * 2016-12-31 2020-03-31 王驰 一种金属管快速接头
CN110274104A (zh) * 2019-06-28 2019-09-24 成都联创精密机械有限公司 一种油管万向接头

Citations (8)

* Cited by examiner, † Cited by third party
Publication number Priority date Publication date Assignee Title
JPS6220436B2 (enExample) * 1982-09-02 1987-05-07 Yohanesu Sheefuaa Fuoamaarusu Shuteteinaa Shuraubenueruke Gmbh Unto Co Kg
EP1074782A1 (de) * 1999-08-06 2001-02-07 Armaturenfabrik Hermann Voss GmbH + Co. Steckverbinder für Druckleitungssysteme
WO2004036103A1 (de) * 2002-10-10 2004-04-29 Voss Automotive Gmbh Aufnahmeteil einer fluid-steckverbindung
JP2004197881A (ja) * 2002-12-20 2004-07-15 Flowell Corp 継手の雄部構造、雌部構造、管継手および流体装置
JP2005308139A (ja) * 2004-04-23 2005-11-04 Bridgestone Flowtech Corp 管継手構造
JP2006292166A (ja) * 2005-03-16 2006-10-26 Tokai Rubber Ind Ltd コネクタ装置及びチェッカー
WO2010082534A1 (ja) * 2009-01-14 2010-07-22 Smc株式会社 管継手
WO2011061947A1 (ja) * 2009-11-18 2011-05-26 Smc株式会社 管継手

Family Cites Families (3)

* Cited by examiner, † Cited by third party
Publication number Priority date Publication date Assignee Title
KR100302629B1 (ko) * 1998-07-10 2001-09-22 구장서 관이음매
EP1783415B1 (en) * 2005-11-04 2013-04-17 Pres-Block S.P.A. Fast-fit coupling for a fluid circulation system
KR101110400B1 (ko) * 2011-09-30 2012-02-24 주식회사 우정메카트로닉스 배관연결구 어셈블리 및 이를 이용한 배관연결방법

Patent Citations (8)

* Cited by examiner, † Cited by third party
Publication number Priority date Publication date Assignee Title
JPS6220436B2 (enExample) * 1982-09-02 1987-05-07 Yohanesu Sheefuaa Fuoamaarusu Shuteteinaa Shuraubenueruke Gmbh Unto Co Kg
EP1074782A1 (de) * 1999-08-06 2001-02-07 Armaturenfabrik Hermann Voss GmbH + Co. Steckverbinder für Druckleitungssysteme
WO2004036103A1 (de) * 2002-10-10 2004-04-29 Voss Automotive Gmbh Aufnahmeteil einer fluid-steckverbindung
JP2004197881A (ja) * 2002-12-20 2004-07-15 Flowell Corp 継手の雄部構造、雌部構造、管継手および流体装置
JP2005308139A (ja) * 2004-04-23 2005-11-04 Bridgestone Flowtech Corp 管継手構造
JP2006292166A (ja) * 2005-03-16 2006-10-26 Tokai Rubber Ind Ltd コネクタ装置及びチェッカー
WO2010082534A1 (ja) * 2009-01-14 2010-07-22 Smc株式会社 管継手
WO2011061947A1 (ja) * 2009-11-18 2011-05-26 Smc株式会社 管継手

Also Published As

Publication number Publication date
JP2015197195A (ja) 2015-11-09
CN105829787A (zh) 2016-08-03

Similar Documents

Publication Publication Date Title
CA3032192C (en) Hybrid push-to-connect fitting device and assembly
CA3018105C (en) Push-to-connect fitting device, arrangement and method
CA3113781C (en) Fitting device, arrangement and method
US20150323112A1 (en) Push-Fit Pipe Couplings
US20080203723A1 (en) Detachable pipe joint and joining method
US10030799B2 (en) Pipe joint
US20180231166A1 (en) Tube fitting
WO2021075298A1 (ja) 管継手
WO2015151584A1 (ja) 狭所配管用継手
JP5269178B2 (ja) 管継手の組立て方法
US9964246B2 (en) Hose crimp fitting or hydraulic adaptors that utilize a reverse threaded lock nut that engages to a JIC nut or similar swivel nut to prevent the nut from loosening
JP5818855B2 (ja) 管継手
JP3195332U (ja) 継手構造
JP5917198B2 (ja) 伸縮可撓式継手とこれを用いたサドル付分水栓
KR20200123142A (ko) 배관 연결 형성 장치 및 그 사용 방법
JP2015197195A5 (enExample)
JP4740219B2 (ja) パイプの連結構造
CN113446444B (zh) 管路连接装置
KR101186550B1 (ko) 관이음 조립체
KR101610900B1 (ko) 파손 배관 제거용 인서트 장치 및 그것을 구비한 공구와 소켓 렌치
JP2016075294A (ja) 管継手
NZ763855B2 (en) Fitting device, arrangement and method

Legal Events

Date Code Title Description
121 Ep: the epo has been informed by wipo that ep was designated in this application

Ref document number: 15773670

Country of ref document: EP

Kind code of ref document: A1

NENP Non-entry into the national phase
122 Ep: pct application non-entry in european phase

Ref document number: 15773670

Country of ref document: EP

Kind code of ref document: A1