WO2015060218A1 - 後退支援装置 - Google Patents

後退支援装置 Download PDF

Info

Publication number
WO2015060218A1
WO2015060218A1 PCT/JP2014/077726 JP2014077726W WO2015060218A1 WO 2015060218 A1 WO2015060218 A1 WO 2015060218A1 JP 2014077726 W JP2014077726 W JP 2014077726W WO 2015060218 A1 WO2015060218 A1 WO 2015060218A1
Authority
WO
WIPO (PCT)
Prior art keywords
object detection
distance
detection unit
rear object
transport vehicle
Prior art date
Legal status (The legal status is an assumption and is not a legal conclusion. Google has not performed a legal analysis and makes no representation as to the accuracy of the status listed.)
Ceased
Application number
PCT/JP2014/077726
Other languages
English (en)
French (fr)
Japanese (ja)
Inventor
幸彦 小野
岡田 祐子
石本 英史
真二郎 齋藤
Current Assignee (The listed assignees may be inaccurate. Google has not performed a legal analysis and makes no representation or warranty as to the accuracy of the list.)
Hitachi Construction Machinery Co Ltd
Original Assignee
Hitachi Construction Machinery Co Ltd
Priority date (The priority date is an assumption and is not a legal conclusion. Google has not performed a legal analysis and makes no representation as to the accuracy of the date listed.)
Filing date
Publication date
Application filed by Hitachi Construction Machinery Co Ltd filed Critical Hitachi Construction Machinery Co Ltd
Publication of WO2015060218A1 publication Critical patent/WO2015060218A1/ja
Anticipated expiration legal-status Critical
Ceased legal-status Critical Current

Links

Images

Classifications

    • GPHYSICS
    • G01MEASURING; TESTING
    • G01SRADIO DIRECTION-FINDING; RADIO NAVIGATION; DETERMINING DISTANCE OR VELOCITY BY USE OF RADIO WAVES; LOCATING OR PRESENCE-DETECTING BY USE OF THE REFLECTION OR RERADIATION OF RADIO WAVES; ANALOGOUS ARRANGEMENTS USING OTHER WAVES
    • G01S7/00Details of systems according to groups G01S13/00, G01S15/00, G01S17/00
    • G01S7/48Details of systems according to groups G01S13/00, G01S15/00, G01S17/00 of systems according to group G01S17/00
    • G01S7/497Means for monitoring or calibrating
    • GPHYSICS
    • G01MEASURING; TESTING
    • G01SRADIO DIRECTION-FINDING; RADIO NAVIGATION; DETERMINING DISTANCE OR VELOCITY BY USE OF RADIO WAVES; LOCATING OR PRESENCE-DETECTING BY USE OF THE REFLECTION OR RERADIATION OF RADIO WAVES; ANALOGOUS ARRANGEMENTS USING OTHER WAVES
    • G01S17/00Systems using the reflection or reradiation of electromagnetic waves other than radio waves, e.g. lidar systems
    • G01S17/02Systems using the reflection of electromagnetic waves other than radio waves
    • G01S17/06Systems determining position data of a target
    • G01S17/42Simultaneous measurement of distance and other co-ordinates
    • GPHYSICS
    • G01MEASURING; TESTING
    • G01SRADIO DIRECTION-FINDING; RADIO NAVIGATION; DETERMINING DISTANCE OR VELOCITY BY USE OF RADIO WAVES; LOCATING OR PRESENCE-DETECTING BY USE OF THE REFLECTION OR RERADIATION OF RADIO WAVES; ANALOGOUS ARRANGEMENTS USING OTHER WAVES
    • G01S17/00Systems using the reflection or reradiation of electromagnetic waves other than radio waves, e.g. lidar systems
    • G01S17/88Lidar systems specially adapted for specific applications
    • G01S17/93Lidar systems specially adapted for specific applications for anti-collision purposes
    • G01S17/931Lidar systems specially adapted for specific applications for anti-collision purposes of land vehicles
    • GPHYSICS
    • G01MEASURING; TESTING
    • G01SRADIO DIRECTION-FINDING; RADIO NAVIGATION; DETERMINING DISTANCE OR VELOCITY BY USE OF RADIO WAVES; LOCATING OR PRESENCE-DETECTING BY USE OF THE REFLECTION OR RERADIATION OF RADIO WAVES; ANALOGOUS ARRANGEMENTS USING OTHER WAVES
    • G01S7/00Details of systems according to groups G01S13/00, G01S15/00, G01S17/00
    • G01S7/48Details of systems according to groups G01S13/00, G01S15/00, G01S17/00 of systems according to group G01S17/00
    • G01S7/4808Evaluating distance, position or velocity data
    • BPERFORMING OPERATIONS; TRANSPORTING
    • B60VEHICLES IN GENERAL
    • B60RVEHICLES, VEHICLE FITTINGS, OR VEHICLE PARTS, NOT OTHERWISE PROVIDED FOR
    • B60R2300/00Details of viewing arrangements using cameras and displays, specially adapted for use in a vehicle
    • B60R2300/80Details of viewing arrangements using cameras and displays, specially adapted for use in a vehicle characterised by the intended use of the viewing arrangement
    • B60R2300/8093Details of viewing arrangements using cameras and displays, specially adapted for use in a vehicle characterised by the intended use of the viewing arrangement for obstacle warning
    • EFIXED CONSTRUCTIONS
    • E02HYDRAULIC ENGINEERING; FOUNDATIONS; SOIL SHIFTING
    • E02FDREDGING; SOIL-SHIFTING
    • E02F9/00Component parts of dredgers or soil-shifting machines, not restricted to one of the kinds covered by groups E02F3/00 - E02F7/00
    • E02F9/26Indicating devices
    • E02F9/261Surveying the work-site to be treated
    • GPHYSICS
    • G01MEASURING; TESTING
    • G01SRADIO DIRECTION-FINDING; RADIO NAVIGATION; DETERMINING DISTANCE OR VELOCITY BY USE OF RADIO WAVES; LOCATING OR PRESENCE-DETECTING BY USE OF THE REFLECTION OR RERADIATION OF RADIO WAVES; ANALOGOUS ARRANGEMENTS USING OTHER WAVES
    • G01S15/00Systems using the reflection or reradiation of acoustic waves, e.g. sonar systems
    • G01S15/88Sonar systems specially adapted for specific applications
    • G01S15/93Sonar systems specially adapted for specific applications for anti-collision purposes
    • G01S15/931Sonar systems specially adapted for specific applications for anti-collision purposes of land vehicles
    • GPHYSICS
    • G01MEASURING; TESTING
    • G01SRADIO DIRECTION-FINDING; RADIO NAVIGATION; DETERMINING DISTANCE OR VELOCITY BY USE OF RADIO WAVES; LOCATING OR PRESENCE-DETECTING BY USE OF THE REFLECTION OR RERADIATION OF RADIO WAVES; ANALOGOUS ARRANGEMENTS USING OTHER WAVES
    • G01S17/00Systems using the reflection or reradiation of electromagnetic waves other than radio waves, e.g. lidar systems
    • G01S17/86Combinations of lidar systems with systems other than lidar, radar or sonar, e.g. with direction finders
    • GPHYSICS
    • G01MEASURING; TESTING
    • G01SRADIO DIRECTION-FINDING; RADIO NAVIGATION; DETERMINING DISTANCE OR VELOCITY BY USE OF RADIO WAVES; LOCATING OR PRESENCE-DETECTING BY USE OF THE REFLECTION OR RERADIATION OF RADIO WAVES; ANALOGOUS ARRANGEMENTS USING OTHER WAVES
    • G01S7/00Details of systems according to groups G01S13/00, G01S15/00, G01S17/00
    • G01S7/48Details of systems according to groups G01S13/00, G01S15/00, G01S17/00 of systems according to group G01S17/00
    • G01S7/497Means for monitoring or calibrating
    • G01S2007/4975Means for monitoring or calibrating of sensor obstruction by, e.g. dirt- or ice-coating, e.g. by reflection measurement on front-screen

Definitions

  • the present invention relates to a backward support device that supports the backward movement of a transport vehicle such as a mine dump truck.
  • loading machines such as excavators load crushed stones such as ore and earth and sand into transport vehicles such as dump trucks. Repeat the work of returning.
  • This earthen terrain may be set under a certain cliff in the mine area.
  • the earthing position is indicated by embankment (car stop) in front of the cliff, etc., and the dump truck needs to travel backward with respect to the earthing ground, position it before the embankment, and stop safely.
  • Patent Document 1 includes a camera that captures a target lamp positioned in a target direction of vehicle travel and a captured image in a travel control device that controls the vehicle to travel automatically toward the target ramp.
  • the vehicle is provided with means for controlling the travel of the vehicle so as to travel on a target travel line determined by the relationship between the position of the target portion image and the initial position of the vehicle, and the yaw angle of the vehicle with respect to the target portion is detected from the captured image. It is described that the lateral deviation from the target travel line is calculated, and the travel of the vehicle is controlled based on the yaw angle and the lateral deviation.
  • Patent Document 2 the current position (X1, Y1) and the current posture angle ⁇ 1 of the moving body 1 when the light L1 reflected by the first light reflecting means is received by the light receiving means, The current position (X2, Y2) and current posture angle ⁇ 2 of the moving body when the light L3 reflected by the light reflecting means is received, the direction ⁇ in which the light is projected, a predetermined distance, and the target object It is described that the actual target position T ′ of the target object is measured based on the posture angle ⁇ of the target object, the teaching target position T is corrected by the target position T ′, and the moving body is guided to travel. .
  • an obstacle detection device that can identify an obstacle at an early stage is known (see, for example, Patent Document 3).
  • the yaw angle with respect to the target ramp and the distance between the target ramps can be calculated with a camera attached to each vehicle room, and the vehicle can travel along the target travel line.
  • no measures are taken to prevent the camera lens from being soiled by dust on the conveyance path on which the vehicle travels.
  • a laser light projecting / receiving sensor is disposed on the dump truck, the relative distance to the reflecting pole is measured, and the known position and relative distance of the reflecting pole are measured.
  • the vehicle position can be obtained from the calculation position, the correction position with respect to the calculation trajectory is calculated, and the vehicle can be controlled so that the target position and the target direction are obtained from the correction position.
  • no measures are taken to prevent the laser projection / reception sensor surface from being soiled by dirt, or to cope with a case where a correct relative distance cannot be measured due to contamination of the sensor surface.
  • a sensor for detecting an obstacle is installed at the rear of the vehicle.
  • the dust is sprinkled by the rotation of the tire, and the dust is likely to adhere to the sensor.
  • Patent Documents 1 to 3 are applied to a transport vehicle such as a mining dump truck, there may be a case where the vehicle stop cannot be detected.
  • An object of the present invention is to provide a backward support device that can prevent undetected car stops.
  • the present invention includes a rear object detection unit that measures a distance to an object behind a transport vehicle, wherein the rear object detection unit is outside a driven wheel of the transport vehicle, and It is arranged above the driven wheel.
  • FIG. 6B is a top view of a dump truck as a comparative example when FIG. 6B is viewed from above.
  • the measurement result when the detection window of the laser scanner (rear object detection unit) is clean it is a diagram showing the measurement distance obtained by scanning the laser scanner used in the backward support device according to the first embodiment of the present invention. is there.
  • the transport vehicle is a dump truck.
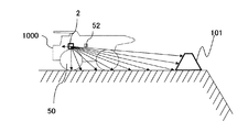
  • FIG. 1 is a diagram for explaining a use situation of a dump truck 1000 equipped with a backward support device according to the first embodiment of the present invention.
  • the dump truck 1000 loaded with crushed stone travels backward with respect to the earthmoving field DS installed under the cliff, stops at the position of the car stop 101, and releases the earth.
  • the dump truck 1000 moves backward in the x-axis direction of the orthogonal coordinate system 23.
  • the car stop 101 is formed by embankment.
  • the dump truck 1000 includes a backward support device 100 that supports the backward movement.
  • the backward assistance device 100 includes a vehicle stop 101, a vehicle stop measurement device 102, a measurement performance monitoring device 103, a self-position measurement device 105, a speed adjustment device 106, and the like. Details of these apparatuses will be described later with reference to FIG.
  • the notifying device 201 of the control station 200 displays a warning on the display unit when there is a possibility that the vehicle stop 101 has not been detected based on the information supplied from the backward assistance device 100.
  • FIG. 2 is a diagram for explaining the configuration of the backward assistance device 100 according to the first embodiment of the present invention.
  • the backward support device 100 includes a vehicle stop 101, a vehicle stop measurement device 102, a measurement performance monitoring device 103, a wireless communication device 104, a self-position measurement device 105, and a speed adjustment device 106.
  • the car stop 101 is disposed at the earth discharging position behind the dump truck 1000.
  • the vehicle stop measuring device 102 measures the relative position and orientation of the vehicle stop 101 with respect to the dump truck 1000.
  • the measurement performance monitoring device 103 monitors the measurement performance of the vehicle stop measurement device 102.
  • the wireless communication device 104 communicates with the wireless communication device 202 of the control station 200 wirelessly.
  • the self-position measuring device 105 measures the position / posture of the dump truck 1000.
  • the speed adjusting device 106 adjusts the speed of the dump truck 1000 when the vehicle stops too close to the vehicle stop or when the vehicle moves backward from the vehicle stop.
  • the vehicle stop measuring device 102 includes rear object detection units 2a and 2b, a vehicle stop measurement unit 3, and a vehicle stop storage unit 4.
  • the rear object detection units 2a and 2b are installed on the left and right (side surfaces) of the dump truck 1000, detect a part of the vehicle stop 101 behind the dump truck 1000, and the distance and direction viewed from the dump truck 1000 or relative to the dump truck 1000. Get the position.
  • the rear object detection units 2a and 2b are, for example, laser scanners (laser range scanners) that project laser light in a fan shape and measure the distance and direction to the target object by reflected light from the object.
  • the car stop measuring unit 3 obtains the relative position and orientation of the car stop 101 with respect to the dump truck 1000 based on the distance from the dump truck 1000 to two points on the car stop 101 acquired by the rear object detecting units 2a and 2b.
  • the car stop storage unit 4 stores the relative position and orientation of the car stop 101.
  • the measurement performance monitoring device 103 includes a contamination state estimation unit 7 and a contamination state storage device 8.
  • the dirt state estimation unit 7 calculates the reference object 52 (described later with reference to FIG. 3) installed on the surface (side surface of the vessel) of the dump truck 1000 from the result of measurement by the rear object detection units 2a and 2b. 2b, the dirt state is estimated.
  • the dirty state storage device 8 stores the estimated dirty state.
  • the self-position measuring device 105 includes a wheel speed measuring unit 15, a steering angle measuring unit 16, and a self-position calculating device 17.
  • the wheel speed measuring unit 15 measures the wheel rotation speed of the dump truck 1000.
  • the steering angle measurement unit 16 measures the steering angle.
  • the self-position calculation device 17 calculates the speed and angular velocity of the dump truck 1000 and the position / posture in a coordinate system fixed to the ground from the measurement results obtained by the wheel speed measurement unit 15 and the steering angle measurement unit 16.
  • the self-position measuring device 105 may be configured by an IMU (Inertial Measurement Device) and a GPS (Global Positioning System).
  • IMU Inertial Measurement Device
  • GPS Global Positioning System
  • the speed adjusting device 106 includes a braking device 18, a drive torque limiting device 19, and a transport vehicle braking control device 20.
  • the braking device 18 reduces or stops the speed of the dump truck 1000.
  • the drive torque limiting device 19 limits the rotational torque command value of the drive wheels of the dump truck 1000.
  • the transport vehicle braking control device 20 calculates the braking amount of the braking device 18 and the limiting amount of the drive torque limiting device 19 from the distance to the vehicle stop.
  • the notification device 201 of the control station 200 is based on the estimation result of the dirt state of the rear object detection units 2a and 2b supplied from the measurement performance monitoring device 103, and there is a possibility that the vehicle stop 201 is not detected or erroneously detected.
  • a warning is displayed on the display unit for notification.
  • the notification may be performed by outputting sound from a speaker or by turning on a lamp.
  • the rear object detection units 2a and 2b are connected to the vehicle stop measurement unit 3, and the vehicle stop measurement unit 3 is connected to the vehicle stop storage unit 4.
  • the rear object detection units 2 a and 2 b are also connected to the dirt state estimation unit 7 in the measurement performance monitoring device 103.
  • the wireless communication device 104 is connected to the dirt state estimation unit 7.
  • the wireless communication device 104 is wirelessly connected to the wireless communication device 202, and the wireless communication unit 202 is connected to the notification device 201.
  • the wheel speed measuring unit 15 and the steering angle measuring unit 16 are connected to the self-position calculating device 17.
  • the vehicle stop measuring unit 3 and the self-position calculating device 17 are connected to the transport vehicle braking control device 20, and the transport vehicle braking control device 20 is connected to the braking device 18 and the drive torque limiting device 19.
  • the vehicle stop measurement unit 3, the vehicle stop storage unit 4, the dirt state estimation unit 7, and the self-position calculation device 17 are mounted on a microcomputer device including, for example, a central processing unit, a storage device, an input / output circuit, and a communication circuit.
  • the transport vehicle braking control device 20 is a vehicle-mounted controller composed of, for example, a plurality of microcomputer devices, and realizes a function by software inside the vehicle-mounted controller.
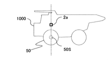
  • FIG. 3 is a perspective view of the dump truck 1000 showing the arrangement of the rear object detection unit 2 and the reference object 52 used in the backward support device 100 according to the first embodiment of the present invention.
  • FIG. 4 is a side view of the dump truck 1000 showing the arrangement of the rear object detection unit 2 and the reference object 52 used in the backward support device 100 according to the first embodiment of the present invention.
  • the rear object detection unit 2 measures the distance to the reference object 52 and supplies the measured value to the dirt state estimation unit 7. As described above, the dirt state estimation unit 7 estimates the dirt of the rear object detection unit 2 based on the measured value of the distance to the reference object 52.
  • the reference object 52 is composed of, for example, a white plate.
  • the rear object detection unit 2 is attached to the side surface of the dump truck 1000 on the driven wheel 50 (front wheel).
  • the reference object 52 is mounted on the side surface of the dump truck 1000 (the side surface of the vessel) and in a scanning angle range that is not used for scanning the car stopper 101.
  • the rear object detection unit 2 and the reference object 52 are arranged at the same height.
  • the driven wheel 50 is below the cab 61 (driver's seat).
  • FIG. 5A is a side view of the dump truck for explaining the arrangement of the rear object detection unit 2a used in the backward assistance device according to the first embodiment of the present invention.
  • FIG. 5B is a top view (schematic diagram) of the dump truck for explaining the arrangement of the rear object detection unit 2a.
  • the rear object detection unit 2a in order to prevent the splash of mud from the driven wheel 50 from adhering to the detection window of the rear object detection unit 2 (2a, 2b), it is arranged as shown in FIG. 5A. That is, the rear object detection unit 2a is installed above the axle 50 when viewed from the axle 50S direction of the driven wheel 50. That is, the rear object detection unit 2a is disposed above the driven wheel in the vertical direction.
  • the vertical position of the rear object detection unit 2a is larger than the height (diameter) of the driven wheel 50 and the height of the dump truck (the height of the upper end of the vessel) when the ground is used as a reference. Is also small.
  • the rear object detection unit 2 is installed in In other words, the rear object detection unit 2 is based on the outer end surface of the driven wheel 50 of the dump truck 1000 corresponding to the maximum right turn steering angle and the outer end surface of the driven wheel of the transport vehicle corresponding to the maximum left turn steering angle. Arranged in the sandwiched area.
  • the rear object detection unit 2 is installed in the range W of the wheel diameter from the driven wheel axle. Also good. That is, the rear object detection unit 2 is disposed at a position where the distance from the vertical plane including the axle 50S is smaller than the driven wheel radius R.
  • the side surface 1000S of the dump truck 1000 is located at a position separated by a predetermined distance d1 from the outer end surface of the driven wheel 50 corresponding to the steering angle when the dump truck 1000 goes straight ahead outward in the axial direction of the axle 50S.
  • the rear object detection unit 2 is disposed on the side surface 1000S. That is, the rear object detection unit 2 is disposed outside the driven wheel 50 with respect to the direction of the horizontal axle 50S.
  • the rear object detection units 2a and 2b may be covered with a dustproof cover 6 in order to prevent dirt, water droplets, snow and the like from directly attaching to the detection windows 5a and 5b of the rear object detection units 2a and 2b. .
  • the splash of mud from the driven wheel 50 is detected in the detection window of the rear object detection unit 2 (2a, 2b). It can be prevented from adhering. Thereby, undetected of the vehicle stop 101 can be prevented.
  • FIG. 6A is a side view of a dump truck 1000 as a comparative example in which the rear object detection unit 2 is disposed at the rear part of the dump truck 1000.
  • FIG. 6B is a side view of a dump truck 1000 as a comparative example showing a state in which the dust 22 rises.
  • FIG. 6C is a top view of a dump truck 1000 as a comparative example when FIG. 6B is viewed from above.
  • FIG. 6B schematically shows how the dust 22 drifts around the dump truck 1000.
  • the detection surface of the rear object detection unit 2 becomes dirty, and the distance to the vehicle stop 101 is correctly measured. There are things that cannot be done.
  • the rear object detection unit 2 is attached in the vicinity of the driven wheel apart from the rear wheel, such as the deck side surface of the large dump truck 1000. Thereby, it is possible to suppress the frequency at which the dust that has fluttered adheres to the detection window of the rear object detection unit 2.
  • FIG. 7A is a schematic diagram (side view of a dump truck) for explaining backward detection by the backward assistance device 100 according to the first embodiment of the present invention.
  • FIG. 7B is a schematic diagram (a top view of the dump truck) for explaining the backward detection by the backward assistance device 100 according to the first embodiment of the present invention.
  • FIG. 7 (7A, 7B) shows a state in which the dump truck 1000 for mine moves backward while detecting the car stop 101 at the earthmoving field.
  • 7A indicates the distance D obtained by the vehicle stop measuring device 102 when the rear object detection units 2a and 2b are configured by a laser scanner.
  • FIG. 8 is a flowchart showing processing of the backward assistance device 100 according to the first embodiment of the present invention. Steps S201 to S208 in FIG. 8 show each processing block of the flow.
  • the reverse assistance device 100 executes the following processing when detecting a vehicle stop (step S201; YES).
  • Bollard measuring device 102 calculates D R, further, D L, dump truck the smaller of D R A distance D up to 1000 is obtained (step S202). Further, the vehicle stop measuring device 102 calculates the direction ⁇ of the dump truck 1000 as viewed from the vehicle stop using the following formula (1) using the distance L between the laser irradiation surfaces 2a and 2b (step S202). However, ⁇ is positive in the counterclockwise direction in FIG. 7B.
  • is a transporting vehicle angle indicating an angle formed by a surface S1 perpendicular to the longitudinal direction (horizontal direction) of the car stop 101 and a surface S2 perpendicular to the axle 50S of the driven wheel 50 of the dump truck 1000.
  • the vehicle stop measuring device 102 determines whether or not the direction ⁇ obtained in step S202 is greater than or equal to a certain threshold value K ⁇ (step S203). Then, the direction alpha obtained in step S202, in the case of more than a certain threshold value K alpha; because it indicates that are recessed obliquely to (step S203 YES), the dump truck 1000 bollard, speed The adjusting device 106 limits the speed of the dump truck 1000 (step S205). Thereby, a time margin for correcting the direction of the dump truck 1000 is secured.
  • step S204 Orientation alpha obtained in step S202, in case the threshold K alpha smaller than; or (step S203 NO), the wheel stop measurement device 102 is below the threshold K D with the distance D obtained in step S202 It is determined whether or not (step S204).
  • the distance D obtained in S202 is less than or equal to a threshold K D; because it indicates that (step S204 YES), the dump truck 1000 is approaching the bollard, the speed adjustment device 106, the dump The speed of the track 1000 is limited (step S206). Thereby, the dump truck 1000 can be stopped safely.
  • the vehicle stop measuring device 102 determines whether or not the distance D obtained in step S202 is equal to or less than the target distance k (step S207).
  • the target distance k is smaller than the threshold value K D.
  • step S207 When the dump truck 1000 further approaches the vehicle stop and the distance D obtained in step S202 becomes equal to or less than the target distance k (step S207;), the speed adjustment device 106 stops the dump truck 1000 (step S208) and performs processing. Exit.
  • FIG. 9A shows an example of a measurement result obtained when the detection window 53 of the laser scanner (rear object detection unit 2) is clean, which is obtained by scanning the laser scanner used in the backward support device 100 according to the first embodiment of the present invention. It is a figure which shows the measured distance.
  • FIG. 9B shows an example of a measurement result when the detection window 53 of the laser scanner (rear object detection unit 2) is dirty, by scanning of the laser scanner used in the backward support device 100 according to the first embodiment of the present invention. It is a figure which shows the measurement distance obtained.
  • the vertical axis indicates the measurement distance T
  • the horizontal axis indicates the scanning angle ⁇ .
  • the measurement distance T is shown.
  • FIG. 9B an abnormality is observed in the measurement distance T due to contamination of the detection window 53 of the laser scanner.
  • the contamination state of the detection window 53 of the laser scanner is estimated using the measurement deviation of the measurement distance T.
  • FIG. 10 is a stain state determination flowchart by the backward support device 100 according to the first embodiment of the present invention. Steps S300 to S309 in FIG. 10 show processing blocks of the flow.
  • the dirt state estimation unit 7 acquires the installation distance Ts from the laser scanner to the reference object 52 (step S300). For example, the dirt state estimation unit 7 reads and acquires the installation distance Ts that is input from a predetermined input device and stored in a predetermined storage device.
  • the measurement performance monitoring apparatus 103 sets the scanning angle ⁇ i to ⁇ start and starts scanning of the laser scanner (step S301).
  • the measurement performance monitoring apparatus 103 acquires the measurement distance Ti at the scanning angle ⁇ i (step S302).
  • the measurement performance monitoring device 103 obtains a deviation between Ti and Ts and compares it with the first determination threshold A. Specifically, the measurement performance monitoring apparatus 103 determines whether or not the absolute value of the difference between Ti and Ts is smaller than the threshold value A (step S303).
  • the measurement performance monitoring device 103 determines that an abnormal state as illustrated in 52c of FIG. 9B has occurred, and the speed adjustment device 106 Is stopped (step S308).
  • the measurement performance monitoring device 103 notifies the notification device 201 of the control station 200 that an abnormal state has occurred via the wireless communication device 104 (step S309).
  • the notification device 201 displays on the display unit that the rear object detection unit 2 is dirty on the display unit and that the vehicle stop 101 may not be detected.
  • step S303 when the deviation between Ti and Ts is smaller than the threshold A (step S303; YES), the measurement performance monitoring apparatus 103 proceeds to step S304.
  • the measurement performance monitoring apparatus 103 determines whether or not the scanning angle ⁇ i has reached the scanning end angle ⁇ end (step S304).
  • step S304 When the scanning end angle ⁇ end has not been reached (step S304; NO), the measurement performance monitoring apparatus 103 sets an angle obtained by adding ⁇ to the scanning angle ⁇ i as a new scanning angle ⁇ i (step S305), and performs the processing from step S302. repeat.
  • the measurement performance monitoring apparatus 103 obtains an average distance Tave obtained by averaging all the acquired Ti (step S306).
  • the measurement performance monitoring apparatus 103 obtains a deviation between Tave and Ts and compares it with the second determination threshold value B. Specifically, the measurement performance monitoring apparatus 103 determines whether or not the absolute value of the difference between Tave and Ts is smaller than the threshold value B (step S307).
  • the measurement performance monitoring apparatus 103 When the deviation between Tave and Ts is greater than or equal to the threshold B (step S307; NO), the measurement performance monitoring apparatus 103 is in a state where the measurement distance T starts to deviate from Ts, as in the flat portion 52b of the graph illustrated in FIG. 9B.
  • the speed adjusting device 106 limits the traveling speed (step S310).
  • the threshold value B is smaller than the threshold value A.
  • step S307 determines that it is in a normal state.
  • the contamination state of the detection window 53 of the laser scanner as the rear object detection unit 2a, 2b is determined, and the vehicle stop 101 may not be detected based on the determination result. It can be notified that there is. When there is a notification, the user can prevent undetected vehicle stops by performing maintenance such as cleaning or replacing the detection window 53 of the laser scanner.
  • FIG. 11A is a diagram illustrating scanning of a laser scanner serving as the rear object detection units 2a and 2b used in the backward assistance device according to the first embodiment of the present invention.
  • FIG. 11B is a diagram illustrating the intensity of the reflected light of the laser scanner as the rear object detection units 2a and 2b when scanning is performed as illustrated in FIG. 11A.
  • the vertical axis indicates the intensity of the reflected light of the laser scanner, and the horizontal axis indicates the distance from the laser scanner.
  • the car stop 201 has an inclined portion 101a.
  • the intensity of the reflected light of the laser scanner changes at the detection position of the vehicle stop 101 as shown in FIG. 11B.
  • the vehicle stop measuring device 102 detects the position of the vehicle stop from the change in the intensity of the reflected light of the laser scanner.
  • FIG. 12 is a diagram for explaining a method of robustly detecting the vehicle stop by the backward assistance device 100 according to the first embodiment of the present invention even when the dust 22 has sprinkled near the vehicle stop 101.
  • FIG. 12B shows a graph of the profile P of the height change in the section X of the transport vehicle traveling surface 108 by the detection surface 107 by the rear object detection unit 2 (2a, 2b).
  • the horizontal axis of the graph indicates the horizontal position on the detection surface 107, and the vertical axis indicates the height in the vertical direction.
  • the rear detection device 2 is configured to be able to detect, for example, a portion of BP where the height gradually increases from the profile P of the change in height as the vehicle stop 101.
  • rear detection device 2 whether the change in height is hardly sufficiently small C P portion of the profile P and transport vehicle travel surface 108, the boundary between the bollard 101 and haul vehicle travel surface 108, i.e., the profile P and it is configured so as to detect the position D P that varies greatly as a bollard boundary 109.
  • measurement points such as EP may occur in the profile P due to the generation of the dust 22.
  • the measurement points of the profile P are sparse, and the undetected rate and the false detection rate of the car stop 101 are high.
  • FIG. 13 is a side view of the dump truck 1000 showing the positional relationship between the rear object detection unit 2 and the inclined portion 101a of the car stopper 100 used in the backward assistance device 100 according to the first embodiment of the present invention.
  • the rear object detection unit 2 is configured such that, in a state where the dump truck is stopped at the position of the car stop 101, the intersection line between the detection surface 107 and the inclined portion 101 a by the rear object detection unit 2, and the travel surface side from the rear object detection unit 2. Are arranged so that a straight line drawn to one end of the intersecting line is perpendicular.
  • this invention is not limited to the above-mentioned Example, Various modifications are included.
  • the above-described embodiments are illustrative of the present invention, and are not necessarily limited to those having all the configurations described. Further, a part of the configuration of a certain embodiment can be replaced with the configuration of another embodiment, and the configuration of another embodiment can be added to the configuration of a certain embodiment. Moreover, it is also possible to add, delete, and replace other configurations for a part of the configuration of each embodiment.
  • the notification device 201 is disposed in the control station 200, but may be disposed in the dump truck 1000.
  • a laser scanner (laser range scanner) is used as the rear object detection unit 2, but the rear object detection unit 2 can measure the distance to an object behind the dump truck 1000. Anything can be used.
  • the rear object detection unit 2 may measure the distance using electromagnetic waves, ultrasonic waves, or the like.
  • you may combine the back object detection part 2 from which a measuring system differs.
  • the reference object 52 is attached on the side surface of the dump truck 1000 (the side surface of the vessel), but may be placed on the ground (traveling surface).

Landscapes

  • Engineering & Computer Science (AREA)
  • Physics & Mathematics (AREA)
  • Computer Networks & Wireless Communication (AREA)
  • General Physics & Mathematics (AREA)
  • Radar, Positioning & Navigation (AREA)
  • Remote Sensing (AREA)
  • Electromagnetism (AREA)
  • Control Of Position, Course, Altitude, Or Attitude Of Moving Bodies (AREA)
  • Optical Radar Systems And Details Thereof (AREA)
  • Traffic Control Systems (AREA)
  • Radar Systems Or Details Thereof (AREA)
  • Measurement Of Velocity Or Position Using Acoustic Or Ultrasonic Waves (AREA)
PCT/JP2014/077726 2013-10-24 2014-10-17 後退支援装置 Ceased WO2015060218A1 (ja)

Applications Claiming Priority (2)

Application Number Priority Date Filing Date Title
JP2013220839A JP6284741B2 (ja) 2013-10-24 2013-10-24 後退支援装置
JP2013-220839 2013-10-24

Publications (1)

Publication Number Publication Date
WO2015060218A1 true WO2015060218A1 (ja) 2015-04-30

Family

ID=52992815

Family Applications (1)

Application Number Title Priority Date Filing Date
PCT/JP2014/077726 Ceased WO2015060218A1 (ja) 2013-10-24 2014-10-17 後退支援装置

Country Status (2)

Country Link
JP (1) JP6284741B2 (enExample)
WO (1) WO2015060218A1 (enExample)

Cited By (5)

* Cited by examiner, † Cited by third party
Publication number Priority date Publication date Assignee Title
WO2018164203A1 (ja) * 2017-03-10 2018-09-13 日立建機株式会社 スキャナー、作業機械、及び車止め検出装置
RU2715599C1 (ru) * 2019-01-18 2020-03-02 Акционерное общество "Черногорский ремонтно-механический завод" (АО "Черногорский РМЗ") Система противоаварийной безопасности
WO2020185007A2 (en) 2019-03-12 2020-09-17 Yujin Robot Co., Ltd. Distance measurement sensor which detects error state in accordance with foreign substance and mobile robot
CN114325755A (zh) * 2021-11-26 2022-04-12 江苏徐工工程机械研究院有限公司 一种适用于自动驾驶车辆的挡土墙检测方法及系统
US11320830B2 (en) 2019-10-28 2022-05-03 Deere & Company Probabilistic decision support for obstacle detection and classification in a working area

Families Citing this family (9)

* Cited by examiner, † Cited by third party
Publication number Priority date Publication date Assignee Title
JP6315696B2 (ja) * 2014-09-29 2018-04-25 日立建機株式会社 運搬車両の停止位置算出装置
JP6718341B2 (ja) * 2016-09-13 2020-07-08 日立建機株式会社 鉱山用作業機械及びその後方監視方法
JP6752168B2 (ja) 2017-02-27 2020-09-09 日立建機株式会社 ダンプトラック及び後退支援装置
JP6866839B2 (ja) * 2017-12-12 2021-04-28 株式会社豊田自動織機 自動運転フォークリフト
JP6900897B2 (ja) * 2017-12-25 2021-07-07 コベルコ建機株式会社 建設機械の障害物検出装置
JP6909752B2 (ja) * 2018-03-30 2021-07-28 日立建機株式会社 作業機械の後退支援装置
US11543535B2 (en) 2019-07-03 2023-01-03 Uatc, Llc Lidar fault detection system
CN118519120A (zh) * 2021-08-31 2024-08-20 深圳市速腾聚创科技有限公司 激光雷达遮挡检测方法、装置、存储介质及激光雷达
CN114966631B (zh) * 2022-05-19 2025-02-07 安徽蔚来智驾科技有限公司 车载激光雷达的故障诊断及处理方法、装置、介质及车辆

Citations (9)

* Cited by examiner, † Cited by third party
Publication number Priority date Publication date Assignee Title
US5463384A (en) * 1991-02-11 1995-10-31 Auto-Sense, Ltd. Collision avoidance system for vehicles
JPH11264871A (ja) * 1998-03-17 1999-09-28 Komatsu Ltd 車両用障害物検出装置の監視機構
JP2001334966A (ja) * 2000-03-24 2001-12-04 Isuzu Motors Ltd トレーラ連結角検出装置
JP2003307564A (ja) * 2002-02-15 2003-10-31 Mitsubishi Electric Corp 傾斜角度測定装置
JP2009020076A (ja) * 2007-07-13 2009-01-29 Toyota Motor Corp 車両用レーダ装置
WO2009063710A1 (ja) * 2007-11-14 2009-05-22 Bosch Corporation 駐車支援装置
US20090259399A1 (en) * 2008-04-15 2009-10-15 Caterpillar Inc. Obstacle detection method and system
JP2013195086A (ja) * 2012-03-15 2013-09-30 Komatsu Ltd 障害物検出機構付きダンプトラック
JP2014069647A (ja) * 2012-09-28 2014-04-21 Denso Corp 駐車支援システム及び位置決め体付き輪止め

Family Cites Families (3)

* Cited by examiner, † Cited by third party
Publication number Priority date Publication date Assignee Title
GB2369737B (en) * 2000-05-08 2005-02-02 Automotive Tech Int Vehicular blind spot identification and monitoring system
JP5187805B2 (ja) * 2006-10-03 2013-04-24 独立行政法人産業技術総合研究所 移動物体の指標位置への相対角度及び位置計測方法及び、それを利用した駐車支援方法及びシステム
JP2011106216A (ja) * 2009-11-20 2011-06-02 Autonetworks Technologies Ltd 車両用無線給電装置

Patent Citations (9)

* Cited by examiner, † Cited by third party
Publication number Priority date Publication date Assignee Title
US5463384A (en) * 1991-02-11 1995-10-31 Auto-Sense, Ltd. Collision avoidance system for vehicles
JPH11264871A (ja) * 1998-03-17 1999-09-28 Komatsu Ltd 車両用障害物検出装置の監視機構
JP2001334966A (ja) * 2000-03-24 2001-12-04 Isuzu Motors Ltd トレーラ連結角検出装置
JP2003307564A (ja) * 2002-02-15 2003-10-31 Mitsubishi Electric Corp 傾斜角度測定装置
JP2009020076A (ja) * 2007-07-13 2009-01-29 Toyota Motor Corp 車両用レーダ装置
WO2009063710A1 (ja) * 2007-11-14 2009-05-22 Bosch Corporation 駐車支援装置
US20090259399A1 (en) * 2008-04-15 2009-10-15 Caterpillar Inc. Obstacle detection method and system
JP2013195086A (ja) * 2012-03-15 2013-09-30 Komatsu Ltd 障害物検出機構付きダンプトラック
JP2014069647A (ja) * 2012-09-28 2014-04-21 Denso Corp 駐車支援システム及び位置決め体付き輪止め

Cited By (7)

* Cited by examiner, † Cited by third party
Publication number Priority date Publication date Assignee Title
WO2018164203A1 (ja) * 2017-03-10 2018-09-13 日立建機株式会社 スキャナー、作業機械、及び車止め検出装置
RU2715599C1 (ru) * 2019-01-18 2020-03-02 Акционерное общество "Черногорский ремонтно-механический завод" (АО "Черногорский РМЗ") Система противоаварийной безопасности
WO2020185007A2 (en) 2019-03-12 2020-09-17 Yujin Robot Co., Ltd. Distance measurement sensor which detects error state in accordance with foreign substance and mobile robot
EP3942330A4 (en) * 2019-03-12 2023-06-14 Yujin Robot Co., Ltd. DISTANCE MEASURING SENSOR FOR DETECTING ERROR CONDITION ACCORDING TO A FOREIGN SUBSTANCE AND MOBILE ROBOT
US11320830B2 (en) 2019-10-28 2022-05-03 Deere & Company Probabilistic decision support for obstacle detection and classification in a working area
CN114325755A (zh) * 2021-11-26 2022-04-12 江苏徐工工程机械研究院有限公司 一种适用于自动驾驶车辆的挡土墙检测方法及系统
WO2023092870A1 (zh) * 2021-11-26 2023-06-01 江苏徐工工程机械研究院有限公司 一种适用于自动驾驶车辆的挡土墙检测方法及系统

Also Published As

Publication number Publication date
JP2015081877A (ja) 2015-04-27
JP6284741B2 (ja) 2018-02-28

Similar Documents

Publication Publication Date Title
JP6284741B2 (ja) 後退支援装置
EP3139361B1 (en) Road-shoulder-detecting system and transportation vehicle for mining
US10800406B2 (en) Mining machine, management system of mining machine, and management method of mining machine
JP6386794B2 (ja) 運搬車両
CN107428316A (zh) 车辆及矿山用运输车辆的运行系统
CN107783537A (zh) 自主行驶车辆的控制装置、控制系统以及控制方法
JP6718341B2 (ja) 鉱山用作業機械及びその後方監視方法
JP6247904B2 (ja) 鉱山用運搬車両
WO2016121688A1 (ja) 運搬用車両の障害物検出装置
JP2013186724A (ja) 走行制御装置及び走行制御方法
JP2018151217A (ja) スキャナー、作業機械、及び車止め検出装置
JP2013186722A (ja) 走行制御装置及び走行制御方法
JP6909752B2 (ja) 作業機械の後退支援装置
JP2020190413A (ja) 車両進行状態推定システム、車両進行状態推定方法、及び車両進行状態推定プログラム
CN204198279U (zh) 集装箱起重机行走纠偏及大路防撞系统
CN110182207B (zh) 车辆的检测方法及装置
JP2020067702A (ja) 姿勢検出装置及び運搬システム
CN109484300B (zh) 车辆摄像机系统
JP6293328B2 (ja) 路肩検出システムおよび鉱山用運搬車両
JP6387135B2 (ja) 路肩検出システムおよび鉱山用運搬車両
JP2013186723A (ja) 走行制御装置及び走行制御方法
WO2024075577A1 (ja) 鉱山車両自律走行システム
WO2022220029A1 (ja) 運搬車両及び運搬システム

Legal Events

Date Code Title Description
121 Ep: the epo has been informed by wipo that ep was designated in this application

Ref document number: 14856724

Country of ref document: EP

Kind code of ref document: A1

NENP Non-entry into the national phase

Ref country code: DE

122 Ep: pct application non-entry in european phase

Ref document number: 14856724

Country of ref document: EP

Kind code of ref document: A1