WO2014188784A1 - 光検出器 - Google Patents

光検出器 Download PDF

Info

Publication number
WO2014188784A1
WO2014188784A1 PCT/JP2014/059060 JP2014059060W WO2014188784A1 WO 2014188784 A1 WO2014188784 A1 WO 2014188784A1 JP 2014059060 W JP2014059060 W JP 2014059060W WO 2014188784 A1 WO2014188784 A1 WO 2014188784A1
Authority
WO
WIPO (PCT)
Prior art keywords
photodetector
semiconductor
metal layer
organic semiconductor
convex
Prior art date
Legal status (The legal status is an assumption and is not a legal conclusion. Google has not performed a legal analysis and makes no representation as to the accuracy of the status listed.)
Ceased
Application number
PCT/JP2014/059060
Other languages
English (en)
French (fr)
Japanese (ja)
Inventor
嘉晴 安食
勲 下山
潔 松本
哲朗 菅
幸一 唐木
佐々木 靖夫
正幸 八尋
明子 濱田
安達 千波矢
Current Assignee (The listed assignees may be inaccurate. Google has not performed a legal analysis and makes no representation or warranty as to the accuracy of the list.)
Kyushu University NUC
Olympus Corp
University of Tokyo NUC
Original Assignee
Kyushu University NUC
Olympus Corp
University of Tokyo NUC
Priority date (The priority date is an assumption and is not a legal conclusion. Google has not performed a legal analysis and makes no representation as to the accuracy of the date listed.)
Filing date
Publication date
Application filed by Kyushu University NUC, Olympus Corp, University of Tokyo NUC filed Critical Kyushu University NUC
Publication of WO2014188784A1 publication Critical patent/WO2014188784A1/ja
Priority to US14/936,244 priority Critical patent/US10290823B2/en
Anticipated expiration legal-status Critical
Ceased legal-status Critical Current

Links

Images

Classifications

    • HELECTRICITY
    • H10SEMICONDUCTOR DEVICES; ELECTRIC SOLID-STATE DEVICES NOT OTHERWISE PROVIDED FOR
    • H10KORGANIC ELECTRIC SOLID-STATE DEVICES
    • H10K30/00Organic devices sensitive to infrared radiation, light, electromagnetic radiation of shorter wavelength or corpuscular radiation
    • H10K30/10Organic devices sensitive to infrared radiation, light, electromagnetic radiation of shorter wavelength or corpuscular radiation comprising heterojunctions between organic semiconductors and inorganic semiconductors
    • HELECTRICITY
    • H10SEMICONDUCTOR DEVICES; ELECTRIC SOLID-STATE DEVICES NOT OTHERWISE PROVIDED FOR
    • H10KORGANIC ELECTRIC SOLID-STATE DEVICES
    • H10K30/00Organic devices sensitive to infrared radiation, light, electromagnetic radiation of shorter wavelength or corpuscular radiation
    • H10K30/20Organic devices sensitive to infrared radiation, light, electromagnetic radiation of shorter wavelength or corpuscular radiation comprising organic-organic junctions, e.g. donor-acceptor junctions
    • HELECTRICITY
    • H10SEMICONDUCTOR DEVICES; ELECTRIC SOLID-STATE DEVICES NOT OTHERWISE PROVIDED FOR
    • H10KORGANIC ELECTRIC SOLID-STATE DEVICES
    • H10K30/00Organic devices sensitive to infrared radiation, light, electromagnetic radiation of shorter wavelength or corpuscular radiation
    • H10K30/30Organic devices sensitive to infrared radiation, light, electromagnetic radiation of shorter wavelength or corpuscular radiation comprising bulk heterojunctions, e.g. interpenetrating networks of donor and acceptor material domains
    • HELECTRICITY
    • H10SEMICONDUCTOR DEVICES; ELECTRIC SOLID-STATE DEVICES NOT OTHERWISE PROVIDED FOR
    • H10KORGANIC ELECTRIC SOLID-STATE DEVICES
    • H10K30/00Organic devices sensitive to infrared radiation, light, electromagnetic radiation of shorter wavelength or corpuscular radiation
    • H10K30/451Organic devices sensitive to infrared radiation, light, electromagnetic radiation of shorter wavelength or corpuscular radiation comprising a metal-semiconductor-metal [m-s-m] structure
    • HELECTRICITY
    • H10SEMICONDUCTOR DEVICES; ELECTRIC SOLID-STATE DEVICES NOT OTHERWISE PROVIDED FOR
    • H10KORGANIC ELECTRIC SOLID-STATE DEVICES
    • H10K30/00Organic devices sensitive to infrared radiation, light, electromagnetic radiation of shorter wavelength or corpuscular radiation
    • H10K30/80Constructional details
    • H10K30/81Electrodes
    • HELECTRICITY
    • H10SEMICONDUCTOR DEVICES; ELECTRIC SOLID-STATE DEVICES NOT OTHERWISE PROVIDED FOR
    • H10KORGANIC ELECTRIC SOLID-STATE DEVICES
    • H10K85/00Organic materials used in the body or electrodes of devices covered by this subclass
    • H10K85/30Coordination compounds
    • H10K85/321Metal complexes comprising a group IIIA element, e.g. Tris (8-hydroxyquinoline) gallium [Gaq3]
    • H10K85/324Metal complexes comprising a group IIIA element, e.g. Tris (8-hydroxyquinoline) gallium [Gaq3] comprising aluminium, e.g. Alq3
    • HELECTRICITY
    • H10SEMICONDUCTOR DEVICES; ELECTRIC SOLID-STATE DEVICES NOT OTHERWISE PROVIDED FOR
    • H10KORGANIC ELECTRIC SOLID-STATE DEVICES
    • H10K85/00Organic materials used in the body or electrodes of devices covered by this subclass
    • H10K85/30Coordination compounds
    • H10K85/371Metal complexes comprising a group IB metal element, e.g. comprising copper, gold or silver
    • HELECTRICITY
    • H10SEMICONDUCTOR DEVICES; ELECTRIC SOLID-STATE DEVICES NOT OTHERWISE PROVIDED FOR
    • H10KORGANIC ELECTRIC SOLID-STATE DEVICES
    • H10K85/00Organic materials used in the body or electrodes of devices covered by this subclass
    • H10K85/60Organic compounds having low molecular weight
    • H10K85/649Aromatic compounds comprising a hetero atom
    • H10K85/655Aromatic compounds comprising a hetero atom comprising only sulfur as heteroatom
    • GPHYSICS
    • G01MEASURING; TESTING
    • G01JMEASUREMENT OF INTENSITY, VELOCITY, SPECTRAL CONTENT, POLARISATION, PHASE OR PULSE CHARACTERISTICS OF INFRARED, VISIBLE OR ULTRAVIOLET LIGHT; COLORIMETRY; RADIATION PYROMETRY
    • G01J1/00Photometry, e.g. photographic exposure meter
    • G01J1/42Photometry, e.g. photographic exposure meter using electric radiation detectors
    • HELECTRICITY
    • H10SEMICONDUCTOR DEVICES; ELECTRIC SOLID-STATE DEVICES NOT OTHERWISE PROVIDED FOR
    • H10KORGANIC ELECTRIC SOLID-STATE DEVICES
    • H10K30/00Organic devices sensitive to infrared radiation, light, electromagnetic radiation of shorter wavelength or corpuscular radiation
    • H10K30/50Photovoltaic [PV] devices
    • YGENERAL TAGGING OF NEW TECHNOLOGICAL DEVELOPMENTS; GENERAL TAGGING OF CROSS-SECTIONAL TECHNOLOGIES SPANNING OVER SEVERAL SECTIONS OF THE IPC; TECHNICAL SUBJECTS COVERED BY FORMER USPC CROSS-REFERENCE ART COLLECTIONS [XRACs] AND DIGESTS
    • Y02TECHNOLOGIES OR APPLICATIONS FOR MITIGATION OR ADAPTATION AGAINST CLIMATE CHANGE
    • Y02EREDUCTION OF GREENHOUSE GAS [GHG] EMISSIONS, RELATED TO ENERGY GENERATION, TRANSMISSION OR DISTRIBUTION
    • Y02E10/00Energy generation through renewable energy sources
    • Y02E10/50Photovoltaic [PV] energy
    • Y02E10/549Organic PV cells
    • YGENERAL TAGGING OF NEW TECHNOLOGICAL DEVELOPMENTS; GENERAL TAGGING OF CROSS-SECTIONAL TECHNOLOGIES SPANNING OVER SEVERAL SECTIONS OF THE IPC; TECHNICAL SUBJECTS COVERED BY FORMER USPC CROSS-REFERENCE ART COLLECTIONS [XRACs] AND DIGESTS
    • Y02TECHNOLOGIES OR APPLICATIONS FOR MITIGATION OR ADAPTATION AGAINST CLIMATE CHANGE
    • Y02PCLIMATE CHANGE MITIGATION TECHNOLOGIES IN THE PRODUCTION OR PROCESSING OF GOODS
    • Y02P70/00Climate change mitigation technologies in the production process for final industrial or consumer products
    • Y02P70/50Manufacturing or production processes characterised by the final manufactured product

Definitions

  • the present invention relates to a photodetector.
  • Non-Patent Document 1 a photodetector having a quantum well structure
  • an infrared light absorber using a metal (Au) / semiconductor material (Ge) instead of a quantum well (metamaterial type) ) (For example, see Non-Patent Document 2), those using a metal semiconductor junction using silicon (for example, see Non-Patent Document 3), and those having an antenna layer for generating surface plasmon resonance (for example, Patent Reference 1) is proposed.
  • Non-Patent Document 1 uses a compound semiconductor, it lacks affinity with the silicon process.
  • the material control of compound semiconductors must be performed finely and at a high temperature, if there is contamination in the vacuum chamber, the composition of the material changes due to the diffusion of the contaminant, and the desired material Will not be obtained. Therefore, it is assumed that it becomes difficult to integrate these photodetectors into a silicon device using a process such as film formation. Therefore, considering that a quantum well is formed using a silicon device, it is theoretically impossible to produce a stacked layer of crystalline silicon and amorphous silicon by a normal deposition process. This is because, in order to obtain crystalline silicon, a process of annealing and recrystallizing amorphous silicon at a high temperature is required.
  • Non-Patent Document 2 absorbs infrared light by utilizing metal plasmonic resonance, but is assumed to be difficult to manufacture. The reason is that there is a problem of metal contamination described above.
  • Non-Patent Document 3 uses a metal semiconductor junction using silicon, it can be easily manufactured as compared with the photodetector disclosed in Non-Patent Documents 1 and 2. .
  • silicon has low detection sensitivity for light in the infrared region, the wavelength of detection light is limited.
  • the photodetector disclosed in Patent Document 1 outputs near-field light from a through-hole of the antenna layer by surface plasmon resonance generated in the antenna layer, and the near-field light is received through the light-receiving surface of the through-hole portion. It is to receive light. Therefore, according to such a photodetector, it is possible to detect light in the infrared region by appropriately configuring the antenna layer so that surface plasmon resonance is generated by light having a desired wavelength.
  • the antenna layer has a grating structure, the detection sensitivity has incident angle dependence, and stable detection sensitivity cannot be obtained over a wide range of incident angles.
  • an object of the present invention made in view of the above-described viewpoint is to provide a photodetector that can be easily manufactured and can detect light in the infrared region with high sensitivity without depending on the incident angle.
  • the photodetector according to the present invention that achieves the above object is as follows.
  • the detection sensitivity can be improved.
  • an organic semiconductor can be easily manufactured, and light in the infrared region can be detected with high sensitivity without depending on the incident angle.
  • the height of the convex portion including the metal layer is preferably a dimension not larger than the wavelength of the detection light, and the maximum dimension of the thickness of the convex portion is not larger than the wavelength of the detection light.
  • the semiconductor may be an organic semiconductor.
  • the Schottky barrier at the junction with the metal layer can be tuned, so that the amount of electrons that can overcome the barrier can be increased, the sensitivity can be improved, and the sensitivity band can also be tuned.
  • a substrate that supports the semiconductor may be provided. Thereby, various mountings are possible.
  • the substrate may be a semiconductor substrate. Accordingly, a highly versatile substrate such as silicon can be used, cost can be reduced, integration can be facilitated, and the applicability can be expanded.
  • the substrate may be a conductive substrate.
  • a flexible conductive substrate such as ITO / PET, ITO / polyimide, and aluminum foil can be used, and a flexible photodetector can be realized.
  • the substrate may be an insulating substrate. Thereby, surface mounting can be carried out on insulating boards, such as glass, and application can be expanded.
  • the semiconductor may be an inorganic semiconductor.
  • the height of the convex portion including the metal layer is preferably 20 nm or more. As a result, the detection sensitivity can be improved by about 6 times compared to a photodetector without a convex portion.
  • the height of the convex portion including the metal layer is preferably 50 nm or more.
  • the metal layer is a concavo-convex structure having a convex portion and a concave portion adjacent to the convex portion,
  • the height of the convex part of the concavo-convex structure may be a dimension that is not larger than the wavelength of the detection light, and the maximum dimension of the thickness of the convex part may be a dimension that is not larger than the wavelength of the detection light.
  • the convex portion including the metal layer may be formed by bending or bending into an arbitrary shape. Good for this, and easier to manufacture.
  • the organic semiconductor may be phthalocyanine-based, thiophene-based, or Alq3.
  • the metal layer may be any one of Au, Pt, Al, and Ag.
  • the semiconductor may be any of phthalocyanine, thiophene, Alq3, and silicon.
  • the present invention it is possible to obtain a photodetector that can be easily manufactured and can detect light in the infrared region with high sensitivity without depending on the incident angle.
  • FIG. 1 is a cross-sectional view illustrating a schematic configuration of a photodetector according to Example 1.
  • FIG. FIG. 5 is a process diagram for explaining an example of a method for manufacturing the photodetector of the first embodiment.
  • FIG. 5 is a process diagram for explaining an example of a method for manufacturing the photodetector of the first embodiment.
  • 2 is an electron microscope image of the photodetector of Example 1.
  • FIG. 6 is a cross-sectional view illustrating a schematic configuration of a photodetector according to Example 2.
  • FIG. 6 is a cross-sectional view illustrating a schematic configuration of a photodetector according to Example 3.
  • FIG. 6 is a cross-sectional view illustrating a schematic configuration of a photodetector according to Embodiment 4.
  • FIG. It is a schematic perspective view which shows the modification of the photodetector which concerns on this invention.
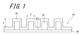
  • FIG. 1 is a cross-sectional view showing the basic configuration of a photodetector according to the present invention.
  • the photodetector 10 according to the present invention includes an organic semiconductor 20, a metal layer 30, and a semiconductor 40.
  • the organic semiconductor 20 is formed in a plurality of convex shapes on the semiconductor 40, and constitutes a concavo-convex structure having a convex portion and a concave portion adjacent to the convex portion together with the semiconductor 40.
  • the metal layer 30 is added on the organic semiconductor 20 and the semiconductor 40 having a concavo-convex structure, and promotes plasmon resonance of at least one of localized plasmon resonance and surface plasmon resonance by irradiation with detection light.
  • the height h of the convex part of the concavo-convex structure including the metal layer 30, that is, the width in the vertical direction between the convex part and the concave part of the metal layer 30, is a dimension equal to or smaller than the wavelength of the detection light and the thickness of the convex part. That is, the maximum dimension d in a plane orthogonal to the straightening direction (height direction) of the convex portion is equal to or less than the wavelength of the detection light.
  • the height h of the convex portion is more preferably 1/10 to 1/5 of the detection wavelength.
  • localized plasmons can be excited efficiently (for example, JJ Mock, M. Barbic, DR Smith, DA Schultz, and S.
  • the convex portion may be formed in an arbitrary shape such as a columnar shape or a prismatic shape, and may be formed regularly or may be formed in an irregular manner.
  • the semiconductor 40 is composed of an organic semiconductor or an inorganic semiconductor, and allows electrons excited by plasmon resonance in the metal layer 30 to pass through the junction 40 a with the metal layer 30.
  • the semiconductor 40 is preferably supported on a substrate.
  • FIGS. 2A to 2D are diagrams for explaining the operation of the photodetector 10 in FIG.
  • the wavelength of the incident light and the size of the concavo-convex structure are matched to generate localized plasmon resonance and / or surface plasmon resonance.
  • the electron of the metal layer 30 is excited.
  • the amount of electrons excited by this plasmon resonance is greater than when the plasmon resonance is not excited, that is, when the incident light is totally reflected.
  • FIG. 3 is a diagram illustrating the relationship between the wavelength of incident light and the detection current in the photodetector 10.
  • the organic semiconductor 30 since the organic semiconductor 30 is used, it can be easily manufactured and integrated. Further, by appropriately setting the size of the concavo-convex structure, the absorption wavelength ⁇ m in FIG. 3 can be changed, so that the light detection wavelength can be tuned. Further, in FIG. 2C, the electrons excited by the metal layer 30 get over the barrier of the junction 40a, so that the wavelength band ( ⁇ e in FIG. 3) of the light to be detected is tuned by tuning the barrier. be able to.
  • the semiconductor 40 is made of an organic semiconductor
  • the material selectivity is higher than when the semiconductor 40 is made of an inorganic semiconductor. Since the organic semiconductor 30 is formed in a convex shape (columnar shape), light in the infrared region can be detected with high sensitivity without depending on the incident angle.
  • the organic semiconductor 20 is not limited to CuPc, and may be composed of other phthalocyanine-based materials, thiophene-based materials, or Alq3.
  • the photodetector is composed of the materials shown in Table 2.
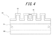
  • FIG. 4 is a cross-sectional view illustrating a schematic configuration of the photodetector according to the first embodiment.
  • an organic semiconductor part 80 made of PTCDA / CuPc constituting the organic semiconductor 20 and the semiconductor 40 of FIG. 1 is formed on the surface of a silicon substrate 70 that is an inorganic semiconductor.
  • An Au layer 90 constituting the metal layer 30 of FIG. 1 is formed on the surface of the concavo-convex structure.
  • an Al layer 100 for taking out an output current is formed on the back surface of the silicon substrate 70.
  • FIG. 5 and 6 are process diagrams for explaining an example of a manufacturing method of the photodetector 60 of FIG.
  • two types of organic semiconductors PTCDA / CuPc
  • Vapor deposition was performed to a thickness corresponding to 3 nm.
  • PTCDA plays a role of identifying a site where CuPc forming the convex portion grows.
  • the silicon substrate 70 was heated at 80 ° C. to 230 ° C. for 1 hour, and as shown in FIG.
  • CuPc was crystal-grown to form an organic semiconductor portion 80 having a concavo-convex structure.
  • illustration of CuPc formed on the silicon substrate 70 in the concave portion of the concave-convex structure is omitted.
  • the photo detector 60 was completed.
  • FIG. 7 shows an electron microscope image of the photodetector 60 produced as described above.
  • A shows a surface image of the concavo-convex structure of the photodetector 60 by a scanning electron microscope (SEM).
  • B shows the cross-sectional image of the photodetector 60 by a transmission electron microscope (TEM).
  • FIG. 7 is an electron microscope image of the photodetector 60 when the organic semiconductor part 80 is formed by heating the silicon substrate 70 at 200 ° C. for 1 hour to grow a crystal of CuPc.
  • nano-sized convex portions are erected on the surface of the photodetector 60.
  • the Au layer 90 is formed so as to surround the convex portion of the organic semiconductor portion 80.
  • the Au layer 90 and the silicon substrate 70 are not in direct contact with each other, and the organic semiconductor layer constituting the organic semiconductor portion 80 is 10 nm or less in thickness between them. It can be seen that they are interposed.
  • corrugated structure of the photodetector 60 ie, the depth of a recessed part, is 50 nm or more.
  • the photodetector 60 in this case was observed. It was found that the height of the convex part of the concavo-convex structure was 20 nm or more.
  • Fig. 8 shows an analysis photograph of the calculation model and the calculation result of the electric field strength distribution.
  • the calculation model has a structure in which an Au thin film with a thickness of 50 nm is deposited on a silicon substrate, and a convex portion of Au with a width of 50 nm and a height of h nm stands at the center. For simplicity, organic semiconductors were excluded from the calculation. Since the periodic boundary condition is applied as the boundary condition in the direction of the side surface of the convex portion, in the case of FIG. 8, the structure is such that the convex portion stands on the Au thin film so as to fill the plane with a pitch of 500 nm.
  • TM Transverse Magnetic
  • FIG. 8 shows that an electric field intensity distribution is generated around the convex portion when resonance occurs, suggesting that a dipole-like plasmon mode is excited.
  • the electric field strength distribution was analyzed by vector display.
  • FIG. 10 is an analysis photograph showing the electric field strength distribution. From FIG. 10, it was found that the electric field starting from the tip of the convex portion is perpendicularly incident on the substrate surface and terminates. This is because the convex part is formed upright from the surface of the Au thin film, so that a negative charge is induced at the position of the mirror image inside the substrate, and this may form a dipole-shaped electric field intensity distribution in the upper half. is there.
  • FIG. 11 is an analysis photograph visualizing the current distribution in this case. From FIG. 11, it can be seen that the current flows toward the tip of the convex portion. This suggested that the charge density at the tip of the convex portion was increased.
  • the light absorption / detection may be promoted by the plasmon resonance of the surface structure.
  • Example 1-1 shows a photodetector 60 in which a silicon substrate 70 is heated at 200 ° C. to form an organic semiconductor portion 80 having a concavo-convex structure.
  • Example 1-2 shows a photodetector 60 in which the silicon substrate 70 is heated at 110 ° C. to form the organic semiconductor portion 80 having a concavo-convex structure.
  • FIG. 12A also shows a measurement result of a reference diode (Au thickness is 50 nm) made of an Au / n-type silicon junction without a concavo-convex structure as a reference device.
  • the parameter is “Guiding Liang, Tianhong Cui, Kody Varahramyan,“ Fabrication and electrical charactaristics of polymer-based Schottky diode 3 ”, which is based on“ Sol 69-Sol 69 ”.
  • the present inventors evaluated the spectral sensitivity characteristics of the photodetector 60.
  • a source meter (2400 manufactured by Keithley) was used, and current detection was performed with an applied voltage of 0 V (that is, during a short circuit). The result is shown in FIG.
  • Example 1-1 is 1.79 mA / W
  • Example 1-2 is 0.945 mA / W
  • the reference diode is 0. 141 mA / W. From this result, it was found that the sensitivity at this wavelength increases when the uneven structure exists. Specifically, in the case of Example 1-1, it was confirmed that the sensitivity was improved by about 12.7 times that of the reference diode by one digit or more. Moreover, in the case of Example 1-2, the sensitivity improvement about 6.7 times with respect to the reference diode was confirmed.
  • the present embodiment it is possible to obtain a photodetector that can be easily manufactured and can detect light in the infrared region with high sensitivity without depending on the incident angle.
  • the highly versatile silicon substrate 70 since the highly versatile silicon substrate 70 is used, the cost can be reduced, the integration is facilitated, and the applicability can be expanded.
  • FIG. 13 is a cross-sectional view illustrating a schematic configuration of the photodetector according to the second embodiment.
  • the photodetector 61 of this embodiment is obtained by changing the silicon substrate 70 and the Al layer 100 to the conductive substrate 71 in the photodetector 60 of FIG.
  • the conductive substrate 71 is formed by vapor-depositing a transparent electrode (ITO: Indium Tin Oxide) 73 on the polyimide substrate 72, and the organic semiconductor portion 80 is formed on the transparent electrode 73. Since other configurations are the same as those in FIG. 4, the same reference numerals are given to the same components as those in FIG. 4, and description thereof will be omitted.
  • ITO Indium Tin Oxide
  • the electrons excited in the Au layer 90 by the localized plasmon resonance and / or the surface plasmon resonance overcome the Schottky barrier at the junction 80 a between the Au layer 90 and the organic semiconductor portion 80. Injected into.
  • the electrons injected into the organic semiconductor unit 80 are taken out through the transparent electrode 73 of the conductive substrate 71.
  • a conductive substrate 71 is formed by forming a transparent electrode 73 by vapor-depositing a transparent oxide material (ITO) on a commercially available polyimide substrate 72. Thereafter, an organic semiconductor portion 80 having a concavo-convex structure made of PTCDA / CuPc is formed on the transparent electrode 73 in the same manner as in the first embodiment, and Au is further deposited on the concavo-convex side of the organic semiconductor portion 80 to form an Au layer 90.
  • the photodetector 61 is manufactured.
  • the conductive substrate 71 is not limited to ITO / polyimide, and can be formed of a flexible conductive substrate such as ITO / PET (polyethylene terephthalate) or aluminum foil. Therefore, in addition to the same effects as those of the first embodiment, a flexible sensor can be realized, and development for ubiquitous applications is possible.
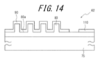
  • FIG. 14 is a cross-sectional view illustrating a schematic configuration of the photodetector according to the third embodiment.
  • the photodetector 62 of the present embodiment is obtained by changing the silicon substrate 70 and the Al layer 100 to the glass substrate 75 and the metal joint 110 which are insulating substrates in the photodetector 60 of FIG.
  • the metal bonding part 110 is made of platinum (Pt), for example, and is formed by ohmic bonding to a part of the organic semiconductor part 80. Since other configurations are the same as those in FIG. 4, the same reference numerals are given to the same components as those in FIG. 4, and description thereof will be omitted.
  • the electrons excited in the Au layer 90 by the localized plasmon resonance and / or the surface plasmon resonance overcome the Schottky barrier at the junction 80 a between the Au layer 90 and the organic semiconductor portion 80. Injected into. Then, the electrons injected into the organic semiconductor unit 80 are taken out through the metal junction 110.
  • the photodetector 62 of FIG. 14 In manufacturing the photodetector 62 of FIG. 14, first, similarly to the case of Example 1, an uneven semiconductor structure 80 made of PTCDA / CuPc is formed on the glass substrate 75, and the organic semiconductor section Au is vapor-deposited on the concavo-convex side of 80 to form an Au layer 90. Then, the photodetector 62 is produced by vapor-depositing the metal bonding part 110 on a part of the organic semiconductor part 80 and performing ohmic bonding.
  • the present embodiment can be surface-mounted on an insulating substrate such as a glass substrate 75, an effect of increasing the applicability of the system can be obtained, for example, it can be directly mounted on a windshield of a car.
  • FIG. 15 is a cross-sectional view illustrating a schematic configuration of the photodetector according to the fourth embodiment.
  • the photodetector 63 of this embodiment is obtained by forming the organic semiconductor 20 in a convex shape (columnar shape) directly on the silicon substrate 70 in the photodetector 60 of FIG. That is, the semiconductor 40 of FIG. Therefore, in this embodiment, since the Au layer 90 comes into contact with the organic semiconductor 20 and the silicon substrate 70, electrons excited in the Au layer 90 by localized plasmon resonance and / or surface plasmon resonance are Au Overcoming the Schottky barrier at the junction 70 a between the layer 90 and the silicon substrate 70, the silicon layer 70 is taken out from the Al layer 100.
  • the substrate temperature of the silicon substrate 70 and the deposition conditions of PTCDA / CuPc constituting the organic semiconductor 20 are optimized, and the convex organic semiconductor 20 on the silicon substrate 70 is obtained. Forming a part where is present and a part not existing. Thereafter, the Au layer 90 is vapor-deposited on the organic semiconductor 20 side of the silicon substrate 70, and the Al layer 100 is vapor-deposited on the opposite side, whereby the photodetector 63 is manufactured.
  • the spectral response was measured using a source meter in the same manner as in Example 1.
  • this invention is not limited to the said Example, A various deformation
  • a plurality of columnar convex portions of the concavo-convex structure including the metal layer 30 are curved or bent at an arbitrary curvature or angle, It may be formed in an arbitrary shape.
  • the height h of the convex portion of the concavo-convex structure including the metal layer 30, that is, the width in the vertical direction between the convex portion and the concave portion of the metal layer 30, is the same as that of the photodetector according to the present invention described above.
  • the dimension below the wavelength of the detection light, more preferably 1/10 to 1/5 of the detection wavelength, and the thickness of the convex part, that is, the maximum dimension d in the cross section perpendicular to the height direction of the convex part is the wavelength of the detection light.

Landscapes

  • Physics & Mathematics (AREA)
  • Electromagnetism (AREA)
  • Chemical & Material Sciences (AREA)
  • Inorganic Chemistry (AREA)
  • Engineering & Computer Science (AREA)
  • Materials Engineering (AREA)
  • Spectroscopy & Molecular Physics (AREA)
  • Light Receiving Elements (AREA)
  • Photometry And Measurement Of Optical Pulse Characteristics (AREA)
PCT/JP2014/059060 2013-05-23 2014-03-20 光検出器 Ceased WO2014188784A1 (ja)

Priority Applications (1)

Application Number Priority Date Filing Date Title
US14/936,244 US10290823B2 (en) 2013-05-23 2015-11-09 Photodetector

Applications Claiming Priority (2)

Application Number Priority Date Filing Date Title
JP2013-109015 2013-05-23
JP2013109015A JP6245495B2 (ja) 2013-05-23 2013-05-23 光検出器

Related Child Applications (1)

Application Number Title Priority Date Filing Date
US14/936,244 Continuation US10290823B2 (en) 2013-05-23 2015-11-09 Photodetector

Publications (1)

Publication Number Publication Date
WO2014188784A1 true WO2014188784A1 (ja) 2014-11-27

Family

ID=51933350

Family Applications (1)

Application Number Title Priority Date Filing Date
PCT/JP2014/059060 Ceased WO2014188784A1 (ja) 2013-05-23 2014-03-20 光検出器

Country Status (3)

Country Link
US (1) US10290823B2 (enExample)
JP (1) JP6245495B2 (enExample)
WO (1) WO2014188784A1 (enExample)

Families Citing this family (14)

* Cited by examiner, † Cited by third party
Publication number Priority date Publication date Assignee Title
US11231544B2 (en) 2015-11-06 2022-01-25 Magic Leap, Inc. Metasurfaces for redirecting light and methods for fabricating
KR20210032022A (ko) 2016-05-06 2021-03-23 매직 립, 인코포레이티드 광을 재지향시키기 위한 비대칭 격자들을 가진 메타표면들 및 제조를 위한 방법들
US11011716B2 (en) 2016-08-02 2021-05-18 King Abdullah University Of Science And Technology Photodetectors and photovoltaic devices
AU2018212726B2 (en) 2017-01-27 2022-05-12 Magic Leap, Inc. Diffraction gratings formed by metasurfaces having differently oriented nanobeams
JP6928931B2 (ja) * 2017-05-08 2021-09-01 国立大学法人電気通信大学 計測用デバイス及び計測センサ
JP6918631B2 (ja) * 2017-08-18 2021-08-11 浜松ホトニクス株式会社 光検出素子
JP7084020B2 (ja) * 2018-01-19 2022-06-14 国立大学法人電気通信大学 分光用デバイス、分光器、及び分光測定方法
JP6979929B2 (ja) * 2018-06-25 2021-12-15 浜松ホトニクス株式会社 光検出器
CN109524486B (zh) * 2018-09-28 2022-09-23 暨南大学 一种电读出光学传感器
KR102749135B1 (ko) * 2019-03-06 2025-01-03 삼성전자주식회사 이미지 센서 및 이미징 장치
JP6980292B2 (ja) * 2019-10-29 2021-12-15 國立台灣大學 光検出器
JP7488761B2 (ja) * 2020-12-25 2024-05-22 浜松ホトニクス株式会社 光検出器
CN115810680B (zh) * 2022-09-21 2023-09-26 广东工业大学 一种局域场增强的光电导型高速光电探测器
CN117650190B (zh) * 2023-12-19 2024-06-14 广东工业大学 一种适用于非偏振光的等离激元电极光电探测器

Citations (3)

* Cited by examiner, † Cited by third party
Publication number Priority date Publication date Assignee Title
JP2011108722A (ja) * 2009-11-13 2011-06-02 Konica Minolta Holdings Inc 有機太陽電池素子及び有機太陽電池素子の製造方法
US20120048368A1 (en) * 2010-09-01 2012-03-01 Iowa State University Research Foundation, Inc. Textured Micrometer Scale Templates as Light Managing Fabrication Platform for Organic Solar Cells
JP2012233779A (ja) * 2011-04-28 2012-11-29 Univ Of Tokyo Sprセンサとsprセンサを搭載する検査システム

Family Cites Families (14)

* Cited by examiner, † Cited by third party
Publication number Priority date Publication date Assignee Title
US6946597B2 (en) * 2002-06-22 2005-09-20 Nanosular, Inc. Photovoltaic devices fabricated by growth from porous template
JP4583025B2 (ja) * 2003-12-18 2010-11-17 Jx日鉱日石エネルギー株式会社 ナノアレイ電極の製造方法およびそれを用いた光電変換素子
US8310373B2 (en) * 2005-10-19 2012-11-13 Schweitzer Engineering Laboratories, Inc. System, a tool and a method for communicating with a faulted circuit indicator using a display
US7635600B2 (en) * 2005-11-16 2009-12-22 Sharp Laboratories Of America, Inc. Photovoltaic structure with a conductive nanowire array electrode
US7960717B2 (en) * 2005-12-29 2011-06-14 E.I. Du Pont De Nemours And Company Electronic device and process for forming same
JP4772585B2 (ja) * 2006-05-10 2011-09-14 浜松ホトニクス株式会社 光検出器
US7955889B1 (en) * 2006-07-11 2011-06-07 The Trustees Of Princeton University Organic photosensitive cells grown on rough electrode with nano-scale morphology control
US20100104985A1 (en) * 2007-03-05 2010-04-29 Tetsuya Watanabe Compound for photoresist, photoresist liquid, and etching method using the same
CN101779258A (zh) * 2007-07-25 2010-07-14 聚合物华润有限公司 太阳能电池及其制备方法
US20110039459A1 (en) * 2009-08-11 2011-02-17 Yancey Jerry W Solderless carbon nanotube and nanowire electrical contacts and methods of use thereof
US9372283B2 (en) * 2009-11-13 2016-06-21 Babak NIKOOBAKHT Nanoengineered devices based on electro-optical modulation of the electrical and optical properties of plasmonic nanoparticles
WO2012021739A1 (en) * 2010-08-11 2012-02-16 Arizona Board Of Regents On Behalf Of The University Of Arizona Nanostructured electrodes and active polymer layers
JP2016513361A (ja) * 2013-01-25 2016-05-12 ユニバーシティー オブ フロリダ リサーチ ファウンデーション,インコーポレイテッドUniversity Of Florida Research Foundation,Inc. 溶液処理法による硫化鉛光検出器を用いた新規の赤外線画像センサー
US9331293B2 (en) * 2013-03-14 2016-05-03 Nutech Ventures Floating-gate transistor photodetector with light absorbing layer

Patent Citations (3)

* Cited by examiner, † Cited by third party
Publication number Priority date Publication date Assignee Title
JP2011108722A (ja) * 2009-11-13 2011-06-02 Konica Minolta Holdings Inc 有機太陽電池素子及び有機太陽電池素子の製造方法
US20120048368A1 (en) * 2010-09-01 2012-03-01 Iowa State University Research Foundation, Inc. Textured Micrometer Scale Templates as Light Managing Fabrication Platform for Organic Solar Cells
JP2012233779A (ja) * 2011-04-28 2012-11-29 Univ Of Tokyo Sprセンサとsprセンサを搭載する検査システム

Non-Patent Citations (5)

* Cited by examiner, † Cited by third party
Title
E.ALTIN: "Dark current and optical properties in asymmetric GaAs/AlGaAs staircase-like multiquantum well structure", INFRARED PHYSICS & TECHNOLOGY, vol. 58, May 2013 (2013-05-01), pages 74 - 79 *
J.J.MOCK: "Shape effects in plasmon resonance of individual colloidal silver nanoparticles", THE JOURNAL OF CHEMICAL PHYSICS, vol. 116, no. 15, 2002, pages 6755 - 6759, XP008058604, DOI: doi:10.1063/1.1462610 *
KEIZO KATO: "Surface Plasmon Excitations and Emission Lights in Nanostructured Organic Dye Films", IEICE TECHNICAL REPORT, OME2010-61, 2011, pages 1 - 6 *
M . CASALINO: "A silicon compatible resonant cavity enhanced photodetector working at 1.55 pm", SEMICONDUCTOR SCIENCE AND TECHNOLOGY, vol. 23, no. 7, 2008, pages 1 - 7, XP020134796 *
YANXIA CUI: "Ultrabroadband Light Absorption by a Sawtooth Anisotropic Metamaterial Slab", NANO LETTERS, vol. 12, no. 3, 2012, pages 1443 - 1447 *

Also Published As

Publication number Publication date
JP2014229779A (ja) 2014-12-08
US10290823B2 (en) 2019-05-14
US20160064679A1 (en) 2016-03-03
JP6245495B2 (ja) 2017-12-13

Similar Documents

Publication Publication Date Title
JP6245495B2 (ja) 光検出器
Riazimehr et al. High responsivity and quantum efficiency of graphene/silicon photodiodes achieved by interdigitating Schottky and gated regions
Li et al. Controllable vapor-phase growth of inorganic perovskite microwire networks for high-efficiency and temperature-stable photodetectors
Chang et al. Electrical and optical characterization of surface passivation in GaAs nanowires
Liang et al. Near‐infrared‐light photodetectors based on one‐dimensional inorganic semiconductor nanostructures
Lu et al. A localized surface plasmon resonance and light confinement‐enhanced near‐infrared light photodetector
US20140175546A1 (en) Plasmonically enhanced electro-optic devices and methods of production
Gong et al. Angle-independent hot carrier generation and collection using transparent conducting oxides
Ajiki et al. Silicon based near infrared photodetector using self-assembled organic crystalline nano-pillars
US20180102491A1 (en) Organic photodetectors and production method thereof
US9252303B2 (en) Thin film photovoltaic cell structure, nanoantenna, and method for manufacturing
CN112204757B (zh) 基于本征等离子体激元-激子极化子的光电器件
KR20140095553A (ko) 전자기 에너지 수집 장치, 시스템 및 방법
Wu et al. Non‐ultrawide bandgap semiconductor GaSe nanobelts for sensitive deep ultraviolet light photodetector application
US10784393B2 (en) Photodetection element having a periodic nano-concave/convex structure
Feng Lu et al. Plasmonic quantum dot solar cells for enhanced infrared response
US20150053261A1 (en) Solar cell
Zhang et al. Plasmonic nanoneedle arrays with enhanced hot electron photodetection for near‐IR imaging
Wang et al. Hybrid Si nanocones/PEDOT: PSS solar cell
Mukundan et al. Enhanced UV detection by non-polar epitaxial GaN films
Seo et al. A multifunction heterojunction formed between pentacene and a single‐crystal silicon nanomembrane
Kumawat et al. Indium‐rich InGaN/GaN solar cells with improved performance due to plasmonic and dielectric nanogratings
US9240511B2 (en) Photodetector using surface plasmon resonance and image sensor having the same
Lee et al. Tandem-structured, hot electron based photovoltaic cell with double Schottky barriers
Park et al. Plasmonic nanoparticles on graphene absorber for broadband high responsivity 2D/3D photodiode

Legal Events

Date Code Title Description
121 Ep: the epo has been informed by wipo that ep was designated in this application

Ref document number: 14801296

Country of ref document: EP

Kind code of ref document: A1

NENP Non-entry into the national phase

Ref country code: DE

122 Ep: pct application non-entry in european phase

Ref document number: 14801296

Country of ref document: EP

Kind code of ref document: A1