WO2014175467A1 - 高濃度に硫黄成分を含有する重油等の低質燃料を使用する船舶用ディーゼルエンジンの排気ガス浄化装置 - Google Patents

高濃度に硫黄成分を含有する重油等の低質燃料を使用する船舶用ディーゼルエンジンの排気ガス浄化装置 Download PDF

Info

Publication number
WO2014175467A1
WO2014175467A1 PCT/JP2014/062119 JP2014062119W WO2014175467A1 WO 2014175467 A1 WO2014175467 A1 WO 2014175467A1 JP 2014062119 W JP2014062119 W JP 2014062119W WO 2014175467 A1 WO2014175467 A1 WO 2014175467A1
Authority
WO
WIPO (PCT)
Prior art keywords
exhaust gas
egr
scrubber
exhaust
fleece
Prior art date
Legal status (The legal status is an assumption and is not a legal conclusion. Google has not performed a legal analysis and makes no representation as to the accuracy of the status listed.)
Ceased
Application number
PCT/JP2014/062119
Other languages
English (en)
French (fr)
Japanese (ja)
Inventor
宗勝 古堅
義 牧野
輝久 高橋
滝川 一儀
Current Assignee (The listed assignees may be inaccurate. Google has not performed a legal analysis and makes no representation or warranty as to the accuracy of the list.)
Usui Kokusai Sangyo Kaisha Ltd
Original Assignee
Usui Kokusai Sangyo Kaisha Ltd
Priority date (The priority date is an assumption and is not a legal conclusion. Google has not performed a legal analysis and makes no representation as to the accuracy of the date listed.)
Filing date
Publication date
Application filed by Usui Kokusai Sangyo Kaisha Ltd filed Critical Usui Kokusai Sangyo Kaisha Ltd
Priority to CN201480023482.0A priority Critical patent/CN105143619B/zh
Priority to KR1020157033424A priority patent/KR101761045B1/ko
Priority to EP14787477.0A priority patent/EP2998529B1/en
Publication of WO2014175467A1 publication Critical patent/WO2014175467A1/ja
Anticipated expiration legal-status Critical
Ceased legal-status Critical Current

Links

Images

Classifications

    • FMECHANICAL ENGINEERING; LIGHTING; HEATING; WEAPONS; BLASTING
    • F01MACHINES OR ENGINES IN GENERAL; ENGINE PLANTS IN GENERAL; STEAM ENGINES
    • F01NGAS-FLOW SILENCERS OR EXHAUST APPARATUS FOR MACHINES OR ENGINES IN GENERAL; GAS-FLOW SILENCERS OR EXHAUST APPARATUS FOR INTERNAL-COMBUSTION ENGINES
    • F01N3/00Exhaust or silencing apparatus having means for purifying, rendering innocuous, or otherwise treating exhaust
    • F01N3/02Exhaust or silencing apparatus having means for purifying, rendering innocuous, or otherwise treating exhaust for cooling, or for removing solid constituents of, exhaust
    • BPERFORMING OPERATIONS; TRANSPORTING
    • B03SEPARATION OF SOLID MATERIALS USING LIQUIDS OR USING PNEUMATIC TABLES OR JIGS; MAGNETIC OR ELECTROSTATIC SEPARATION OF SOLID MATERIALS FROM SOLID MATERIALS OR FLUIDS; SEPARATION BY HIGH-VOLTAGE ELECTRIC FIELDS
    • B03CMAGNETIC OR ELECTROSTATIC SEPARATION OF SOLID MATERIALS FROM SOLID MATERIALS OR FLUIDS; SEPARATION BY HIGH-VOLTAGE ELECTRIC FIELDS
    • B03C3/00Separating dispersed particles from gases or vapour, e.g. air, by electrostatic effect
    • B03C3/017Combinations of electrostatic separation with other processes, not otherwise provided for
    • FMECHANICAL ENGINEERING; LIGHTING; HEATING; WEAPONS; BLASTING
    • F01MACHINES OR ENGINES IN GENERAL; ENGINE PLANTS IN GENERAL; STEAM ENGINES
    • F01NGAS-FLOW SILENCERS OR EXHAUST APPARATUS FOR MACHINES OR ENGINES IN GENERAL; GAS-FLOW SILENCERS OR EXHAUST APPARATUS FOR INTERNAL-COMBUSTION ENGINES
    • F01N3/00Exhaust or silencing apparatus having means for purifying, rendering innocuous, or otherwise treating exhaust
    • F01N3/01Exhaust or silencing apparatus having means for purifying, rendering innocuous, or otherwise treating exhaust by means of electric or electrostatic separators
    • FMECHANICAL ENGINEERING; LIGHTING; HEATING; WEAPONS; BLASTING
    • F01MACHINES OR ENGINES IN GENERAL; ENGINE PLANTS IN GENERAL; STEAM ENGINES
    • F01NGAS-FLOW SILENCERS OR EXHAUST APPARATUS FOR MACHINES OR ENGINES IN GENERAL; GAS-FLOW SILENCERS OR EXHAUST APPARATUS FOR INTERNAL-COMBUSTION ENGINES
    • F01N3/00Exhaust or silencing apparatus having means for purifying, rendering innocuous, or otherwise treating exhaust
    • F01N3/02Exhaust or silencing apparatus having means for purifying, rendering innocuous, or otherwise treating exhaust for cooling, or for removing solid constituents of, exhaust
    • F01N3/0205Exhaust or silencing apparatus having means for purifying, rendering innocuous, or otherwise treating exhaust for cooling, or for removing solid constituents of, exhaust using heat exchangers
    • FMECHANICAL ENGINEERING; LIGHTING; HEATING; WEAPONS; BLASTING
    • F01MACHINES OR ENGINES IN GENERAL; ENGINE PLANTS IN GENERAL; STEAM ENGINES
    • F01NGAS-FLOW SILENCERS OR EXHAUST APPARATUS FOR MACHINES OR ENGINES IN GENERAL; GAS-FLOW SILENCERS OR EXHAUST APPARATUS FOR INTERNAL-COMBUSTION ENGINES
    • F01N3/00Exhaust or silencing apparatus having means for purifying, rendering innocuous, or otherwise treating exhaust
    • F01N3/02Exhaust or silencing apparatus having means for purifying, rendering innocuous, or otherwise treating exhaust for cooling, or for removing solid constituents of, exhaust
    • F01N3/021Exhaust or silencing apparatus having means for purifying, rendering innocuous, or otherwise treating exhaust for cooling, or for removing solid constituents of, exhaust by means of filters
    • FMECHANICAL ENGINEERING; LIGHTING; HEATING; WEAPONS; BLASTING
    • F01MACHINES OR ENGINES IN GENERAL; ENGINE PLANTS IN GENERAL; STEAM ENGINES
    • F01NGAS-FLOW SILENCERS OR EXHAUST APPARATUS FOR MACHINES OR ENGINES IN GENERAL; GAS-FLOW SILENCERS OR EXHAUST APPARATUS FOR INTERNAL-COMBUSTION ENGINES
    • F01N3/00Exhaust or silencing apparatus having means for purifying, rendering innocuous, or otherwise treating exhaust
    • F01N3/02Exhaust or silencing apparatus having means for purifying, rendering innocuous, or otherwise treating exhaust for cooling, or for removing solid constituents of, exhaust
    • F01N3/037Exhaust or silencing apparatus having means for purifying, rendering innocuous, or otherwise treating exhaust for cooling, or for removing solid constituents of, exhaust by means of inertial or centrifugal separators, e.g. of cyclone type, optionally combined or associated with agglomerators
    • FMECHANICAL ENGINEERING; LIGHTING; HEATING; WEAPONS; BLASTING
    • F01MACHINES OR ENGINES IN GENERAL; ENGINE PLANTS IN GENERAL; STEAM ENGINES
    • F01NGAS-FLOW SILENCERS OR EXHAUST APPARATUS FOR MACHINES OR ENGINES IN GENERAL; GAS-FLOW SILENCERS OR EXHAUST APPARATUS FOR INTERNAL-COMBUSTION ENGINES
    • F01N3/00Exhaust or silencing apparatus having means for purifying, rendering innocuous, or otherwise treating exhaust
    • F01N3/02Exhaust or silencing apparatus having means for purifying, rendering innocuous, or otherwise treating exhaust for cooling, or for removing solid constituents of, exhaust
    • F01N3/04Exhaust or silencing apparatus having means for purifying, rendering innocuous, or otherwise treating exhaust for cooling, or for removing solid constituents of, exhaust using liquids
    • FMECHANICAL ENGINEERING; LIGHTING; HEATING; WEAPONS; BLASTING
    • F02COMBUSTION ENGINES; HOT-GAS OR COMBUSTION-PRODUCT ENGINE PLANTS
    • F02BINTERNAL-COMBUSTION PISTON ENGINES; COMBUSTION ENGINES IN GENERAL
    • F02B37/00Engines characterised by provision of pumps driven at least for part of the time by exhaust
    • F02B37/004Engines characterised by provision of pumps driven at least for part of the time by exhaust with exhaust drives arranged in series
    • FMECHANICAL ENGINEERING; LIGHTING; HEATING; WEAPONS; BLASTING
    • F02COMBUSTION ENGINES; HOT-GAS OR COMBUSTION-PRODUCT ENGINE PLANTS
    • F02BINTERNAL-COMBUSTION PISTON ENGINES; COMBUSTION ENGINES IN GENERAL
    • F02B37/00Engines characterised by provision of pumps driven at least for part of the time by exhaust
    • F02B37/013Engines characterised by provision of pumps driven at least for part of the time by exhaust with exhaust-driven pumps arranged in series
    • FMECHANICAL ENGINEERING; LIGHTING; HEATING; WEAPONS; BLASTING
    • F02COMBUSTION ENGINES; HOT-GAS OR COMBUSTION-PRODUCT ENGINE PLANTS
    • F02BINTERNAL-COMBUSTION PISTON ENGINES; COMBUSTION ENGINES IN GENERAL
    • F02B37/00Engines characterised by provision of pumps driven at least for part of the time by exhaust
    • F02B37/12Control of the pumps
    • F02B37/18Control of the pumps by bypassing exhaust from the inlet to the outlet of turbine or to the atmosphere
    • BPERFORMING OPERATIONS; TRANSPORTING
    • B01PHYSICAL OR CHEMICAL PROCESSES OR APPARATUS IN GENERAL
    • B01DSEPARATION
    • B01D2257/00Components to be removed
    • B01D2257/30Sulfur compounds
    • B01D2257/302Sulfur oxides
    • BPERFORMING OPERATIONS; TRANSPORTING
    • B01PHYSICAL OR CHEMICAL PROCESSES OR APPARATUS IN GENERAL
    • B01DSEPARATION
    • B01D2258/00Sources of waste gases
    • B01D2258/01Engine exhaust gases
    • B01D2258/012Diesel engines and lean burn gasoline engines
    • BPERFORMING OPERATIONS; TRANSPORTING
    • B01PHYSICAL OR CHEMICAL PROCESSES OR APPARATUS IN GENERAL
    • B01DSEPARATION
    • B01D2259/00Type of treatment
    • B01D2259/45Gas separation or purification devices adapted for specific applications
    • B01D2259/4566Gas separation or purification devices adapted for specific applications for use in transportation means
    • BPERFORMING OPERATIONS; TRANSPORTING
    • B03SEPARATION OF SOLID MATERIALS USING LIQUIDS OR USING PNEUMATIC TABLES OR JIGS; MAGNETIC OR ELECTROSTATIC SEPARATION OF SOLID MATERIALS FROM SOLID MATERIALS OR FLUIDS; SEPARATION BY HIGH-VOLTAGE ELECTRIC FIELDS
    • B03CMAGNETIC OR ELECTROSTATIC SEPARATION OF SOLID MATERIALS FROM SOLID MATERIALS OR FLUIDS; SEPARATION BY HIGH-VOLTAGE ELECTRIC FIELDS
    • B03C2201/00Details of magnetic or electrostatic separation
    • B03C2201/30Details of magnetic or electrostatic separation for use in or with vehicles
    • FMECHANICAL ENGINEERING; LIGHTING; HEATING; WEAPONS; BLASTING
    • F01MACHINES OR ENGINES IN GENERAL; ENGINE PLANTS IN GENERAL; STEAM ENGINES
    • F01NGAS-FLOW SILENCERS OR EXHAUST APPARATUS FOR MACHINES OR ENGINES IN GENERAL; GAS-FLOW SILENCERS OR EXHAUST APPARATUS FOR INTERNAL-COMBUSTION ENGINES
    • F01N2570/00Exhaust treating apparatus eliminating, absorbing or adsorbing specific elements or compounds
    • F01N2570/04Sulfur or sulfur oxides
    • FMECHANICAL ENGINEERING; LIGHTING; HEATING; WEAPONS; BLASTING
    • F01MACHINES OR ENGINES IN GENERAL; ENGINE PLANTS IN GENERAL; STEAM ENGINES
    • F01NGAS-FLOW SILENCERS OR EXHAUST APPARATUS FOR MACHINES OR ENGINES IN GENERAL; GAS-FLOW SILENCERS OR EXHAUST APPARATUS FOR INTERNAL-COMBUSTION ENGINES
    • F01N2590/00Exhaust or silencing apparatus adapted to particular use, e.g. for military applications, airplanes, submarines
    • F01N2590/02Exhaust or silencing apparatus adapted to particular use, e.g. for military applications, airplanes, submarines for marine vessels or naval applications
    • FMECHANICAL ENGINEERING; LIGHTING; HEATING; WEAPONS; BLASTING
    • F02COMBUSTION ENGINES; HOT-GAS OR COMBUSTION-PRODUCT ENGINE PLANTS
    • F02MSUPPLYING COMBUSTION ENGINES IN GENERAL WITH COMBUSTIBLE MIXTURES OR CONSTITUENTS THEREOF
    • F02M26/00Engine-pertinent apparatus for adding exhaust gases to combustion-air, main fuel or fuel-air mixture, e.g. by exhaust gas recirculation [EGR] systems
    • YGENERAL TAGGING OF NEW TECHNOLOGICAL DEVELOPMENTS; GENERAL TAGGING OF CROSS-SECTIONAL TECHNOLOGIES SPANNING OVER SEVERAL SECTIONS OF THE IPC; TECHNICAL SUBJECTS COVERED BY FORMER USPC CROSS-REFERENCE ART COLLECTIONS [XRACs] AND DIGESTS
    • Y02TECHNOLOGIES OR APPLICATIONS FOR MITIGATION OR ADAPTATION AGAINST CLIMATE CHANGE
    • Y02TCLIMATE CHANGE MITIGATION TECHNOLOGIES RELATED TO TRANSPORTATION
    • Y02T10/00Road transport of goods or passengers
    • Y02T10/10Internal combustion engine [ICE] based vehicles
    • Y02T10/12Improving ICE efficiencies

Definitions

  • the present invention relates to particulate matter (Particulate Matter: hereinafter referred to as “PM”), sulfur oxide (hereinafter referred to as “SOx”), nitrogen oxidation mainly composed of carbon contained in exhaust gas of marine diesel engines.
  • PM particulate Matter
  • SOx sulfur oxide
  • NOx nitrogen oxidation mainly composed of carbon contained in exhaust gas of marine diesel engines.
  • waste hereinafter referred to as waste
  • NOx waste
  • Fuel Oil is a diesel oil (Diesel Oil: DO) in the marine industry.
  • Marine diesel fuel (Marine Diesel Fuel: MDF) or marine diesel oil (Marine Diesel Oil: MDO), marine fuel oil (Marine Fuel Oil: MFO), heavy fuel oil (Heavy Fuel Oil: HFO), residual fuel Oil (Residual Fuel Oi
  • these symbols are collectively referred to as heavy oil (Diesel Oil)] and relates to an exhaust gas treatment technology for a large displacement marine diesel engine using the following low-quality fuel. More specifically, the present invention relates to an exhaust gas purifying apparatus using corona discharge in a large displacement marine diesel engine that discharges exhaust gas at a high temperature.
  • Diesel engines are widely used as power sources for various ships, generators, large construction machines, and various automobiles.
  • PM and NOx contained in exhaust gas discharged from diesel engines are widely known. Purification of the exhaust gas is extremely important because it is a substance not only causing air pollution but also extremely harmful to the human body. Therefore, improvement of diesel engine combustion method, adoption of various exhaust gas filters, exhaust gas recirculation (hereinafter referred to as “EGR”) method, selective catalytic catalytic denitration method (Selective Catalytic Reduction: hereinafter referred to as “exhaust gas recirculation”)
  • EGR exhaust gas recirculation
  • exhaust gas recirculation selective catalytic catalytic denitration method
  • exhaust gas recirculation selective catalytic catalytic denitration
  • components of PM (particulate matter) in the exhaust gas of the diesel engine are organic solvent soluble (SOF: Soluble Organic Fractions, hereinafter referred to as “SOF”) and organic solvent insoluble (ISF: Insoluble Organic).
  • SOF Soluble Organic Fractions
  • ISF organic solvent insoluble Fractions
  • the ISF component is mainly composed of carbon (soot) and sulfate (sulfate) components having low electrical resistivity.
  • the SOF component and the ISF component are affected as much as possible because of their effects on the human body and the environment. Less exhaust gas is desired. In particular, it is also said that the degree of adverse effects of PM in a living body is particularly problematic when the particle diameter is nm.
  • Patent Documents 1 and 2 have been proposed as a method of performing electrical treatment using corona discharge.
  • Patent Document 1 provides a discharge charging unit 22 including a corona discharge unit 22-1 and a charging unit 22-2 in the exhaust gas passage 21, as schematically shown in FIG.
  • the discharged electrons 29 are charged to the PM 28 mainly composed of carbon in the exhaust gas G1, and the charged PM 28 is collected by the collecting plate 23 disposed in the exhaust gas passage 21.
  • the electrode needle 24 in 22 is short in the flow direction of the exhaust gas flow, and the collecting plate 23 is arranged in a direction perpendicular to the flow direction of the exhaust gas flow.
  • a processing method and apparatus are proposed.
  • 25 is a seal gas pipe
  • 26 is a high-voltage power supply device
  • 27 is an exhaust gas induction pipe.
  • the applicant of the present invention is an exhaust gas purification device for a diesel engine in which an exhaust manifold of a diesel engine 31 that uses low-quality fuel less than heavy oil as fuel. 32, an exhaust gas cooler 33, an electrostatic cyclone exhaust gas purifying device 34, and a normal scrubber 40 are disposed in the exhaust pipe downstream, and a branch portion 35 is provided in the exhaust pipe downstream of the normal scrubber 40 so that a part of the exhaust gas Is connected to the branch portion 35, a brackish water separator 38 is provided in the EGR pipe, and the intake pipe from the intake manifold 37 or the air filter 39 while controlling the flow rate of the EGR gas by the EGR valve 36.
  • An apparatus constructed by refluxing is proposed.
  • Non-Patent Document 1 describes the dilution outside the special sea area and in the special sea area in Part 15 “Oil Emission Regulation” of Part C “Oil Emission Regulation” in Chapter 3 “Engineering Area Requirements for All Ships”. The oil concentration of the oily mixture when not used is specified.
  • Non-Patent Document 2 includes 2-2 “Engine technology corresponding to IMO tertiary NOx regulation” in Chapter 2 “Technology corresponding to IMO tertiary NOx regulation and remaining problems”. 2-2 “Exhaust circulation” P14 ⁇ 16, EGR gas diverted from the exhaust pipe to the turbine of the turbocharger is purified by a scrubber, cooled by an EGR cooler, and further passed through a water droplet collector before the turbocharger compressor. A technique is shown in which a diesel engine recirculated by an EGR blower is mounted on a container ship to an intake intercooler pumped from the container.
  • IMO in Non-Patent Document 2 is an abbreviation for International Maritime Organization; International Maritime Organization.
  • the SCR method using a catalytic reaction is generally known as a known NOx reduction technique.
  • the above-described conventional diesel engine exhaust gas purification device has the following problems. That is, in the electric processing method and apparatus for exhaust gas of a diesel engine described in Patent Document 1 (FIG. 27), the electrode needle 24 in the discharge charging unit 22 has a short exhaust gas flow direction length and is collected.
  • the plate 23 is disposed in a direction perpendicular to the flow direction of the exhaust gas flow, and since the exhaust gas flow directly contacts the collection plate 23, the flow resistance (pressure loss; pressure loss) is large. Since 23 is thin and the flow direction length of the exhaust gas flow is short, there is a risk that PM may pass through, and there is a possibility that PM collection efficiency may not be sufficiently increased. PM that has once passed through the collection plate 23 is once again corona discharged.
  • an electric processing method and apparatus for exhaust gas of a diesel engine in which high-speed and / or large-flow exhaust gas is discharged with a large displacement using a low-quality fuel, particularly heavy oil or less described in Patent Document 2 (see FIG. 28) employs an EGR system in the engine to reduce NOx in the exhaust gas, and sulfur dioxide that cannot be removed by the electrostatic cyclone exhaust gas purification device 34 by installing the normal scrubber 40 in the exhaust pipe or EGR pipe.
  • the remaining components such as gas and PM (soot, SOF, sulfate) are effectively removed and reduced to obtain clean exhaust gas and EGR gas, and the EGR gas may be cooled to a low temperature.
  • oil concentration of the oily mixture when not diluted is 15 or less per million”.
  • oil refers to crude oil, heavy oil and lubricating oil, “oiliness” is to be interpreted according to this meaning, and “oily mixture” refers to a mixture containing oil.
  • Wastewater treatment such as pH adjustment is expected to be a major problem.
  • at least the processing of the exhaust gas flow including at least the EGR gas flow, and preferably the EGR gas flow is larger than that of the scrubber alone. From the point of view of this point (including storage facilities to prevent the treatment wastewater containing oil from being discharged into the ocean), it is not practical at all.
  • Normal scrubbers include venturi scrubbers, jet scrubbers, cyclones scrubbers, and spray towers as pressurized water types, and packed bed types include various forms such as packed towers and fluidized bed scrubbers. Since the exhaust gas flow is in violent crossing contact with the surface of the treated water, it is unavoidable to mix the particulates in the exhaust gas into the treated water. (Including storage facilities to prevent the treatment wastewater containing oil from being discharged into the ocean).
  • an SCR system using a catalytic reaction is generally known as a known NOx reduction technique.
  • the catalyst if the catalyst is activated in a state where the temperature of the exhaust gas of the engine is sufficiently high, and the catalyst surface is reliably exposed without being covered with soot or the like, the catalyst functions normally and high NOx. Reduction can be achieved.
  • long stroke low speed engines are the mainstream compared to automobile engines, etc., in order to ensure an improvement in fuel consumption rate, and the energy of the combustion gas is slowly spent in the cylinder.
  • the exhaust gas temperature is often low due to the reliable removal of power and the heat dissipation associated with the combustion gas coming into contact with the cylinder wall for a long time.
  • the catalyst temperature is below 300 ° C.
  • the function is not sufficiently exhibited, and the NOx reduction rate is often insufficient.
  • the catalyst is covered with PM contained in the exhaust gas, and it is poisoned by sulfur contained in a large amount of fuel, and its NOx purification function Is pointed out that it does not function stably for a long time, and improvement is desired.
  • the present invention reduces NOx in exhaust gas of a marine diesel engine that discharges high-speed and / or high-flow exhaust gas with a large displacement especially using low-quality fuel less than heavy oil. Furthermore, while eliminating mixing of PM into treated water, SO X is efficiently removed to purify exhaust gas, and mixing and emulsification of PM into PM fleece scrubber treated water are prevented.
  • the SO X is processed by a simple process such as neutralization filtration, a small number of man-hours, and a small and easy-to-control processing device, so that it can be discharged into the ocean even during navigation in and outside the special sea area.
  • PM fleece scrubber treated water can be installed freely with an expensive and large-sized treatment device (including storage equipment for preventing treatment wastewater containing oil from being discharged into the ocean) equipped with a control unit with complicated and advanced control. It is a small, easy-to-maintain, small-sized facility with a high degree of freedom of installation that does not require low-grade equipment, but it is easy to manage treated water, and sometimes scrubber-through operation is possible. Marine diesel engine using low quality fuel such as heavy oil containing sulfur component at high concentration, which does not require enormous capital investment associated with the installation of large-scale desulfurization equipment in Japan, and therefore can reduce fuel costs An exhaust gas purifying apparatus is provided.
  • An exhaust gas purification apparatus for a marine diesel engine that uses low-quality fuel of heavy oil or less includes, as a first invention, an exhaust gas purification apparatus for a marine diesel engine that uses low-quality fuel of heavy oil or less.
  • an exhaust gas cooler is provided in the exhaust pipe connected to the exhaust manifold, and an organic solvent soluble component (SOF) and an organic solvent insoluble component (ISF) contained in the exhaust gas are mainly formed on the downstream side of the exhaust gas cooler.
  • An electric dust collecting means for removing PM (particulate matter) is installed, and a PM fleece scrubber that hardly removes PM is disposed in the exhaust pipe downstream of the electric dust collecting means. To do.
  • an exhaust gas purifying apparatus for a marine diesel engine that uses low-quality fuel less than heavy oil according to the present invention.
  • the exhaust gas cooler is preferably provided in an exhaust pipe connected to an exhaust manifold of the engine.
  • An electric dust collecting means for removing PM (particulate matter) mainly composed of organic solvent soluble (SOF) and organic solvent insoluble (ISF) contained in the exhaust gas is installed on the downstream side of the exhaust gas,
  • a branch portion that divides a part of the exhaust gas as EGR gas is provided in the downstream side distribution pipe of the electric dust collecting means, and the EGR gas is recirculated to the intake air of the engine through an EGR piping system connected to the branch portion.
  • a main PM fleece scrubber that hardly removes PM is disposed on either the upstream side or downstream side of the branch portion of the downstream exhaust pipe of the electrostatic dust collecting means or the EGR piping system. It is characterized in that no and configurations.
  • an exhaust gas purifying apparatus for a diesel engine that uses low-quality fuel equal to or less than heavy oil.
  • a third aspect of the present invention is a bifurcating section that divides a portion of exhaust gas as EGR gas into an exhaust pipe connected to an exhaust manifold of the engine.
  • an exhaust gas cooler is provided in the EGR piping system connected to the branching portion, and an organic solvent soluble component (SOF) and an organic solvent insoluble component (SOF) contained in the exhaust gas are provided downstream of the exhaust gas cooler (
  • An electric dust collecting means for removing PM (particulate matter) mainly composed of ISF) is installed, and the EGR gas is returned to the engine intake air via the EGR piping system downstream of the electric dust collecting means.
  • a PM fleece scrubber that hardly removes PM is disposed in the EGR piping system downstream of the dust collecting means.
  • an exhaust gas purifying apparatus for a marine diesel engine using heavy oil or lower quality fuel wherein an exhaust gas cooler is preferably provided in an exhaust pipe downstream of the exhaust manifold of the engine.
  • An electric dust collecting means for removing PM (particulate matter) mainly composed of organic solvent soluble matter (SOF) and organic solvent insoluble matter (ISF) contained in the exhaust gas is installed downstream of the exhaust gas, and
  • a main PM fleece scrubber that hardly removes PM is disposed in the exhaust pipe downstream of the electric dust collecting means, and a branching portion that divides a part of the exhaust gas as EGR gas is provided downstream of the main PM fleece scrubber.
  • the EGR piping system connected to the branching portion is provided with a sub PM fleece clubber that hardly removes the same PM as described above. That.
  • an exhaust gas purification apparatus for a marine diesel engine using low-quality fuel equal to or less than heavy oil includes, as a fifth invention, a two-stage supercharging system disposed upstream of the exhaust manifold of the engine as a two-stage supercharging system.
  • a branch part for diverting a part of the exhaust gas as EGR gas is provided on the downstream side of the EGR pipe.
  • a sub PM fleece clubber that hardly removes the same PM is disposed, and a part of the exhaust gas is recirculated either upstream or downstream of the low-pressure turbocharger or downstream of the high-pressure turbocharger. It is what.
  • an exhaust gas purifying apparatus for a marine diesel engine that uses low-quality fuel equal to or less than heavy oil is provided with a main PM fleece scrubber that hardly removes PM in an exhaust pipe downstream of the exhaust manifold of the engine.
  • a branch part for diverting a part of the exhaust gas as EGR gas downstream from the main PM fleece clubber, and an EGR piping system connected to the branch part is preferably included in the exhaust gas cooler and the EGR gas.
  • the exhaust gas is partly recirculated to the intake system of the engine.
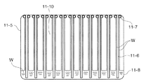
  • the PM fleece scrubber which hardly removes PM is a porous material having a glass fiber having excellent water absorption in the exhaust pipe and / or EGR piping system.
  • the core part of the slanted honeycomb structure in which corrugated plates and flat plates made of ceramic materials are alternately stacked is arranged vertically, and a water supply part is provided over the entire length of the core so that the core part surface is always wet, and exhaust gas
  • the flow is arranged so as to pass through a large number of tunnel-shaped microcores in the honeycomb core portion, and the tray is provided at the lower portion of the core to receive the treated water having purified exhaust gas, and the tray extends over almost the entire length of the core.
  • An upper tank and a lower tank are provided in the pipe and / or EGR piping system, and a flat plate and / or a corrugated plate are provided vertically or inclined with respect to the vertical direction between the tanks.
  • a plurality of lower rolls are arranged at the bottom of the exhaust pipe, preferably under the surface of the tray, and an endless belt is arranged in a serpentine shape between the corresponding upper rolls to drive at least one of the rolls. Then, it is preferable that the treated water flow down from directly below the upper roll to provide a configuration in which a large number of wet movable wall surfaces are provided in the exhaust gas flow path.
  • the exhaust gas purification apparatus for a marine diesel engine that uses low-quality fuel of heavy oil or less has the effects described below.
  • the exhaust gas passage is preferably provided with an exhaust gas cooler, an electrostatic cyclone exhaust gas purification device, a PM fleece scrubber (hereinafter referred to as “PM fleece scrubber”) that hardly dissolves and removes PM, and the PM free Due to the thin film layer of treated water that exists (partially flows down) on each wall surface that constitutes the scrubber, SOx in the exhaust gas is adsorbed and dissolved in the treated water while flowing along each wall surface, and its concentration is drastically reduced and discharged.
  • PM fleece scrubber a PM fleece scrubber
  • the scrubber-thru operation is sometimes possible with little need for PM processing function of particles, and navigation in special sea areas and outside special sea areas Even inside, it can be discharged into the ocean.
  • marine fuel has a high sulfur content, the exhaust gas contains a high concentration of sulfate.
  • the sulfur content in the exhaust gas is further concentrated, and the piston and piston ring Engine parts such as cylinders, cylinder heads, supply / exhaust valves / valve stems, exhaust pipes, mufflers, economizers, recuperators and other exhaust related parts are corroded and worn, so that the engine and related parts are durable. Since it can be improved without the risk of impairing the performance, inexpensive materials can be used.
  • the exhaust gas passage preferably dissolves and removes the exhaust gas cooler, electrostatic cyclone exhaust gas purification device, and PM.
  • the PM fleece scrubber and the branch section are not provided, and the EGR gas branched from the branch section is taken into the intake air.
  • the exhaust pipe is provided with an exhaust gas cooler, an electrostatic cyclone exhaust gas purification device, and a branching portion, and a part of the exhaust gas is diverted as EGR gas, so that SOx in the EGR gas is dissolved in the treated water.
  • EGR gas a part of the exhaust gas is diverted as EGR gas, so that SOx in the EGR gas is dissolved in the treated water.
  • the generation of nitrogen oxides is suppressed and the heat dissipation from the cylinder wall surface is reduced to improve the fuel consumption rate.
  • the wear can be accelerated or corroded by SOx and the durability of the engine and related parts can be reduced, so that inexpensive materials can be used. .
  • the PM fleece clubber installed in the EGR piping system only needs to have a processing capacity capable of processing only EGR gas, so it requires less processing capacity than the case of processing the entire amount of exhaust gas, and is small, small capacity and inexpensive.
  • scrubber-through operation is possible, such as the amount of treated water is reduced and sludge is reduced, and the amount of waste treated water discharged to the special sea area and the ocean outside the special sea area can also be reduced. it can. 4).
  • a branch part is provided in the exhaust pipe, and a part of the exhaust gas is diverted as EGR gas, and the EGR piping system preferably dissolves the exhaust gas cooler, electrostatic cyclone exhaust gas purification device, SOx in the treated water, but does not remove PM.
  • the branched EGR gas is reduced in the content of PM by the electrostatic cyclone exhaust gas purification device, SOx such as sulfur dioxide gas that could not be removed by the electrostatic cyclone exhaust gas purification device, and SOx among the particulate PM, by the PM fleece scrubber that dissolves SOx in its treated water but hardly dissolves or removes PM. Is removed with a PM fleece scrubber and becomes a clean EGR gas that is hardly contained.
  • the temperature of the EGR gas is lowered and it becomes easy to secure a high EGR rate, and the combustion temperature in the combustion chamber is lowered to suppress generation of nitrogen oxides.
  • the heat dissipation from the cylinder wall is reduced and the fuel consumption rate is improved, and the SOx contained in the EGR gas is reduced, so that the engine components and exhaust-related parts are accelerated in wear or corroded by SOx. Therefore, it is possible to eliminate the risk of impairing the durability of the engine and related parts, so that an inexpensive material can be used.
  • the PM fleece clubber installed in the EGR piping system only needs to have a processing capacity capable of processing only EGR gas, so that it requires less processing capacity than a device that processes the entire amount of exhaust gas, and is small, small capacity, and inexpensive.
  • the amount of treated water is reduced, sometimes scrubber-through operation is possible, and the amount of waste treated water discharged to the special sea area and the ocean outside the special sea area can be reduced.
  • the electrostatic cyclone exhaust gas purification device only needs to have a processing capacity capable of processing only EGR gas, so that it requires less processing capacity than the exhaust gas purification device that processes the entire amount of exhaust gas, and is small in size and layout. This is a good and inexpensive device. 5.
  • An electrostatic cyclone exhaust gas purification device and a main PM fleece scrubber are provided in the exhaust pipe, EGR gas is shunted from the downstream of the main PM fleece scrubber, and a sub PM fleece scrubber is provided in the EGR piping system. Effect is obtained.
  • B Since SOx contained in EGR gas can be greatly removed, there is a risk that the durability and durability will be reduced by reducing the corrosion and wear of engine components such as pistons, piston rings, cylinders, cylinder heads, supply / exhaust valves and valve stems. Since it can be improved without cost, an inexpensive material can be used.
  • the SCR method using a catalytic reaction known as a known NOx reduction technology ensures that the catalyst is activated when the engine exhaust gas temperature is sufficiently high, and that the catalyst surface is not covered with soot or the like. If exposed, the catalyst functions normally and high NOx reduction can be achieved.
  • a low-speed engine with a long stroke compared to an automobile engine or the like in order to ensure an improved fuel consumption rate. Is the mainstream, and the energy of the combustion gas in the cylinder is slowly extracted over time as kinetic energy, and the combustion gas contacts the cylinder wall for a long time.
  • the temperature of the exhaust gas is often low, and the catalyst temperature is 3 not only during warm-up immediately after engine startup but also during steady operation.
  • each component is not as temperature dependent as SCR, is not affected by PM in the exhaust gas, and is hardly deteriorated by SOx due to the use of low quality fuel.
  • the exhaust gas purification function can be exhibited stably over a long period of time immediately after startup, a high NOx reduction rate can be achieved, and it can contribute to environmental conservation with certainty.
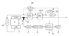
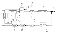
  • the exhaust gas purifying apparatus for a marine diesel engine shown as the first embodiment of the present invention in FIG. 1 is downstream of an exhaust manifold (E / M) 2 of a diesel engine (E) 1 that uses low quality fuel equal to or less than heavy oil as fuel.
  • An exhaust gas cooler (G / C) 3 is disposed downstream of the turbine (not shown) of the turbocharger (T / C) 12 of the exhaust pipe of the exhaust pipe, and further, a static air is disposed downstream of the exhaust gas cooler (G / C) 3.
  • An electric cyclone exhaust gas purification device (ESP / C / DPF (Diesel Particulate Filter)) 4 is installed, and SOx in the exhaust gas is dissolved in the treated water in its downstream piping, but PM that hardly dissolves and removes PM
  • a fleece scrubber 11 is provided, and a turbocharger (T / C) 12 compressor (in the intake pipe downstream of the air filter (A / F) 9) ( Shimese not) and via the intercooler (I / C) 14 is obtained without the arrangement for the intake of outside air into the intake manifold (I / M) 7 of the engine.
  • the exhaust gas cooled by the exhaust gas cooler by driving the turbine wheel (not shown) of the turbocharger (T / C) 12 is purified by the electrostatic cyclone exhaust gas purification.
  • the content of PM (SOF, ISF) in the exhaust gas is reduced by the apparatus, and then it passes through a PM fleece scrubber that hardly dissolves or removes PM.
  • the exhaust gas is formed by the water thin film layer of scrubber treated water that exists (partially flows down) on the wall surface of each processing plate constituting the PM fleece scrubber.
  • SOx inside flows near the surface of the water thin film layer of the treated water on each wall surface and dissolves from the surface into a water stream having good absorbability with respect to SOx, and the exhaust gas flowing near the surface of the water thin film layer is dissolved by this dissolution.
  • SOx which has a very high diffusion coefficient, immediately diffuses and moves from the adjacent high-concentration flow in the exhaust gas flow to the surface of the low-concentration thin-film layer and is supplied to the surface of the water thin-film layer.
  • the SOx is almost absorbed and absorbed by the treated water due to the continuous repeated phenomenon of dissolution at the surface of the water thin film layer and high-speed diffusion from the exhaust gas flow to the surface of the water thin film layer.
  • PM which is a particle in the exhaust gas
  • a pressurized scrubber such as a jet scrubber, a venturi scrubber, or a spray tower, or a packed scrubber such as a packed tower or a fluidized bed scrubber
  • the exhaust gas hardly collides with the surface of the scrubber treated water almost perpendicularly, and only flows smoothly along the surface of the water thin film layer of the PM fleece scrubber treated water.
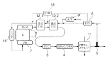
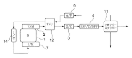
  • the exhaust gas purifying apparatus for a marine diesel engine shown as the second embodiment of the present invention in FIG. 2 is an exhaust gas cooler in the exhaust pipe downstream of the exhaust manifold 2 of the diesel engine which also uses a low quality fuel equal to or less than heavy oil as fuel. 3, an electrostatic cyclone exhaust gas purification device 4 downstream of the exhaust gas cooler 3, and a PM fleece scrubber 11 that dissolves SOx in the exhaust gas in its treated water but hardly dissolves and removes PM, Downstream of that, an EGR piping system for branching EGR gas is connected to the exhaust pipe to the muffler (not shown), and the EGR gas that splits the EGR gas is connected to the intake manifold 7 or air while controlling the flow rate of the split EGR gas by the EGR valve 6. In this configuration, the air is returned to the intake pipe system from the filter 9.
  • the PM fleece scrubber which cleans the exhaust gas and hardly dissolves / removes PM in the exhaust pipe, as in the first embodiment apparatus shown in FIG. 11 and the EGR piping system for diverting the EGR gas from the bifurcation 5 of the downstream flow and returning it to the intake air, so that SOx such as sulfur dioxide gas that cannot be removed by the electrostatic cyclone exhaust gas purification device 4 and particles Of a certain PM, SOx is removed by the PM fleece scrubber 11 and is hardly contained in exhaust gas or EGR gas.
  • the exhaust gas contains SOF content such as n-hexane extract, but PM is also sulfur dioxide gas.
  • the PM fleece scrubber 11 that hardly dissolves and removes PM mainly contains only SOx in the scrubber treated water, and very little particulate PM is dissolved and contained.
  • the post-treatment of the wastewater from the scrubber treated water of the PM fleece scrubber 11 that hardly dissolves or removes PM is a simple process such as neutralization and filtration, a small number of man-hours, and a small and easy-to-control treatment device.
  • Particles from an expensive, large-sized, low-installation processing device including storage equipment that prevents oil-containing treated wastewater from being discharged into the ocean) that can be treated and that has a control unit with complicated and sophisticated control.
  • There is little need for a certain PM processing function sometimes scrubber-through operation is possible, Emissions to the waste treated water ocean is possible.
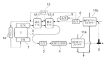
  • the exhaust gas purifying apparatus for a marine diesel engine shown as the third embodiment of the present invention in FIG. 3 is similar to the exhaust gas cooler 3 in the exhaust pipe downstream of the exhaust manifold 2 of the diesel engine that uses low quality fuel equal to or less than heavy oil as fuel.
  • the EGR piping system in which the electrostatic cyclone exhaust gas purifying device 4 and the PM fleece scrubber 11 are arranged in this order, and further, a branch portion 5 is provided in the exhaust pipe downstream thereof, and a part of the exhaust gas is divided as EGR gas.
  • the intake pipe system from the intake manifold 7 or the air filter 9 while controlling the flow rate of the EGR gas further connected by the EGR cooler (E / C) 10 provided in the EGR piping system and connected to the branch portion 5 by the EGR valve 6. It is configured to be refluxed.
  • the exhaust gas becomes clean and the PM fleece scrubber 11 which dissolves and removes almost no PM in the exhaust pipe as in the second embodiment apparatus shown in FIG.
  • an EGR piping system in which the EGR gas is diverted from the branch portion of the downstream flow and further cooled by the EGR cooler 10 and then returned to the intake air, sulfur dioxide that cannot be removed by the electrostatic cyclone exhaust gas purification device 4 Of SOx such as gas and particulate PM, SOx is removed by PM fleece scrubber 11 and is hardly contained in exhaust gas or EGR gas.
  • Exhaust gas contains SOF content such as n-hexane extract.
  • the content of SOx is reduced and the EGR cooler is reduced.
  • the recirculation of EGR gas which has been further cooled by the EGR gas and facilitated to secure a high EGR rate, further reduces the combustion temperature in the combustion chamber and further suppresses the generation of nitrogen oxides, and reduces heat dissipation from the cylinder wall surface, etc.
  • the fuel consumption rate is improved, and the wear and corrosion of engine components are prevented and the corrosion of exhaust-related parts is prevented to extend the maintenance interval and extend the service life, thereby eliminating the risk of impairing durability.
  • the PM fleece scrubber 11 that hardly dissolves and removes PM mainly contains only SOx in the scrubber treated water, and very little particulate PM is dissolved and contained.
  • the post-treatment of the wastewater from the scrubber treated water of the PM fleece scrubber 11 that hardly dissolves or removes PM is a simple process such as neutralization and filtration, a small number of man-hours, and a small and easy-to-control treatment device.
  • Particles from an expensive, large-sized, low-installation processing device including storage equipment that prevents oil-containing treated wastewater from being discharged into the ocean
  • an expensive, large-sized, low-installation processing device including storage equipment that prevents oil-containing treated wastewater from being discharged into the ocean
  • There is little need for a certain PM processing function sometimes scrubber-through operation is possible, Discharge into the ocean of waste treated water is possible.
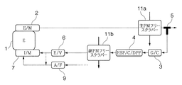
  • FIG. 4 shows an exhaust gas purifying apparatus for a marine diesel engine shown as a fourth embodiment of the present invention.
  • an exhaust gas cooler 3 is connected to an exhaust pipe downstream of an exhaust manifold 2 of a diesel engine using low quality fuel equal to or less than heavy oil as fuel.
  • an electrostatic cyclone exhaust gas purification device 4 a branch portion 5 is provided in the exhaust pipe downstream of the electrostatic cyclone exhaust gas purification device 4, and a part of the exhaust gas is diverted as EGR gas.
  • a PM fleece scrubber 11 that dissolves SOx in EGR gas in its treated water but hardly dissolves or removes PM is disposed in the EGR piping system, and further, EGR gas is supplied to the EGR valve 6.
  • the flow rate is controlled by the intake manifold 7 or the air filter 9 to the intake pipe system.
  • the exhaust gas becomes clean and, unlike the third embodiment apparatus shown in FIG. 3, the SOGR in the EGR gas is used as treated water in the EGR piping system.
  • the PM fleece scrubber 11 that dissolves but hardly dissolves and removes PM, SOx such as sulfur dioxide gas that could not be removed by the electrostatic cyclone exhaust gas purification device 4 and SOx of the particulate PM. Is removed by the PM fleece scrubber 11 to become a clean EGR gas that is hardly contained in the EGR gas. Although the content is reduced, the scrubber treatment is not performed, so that SOx is contained, but the EGR gas temperature separated is diverted.
  • the temperature of the EGR gas is lowered, making it easy to ensure a high EGR rate and combustion in the combustion chamber.
  • the temperature is reduced and the generation of nitrogen oxides is suppressed, the heat dissipation from the cylinder wall surface is reduced, the fuel consumption rate is improved, and the SOx contained in the EGR gas is reduced. Since it is possible to improve the exhaust-related parts without the risk of the wear and corrosion of SOx being accelerated or corroded to impair the durability of the engine and related parts, inexpensive materials can be used.
  • the PM fleece scrubber 11 installed in the EGR piping system only needs to have a processing capacity capable of processing only EGR gas, so that the PM fleece scrubber 11 of the first to third embodiments apparatus that processes the entire amount of exhaust gas is used. It is a small, low-capacity, low-cost device with low processing capacity, and the amount of treated water is reduced, sludge can be reduced, and the amount of waste treated water discharged into the ocean during navigation can be reduced. Further, in this exhaust gas purifying apparatus, the PM fleece scrubber 11 that hardly dissolves and removes PM mainly contains only SOx in the scrubber treated water, and very little particulate PM is dissolved and contained.
  • the post-treatment of the wastewater from the scrubber treated water of the PM fleece scrubber 11 that hardly dissolves or removes PM is a simple process such as neutralization and filtration, a small number of man-hours, and a small and easy-to-control treatment device.
  • Particles from an expensive, large-sized, low-installation processing device including storage equipment that prevents oil-containing treated wastewater from being discharged into the ocean) that can be treated and that has a control unit with complicated and sophisticated control.
  • There is little need for a certain PM processing function sometimes scrubber-through operation is possible, Discharge into the ocean of waste treated water is possible.
  • FIG. 5 shows an exhaust gas purifying apparatus for a marine diesel engine, shown as a fifth embodiment of the present invention, in which an exhaust gas cooler is provided in an exhaust pipe downstream of an exhaust manifold 2 of a diesel engine 1 that also uses low quality fuel equal to or less than heavy oil as fuel. 3 and an electrostatic cyclone exhaust gas purification device 4 are provided, and a branch portion 5 is provided in the exhaust pipe downstream of the electrostatic cyclone exhaust gas purification device 4 so that a part of the exhaust gas is diverted as EGR gas.
  • a system is connected to the branch section 5, and a PM fleece scrubber 11 that dissolves SOx in EGR gas in its treated water but hardly dissolves or removes PM is disposed in the EGR piping system.
  • An EGR cooler 10 is disposed on the downstream side of the EGR, and the EGR gas further cooled by the EGR cooler 10 is flowed by the EGR valve 6. It is obtained without the arrangement for recirculating to the intake pipe system from the intake manifold 7 or the air filter while Gyoshi.
  • the exhaust gas becomes clean and, similar to the fourth embodiment apparatus shown in FIG. 4, the SOGR in the EGR gas is treated with treated water in the EGR piping system.
  • SOx such as sulfur dioxide gas that could not be removed by the electrostatic cyclone exhaust gas purification device 4 and particles Of the PM
  • SOx is removed by the PM fleece scrubber 11 to become a clean and low-temperature EGR gas that is hardly contained in the EGR gas, and the exhaust gas is treated by the electrostatic cyclone exhaust gas purification device 4 and the EGR gas.
  • the temperature of the EGR gas is further lowered as compared with the fourth embodiment because the shunted EGR gas temperature comes into contact with the treated water in the PM fleece scrubber 11 and is further cooled in the EGR cooler 10. As a result, it is easy to secure a high EGR rate, and the combustion temperature in the combustion chamber is further lowered to further suppress the generation of nitrogen oxides, and the heat radiation from the cylinder wall surface is reduced to further increase the fuel consumption rate.
  • the SOx contained in the EGR gas is reduced, so that there is no risk that the engine components and exhaust-related parts will be accelerated or corroded by SOx and impair the durability of the engine and related parts. Since it can be improved, an inexpensive material can be used. Since the PM fleece scrubber 11 installed in the EGR piping system only needs to have a processing capacity capable of processing only EGR gas, the PM fleece scrubber of the first to third embodiments apparatus that processes the entire amount of exhaust gas. It is a small, small-capacity, low-cost device with low processing capacity, and the amount of treated water is reduced, sludge can be reduced, and the amount of waste treated water discharged into the ocean during navigation can be reduced.
  • the PM fleece scrubber 11 that hardly dissolves and removes PM mainly contains only SOx in the scrubber treated water, and very little particulate PM is dissolved and contained.
  • SOx is treated with a simple process such as neutralization and filtration, with a small number of man-hours and a small, easy-to-control treatment device.
  • PM which is a particle produced by an expensive, large-sized, low-freedom processing device (including storage equipment that prevents oil-containing treated wastewater from being discharged into the ocean) with a complicated and sophisticated control unit Scrubber-thru operation is sometimes possible with almost no processing function required, and is discarded even during navigation in and around the special sea area. It is possible to discharge into the ocean of physical water.
  • the exhaust gas purification apparatus for a marine diesel engine shown as a sixth embodiment of the present invention in FIG. 6 is a turbocharger (T / C) downstream of the exhaust manifold 2 of the diesel engine 1 using low quality fuel equal to or less than heavy oil as fuel. 12, an exhaust gas cooler 3 and an electrostatic cyclone exhaust gas purification device 4 are disposed in an exhaust pipe downstream of a turbine wheel (not shown) of the turbocharger 12, and the electrostatic cyclone exhaust gas purification device 4
  • a branch section 5 is provided in the downstream exhaust pipe, and an EGR piping system for diverting a part of the exhaust gas as EGR gas is connected to the branch section 5, and SOx in the EGR gas is used as treated water for the EGR piping system.
  • a PM fleece scrubber 11 and a brackish water separator 8 that dissolves but hardly dissolves and removes PM are disposed, and further, EGR gas is pressurized and supplied downstream.
  • a blower (B / W) 13 for pressure feeding is provided, and the EGR gas is recirculated to the intake manifold 7 pressurized by a compressor wheel (not shown) of the turbocharger 12 while controlling the flow rate by the EGR valve 6. It is a thing.
  • the position where the EGR gas is recirculated is shown in the intake manifold 7. However, since the EGR gas is boosted by the blower (B / W) 13, any position (intercooler) in the intake piping system is used.
  • brackish water separator 8 is installed in the downstream of the PM fleece scrubber 11, this water drop is contained in the blower when the treated water of the PM fleece scrubber 11 is mixed into the EGR gas and contains water drops. It prevents the problem of scattering and corroding the components, and the rapid expansion by flowing into the engine combustion chamber, resulting in extremely high pressure, adversely affecting combustion and preventing the engine from being damaged.
  • the exhaust gas purifying apparatus having the configuration shown in FIG. 6, the exhaust gas becomes clean, and, similar to the fourth embodiment apparatus shown in FIG. 4, the SOGR in the EGR gas is treated with treated water in the EGR piping system.
  • SOx such as sulfur dioxide gas that could not be removed by the electrostatic cyclone exhaust gas purification device 4 and Of the particulate PM, SOx is removed by the PM fleece scrubber 11 to become a clean EGR gas hardly contained in the EGR gas, and the exhaust gas is treated by the electrostatic cyclone exhaust gas purification device 4 and the EGR gas.
  • the PM fleece scrubber 11 installed in the EGR pipe only needs to have a processing capacity capable of processing only the EGR gas, so that the PM fleece scrubber 11 of the first to third embodiments that processes the entire amount of exhaust gas is used. It is a small, low-capacity, low-priced device with low processing capacity, and the amount of treated water is reduced, sludge can be reduced, and the amount of waste treated water discharged into the ocean during navigation can be reduced. Further, in this exhaust gas purifying apparatus, the PM fleece scrubber 11 that hardly dissolves and removes PM mainly contains only SOx in the scrubber treated water, and very little particulate PM is dissolved and contained.
  • the diesel engine exhaust gas purification apparatus shown in FIG. 7 as the seventh embodiment of the present invention is provided with a branch portion 5 in the exhaust pipe downstream of the exhaust manifold 2 of the diesel engine 1 using low quality fuel of heavy oil or less as fuel.
  • An EGR piping system that divides a part of the exhaust gas as EGR gas is connected to the branching section 5, and an exhaust gas cooler 3 and an electrostatic cyclone exhaust gas purification device 4 are disposed in the EGR piping system, and the electrostatic A PM fleece scrubber 11 that dissolves SOx in the EGR gas in its treated water but hardly dissolves or removes PM is installed downstream of the cyclone exhaust gas purification device 4. Further, an EGR cooler 10 and a downstream of the PM fleece scrubber 11 are installed.
  • An EGR valve 6 is provided, and the intake manifold 7 or air flow is controlled while controlling the flow rate of EGR gas by the EGR valve 6. It is obtained without the arrangement for recirculating to the intake pipe system from Luther 9.
  • the combustion temperature in the combustion chamber is further lowered to suppress the generation of nitrogen oxides, and the heat dissipation from the cylinder wall surface is reduced to further improve the fuel consumption rate, and is contained in the EGR gas.
  • SOx engine components and exhaust-related parts can be improved without the risk of losing the durability of the engine and related parts by being accelerated or corroded by SOx. Can be used.
  • the PM fleece scrubber 11 installed in the EGR piping system only needs to have a processing capacity capable of processing only EGR gas, so that the PM fleece scrubber 11 of the first to third embodiments apparatus that processes the entire amount of exhaust gas is used.
  • the electrostatic cyclone exhaust gas purification device since the electrostatic cyclone exhaust gas purification device only needs to have a processing capacity capable of processing only EGR gas, it is smaller than the exhaust gas purification devices of the first to third embodiments that process the entire amount of exhaust gas. It is a low-cost device with high processing capacity, small size, small capacity, good layout. Further, in this exhaust gas purifying apparatus, the PM fleece scrubber 11 that hardly dissolves and removes PM mainly contains only SOx in the scrubber treated water, and very little particulate PM is dissolved and contained.
  • the post-treatment of the wastewater from the scrubber treated water of PM fleece scrubber that hardly dissolves and removes PM is a simple processing such as neutralization and filtration, small man-hours such as neutralization and filtration, and a small and easy-to-control processing device Particles produced by an expensive, large-sized, low-freedom processing device equipped with a control unit with complex and sophisticated controls (including storage equipment for preventing the treatment wastewater containing oil from being discharged into the ocean). Scrubber-thru operation is possible with little need for a certain PM processing function, and it is discarded even during navigation in and around special sea areas. It is possible to discharge into the ocean of physical water.
  • FIG. 8 shows an exhaust gas purifying apparatus for a diesel engine shown as an eighth embodiment of the present invention as a two-stage supercharging system downstream of the exhaust manifold 2 of the diesel engine 1 which also uses low quality fuel equal to or less than heavy oil as fuel.
  • a high-pressure turbocharger 12-1 is mounted at the front stage of the exhaust gas flow direction, and a low-pressure turbocharger 12-2 is installed at the rear stage.
  • the exhaust gas cooler 3 is provided in the exhaust pipe downstream of the low-pressure turbocharger 12-2, and further, An electric cyclone exhaust gas purification device 4 and a PM fleece scrubber 11 that hardly dissolves or removes PM are provided, and further, EGR gas is divided into a branch section 5 provided downstream of the exhaust pipe to a muffler (not shown).
  • a blower is connected to the intake pipe at the low pressure position upstream of the compressor wheel (not shown) of the low pressure turbocharger 12-2 or to the intake pipe at the intermediate pressure position between the high pressure turbocharger 12-1 and the low pressure turbocharger 12-2. 13, or alternatively, the air is fed back to the intake pipe at the high pressure position downstream of the compressor wheel (not shown) of the high-pressure turbocharger 12-1 by the blower 13 for reflux. It is a thing.
  • the PM fleece scrubber 11 which cleans the exhaust gas and hardly dissolves or removes PM in the exhaust pipe as in the second embodiment shown in FIG. And an EGR piping system that diverts the EGR gas from the branch section 5 and returns to the intake air, so that SOx such as sulfur dioxide gas that cannot be removed by the electrostatic cyclone exhaust gas purification device 4 and particles Among the PM, SOx is removed by the PM fleece scrubber 11 and is hardly contained in the exhaust gas or EGR gas.
  • the exhaust gas contains a slight amount of SOF such as an n-hexane extract, PM is also sulfur dioxide.
  • EGR gas recirculation with reduced PM and SOx content as well as SOx content such as gas promotes wear of engine components It is possible to prevent the occurrence of corrosion and corrosion of exhaust-related parts, extend maintenance intervals and extend the service life, and improve the risk of impairing durability.
  • the combustion temperature in the chamber is lowered, the generation of nitrogen oxides is suppressed, and the exhaust gas is also cleaned. Furthermore, since the engine is supercharged in two stages, the supercharging pressure is increased, the excess air ratio is improved and combustion is improved, fuel efficiency is improved, and the EGR rate can be increased over a wide operating range.
  • the PM at the stage of being discharged to the exhaust manifold 2 is also reduced, and the effect that the desired exhaust gas purification capability can be secured and maintained is obtained.
  • the PM fleece scrubber 11 that hardly dissolves and removes PM mainly contains only SOx in the scrubber treated water, and very little particulate PM is dissolved and contained.
  • SOx is treated with a simple process such as neutralization and filtration, with a small number of man-hours and a small, easy-to-control treatment device.
  • PM which is a particle produced by an expensive, large-sized, low-freedom processing device (including storage equipment that prevents oil-containing treated wastewater from being discharged into the ocean) with a complicated and sophisticated control unit Scrubber-thru operation is sometimes possible with almost no processing function required, and is discarded even during navigation in and around the special sea area. It is possible to discharge into the ocean of physical water.
  • the exhaust gas purifying apparatus for a marine diesel engine shown as the ninth embodiment of the present invention in FIG. 9 is a two-stage supercharging system downstream of the exhaust manifold of the diesel engine 1 that also uses low quality fuel equal to or less than heavy oil as fuel.
  • a high-pressure turbocharger 12-1 is mounted at the front stage of the exhaust gas flow direction, and a low-pressure turbocharger 12-2 is installed at the rear stage.
  • a branching portion 5 is provided in the exhaust pipe downstream of the low-pressure turbocharger 12-2, and a part of the exhaust gas Is connected to the branch portion 5, and the EGR piping system is connected to the exhaust gas cooler 3, the electrostatic cyclone exhaust gas purification device 4, the PM fleece scrubber 11 that hardly dissolves and removes PM, and EGR.
  • valves 6 are arranged in this order, and the air filter 9 while controlling the flow rate of the EGR gas by the EGR valve 6.
  • the air filter 9 while controlling the flow rate of the EGR gas by the EGR valve 6.
  • SOx such as sulfur dioxide gas that could not be removed by the electrostatic cyclone exhaust gas purification device 4 by installing the PM fleece clubber 11 that dissolves SOx in the treated water but hardly dissolves or removes PM, Among the particulate PM, SOx is removed by the PM fleece scrubber 11 to become a clean EGR gas that is hardly contained in the EGR gas.
  • the EGR gas temperature that has been diverted is cooled by contacting with the treated water in the PM fleece scrubber 11, and the temperature of the EGR gas is lowered, which makes it easy to ensure a high EGR rate.
  • the combustion temperature of the engine is reduced, the generation of nitrogen oxides is suppressed, the heat dissipation from the cylinder wall surface is reduced, the fuel consumption rate is improved, and the SOx contained in the EGR gas is reduced, thereby reducing the engine configuration. Since parts and exhaust-related parts can be improved by eliminating the risk of wear and corrosion of SOx and corroding the durability of the engine and related parts, inexpensive materials can be used. Since the PM fleece scrubber 11 installed in the EGR piping system only needs to have a processing capacity capable of processing only EGR gas, the PM fleece scrubber 11 of the first to third embodiments apparatus that processes the entire amount of exhaust gas.
  • the electrostatic cyclone exhaust gas purification device since the electrostatic cyclone exhaust gas purification device only needs to have a processing capacity capable of processing only EGR gas, it is less than the exhaust gas purification devices of the first to third embodiments that process the entire amount of exhaust gas. It is a low-cost device with high processing capacity, small size, small capacity, good layout. Furthermore, since the engine is supercharged in two stages, the supercharging pressure is increased, the excess air ratio is improved and combustion is improved, the fuel consumption is reduced, and the EGR rate can be increased over a wide operating range.
  • the PM fleece scrubber 11 that hardly dissolves and removes PM mainly contains only SOx in the scrubber treated water, and very little particulate PM is dissolved and contained.
  • SOx is treated with a simple process such as neutralization and filtration, with a small number of man-hours and a small, easy-to-control treatment device.
  • PM which is a particle produced by an expensive, large-sized, low-freedom processing device (including storage equipment that prevents oil-containing treated wastewater from being discharged into the ocean) with a complicated and sophisticated control unit Scrubber-thru operation is sometimes possible with almost no processing function required, and is discarded even during navigation in and around the special sea area. It is possible to discharge into the ocean of physical water.
  • FIG. 10 shows an exhaust gas purification apparatus for a diesel engine shown as the tenth embodiment of the present invention.
  • the diesel engine 1 also uses a low-quality fuel equal to or less than heavy oil as a fuel.
  • a branch is provided in the exhaust pipe upstream of the high-pressure turbocharger 12-1, and a part of the exhaust gas is divided into high-pressure EGR gas.
  • the EGR piping system is connected to the branch portion 5, and the EGR piping system includes an exhaust gas cooler 3, an electrostatic cyclone exhaust gas purification device 4, a PM fleece scrubber 11 that hardly dissolves and removes PM, and an EGR valve 6 in this order.
  • the EGR gas is controlled by the EGR valve 6 while controlling the flow rate of the EGR gas together with the intake air from the air filter.
  • the high pressure turbocharger 12-1 is compressed by a blower, preferably returned to the high pressure position of the intake pipe downstream of the compressor wheel (not shown) of the high pressure turbocharger 12-1.
  • the apparatus of this embodiment pre-cools the EGR gas in the EGR gas piping system branched from the upstream position of the turbine wheel (not shown) of the high-pressure turbocharger 12-1 immediately below the manifold, and after the electrostatic cyclone treatment, the PM fleece scrubber. Then, the flow rate is controlled by the EGR valve 6 and then cooled by the EGR cooler 10 as desired, and then refluxed.
  • SOx is removed by PM fleece scrubber 11 and clean EGR that is hardly contained in EGR gas Furthermore, the EGR gas temperature of the diverted gas flows smoothly along the surface of the water thin film layer of the scrubber-treated water in the PM fleece scrubber 11 and is cooled by the EGR cooler 10 provided as desired, so that the EGR gas Lowering the temperature makes it easy to secure a high EGR rate, and further lowers the combustion temperature in the combustion chamber, further suppressing the generation of nitrogen oxides and reducing heat dissipation from the cylinder wall surface.
  • the fuel consumption rate is further improved, and the SOx contained in the EGR gas is reduced, so that engine components and exhaust-related parts are accelerated and corroded by SOx, and the durability of the engine and related parts is increased. Since it can be improved without fear of impairing the properties, inexpensive materials can be used. Since the PM fleece scrubber 11 installed in the EGR piping system only needs to have a processing capacity capable of processing only EGR gas, the PM fleece scrubber of the first to third embodiments apparatus that processes the entire amount of exhaust gas. However, it is possible to reduce the amount of scrubber treated water, reduce sludge, and reduce the amount of waste treated water discharged into the ocean during navigation.
  • the electrostatic cyclone exhaust gas purification device 4 since the electrostatic cyclone exhaust gas purification device 4 only needs to have a processing capability capable of processing only the EGR gas, the electrostatic cyclone exhaust gas purification device 4 is more than the exhaust gas purification devices of the first to third embodiments that process the entire amount of exhaust gas. It is a low-cost device with small processing capacity, small size, small capacity, good layout. Further, even if the pressure in the intake pipe is increased by the compressor, the high-pressure exhaust gas upstream of the high-pressure turbocharger 12-1 is branched, so that the blower 13 is installed in the EGR pipe as needed to supply the EGR gas. It is possible to ensure a high EGR rate by supplying an accurate amount of EGR gas by increasing the pressure and supplying / supplying it.
  • the engine is supercharged in two stages, the supercharging pressure increases and the excess air ratio Etc. are improved, combustion is improved, fuel consumption is reduced, EGR rate can be increased over a wide operating range, PM at the stage of being discharged to the exhaust manifold 2 is also reduced, and a desired exhaust gas purification capability is secured. -The effect that it can be maintained is obtained. Furthermore, in the PM fleece scrubber which hardly dissolves and removes PM in this exhaust gas purifying apparatus, only SOx is dissolved in the scrubber treated water, and the particulate PM is dissolved and contained in a very small amount.
  • the post-treatment of the waste water from the scrubber treated water of the PM fleece scrubber 11 that hardly dissolves or removes PM, SOx can be treated with a simple process such as neutralization and filtration, with a small number of man-hours and a small processing equipment.
  • the processing function of PM which is a particle, by an expensive, large-scale, low-freedom processing device equipped with a control unit with advanced control (including storage equipment to prevent the treatment wastewater containing oil from being discharged into the ocean) Scrubber-thru operation is possible with almost no need, and the ocean of the wastewater is treated even when traveling in the special sea area and outside the special sea area. It is possible to discharge.
  • a turbocharger 12 is mounted downstream of the exhaust manifold 2 of the diesel engine 1 using low quality fuel equal to or lower than heavy oil as fuel.
  • An exhaust gas cooler 3 and an electrostatic cyclone exhaust gas purification device 4 are disposed in an exhaust pipe downstream of a turbine wheel (not shown) of the turbocharger 12, and the exhaust pipe downstream of the electrostatic cyclone exhaust gas purification device 4 is disposed in the exhaust pipe.
  • EGR gas is arranged in this order by a blower (B / W) 13 that pressurizes, supplies and pumps EGR gas, and an EGR valve 6 in this order. It is obtained without the arrangement for recirculating to the intake pipe of the front intercooler while the flow rates were controlled by the EGR valve 6.
  • this embodiment apparatus pre-cools the exhaust gas after accelerating the turbine wheel (not shown) of the turbocharger 12, and uses only the EGR gas that is diverted from the exhaust gas after the electrostatic cyclone exhaust gas purification process as PM.
  • PM fleece scrubber 11 that hardly dissolves and removes is processed, and then is fed by a blower (B / W) 13 via a brackish water separator 8 to return an accurate amount of EGR gas to the intake pipe before the intercooler. It has been done.
  • the brackish water separator 8 is installed in the downstream of the PM fleece scrubber 11, this is because dew condensation water generated by cooling with the scrubber treated water of the PM fleece scrubber 11 is mixed in the EGR gas. If this happens, the water droplets will scatter in the blower and corrode the components, and it will flow into the engine combustion chamber and expand rapidly, creating a very high pressure that will adversely affect combustion and prevent damage to the engine. is doing.
  • the EGR gas is supercharged in the compressor hole (not shown) of the turbocharger 12 before the intercooler and recirculated to the high-pressure intake pipe.
  • 6 is the same as the apparatus of the sixth embodiment of FIG. 6 and dissolves SOx in the EGR gas in the treated water in the EGR piping system, but dissolves and removes almost no PM. 13 is installed, SOx such as sulfur dioxide gas that could not be removed by the electrostatic cyclone exhaust gas purification device 4 and PM, which is particles, are removed by the PM fleece scrubber 11 and are converted into EGR gas.
  • the PM fleece scrubber 11 installed in the EGR piping system only needs to have a processing capacity capable of processing only EGR gas
  • the PM fleece scrubber of the first to third embodiments that processes the entire amount of exhaust gas is better. It is a small, low-capacity, low-priced device with low processing capacity, and the amount of scrubber treated water is reduced, sludge can be reduced, and the amount of waste treated water discharged into the ocean during navigation can be reduced.
  • the PM fleece scrubber 11 that hardly dissolves and removes PM mainly contains only SOx in the scrubber treated water, and very little particulate PM is dissolved and contained.
  • the post-treatment of the wastewater from the scrubber treated water of the PM fleece scrubber 11 that hardly dissolves or removes PM is a simple process such as neutralization and filtration, a small number of man-hours, and a small and easy-to-control treatment device.
  • Particles produced by an expensive, large-sized, low-freedom processing device including storage equipment that prevents oil-containing treated wastewater from being discharged into the ocean
  • It requires almost no PM processing function, and sometimes scrubber-thru operation is possible, even during navigation in special sea areas and outside special sea areas. Discharged to the ocean disposal treated water is possible.
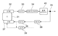
  • FIG. 12 shows an exhaust gas purifying apparatus for a marine diesel engine as an apparatus according to a twelfth embodiment of the present invention.
  • a turbocharger 12 is mounted on an exhaust pipe downstream of an exhaust manifold 2 of a diesel engine 1 using low quality fuel equal to or less than heavy oil as fuel.
  • a branch portion 5 is provided in the exhaust pipe downstream of the turbocharger 12, an EGR piping system for diverting a part of the exhaust gas as EGR gas is connected to the branch portion 5, and an exhaust gas cooler 3 is connected to the EGR pipe.
  • An electrostatic cyclone exhaust gas purification device 4 is disposed, and a PM fleece scrubber 11 that hardly dissolves and removes PM in the EGR gas is installed downstream of the electrostatic cyclone exhaust gas purification device 4.
  • a brackish water separator 8, a blower (B / W) 13, and an EGR valve 6 are arranged downstream in this order, and EGR gas is EG While the flow rates were controlled by a valve 6 is obtained without the arrangement for recirculating to the intake pipe before the intercooler. That is, the apparatus of this embodiment pre-cools the EGR gas in the EGR gas piping system, treats it with the PM fleece scrubber 11 that hardly dissolves or removes PM after the electrostatic cyclone treatment, and then passes it through the brackish water separator 8 to the blower. 13 is configured to be fed back to the intake pipe before the intercooler.
  • a brackish water separator 8 is installed downstream of the PM fleece scrubber 11, and this is because dew condensation water generated by cooling with the scrubber treated water of the PM fleece scrubber 11 is mixed in the EGR gas and so on. If this happens, the water droplets will scatter in the blower and corrode the components, and it will flow into the engine combustion chamber and expand rapidly, creating a very high pressure that will adversely affect combustion and prevent damage to the engine. is doing.
  • the engine components and exhaust-related parts are improved by eliminating the risk that the wear of the engine and related parts will be accelerated or corroded by the SOx and the durability of the engine and related parts will be impaired. Therefore, inexpensive materials can be used.
  • the PM fleece scrubber 11 installed in the EGR piping system only needs to have a processing capacity capable of processing only EGR gas
  • the PM fleece scrubber of the first to third embodiments apparatus that processes the entire amount of exhaust gas.
  • the electrostatic cyclone exhaust gas purification device 4 is only required to have a processing capacity capable of processing only EGR gas, so that it is less than the exhaust gas purification devices of the first to third embodiments that process the entire amount of exhaust gas. It is a low-cost device with high processing capacity, small size, small capacity, good layout. Further, in this exhaust gas purifying apparatus, the PM fleece scrubber 11 that hardly dissolves and removes PM mainly contains only SOx in the scrubber treated water, and very little particulate PM is dissolved and contained.
  • the post-treatment of the wastewater from the scrubber treated water of the PM fleece scrubber 11 that hardly dissolves or removes PM is a simple process such as neutralization and filtration, a small number of man-hours, and a small and easy-to-control treatment device.
  • Particles produced by an expensive, large-sized, low-freedom processing device including storage equipment that prevents oil-containing treated wastewater from being discharged into the ocean
  • It requires almost no PM processing function, and sometimes scrubber-thru operation is possible, even during navigation in special sea areas and outside special sea areas. Discharged to the ocean disposal treated water is possible.
  • the exhaust gas purifying device for a marine diesel engine shown as the thirteenth embodiment device of the present invention in FIG. 13 is a modification of the second embodiment device of the present invention shown in FIG. 2, and employs two PM fleece scrubbers. It is configured as follows. That is, an exhaust gas cooler 3 is provided in the exhaust pipe downstream of the exhaust manifold 2 of the diesel engine 1 that also uses low quality fuel equal to or less than heavy oil as fuel, and the electrostatic cyclone exhaust gas purification device 4 is further provided downstream of the exhaust gas cooler 3.
  • a main PM fleece scrubber 11a (hereinafter referred to as “main PM fleece scrubber”) that dissolves SOx in the exhaust gas in the treated water but hardly dissolves or removes PM is provided, and a muffler downstream thereof (not shown).
  • the EGR piping system for branching the EGR gas by connecting the EGR gas to the exhaust pipe to the exhaust pipe is connected to the EGR piping system, and this EGR piping system is referred to as a sub PM fleece scrubber 11b (hereinafter referred to as “sub PM fleece scrubber”).
  • the EGR gas that has passed through the auxiliary PM fleece scrubber 11b is controlled by the EGR valve 6 while controlling the flow rate of the intake manifold. Rudo 7 or is obtained without the arrangement for recirculating to the intake pipe system from the air filter 9.
  • the exhaust gas is clean as described above (PM by the electrostatic cyclone exhaust gas purifying apparatus 4, nitrogen oxides by the recirculation of EGR gas, and main / sub PMs).
  • EGR gas is diverted from the main PM fleece scrubber 11a, which hardly dissolves / removes PM into the exhaust pipe, and the downstream branching portion 5 and returns to the intake air.
  • SOx such as sulfur dioxide gas that cannot be completely removed by the electrostatic cyclone exhaust gas purification device 4 and particulate PM, SOx is removed by the main PM fleece scrubber 11a and is also emitted into the exhaust gas.
  • the exhaust gas contains SOF content such as n-hexane extract, but PM
  • the EGR gas in which the SOGR content such as sulfur dioxide gas is reduced and the SOx is reduced is reduced by SOx such as sulfate in the sub PM fleece scrubber 11b provided in the EGR piping system branched from the branch portion 5.
  • SOx such as sulfate in the sub PM fleece scrubber 11b provided in the EGR piping system branched from the branch portion 5.
  • SOx can be processed with a simple process such as neutralization and filtration, with a small number of man-hours, and a small and easy-to-control processing device.
  • Particles from processing equipment with a low degree of freedom including storage facilities to prevent treatment wastewater containing oil from being discharged into the ocean) That PM of processing functions without the most necessary, it is possible to discharge into the ocean of waste treated water was sometimes scrubber-through operation is also possible Special Areas and in the Special Areas outside of sailing.
  • the exhaust gas purification device for a marine diesel engine shown as the 14th embodiment device of the present invention in FIG. 14 is a modification of the 8th embodiment device of the present invention shown in FIG. 8, and employs two PM fleece scrubbers. It is configured as follows. That is, a high-pressure turbocharger 12-1 is disposed upstream of the exhaust manifold 2 in the direction of exhaust gas flow downstream of the exhaust manifold 2 of the diesel engine 1 which also uses low quality fuel equal to or less than heavy oil as fuel, and a low-pressure turbocharger 12 downstream of the exhaust gas flow direction.
  • the exhaust gas cooler 3 is provided in the exhaust pipe downstream of the low-pressure turbocharger 12-2, and further, the electrostatic cyclone exhaust gas purification device 4 and the main PM fleece clubber 11a that hardly dissolves or removes PM are provided downstream of the exhaust gas cooler 3a. Furthermore, an EGR piping system that divides EGR gas is connected to a branching portion 5 provided in an exhaust pipe to a muffler (not shown) downstream thereof, and SOx is separated from the EGR gas that is divided from the EGR piping system. A secondary PM fleece scrubber 11b that dissolves in treated water but hardly dissolves or removes PM is provided.
  • the main PM fleece scrubber which cleans the exhaust gas and hardly dissolves / removes PM in the exhaust pipe as in the eighth embodiment shown in FIG. 11a and a secondary PM fleece scrubber 11b that dissolves SOx in the treated water from the EGR gas diverted from the EGR piping system connected to the branching section 5 of the downstream flow but hardly dissolves and removes PM.
  • SOx such as sulfur dioxide gas that cannot be removed by the cyclone exhaust gas purification device 4 and PM, which is a particle, are removed by the main PM fleece scrubber 11a and are hardly contained in the exhaust gas or EGR gas.
  • Exhaust gas contains a slight amount of SOF such as n-hexane extract, but PM also contains SOx such as sulfur dioxide gas.
  • EGR gas recirculation with reduced volume and reduced SOx prevents wear of engine components and prevents corrosion, and prevents corrosion of exhaust-related parts, extending maintenance intervals and extending durability. Therefore, it is possible to use a cheap material, and the combustion temperature in the combustion chamber is lowered to suppress the generation of nitrogen oxides, and the exhaust gas is also cleaned. Furthermore, since the engine is supercharged in two stages, the supercharging pressure is increased, the excess air ratio is improved, the fuel consumption is improved, and the EGR rate can be increased over a wide operating range.
  • the sub PM fleece scrubber 11b that hardly dissolves or removes PM mainly contains only SOx in the scrubber treated water, and contains very little PM as particles. Therefore, the post-treatment of the secondary PM fleece scrubber 11b as the waste treated water of the sub PM fleece scrubber 11b, which hardly dissolves and removes the PM, is the same as the post treatment as the waste treated water of the scrubber treated water of the main PM fleece scrubber 11a.
  • the exhaust gas purification device for a marine diesel engine shown as the 15th embodiment device of the present invention in FIG. 15 is a modification of the 7th embodiment device of the present invention shown in FIG. 7, and employs two PM fleece scrubbers. It is configured as follows. That is, a main PM fleece clubber 11a that hardly dissolves or removes PM is provided in the exhaust pipe downstream of the exhaust manifold 2 of the diesel engine 1 that also uses low quality fuel equal to or less than heavy oil as the fuel, and a muffler (not shown) is also provided downstream of the main PM fleece clubber 11a.
  • the EGR piping system for branching a part of the exhaust gas as EGR gas is connected to the branching portion 5, and the exhaust gas cooler 3 and electrostatic discharge are connected to the EGR piping system.
  • a cyclone exhaust gas purification device 4 is installed, and a sub PM fleece clubbber 11b that dissolves SOx in EGR gas in its treated water but hardly dissolves or removes PM is installed downstream of the electrostatic cyclone exhaust gas purification device 4.
  • An EGR valve 6 is disposed downstream of the sub PM fleece clubber 11b, and the flow rate of EGR gas is controlled by the EGR valve 6. It is obtained without the arrangement for recirculating to the intake pipe system from the intake manifold 7 or air filter 9.
  • the exhaust gas is clean as described above (nitrogen oxides are reduced by the recirculation of EGR gas, and contents of SOx and the like are reduced by the main and auxiliary PM fleece scrubbers 11a and 11b. ), And the main PM fleece scrubber 11a that hardly dissolves and removes the PM provided in the exhaust pipe downstream of the exhaust manifold 2 of the diesel engine 1 removes SOx from the particulate PM.
  • the EGR gas diverted from the EGR piping system connected to the branch portion 5 on the downstream side of the scrubber 11a becomes clean EGR gas, and the clean EGR gas is cooled by the exhaust gas cooler 3 and is discharged by the electrostatic cyclone exhaust gas purification device 4.
  • the content of PM (SOF, ISF) in the EGR gas is efficiently reduced, It is cooled by the secondary PM fleece scrubber 11b that dissolves SOx in the GR gas in its treated water but hardly dissolves or removes PM, so that it is easier to secure a high EGR rate, and the combustion temperature in the combustion chamber is higher.
  • the generation of nitrogen oxides is suppressed and heat dissipation from the cylinder wall surface is reduced to further improve the fuel consumption rate, and the SOx contained in the EGR gas is reduced, thereby reducing engine components and exhaust.
  • Low cost materials can be used because the related parts can be improved without the risk of the wear and corrosion of the related parts being accelerated by SOx and the durability of the engine and related parts being impaired.
  • the secondary PM fleece scrubber 11b installed in the EGR piping system only needs to have a processing capacity capable of processing only EGR gas, so that the processing capacity is smaller and smaller than the main PM fleece scrubber 11a that processes the entire exhaust gas. It is a low-priced, low-cost device, and the amount of scrubber treated water is reduced, sludge is reduced, and the amount of scrubber treated water discharged into the ocean during navigation can be reduced.
  • the electrostatic cyclone exhaust gas purifying device since the electrostatic cyclone exhaust gas purifying device only needs to have a processing capability capable of processing only EGR gas, it is a small, small capacity, good layout and inexpensive device.
  • the sub PM fleece scrubber 11b that hardly dissolves or removes PM mainly contains only SOx in the scrubber treated water, and contains very little PM as particles. Therefore, the post-treatment of the secondary PM fleece scrubber 11b as the waste treated water of the sub PM fleece scrubber 11b, which hardly dissolves and removes the PM, is the same as the post treatment as the waste treated water of the scrubber treated water of the main PM fleece scrubber 11a.
  • the PM fleece scrubber (including the main PM fleece scrubber 11a and the sub PM fleece scrubber 11b) that hardly dissolves and removes the PM used in the present invention is installed in the exhaust gas or EGR gas passage as described above.
  • the PM fleece clubber for example, those shown in FIGS. 16 to 19 can be employed.
  • the PM fleece scrubber shown in FIG. 16 has laminated layers of corrugated plates and flat plates preferably made of a porous ceramic material having excellent water absorption and preferably having glass fiber, carbon fiber, aramid fiber, etc.
  • Honeycomb structured honeycomb core in which a tunnel-like micro-channel composed of a flat plate and a corrugated plate is skewed (for example, 250 mm long ⁇ 250 mm wide ⁇ 100 mm deep (manufactured by NICHIAS Corporation, trade name: honeycomb washer)) Is provided as a honeycomb unit core portion 11-1, and a water supply portion 11-2 including a water supply nozzle or a water supply duct is provided so as to supply water substantially uniformly over the entire width and length of the honeycomb unit core portion 11-1.
  • the honeycomb unit core portion 11-1 is arranged and supplied with water to supply the scrubber treated water (cleaning water) W to the honeycomb unit core 11-1.
  • the surface of each slanting microchannel of the core 11-1 flows down while being wetted, and reaches the under tray 11-3 provided at substantially the same length and width below the honeycomb unit core.
  • the scrubber treated water W is sent from the tank to the water supply unit 11-2 by the pump P so that the surface of each microchannel is kept dry without being dried. (Water flow rate; about 12 L / min), and is configured to be circulated.
  • arrow A indicates the exhaust gas or EGR gas
  • arrow B indicates the exhaust gas or EGR gas from which the S component has been removed (PM remains almost)
  • M indicates the motor
  • W indicates the scrubber treated water.
  • the exhaust gas or the EGR gas only flows smoothly along the surface of the wet water thin film layer on the wall surface of each micro flow path through the honeycomb unit core portion 11-1.
  • the exhaust gas hardly intersects or collides with the surface of the water thin film layer of the treated water W at an angle close to vertical, and flows while gently contacting, so that they do not mix with each other.
  • SOx such as sulfur dioxide
  • PM that is a particle having no affinity with water hardly dissolves in the treated water.
  • the flow, and therefore, the exhaust gas and the EGR gas are surely removed from the SOx, and the particulate PM is left and contained in a state of being contained.
  • This treated water contains SOx but does not contain PM containing an oily mixture based on an n-hexane extract. Discharge of treated water to the ocean is possible even during the voyage of the ship, and the drainage treatment of treated water in the ship becomes particularly easy, the control of the treatment equipment is simplified, the equipment is downsized and the layout is good It also becomes an inexpensive facility.
  • the PM fleece scrubber As another type having the same configuration as the PM fleece scrubber, it is made of an austenitic stainless steel thin plate material such as SUS316L or a stainless steel net material made of austenitic stainless steel fine wire knitted in a mesh shape by plain weave or twill weave.
  • the corrugated plate is corrugated into a skewed corrugated plate and stacked so that the skew direction alternates, and the oblique tunnel-shaped microchannels formed between the oblique corrugated plates are skewed.
  • Some honeycomb unit cores are formed by stacking a desired number of honeycomb unit cores having a honeycomb structure (not shown).
  • the PM fleece clubber adopting the honeycomb unit core portion also has exhaust gas or EGR gas obliquely passing through the honeycomb unit core portion and moistening the wall surface of each microchannel. Because it only flows smoothly along the surface of the thin water film layer, the exhaust gas hardly intersects and collides with the surface of the treated water almost perpendicularly to the surface of the treated water like a scrubber, and flows gently along the surface. Therefore, SOx such as sulfur dioxide, which has a high affinity for water and is easily absorbed in the exhaust gas or EGR gas components, is dissolved in the treated water. PM, which is a particle having no particle, hardly dissolves in treated water.
  • This treated water contains SOx but does not contain an oily mixture mainly composed of n-hexane extract, so it can sometimes be used for scrubber-thru operation and is traveling in special seas and outside special seas. Even so, it is possible to discharge the treated water to the ocean, and in particular, it becomes much easier to discharge the treated water in the ship, the control of the treatment equipment is simplified, the equipment is downsized, the layout is improved, and it is inexpensive. It becomes equipment.
  • the PM fleece scrubber shown in FIG. 17 has a mesh shape of austenitic stainless steel sheet material such as SUS316L or austenitic stainless steel fine wire by plain weave or twill weave in a scrubber housing 11-5 provided in an exhaust gas or EGR gas passage.
  • a large number of flat processing plates 11-6 made of a stainless steel net material knitted in a vertical direction and arranged in parallel with a gas flow at a narrow interval are arranged, and each processing plate 11-
  • a treated water supply nozzle 11-7 is provided at the upper end of each treatment plate so as to wet all surfaces of both treatment plates, and a tank portion 11-8 is provided at the lower end of each treatment plate, and a pipe (not shown) and a motor are provided.
  • the scrubber-treated water W is circulated by a circulation pump (not shown) driven by, and is constantly wetted by flowing down the entire front and back surfaces of the treated plate 11-6. It is caused.
  • Reference numeral 11-10 denotes a gas flow path for exhaust gas or EGR gas. Since the exhaust gas and EGR gas processed by this PM fleece scrubber only flow smoothly along the surface of the processing plate 11-6 that is always wet, it is usually applied to the surface of the water thin film layer of the treated water like a scrubber. On the other hand, the exhaust gas hardly intersects and collides violently at an angle close to vertical, and only flows while gently contacting, so it does not mix with each other.
  • SOx such as sulfur dioxide
  • PM which is a particle having no affinity for water
  • This treated water contains SOx, but it does not contain an oily mixture mainly composed of n-hexane extract. Discharge of treated water to the ocean is possible even while sailing, and in particular, drainage treatment of treated water in the ship becomes much easier, control of the treatment equipment is simplified, equipment is downsized, and layout is improved. It is also an inexpensive facility.
  • the surface shape of the processing plate 11-6 made of austenitic stainless steel sheet material such as SUS316L or a stainless steel mesh material obtained by knitting austenitic stainless steel thin wire in a mesh pattern by plain weave or twill weave is limited to a flat plate shape.
  • Corrugated plate (not shown) that is corrugated in the direction in which the treated water flows corrugated plate (not shown) that is corrugated in the direction in which exhaust gas or EGR gas flows, and the direction in which the treated water flows
  • an embossed treatment plate (not shown) having irregularities in both directions of the exhaust gas / EGR gas flow direction can be selected and used.
  • the PM fleece scrubber shown in FIG. 18 is a modification of the PM fleece scrubber shown in FIG. 17, and a flat processing plate 11'-6 is inclined in the vertical direction in the scrubber housing 11'-5 and the gas flow is performed.
  • a large number of sheets are arranged substantially in parallel with each other at a narrow interval, and a treated water supply nozzle is provided at the upper end on the upper surface side of the inclined surface of each processing plate 11'-6 so as to wet the entire surface of the upper surface of each processing plate.
  • 11′-7 is provided, and a tank portion 11′-8 is provided at the lower end of each treatment plate, and the scrubber treated water W is circulated by a circulation pump (not shown) driven by a pipe (not shown) and a motor.
  • 11'-10 is a gas flow path of exhaust gas or EGR gas. Since the exhaust gas and EGR gas processed by the PM fleece scrubber only flow smoothly along the vicinity of the surface of the water thin film layer flowing down the upper surface of the constantly wet processing plate 11'-6, Exhaust gas or EGR gas components are not mixed with each other because the exhaust gas hardly violently intersects or collides with the surface of the water thin film layer surface of the treated water like a scrubber and only flows while gently moving along the surface.
  • the treated water supply nozzle 11'- is inclined so that the treatment plate 11'-6 is inclined in the vertical direction and the upper surface side upper end of the inclined surface of each treatment plate 11'-6 is wetted on the entire upper surface of each treatment plate. 7 is provided only on the upper surface side, so even if the ship sways and the treatment water flow flowing out of the treatment water supply nozzle 11'-7 slightly sways, the intersection of PM with the treatment water accompanying the dispersion of the treatment water -A collision etc.
  • the surface shape of the processing plate 11'-6 is not limited to a flat plate shape, but a corrugated plate (not shown) formed in the direction in which the processing water flows, the direction in which exhaust gas or EGR gas flows.
  • Corrugated plate that is corrugated, or corrugated plate (not shown) that is corrugated in a direction crossing the direction in which the treated water flows, the flow direction of the treated water, and the flow of exhaust gas / EGR gas
  • Any one of embossed treatment plates (not shown) having irregularities in both directions can be selected and used.
  • exhaust gas hardly violently intersects or collides with the surface of the water thin film layer of the treated water unlike a scrubber, and does not mix with each other because it only flows along gently.
  • the PM fleece scrubber shown in FIG. 19 has an endless belt 11-12 having a fibrous water absorption in a scrubber housing (not shown) provided in an exhaust gas or EGR gas passage in a treated water tank 11-11. Circulation driven by a pipe (not shown) and a motor arranged in a serpentine shape (ninety-nine fold shape) between a drive roll 11-13 provided on the upper side and a driven roll 11-14 provided on both upper and lower sides.
  • the scrubber treated water W in the treatment tank 12-11 is supplied from a supply nozzle (not shown) by a pump (not shown) from directly below the driven roll 11-14 provided on both upper and lower surfaces of the endless belt 11-12. It is made to flow down and the whole surface of the front and back is always wetted.
  • the drive roll 11-13 and the follower roll 11-14 provided at the lower part of the scrubber treated water W in the treated water tank 11-11 are surely wetted on both surfaces of the endless belt 11-12 that rises. It can be made preferable.
  • the exhaust gas hardly intersects or collides with the surface of the water thin film layer of the treated water at an angle close to perpendicular to the surface of the treated water.
  • SOx such as sulfur dioxide that has high affinity with water and is easily absorbed in the exhaust gas or EGR gas component is dissolved in the treated water, but the particles have no affinity with water.
  • Some PM is hardly dissolved in treated water.
  • This treated water contains SOx but does not contain an oily mixture mainly composed of n-hexane extract, so scrubber-thru operation is possible at times, and it is in the special sea area and outside the special sea area. Even if there is, it is possible to discharge the treated water into the ocean, and in particular, it becomes much easier to discharge the treated water in the ship, the control of the treatment equipment is simplified, the equipment is downsized, the layout is improved, and the equipment is inexpensive. It also becomes.
  • an endless belt made of austenitic stainless steel sheet material such as SUS316L is used instead of the endless belt 11-12 having fibrous water absorption. Some have been adopted (drawing omitted). Needless to say, the PM fleece clubber using an endless belt made of an austenitic stainless steel sheet material such as SUS316L can achieve the same effects as those using the endless belt 11-12 having the fibrous water absorption. Absent.
  • sulfur dioxide has high solubility in water and seawater, and a technique for absorbing sulfur dioxide by a scrubber has been established. That is, the scrubber-treated water is maintained and used at an alkaline pH of about 12 with caustic soda (sodium hydroxide) or the like, and a sulfur dioxide removal rate of 95% or more can be realized.
  • the main purpose of the present embodiment is to demonstrate that it is possible to reduce the contamination due to PM of the scrubber treated water of the exhaust gas purifying apparatus and to simplify the waste water treatment process of the scrubber treated water. Therefore, in this example, tap water was used as the scrubber treated water, and even if the scrubber treated water was acidic due to absorption of sulfur dioxide, it was carried out without pH control such as supply of caustic soda.
  • the present embodiment corresponding to the present invention 1 is the first embodiment apparatus shown in FIG. 1, that is, the turbine wheel of the turbocharger (T / C) 12 of the exhaust pipe downstream of the exhaust manifold (E / M) 2 (see FIG.
  • An exhaust gas cooler (G / C) 3 is disposed downstream, and an electrostatic cyclone exhaust gas purification device (ESP / C / DPF) 4 is disposed downstream of the exhaust gas cooler (G / C) 3.
  • a PM fleece clubber 11 that dissolves SOx in the exhaust gas in the treated water but hardly removes PM by hardly dissolving the PM is disposed in the downstream pipe, and an air filter (A / F) 9
  • the engine is connected to the intake manifold (I / M) 7 of the engine via a compressor wheel (not shown) of the turbocharger (T / C) 12 and an intercooler (I / C) 14 to the downstream intake pipe.
  • the turbocharger 12 is mounted on the exhaust pipe downstream of the exhaust manifold 2 in the eleventh embodiment shown in FIG. 11, and a turbine wheel (not shown) of the turbocharger 12 is shown.
  • the exhaust gas cooler 3 and the electrostatic cyclone exhaust gas purification device 4 are disposed in the exhaust pipe downstream of the electrostatic cyclone, and the branch portion 5 is provided in the exhaust pipe downstream of the electrostatic cyclone exhaust gas purification device 4 so that the exhaust gas
  • An EGR piping system that divides a part of the EGR gas as EGR gas is connected to the branch portion 5 and SOx in the EGR gas is dissolved in the treated water in the EGR piping system, but the PM is hardly removed by hardly dissolving the PM.
  • the PM fleece clubber 11, the brackish water separator 8, the blower (B / W) 13 that pressurizes and supplies EGR gas, and the EGR valve 6 are arranged in this order. While the flow rates were controlled by an EGR valve 6 of the scan is obtained without the arrangement for recirculating to the intake pipe system before the intercooler. Therefore, the device of the present invention 2 pre-cools the exhaust gas after accelerating the turbine wheel (not shown) of the turbocharger 12, and uses only the EGR gas that is diverted from the exhaust gas after the electrostatic cyclone exhaust gas purification process as PM.
  • the present embodiment corresponding to the present invention 3 is the apparatus of the twelfth embodiment shown in FIG. 12, that is, the turbocharger 12 is mounted on the exhaust pipe downstream of the exhaust manifold 2, and the branch portion is connected to the exhaust pipe downstream of the turbocharger 12.
  • 5 is connected to an EGR piping system for diverting a part of the exhaust gas as EGR gas to the branch portion 5, and an exhaust gas cooler 3 and an electrostatic cyclone exhaust gas purification device 4 are arranged in the EGR piping system.
  • a PM fleece scrubber 11 is installed downstream of the electrostatic cyclone exhaust gas purification device 4 so as to dissolve SOx in the EGR gas in the treated water but hardly remove the PM, so that the PM is hardly removed.
  • a brackish water separator 8, a blower 13, and an EGR valve 6 are arranged in this order downstream of the scrubber 11, and the flow rate of EGR gas is controlled by the EGR valve 6. It is obtained without the arrangement for recirculating to the intake pipe system before the intercooler while.
  • the apparatus of the present invention 3 pre-cools the EGR gas in the EGR gas piping system, treats it by the electrostatic cyclone exhaust gas purification device 4, treats it with the PM fleece scrubber 11 that hardly dissolves and removes PM, and then separates the brackish water
  • the exhaust gas purifying apparatus having a configuration in which it is pumped by the blower 13 through the vessel 8 and recirculated to the intake pipe before the intercooler, NOx is supplied to the exhaust pipe downstream of the turbocharger 12 and the EGR pipe after the PM fleece scrubber 11 Each concentration of SO 2 was measured in the system.
  • an exhaust gas purifier for a diesel engine shown in FIG. 26 configured based on Patent Document 2 that is, an exhaust gas cooler 3 is installed downstream of a turbocharger 12 and cooled by the cooler.
  • an ordinary scrubber 11-0 called a packed bed type of a packed tower type (not shown) having a structure in which exhaust gas is treated by the electrostatic cyclone exhaust gas purification device 4 and then sprinkled from the upper part of the packed bed described in Table 1.
  • an exhaust gas purification system configured to clean exhaust gas, measure the concentration value of SO 2 in the exhaust gas after being treated with a normal scrubber and the n-hexane extraction value in the scrubber treated water of a normal scrubber. did.
  • NOx in the exhaust gas increases the EGR rate as shown in FIG.
  • EGR gas dissolves SOx in EGR gas in its treated water but passes through a PM fleece scrubber that hardly dissolves PM, so SO 2 is a figure.
  • the content of SOx that greatly reduces the engine reliability is greatly reduced, PM in EGR gas is reduced in advance, and the scrubber treated water of the PM fleece scrubber contains almost PM. Therefore, the problem of the post-treatment as the waste treated water of the scrubber treated water can be solved similarly to the first aspect of the present invention. (5).
  • the exhaust gas contains PM, but NOx is reduced to the same extent as in the present invention 2 as shown in FIG.
  • the PM of the present invention is reduced to the same extent as the exhaust gas of the present invention 1, and the SO 2 in the EGR gas has a PM fleece scrubber that dissolves SOx in its treated water but hardly dissolves PM.
  • SOx that is reduced to the same level as the exhaust gas of the engine and threatens the reliability of the engine is eliminated, PM in EGR gas is reduced in advance, and the scrubber treated water of the PM fleece scrubber contains almost no PM Further, the problem of the post-treatment as the waste treated water of the scrubber treated water can be solved in the same manner as in the first and second embodiments.
  • the configuration of the exhaust gas purification device for a diesel engine using the low quality fuel of the heavy oil or less of the present invention as fuel is not limited to that of the first embodiment device to the fifteenth embodiment device, but is an exhaust gas cooler. Needless to say, all types of devices including various arrangements and combinations of various devices and facilities such as electrostatic cyclone exhaust gas purification devices, EGR coolers, PM fleece scrubbers, brackish water separators, superchargers, etc. are included. .
  • the exhaust gas purification device for marine diesel engines has been described here, it can be applied to exhaust gas purification devices for diesel engines other than for marine use, such as generators and large construction machines. Nor.

Landscapes

  • Engineering & Computer Science (AREA)
  • Chemical & Material Sciences (AREA)
  • Combustion & Propulsion (AREA)
  • Mechanical Engineering (AREA)
  • General Engineering & Computer Science (AREA)
  • Exhaust Gas After Treatment (AREA)
  • Exhaust-Gas Circulating Devices (AREA)
  • Processes For Solid Components From Exhaust (AREA)
  • Treating Waste Gases (AREA)
  • Gas Separation By Absorption (AREA)
  • Electrostatic Separation (AREA)
PCT/JP2014/062119 2013-04-26 2014-04-24 高濃度に硫黄成分を含有する重油等の低質燃料を使用する船舶用ディーゼルエンジンの排気ガス浄化装置 Ceased WO2014175467A1 (ja)

Priority Applications (3)

Application Number Priority Date Filing Date Title
CN201480023482.0A CN105143619B (zh) 2013-04-26 2014-04-24 船舶用柴油发动机的排出气体净化装置
KR1020157033424A KR101761045B1 (ko) 2013-04-26 2014-04-24 고농도로 황 성분을 함유하는 중유 등의 저질 연료를 사용하는 선박용 디젤 엔진의 배기 가스 정화 장치
EP14787477.0A EP2998529B1 (en) 2013-04-26 2014-04-24 Exhaust gas purification device for marine diesel engine using low-quality fuel such as fuel oil containing high concentration of sulfur

Applications Claiming Priority (4)

Application Number Priority Date Filing Date Title
JP2013094390 2013-04-26
JP2013-94390 2013-04-26
JP2014-78668 2014-04-07
JP2014078668A JP6319794B2 (ja) 2013-04-26 2014-04-07 高濃度に硫黄成分を含有する重油等の低質燃料を使用する船舶用ディーゼルエンジンの排気ガス浄化装置

Publications (1)

Publication Number Publication Date
WO2014175467A1 true WO2014175467A1 (ja) 2014-10-30

Family

ID=51792026

Family Applications (1)

Application Number Title Priority Date Filing Date
PCT/JP2014/062119 Ceased WO2014175467A1 (ja) 2013-04-26 2014-04-24 高濃度に硫黄成分を含有する重油等の低質燃料を使用する船舶用ディーゼルエンジンの排気ガス浄化装置

Country Status (5)

Country Link
EP (1) EP2998529B1 (enExample)
JP (1) JP6319794B2 (enExample)
KR (1) KR101761045B1 (enExample)
CN (1) CN105143619B (enExample)
WO (1) WO2014175467A1 (enExample)

Cited By (5)

* Cited by examiner, † Cited by third party
Publication number Priority date Publication date Assignee Title
CN104492211A (zh) * 2014-11-21 2015-04-08 大连海事大学 一种新型的船舶废气多污染物联合脱除方法及其装置
DE102017128959A1 (de) * 2017-12-06 2019-06-06 Erc Emissions-Reduzierungs-Concepte Gmbh Kombiniertes Verfahren und Vorrichtung zur Abgasnachbehandlung und Abgasrückführung eines druckaufgeladenen Brennkraftmotors
CN114294078A (zh) * 2022-01-04 2022-04-08 江南造船(集团)有限责任公司 一种船舶柴油机废气清洗系统
CN115445366A (zh) * 2022-09-29 2022-12-09 陕西汇华联科煤业研究设计有限公司 一种生产兰炭产生的VOCs的处理装置及方法
CN120618135A (zh) * 2025-08-13 2025-09-12 山西晋南钢铁集团有限公司 一种高炉烟气除尘装置

Families Citing this family (27)

* Cited by examiner, † Cited by third party
Publication number Priority date Publication date Assignee Title
CN104415627A (zh) * 2013-09-11 2015-03-18 常州市利众环保科技有限公司 航运船舶循环燃烧绿色排放
WO2015093172A1 (ja) * 2013-12-17 2015-06-25 臼井国際産業株式会社 高濃度に硫黄成分を含有する重油等の低質燃料を使用する船舶用ディーゼルエンジンの排気ガス浄化装置
EP3176397A1 (de) * 2015-12-04 2017-06-07 Winterthur Gas & Diesel Ltd. Verbrennungsmotor und verfahren zum optimieren der abgasnachbehandlung eines verbrennungsmotors
GB2546488B (en) * 2016-01-19 2020-05-13 Ford Global Tech Llc An engine exhaust gas recirculation system with at least one exhaust recirculation treatment device
KR101982127B1 (ko) * 2016-03-18 2019-05-24 맨 에너지 솔루션즈 필리얼 아프 맨 에너지 솔루션즈 에스이 티스크랜드 내연 엔진 시스템
CN105879555B (zh) * 2016-06-12 2017-10-31 哈尔滨工程大学 一种船舶低速柴油机废气复合洗涤装置
JP6104491B1 (ja) * 2017-01-20 2017-03-29 三菱日立パワーシステムズ株式会社 船舶用脱硫装置および該船舶用脱硫装置を搭載した船舶
US10696906B2 (en) 2017-09-29 2020-06-30 Marathon Petroleum Company Lp Tower bottoms coke catching device
US12000720B2 (en) 2018-09-10 2024-06-04 Marathon Petroleum Company Lp Product inventory monitoring
US12031676B2 (en) 2019-03-25 2024-07-09 Marathon Petroleum Company Lp Insulation securement system and associated methods
US11975316B2 (en) 2019-05-09 2024-05-07 Marathon Petroleum Company Lp Methods and reforming systems for re-dispersing platinum on reforming catalyst
CA3212048A1 (en) 2019-05-30 2020-11-30 Marathon Petroleum Company Lp Methods and systems for minimizing nox and co emissions in natural draft heaters
CN110307573B (zh) * 2019-07-09 2020-11-10 山东国晟环境科技有限公司 一种饭店循环式超滤油烟净化装置
EP3792458A1 (en) 2019-09-10 2021-03-17 Alfa Laval Corporate AB Exhaust gas cleaning system and method for cleaning exhaust gas and use of exhaust gas cleaning system
CA3109606C (en) 2020-02-19 2022-12-06 Marathon Petroleum Company Lp Low sulfur fuel oil blends for paraffinic resid stability and associated methods
US12473500B2 (en) 2021-02-25 2025-11-18 Marathon Petroleum Company Lp Assemblies and methods for enhancing control of fluid catalytic cracking (FCC) processes using spectroscopic analyzers
US11905468B2 (en) 2021-02-25 2024-02-20 Marathon Petroleum Company Lp Assemblies and methods for enhancing control of fluid catalytic cracking (FCC) processes using spectroscopic analyzers
US11702600B2 (en) 2021-02-25 2023-07-18 Marathon Petroleum Company Lp Assemblies and methods for enhancing fluid catalytic cracking (FCC) processes during the FCC process using spectroscopic analyzers
US11898109B2 (en) 2021-02-25 2024-02-13 Marathon Petroleum Company Lp Assemblies and methods for enhancing control of hydrotreating and fluid catalytic cracking (FCC) processes using spectroscopic analyzers
US12461022B2 (en) 2021-02-25 2025-11-04 Marathon Petroleum Company Lp Methods and assemblies for determining and using standardized spectral responses for calibration of spectroscopic analyzers
US11692141B2 (en) 2021-10-10 2023-07-04 Marathon Petroleum Company Lp Methods and systems for enhancing processing of hydrocarbons in a fluid catalytic cracking unit using a renewable additive
CA3188122A1 (en) 2022-01-31 2023-07-31 Marathon Petroleum Company Lp Systems and methods for reducing rendered fats pour point
SE546328C2 (en) * 2022-09-19 2024-10-08 Cetech Ab An exhaust recirculation device for a 4-stroke compression ignition engine
US12311305B2 (en) 2022-12-08 2025-05-27 Marathon Petroleum Company Lp Removable flue gas strainer and associated methods
CA3238046A1 (en) 2023-05-12 2025-07-07 Marathon Petroleum Co Lp Systems, apparatuses, and methods for sample cylinder inspection, pressurization, and sample disposal
GR20230100482A (el) * 2023-06-15 2025-01-20 Νικολαος Παναγιωτη Πηττας Αυτοματο συστημα εξουδετερωσης των αεριων ρυπων του θερμοκηπιου απο τις καμιναδες των πλοιων απο τις θερμοηλεκτρικες μοναδες
US12415962B2 (en) 2023-11-10 2025-09-16 Marathon Petroleum Company Lp Systems and methods for producing aviation fuel

Citations (5)

* Cited by examiner, † Cited by third party
Publication number Priority date Publication date Assignee Title
JPS4934472A (enExample) * 1972-08-01 1974-03-29
JP2003126690A (ja) * 2001-10-29 2003-05-07 Mitsubishi Heavy Ind Ltd 排煙処理装置及び脱硫方法
WO2006064805A1 (ja) 2004-12-17 2006-06-22 Munekatsu Furugen ディーゼルエンジンの排気ガス用電気式処理方法およびその装置
JP2012140928A (ja) 2010-12-16 2012-07-26 Usui Kokusai Sangyo Kaisha Ltd 重油以下の低質燃料を使用するディーゼルエンジンの排気ガス浄化装置
WO2014041734A1 (ja) * 2012-09-13 2014-03-20 川崎重工業株式会社 排気ガス浄化装置及びこれを備える船舶機関システム

Family Cites Families (6)

* Cited by examiner, † Cited by third party
Publication number Priority date Publication date Assignee Title
JP2002126451A (ja) * 2000-10-18 2002-05-08 Keio Gijuku 大気中の窒素酸化物の除去処理装置
JP2003117349A (ja) * 2001-10-17 2003-04-22 Mitsubishi Heavy Ind Ltd 排煙処理装置
JP4719117B2 (ja) * 2006-09-28 2011-07-06 三菱重工業株式会社 排ガス処理方法
JP5033931B2 (ja) * 2008-06-13 2012-09-26 斯幹 彭 航海船における排ガス洗浄装置および排ガス洗浄方法
WO2011046187A1 (ja) * 2009-10-14 2011-04-21 臼井国際産業株式会社 電気式排気ガス処理方法および電気式排気ガス処理装置
WO2015093172A1 (ja) * 2013-12-17 2015-06-25 臼井国際産業株式会社 高濃度に硫黄成分を含有する重油等の低質燃料を使用する船舶用ディーゼルエンジンの排気ガス浄化装置

Patent Citations (5)

* Cited by examiner, † Cited by third party
Publication number Priority date Publication date Assignee Title
JPS4934472A (enExample) * 1972-08-01 1974-03-29
JP2003126690A (ja) * 2001-10-29 2003-05-07 Mitsubishi Heavy Ind Ltd 排煙処理装置及び脱硫方法
WO2006064805A1 (ja) 2004-12-17 2006-06-22 Munekatsu Furugen ディーゼルエンジンの排気ガス用電気式処理方法およびその装置
JP2012140928A (ja) 2010-12-16 2012-07-26 Usui Kokusai Sangyo Kaisha Ltd 重油以下の低質燃料を使用するディーゼルエンジンの排気ガス浄化装置
WO2014041734A1 (ja) * 2012-09-13 2014-03-20 川崎重工業株式会社 排気ガス浄化装置及びこれを備える船舶機関システム

Non-Patent Citations (2)

* Cited by examiner, † Cited by third party
Title
"Report on examination and research on reduction technique of air pollutants emitted from watercrafts, 2009", 2009
REGULATION FOR PREVENTION OF POLLUTION BY OIL, 1973

Cited By (7)

* Cited by examiner, † Cited by third party
Publication number Priority date Publication date Assignee Title
CN104492211A (zh) * 2014-11-21 2015-04-08 大连海事大学 一种新型的船舶废气多污染物联合脱除方法及其装置
DE102017128959A1 (de) * 2017-12-06 2019-06-06 Erc Emissions-Reduzierungs-Concepte Gmbh Kombiniertes Verfahren und Vorrichtung zur Abgasnachbehandlung und Abgasrückführung eines druckaufgeladenen Brennkraftmotors
DE102017128959B4 (de) * 2017-12-06 2021-03-04 Erc Emissions-Reduzierungs-Concepte Gmbh Kombiniertes Verfahren zur Abgasnachbehandlung und Abgasrückführung eines druckaufgeladenen Brennkraftmotors
CN114294078A (zh) * 2022-01-04 2022-04-08 江南造船(集团)有限责任公司 一种船舶柴油机废气清洗系统
CN114294078B (zh) * 2022-01-04 2023-06-16 江南造船(集团)有限责任公司 一种船舶柴油机废气清洗系统
CN115445366A (zh) * 2022-09-29 2022-12-09 陕西汇华联科煤业研究设计有限公司 一种生产兰炭产生的VOCs的处理装置及方法
CN120618135A (zh) * 2025-08-13 2025-09-12 山西晋南钢铁集团有限公司 一种高炉烟气除尘装置

Also Published As

Publication number Publication date
CN105143619A (zh) 2015-12-09
CN105143619B (zh) 2018-11-30
KR101761045B1 (ko) 2017-07-24
EP2998529B1 (en) 2019-02-27
JP6319794B2 (ja) 2018-05-09
EP2998529A1 (en) 2016-03-23
EP2998529A4 (en) 2017-01-11
JP2014224527A (ja) 2014-12-04
KR20160008201A (ko) 2016-01-21

Similar Documents

Publication Publication Date Title
JP6319794B2 (ja) 高濃度に硫黄成分を含有する重油等の低質燃料を使用する船舶用ディーゼルエンジンの排気ガス浄化装置
JP6351183B2 (ja) 高濃度に硫黄成分を含有する重油等の低質燃料を使用する船舶用ディーゼルエンジンの排気ガス浄化装置
JP2014224527A5 (enExample)
JP6207020B2 (ja) 高濃度に硫黄成分を含有する低質燃料を使用する船舶用ディーゼルエンジンの排気ガス浄化装置
JP6041418B2 (ja) 重油以下の低質燃料を使用する大排気量船舶用ディーゼルエンジンの排気ガス浄化装置
JP2015200215A5 (enExample)
JP6238823B2 (ja) 高濃度に硫黄成分を含有する低質燃料を使用する船舶用ディーゼルエンジンの排ガス処理装置
JP2012140928A5 (enExample)
KR101900637B1 (ko) 선박용 디젤 엔진의 배기 가스 정화 장치용 스크러버
JP2015200230A5 (enExample)
JP5889229B2 (ja) 再循環排ガス浄化装置及び再循環排ガス浄化方法

Legal Events

Date Code Title Description
WWE Wipo information: entry into national phase

Ref document number: 201480023482.0

Country of ref document: CN

121 Ep: the epo has been informed by wipo that ep was designated in this application

Ref document number: 14787477

Country of ref document: EP

Kind code of ref document: A1

DPE1 Request for preliminary examination filed after expiration of 19th month from priority date (pct application filed from 20040101)
NENP Non-entry into the national phase

Ref country code: DE

ENP Entry into the national phase

Ref document number: 20157033424

Country of ref document: KR

Kind code of ref document: A

WWE Wipo information: entry into national phase

Ref document number: 2014787477

Country of ref document: EP