WO2014112004A1 - 液面検出装置 - Google Patents

液面検出装置 Download PDF

Info

Publication number
WO2014112004A1
WO2014112004A1 PCT/JP2013/007306 JP2013007306W WO2014112004A1 WO 2014112004 A1 WO2014112004 A1 WO 2014112004A1 JP 2013007306 W JP2013007306 W JP 2013007306W WO 2014112004 A1 WO2014112004 A1 WO 2014112004A1
Authority
WO
WIPO (PCT)
Prior art keywords
magnet
center
axial direction
liquid level
shaft
Prior art date
Legal status (The legal status is an assumption and is not a legal conclusion. Google has not performed a legal analysis and makes no representation as to the accuracy of the status listed.)
Ceased
Application number
PCT/JP2013/007306
Other languages
English (en)
French (fr)
Japanese (ja)
Inventor
宮川 功
Current Assignee (The listed assignees may be inaccurate. Google has not performed a legal analysis and makes no representation or warranty as to the accuracy of the list.)
Denso Corp
Original Assignee
Denso Corp
Priority date (The priority date is an assumption and is not a legal conclusion. Google has not performed a legal analysis and makes no representation as to the accuracy of the date listed.)
Filing date
Publication date
Application filed by Denso Corp filed Critical Denso Corp
Publication of WO2014112004A1 publication Critical patent/WO2014112004A1/ja
Anticipated expiration legal-status Critical
Ceased legal-status Critical Current

Links

Images

Classifications

    • GPHYSICS
    • G01MEASURING; TESTING
    • G01FMEASURING VOLUME, VOLUME FLOW, MASS FLOW OR LIQUID LEVEL; METERING BY VOLUME
    • G01F23/00Indicating or measuring liquid level or level of fluent solid material, e.g. indicating in terms of volume or indicating by means of an alarm
    • G01F23/30Indicating or measuring liquid level or level of fluent solid material, e.g. indicating in terms of volume or indicating by means of an alarm by floats
    • G01F23/76Indicating or measuring liquid level or level of fluent solid material, e.g. indicating in terms of volume or indicating by means of an alarm by floats characterised by the construction of the float
    • GPHYSICS
    • G01MEASURING; TESTING
    • G01FMEASURING VOLUME, VOLUME FLOW, MASS FLOW OR LIQUID LEVEL; METERING BY VOLUME
    • G01F23/00Indicating or measuring liquid level or level of fluent solid material, e.g. indicating in terms of volume or indicating by means of an alarm
    • G01F23/30Indicating or measuring liquid level or level of fluent solid material, e.g. indicating in terms of volume or indicating by means of an alarm by floats
    • G01F23/32Indicating or measuring liquid level or level of fluent solid material, e.g. indicating in terms of volume or indicating by means of an alarm by floats using rotatable arms or other pivotable transmission elements
    • G01F23/38Indicating or measuring liquid level or level of fluent solid material, e.g. indicating in terms of volume or indicating by means of an alarm by floats using rotatable arms or other pivotable transmission elements using magnetically actuated indicating means

Definitions

  • the present disclosure relates to a liquid level detection device that detects a liquid level of a liquid contained in a container, and in particular, a liquid level detection that is mounted in a fuel tank of an automobile or the like and detects a liquid level position of the fuel. It is preferable to apply to the apparatus.
  • this type of liquid level detection device includes, for example, a rotating member that rotates when the vertical movement of a float floating on the liquid level is transmitted through an arm.
  • a magnet is fixed in the rotating member of the liquid level detecting device, and a Hall element that is a magnetoelectric conversion element is disposed in the fixing member that rotatably holds the rotating member (see Patent Document 1).
  • the rotating member is provided with a through hole (shaft hole), while the fixed member is provided with a shaft portion. And the rotation member is rotatably hold
  • the Hall element is disposed on the shaft portion of the fixed member, and the magnet rotates with the rotation of the rotating member, thereby changing the amount of magnetic flux of the magnet passing through the Hall element (specifically, its detecting portion).
  • the rotation state of the rotating member is detected from the change in the amount of magnetic flux.
  • a minimum gap is formed in the fitting portion between the shaft hole of the rotating member and the shaft portion of the fixed member so that the rotating member can rotate around the shaft portion.
  • the central axis of the shaft hole may be inclined rather than parallel to the central axis of the shaft portion.
  • the amount of magnetic flux passing through the Hall element accommodated in the shaft portion is parallel to the shaft portion. Will vary. For this reason, even if the angle position (rotation) of the rotating member is the same, that is, the liquid surface position is the same, the output of the Hall element varies when the attitude of the rotating member with respect to the shaft portion changes. As a result, it may be difficult to detect the liquid surface position with high accuracy.
  • the present disclosure has been made in view of such a point, and an object thereof is to detect the liquid surface position with high accuracy by suppressing the rotation member from being inclined with respect to the shaft portion of the fixed member. It is to provide a liquid level detection device capable of performing the above.
  • the liquid level detection device of the present disclosure includes a rotating member having a shaft hole opened along an axial direction, and a shaft portion extending in the axial direction.
  • the shaft hole is fitted into the shaft portion, and
  • a fixing member that rotatably holds the rotating member; a float that floats on a liquid; the float is fixed to a first end; and a second end is fixed to the rotating member;
  • An arm that converts the vertical movement of the float due to vertical movement into a rotational motion of the rotating member, a magnet that is fixed to the rotating member, and that rotates integrally with the rotating member in the circumferential direction of the shaft, and the shaft
  • a magnetoelectric conversion element that detects displacement of the magnet based on a signal from a detection unit that changes the amount of magnetic flux penetrating through the magnet with displacement due to rotation of the magnet.
  • a device in the axial direction The bearing length is set so that the inner circumferential surface of the shaft hole of the rotating member and the outer circumferential surface of the shaft portion are opposed to each other, the magnet and the detection unit are disposed within the bearing length, and The center of the magnetic force of the magnet in the axial direction and the detection unit are arranged on the same plane perpendicular to the axial direction.
  • the range in which the inner peripheral surface of the shaft hole of the rotating member and the outer peripheral surface of the shaft portion face each other (range in the axial direction).
  • the bearing length Is set as the bearing length.
  • the magnet and the detection part are arrange
  • the center in the axial direction of the magnetic force of the magnet and the detection unit are arranged on the same plane perpendicular to the axial direction.
  • the position of the magnet and the detection unit is set within a predetermined bearing length so as not to be excessively separated in the axial direction, and the magnetic force center of the magnet and the detection unit are arranged on the same plane. .
  • the amount of magnetic flux passing through the detection unit of the magnetoelectric conversion element accommodated in the shaft portion is inclined with respect to the center axis of the shaft hole of the rotating member with respect to the center axis of the shaft portion. Even when the rotating member changes compared to the case where the rotating member is parallel to the shaft portion, the amount of change can be reduced compared to the conventional case.
  • the value (indicated value) output from the magnetic transducer does not change significantly compared to the case where the axis is not inclined. Therefore, the height of the liquid level can be obtained with high accuracy.
  • the center of the magnet's magnetic force in the axial direction and the detection unit are arranged on the same plane perpendicular to the axial direction means that the center of the magnetic force of the magnet and the center (in the axial direction) of the detection unit (for example, the center of gravity) And the center of the magnetic force of the magnet need only exist in a range where the detection unit exists in the axial direction.
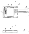
  • FIG. 2 is a cross-sectional view taken along the line II-II in FIG. 1 for the body, and a vertical cross-section along the arm of FIG. 1 for the magnet holder.
  • (A) is a cross-sectional view showing a longitudinal section of a main part of the fuel level gauge (a section cut in the vertical direction through the central axis), and
  • (b) is a sectional view showing the center part and the shaft part of (a) by cutting along IIIb- It is IIIb sectional drawing.
  • (A) is sectional drawing which fractures
  • (b) is a side view of a Hall element. It is explanatory drawing which shows the change from the parallel state to the inclined state of the magnet holder of the fuel level gauge of 1st Embodiment. It is explanatory drawing which shows the change from the parallel state to the inclined state of the magnet holder of the fuel level gauge of a comparative example. It is sectional drawing which shows the longitudinal cross-section (cross section fractured
  • FIG. 5 is an IXd-IXd cross-sectional view of (c) of the magnet holder.
  • the fuel level gauge 1 is mounted in a fuel tank (not shown), which is a container, and detects the level of the fuel level in the fuel tank (and hence the amount of fuel). To do.
  • the fuel level gauge 1 is mounted in a fuel tank, for example, and is fixed to a fuel pump for sending fuel to the engine.
  • FIG. 1 the state where the liquid level 3 of the fuel is at the lowest level is indicated by a solid line (3a), and the state where the liquid level 3 is at the highest level is indicated by a two-dot chain line (3b).
  • the upper direction of each figure is an upper direction in the use condition of the fuel level gauge 1.
  • the fuel level gauge 1 described above mainly includes a magnet holder 7, a body 11, a float 13, an arm 15, a magnet 17, and a hall element 19.
  • the magnet holder 7 has a shaft hole 5 that is a through hole, and is a rotating member that rotates about a central axis A.
  • the body 11 is a fixing member that has a shaft portion 9 that fits into the shaft hole 5 of the magnet holder 7 and holds the magnet holder 7 rotatably.
  • the float 13 floats on the fuel that is a liquid.
  • the arm 15 has the float 13 fixed to the first end and the second end fixed to the magnet holder 7.
  • the magnet 17 is fixed to the magnet holder 7 and rotates integrally with the magnet holder 7.
  • the Hall element 19 is a magnetoelectric conversion element housed in the body 11 so that a displacement due to rotation of the magnet 17 can be detected.
  • the magnet holder 7 is made of, for example, a resin material such as POM (polyacetal), and is configured integrally by combining a plurality of parts.
  • the magnet holder 7 mainly includes a cylindrical center portion 21 that is fitted coaxially with the shaft portion 9, and a surface portion 23 disposed on the surface side of the center portion 21 (left side in FIG. 2).
  • the entire magnet holder 7 may be integrally formed by resin molding.
  • the central portion 21 is formed with a shaft hole 5 coaxially with the central axis A.
  • the shaft hole 5 includes a large-diameter large shaft hole portion 5a on the right side (base end side) in FIG.
  • the small shaft hole 5b (having a smaller diameter than the large diameter portion) on the surface side is formed.
  • annular flange portion 25 is erected perpendicularly to the center axis A along the circumferential direction B (see FIG. 1). Further, on the surface side of the central portion 21, a restricting portion 21 a that restricts the movement of the magnet holder 7 toward the surface side in the axial direction C is provided. The small shaft hole 5b is opened so as to penetrate the center of the restricting portion 21a.
  • the surface portion 23 has a substantially triangular first projecting portion 27 projecting in the radial direction around the central axis A and a second projecting portion 29 projecting in a substantially square shape. Is formed.
  • a plurality of (for example, three) locking protrusions 31 for locking the arm 15 are provided on the surface of the surface portion 23.
  • the first protrusion 27 is formed with a plurality of (for example, three) fixing holes 33 in which the tip of the arm 15 is fitted and fixed.
  • a pair of magnets 17 (17a, 17b) (see FIG. 2) is fixed to the magnet holder 7 with the central axis A as the center. Therefore, as will be described in detail later, when the magnet holder 7 rotates (rotates in the direction B) with respect to the shaft portion 9 of the body 11, the magnet 17 also rotates integrally with the magnet holder 7 to form the body 11. It displaces.
  • the arm 15 is formed of a metal material, for example, a stainless steel round bar.
  • the float 13 is fixed to the first end of the arm 15, and the second end of the arm 15 is fixed to the magnet holder 7 by the locking protrusion 31.
  • the arm 15 functions to convert the vertical movement of the float 13 caused by the vertical movement of the liquid surface 3 into the rotational movement of the magnet holder 7.
  • the end portion of the arm 15 on the opposite side to the float 13 is bent at a substantially right angle toward the body 11 to form a stopper 15a.
  • the stopper 15 a is formed in parallel with the rotation axis of the magnet holder 7, that is, the central axis A of the shaft hole 5.
  • the stopper 15 a functions to fix the arm 15 to the magnet holder 7 by fitting into the fixing hole 33 of the magnet holder 7.
  • the stopper 15a has a function of regulating the rotation angle range of the magnet holder 7 as will be described later.
  • the float 13 is formed in a hollow three-dimensional shape from a resin material or the like, and an apparent specific gravity is set so as to surely float on the liquid level 3 of the fuel when attached to the arm 15. Therefore, when the float 13 moves up and down according to the fluctuation of the position of the liquid level 3, this movement is transmitted to the magnet holder 7 by the arm 15, and the magnet holder 7 rotates relative to the body 11.
  • the magnet 17 is made of, for example, a ferrite magnet, and a cylindrical type is used here. A pair of the magnets 17 are arranged concentrically with the central axis A so as to face each other with the central axis A as a center.
  • the magnets 17a and 17b are two-pole magnetized, and the magnetic flux M on the inner peripheral side of the magnet 17 flows in the radial direction of the shaft hole 5, as will be described later.
  • the magnet 17 is insert-molded integrally in the magnet holder 7 when the central portion 21 of the magnet holder 7 is resin-molded.
  • the body 11 is made of, for example, a resin material such as PPS (polyphenylene sulfide), and is integrally configured by combining a plurality of parts.
  • the body 11 is mainly composed of a plate-shaped main body 35 and a shaft portion that is erected vertically from the lower end portion of the main body 35 to the surface side and fits in the central portion 21 of the magnet holder 7. 9 and.
  • the body 11 may be integrally formed by resin molding.
  • the body 11 holds the magnet holder 7 rotatably.
  • a small diameter portion 9a having a diameter smaller than that of the shaft portion 9 is extended on the surface side (tip side) of the shaft portion 9, and a restricting portion 9b having a diameter larger than that of the small diameter portion 9a is provided at the tip of the small diameter portion 9a. Is provided.
  • the body 11 is provided with a pair of (left and right) stoppers 11a and 11b for restricting the rotation angle range of the magnet holder 7.
  • the stopper 15a of the arm 15 fixed to the magnet holder 7 is brought into contact with the stoppers 11a and 11b, the rotational movement of the magnet holder 2 is restricted.
  • the body 11 is provided with a guide portion 11c protruding toward the tip side.
  • the guide portion 11 c is formed coaxially and annularly with the shaft portion 9 so as to be able to contact the flange portion 25 of the magnet holder 7 in the axial direction C of the shaft portion 9. That is, when the magnet holder 7 is mounted on the body 11, the guide portion 11 c and the flange portion 25 of the magnet holder 7 are in a positional relationship that is coaxial and faces each other in the axial direction C of the shaft portion 9.
  • a gap is formed between the guide portion 11 c and the flange portion 25.
  • the (cylindrical) shaft portion 9 of the magnet holder 7 is inserted into the (cylindrical) shaft portion 9 of the body 11. Fits coaxially.
  • the magnet holder 7 rotates and moves so that a part thereof slides in the circumferential direction B around the shaft portion 9.
  • a small gap (for example, a thickness of 100 ⁇ m) is provided over the entire circumference between the outer peripheral surface of the shaft portion 9 and the inner peripheral surface of the shaft hole 5 so that the magnet holder 7 can rotate. is there.
  • a slight gap 40 is formed so that the rotation can be performed.
  • the position of the magnet holder 7 slightly changes from front to back, right and left, etc. as the magnet holder 7 rotates, so that the dimension of the gap 40 also changes. For this reason, in the part which contacts the body 11 and the magnet holder 7, the dimension of the clearance gap 40 becomes zero.
  • a hall element 19, which is a magnetic detection element for detecting the displacement of the magnet 17, is built in the shaft portion 9 of the body 11.
  • the hall element 19 is accommodated in the casing 37, and the casing 37 is fixed in the body 11.
  • the casing 37 is made of the same resin material as the body 11.
  • a holding hole 37a is provided in the casing 37, and the Hall element 19 is inserted and fixed in the holding hole 37a.
  • a terminal 39 is integrated with the casing 37 by insert molding in order to connect the Hall element 19 to an external electric circuit.
  • the terminal 39 is made of a conductive material such as a copper-based metal. One end of the terminal 39 is connected to the lead 41 of the Hall element 19 so as to be conductive, and the other end of the terminal 39 is exposed from the casing 37, that is, the body 11 for connection to an external electric circuit.
  • the number of terminals 39 is the same as the number of electrodes of the Hall elements 19, that is, the number of leads 41 (three in each case).
  • the Hall element 19 is inserted into the holding hole 37a of the casing 37, and each lead 41 is connected to the corresponding terminal 39 by caulking, soldering, fusing or the like.
  • the Hall element 19 is fixed to the body 11 by insert molding in a state where the lead 41 is connected to the terminal 39.
  • the Hall element (Hall IC) 19 includes a plate-like detection unit (magnetic reaction sensor unit) 43 that detects a change in the amount of magnetic flux, and a liquid based on a signal from the detection unit 43. And an integrated circuit unit 45 for calculating the height from the surface 3.
  • the detection unit 43 and the integrated circuit unit 45 are accommodated in the package 47 and molded with resin. Note that the above-described three leads 41 are electrically connected to the integrated circuit portion 45.
  • the detection part 43 of the Hall element 19 is arranged on the central axis A so that its plate thickness direction is the vertical direction in the figure.
  • the pair of magnets 17a and 17b are arranged on a plane perpendicular to the central axis A on the detection unit 43 so as to face the central axis A (so as to be equidistant). .
  • the detection portion 43 of the Hall element 19 is arranged so that the overlapping length with the magnet 17 is as long as possible in the magnet 17 and in the axial direction C of the shaft portion 9. As a result, the amount of magnetic flux M (magnetic flux amount) of the magnet 17 that intersects the Hall element 19 is increased. Thereby, the output voltage of the Hall element 19 can be increased and the detection accuracy of the height of the liquid surface 3 can be increased.
  • a Hall voltage proportional to the magnetic flux density passing through the detection unit 43 is generated. That is, as shown in FIG. 3B, when the detection unit 43 and the magnetic flux M are orthogonal, the magnetic flux density passing through the detection unit 43 is maximized, and the Hall voltage is maximized. When the detection unit 43 and the magnetic flux M are parallel, the density of magnetic flux passing through the detection unit 43 is minimized and the Hall voltage is minimized.
  • the crossing angle between the detection unit 43 of the Hall element 19 and the magnetic flux M of the magnet 17 changes. Accordingly, the Hall voltage that is the output voltage of the detector 43 changes. Therefore, by detecting the Hall voltage, the rotation angle of the magnet holder 7, that is, the position of the liquid surface 3 can be measured.
  • the inner peripheral surface and the shaft portion of the shaft hole 5 (specifically, the large shaft hole portion 5a) of the magnet holder 7
  • the bearing length D that faces the outer peripheral surface 9 is set.
  • the magnet 17 and the detection unit 43 are arranged within the bearing length D.
  • the center of the magnet 17 in the axial direction C and the detection unit 43 are arranged on the same plane perpendicular to the axial direction C.
  • the center in the axial direction C of the magnetic force of the magnet 17 refers to a position where the magnetic force is greatest in the axial direction of the magnet 17.
  • the center of the magnet 17 in the axial direction becomes the center of magnetic force.
  • the center of magnetic force of the magnet 17 and the detection unit 43 are arranged on the same plane, and in particular, the center of magnetic force of the magnet 17 and the center of the detection unit 43 (center in the axial direction C) are matched. It is desirable. However, the plane on which the center of the magnetic force of the magnet 17 exists may be on the detection unit 43 (a range where the detection unit 43 exists in the axial direction C).
  • the detection portion 43 is disposed at the center of the bearing length D in the axial direction C (the center of the left and right dimensions in the figure).
  • the center of the bearing length D coincides with the center of the detection unit 43 in the axial direction C.
  • the center of the bearing length D may be on the detection unit 43 (a range where the detection unit 43 exists in the axial direction C).
  • the center of the magnetic force of the magnet 7 is arranged at the center of the bearing length D in the axial direction C (the center of the left and right dimensions in the figure).
  • the terminal 39 is set in a mold for resin molding of the casing 37 and insert molded. Thereby, the resin material forming the casing 37 and the terminal 39 are firmly coupled.
  • the Hall element 19 is inserted into the holding hole 37 a of the casing 37.
  • the holding hole 37a is a bottomed blind hole, and the tip of the Hall element 19 is brought into close contact with the bottom surface of the holding hole 37a.
  • each lead 41 of the Hall element 19 is connected to the corresponding terminal 39 so as to be conductive, for example, by fusing, soldering, or caulking.
  • the casing 37 in which the above-described steps are completed is set in a mold for resin molding of the body 11 and insert molding is performed.
  • the magnet holder 7 is assembled to the body 11 by fitting the shaft hole 5 and the shaft portion 9 of the magnet holder 7 in which the magnet 17 is incorporated.
  • the outer diameter of the restricting portion 9b is larger than the inner diameter of the restricting portion 21a of the magnet holder 7. Therefore, for example, after passing the restricting portion 21a of the magnet holder 7 through the small diameter portion 9a of the shaft portion 9, the restricting portion 9b is fixed to the small diameter portion 9a (by bonding, screwing or the like).
  • the arm 15 to which the float 13 is already fixed is attached to the magnet holder 7. Specifically, the stopper 15 a of the arm 15 is inserted into the fixing hole 33 of the magnet holder 7. Further, the arm 15 is fixed to the surface of the magnet holder 7 by the locking projection 31.
  • the inner peripheral surface of the shaft hole 5 of the magnet holder 7 and the outer peripheral surface of the shaft portion 9 face each other in the axial direction C of the fuel level gauge 1 (that is, the axial direction C of the shaft portion 9 and the shaft hole 5).
  • the range to be performed was set as the bearing length D.
  • the magnet 17 and the detection part 43 were arrange
  • the position of the magnet 17 and the detection unit 43 is set within a predetermined bearing length D so that the positions of the magnet 17 and the detection unit 43 are not excessively separated in the axial direction C, and the center of the magnetic force of the magnet 17 and the detection unit 43 are flush with each other. Arranged above.
  • the detection unit 43 is arranged at the center of the bearing length D in the axial direction C (the center in the left-right direction in FIG. 3) in the shaft unit 9.
  • the center of the magnetic force of the magnet 17 is arranged at the center of the bearing length D in the axial direction C (the center in the left-right direction in FIG. 3).
  • the center element A ′ of the shaft hole 5 of the magnet holder 7 is inclined with respect to the center axis A of the shaft part 9 and is accommodated in the shaft part 9. Even when the amount of magnetic flux passing through the 19 detection units 43 changes compared to when the magnet holder 7 is parallel to the shaft portion 9, the amount of change can be reduced.
  • the center axis A ′ of the shaft hole 5 of the magnet holder 7 rotates in the E direction with respect to the center axis A of the shaft portion 9 (that is, the rotation direction of the left and right in the figure with respect to the horizontal direction).
  • the magnet holder 7 When the magnet holder 7 is tilted, the magnet holder 7 tends to rotate and tilt about the detection unit 43 as the center of rotation. Accordingly, a change in the amount of magnetic flux passing through the detection unit 43 is reduced.
  • the value (indicated value) output from the Hall element 19 does not change significantly compared to the case where it is not inclined, the height of the liquid level can be obtained with high accuracy.
  • FIG. 6 schematically shows a fuel level gauge 51 according to a comparative example.
  • the magnets 53 a and 53 b are disposed at the end (left end) of the shaft hole 57 of the magnet holder 7. Therefore, the center of the magnetic force of the magnets 53a and 53b and the position of the detection unit 61 of the hall element 59 are shifted in the axial direction C and are not on the same plane.
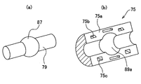
  • the magnet holder 7 (not shown in FIG. 7) includes a central portion 75 having a shaft hole 73, as in the first embodiment. ing.
  • the body 77 includes a shaft portion 79 that is coaxially fitted in the shaft hole 73.
  • the bearing length in which the inner peripheral surface of the shaft hole 73 and the outer peripheral surface of the shaft portion 79 are opposed in the axial direction C of the fuel level gauge 71 (that is, the axial direction C of the shaft portion 79 and the shaft hole 73). D is set. And within the bearing length D, the magnet 81 (81a, 81b) and the detection part 85 of the Hall element 83 are arranged. Further, the center of the magnetic force of the magnet 81 in the axial direction and the detection unit 85 are arranged on the same plane perpendicular to the axial direction C.
  • the detection portion 85 is disposed at the center of the bearing length D in the axial direction C (the center in the left-right direction in FIG. 7). Moreover, at the center 75 of the magnet holder 7, the center of the magnetic force of the magnet 81 is arranged at the center of the bearing length D in the axial direction C (the center in the left-right direction in FIG. 7).
  • the outer peripheral surface of the shaft portion 79 has a spherical outer peripheral portion 87 formed in a spherical shape having a radius of about 5.0 mm, for example, with the center (center of gravity) X of the detecting portion 85 as the center of the sphere.
  • a spherical inner peripheral portion 89 formed in a spherical shape with a radius of about 5.05 mm, for example, with the center (center of gravity) X of the detecting portion 85 as the center of the sphere along the spherical outer peripheral portion 87 on the inner peripheral surface of the shaft hole 73. have.
  • the spherical inner peripheral portion 89 of the central portion 75 is along the spherical outer peripheral portion 87 of the shaft portion 79. Partially slide and rotate. That is, the center part 75 (magnet holder 7) rotates around the center X of the detection part 85 as the center of rotation.
  • a spherical outer peripheral portion 87 is formed on the shaft portion 79.
  • the shaft portion 79 having this shape can be manufactured by resin molding.
  • a part 75a divided in half along the axial direction is produced by, for example, resin molding.
  • a hemispherical concave portion 89a corresponding to the spherical inner peripheral portion 89, and an engaging convex portion 75b and an engaging concave portion 75c which are lances for integrally connecting the respective parts 75a are formed.
  • the shaft portion 79 is sandwiched between the parts 75a of the pair of central portions 75, and the engaging convex portions 75b and the engaging concave portions 75c of the pair of parts 75a are engaged and integrated to form the central portion 75. To do.
  • FIG. 9 shows another method for arranging the central portion 75 around the shaft portion 79.
  • spherical outer peripheral portions 93a and 93b are formed, for example, by resin molding on a part of the shaft portion 91 (a pair in the vertical direction in FIG. 9). Has been.
  • the shaft hole 99 of the cylindrical center portion 97 is formed in accordance with the shape of the shaft portion 91. Specifically, a spherical inner peripheral portion 101 is formed at the center portion of the shaft hole 99. A pair of grooves 105 a and 105 b are formed in a range from the one opening 103 of the shaft hole 99 to the spherical inner peripheral portion 101 according to the shape of the spherical outer peripheral portions 93 a and 93 b of the shaft portion 91.
  • the shaft portion 79 and the central portion 97 are assembled, the shaft portion 79 is fitted from one opening 103 of the central portion 97. At that time, the spherical outer peripheral portions 93a and 93b are fitted in the grooves 105a and 105b and moved in the axial direction. Thereafter, the shaft portion 91 can be assembled in the shaft hole 99 of the central portion 97 by rotating the shaft portion 79 in the circumferential direction B.
  • the second embodiment has the same effects as the first embodiment.
  • the magnet holder 7 includes a spherical outer peripheral portion 87 and a spherical inner peripheral portion 89 that are close together and concentrically combined. Therefore, by moving the spherical outer peripheral portion 87 and the spherical inner peripheral portion 89 so as to slide, the magnet holder 7 is reliably rotated with the center X of the detecting portion 85 as the center of rotation. Therefore, the change in the amount of magnetic flux passing through the detection unit 85 of the Hall element 83 is further reduced than in the first embodiment. As a result, there is a remarkable effect that the detection accuracy of the liquid level is higher.
  • the bearing length is set so that the inner peripheral surface of the shaft hole of the rotating member (magnet holder) and the outer peripheral surface of the shaft portion face each other; It is high if it has a configuration in which the magnet and the detection unit are arranged within the bearing length, and the center of the magnetic force of the magnet and the detection unit are arranged in the same plane perpendicular to the axial direction. The effect (improved accuracy of liquid level detection) is obtained.
  • the detection unit is arranged at the center of the bearing length in the axial direction” and a configuration in which “the center of the magnetic force of the magnet is arranged at the center of the bearing length in the axial direction by the rotating member”. In this case, a more sufficient effect is obtained, which is preferable.
  • the liquid level detection device is applied to a fuel level gauge for automobiles has been described as an example.
  • the use is not limited to the fuel level gauge for automobiles.
  • the present invention is not limited to automobiles, and may be applied for detecting a liquid level in a liquid container provided in various consumer devices.
  • the Hall element is used as the magnetoelectric conversion element.
  • the present invention is not limited to this, and other types of magnetoelectric conversion elements such as an MRE element (magnetoresistive element) or a magnetic diode, etc. May be used.
  • the number of terminals for connecting to an external electric circuit is three, but it is not necessary to limit to three, and it may be increased or decreased as necessary.
  • the material of the magnet is a ferrite magnet, it is good also as another material, for example, a rare earth magnet, an alnico magnet. Further, the magnet may be formed only from metal, or may be formed as a bonded magnet obtained by mixing and molding metal powder and resin. (6) Note that each configuration of the first embodiment may be used in combination with each configuration of the second embodiment without departing from the scope of the present disclosure.

Landscapes

  • Physics & Mathematics (AREA)
  • Fluid Mechanics (AREA)
  • General Physics & Mathematics (AREA)
  • Level Indicators Using A Float (AREA)
PCT/JP2013/007306 2013-01-17 2013-12-12 液面検出装置 Ceased WO2014112004A1 (ja)

Applications Claiming Priority (2)

Application Number Priority Date Filing Date Title
JP2013-006342 2013-01-17
JP2013006342A JP5880456B2 (ja) 2013-01-17 2013-01-17 液面検出装置

Publications (1)

Publication Number Publication Date
WO2014112004A1 true WO2014112004A1 (ja) 2014-07-24

Family

ID=51209132

Family Applications (1)

Application Number Title Priority Date Filing Date
PCT/JP2013/007306 Ceased WO2014112004A1 (ja) 2013-01-17 2013-12-12 液面検出装置

Country Status (2)

Country Link
JP (1) JP5880456B2 (enExample)
WO (1) WO2014112004A1 (enExample)

Cited By (1)

* Cited by examiner, † Cited by third party
Publication number Priority date Publication date Assignee Title
CN113410094A (zh) * 2021-06-18 2021-09-17 宝武集团鄂城钢铁有限公司 一种浮球液位控制开关

Families Citing this family (3)

* Cited by examiner, † Cited by third party
Publication number Priority date Publication date Assignee Title
JP6336923B2 (ja) 2015-01-30 2018-06-06 愛三工業株式会社 液面検出装置
JP6336924B2 (ja) * 2015-02-04 2018-06-06 愛三工業株式会社 液面検出装置
JP6336925B2 (ja) * 2015-02-05 2018-06-06 愛三工業株式会社 液面検出装置

Citations (2)

* Cited by examiner, † Cited by third party
Publication number Priority date Publication date Assignee Title
JP2002206959A (ja) * 2001-01-09 2002-07-26 Yazaki Corp 液面レベルセンサ
JP2002286502A (ja) * 2001-03-23 2002-10-03 Aisin Seiki Co Ltd 変位センサ

Patent Citations (2)

* Cited by examiner, † Cited by third party
Publication number Priority date Publication date Assignee Title
JP2002206959A (ja) * 2001-01-09 2002-07-26 Yazaki Corp 液面レベルセンサ
JP2002286502A (ja) * 2001-03-23 2002-10-03 Aisin Seiki Co Ltd 変位センサ

Cited By (2)

* Cited by examiner, † Cited by third party
Publication number Priority date Publication date Assignee Title
CN113410094A (zh) * 2021-06-18 2021-09-17 宝武集团鄂城钢铁有限公司 一种浮球液位控制开关
CN113410094B (zh) * 2021-06-18 2022-08-23 宝武集团鄂城钢铁有限公司 一种浮球液位控制开关

Also Published As

Publication number Publication date
JP5880456B2 (ja) 2016-03-09
JP2014137298A (ja) 2014-07-28

Similar Documents

Publication Publication Date Title
JP4165422B2 (ja) 液面検出装置
US7021139B2 (en) Non-contact type liquid level sensor
US9000758B2 (en) Rotation angle detecting device
US11906300B2 (en) Absolute encoder
JP4089522B2 (ja) 液面検出装置
WO2014112004A1 (ja) 液面検出装置
JP5176997B2 (ja) 液面検出装置
CN108981858B (zh) 液位检测装置
EP3023744A1 (en) Rotation angle detecting device
US8860406B2 (en) Magnetic encoder having thin detection surface
JP4093126B2 (ja) 液面検出装置
JP4797872B2 (ja) 液面検出装置およびその製造方法
WO2015079900A1 (ja) 液面検出装置
US12104928B2 (en) Absolute encoder
JP4867531B2 (ja) 液面検出装置
JP2013113785A (ja) 回転角度検出装置
JP2007132920A (ja) 液面検出装置
JP2008292420A (ja) 液面検出装置
JP4973058B2 (ja) 液面検出装置
JP6477067B2 (ja) 液面検出装置
CN211426764U (zh) 环磁铁以及磁传感器
JP2006220561A (ja) 液面検出装置
JP5621517B2 (ja) 液面検出装置
JP7015093B2 (ja) 液位検出装置
WO2014203512A1 (ja) 液面検出装置

Legal Events

Date Code Title Description
121 Ep: the epo has been informed by wipo that ep was designated in this application

Ref document number: 13872055

Country of ref document: EP

Kind code of ref document: A1

NENP Non-entry into the national phase

Ref country code: DE

122 Ep: pct application non-entry in european phase

Ref document number: 13872055

Country of ref document: EP

Kind code of ref document: A1