WO2014069454A1 - 顔面筋鍛錬具 - Google Patents

顔面筋鍛錬具 Download PDF

Info

Publication number
WO2014069454A1
WO2014069454A1 PCT/JP2013/079258 JP2013079258W WO2014069454A1 WO 2014069454 A1 WO2014069454 A1 WO 2014069454A1 JP 2013079258 W JP2013079258 W JP 2013079258W WO 2014069454 A1 WO2014069454 A1 WO 2014069454A1
Authority
WO
WIPO (PCT)
Prior art keywords
training tool
weight
facial muscle
facial
muscle training
Prior art date
Legal status (The legal status is an assumption and is not a legal conclusion. Google has not performed a legal analysis and makes no representation as to the accuracy of the status listed.)
Ceased
Application number
PCT/JP2013/079258
Other languages
English (en)
French (fr)
Japanese (ja)
Inventor
松下 剛
Current Assignee (The listed assignees may be inaccurate. Google has not performed a legal analysis and makes no representation or warranty as to the accuracy of the list.)
MTG Co Ltd
Original Assignee
MTG Co Ltd
Priority date (The priority date is an assumption and is not a legal conclusion. Google has not performed a legal analysis and makes no representation as to the accuracy of the date listed.)
Filing date
Publication date
Family has litigation
First worldwide family litigation filed litigation Critical https://patents.darts-ip.com/?family=50627357&utm_source=google_patent&utm_medium=platform_link&utm_campaign=public_patent_search&patent=WO2014069454(A1) "Global patent litigation dataset” by Darts-ip is licensed under a Creative Commons Attribution 4.0 International License.
Application filed by MTG Co Ltd filed Critical MTG Co Ltd
Priority to US14/435,713 priority Critical patent/US9468801B2/en
Priority to JP2014531035A priority patent/JP5632117B2/ja
Priority to SG11201501802VA priority patent/SG11201501802VA/en
Priority to EP13850387.5A priority patent/EP2915566B1/en
Priority to KR1020157006174A priority patent/KR101555169B1/ko
Priority to CN201390000166.2U priority patent/CN203971311U/zh
Priority to ES13850387.5T priority patent/ES2693783T3/es
Publication of WO2014069454A1 publication Critical patent/WO2014069454A1/ja
Anticipated expiration legal-status Critical
Ceased legal-status Critical Current

Links

Images

Classifications

    • AHUMAN NECESSITIES
    • A63SPORTS; GAMES; AMUSEMENTS
    • A63BAPPARATUS FOR PHYSICAL TRAINING, GYMNASTICS, SWIMMING, CLIMBING, OR FENCING; BALL GAMES; TRAINING EQUIPMENT
    • A63B23/00Exercising apparatus specially adapted for particular parts of the body
    • A63B23/025Exercising apparatus specially adapted for particular parts of the body for the head or the neck
    • A63B23/03Exercising apparatus specially adapted for particular parts of the body for the head or the neck for face muscles
    • A63B23/032Exercising apparatus specially adapted for particular parts of the body for the head or the neck for face muscles for insertion in the mouth
    • AHUMAN NECESSITIES
    • A63SPORTS; GAMES; AMUSEMENTS
    • A63BAPPARATUS FOR PHYSICAL TRAINING, GYMNASTICS, SWIMMING, CLIMBING, OR FENCING; BALL GAMES; TRAINING EQUIPMENT
    • A63B21/00Exercising apparatus for developing or strengthening the muscles or joints of the body by working against a counterforce, with or without measuring devices
    • A63B21/0004Exercising devices moving as a whole during exercise
    • AHUMAN NECESSITIES
    • A63SPORTS; GAMES; AMUSEMENTS
    • A63BAPPARATUS FOR PHYSICAL TRAINING, GYMNASTICS, SWIMMING, CLIMBING, OR FENCING; BALL GAMES; TRAINING EQUIPMENT
    • A63B21/00Exercising apparatus for developing or strengthening the muscles or joints of the body by working against a counterforce, with or without measuring devices
    • A63B21/00058Mechanical means for varying the resistance
    • A63B21/00061Replaceable resistance units of different strengths, e.g. for swapping
    • AHUMAN NECESSITIES
    • A63SPORTS; GAMES; AMUSEMENTS
    • A63BAPPARATUS FOR PHYSICAL TRAINING, GYMNASTICS, SWIMMING, CLIMBING, OR FENCING; BALL GAMES; TRAINING EQUIPMENT
    • A63B21/00Exercising apparatus for developing or strengthening the muscles or joints of the body by working against a counterforce, with or without measuring devices
    • A63B21/00189Exercising apparatus for developing or strengthening the muscles or joints of the body by working against a counterforce, with or without measuring devices using resistance provided by plastic deformable materials, e.g. lead bars or kneadable masses
    • AHUMAN NECESSITIES
    • A63SPORTS; GAMES; AMUSEMENTS
    • A63BAPPARATUS FOR PHYSICAL TRAINING, GYMNASTICS, SWIMMING, CLIMBING, OR FENCING; BALL GAMES; TRAINING EQUIPMENT
    • A63B21/00Exercising apparatus for developing or strengthening the muscles or joints of the body by working against a counterforce, with or without measuring devices
    • A63B21/002Exercising apparatus for developing or strengthening the muscles or joints of the body by working against a counterforce, with or without measuring devices isometric or isokinetic, i.e. substantial force variation without substantial muscle motion or wherein the speed of the motion is independent of the force applied by the user
    • AHUMAN NECESSITIES
    • A63SPORTS; GAMES; AMUSEMENTS
    • A63BAPPARATUS FOR PHYSICAL TRAINING, GYMNASTICS, SWIMMING, CLIMBING, OR FENCING; BALL GAMES; TRAINING EQUIPMENT
    • A63B21/00Exercising apparatus for developing or strengthening the muscles or joints of the body by working against a counterforce, with or without measuring devices
    • A63B21/002Exercising apparatus for developing or strengthening the muscles or joints of the body by working against a counterforce, with or without measuring devices isometric or isokinetic, i.e. substantial force variation without substantial muscle motion or wherein the speed of the motion is independent of the force applied by the user
    • A63B21/0023Exercising apparatus for developing or strengthening the muscles or joints of the body by working against a counterforce, with or without measuring devices isometric or isokinetic, i.e. substantial force variation without substantial muscle motion or wherein the speed of the motion is independent of the force applied by the user for isometric exercising, i.e. substantial force variation without substantial muscle motion
    • AHUMAN NECESSITIES
    • A63SPORTS; GAMES; AMUSEMENTS
    • A63BAPPARATUS FOR PHYSICAL TRAINING, GYMNASTICS, SWIMMING, CLIMBING, OR FENCING; BALL GAMES; TRAINING EQUIPMENT
    • A63B21/00Exercising apparatus for developing or strengthening the muscles or joints of the body by working against a counterforce, with or without measuring devices
    • A63B21/02Exercising apparatus for developing or strengthening the muscles or joints of the body by working against a counterforce, with or without measuring devices using resilient force-resisters
    • A63B21/026Bars; Tubes; Leaf springs
    • AHUMAN NECESSITIES
    • A63SPORTS; GAMES; AMUSEMENTS
    • A63BAPPARATUS FOR PHYSICAL TRAINING, GYMNASTICS, SWIMMING, CLIMBING, OR FENCING; BALL GAMES; TRAINING EQUIPMENT
    • A63B21/00Exercising apparatus for developing or strengthening the muscles or joints of the body by working against a counterforce, with or without measuring devices
    • A63B21/06User-manipulated weights
    • AHUMAN NECESSITIES
    • A63SPORTS; GAMES; AMUSEMENTS
    • A63BAPPARATUS FOR PHYSICAL TRAINING, GYMNASTICS, SWIMMING, CLIMBING, OR FENCING; BALL GAMES; TRAINING EQUIPMENT
    • A63B21/00Exercising apparatus for developing or strengthening the muscles or joints of the body by working against a counterforce, with or without measuring devices
    • A63B21/06User-manipulated weights
    • A63B21/0608Eccentric weights put into orbital motion by nutating movement of the user
    • AHUMAN NECESSITIES
    • A63SPORTS; GAMES; AMUSEMENTS
    • A63BAPPARATUS FOR PHYSICAL TRAINING, GYMNASTICS, SWIMMING, CLIMBING, OR FENCING; BALL GAMES; TRAINING EQUIPMENT
    • A63B21/00Exercising apparatus for developing or strengthening the muscles or joints of the body by working against a counterforce, with or without measuring devices
    • A63B21/06User-manipulated weights
    • A63B21/0615User-manipulated weights pivoting about a fixed horizontal fulcrum
    • AHUMAN NECESSITIES
    • A63SPORTS; GAMES; AMUSEMENTS
    • A63BAPPARATUS FOR PHYSICAL TRAINING, GYMNASTICS, SWIMMING, CLIMBING, OR FENCING; BALL GAMES; TRAINING EQUIPMENT
    • A63B21/00Exercising apparatus for developing or strengthening the muscles or joints of the body by working against a counterforce, with or without measuring devices
    • A63B21/06User-manipulated weights
    • A63B21/065User-manipulated weights worn on user's body

Definitions

  • the present invention relates to a facial muscle training tool used for training facial muscles such as facial muscles on the face of a human body.
  • the facial muscle training tool of Patent Document 1 includes a belt-like elastic plate made of an elongated leaf spring. At the center in the length direction of the elastic plate, a gripping portion that is gripped by the lips is provided. A pair of weight portions are fixed to both ends of the elastic plate. Both weights are swung up and down via leaf springs with the gripping part held by the lips. If it does in this way, the reaction force etc. with respect to rocking
  • the holding part is provided on the elastic plate. For this reason, a user will hold an elastic board, and an elastic board will be located between a user's upper and lower lips. In this state, the elastic plate is held in a stable state by the lip together with the gripping portion, and the load of the weight portion does not effectively act as a load for training the facial muscles. Therefore, it was insufficient to obtain an excellent training effect on facial muscles.
  • An object of the present invention is to provide a facial muscle training tool capable of obtaining an excellent training effect on facial muscles.
  • the gripping part includes an elastically deformable bending part, and a gripping part provided in the center of the bending part and gripped by the lips.
  • the portion is disposed outside the edge of the bent portion.
  • the user swings the weight part up and down through the elastic plate with the gripping part held by the lips. Then, a repulsive force against the swinging of the weight part is transmitted to the holding part, and facial muscles such as facial muscles are trained.
  • the holding part is arrange
  • the bending portion is constituted by a leaf spring. According to this structure, the effective training effect is realizable using the elastic force of a leaf
  • the core with a holding part fixed to a leaf spring and a mouthpiece attached to and detached from the outside of the core. According to this configuration, an appropriately shaped mouthpiece can be used according to the shape of the lips and the like.
  • plate spring can be bent appropriately according to the load of a weight part, and an effective training effect is realizable.
  • a weight is attached to and detached from the weight part. According to this configuration, it is possible to use a weight having an appropriate weight suitable for the user.
  • the face training tool it is preferable to provide a portion to which the lip of the holding portion is applied outside the line connecting the width ends of the weights. According to this configuration, the face training tool can be held in a cantilever state, and an effective training effect can be obtained.
  • Sectional drawing of a facial muscle training tool The perspective view of a facial muscle training tool.
  • the fragmentary sectional view of a facial training tool The top view of an elastic board.
  • the longitudinal cross-sectional view of a holding part The exploded sectional view of a holding part.
  • the perspective view of a mouthpiece The cross-sectional view of a holding part.
  • the exploded sectional view of a weight part The perspective view of a weight.
  • the perspective view which shows the use condition of a facial muscle training tool The top view of the facial muscle training tool of 2nd Embodiment of this invention.
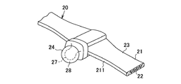
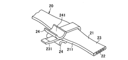
  • the facial muscle training tool 20 includes an elongated plate-like bending portion 21. At the center of the bending portion 21 in the length direction, a gripping portion 24 having a circular cross-section that is held by the lips protrudes. Weight portions 25 are provided at both ends of the bending portion 21.
  • the holding part 24 is displaced forward from a straight line 261 passing through the center of gravity of both weight parts 25, and protrudes outward from the front edge 211 on the face side of the user in the bending part 21.
  • the bending portion 21 includes an elongated elastic plate 22 made of a steel plate spring.
  • the elastic plate 22 has a straight strip shape.
  • a core 27 is fixed to the center of the elastic plate 22 in the length direction.
  • the core 27 protrudes outward from the elastic plate 22 in a direction perpendicular to the length direction of the elastic plate 22.
  • the substantially entire elastic plate 22 and the base end portion of the core 27 are covered with a covering material 23.
  • the core 27 is made of a polycarbonate / acrylonitrile / butadiene / styrene mixed (PC / ABS) resin.
  • the covering material 23 is made of polycarbonate (PC) resin.
  • the core 27 is harder than the covering material 23.
  • the elastic plate 22 has a notch 221 for allowing the synthetic resin constituting the core 27 to enter when the core 27 is molded and preventing the movement of the core 27 with respect to the elastic plate 22, and a coating material when the coating material 23 is molded.
  • a hole 222 is formed to allow the elastic resin 22 and the covering material 23 to move relative to each other while allowing the synthetic resin constituting the material 23 to enter. For this reason, relative movement between the elastic plate 22 and the core 27 and the covering material 23 is prevented.
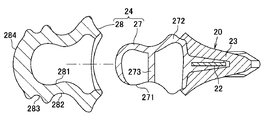
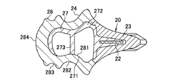
  • the core 27 has a hollow projecting portion 272 with the lower side of FIGS. 6 and 7 open.
  • a rib 273 for reducing deformation of the protrusion 272 is formed inside the protrusion 272.
  • the mouthpiece 28 is attached to and detached from the outside of the protruding portion 272. Since the lower side of the projecting portion 272 is open, the contact area between the projecting portion 272 and the mouthpiece 28 is reduced, and the frictional resistance when attaching and detaching the mouthpiece 28 is reduced. Therefore, the mouthpiece 28 can be easily attached and detached.
  • the projecting portion 272 may be open on the upper side, both upper and lower sides may be opened, or one side or both sides in the left-right direction may be opened, and an annular recess may be formed on the outer periphery of the projecting portion 272. If the outer peripheral surface is opened, the contact area between the core 27 and the mouthpiece 28 is reduced, and the frictional resistance when the mouthpiece 28 is attached and detached is reduced.
  • the mouthpiece 28 is made of a rubber material which is more flexible than the core 27 and has elasticity.
  • a holding part 24 is configured by the core 27 and the mouthpiece 28.
  • a stopper 271 comprising a concave portion and a convex portion is formed.
  • a retaining member 281 corresponding to the retaining member 271 is formed. At least one of the outer peripheral surface of the protruding portion 272 and the inner peripheral surface of the mouthpiece 28 is subjected to a rough surface processing such as a satin finish. Thereby, the frictional resistance generated when the mouthpiece 28 is attached to and detached from the core 27 is reduced.
  • a first dent 282 that is gripped by the lips is formed on the outer peripheral surface of the mouthpiece 28.
  • the first recess 28 is away from the front edge of the covering material 23, that is, the front edge 211 of the bending portion 21.
  • a second recess 283 that can be applied with a tongue tip is formed.
  • the distal end surface of the mouthpiece 28 is a spherical surface 284.
  • a plurality of mouthpieces 28 having different heights, diameters, hardnesses, and the like are prepared, and appropriate mouthpieces 28 are selected according to the size and shape of the user's mouth.
  • both ends of the covering material 23 are formed thicker than other portions.
  • Oval holding holes 29 are formed at both ends of the covering material 23.
  • An elliptical weight 30 is attached to and detached from the holding hole 29.
  • Both weight portions 25 are constituted by a thickened portion 23 of the covering material and a weight 30.
  • the first recess 282 of the mouthpiece 28 is located outside a straight line 262 connecting the width ends of both weight portions 25.
  • the inner peripheral surface of the holding hole 29 is formed in a mountain shape in cross section. Moreover, the outer peripheral surface of the weight 30 is formed in a cross-sectional valley shape so that the inner peripheral surface of the holding hole 29 fits. Either one or both of the inner peripheral surface of the holding hole 29 and the outer peripheral surface of the weight 30 is subjected to a rough surface processing such as a satin finish. Thereby, the frictional resistance generated when the weight 30 is attached to and detached from the holding hole 29 is reduced.
  • a projection 291 is formed at one end of the holding hole 29. Further, a recess 301 into which the protrusion 291 can be fitted is formed at one end of the weight 30.
  • the weight 30 is unlikely to fall out of the holding holes 29 when the elastic plate 22 is bent.
  • the protrusion 291 and the recess 301 may be formed at both ends of the holding hole 29 and the weight 30, respectively. Alternatively, as long as the weight 30 can be held by the frictional force between the inner peripheral surface of the holding hole 29 and the outer peripheral surface of the weight 30, the protrusions 291 and the recesses 301 may not be provided.
  • the weight 30 includes a case 302 and a metal material 303 stored in the case 302.
  • a plurality of weights 30 having different weights depending on the size of the metal material 303 and the material of the metal material 303 are prepared.
  • the user selects a weight 30 having an arbitrary weight, and attaches the selected weight 30 to the holding hole 29.
  • the case 302 is made of a synthetic resin harder than the covering material 23.
  • one protective piece 41 made of hard PC resin is attached to each end of the elastic plate 22.
  • the protective piece 41 covers the edges at both ends of the elastic plate 22. As a result, it is possible to prevent the covering material 23 from being broken at the edge portion due to stress starting from the edge, cracking or the like in the covering material 23, or bending of the corner of the free end of the elastic plate 22 due to external force. .
  • the protective piece 41 reduces the shrinkage of the synthetic resin at the end of molding of the covering material 23 at both ends where the covering material 23 is thick.
  • each protection piece 41 has a protrusion 411 and a hole 412.
  • the protrusion 411 of one protective piece 41 is fitted into the hole 412 of the other protective piece 41 through the hole 224 of the elastic plate 22.
  • the two protection pieces 41 are connected to each other with the elastic plate 22 interposed therebetween.
  • a convex portion 413 is formed on the surface of the protection piece 41.
  • the protective piece 41 is molded in the covering material 23 except for the convex portion 413.
  • the convex portion 413 is exposed on the surface of the covering material 23 so as to form the same surface as the covering material 23.
  • the exposed convex part 413 is an accent on the design.
  • the user uses the facial muscle training tool 20, as shown in FIG. 7, the user attaches an arbitrary mouthpiece 28 such as one having a size that can be easily gripped to the protruding portion 272 of the core 27.
  • the user attaches a weight 30 having an arbitrary weight to the holding hole 29 of both weight portions 25.
  • the user grips the first depression 282 of the gripping portion 24 with the lips without gripping the gripping portion 24 with teeth.
  • the user reciprocates the face up and down.
  • the first recess 282 of the holding portion 24 is arranged such that the front edge 211 of the bending portion 21 protrudes outwardly from the front. For this reason, the facial muscle training tool 20 is held on the lips in a cantilever state. This increases the load on the lips. Therefore, the load of the weight portion 25 acts efficiently as a load on the facial muscles, and the facial muscles are effectively trained.
  • the mouthpiece 28 on the core 27 may be replaced with a mouthpiece 28 suitable for another user.
  • main body parts other than the mouthpiece 28 of the facial muscle training tool 20 can be shared.
  • the weight of the weight part 25 can be arbitrarily changed according to the physical condition of the user, the strength of the facial muscles, the degree of training, and the like.
  • the weight 30 in the holding hole 29 of the weight portion 25 may be replaced with another weight 30 having a different weight.
  • the grip portion 24 held by the lips protrudes forward from the front edge 211 of the flexure portion 21. For this reason, the facial muscle training tool 20 is held on the lips in a cantilever state. Thereby, the load of the weight part 25 acts efficiently as a load with respect to the lips, that is, the facial muscles. In this way, facial muscles can be effectively trained.
  • the elastic plate 22 is constituted by a leaf spring. According to this configuration, the weight portion 25 can be effectively swung using the elastic deformation of the leaf spring. Therefore, a high training effect can be demonstrated.
  • the weight of the weight part 25 can be adjusted by replacing the weight 30. For this reason, the degree of load on the facial muscles can be arbitrarily changed according to the physical condition and the degree of training.
  • the elastic plate 22 is covered with a covering material 23. For this reason, while being able to prevent the elastic board 22 from rusting, a favorable design can be obtained.
  • the holding portion 24 is formed in a protrusion shape with a circular cross section. For this reason, the user can easily hold the gripping portion 24. On the other hand, when the gripping portion is plate-shaped, it may be difficult for the user to grip.
  • the holding part 24 includes a core 27 formed on the covering material 23 and a mouthpiece 28 attached to and detached from the core 27. For this reason, by preparing a plurality of mouthpieces 28 having different sizes, the mouthpiece 28 having an appropriate size can be used according to the size of the mouth of the user.
  • the core 27 is formed in a hollow shape with the lower side open. For this reason, the frictional force between the core 27 and the mouthpiece 28 is reduced, and the mouthpiece 28 can be easily attached and detached.
  • the weight portion 25 includes a holding hole 29 formed in the covering material 23 and a weight 30 attached to and detached from the holding hole 29. For this reason, a plurality of weights 30 having different weights can be prepared, and the arbitrary weights 30 can be attached to and detached from the holding holes 29. Thereby, the weight of the weight part 25 can be easily adjusted according to the training level or the like.
  • a force is applied to the core 27 from the user via the mouthpiece 28. Based on this, the elastic plate 22 repeats the bending motion with the core 27 as a fulcrum. In this case, since the core 27 is made of hard resin, it is hardly deformed. Accordingly, since the user's force is directly transmitted to the elastic plate 22 and the weight portions 25 at both ends thereof via the core 27, the user can operate the facial training tool 20 at will. Since the core 27 has sufficient rigidity and strength, it has high strength and can withstand many uses.
  • the bending portion 21 includes an elastic plate 22 and is formed in an angle shape.
  • the holding portion 24 is disposed at the corner portion 223 of the elastic plate 22.
  • the holding part 24 protrudes from the upper and lower surfaces of the covering material 23.
  • the gripping portion 24 protrudes forward from the front edge 211 of the bending portion 21, and a straight line 261 connecting the center of gravity of both weight portions 25 and a straight line 262 passing through the width ends of both weights 30. It is displaced from the front side.
  • the holding part 24 is arranged at the corner part 223 of the elastic plate 22.
  • the holding part 24 may be provided directly on the corner part 223 of the angle-shaped elastic plate 22. Therefore, the structure of the holding part 24 can be simplified.
  • the weight portions 25 are provided one at each end of the angled elastic plate 22. For this reason, the weight portion 25 is greatly separated from the holding portion 24 in the forward direction. Therefore, the load of the weight part 25 on the facial muscles is increased, and training can be performed more effectively.
  • the elastic plate 22 is formed in an angle shape, the width in the left-right direction of the facial muscle training tool 20 can be reduced. Therefore, the facial muscle training tool 20 can be downsized.
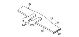
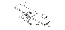
  • the first and second embodiments may be modified as shown in FIGS.
  • the gripping portion 24 protrudes forward from the front edge 211 of the bending portion 21.
  • a pair of left and right holding portions 24 having a substantially disk shape are formed on the covering material 23.
  • the holding part 24 projects forward from the center of the upper surface of the covering material 23. If comprised in this way, the holding part 24 can be held stably.
  • a pair of upper and lower holding portions 24 having a flat plate shape is formed on the covering material 23.
  • the holding part 24 protrudes forward from the center of the upper and lower surfaces of the covering material 23.
  • interval between the upper and lower holding parts 24 can change suitably with the magnitude
  • FIGS. 18 and 19 The configuration shown in FIGS. 18 and 19 is similar to the configuration of FIG. According to this configuration, a wide hollow portion 241 that can be gripped by the lips is formed on the upper surface of the distal end of the upper gripping portion 24 and the lower surface of the distal end of the lower gripping portion 24. Even if comprised in this way, the holding part 24 can be held stably.
  • the lower gripping portion 24 is formed with a projecting piece 231 that is inserted into the mouth and stabilizes the gripping state. Therefore, if comprised in this way, like the structure of FIG. 17, since the holding part 24 bends in an up-down direction, the space
  • the hyoid muscle such as the jaw hyoid muscle can be trained by swinging the facial muscle training tool while applying the tongue tip to the lower surface of the projecting piece 231.
  • the holding portion 24 includes a spherical core 27 and a spherical bag-like mouthpiece 28.
  • the core 27 protrudes from the front center of the covering material 23, and the mouthpiece 28 is attached to and detached from the core 27.
  • the holding portion 24 may be integrally formed with the covering material 23.
  • the weight 30 may be omitted from the facial muscle training tool 20.
  • the weight portion 25 may be formed integrally with the covering material 23 by making both ends of the covering material 23 larger or thicker, or by increasing the area and thickness. In the configuration in which the area is increased, the weight portion 25 receives a large air resistance due to the swinging of the weight portion 25. In this case, since air resistance becomes a load on the lips, an effective training effect can be obtained.
  • the holding unit 24 may have the same configuration as that of the first embodiment.
  • the covering material 23 for covering the elastic plate 22 from the facial muscle training tool 20 may be omitted.
  • the holding portion 24 made of synthetic resin is directly fixed to the elastic plate 22.
  • the synthetic resin weight 30 constituting the weight portion 25 may be directly fixed to the elastic plate 22.
  • the holding part 24 and the weight 30 may be fixed to the elastic plate 22 using screws.
  • the weight 30 may be composed only of a metal material.
  • the end portion of the elastic plate 22 is wound, bent, or made large in size so that the end portion of the elastic plate 22 has a required weight. May be configured.
  • the mouthpiece 28 of the holding part 24 may have a simple cylindrical shape on the outer peripheral surface.

Landscapes

  • Health & Medical Sciences (AREA)
  • General Health & Medical Sciences (AREA)
  • Physical Education & Sports Medicine (AREA)
  • Life Sciences & Earth Sciences (AREA)
  • Biophysics (AREA)
  • Orthopedic Medicine & Surgery (AREA)
  • Chemical & Material Sciences (AREA)
  • Chemical Kinetics & Catalysis (AREA)
  • Oral & Maxillofacial Surgery (AREA)
  • Otolaryngology (AREA)
  • Engineering & Computer Science (AREA)
  • Materials Engineering (AREA)
  • Rehabilitation Tools (AREA)
  • Percussion Or Vibration Massage (AREA)
  • Toys (AREA)
PCT/JP2013/079258 2012-10-30 2013-10-29 顔面筋鍛錬具 Ceased WO2014069454A1 (ja)

Priority Applications (7)

Application Number Priority Date Filing Date Title
US14/435,713 US9468801B2 (en) 2012-10-30 2013-10-29 Implement for training facial muscle
JP2014531035A JP5632117B2 (ja) 2012-10-30 2013-10-29 顔面筋鍛錬具
SG11201501802VA SG11201501802VA (en) 2012-10-30 2013-10-29 Implement for training facial muscle
EP13850387.5A EP2915566B1 (en) 2012-10-30 2013-10-29 Implement for training facial muscle
KR1020157006174A KR101555169B1 (ko) 2012-10-30 2013-10-29 안면근 단련구
CN201390000166.2U CN203971311U (zh) 2012-10-30 2013-10-29 面肌锻炼器具
ES13850387.5T ES2693783T3 (es) 2012-10-30 2013-10-29 Instrumento para ejercitar los músculos faciales

Applications Claiming Priority (2)

Application Number Priority Date Filing Date Title
JP2012-239213 2012-10-30
JP2012239213 2012-10-30

Publications (1)

Publication Number Publication Date
WO2014069454A1 true WO2014069454A1 (ja) 2014-05-08

Family

ID=50627357

Family Applications (1)

Application Number Title Priority Date Filing Date
PCT/JP2013/079258 Ceased WO2014069454A1 (ja) 2012-10-30 2013-10-29 顔面筋鍛錬具

Country Status (10)

Country Link
US (1) US9468801B2 (enExample)
EP (1) EP2915566B1 (enExample)
JP (3) JP5632117B2 (enExample)
KR (1) KR101555169B1 (enExample)
CN (1) CN203971311U (enExample)
ES (1) ES2693783T3 (enExample)
MY (1) MY176402A (enExample)
SG (1) SG11201501802VA (enExample)
TW (1) TWI532517B (enExample)
WO (1) WO2014069454A1 (enExample)

Cited By (4)

* Cited by examiner, † Cited by third party
Publication number Priority date Publication date Assignee Title
JP5705385B1 (ja) * 2014-04-30 2015-04-22 株式会社 Mtg 顔面筋鍛錬具
WO2015166592A1 (ja) * 2014-04-30 2015-11-05 株式会社 Mtg 顔面筋鍛錬具
WO2019151170A1 (ja) * 2018-01-31 2019-08-08 株式会社Mtg 顔面筋鍛錬具
JP2020039479A (ja) * 2018-09-07 2020-03-19 株式会社 Mtg 顔面筋鍛錬具

Families Citing this family (6)

* Cited by examiner, † Cited by third party
Publication number Priority date Publication date Assignee Title
KR20160146488A (ko) * 2014-04-30 2016-12-21 가부시키가이샤 엠티지 안면근 단련구
USD787672S1 (en) * 2015-02-15 2017-05-23 Wenhuo Jiang Main body of training apparatus for labial muscle
JP6780187B2 (ja) 2018-03-30 2020-11-04 三菱マテリアル株式会社 電子・電気機器用銅合金、電子・電気機器用銅合金板条材、電子・電気機器用部品、端子、及び、バスバー
JP7156857B2 (ja) * 2018-08-22 2022-10-19 久保 幸代 表情筋鍛錬具
TWI769098B (zh) * 2021-10-15 2022-06-21 中國醫藥大學 口腔復健裝置
TWI859101B (zh) * 2024-04-25 2024-10-11 南開科技大學 口腔肌肉訓練裝置

Citations (5)

* Cited by examiner, † Cited by third party
Publication number Priority date Publication date Assignee Title
US3805771A (en) * 1972-05-19 1974-04-23 J Wright Facial muscle exerciser
US20030073542A1 (en) * 2001-10-12 2003-04-17 Patton Julie L. Mechanism to exercise and strengthen the facial muscles that control and form the embouchure
JP1223289S (enExample) * 2004-02-10 2004-11-22
JP2008067732A (ja) * 2006-09-12 2008-03-27 Kiyoshi Yasumuro 口腔筋トレーニング器具
JP2010264132A (ja) * 2009-05-15 2010-11-25 Nobuhiro Kubo 表情筋鍛錬具

Family Cites Families (11)

* Cited by examiner, † Cited by third party
Publication number Priority date Publication date Assignee Title
US779360A (en) * 1904-08-04 1905-01-03 Paul Henry Grummann Articulating instrument.
US1439910A (en) * 1921-09-09 1922-12-26 Posa Joseph Mouth appliance
CH303454A (fr) * 1953-11-05 1954-11-30 Keller Cordone Lidia Appareil pour développer les muscles faciaux.
US3091237A (en) * 1960-05-16 1963-05-28 Clawson N Skinner Facial muscle and tissue conditioning device
DE3433356A1 (de) * 1984-09-11 1986-03-20 Henning 8000 München Fiebelkorn Vorrichtung zur staerkung der lippenmuskulatur, insbesondere fuer musikausuebende auf holz- und blechblasinstrumenten
US6406404B1 (en) 2001-03-12 2002-06-18 Chia Chen Chu Facial muscle exercising device
US6406405B1 (en) 2001-03-12 2002-06-18 Chia Chen Chu Flared and weighted facial muscle exercising device
JP2003007354A (ja) 2001-06-25 2003-01-10 Toyota Motor Corp リチウム二次電池の特性評価方法及び特性評価装置
JP3819314B2 (ja) * 2002-04-10 2006-09-06 高志 秋廣 口唇器具
JP4597702B2 (ja) * 2005-02-24 2010-12-15 ピジョン株式会社 口唇閉鎖具
US7998029B2 (en) * 2008-12-11 2011-08-16 Campbell Mary E Article, assembly and method for rehabilitating cranial (facial and neck) muscles

Patent Citations (5)

* Cited by examiner, † Cited by third party
Publication number Priority date Publication date Assignee Title
US3805771A (en) * 1972-05-19 1974-04-23 J Wright Facial muscle exerciser
US20030073542A1 (en) * 2001-10-12 2003-04-17 Patton Julie L. Mechanism to exercise and strengthen the facial muscles that control and form the embouchure
JP1223289S (enExample) * 2004-02-10 2004-11-22
JP2008067732A (ja) * 2006-09-12 2008-03-27 Kiyoshi Yasumuro 口腔筋トレーニング器具
JP2010264132A (ja) * 2009-05-15 2010-11-25 Nobuhiro Kubo 表情筋鍛錬具

Cited By (6)

* Cited by examiner, † Cited by third party
Publication number Priority date Publication date Assignee Title
JP5705385B1 (ja) * 2014-04-30 2015-04-22 株式会社 Mtg 顔面筋鍛錬具
WO2015166592A1 (ja) * 2014-04-30 2015-11-05 株式会社 Mtg 顔面筋鍛錬具
RU2652977C1 (ru) * 2014-04-30 2018-05-03 ЭмТиДжи КО., ЛТД. Устройство для тренировки мышц лица
WO2019151170A1 (ja) * 2018-01-31 2019-08-08 株式会社Mtg 顔面筋鍛錬具
JP2020039479A (ja) * 2018-09-07 2020-03-19 株式会社 Mtg 顔面筋鍛錬具
JP7364326B2 (ja) 2018-09-07 2023-10-18 株式会社 Mtg 顔面筋鍛錬具

Also Published As

Publication number Publication date
US9468801B2 (en) 2016-10-18
JPWO2014069454A1 (ja) 2016-09-08
JP2018069095A (ja) 2018-05-10
MY176402A (en) 2020-08-05
JP2015003272A (ja) 2015-01-08
JP6573402B2 (ja) 2019-09-11
EP2915566A1 (en) 2015-09-09
KR101555169B1 (ko) 2015-09-22
JP6267092B2 (ja) 2018-01-24
TWI532517B (zh) 2016-05-11
ES2693783T3 (es) 2018-12-13
CN203971311U (zh) 2014-12-03
EP2915566A4 (en) 2016-06-22
KR20150033745A (ko) 2015-04-01
US20150283426A1 (en) 2015-10-08
JP5632117B2 (ja) 2014-11-26
TW201424801A (zh) 2014-07-01
EP2915566B1 (en) 2018-09-05
SG11201501802VA (en) 2015-05-28

Similar Documents

Publication Publication Date Title
JP6573402B2 (ja) 顔面筋鍛錬具
JP5669473B2 (ja) 剃刀のハンドル
JP3231325U (ja) 首掛け型頚部マッサージ器
CN203874384U (zh) 面肌锻炼器具
JPWO2015166604A1 (ja) 顔面筋鍛錬具
JP2024145244A (ja) ヘアブラシ
CA2946261A1 (en) Implement for training facial muscle
US12137798B2 (en) Toothbrush
JP7364326B2 (ja) 顔面筋鍛錬具
JP6430742B2 (ja) シェービングエイド付き剃刀
JP6077441B2 (ja) 顔面筋鍛錬具のマウスピース
JP7531403B2 (ja) 歯ブラシ
KR200456175Y1 (ko) 기타 연주용 피크
KR200451587Y1 (ko) 야구방망이
JPWO2020138270A1 (ja) 歯ブラシ
JP5973635B1 (ja) 取付け治具
WO2014207959A1 (ja) 運動補助具
JP2013075061A (ja) 支持具及び支持具つき切断具
JP6531143B2 (ja) 顔面筋鍛錬具
KR102130399B1 (ko) 교정용 필기구 홀더
CN105899335A (zh) 剪刀、手柄、以及用具
JP2022156973A (ja) 剃刀、剃刀ヘッド、及び剃刀ヘッドの取付体
JP2013250417A (ja) グリップ部を有する電子機器
JPWO2015166592A1 (ja) 顔面筋鍛錬具
JP2008114574A (ja) バランスウエイト付筆記具

Legal Events

Date Code Title Description
WWE Wipo information: entry into national phase

Ref document number: 201390000166.2

Country of ref document: CN

121 Ep: the epo has been informed by wipo that ep was designated in this application

Ref document number: 13850387

Country of ref document: EP

Kind code of ref document: A1

ENP Entry into the national phase

Ref document number: 2014531035

Country of ref document: JP

Kind code of ref document: A

ENP Entry into the national phase

Ref document number: 20157006174

Country of ref document: KR

Kind code of ref document: A

WWE Wipo information: entry into national phase

Ref document number: IDP00201502113

Country of ref document: ID

WWE Wipo information: entry into national phase

Ref document number: 14435713

Country of ref document: US

NENP Non-entry into the national phase

Ref country code: DE

WWE Wipo information: entry into national phase

Ref document number: 2013850387

Country of ref document: EP