WO2014050473A1 - 使い捨てオムツ - Google Patents

使い捨てオムツ Download PDF

Info

Publication number
WO2014050473A1
WO2014050473A1 PCT/JP2013/073831 JP2013073831W WO2014050473A1 WO 2014050473 A1 WO2014050473 A1 WO 2014050473A1 JP 2013073831 W JP2013073831 W JP 2013073831W WO 2014050473 A1 WO2014050473 A1 WO 2014050473A1
Authority
WO
WIPO (PCT)
Prior art keywords
nonwoven fabric
disposable diaper
nonwoven
stretchable material
sheet portion
Prior art date
Legal status (The legal status is an assumption and is not a legal conclusion. Google has not performed a legal analysis and makes no representation as to the accuracy of the status listed.)
Ceased
Application number
PCT/JP2013/073831
Other languages
English (en)
French (fr)
Japanese (ja)
Inventor
知央 金子
俊光 馬場
香莉 南
Current Assignee (The listed assignees may be inaccurate. Google has not performed a legal analysis and makes no representation or warranty as to the accuracy of the list.)
Unicharm Corp
Original Assignee
Unicharm Corp
Priority date (The priority date is an assumption and is not a legal conclusion. Google has not performed a legal analysis and makes no representation as to the accuracy of the date listed.)
Filing date
Publication date
Application filed by Unicharm Corp filed Critical Unicharm Corp
Priority to KR1020147035937A priority Critical patent/KR101694601B1/ko
Priority to CN201380039466.6A priority patent/CN104507429B/zh
Priority to US14/430,374 priority patent/US9795520B2/en
Priority to EP13842505.3A priority patent/EP2901988B1/en
Priority to AU2013321539A priority patent/AU2013321539B2/en
Priority to IN1979DEN2015 priority patent/IN2015DN01979A/en
Publication of WO2014050473A1 publication Critical patent/WO2014050473A1/ja
Anticipated expiration legal-status Critical
Ceased legal-status Critical Current

Links

Images

Classifications

    • AHUMAN NECESSITIES
    • A61MEDICAL OR VETERINARY SCIENCE; HYGIENE
    • A61FFILTERS IMPLANTABLE INTO BLOOD VESSELS; PROSTHESES; DEVICES PROVIDING PATENCY TO, OR PREVENTING COLLAPSING OF, TUBULAR STRUCTURES OF THE BODY, e.g. STENTS; ORTHOPAEDIC, NURSING OR CONTRACEPTIVE DEVICES; FOMENTATION; TREATMENT OR PROTECTION OF EYES OR EARS; BANDAGES, DRESSINGS OR ABSORBENT PADS; FIRST-AID KITS
    • A61F13/00Bandages or dressings; Absorbent pads
    • A61F13/15Absorbent pads, e.g. sanitary towels, swabs or tampons for external or internal application to the body; Supporting or fastening means therefor; Tampon applicators
    • A61F13/45Absorbent pads, e.g. sanitary towels, swabs or tampons for external or internal application to the body; Supporting or fastening means therefor; Tampon applicators characterised by the shape
    • A61F13/49Absorbent pads, e.g. sanitary towels, swabs or tampons for external or internal application to the body; Supporting or fastening means therefor; Tampon applicators characterised by the shape specially adapted to be worn around the waist, e.g. diapers, nappies
    • A61F13/49007Form-fitting, self-adjusting disposable diapers
    • A61F13/49009Form-fitting, self-adjusting disposable diapers with elastic means
    • A61F13/49011Form-fitting, self-adjusting disposable diapers with elastic means the elastic means is located at the waist region
    • AHUMAN NECESSITIES
    • A61MEDICAL OR VETERINARY SCIENCE; HYGIENE
    • A61FFILTERS IMPLANTABLE INTO BLOOD VESSELS; PROSTHESES; DEVICES PROVIDING PATENCY TO, OR PREVENTING COLLAPSING OF, TUBULAR STRUCTURES OF THE BODY, e.g. STENTS; ORTHOPAEDIC, NURSING OR CONTRACEPTIVE DEVICES; FOMENTATION; TREATMENT OR PROTECTION OF EYES OR EARS; BANDAGES, DRESSINGS OR ABSORBENT PADS; FIRST-AID KITS
    • A61F13/00Bandages or dressings; Absorbent pads
    • A61F13/15Absorbent pads, e.g. sanitary towels, swabs or tampons for external or internal application to the body; Supporting or fastening means therefor; Tampon applicators
    • A61F13/45Absorbent pads, e.g. sanitary towels, swabs or tampons for external or internal application to the body; Supporting or fastening means therefor; Tampon applicators characterised by the shape
    • A61F13/49Absorbent pads, e.g. sanitary towels, swabs or tampons for external or internal application to the body; Supporting or fastening means therefor; Tampon applicators characterised by the shape specially adapted to be worn around the waist, e.g. diapers, nappies
    • A61F13/496Absorbent pads, e.g. sanitary towels, swabs or tampons for external or internal application to the body; Supporting or fastening means therefor; Tampon applicators characterised by the shape specially adapted to be worn around the waist, e.g. diapers, nappies in the form of pants or briefs
    • AHUMAN NECESSITIES
    • A61MEDICAL OR VETERINARY SCIENCE; HYGIENE
    • A61FFILTERS IMPLANTABLE INTO BLOOD VESSELS; PROSTHESES; DEVICES PROVIDING PATENCY TO, OR PREVENTING COLLAPSING OF, TUBULAR STRUCTURES OF THE BODY, e.g. STENTS; ORTHOPAEDIC, NURSING OR CONTRACEPTIVE DEVICES; FOMENTATION; TREATMENT OR PROTECTION OF EYES OR EARS; BANDAGES, DRESSINGS OR ABSORBENT PADS; FIRST-AID KITS
    • A61F13/00Bandages or dressings; Absorbent pads
    • A61F13/15Absorbent pads, e.g. sanitary towels, swabs or tampons for external or internal application to the body; Supporting or fastening means therefor; Tampon applicators
    • A61F13/45Absorbent pads, e.g. sanitary towels, swabs or tampons for external or internal application to the body; Supporting or fastening means therefor; Tampon applicators characterised by the shape
    • A61F13/49Absorbent pads, e.g. sanitary towels, swabs or tampons for external or internal application to the body; Supporting or fastening means therefor; Tampon applicators characterised by the shape specially adapted to be worn around the waist, e.g. diapers, nappies
    • A61F13/49007Form-fitting, self-adjusting disposable diapers
    • A61F13/49009Form-fitting, self-adjusting disposable diapers with elastic means
    • A61F13/4902Form-fitting, self-adjusting disposable diapers with elastic means characterised by the elastic material
    • A61F2013/49025Form-fitting, self-adjusting disposable diapers with elastic means characterised by the elastic material having multiple elastic strands
    • AHUMAN NECESSITIES
    • A61MEDICAL OR VETERINARY SCIENCE; HYGIENE
    • A61FFILTERS IMPLANTABLE INTO BLOOD VESSELS; PROSTHESES; DEVICES PROVIDING PATENCY TO, OR PREVENTING COLLAPSING OF, TUBULAR STRUCTURES OF THE BODY, e.g. STENTS; ORTHOPAEDIC, NURSING OR CONTRACEPTIVE DEVICES; FOMENTATION; TREATMENT OR PROTECTION OF EYES OR EARS; BANDAGES, DRESSINGS OR ABSORBENT PADS; FIRST-AID KITS
    • A61F13/00Bandages or dressings; Absorbent pads
    • A61F13/15Absorbent pads, e.g. sanitary towels, swabs or tampons for external or internal application to the body; Supporting or fastening means therefor; Tampon applicators
    • A61F13/45Absorbent pads, e.g. sanitary towels, swabs or tampons for external or internal application to the body; Supporting or fastening means therefor; Tampon applicators characterised by the shape
    • A61F13/49Absorbent pads, e.g. sanitary towels, swabs or tampons for external or internal application to the body; Supporting or fastening means therefor; Tampon applicators characterised by the shape specially adapted to be worn around the waist, e.g. diapers, nappies
    • A61F13/49007Form-fitting, self-adjusting disposable diapers
    • A61F13/49009Form-fitting, self-adjusting disposable diapers with elastic means
    • A61F2013/49038Form-fitting, self-adjusting disposable diapers with elastic means the elastic means is located all around the absorbent article's perimeter

Definitions

  • the present invention relates to a disposable diaper.
  • a composite stretchable material having a stretchable portion composed of two sheet materials and a plurality of elastic members disposed between the two sheet materials, wherein the two sheet materials are stretchable in the stretchable portion.
  • the elastic member is arranged in the stretchable part so as not to pass through the joint part between both sheet materials and fixed to both sheet materials at both ends thereof.
  • a composite stretchable material is known in which each of the both sheet materials forms a plurality of ridges extending continuously over a plurality of the elastic members (see Patent Document 1).
  • Patent Document 1 discloses that such a composite stretchable material is disposed at the waistline opening or the waistline side of a disposable diaper.
  • Such a composite stretchable material can form a gather (soft stretchable portion having a large number of wrinkles) that is soft to the absorbent article or the like.
  • the wearer's foot touches the waistline part, particularly the side part of the waistline part. To do.
  • the composite stretchable material receives a force in the direction of passing the wearer's foot, thereby There are cases where large wrinkles are generated by deformation in the thickness direction due to shrinkage of the joined sheets. At this time, the wearer's foot may be caught by such a heel and it may be difficult to wear the disposable diaper.
  • an object of the present invention is to provide a disposable diaper that is easy for a wearer to wear.
  • a disposable diaper comprising a waist opening and a pair of leg openings, Including a longitudinal direction and a transverse direction orthogonal to the longitudinal direction
  • a composite stretchable material is provided on at least the side of the waistline portion located between the waistline opening and the leg opening of the disposable diaper,
  • the composite stretchable material includes a first nonwoven fabric sheet portion and a second nonwoven fabric sheet portion that are overlapped with each other, and an elastic member that is disposed between the first nonwoven fabric sheet portion and the second nonwoven fabric sheet portion.
  • Each of the first nonwoven sheet portion and the second nonwoven sheet portion is A plurality of concavo-convex regions comprising convex portions and concave portions that are alternately repeated along the transverse direction and extend in the longitudinal direction; At least one non-recessed region that separates these uneven regions from each other in the longitudinal direction; With The first nonwoven fabric so that the uneven regions are adjacent to each other and the non-recessed regions are separated from each other, and the uneven regions and the non-recessed regions are aligned with each other in the longitudinal direction. The sheet portion and the second nonwoven sheet portion are superimposed, The first nonwoven sheet portion and the second nonwoven sheet portion are joined together by an adhesive applied to the elastic member; Provide disposable diapers.
  • FIG. 5 is a front view of the missing gear roll and the continuous gear roll of FIG. 4.
  • FIG. 5 is an enlarged side view of the missing gear roll or continuous gear roll of FIG. 4.
  • FIG. 9 is an enlarged perspective view of a cut portion of the IX line portion of FIG. 8.
  • FIG. 9 The exploded view of the composite elastic material of FIG.
  • the front view of FIG. 9 which expanded the cross-section periphery of the elastic member. Peripheral direction of the peripheral gear roll and the continuous gear roll is developed in a straight line, and the peripheral portion around the meshed portion between the partial gear roll and the continuous gear roll and the non-woven sheet deformed between them is arranged.
  • FIG. In the discontinuous tooth portion of the missing gear roll the peripheral portion of the missing gear roll and the continuous gear roll is linearly expanded, and the meshed portion of the missing gear roll and the continuous gear roll and the non-woven sheet disposed and deformed therebetween
  • FIG. which shows an example of the shape before the composite elastic material of 1st embodiment is compressed in a 2nd direction.
  • stretch material formed from the two nonwoven fabric sheet parts which are not shaped is compressed to a 2nd direction.
  • the diagram which shows an example of the shape after the composite elastic material formed from the two nonwoven fabric sheet parts which are not shaped is compressed to the 2nd direction.
  • the front overhead view which shows the disposable diaper of 2nd embodiment.
  • the disposable diaper of the present invention is a so-called pants-type diaper, and includes disposable diapers of any structure and shape such as 3P (three-piece), side panel, all-in-one, inner / outer, and the like.
  • FIG. 1 is a front view of a disposable diaper 1 according to the first embodiment including one waistline opening WO and a pair of leghole openings LO.
  • the disposable diaper 1 of the first embodiment is a so-called side panel type disposable diaper.
  • FIG. 2 is a development view of the disposable diaper 1 of FIG. In FIG. 2, the front area FA and the rear area RA are separated in the vertical direction T, and the crotch area CA is located between the front area FA and the rear area RA. It should be noted that in the drawings, not all of the wrinkles that occur in the uneven area 41 described later may be described for the sake of easy viewing.
  • the disposable diaper 1 of the first embodiment is made of an absorbent element 3 composed of a top sheet, a back sheet, and an absorbent body disposed between the top sheet and the back sheet, and a composite stretchable material 5. And at least four side panels 5S joined to the absorbent element 3. Referring to FIG. 2, the absorbent element 3 extends in the longitudinal direction T from the front region FA to the rear region RA through the crotch region CA, that is, from the abdomen side of the wearer to the back side through the crotch.
  • the top sheet is provided on the skin contact side that comes into contact with the wearer's skin when worn.
  • the top sheet is formed of a liquid-permeable sheet such as a hydrophilic nonwoven fabric or woven fabric, an apertured plastic film, or an apertured hydrophobic nonwoven fabric.
  • the back sheet is provided on the opposite side of the top sheet.
  • the back sheet is formed from a leak-proof (liquid-impermeable) plastic film, a hardly liquid-permeable fiber nonwoven fabric, a laminate thereof, or the like.
  • a leak-proof (liquid-impermeable) plastic film for example, it can be formed mainly from a plastic film or a laminate of a nonwoven fabric and a plastic film.
  • the absorbent body absorbs the body fluid of the wearer, and is formed by an absorbent core such as pulverized pulp or superabsorbent polymer, and an absorbent sheet such as a tissue covering the absorbent core.
  • an absorbent core such as pulverized pulp or superabsorbent polymer
  • an absorbent sheet such as a tissue covering the absorbent core.
  • each side panel 5S is joined to the side portions 3C at both longitudinal ends of the absorbent element 3 when the diaper is deployed.
  • Side panels 5S arranged on the respective transverse sides (the right side and the left side in FIG. 2) of the absorbent element 3 are joined to each other at these side edges 5Ss.
  • Each side panel 5S has a substantially rectangular shape in the front area FA and the rear area RA, and the width of the side panel 5S becomes narrower toward the center of the disposable diaper 1 in the longitudinal direction T in the crotch area CA.
  • a leg-hole opening forming portion 1LO that forms a leg-hole opening LO is formed by a portion located in the crotch area CA that is narrower than the position in the front area FA and the rear area RA. Yes.
  • the waistline portion WP is configured by the absorbent elements 3 and the side panels 5S located in the front region FA and the rear region RA. And the side panel 5S and by extension, the composite elastic material 5 are provided in the side part WPE of the trunk periphery part including each side edge part FAE and RAE of the front side area
  • the composite stretchable material 5 will now be described. First, the example of the manufacturing method of the composite elastic material 5 is demonstrated.
  • FIG. 3 is a schematic view of an apparatus 10 for producing the composite stretchable material 5.
  • the nonwoven fabric sheet 6 constituting the composite stretchable material 5 is wound and held around the nonwoven fabric sheet feeding portion 11, and from there, the material transport direction MD, that is, the first direction D ⁇ b> 1 (FIG. 4 and the like).
  • the material transport direction MD that is, the first direction D ⁇ b> 1 (FIG. 4 and the like).
  • the preheating roll 13 preheats the unwound nonwoven fabric sheet 6A so as to be easily deformed, and is set to 50 to 130 ° C. in this example.
  • the preheating temperature is determined according to the type of nonwoven fabric.
  • the preheated nonwoven fabric sheet 6B is then transferred to the shaping device 15.
  • the shaping device 15 is composed of a toothless gear roll 15A and a continuous gear roll 15B, and in this example, the temperature is set to 50 to 130 ° C. so as to be shaped easily like the preheating roll 13.
  • FIG. 4 shows a perspective view of the toothless gear roll 15A and the continuous gear roll 15B according to this example and a schematic view of the nonwoven fabric sheet 6C after shaping. It should be noted that in FIGS. 4 and 5, the positions of the toothless gear roll 15 ⁇ / b> A and the continuous gear roll 15 ⁇ / b> B in FIG. 3 are shown in reverse. As shown in FIG. 4, the continuous gear roll 15B has a plurality of continuous teeth 27 spaced in the circumferential direction, and each of these continuous teeth is continuous in the width direction.
  • the toothless gear roll 15 ⁇ / b> A has a plurality of discontinuous teeth 29 that are spaced apart in the circumferential direction, and each of these discontinuous teeth 29 is discontinuous in the width direction by at least one missing tooth portion 31. These missing tooth portions 31 are aligned in the circumferential direction.
  • the preheated nonwoven fabric sheet 6B passes between the intermittent gear roll 15B and the continuous gear roll 15B that mesh with each other and rotate in opposite directions. Then, the non-woven fabric sheet 6B is partially stretched in the first direction D1, and each of the concave portions 51 and the projections extends along the second direction D2 that is perpendicular to the first direction D1 and is the transverse direction of the non-woven fabric sheet 6. A portion 53 (FIG. 9) is formed. Concave portions 51 and convex portions 53 (FIG. 9) alternately and repeatedly formed in the first direction D1 define the uneven region 41, and these uneven regions 41 are formed on the nonwoven fabric sheet 6C across the non-protruded region 43. .
  • FIG. 5 shows a front view of the toothless gear roll 15A and the continuous gear roll 15B of FIG.
  • the width Wvc of the missing tooth portion 31c at the center of the missing tooth gear roll 15A is 2 mm
  • the width Wvs of the missing tooth portion 31s other than the missing tooth portion at the center of the missing tooth gear roll 15A is 1 mm
  • the widths Wg of the continuous portions of the continuous teeth 29 are all common and 4 mm.
  • the dimension of each component of the missing gear roll 15A and the continuous gear roll 15B is not limited to the above dimensions. The reason why the center of the central missing tooth portion 31c is wider than the other missing tooth portion 31s is that the nonwoven fabric sheet 6 is folded when the nonwoven fabric sheet 6 described later is folded.
  • the discontinuous teeth 29 are arranged in six rows in the second direction D2.
  • the number of the rows of the discontinuous teeth 29 is for simplifying the drawing.
  • the rows of the discontinuous teeth 29 are adjusted to the size of the disposable diaper 1 of the first embodiment. More than that.
  • the number of rows of discontinuous teeth 29 can be changed according to the size of the disposable diaper 1, the dimensions of each part of the shaping device 15, and the like.
  • FIG. 6 shows a partial side view of the toothless gear roll 15A and the continuous gear roll 15B of FIG.
  • the height TH of the teeth 27 and 29 of the toothless gear roll 15A and the continuous gear roll 15B is about 1 mm
  • the interval TP between the apexes of the adjacent teeth 27 and 29 is 1 mm.
  • gear 27 and 29 has the flat part 35, and the length TL of the circumferential direction of the flat part 35 is about 0.1 mm.
  • the dimension of each component of the missing gear roll 15A and the continuous gear roll 15B is not limited to the above dimensions.
  • the thread-like elastic member 7 is wound around the elastic member feeding portion 17 and stored, and is unwound from there and transferred to the adhesive application portion 19.
  • the elastic member 7 is given a predetermined tension in advance, and the subsequent process is performed while the tension is maintained.
  • the adhesive application unit 19 applies the adhesive to the elastic member 7 ⁇ / b> A transferred from the elastic member feeding unit 17.
  • the adhesive application unit 19 performs continuous slit coating, and the elastic member 7A is placed along the portion where the adhesive is discharged from a slit nozzle (not shown), so that the adhesive is surrounded around the elastic member 7A.
  • the adhesive is a hot melt adhesive, but is not limited thereto.
  • the elastic member 7B to which an adhesive is applied is disposed on the non-convex region 43 of the shaped nonwoven fabric sheet 6C at the joining portion 21.
  • the composite stretchable material 5A at this time is shown in FIG.
  • the composite stretchable material 5A in the state of FIG. 7 is transferred to the folding device 23.
  • the folding device 23 is a winding sailor.
  • the entraining sailor folds the composite stretchable material 5A with the central axis CL (FIG. 7) as a fold line, and the non-relieved region 43 of each side of the nonwoven fabric sheet 6 on one side portion 6L on the other side portion 6L. Overlaid to align.
  • region 41 is also mutually aligned.
  • the composite stretchable material 5A in the state of FIG. 7 becomes a composite stretchable material 3B in the state of FIG.
  • the folding device 23 is folded along the central axis CL, but as long as the folding device 23 is along a folding line parallel to the non-concave region 43, the folding device 23 is folded around as needed. In this case, it may be bent at two places.
  • the composite stretchable material 5 is manufactured by overlapping two nonwoven fabric sheet portions 6U and 6L in one nonwoven fabric sheet 6.
  • it is produced by separately shaping two nonwoven sheets 6 as described above, and then superimposing these nonwoven sheets.
  • the composite stretchable material 5B that has passed through the folding device 23 is transferred to the laminating press 25, and pressure is applied in the thickness direction DT.
  • the nonwoven fabric sheet parts 6U and 6L are joined via the elastic member 7 in the non-concave region 43, and the final composite stretchable material 5C is completed.
  • the nonwoven fabric sheet portions 6U and 6L are joined to each other through the elastic member 7 in the non-concave region 43.
  • at least a part of the nonwoven fabric sheet portions 6U and 6L is joined to the uneven region 41 via the elastic member 7.
  • the nonwoven fabric sheet 6 uses an SMS nonwoven fabric with a weight of 15 g / m 2 .
  • the present invention is not limited to this.
  • a spunbond nonwoven fabric, a melt blown nonwoven fabric, a heat roll nonwoven fabric, an SMS nonwoven fabric combining a spunbond nonwoven fabric and a melt blown nonwoven fabric, an air-through nonwoven fabric, a spunlace nonwoven fabric, an airlaid nonwoven fabric, and the like can be used.
  • a raw material of a nonwoven fabric sheet polyethylene, polypropylene, polyester, acrylic, or the like can be used.
  • the nonwoven fabric sheet 6 it is preferable to use a long-fiber nonwoven fabric formed by spinning directly without cutting the fibers, for example, an SMS nonwoven fabric or a spunbond nonwoven fabric. From the viewpoint that the strength of the nonwoven fabric sheet necessary for the shaping treatment is less likely to decrease, the elongation is high, and further, the nonwoven fabric sheet 6 itself is thinner and flatter than flat fiber nonwoven fabrics (flatness). ) Because it can make high fabrics.
  • a long-fiber nonwoven fabric formed by spinning directly without cutting the fibers for example, an SMS nonwoven fabric or a spunbond nonwoven fabric. From the viewpoint that the strength of the nonwoven fabric sheet necessary for the shaping treatment is less likely to decrease, the elongation is high, and further, the nonwoven fabric sheet 6 itself is thinner and flatter than flat fiber nonwoven fabrics (flatness). ) Because it can make high fabrics.
  • the elastic material 7 uses Lycra (registered trademark) 470 dtex.
  • Lycra registered trademark
  • An elastic yarn such as urethane spandex can be used for the elastic material 7.
  • the fineness it is preferable to use a plurality of elastic yarns of about 30 to 1500 dtex and use elastic yarns having the same fineness or different finenesses. If it is 30 dtex or less, the number of elastic yarns used per unit width may increase and the production equipment may be increased. If it is 1500 dtex or more, the interval between adjacent elastic yarns increases, and the upper and lower nonwoven fabric sheet portions 6U, 6L This is because there is a possibility that the meshing of the material becomes uneven.
  • synthetic rubber such as styrene-butadiene, butadiene, isoprene and neoprene, natural rubber, EVA, SIS, SEBS, SEPS, stretchable polyolefin, polyurethane and the like can be used.
  • the composite stretchable material 5 includes an upper nonwoven sheet portion 6U and a lower nonwoven sheet portion 6L that are superposed on each other, and an elastic material 7 that is disposed between these nonwoven sheet portions. It is configured.
  • the plurality of uneven regions 41 extending linearly substantially in parallel with each other in the first direction D1 are formed in the second direction D2 by the non-recessed regions 43. It is formed so as to be separated from each other.
  • Each of the uneven regions 41 includes concave portions 51 and convex portions 53 that are alternately and repeatedly formed in the first direction.
  • the convex portion 53L of the lower nonwoven fabric sheet portion 6L enters the concave portion 51U of the upper nonwoven fabric sheet portion 6U, and the convex portion 53U of the upper nonwoven fabric sheet portion 6U is a concave portion of the lower nonwoven fabric sheet portion 6L. It has entered 51L. Therefore, the uneven regions 41 of the upper nonwoven fabric sheet portion 6U and the lower nonwoven fabric sheet portion 6L are adjacent to each other.
  • the non-concave regions 43 formed in the upper nonwoven fabric sheet portion 6U and the lower nonwoven fabric sheet portion 6L are separated from each other in the thickness direction DT.
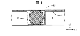
  • FIG. 11 is an enlarged front view of FIG. Referring to FIG. 11, more precisely, the two non-woven sheet portions 6U and 6L are joined to each other by an adhesive via the elastic member 7 in the non-concave regions 43U and 43L. It can be seen that they are joined together at an adhesive 45 formed by the adhesive applied at 19. Referring to FIG. 11, in this example, the bonding portion 45 is distributed so as to cover the entire periphery of the elastic member 2. In another example, the adhesive is applied only to a portion where the elastic member 7 and the non-concave regions 43U and 43L are joined.
  • FIGS. 12A and 12B are a schematic view of the non-tooth gear roll 15A and the continuous gear roll 15B and the non-woven sheet 1 that is arranged and deformed between the non-tooth gear roll 15A and the continuous gear roll 15B.
  • the enlarged cross-sectional image figure of a meshing part periphery is shown.
  • FIG. 12A shows a cross-sectional view of the missing tooth portion 31 of the missing tooth gear roll 15A
  • FIG. 12B shows a sectional view of the discontinuous tooth 29 portion of the missing tooth gear roll 15A.
  • the nonwoven fabric sheet 6 introduced into the toothless portion 31 of the missing gear roll 15 ⁇ / b> A is transferred to the continuous gear roll 15 ⁇ / b> B by the radius of the continuous gear roll 15 ⁇ / b> B.
  • a non-concave region 43 is formed without being deformed although pushed outward in the direction.
  • the nonwoven fabric sheet 6 that is bitten between the discontinuous teeth 29 of the missing gear roll 15A and the continuous teeth 27 of the continuous gear roll 15B is locked to the tooth tip portion 33. It will be.
  • the tooth tip portion 33A, the tooth tip portion 33B, and the tooth tip portion 33A adjacent to each other in a three-point bend shape are extended to form a recess 53 having the tooth tip portion 33B as a bottom.
  • the non-convex region 43 of the nonwoven fabric sheet 1 pressed by the continuous gear roll 15B at the toothless portion 31 of the missing gear roll 15A and the tooth tip portion 33B of the continuous gear roll 15B at the discontinuous tooth 29 portion of the missing gear roll 15A are locked.
  • the position of the radial direction in each gear roll 15A, 15B with the bottom part of the recessed part 51 of the nonwoven fabric sheet 6 to become becomes substantially the same. That is, the thickness in the nonwoven fabric sheet 6 becomes substantially the same.
  • the said surface is defined as the virtual reference plane RP about each nonwoven fabric sheet part 6U and 6L.
  • the reference plane RP is planar, and the non-concave area 43 is expanded on the reference plane RP.
  • each nonwoven fabric sheet part 6U and 6L is each provided with the softness
  • the convex portion 53 protrudes from the reference plane RP, that is, from the non-concave region 43 in the thickness direction. And the recessed part 51 has reached the uneven
  • the convex portion 53 is separated from the reference surface RP of the upper nonwoven fabric sheet 6U and the lower nonwoven fabric sheet 6L by an amount protruding from the reference surface RP. That is, the non-concave regions 43U and 43L facing each other between the upper nonwoven fabric sheet 6U and the lower nonwoven fabric sheet 6L are separated from each other. This is because one side of the shaping device 15 is a missing gear roll 15A and the other is a continuous gear roll 15B, so that the convex portion 53 protrudes in only one direction from the reference plane RP, and the side having the convex portion 53.
  • the nonwoven fabric sheets 6U and 6L are superposed so that the surfaces thereof face each other, and thus the respective reference surfaces RP of the nonwoven fabric sheets 6U and 6L are superimposed on different outer surfaces of the composite stretchable material 5.
  • interval can be arrange
  • the nonwoven fabric Since the nonwoven fabric is generally soft and easily deformed, a constant tension is usually applied in the material transport direction MD, that is, the first direction D1, in order to transport the nonwoven fabric sheet in the manufacturing process.
  • the folding device 23 is used when folding the nonwoven fabric sheet 6C of the composite stretchable material 5A in the above step.
  • the concavo-convex pitch of the concavo-convex region 41 of the upper nonwoven fabric sheet portion 6U (the length per one cycle in the first direction of the concave portion 51 and the convex portion 53) is slightly smaller than the concavo-convex pitch of the concavo-convex region 41 of the lower nonwoven fabric sheet portion 6L. Will spread.
  • the thickness of the composite stretchable material 5 in the uneven region 41 is It becomes thicker than the thickness in the non-convex region 43. Therefore, the touch when the wearer touches the composite stretchable material 5 is good.
  • the non-concave area 43 hardened by the adhesive applied around the elastic member 7 protrudes from the uneven area 41, and the non-concave area 43 touches the wearer's body before the uneven area 41. This is because it prevents the user from feeling a foreign object.
  • the diameter of the elastic member 7 is slightly smaller than the interval between the non-concave regions 43 aligned with each other.
  • the manufacturing method when the folding device 23 is used has been described.
  • the composite stretchable material 5 as described above is manufactured without using the folding device 23 by separately shaping two non-woven sheets into the same shape and overlapping them.
  • a higher tension is applied to one nonwoven fabric sheet in the first direction than the other nonwoven fabric sheet.
  • the same structure as the case where two nonwoven fabric sheet parts 6U and 6L of one nonwoven fabric sheet 6 are piled up can be taken.
  • the convex portions 53U and 53L of the nonwoven fabric sheet portions 6U and 6L enter the concave portions 51L and 51U of the nonwoven fabric sheet portions 6L and 6U for the reason described above.
  • the disposable diaper 1 of the first embodiment is a composite stretchable product manufactured using the above-described manufacturing method so as to fit the size of the disposable diaper 1.
  • the material 5 is provided as the side panel 5S.
  • the composite stretchable material 5 is formed so that the first direction D1 of the composite stretchable material 5 is substantially aligned with the transverse direction L of the disposable diaper 1. It is joined to the absorbent element 3 so that the second direction D2 is substantially aligned with the longitudinal direction T of the disposable diaper 1.
  • the wearer's feet are placed on the waist part WP (FIG. 1), particularly on the side WPE (FIG. 1) of the waist part. By touching, a force acts on these parts in the direction of passing the wearer's foot, and in particular in the longitudinal direction T.
  • the composite stretchable material 5 is disposed on the side portion WPE of the waistline portion WP.
  • the composite stretchable material 5 has a shape in which the concave portions 51 and the convex portions 53 are alternately formed in the first direction in the concave and convex region 41.
  • the cross section along the first direction of the concavo-convex region 41 has a corrugated shape, and this shape is disposed inside a general cardboard. It works like the center of the cross-sectional waveform.
  • region 41 of two nonwoven fabric sheet parts 6U and 6L is mutually adjacent, More specifically, the convex parts 53U and 53L of the nonwoven fabric sheet parts 6U and 6L are the recessed parts 51L of the nonwoven fabric sheet parts 6L and 6U, Since it has entered 51U, the two nonwoven sheet portions 6U and 6L support each other and cooperate.
  • the composite stretchable material 5 is formed of two nonwoven fabric sheet portions 6 'that are not shaped with respect to the compressive force in the longitudinal direction T of the composite stretchable material 5 in the second direction D2, and thus the disposable diaper 1. It will be higher than '.
  • FIG. 13A and 13B are diagrams showing examples of shapes before and after the composite stretchable material 5 is compressed in the second direction, respectively.
  • 14A and 14B are examples of the shapes before and after the composite stretchable material 5 ′ formed from the two non-shaped nonwoven fabric sheet portions 6 ′ is compressed in the second direction, respectively.
  • FIG. 13B Even when a compressive force is applied in the second direction, the composite stretchable material 5 is less likely to bend between the elastic members 7 due to the compression rigidity resulting from the shaped shape and configuration in the concavo-convex region 41, that is, the seat. It is hard to bend. Referring to FIG. 13B, the composite stretchable material 5 is not bent at the uneven region 41 but is slightly bent at the non-recessed region 43.
  • FIG. 13B the composite stretchable material 5 is not bent at the uneven region 41 but is slightly bent at the non-recessed region 43.
  • the nonwoven fabric sheet portion 6 positioned between the elastic members 7 Since 'moves freely without generating a force due to its shape, the interval between the elastic members 7 is shortened. Accordingly, the nonwoven fabric sheet portion 6 ′ protrudes in the thickness direction, so that large wrinkles are likely to occur in the composite stretchable material 5 ′ that is not shaped. From the above, it can be understood that the composite stretchable material 5 has higher compressive strength in the second direction D2 than the conventional composite stretchable material 5 '.
  • the disposable diaper 1 of the first embodiment generates a large wrinkle that may cause the wearer's foot to get caught in the process of passing the wearer's foot from the waist opening WO to the leg opening LO during wearing. Hard to do. Furthermore, it becomes easy to transmit the force in the vertical direction T applied when the wearer wears the disposable diaper 1. Therefore, the disposable diaper 1 of the first embodiment is easier to wear than a conventional disposable diaper.
  • the compressive strength test carried out for this purpose is a test similar to the ring crush test (JIS P8126) used for the compressive strength test of paper and paperboard.
  • a test piece 61 having a length of 100 mm in the first direction and 20 mm in the second direction is prepared.
  • the test piece 61 is formed into a ring shape, and ends thereof are overlapped by 2 mm, and a stapler (a stapler needle 63 is shown in FIG. 15B). It is formed by being joined at only one place at substantially the center.
  • FIG. 16 is a graph showing an example of transition of time T [s] and compressive force Fc [N] in the compressive strength test. Referring to FIG. 16, it can be understood that the compressive force is gradually applied to the test piece 61, and then the test piece 61 cannot withstand the compressive force at the time indicated by reference numeral 65 in FIG. The compressive force applied at the time of buckling is used as an evaluation standard for the compressive strength test.
  • test piece 61 of the example was prepared from the composite stretchable material 5 manufactured by the above-described manufacturing method, and a test piece having the size of the above-described test piece 61 was used.
  • interval of the elastic members 7 is 5 mm, and the weighed 15 g / m ⁇ 2 > SMS nonwoven fabric was used.
  • the composite stretchable material 5 ′ prepared in exactly the same manner as the composite stretchable material 5 except that the non-shaped nonwoven fabric sheet portion 6 ′ is used is the same size as the test piece 61 described above. .
  • the composite stretchable material 5 of the first embodiment has sufficiently higher compressive strength in the second direction than the conventional composite stretchable material that is not shaped. It was done.
  • the composite stretchable material 5 of the first embodiment is measured by a measuring device when a pressure of 3 gf / cm 2 (0.3 kPa) is applied to the composite stretchable material in the thickness direction in a 50% stretched state.
  • the thickness is 2.0 mm or less.
  • the density D of the cross-sectional curve elements in the 50% stretched state is 8 to 15 pieces / cm.
  • the above-described 50% stretched state refers to a state in which the composite stretchable material is stretched in the stretch direction so that the stretch rate is 50%.
  • LM Stretching direction length of the stretched composite stretchable material portion
  • LM0 Stretching direction length of the composite stretchable material portion in the natural state
  • the composite stretchable material 5 of the first embodiment is measured when a pressure of 3 gf / cm 2 (0.3 kPa) is applied to the composite stretchable material in the thickness direction in the stretched state of 50%.
  • the thickness measured by the apparatus is 2.0 mm or less. Therefore, the composite stretchable material 5 is sufficiently thin and has no large wrinkles, and as a result, the disposable diaper 1 can be easily worn by the wearer.
  • the composite stretch material of another embodiment is thicker than 2.0 mm.
  • the composite stretchable material 5 of the first embodiment further has a density D of 8 to 15 pieces / cm of the cross-sectional curve elements in the 50% stretched state.
  • a composite stretch material is provided in which the wrinkles are more uniform and, as a result, are generally thinner and have a smoother surface even when in a contracted state.
  • a composite stretch material having a better feel and aesthetics is provided.
  • the wrinkles are not excessively small, it is easy to produce a composite stretchable material.
  • another embodiment of the composite stretchable material has a cross-section curve element density D of less than 8 / cm.
  • the composite stretchable material has a cross-section curve element density D greater than 15 / cm.
  • the composite elastic material 5 manufactured by the above-mentioned method is arrange
  • the composite elastic material 5 has a more excellent touch from the viewpoint of touching the wearer's skin.
  • the thickness of the composite stretchable material 5 when it is in the contracted state is thicker in the uneven region 41 than in the non-recessed region 43, it is hardened by the adhesive applied around the elastic member 7.
  • region 43 does not touch a wearer's skin directly. As a result, the touch when touching the composite stretchable material 5 is good.
  • the composite elastic material 5 has more excellent aesthetics from the viewpoint of being visually recognized from the outside.
  • the composite stretchable material 5 in which the convex portion 53 enters the concave portion 51 regular wrinkles as formed can be formed even in the contracted state.
  • the composite stretchable material 5 that is generally thin and has a smooth surface can be produced, so that the wearer's foot can easily slip on the surface when worn, and thus the wearer can easily wear the disposable diaper 1.
  • the composite stretchable material 5 having a thinner and higher flatness than that of using the short-fiber nonwoven fabric as the raw material can be formed. . Therefore, it is easier to pass the foot through the disposable diaper 1 and the wearer can easily wear the disposable diaper 1.
  • FIG. 18 is a front overhead view of the disposable diaper 1 of the second embodiment.
  • the disposable diaper 1 of the second embodiment is a so-called 3P (three-piece) diaper.
  • FIG. 19 is a development view of the disposable diaper 1 of the second embodiment.
  • the disposable diaper 1 includes at least an absorbent element 3 including a top sheet, an absorbent body, a back sheet, and the like, and a substantially rectangular front member 5F and a rear member 5R made from a composite stretchable material 5.
  • the front member 5F is disposed in the front region FA, and the rear member 5R is disposed in the rear region RA.
  • the front member 5F is joined to one of the longitudinal end portions 3LE of the absorbent element 3, and the rear member 5R is joined to the other of the longitudinal end portions 3LE of the absorbent element 3.
  • a leg-hole opening forming portion 1LO that forms a leg-hole opening LO is formed by a portion that is narrower than the front area FA and the rear area RA of the crotch area CA.
  • the composite stretchable material 5 is provided in a region including the side edge portion FAE of the front region FA and the side edge portion RAE of the rear region RA.
  • the front member 5F composed of one composite stretchable material 5 extends from one of the transverse end portions FAE of the front region FA to the other of the transverse end portions FAE of the front region FA.
  • a rear member 5R made of another composite stretchable material 5 extends from one of the transverse end portions RAE of the rear region RA to the other of the transverse end portions RAE of the rear region RA. Yes.
  • the disposable diaper 1 according to the second embodiment is not limited to the side WP (FIG. 18) of the waistline portion of the disposable diaper 1 but also the composite stretchability from one side WPE to the other side WPE of the waistline WP.
  • Material 5 extends.
  • the composite stretchable material 5 is disposed on the entire waistline portion WP (FIG. 18), that is, on a wider area that can be touched by the wearer's foot when worn. Therefore, it is advantageous because the foot is not easily caught and the disposable diaper 1 can be easily worn by the wearer.
  • a disposable diaper comprising a waist opening and a pair of leg openings, Including a longitudinal direction and a transverse direction orthogonal to the longitudinal direction,
  • a composite stretchable material is provided on at least the side of the waistline portion located between the waistline opening and the leg opening of the disposable diaper,
  • the composite stretchable material includes a first nonwoven fabric sheet portion and a second nonwoven fabric sheet portion that are overlapped with each other, and an elastic member that is disposed between the first nonwoven fabric sheet portion and the second nonwoven fabric sheet portion.
  • Each of the first nonwoven sheet portion and the second nonwoven sheet portion is A plurality of concavo-convex regions comprising convex portions and concave portions that are alternately repeated along the transverse direction and extend in the longitudinal direction; At least one non-recessed region that separates these uneven regions from each other in the longitudinal direction; With The first nonwoven fabric so that the uneven regions are adjacent to each other and the non-recessed regions are separated from each other, and the uneven regions and the non-recessed regions are aligned with each other in the longitudinal direction. The sheet portion and the second nonwoven sheet portion are superimposed, The first nonwoven sheet portion and the second nonwoven sheet portion are joined together by an adhesive applied to the elastic member; Disposable diapers.
  • the elastic member extends between the non-concave regions that are aligned with each other while being separated from each other in the vertical direction.
  • the composite stretchable material extends from one side of the waistline portion to the other side.
  • the disposable diaper according to (1) or (2).
  • the convex portion of the first nonwoven fabric sheet portion enters the concave portion of the second nonwoven fabric sheet portion, and the convex portion of the second nonwoven fabric sheet portion is the first nonwoven fabric sheet portion. Entering into the recess, The disposable diaper according to any one of (1) to (3).
  • Each of the convex portions protrudes in the thickness direction from the non-concave region, Each of the concave portions reaches the non-concave region between the two convex portions adjacent to each other.
  • the disposable diaper according to any one of (1) to (4).
  • the composite stretchable material is created from a long-fiber nonwoven fabric.
  • the disposable diaper according to any one of (1) to (5).
  • the first nonwoven sheet portion and the second nonwoven sheet portion that overlap each other are formed in a single nonwoven sheet, The single nonwoven sheet is folded along a fold line parallel to the first direction and overlapped with each other;
  • the disposable diaper according to any one of (1) to (6).

Landscapes

  • Health & Medical Sciences (AREA)
  • Epidemiology (AREA)
  • Engineering & Computer Science (AREA)
  • Biomedical Technology (AREA)
  • Heart & Thoracic Surgery (AREA)
  • Vascular Medicine (AREA)
  • Life Sciences & Earth Sciences (AREA)
  • Animal Behavior & Ethology (AREA)
  • General Health & Medical Sciences (AREA)
  • Public Health (AREA)
  • Veterinary Medicine (AREA)
  • Absorbent Articles And Supports Therefor (AREA)
PCT/JP2013/073831 2012-09-28 2013-09-04 使い捨てオムツ Ceased WO2014050473A1 (ja)

Priority Applications (6)

Application Number Priority Date Filing Date Title
KR1020147035937A KR101694601B1 (ko) 2012-09-28 2013-09-04 일회용 기저귀
CN201380039466.6A CN104507429B (zh) 2012-09-28 2013-09-04 一次性尿布
US14/430,374 US9795520B2 (en) 2012-09-28 2013-09-04 Disposable diaper
EP13842505.3A EP2901988B1 (en) 2012-09-28 2013-09-04 Disposable diaper
AU2013321539A AU2013321539B2 (en) 2012-09-28 2013-09-04 Disposable diaper
IN1979DEN2015 IN2015DN01979A (enExample) 2012-09-28 2013-09-04

Applications Claiming Priority (2)

Application Number Priority Date Filing Date Title
JP2012-218618 2012-09-28
JP2012218618A JP6012378B2 (ja) 2012-09-28 2012-09-28 使い捨てオムツ

Publications (1)

Publication Number Publication Date
WO2014050473A1 true WO2014050473A1 (ja) 2014-04-03

Family

ID=50387881

Family Applications (1)

Application Number Title Priority Date Filing Date
PCT/JP2013/073831 Ceased WO2014050473A1 (ja) 2012-09-28 2013-09-04 使い捨てオムツ

Country Status (9)

Country Link
US (1) US9795520B2 (enExample)
EP (1) EP2901988B1 (enExample)
JP (1) JP6012378B2 (enExample)
KR (1) KR101694601B1 (enExample)
CN (1) CN104507429B (enExample)
AU (1) AU2013321539B2 (enExample)
IN (1) IN2015DN01979A (enExample)
MY (1) MY162531A (enExample)
WO (1) WO2014050473A1 (enExample)

Cited By (1)

* Cited by examiner, † Cited by third party
Publication number Priority date Publication date Assignee Title
CN105853075A (zh) * 2016-04-25 2016-08-17 邓攀 一种具有快速复原结构并防止便溺内流的纸尿裤

Families Citing this family (18)

* Cited by examiner, † Cited by third party
Publication number Priority date Publication date Assignee Title
JP5905049B2 (ja) * 2014-05-02 2016-04-20 ユニ・チャーム株式会社 使い捨てオムツ及び使い捨てオムツを製造する方法
JP6468724B2 (ja) * 2014-05-02 2019-02-13 ユニ・チャーム株式会社 使い捨てオムツ
BR112017020650B1 (pt) * 2015-03-27 2022-07-19 Daio Paper Corporation Estrutura extensível para artigo absorvente e fralda descartável
JP6324350B2 (ja) * 2015-06-29 2018-05-16 ユニ・チャーム株式会社 吸収性物品用の複合シート
US10384728B2 (en) 2016-03-28 2019-08-20 Transtex Llc Beam connector and method of installation thereof
JP6370344B2 (ja) * 2016-07-28 2018-08-08 花王株式会社 使い捨ておむつ
EP3558190B1 (en) 2016-12-20 2021-10-13 The Procter & Gamble Company Method for making elastomeric laminates with elastic strands unwound from beams
JP7077318B2 (ja) * 2017-06-29 2022-05-30 株式会社瑞光 着用物品の伸縮積層体の製造装置および製造方法
US11147718B2 (en) 2017-09-01 2021-10-19 The Procter & Gamble Company Beamed elastomeric laminate structure, fit, and texture
US11925537B2 (en) 2017-09-01 2024-03-12 The Procter & Gamble Company Beamed elastomeric laminate structure, fit, and texture
CN111050718B (zh) 2017-09-01 2021-12-14 宝洁公司 制备弹性体层合物的方法和设备
JP7025172B2 (ja) * 2017-10-12 2022-02-24 ユニ・チャーム株式会社 吸収性物品用伸縮性シート及びそれを使用した吸収性物品
US11547613B2 (en) 2017-12-05 2023-01-10 The Procter & Gamble Company Stretch laminate with beamed elastics and formed nonwoven layer
US10765565B2 (en) 2018-01-25 2020-09-08 The Procter & Gamble Company Method for manufacturing topsheets for absorbent articles
EP3810057B1 (en) 2018-06-19 2025-01-08 The Procter & Gamble Company Absorbent article with function-formed topsheet, and method for manufacturing
US12053357B2 (en) 2019-06-19 2024-08-06 The Procter & Gamble Company Absorbent article with function-formed topsheet, and method for manufacturing
US11819393B2 (en) 2019-06-19 2023-11-21 The Procter & Gamble Company Absorbent article with function-formed topsheet, and method for manufacturing
US12268579B2 (en) 2020-03-13 2025-04-08 The Procter & Gamble Company Beamed elastomeric laminate performance and zones

Citations (4)

* Cited by examiner, † Cited by third party
Publication number Priority date Publication date Assignee Title
JP2005080859A (ja) 2003-09-08 2005-03-31 Kao Corp 複合伸縮部材及びその製造方法
JP2012095936A (ja) * 2010-11-05 2012-05-24 Daio Paper Corp 吸収性物品
JP2012126140A (ja) * 2006-07-07 2012-07-05 Unicharm Corp シート部材、高密度領域含有シートの製造方法およびシート部材を使用した使い捨ておむつ
JP2013081715A (ja) * 2011-10-12 2013-05-09 Unicharm Corp 複合伸縮性材料およびその製造方法

Family Cites Families (7)

* Cited by examiner, † Cited by third party
Publication number Priority date Publication date Assignee Title
JP3550054B2 (ja) * 1999-06-30 2004-08-04 ユニ・チャーム株式会社 弾性伸縮性のシート
JP4070965B2 (ja) * 2001-06-08 2008-04-02 ユニ・チャーム株式会社 伸縮性複合シートおよび伸縮性複合シートに多数の襞を形成する方法
JP3883421B2 (ja) * 2001-11-22 2007-02-21 花王株式会社 立体シート及びその製造方法
JP3991013B2 (ja) * 2003-08-06 2007-10-17 ユニ・チャーム株式会社 体液吸収構造体及びその製法
KR101105987B1 (ko) 2003-09-08 2012-01-18 가오 가부시키가이샤 복합 신축 부재 및 그 제조방법
US20070249253A1 (en) * 2006-04-24 2007-10-25 Piero Angeli Elastic laminate comprising elastic substrate between extensible webs and method for making
JP2008136667A (ja) * 2006-12-01 2008-06-19 Kao Corp 吸収性物品

Patent Citations (4)

* Cited by examiner, † Cited by third party
Publication number Priority date Publication date Assignee Title
JP2005080859A (ja) 2003-09-08 2005-03-31 Kao Corp 複合伸縮部材及びその製造方法
JP2012126140A (ja) * 2006-07-07 2012-07-05 Unicharm Corp シート部材、高密度領域含有シートの製造方法およびシート部材を使用した使い捨ておむつ
JP2012095936A (ja) * 2010-11-05 2012-05-24 Daio Paper Corp 吸収性物品
JP2013081715A (ja) * 2011-10-12 2013-05-09 Unicharm Corp 複合伸縮性材料およびその製造方法

Non-Patent Citations (5)

* Cited by examiner, † Cited by third party
Title
IS03274, 1996
IS04287, 1997
JIS B0601, 2001
JIS B0651, 2001
See also references of EP2901988A4 *

Cited By (1)

* Cited by examiner, † Cited by third party
Publication number Priority date Publication date Assignee Title
CN105853075A (zh) * 2016-04-25 2016-08-17 邓攀 一种具有快速复原结构并防止便溺内流的纸尿裤

Also Published As

Publication number Publication date
JP6012378B2 (ja) 2016-10-25
EP2901988A1 (en) 2015-08-05
MY162531A (en) 2017-06-15
CN104507429A (zh) 2015-04-08
US20150230995A1 (en) 2015-08-20
AU2013321539B2 (en) 2016-11-24
KR20150063964A (ko) 2015-06-10
EP2901988B1 (en) 2017-03-22
AU2013321539A1 (en) 2015-03-19
EP2901988A4 (en) 2016-03-30
KR101694601B1 (ko) 2017-01-09
CN104507429B (zh) 2017-03-15
IN2015DN01979A (enExample) 2015-08-14
JP2014068907A (ja) 2014-04-21
US9795520B2 (en) 2017-10-24

Similar Documents

Publication Publication Date Title
JP6012378B2 (ja) 使い捨てオムツ
JP6249708B2 (ja) 使い捨てオムツ
JP5709720B2 (ja) 複合伸縮性材料およびその製造方法
JP5102119B2 (ja) 吸収性物品
JP5367961B2 (ja) 使い捨ておむつ、シート部材およびプリーツシートの製造方法
JP5674345B2 (ja) 使い捨ての着用物品
WO2010110203A1 (ja) パンツ型吸収性物品
JP5238567B2 (ja) パンツ型吸収性物品
JP2008173286A (ja) パンツ型吸収性物品
JP4863858B2 (ja) パンツ型吸収性物品
JP6071704B2 (ja) 使い捨てオムツ
JP5905049B2 (ja) 使い捨てオムツ及び使い捨てオムツを製造する方法
JP4901436B2 (ja) 吸収性物品
JP4726767B2 (ja) 吸収性物品
JP6468724B2 (ja) 使い捨てオムツ
JP6125876B2 (ja) 使い捨てオムツの製造方法
JP2008142316A (ja) パンツ型使い捨ておむつ
CN116056675B (zh) 短裤型吸收性物品
JP2013233736A (ja) 複合伸縮性材料

Legal Events

Date Code Title Description
121 Ep: the epo has been informed by wipo that ep was designated in this application

Ref document number: 13842505

Country of ref document: EP

Kind code of ref document: A1

ENP Entry into the national phase

Ref document number: 20147035937

Country of ref document: KR

Kind code of ref document: A

REEP Request for entry into the european phase

Ref document number: 2013842505

Country of ref document: EP

WWE Wipo information: entry into national phase

Ref document number: 2013842505

Country of ref document: EP

WWE Wipo information: entry into national phase

Ref document number: IDP00201501440

Country of ref document: ID

ENP Entry into the national phase

Ref document number: 2013321539

Country of ref document: AU

Date of ref document: 20130904

Kind code of ref document: A

WWE Wipo information: entry into national phase

Ref document number: 14430374

Country of ref document: US

NENP Non-entry into the national phase

Ref country code: DE