WO2014030660A1 - 電気接続箱 - Google Patents

電気接続箱 Download PDF

Info

Publication number
WO2014030660A1
WO2014030660A1 PCT/JP2013/072239 JP2013072239W WO2014030660A1 WO 2014030660 A1 WO2014030660 A1 WO 2014030660A1 JP 2013072239 W JP2013072239 W JP 2013072239W WO 2014030660 A1 WO2014030660 A1 WO 2014030660A1
Authority
WO
WIPO (PCT)
Prior art keywords
bonder cap
terminal
cover
low
bonder
Prior art date
Legal status (The legal status is an assumption and is not a legal conclusion. Google has not performed a legal analysis and makes no representation as to the accuracy of the status listed.)
Ceased
Application number
PCT/JP2013/072239
Other languages
English (en)
French (fr)
Japanese (ja)
Inventor
山本 正樹
和俊 倉地
景 冨田
泰助 冨田
丸井 崇義
Current Assignee (The listed assignees may be inaccurate. Google has not performed a legal analysis and makes no representation or warranty as to the accuracy of the list.)
Suzuki Motor Corp
Yazaki Corp
Original Assignee
Suzuki Motor Corp
Yazaki Corp
Priority date (The priority date is an assumption and is not a legal conclusion. Google has not performed a legal analysis and makes no representation as to the accuracy of the date listed.)
Filing date
Publication date
Application filed by Suzuki Motor Corp, Yazaki Corp filed Critical Suzuki Motor Corp
Priority to US14/420,446 priority Critical patent/US9203224B2/en
Priority to IN330KON2015 priority patent/IN2015KN00330A/en
Priority to CN201380044478.8A priority patent/CN104604062B/zh
Priority to DE112013004137.5T priority patent/DE112013004137B4/de
Publication of WO2014030660A1 publication Critical patent/WO2014030660A1/ja
Anticipated expiration legal-status Critical
Ceased legal-status Critical Current

Links

Images

Classifications

    • HELECTRICITY
    • H02GENERATION; CONVERSION OR DISTRIBUTION OF ELECTRIC POWER
    • H02GINSTALLATION OF ELECTRIC CABLES OR LINES, OR OF COMBINED OPTICAL AND ELECTRIC CABLES OR LINES
    • H02G3/00Installations of electric cables or lines or protective tubing therefor in or on buildings, equivalent structures or vehicles
    • H02G3/02Details
    • H02G3/08Distribution boxes; Connection or junction boxes
    • H02G3/16Distribution boxes; Connection or junction boxes structurally associated with support for line-connecting terminals within the box
    • HELECTRICITY
    • H01ELECTRIC ELEMENTS
    • H01RELECTRICALLY-CONDUCTIVE CONNECTIONS; STRUCTURAL ASSOCIATIONS OF A PLURALITY OF MUTUALLY-INSULATED ELECTRICAL CONNECTING ELEMENTS; COUPLING DEVICES; CURRENT COLLECTORS
    • H01R4/00Electrically-conductive connections between two or more conductive members in direct contact, i.e. touching one another; Means for effecting or maintaining such contact; Electrically-conductive connections having two or more spaced connecting locations for conductors and using contact members penetrating insulation
    • H01R4/22End caps, i.e. of insulating or conductive material for covering or maintaining connections between wires entering the cap from the same end

Definitions

  • the present invention relates to an electric junction box having a frame provided with a bonder cap housing portion and a terminal-equipped wire housing portion.
  • FIG. 4 is a perspective view of a frame used in a conventional electric junction box, and is a perspective view showing a state in which the bonder cap is press-fitted and held in the bonder cap housing portion of the frame.
  • FIG. 5 is a perspective view of only the frame shown in FIG.
  • the frame 302 is made of synthetic resin, and has a bonder cap housing portion 306 in which the bonder cap 5 is press-fitted and held, and a terminal-attached wire housing portion 307 into which a terminal-attached electric wire is inserted. And a through hole 309 through which the binding band 308 is passed. 4 and 5, a part of the frame 302 is shown.
  • the bonder cap housing portion 306 is formed in a bottomed cylindrical shape capable of housing the bonder cap 5.
  • the bonder cap 5 is a member that covers the end portion of the wire bundle 4 and protects the portion where the core wires of each wire are electrically connected.
  • the terminal-equipped electric wire accommodating portion 307 is formed in a cylindrical shape and is disposed adjacent to the bonder cap accommodating portion 306. Moreover, the edge part which comprises the insertion opening of the bonder cap accommodating part 306 protrudes rather than the edge part which comprises the insertion opening of the electric wire accommodating part 307 with a terminal.
  • the through hole 309 is provided in the vicinity of the insertion opening of the bonder cap housing portion 306. As shown in FIG. 4, the binding band 308 passed through the through hole 309 is wound around the outer periphery of the wire bundle 4 to prevent the bonder cap 5 from dropping from the bonder cap housing portion 306.
  • the first problem is that the edge portion constituting the insertion port of the bonder cap housing portion 306 protrudes beyond the edge portion constituting the insertion port of the terminal-attached wire housing portion 307. This is a problem that it is difficult to insert into the portion 307.
  • the second problem is that since the through hole 309 is provided in the frame 302, the shape of the manufacturing mold of the frame 302 becomes complicated. In addition, since the binding band 308 is used to prevent the bonder cap 5 from falling off, there is a problem that the parts cost is increased and the number of assembling steps is increased.
  • the inventor of the present application abolished the through hole 309 and the binding band 308, and instead pressed the bonder cap 5 with a cover attached to the frame 302, and removed the bonder cap 5. I found a way to prevent it. However, this method cannot solve the first problem.
  • the first object of the present invention is to provide an electrical junction box that can prevent the bonder cap from falling off from the bonder cap housing portion without using a binding band, and the bonder cap can be bonded to a bonder without using a binding band. It is a second object to provide an electrical junction box that can be prevented from falling off from the cap housing portion and that can easily insert a terminal-attached electric wire into the terminal-attached electric wire housing portion.
  • the invention described in claim 1 includes a frame and a cover attached to the frame, and the wires are covered with the ends of the wire bundles.
  • the edge part constituting the insertion port of the bonder cap housing part has a low-profile part and a projection projecting from the low profile part
  • the distance from the low-profile part to the cover is larger than the total length of the bonder cap in a state where the cover is attached to the frame.
  • An electrical junction box characterized in that a distance from the most projecting portion of the projecting portion to the cover is smaller than the total length of the bonder cap, and the wire bundle is bent toward the low profile portion side
  • the invention described in claim 2 is the invention described in claim 1, wherein the terminal-attached electric wire accommodating portion is adjacent to the low-profile portion, and A back part is formed in the same height as the edge which comprises the insertion port of the electric wire accommodating part with a terminal, It is characterized by the above-mentioned.
  • an edge portion that constitutes an insertion port of the bonder cap housing portion is constituted by a low-profile portion and a protruding portion that protrudes from the low-profile portion, and the cover Is attached to the frame, the distance from the low-profile part to the cover is larger than the total length of the bonder cap, and the distance from the most protruding part of the protruding part to the cover is longer than the total length of the bonder cap.
  • the elastic restoring force of the bent wire bundle acts and the bonder
  • the cap is inclined to the protruding portion side opposite to the low-profile portion, and the bonder cap is prevented from falling off by being sandwiched between the protruding portion side wall and the cover. Therefore, it is possible to provide an electrical junction box that can prevent the bonder cap from falling off the bonder cap housing portion without using a binding band.
  • the wire housing portion with a terminal is adjacent to the low profile portion, and the low profile portion constitutes an insertion port of the wire housing portion with the terminal. Therefore, it is possible to prevent the bonder cap from falling off from the bonder cap housing part without using a binding band, and to easily insert the terminal-attached electric wire into the terminal-attached electric wire container.
  • An electrical junction box can be provided.
  • FIG. 5 is a perspective view of only the frame shown in FIG. 4.
  • an “electric connection box” according to an embodiment of the present invention will be described with reference to FIGS.
  • the “electric connection box” is mounted on a vehicle and supplies power and transmits signals to an electronic device mounted on the vehicle.
  • a junction block also referred to as a junction box
  • a fuse block also referred to as a fuse box
  • a relay block also referred to as a relay box
  • the electrical junction box 1 has a synthetic resin frame 2 and a synthetic resin cover 3 attached to the frame 2 as shown in FIG.
  • the frame 2 is provided with a bonder cap housing portion 6 into which the bonder cap 5 is press-fitted and held, and a plurality of terminal-attached wire housing portions 7 into which the electric wires with terminals are inserted.
  • FIG. 1 shows a part of the frame 2.
  • the bonder cap housing 6 is formed in a bottomed cylindrical shape capable of housing the bonder cap 5.
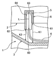
  • reference numeral 64 denotes a peripheral wall constituting the bonder cap housing portion 6
  • reference numeral 63 denotes a bottom wall
  • reference numeral 60 denotes an insertion port.
  • the edge part which comprises the insertion port 60 of the bonder cap accommodating part 6 has the low profile part 61 of the same height as the edge part which comprises the insertion slot 70 of the electric wire accommodating part 7 with a terminal, and this low profile part 61.
  • a protruding portion 62 protruding. That is, while the edge part which comprises the insertion port 70 of the electric wire accommodating part 7 with a terminal is uniform height, the edge part which comprises the insertion port 60 of the bonder cap accommodating part 6 is slanting. .
  • the bonder cap 5 is a synthetic resin member that covers the end of the wire bundle 4 and protects the portion where the core wires of each wire are electrically connected.
  • Each electric wire is a covered electric wire, and the insulating coating is removed at the end thereof, and the core wire is exposed. Moreover, the core wires of each electric wire are electrically connected by welding or the like.
  • the bonder cap 5 covers a portion where these core wires are electrically connected to each other and plays a role of waterproofing and insulation.
  • the terminal-equipped wire accommodating portion 7 is formed in a cylindrical shape.
  • the terminal-attached electric wire accommodating portion 7 that is disposed adjacent to the bonder cap accommodating portion 6 among the plurality of electric wire accommodating portions 7 with terminals is adjacent to the low-profile portion 61 of the bonder cap accommodating portion 6.
  • the low-profile portion 61 of the bonder cap housing portion 6 is formed at the same height as the edge portion that constitutes the insertion port 70 of the terminal-attached wire housing portion 7 arranged adjacently.
  • the edge part of all the electric wire accommodating parts 7 with a terminal is formed in uniform height, the electric wire accommodating part 7 with a terminal which is not adjacent to the bonder cap accommodating part 6 is the The edge portion may protrude from the low-profile portion 61.
  • the cover 3 is attached to the insertion ports 60 and 70 side of the bonder cap housing portion 6 and the terminal-attached wire housing portion 7 as shown in FIG. Further, the cover 3 and the frame 2 are such that the distance K1 from the low-profile portion 61 to the cover 3 is larger than the total length L of the bonder cap 5 with the cover 3 attached to the frame 2, and the protruding portion 62 protrudes the most.
  • the distance K2 from the portion to the cover 3 is formed to be smaller than the total length L of the bonder cap 5.
  • the wire bundle 4 positioned outside the bonder cap housing 6 is bent toward the low-profile portion 61 side.
  • the elastic restoring force of the bent wire bundle 4 acts to bond the bonder.
  • the cap 5 is inclined to the protruding portion 62 side opposite to the low-profile portion 61, and the bonder cap 5 is prevented from falling off by being sandwiched between the peripheral wall 64 and the cover 3 on the protruding portion 62 side. Therefore, it is possible to prevent the bonder cap 5 from dropping from the bonder cap housing portion 6 without using a binding band.
  • the electric wire with terminal is used as a terminal. It can be easily inserted into the attached electric wire housing part 7.

Landscapes

  • Engineering & Computer Science (AREA)
  • Architecture (AREA)
  • Civil Engineering (AREA)
  • Structural Engineering (AREA)
  • Connection Or Junction Boxes (AREA)
  • Connector Housings Or Holding Contact Members (AREA)
  • Connections Effected By Soldering, Adhesion, Or Permanent Deformation (AREA)
  • Insertion, Bundling And Securing Of Wires For Electric Apparatuses (AREA)
PCT/JP2013/072239 2012-08-22 2013-08-21 電気接続箱 Ceased WO2014030660A1 (ja)

Priority Applications (4)

Application Number Priority Date Filing Date Title
US14/420,446 US9203224B2 (en) 2012-08-22 2013-08-21 Electrical junction box
IN330KON2015 IN2015KN00330A (enExample) 2012-08-22 2013-08-21
CN201380044478.8A CN104604062B (zh) 2012-08-22 2013-08-21 电接线盒
DE112013004137.5T DE112013004137B4 (de) 2012-08-22 2013-08-21 Elektrischer Verteiler

Applications Claiming Priority (2)

Application Number Priority Date Filing Date Title
JP2012182963A JP5896416B2 (ja) 2012-08-22 2012-08-22 電気接続箱
JP2012-182963 2012-08-22

Publications (1)

Publication Number Publication Date
WO2014030660A1 true WO2014030660A1 (ja) 2014-02-27

Family

ID=50149966

Family Applications (1)

Application Number Title Priority Date Filing Date
PCT/JP2013/072239 Ceased WO2014030660A1 (ja) 2012-08-22 2013-08-21 電気接続箱

Country Status (6)

Country Link
US (1) US9203224B2 (enExample)
JP (1) JP5896416B2 (enExample)
CN (1) CN104604062B (enExample)
DE (1) DE112013004137B4 (enExample)
IN (1) IN2015KN00330A (enExample)
WO (1) WO2014030660A1 (enExample)

Cited By (1)

* Cited by examiner, † Cited by third party
Publication number Priority date Publication date Assignee Title
US11427142B2 (en) * 2019-11-27 2022-08-30 Yazaki Corporation Electrical connection box with bonder cap and shallow/deep bottom parts, and wire harness including same

Families Citing this family (2)

* Cited by examiner, † Cited by third party
Publication number Priority date Publication date Assignee Title
JP6919599B2 (ja) * 2018-03-05 2021-08-18 住友電装株式会社 電気接続箱
JP6914905B2 (ja) 2018-11-29 2021-08-04 矢崎総業株式会社 ボンダーキャップの収容構造、電気接続箱、及びワイヤハーネス

Citations (3)

* Cited by examiner, † Cited by third party
Publication number Priority date Publication date Assignee Title
JP2004088946A (ja) * 2002-08-28 2004-03-18 Yazaki Corp 分割式接続ブロック
JP2010136570A (ja) * 2008-12-08 2010-06-17 Yazaki Corp 電気接続箱
JP2012085431A (ja) * 2010-10-12 2012-04-26 Yazaki Corp 電気接続箱

Family Cites Families (10)

* Cited by examiner, † Cited by third party
Publication number Priority date Publication date Assignee Title
US5587556A (en) * 1993-12-20 1996-12-24 Yazaki Corporation Protective casing for end connecting part of wire
JP3191906B2 (ja) * 1995-07-03 2001-07-23 矢崎総業株式会社 電線接続部の収納構造
US5747737A (en) * 1996-02-16 1998-05-05 Keith D. Waehner Internally connected junction box
JP3324491B2 (ja) 1998-03-04 2002-09-17 住友電装株式会社 自動車用ワイヤハーネスの接続部の保持構造
JP2000069647A (ja) * 1998-08-19 2000-03-03 Sumitomo Wiring Syst Ltd 電気接続箱におけるワイヤハーネスの接続部の保持構造
JP3356088B2 (ja) * 1998-11-30 2002-12-09 住友電装株式会社 電気接続構造
JP2001186630A (ja) * 1999-12-24 2001-07-06 Sumitomo Wiring Syst Ltd 電気接続箱
JP4218232B2 (ja) * 2001-07-23 2009-02-04 住友電装株式会社 ジャンクションボックス
JP2005269860A (ja) * 2004-03-22 2005-09-29 Yazaki Corp 電気接続箱
JP5067199B2 (ja) * 2008-02-29 2012-11-07 住友電装株式会社 車載用の電気接続箱

Patent Citations (3)

* Cited by examiner, † Cited by third party
Publication number Priority date Publication date Assignee Title
JP2004088946A (ja) * 2002-08-28 2004-03-18 Yazaki Corp 分割式接続ブロック
JP2010136570A (ja) * 2008-12-08 2010-06-17 Yazaki Corp 電気接続箱
JP2012085431A (ja) * 2010-10-12 2012-04-26 Yazaki Corp 電気接続箱

Cited By (1)

* Cited by examiner, † Cited by third party
Publication number Priority date Publication date Assignee Title
US11427142B2 (en) * 2019-11-27 2022-08-30 Yazaki Corporation Electrical connection box with bonder cap and shallow/deep bottom parts, and wire harness including same

Also Published As

Publication number Publication date
IN2015KN00330A (enExample) 2015-07-10
US20150236489A1 (en) 2015-08-20
CN104604062A (zh) 2015-05-06
DE112013004137B4 (de) 2023-06-15
US9203224B2 (en) 2015-12-01
CN104604062B (zh) 2017-02-22
JP5896416B2 (ja) 2016-03-30
JP2014042388A (ja) 2014-03-06
DE112013004137T5 (de) 2015-05-07

Similar Documents

Publication Publication Date Title
JP5779010B2 (ja) バスバモジュール構造体
JP5950301B2 (ja) 電気接続箱
WO2012108514A1 (ja) バスバモジュール
JP6914905B2 (ja) ボンダーキャップの収容構造、電気接続箱、及びワイヤハーネス
JP6448925B2 (ja) コネクタ
JP5215152B2 (ja) 電気接続箱
CN103855661B (zh) 电接线盒
JP5896416B2 (ja) 電気接続箱
US9520255B2 (en) Connection structure of electronic component and terminal metal fittings
JP2017123746A (ja) プロテクタ及びプロテクタ付ワイヤーハーネス
JP2011234427A (ja) 電気接続箱
JP5541597B2 (ja) 太陽電池モジュール用端子ボックスの出力ケーブル固定構造
JP6622034B2 (ja) 電気接続箱、及び、ワイヤハーネス
JP6210736B2 (ja) ヒューズユニット
JP2016116335A (ja) ジャンクションボックスおよびワイヤハーネス
JP2014230427A (ja) ボンダーの保持構造
CN107005037A (zh) 接头部的绝缘结构、线配置板以及配线单元
JP4309791B2 (ja) ヒューズホルダ及びヒューズユニット
CN203951122U (zh) 壳体组装体及具备该壳体组装体的电气接线箱
JP5685997B2 (ja) 電気接続箱用の回路板
JP7290421B2 (ja) 電気接続箱の製造方法
JP2019068634A (ja) 電気接続箱及びワイヤハーネス
JP3123120U (ja) リード線付きヒューズ
JP6110120B2 (ja) 電線用プロテクタ
JP2013164949A (ja) 布線板

Legal Events

Date Code Title Description
121 Ep: the epo has been informed by wipo that ep was designated in this application

Ref document number: 13830853

Country of ref document: EP

Kind code of ref document: A1

WWE Wipo information: entry into national phase

Ref document number: 14420446

Country of ref document: US

WWE Wipo information: entry into national phase

Ref document number: 112013004137

Country of ref document: DE

Ref document number: 1120130041375

Country of ref document: DE

122 Ep: pct application non-entry in european phase

Ref document number: 13830853

Country of ref document: EP

Kind code of ref document: A1