WO2014010478A1 - 光源装置 - Google Patents

光源装置 Download PDF

Info

Publication number
WO2014010478A1
WO2014010478A1 PCT/JP2013/068214 JP2013068214W WO2014010478A1 WO 2014010478 A1 WO2014010478 A1 WO 2014010478A1 JP 2013068214 W JP2013068214 W JP 2013068214W WO 2014010478 A1 WO2014010478 A1 WO 2014010478A1
Authority
WO
WIPO (PCT)
Prior art keywords
light
wavelength conversion
light source
conversion element
source device
Prior art date
Legal status (The legal status is an assumption and is not a legal conclusion. Google has not performed a legal analysis and makes no representation as to the accuracy of the status listed.)
Ceased
Application number
PCT/JP2013/068214
Other languages
English (en)
French (fr)
Japanese (ja)
Inventor
孝一郎 古田
Current Assignee (The listed assignees may be inaccurate. Google has not performed a legal analysis and makes no representation or warranty as to the accuracy of the list.)
Olympus Corp
Original Assignee
Olympus Corp
Priority date (The priority date is an assumption and is not a legal conclusion. Google has not performed a legal analysis and makes no representation as to the accuracy of the date listed.)
Filing date
Publication date
Application filed by Olympus Corp filed Critical Olympus Corp
Publication of WO2014010478A1 publication Critical patent/WO2014010478A1/ja
Priority to US14/567,212 priority Critical patent/US20150138753A1/en
Anticipated expiration legal-status Critical
Ceased legal-status Critical Current

Links

Images

Classifications

    • HELECTRICITY
    • H01ELECTRIC ELEMENTS
    • H01SDEVICES USING THE PROCESS OF LIGHT AMPLIFICATION BY STIMULATED EMISSION OF RADIATION [LASER] TO AMPLIFY OR GENERATE LIGHT; DEVICES USING STIMULATED EMISSION OF ELECTROMAGNETIC RADIATION IN WAVE RANGES OTHER THAN OPTICAL
    • H01S5/00Semiconductor lasers
    • H01S5/005Optical components external to the laser cavity, specially adapted therefor, e.g. for homogenisation or merging of the beams or for manipulating laser pulses, e.g. pulse shaping
    • H01S5/0087Optical components external to the laser cavity, specially adapted therefor, e.g. for homogenisation or merging of the beams or for manipulating laser pulses, e.g. pulse shaping for illuminating phosphorescent or fluorescent materials, e.g. using optical arrangements specifically adapted for guiding or shaping laser beams illuminating these materials
    • FMECHANICAL ENGINEERING; LIGHTING; HEATING; WEAPONS; BLASTING
    • F21LIGHTING
    • F21VFUNCTIONAL FEATURES OR DETAILS OF LIGHTING DEVICES OR SYSTEMS THEREOF; STRUCTURAL COMBINATIONS OF LIGHTING DEVICES WITH OTHER ARTICLES, NOT OTHERWISE PROVIDED FOR
    • F21V13/00Producing particular characteristics or distribution of the light emitted by means of a combination of elements specified in two or more of main groups F21V1/00 - F21V11/00
    • F21V13/02Combinations of only two kinds of elements
    • F21V13/04Combinations of only two kinds of elements the elements being reflectors and refractors
    • GPHYSICS
    • G02OPTICS
    • G02BOPTICAL ELEMENTS, SYSTEMS OR APPARATUS
    • G02B19/00Condensers, e.g. light collectors or similar non-imaging optics
    • G02B19/0004Condensers, e.g. light collectors or similar non-imaging optics characterised by the optical means employed
    • G02B19/0028Condensers, e.g. light collectors or similar non-imaging optics characterised by the optical means employed refractive and reflective surfaces, e.g. non-imaging catadioptric systems
    • GPHYSICS
    • G02OPTICS
    • G02BOPTICAL ELEMENTS, SYSTEMS OR APPARATUS
    • G02B19/00Condensers, e.g. light collectors or similar non-imaging optics
    • G02B19/0033Condensers, e.g. light collectors or similar non-imaging optics characterised by the use
    • G02B19/0047Condensers, e.g. light collectors or similar non-imaging optics characterised by the use for use with a light source
    • G02B19/0061Condensers, e.g. light collectors or similar non-imaging optics characterised by the use for use with a light source the light source comprising a LED
    • GPHYSICS
    • G02OPTICS
    • G02BOPTICAL ELEMENTS, SYSTEMS OR APPARATUS
    • G02B26/00Optical devices or arrangements for the control of light using movable or deformable optical elements
    • G02B26/007Optical devices or arrangements for the control of light using movable or deformable optical elements the movable or deformable optical element controlling the colour, i.e. a spectral characteristic, of the light
    • GPHYSICS
    • G02OPTICS
    • G02BOPTICAL ELEMENTS, SYSTEMS OR APPARATUS
    • G02B27/00Optical systems or apparatus not provided for by any of the groups G02B1/00 - G02B26/00, G02B30/00
    • G02B27/10Beam splitting or combining systems
    • G02B27/14Beam splitting or combining systems operating by reflection only
    • G02B27/141Beam splitting or combining systems operating by reflection only using dichroic mirrors
    • HELECTRICITY
    • H04ELECTRIC COMMUNICATION TECHNIQUE
    • H04NPICTORIAL COMMUNICATION, e.g. TELEVISION
    • H04N23/00Cameras or camera modules comprising electronic image sensors; Control thereof
    • H04N23/10Cameras or camera modules comprising electronic image sensors; Control thereof for generating image signals from different wavelengths
    • H04N23/12Cameras or camera modules comprising electronic image sensors; Control thereof for generating image signals from different wavelengths with one sensor only
    • GPHYSICS
    • G02OPTICS
    • G02BOPTICAL ELEMENTS, SYSTEMS OR APPARATUS
    • G02B2207/00Coding scheme for general features or characteristics of optical elements and systems of subclass G02B, but not including elements and systems which would be classified in G02B6/00 and subgroups
    • G02B2207/113Fluorescence
    • HELECTRICITY
    • H01ELECTRIC ELEMENTS
    • H01SDEVICES USING THE PROCESS OF LIGHT AMPLIFICATION BY STIMULATED EMISSION OF RADIATION [LASER] TO AMPLIFY OR GENERATE LIGHT; DEVICES USING STIMULATED EMISSION OF ELECTROMAGNETIC RADIATION IN WAVE RANGES OTHER THAN OPTICAL
    • H01S5/00Semiconductor lasers
    • H01S5/005Optical components external to the laser cavity, specially adapted therefor, e.g. for homogenisation or merging of the beams or for manipulating laser pulses, e.g. pulse shaping
    • H01S5/0078Optical components external to the laser cavity, specially adapted therefor, e.g. for homogenisation or merging of the beams or for manipulating laser pulses, e.g. pulse shaping for frequency filtering
    • HELECTRICITY
    • H01ELECTRIC ELEMENTS
    • H01SDEVICES USING THE PROCESS OF LIGHT AMPLIFICATION BY STIMULATED EMISSION OF RADIATION [LASER] TO AMPLIFY OR GENERATE LIGHT; DEVICES USING STIMULATED EMISSION OF ELECTROMAGNETIC RADIATION IN WAVE RANGES OTHER THAN OPTICAL
    • H01S5/00Semiconductor lasers
    • H01S5/30Structure or shape of the active region; Materials used for the active region
    • H01S5/32Structure or shape of the active region; Materials used for the active region comprising PN junctions, e.g. hetero- or double- heterostructures
    • H01S5/323Structure or shape of the active region; Materials used for the active region comprising PN junctions, e.g. hetero- or double- heterostructures in AIIIBV compounds, e.g. AlGaAs-laser, InP-based laser
    • H01S5/32308Structure or shape of the active region; Materials used for the active region comprising PN junctions, e.g. hetero- or double- heterostructures in AIIIBV compounds, e.g. AlGaAs-laser, InP-based laser emitting light at a wavelength less than 900 nm
    • H01S5/32341Structure or shape of the active region; Materials used for the active region comprising PN junctions, e.g. hetero- or double- heterostructures in AIIIBV compounds, e.g. AlGaAs-laser, InP-based laser emitting light at a wavelength less than 900 nm blue laser based on GaN or GaP

Definitions

  • the present invention relates to a light source device.
  • Patent Document 1 a light source device that generates light of a plurality of colors using a light source that outputs light of a single color such as a semiconductor light source is known (see, for example, Patent Document 1).
  • a blue laser diode (LD) is used as a light source, and a rotation having a region transmitting blue light and a region generating red and green fluorescence and reflecting these fluorescence by blue light A wheel is provided to guide blue light and red and green light in separate light paths.
  • LD blue laser diode
  • Patent No. 4711154 gazette
  • the present invention has been made in view of the above-described circumstances, and an object of the present invention is to provide a light source device having a small optical path configuration and capable of generating light with high efficiency.
  • the present invention comprises a light source for outputting monochromatic light, a wavelength conversion element disposed on an output optical axis of the light source and generating light of a color different from the monochromatic light by being irradiated with the monochromatic light, and
  • the output optical axis is disposed between the light source and the wavelength conversion element, and transmits the monochromatic light and scatters the light generated in the wavelength conversion element toward the light source in the direction of the wavelength conversion element.
  • a dichroic mirror that folds back in parallel to the light source device.
  • monochromatic light output from the light source is converted to light of a different color in the wavelength conversion element, and then output along the output optical axis.
  • part of the light scattered to the light source side is folded back only once in parallel with the output optical axis by a single dichroic mirror, and is scattered to the opposite side to the light source It is output together with other light. Therefore, in the light after conversion, the occurrence of the deviation of the optical axis and the loss is prevented.
  • light can be generated and output with high efficiency from monochromatic light output from the light source.
  • the wavelength conversion element, and the dichroic mirror are all arranged in a line on the output optical axis, the optical path configuration can be miniaturized.
  • a first collimating optical system which is disposed between the dichroic mirror and the wavelength conversion element and collimates the light scattered from the wavelength conversion element toward the light source, and the wavelength conversion element
  • a second collimating optical system may be provided which is disposed in the subsequent stage and collimates the light scattered from the wavelength conversion element to the side opposite to the light source. In this way, light generated in the wavelength conversion element and scattered in each direction can be converted into parallel light and output by the first collimating optical system and the second collimating optical system.
  • the first collimating optical system may include a lens having a flat surface, and the dichroic mirror may be integrally formed on the flat surface.
  • the plurality of wavelength conversion elements may be arranged in a direction along or crossing the output optical axis in the irradiation area of the monochromatic light on the output optical axis, and a plurality of sets of The wavelength conversion element and the dichroic mirror may be arranged in series on the output optical axis.
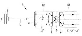
  • the light source device 1 is, as shown in FIG. 1, a light source 2 for outputting monochromatic light, and an output optical axis X of the light source 2 (hereinafter, also simply referred to as an optical axis X) in line.
  • the dichroic mirror 3, the first collimating optical system 4, the wavelength conversion element 5, and the second collimating optical system 6 are provided.
  • the light source 2 is a semiconductor light source, a laser diode or the like that outputs monochromatic light with high directivity.
  • blue laser light L having a wavelength of 450 nm is assumed as monochromatic light beam.
  • a single light source 2 is shown in FIG. 1, a plurality of (for example, 2 ⁇ 2 or 3 ⁇ 3) light sources 2 outputting laser light L parallel to each other are arranged in an array. It may be
  • the dichroic mirror 3 is disposed perpendicular to the optical axis X, and transmits the laser light L incident from the light source 2 along the optical axis X. Further, the dichroic mirror 3 reflects the fluorescence Lb 'back scattered in the wavelength conversion element 5 along the optical axis X as described later.
  • the dichroic mirror 3 has a characteristic of transmitting light of a wavelength of 500 nm or less and reflecting light of a wavelength longer than 500 nm.
  • FIG. 8 shows the relationship between the wavelength of the laser light L assumed in the present embodiment, the wavelength of the fluorescence L ′ generated by the wavelength conversion element 5 (described later), and the spectral transmission characteristics of the dichroic mirror 3.
  • the left vertical axis is the light transmittance of the dichroic mirror 3, and the right vertical axis is the relative intensity of the laser light L and the fluorescence L '.
  • the first collimating optical system 4 includes a meniscus lens or a plano-convex lens disposed with the convex surface facing the light source 2 side.
  • the first collimating optical system 4 collimates the fluorescence L ′ backscattered by the wavelength conversion element 5 and emits the collimated fluorescence L ′ to the dichroic mirror 3. Further, the first collimating optical system 4 condenses the fluorescence L ′ reflected and returned by the dichroic mirror 3 on the wavelength conversion element 5.
  • the occurrence of spherical aberration can be suppressed by arranging the meniscus lens or the plano-convex lens with the convex surface facing the light source 2 as described above.
  • the first collimating optical system 4 is preferably composed of a plurality of lenses in which the above-described meniscus lens or plano-convex lens is combined with a lens (not shown). By doing so, the occurrence of spherical aberration can be further suppressed.
  • the wavelength conversion element 5 is an element that emits light by being irradiated with the laser light L (monochromatic light) from the light source 2 and holds, for example, a phosphor or a quantum dot excited by the laser light L.
  • the wavelength conversion element 5 is a phosphor that includes the wavelength 450 nm of the laser light L in the excitation wavelength band and generates fluorescence (light) L 'having a peak wavelength of 550 nm.
  • the fluorescence L 'generated in the wavelength conversion element 5 is fluorescence Lf' which is forward scattered in the space S1 on the front side (the opposite side to the light source 2) of the optical axis X, and the rear side (the same side as the light source 2) It is divided into the fluorescent light Lb 'backscattered to space S2 of.
  • the forward scattered fluorescence Lf ′ is incident on the second collimating optical system 6, and the backscattered fluorescence Lb ′ is incident on the first collimating optical system 4.
  • the second collimating optical system 6 includes one meniscus lens or plano-convex lens disposed with the convex surface facing the optical axis X forward.
  • the second collimating optical system 6 collimates the fluorescence L ′ incident from the wavelength conversion element 5 and emits it along the optical axis X.
  • the second collimating optical system 6 is preferably composed of a plurality of lenses in which the above-described meniscus lens or plano-convex lens and a lens (not shown) are combined. By doing so, the occurrence of spherical aberration can be further suppressed.
  • the blue laser light L output from the light source 2 transmits the dichroic mirror 3 and is incident on the wavelength conversion element 5 so that the green fluorescence in the wavelength conversion element 5 is generated.
  • the fluorescence Lf ′ which is forward scattered is converted into parallel light by the second collimating optical system 6 and then output to the outside of the light source device 1 along the optical axis X.
  • the fluorescence Lb ′ which has been backscattered and travels in the reverse direction to the optical axis X is converted into parallel light by the first collimating optical system 4 and then folded back by the dichroic mirror 3.
  • the light is collected on the wavelength conversion element 5.
  • the overlap between the light emission wavelength band of the wavelength conversion element 5 and the excitation wavelength band is small or not at all. Therefore, the fluorescence Lb ′ collected on the wavelength conversion element 5 excites the phosphor and hardly causes energy loss, and passes through the wavelength conversion element 5.
  • the fluorescence Lb ′ transmitted through the wavelength conversion element 5 is converted into parallel light by the second collimating optical system 6 as with the forward-scattered fluorescence Lf ′ and then the outside of the light source device 1 along the optical axis X Output.
  • the entire fluorescence L 'generated in the wavelength conversion element 5 is output from the light source device 1 as the final output light.
  • an optical path is formed linearly along the output optical axis X of the light source 2, and the backscattered fluorescence Lb 'is a single dichroic disposed perpendicular to the optical axis X.
  • the mirror 3 reflects light in a direction parallel to the optical axis X and only once. Therefore, the occurrence of optical axis misalignment and loss of the fluorescence Lb 'is prevented, and the reflected fluorescence Lb' is output along the optical axis X to the outside of the light source device 1 with sufficiently high efficiency.
  • This has the advantage that the fluorescent light L 'as output light can be generated from the laser light L with high efficiency. Further, by making the optical path straight, there is an advantage that the optical path configuration can be made compact.
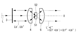
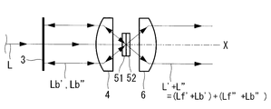
  • the single wavelength conversion element 5 is provided to generate the green fluorescence L ′ from the blue laser light L.
  • a plurality of wavelength conversion elements 51 and 52 are provided.
  • light of a plurality of colors may be generated from the blue laser light L.
  • the light source device 1 includes two wavelength conversion elements 51 and 52 arranged in the direction along the optical axis X.
  • the first wavelength conversion element 51 has the same characteristics as the wavelength conversion element 5 described above.
  • the second wavelength conversion element 52 includes the wavelength 450 nm of the laser light L in the excitation wavelength band and a fluorescence L having a wavelength longer than that of the fluorescence L ′ generated by the first wavelength conversion element 51, for example, 650 nm. "Holding phosphor to generate”.
  • the overlap between the emission wavelength bands of the wavelength conversion elements 51 and 52 and the excitation wavelength bands of the wavelength conversion elements 51 and 52 is small or not at all. Therefore, the fluorescence Lb ', Lb "hardly excites the phosphor to cause energy loss, and passes through the wavelength conversion elements 51, 52.
  • the two wavelength conversion elements 51 and 52 may be arranged in the direction crossing the optical axis X, as shown in FIG. In this case, adjacent surfaces of the two wavelength conversion elements 51 and 52 are disposed substantially on the optical axis X such that the laser light L is incident on both of the wavelength conversion elements 51 and 52. Also in this case, as in the light source device 1, it is possible to simultaneously generate green fluorescence L ′ and red fluorescence L ′ ′ from the blue laser light L.
  • wavelength conversion elements 51 and 52 it is not necessary to be one each of wavelength conversion elements 51 and 52, for example, one wavelength conversion element is 1 Alternatively, two wavelength conversion elements may be provided, and two wavelength conversion elements may be provided.
  • the dichroic mirror 3 and the first collimating optical system 4 are separately configured, but instead, the light source device 10 according to the modification shown in FIG.
  • the first collimating optical system 41 and the dichroic mirror 31 may be integrally formed.
  • the first collimating optical system 41 includes a lens (a plano-convex lens in the illustrated example) 4a having a flat surface, and the dichroic mirror 31 is integrally formed on the flat surface of the lens 4a.
  • the number of optical elements can be further reduced, and the optical path configuration can be further miniaturized.
  • a plurality of wavelength conversion elements 51 and 52 as shown in FIGS. 2 and 3 may be employed.
  • the lens surface disposed closest to the light source 2 among the lens surfaces of the lenses constituting the first collimating optical system 41 is a flat surface, and the dichroic mirror 31 is formed on the flat surface.
  • a plurality of (two in the illustrated example) dichroic mirrors 3, 3 ', the first collimating optical system 4, 4 ', wavelength conversion elements 5, 5' and second collimating optics 6, 6 ' may be provided in series on the optical axis X.
  • the wavelength conversion element 5 ′ of the latter group has a wavelength (for example, a peak wavelength of 650 nm) longer than the fluorescence L ′ generated by the wavelength conversion element 5 of the previous group.
  • the second set of dichroic mirrors 3 'transmits the laser light L from the light source 2 and the fluorescence L' generated by the first set of wavelength conversion elements 5 and transmits the second set of It has a characteristic of reflecting the fluorescence L ′ ′ generated by the wavelength conversion element 5 ′. That is, as the wavelength conversion elements 5 and 5 'are disposed at positions farther from the light source 2 on the optical axis X, that is, as they are disposed downstream, the wavelength band of the generated light is longer. It is configured to hold the phosphor.
  • FIG. 9 shows the wavelengths of the laser light L assumed in the configuration of the light source device 20, the wavelengths of the fluorescence L ′, L ′ ′ generated by the wavelength conversion elements 5, 5 ′, and the spectral transmission characteristics of the dichroic mirrors 3, 3 ′.
  • the left vertical axis is the light transmittance of the dichroic mirror 3, 3 ′, and the right vertical axis is the relative intensity of the laser light L and the fluorescence L ′, L ′ ′.
  • the laser light L that has passed through the wavelength conversion element 5 of the preceding set excites the wavelength conversion element 5 'of the subsequent set to emit light.
  • a plurality of wavelength conversion elements 51 and 52 as shown in FIGS. 2 and 3 may be employed instead of the wavelength conversion elements 5 and 5 ′.
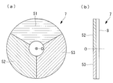
  • the wavelength conversion element 5 is fixedly disposed in the optical path, but instead, a plurality of wavelength conversion elements are alternatively disposed in the optical path. It may be done.
  • a plurality of wavelength conversion elements 51, 52, 53 may be provided on the rotation turret 7.
  • the rotary turret 7 is arranged on the surface of the diffusion plate 8 in the circumferential direction around the central axis O, and the diffusion plate 8 transmits and diffuses light.
  • the plurality of (three in the illustrated example) wavelength conversion elements 51, 52, and 53 that emit light of different colors according to the laser light L are provided.
  • the rotary turret 7 is disposed in the optical path so that the central axis O is parallel to the optical axis X, and is rotated by a drive mechanism (not shown) around the central axis O, thereby turning one wavelength conversion element 51, 52, 53 It is configured to be disposed in the light path.
  • the light source device 30 according to the modified example configured as described above, it is possible to easily switch the color of the output light to be finally generated.
  • the light source device 1 includes the collimating optical systems 4 and 5.
  • the configuration of the light source device is not limited to this, and the light source device 1 may not include the collimating optical system.

Landscapes

  • Physics & Mathematics (AREA)
  • Optics & Photonics (AREA)
  • General Physics & Mathematics (AREA)
  • Engineering & Computer Science (AREA)
  • Condensed Matter Physics & Semiconductors (AREA)
  • Spectroscopy & Molecular Physics (AREA)
  • Multimedia (AREA)
  • Signal Processing (AREA)
  • Astronomy & Astrophysics (AREA)
  • Electromagnetism (AREA)
  • General Engineering & Computer Science (AREA)
  • Projection Apparatus (AREA)
  • Optical Elements Other Than Lenses (AREA)
  • Lenses (AREA)
  • Non-Portable Lighting Devices Or Systems Thereof (AREA)
  • Semiconductor Lasers (AREA)
PCT/JP2013/068214 2012-07-09 2013-07-03 光源装置 Ceased WO2014010478A1 (ja)

Priority Applications (1)

Application Number Priority Date Filing Date Title
US14/567,212 US20150138753A1 (en) 2012-07-09 2014-12-11 Light-source apparatus

Applications Claiming Priority (2)

Application Number Priority Date Filing Date Title
JP2012-153231 2012-07-09
JP2012153231A JP2014017344A (ja) 2012-07-09 2012-07-09 光源装置

Related Child Applications (1)

Application Number Title Priority Date Filing Date
US14/567,212 Continuation US20150138753A1 (en) 2012-07-09 2014-12-11 Light-source apparatus

Publications (1)

Publication Number Publication Date
WO2014010478A1 true WO2014010478A1 (ja) 2014-01-16

Family

ID=49915939

Family Applications (1)

Application Number Title Priority Date Filing Date
PCT/JP2013/068214 Ceased WO2014010478A1 (ja) 2012-07-09 2013-07-03 光源装置

Country Status (3)

Country Link
US (1) US20150138753A1 (enExample)
JP (1) JP2014017344A (enExample)
WO (1) WO2014010478A1 (enExample)

Families Citing this family (3)

* Cited by examiner, † Cited by third party
Publication number Priority date Publication date Assignee Title
JP5684438B1 (ja) * 2013-08-06 2015-03-11 オリンパス株式会社 光源光学系、ファイバ光源、顕微鏡および自動車用前照灯
JP6493739B2 (ja) * 2015-02-12 2019-04-03 カシオ計算機株式会社 光源装置及び投影装置
US10953797B2 (en) * 2018-04-05 2021-03-23 Toyota Motor Engineering & Manufacturing North America, Inc. Cloaking devices with converging lenses and coherent image guides and vehicles comprising the same

Citations (2)

* Cited by examiner, † Cited by third party
Publication number Priority date Publication date Assignee Title
JP2005347263A (ja) * 2004-06-04 2005-12-15 Lumileds Lighting Us Llc 照明装置における離間した波長変換
JP2010515096A (ja) * 2006-12-29 2010-05-06 フィリップス ルミレッズ ライティング カンパニー リミテッド ライアビリティ カンパニー 不要な光をリサイクルするためのカラー選択パネルを含む照明デバイス

Family Cites Families (7)

* Cited by examiner, † Cited by third party
Publication number Priority date Publication date Assignee Title
JP2003084168A (ja) * 2001-09-14 2003-03-19 Asahi Glass Co Ltd 多層膜付レンズおよび光ファイバコリメータ
US7543959B2 (en) * 2005-10-11 2009-06-09 Philips Lumiled Lighting Company, Llc Illumination system with optical concentrator and wavelength converting element
US20070236933A1 (en) * 2006-04-06 2007-10-11 Philips Lumileds Lighting Company Llc Angular dependent element positioned for color tuning
JP2008040042A (ja) * 2006-08-04 2008-02-21 Toyota Central Res & Dev Lab Inc 光学系及び光学装置
US7902560B2 (en) * 2006-12-15 2011-03-08 Koninklijke Philips Electronics N.V. Tunable white point light source using a wavelength converting element
US8567974B2 (en) * 2008-02-27 2013-10-29 Koninklijke Philips N.V. Illumination device with LED and one or more transmissive windows
JP5659775B2 (ja) * 2010-12-17 2015-01-28 セイコーエプソン株式会社 光源装置及びプロジェクター

Patent Citations (2)

* Cited by examiner, † Cited by third party
Publication number Priority date Publication date Assignee Title
JP2005347263A (ja) * 2004-06-04 2005-12-15 Lumileds Lighting Us Llc 照明装置における離間した波長変換
JP2010515096A (ja) * 2006-12-29 2010-05-06 フィリップス ルミレッズ ライティング カンパニー リミテッド ライアビリティ カンパニー 不要な光をリサイクルするためのカラー選択パネルを含む照明デバイス

Also Published As

Publication number Publication date
US20150138753A1 (en) 2015-05-21
JP2014017344A (ja) 2014-01-30

Similar Documents

Publication Publication Date Title
CN105431776B (zh) 具有发光材料轮和激发辐射源的照明装置
KR102088741B1 (ko) 발광 장치 및 프로젝션 시스템
US9677720B2 (en) Lighting device comprising a wavelength conversion arrangement
JP6176642B2 (ja) 発光装置及び関連する光源システム
CN109491187B (zh) 波长转换装置、光源系统及投影设备
CN102455512B (zh) 照明装置及投影装置
US9574745B2 (en) Light source apparatus
CN104613418B (zh) 用于产生波长转换的光的光模块
JP2019532320A (ja) 光源システム及び投影機器
WO2014109333A1 (ja) 波長変換デバイス、照明光学系およびこれを用いた電子装置
TWM552112U (zh) 光源裝置及投影系統
CN102608851A (zh) 光源系统
CN108027118A (zh) 光源装置以及投光装置
CN110471245A (zh) 光源系统、投影设备及照明设备
CN110297384B (zh) 一种用于投影的光源
JP2017215570A (ja) 光源装置およびプロジェクター
EP3104223B1 (en) Laser source for exciting phosphor and light source comprising phosphor
WO2014010478A1 (ja) 光源装置
CN102057214B (zh) 光输出设备和方法
CN115803677A (zh) 光源组件和投影设备
JP2019521392A (ja) 光源及び投影システム
CN109870871A (zh) 光源系统及投影系统
JP6236744B2 (ja) 光源装置、照明光学系及び画像表示装置
JP2012094439A (ja) 照明装置および投影型映像表示装置
JP6771932B2 (ja) 二重光源改良型統合システム

Legal Events

Date Code Title Description
121 Ep: the epo has been informed by wipo that ep was designated in this application

Ref document number: 13817572

Country of ref document: EP

Kind code of ref document: A1

NENP Non-entry into the national phase

Ref country code: DE

122 Ep: pct application non-entry in european phase

Ref document number: 13817572

Country of ref document: EP

Kind code of ref document: A1