WO2013136574A1 - 欠陥検査方法及びその装置 - Google Patents

欠陥検査方法及びその装置 Download PDF

Info

Publication number
WO2013136574A1
WO2013136574A1 PCT/JP2012/077250 JP2012077250W WO2013136574A1 WO 2013136574 A1 WO2013136574 A1 WO 2013136574A1 JP 2012077250 W JP2012077250 W JP 2012077250W WO 2013136574 A1 WO2013136574 A1 WO 2013136574A1
Authority
WO
WIPO (PCT)
Prior art keywords
image
light
sample
sample surface
scattered
Prior art date
Legal status (The legal status is an assumption and is not a legal conclusion. Google has not performed a legal analysis and makes no representation as to the accuracy of the status listed.)
Ceased
Application number
PCT/JP2012/077250
Other languages
English (en)
French (fr)
Japanese (ja)
Inventor
芝田 行広
啓 志村
宇都 幸雄
本田 敏文
Current Assignee (The listed assignees may be inaccurate. Google has not performed a legal analysis and makes no representation or warranty as to the accuracy of the list.)
Hitachi High Tech Corp
Original Assignee
Hitachi High Technologies Corp
Hitachi High Tech Corp
Priority date (The priority date is an assumption and is not a legal conclusion. Google has not performed a legal analysis and makes no representation as to the accuracy of the date listed.)
Filing date
Publication date
Application filed by Hitachi High Technologies Corp, Hitachi High Tech Corp filed Critical Hitachi High Technologies Corp
Priority to US14/377,753 priority Critical patent/US9513228B2/en
Publication of WO2013136574A1 publication Critical patent/WO2013136574A1/ja
Anticipated expiration legal-status Critical
Priority to US15/299,662 priority patent/US9976966B2/en
Ceased legal-status Critical Current

Links

Images

Classifications

    • GPHYSICS
    • G01MEASURING; TESTING
    • G01NINVESTIGATING OR ANALYSING MATERIALS BY DETERMINING THEIR CHEMICAL OR PHYSICAL PROPERTIES
    • G01N21/00Investigating or analysing materials by the use of optical means, i.e. using sub-millimetre waves, infrared, visible or ultraviolet light
    • G01N21/84Systems specially adapted for particular applications
    • G01N21/88Investigating the presence of flaws or contamination
    • G01N21/8806Specially adapted optical and illumination features
    • GPHYSICS
    • G01MEASURING; TESTING
    • G01NINVESTIGATING OR ANALYSING MATERIALS BY DETERMINING THEIR CHEMICAL OR PHYSICAL PROPERTIES
    • G01N21/00Investigating or analysing materials by the use of optical means, i.e. using sub-millimetre waves, infrared, visible or ultraviolet light
    • G01N21/84Systems specially adapted for particular applications
    • G01N21/88Investigating the presence of flaws or contamination
    • G01N21/8851Scan or image signal processing specially adapted therefor, e.g. for scan signal adjustment, for detecting different kinds of defects, for compensating for structures, markings, edges
    • GPHYSICS
    • G01MEASURING; TESTING
    • G01NINVESTIGATING OR ANALYSING MATERIALS BY DETERMINING THEIR CHEMICAL OR PHYSICAL PROPERTIES
    • G01N21/00Investigating or analysing materials by the use of optical means, i.e. using sub-millimetre waves, infrared, visible or ultraviolet light
    • G01N21/84Systems specially adapted for particular applications
    • G01N21/88Investigating the presence of flaws or contamination
    • G01N21/94Investigating contamination, e.g. dust
    • GPHYSICS
    • G01MEASURING; TESTING
    • G01NINVESTIGATING OR ANALYSING MATERIALS BY DETERMINING THEIR CHEMICAL OR PHYSICAL PROPERTIES
    • G01N21/00Investigating or analysing materials by the use of optical means, i.e. using sub-millimetre waves, infrared, visible or ultraviolet light
    • G01N21/84Systems specially adapted for particular applications
    • G01N21/88Investigating the presence of flaws or contamination
    • G01N21/95Investigating the presence of flaws or contamination characterised by the material or shape of the object to be examined
    • G01N21/9501Semiconductor wafers
    • GPHYSICS
    • G01MEASURING; TESTING
    • G01NINVESTIGATING OR ANALYSING MATERIALS BY DETERMINING THEIR CHEMICAL OR PHYSICAL PROPERTIES
    • G01N21/00Investigating or analysing materials by the use of optical means, i.e. using sub-millimetre waves, infrared, visible or ultraviolet light
    • G01N21/84Systems specially adapted for particular applications
    • G01N21/88Investigating the presence of flaws or contamination
    • G01N21/95Investigating the presence of flaws or contamination characterised by the material or shape of the object to be examined
    • G01N21/956Inspecting patterns on the surface of objects
    • GPHYSICS
    • G01MEASURING; TESTING
    • G01NINVESTIGATING OR ANALYSING MATERIALS BY DETERMINING THEIR CHEMICAL OR PHYSICAL PROPERTIES
    • G01N21/00Investigating or analysing materials by the use of optical means, i.e. using sub-millimetre waves, infrared, visible or ultraviolet light
    • G01N21/84Systems specially adapted for particular applications
    • G01N21/88Investigating the presence of flaws or contamination
    • G01N21/95Investigating the presence of flaws or contamination characterised by the material or shape of the object to be examined
    • G01N21/958Inspecting transparent materials or objects, e.g. windscreens
    • GPHYSICS
    • G03PHOTOGRAPHY; CINEMATOGRAPHY; ANALOGOUS TECHNIQUES USING WAVES OTHER THAN OPTICAL WAVES; ELECTROGRAPHY; HOLOGRAPHY
    • G03FPHOTOMECHANICAL PRODUCTION OF TEXTURED OR PATTERNED SURFACES, e.g. FOR PRINTING, FOR PROCESSING OF SEMICONDUCTOR DEVICES; MATERIALS THEREFOR; ORIGINALS THEREFOR; APPARATUS SPECIALLY ADAPTED THEREFOR
    • G03F7/00Photomechanical, e.g. photolithographic, production of textured or patterned surfaces, e.g. printing surfaces; Materials therefor, e.g. comprising photoresists; Apparatus specially adapted therefor
    • G03F7/70Microphotolithographic exposure; Apparatus therefor
    • G03F7/70483Information management; Active and passive control; Testing; Wafer monitoring, e.g. pattern monitoring
    • G03F7/70605Workpiece metrology
    • G03F7/70616Monitoring the printed patterns
    • G03F7/7065Defects, e.g. optical inspection of patterned layer for defects
    • GPHYSICS
    • G01MEASURING; TESTING
    • G01NINVESTIGATING OR ANALYSING MATERIALS BY DETERMINING THEIR CHEMICAL OR PHYSICAL PROPERTIES
    • G01N21/00Investigating or analysing materials by the use of optical means, i.e. using sub-millimetre waves, infrared, visible or ultraviolet light
    • G01N21/84Systems specially adapted for particular applications
    • G01N21/88Investigating the presence of flaws or contamination
    • G01N21/8806Specially adapted optical and illumination features
    • G01N2021/8822Dark field detection
    • GPHYSICS
    • G01MEASURING; TESTING
    • G01NINVESTIGATING OR ANALYSING MATERIALS BY DETERMINING THEIR CHEMICAL OR PHYSICAL PROPERTIES
    • G01N21/00Investigating or analysing materials by the use of optical means, i.e. using sub-millimetre waves, infrared, visible or ultraviolet light
    • G01N21/84Systems specially adapted for particular applications
    • G01N21/88Investigating the presence of flaws or contamination
    • G01N21/8806Specially adapted optical and illumination features
    • G01N2021/8848Polarisation of light
    • GPHYSICS
    • G01MEASURING; TESTING
    • G01NINVESTIGATING OR ANALYSING MATERIALS BY DETERMINING THEIR CHEMICAL OR PHYSICAL PROPERTIES
    • G01N2201/00Features of devices classified in G01N21/00
    • G01N2201/06Illumination; Optics
    • G01N2201/061Sources
    • G01N2201/06113Coherent sources; lasers
    • GPHYSICS
    • G01MEASURING; TESTING
    • G01NINVESTIGATING OR ANALYSING MATERIALS BY DETERMINING THEIR CHEMICAL OR PHYSICAL PROPERTIES
    • G01N2201/00Features of devices classified in G01N21/00
    • G01N2201/06Illumination; Optics
    • G01N2201/068Optics, miscellaneous
    • GPHYSICS
    • G01MEASURING; TESTING
    • G01NINVESTIGATING OR ANALYSING MATERIALS BY DETERMINING THEIR CHEMICAL OR PHYSICAL PROPERTIES
    • G01N2201/00Features of devices classified in G01N21/00
    • G01N2201/06Illumination; Optics
    • G01N2201/069Supply of sources
    • G01N2201/0696Pulsed
    • G01N2201/0697Pulsed lasers
    • GPHYSICS
    • G01MEASURING; TESTING
    • G01NINVESTIGATING OR ANALYSING MATERIALS BY DETERMINING THEIR CHEMICAL OR PHYSICAL PROPERTIES
    • G01N2201/00Features of devices classified in G01N21/00
    • G01N2201/12Circuits of general importance; Signal processing

Definitions

  • the present invention relates to a defect inspection apparatus that optically inspects fine pattern defects and foreign matters formed on a sample through a thin film process typified by a semiconductor manufacturing process and a flat panel display manufacturing process, and particularly fine defects.
  • the present invention relates to a defect inspection method and an apparatus having an illumination optical system suitable for detecting an object and foreign matter.
  • Patent Document 1 As a conventional semiconductor wafer inspection apparatus, there is International Publication WO1999 / 006823 (Patent Document 1). This patent describes a method of linearly illuminating a laser beam on a wafer. As for the illumination method, a technique is described in which the main surfaces of cylindrical lenses and mirrors are arranged parallel to the wafer to illuminate the wafer in an elongated line shape.
  • Patent Document 2 also describes a system for linearly illuminating the wafer. This describes a technique for condensing laser light on a diffraction grating and forming an oblique image of the collected image on a wafer.
  • the number of layers in the multilayer structure, the wiring material for each layer, the pattern width and shape, and the pattern are formed according to the type (memory product, logic product) and the generation of the wiring node.
  • the processing steps to be performed are different. For this reason, there are a wide variety of defects to be detected. Typical examples of defects are shorts and opens in the same layer or different layers (interlayer wiring).
  • the parameters for optimizing illumination conditions in an apparatus using a laser as a light source include the incident angle, direction, polarization, and line width of illumination. It is desirable that the line width be finer, and for other incident angles, azimuths, and polarized light, the conditions for making a defect image appear different depending on the above-described defect type. For this reason, it is desirable to set illumination conditions corresponding to defects to be detected for each wafer manufacturing process.
  • Patent Document 1 describes that a cylindrical lens or a cylindrical mirror is arranged to collect and illuminate the wafer.
  • the width of the condensing illumination is set to a fine range of 1 to 2 ⁇ m or less, it is necessary to sufficiently suppress the wavefront aberration at the condensing illumination position. Therefore, the curvature and thickness of the cylindrical lens and the mirror have a specific incident angle, It is necessary to correspond to the direction. For this reason, for example, in order to change the incident angle to 60 degrees and 70 degrees according to the inspection object, it is necessary to include a cylindrical lens and a mirror corresponding to each incident angle and to have a replaceable structure. .
  • Patent Document 2 also does not describe means for changing the illumination incident angle or direction.
  • the present invention solves the problems of the prior art, makes it easy to change the incident angle of illumination light having a narrow illumination width according to the object to be inspected, and enables illumination light to be effectively irradiated to the illumination area. It is an object of the present invention to provide an illumination method capable of increasing the brightness and a defect inspection apparatus using the illumination method.
  • the defect inspection apparatus includes a table unit for placing a sample to be inspected, and an illumination optical system unit for illuminating the sample placed on the table unit from an oblique direction.
  • the detection optical system means for collecting the scattered light generated from the sample irradiated with the illumination light obliquely by the illumination optical system means and detecting the image of the sample surface by the scattered light, and the detection optical system means Controls the image processing means that extracts the sample surface defect candidates by processing the signal obtained by detecting the image of the sample surface by the scattered light, the table means, the illumination optical system means, the detection optical system means, and the image processing means.
  • the illumination optical system means has a light source, a cylindrical lens, and a relay lens, and condenses the light emitted from the light source into a linear shape by the cylindrical lens to form a condensed image. And this collection And to illuminate a linear region of the sample surface by forming an image by projecting obliquely on the mounting surface of the sample table means by the relay lens onto the surface of the sample.
  • illumination light is irradiated obliquely onto a sample placed on a table that is continuously moving in one direction, and the illumination light is irradiated obliquely.
  • Scattered light generated from the collected sample is collected and the sample surface image is detected by the scattered light, and the sample surface image detected by the scattered light is processed to extract the defect candidates on the sample surface.
  • the sample is irradiated with illumination light from an oblique direction
  • the light emitted from the light source is condensed into a linear shape to form a condensed image, and this condensed image is continuously in one direction.
  • the linear region of the sample surface was illuminated by projecting obliquely onto the surface of the sample placed on the moving table and forming an image on the surface of the sample.
  • the illumination line width can be reduced to 1 to 2 ⁇ m or less, and the incident angle, orientation, and polarization of the illumination light can be adjusted for each defect to be inspected.
  • the inspection sensitivity can be expected to improve due to the manifestation of the image.
  • FIG. 1 It is a block diagram which shows the structure of the outline of the defect inspection apparatus in Example 1.
  • FIG. It is a block diagram which shows the structure of the beam irradiation part at the time of using the diffraction grating with a comparatively narrow photon pitch in the beam irradiation part in Example 1.
  • FIG. It is a block diagram which shows the structure of the beam irradiation part at the time of using the diffraction grating with comparatively wide photon pitch in the beam irradiation part in Example 1.
  • FIG. 1 The perspective view of the beam irradiator showing the concept of changing the illumination incident angle and azimuth by in-plane rotation of the diffraction grating when the condensed image by the cylindrical lens is formed on the grating surface of the diffraction grating in the beam irradiator in the first embodiment.
  • FIG. 1 The perspective view of the beam irradiation part which shows the concept of the illumination incident angle and azimuth
  • FIG. 1 It is a perspective view which shows the structure of the beam irradiation part at the time of using the reflection type diffraction grating as a diffraction grating in the beam irradiation part in Example 1.
  • FIG. It is a block diagram which shows the structure of the outline of the defect inspection apparatus in Example 2.
  • FIG. It is a block diagram which shows the structure of the beam irradiation part at the time of setting the incident angle of the illumination light to a wafer to (theta) 3 in the beam irradiation part in Example 2.
  • FIG. 10 is a block diagram illustrating a configuration of a beam irradiation unit in which a slit for transmitting a condensed image is provided at a position where a condensed image is formed by a cylindrical lens, in a first modification of the beam irradiation unit according to the second embodiment. . It is a front view of a slit board. It is a side view of a slit board.
  • FIG. 1 shows the configuration of the defect inspection apparatus 1000.
  • the defect inspection apparatus 1000 is capable of placing a semiconductor wafer (hereinafter referred to as a wafer) 1 having a circuit pattern formed on the surface to be inspected and moving it in the XY plane and in the height direction (Z direction).
  • Stage unit 1300 illumination optical system 1100 for irradiating illumination light onto wafer 1 placed on stage unit 1300, detection optical system 1200 for detecting scattered light from wafer 1 irradiated with illumination light, and detection optical system 1200
  • the image processing unit 1400 that processes the scattered light detection signal output from the wafer 1, the mechanism control unit 1500 that controls the movement of the illumination optical system 1100, the detection optical system 1200, and the mechanism unit of the stage unit 1300, and the image processing unit 1400.
  • System control unit 1600 that controls the mechanism control unit 1500, a storage unit 1610 that stores inspection results and inspection conditions, and the like. Configured with a display unit 1620 provided with a screen for displaying to display the results.
  • the illumination optical system 1100 includes a laser light source 10, a beam expander 12 for expanding the beam diameter of the laser emitted from the laser light source 10, and an anamorph that expands the laser beam expanded by the beam expander 12 in a specific direction.
  • the mirror 15 which reflects the laser beam emitted from the Fick prism 14 and the anamorphic prism 14 to change the optical path, and the laser beam whose optical path has been changed by the mirror 15 is obliquely applied to the wafer 1 placed on the stage unit 1300 from the oblique direction. 1 is provided with a beam irradiation unit 1110 for irradiating an elongated region (linear region) 35 on one. The configuration of the beam irradiation unit 1110 will be described later.
  • the stage unit 1300 has a chuck 2 that sucks and holds the wafer 1, a Z stage 3 that is mounted with the chuck 2 and can move in the height direction (Z direction), and a Z stage 3 that is mounted in the X direction on the plane.
  • a movable X stage 5 and a base plate 8 on which the X stage 5 is mounted and the Y stage 7 which can move in the Y direction within a plane are mounted.
  • the stage unit 1300 further includes position sensors that detect the positions of the Z stage 3, the X stage 5, and the Y stage 7, which are not shown.
  • the detection optical system 1200 captures the light scattered above the wafer 1 out of the scattered light generated from the region 35 of the wafer 1 held by the chuck 2 of the stage unit 1300 and illuminated by the illumination optical system 1100.
  • the objective lens 40 that collects light and the spatial filter 42 that shields strong diffracted light generated by scattered light from a fine repetitive pattern formed on the wafer 1 out of scattered light from the wafer 1 captured by the objective lens 40.
  • a polarizing filter 44 that transmits only specific polarized light out of the scattered light from the wafer 1 that has been transmitted through the spatial filter 42 without being shielded by the spatial filter 42, and an imaging lens that forms an image of the specific polarized light transmitted through the polarizing filter 44.
  • an image sensor 50 that detects an image of scattered light imaged by the imaging lens 45 is provided.
  • the image processing unit 1400 amplifies the detection signal (analog) output from the image sensor 50 and converts it into a digital signal (A / D conversion), and processes the A / D converted signal.
  • the surface defect of the semiconductor wafer 1 on which the circuit pattern is formed is inspected as follows.
  • the semiconductor wafer 1 to be inspected is attracted to the chuck 2, and the chuck 2 is mounted on the Z stage 3, X stage 5, and Y stage 7. The entire surface of the wafer 1 is inspected by horizontal movement by the X stage 5 and the Y stage 7.
  • the laser light source 10 of the illumination optical system 1100 may be a type that outputs a continuous wave laser or a type that outputs a pulsed laser.
  • Candidates for the laser light source 10 include wavelengths of 532 nm, 355 nm, and 266 nm, and gas lasers of 248 nm (KrF), 193 nm (ArF), and 157 nm (F2).
  • the laser light 11 oscillated by the laser light source 10 is expanded to a predetermined beam diameter by the beam expander 12, and only a specific direction is expanded by the anamorphic prism 14 to become an elliptical light beam.
  • the specific direction is a direction in which light is collected on the wafer 1.
  • the laser 11 formed into an elliptical light beam is reflected by the plane mirrors 15 and 16 and enters the beam irradiation unit 1110.
  • the elliptical laser beam incident on the beam irradiation unit 1110 enters the cylindrical lens 20 and is condensed on the transmission diffraction grating 25 as a long and narrow beam condensed in one direction. To do.
  • the incident angle of the laser 11 emitted from the cylindrical lens 20 and incident on the transmissive diffraction grating 25 may be either an incident angle of 0 degrees or an oblique incidence for vertical illumination.
  • the relay lens 30 is a bilateral telecentric relay lens. The illumination light applied to the linear region 35 on the wafer 1 becomes longer in the X direction.
  • the transmission light is transmitted.
  • the elongated light beam shape condensed on the surface of the diffraction grating 25 is projected onto the linear region 35 on the wafer 1, and the wafer 1 can be linearly condensed and illuminated.
  • the angle at which the optical laser 11 transmitted through the cylindrical lens 20 enters the transmission diffraction grating 25 is desirably set to an incident angle at which the diffraction efficiency of the specific high-order diffracted light 28 used for illumination is increased. Further, the number of gratings (or grating pitch) per unit length of the transmissive diffraction grating 25 is equal to the angle at which higher-order diffracted light travels from the normal line of the diffraction grating to the wafer 1 when the magnification of the relay lens 30 is equal.
  • the incident angles may be set so as to coincide with each other.
  • the diffraction efficiency of a diffraction grating changes depending on the polarization.
  • the polarized light incident on the transmissive diffraction grating 25 may be either S-polarized light or P-polarized light.
  • the P or S polarization adjusted so as to maximize the diffraction efficiency is defined as the incident polarization to the diffraction grating.
  • a half-wave plate, a quarter-wave plate, or a combination thereof is provided between the lenses 31 and 33 constituting the relay lens 30 disposed between the transmissive diffraction grating 25 and the wafer 1.
  • a wavelength plate 32 that can be rotated independently is incorporated. Further, by making the grating pitch of the diffraction grating 25 as fine as the resolution of the relay lens 30 or more, the periodicity of the transmission diffraction grating 25 generated in the illumination light irradiated on the linear region 35 on the wafer 1 is improved. Light and darkness due to the structure can be reduced.
  • the detection optical system 1200 In the detection optical system 1200, light scattered above the wafer 1 out of light scattered by a pattern or a defect formed in the linear region 35 of the wafer 1 by illumination light irradiated on the linear region 35 on the wafer 1. Is captured by the objective lens 40, and the diffracted light from the normal pattern is shielded by the light shielding pattern formed on the spatial filter 42 arranged on the Fourier transform plane of the objective lens 40. Of the light transmitted through the spatial filter 42, light having a specific polarization component is transmitted through the polarization filter 44, and a dark field image of the wafer 1 is formed on the image sensor 50 by the imaging lens 45.
  • CMOS Complementary Metal-Oxide Semiconductor
  • images are continuously detected while the Y stage 7 is scanned at a constant speed. It is a one-dimensional image sensor.
  • This one-dimensional image sensor 50 may be a multiple line sensor such as a TDI (Time Delay Integration) sensor or a dual line sensor.
  • the analog signal output from the image sensor 50 that has detected the dark field image of the wafer 1 is amplified by the A / D conversion unit 1401 and converted into a digital signal (A / D conversion), and the A / D conversion is performed.
  • the converted digital signal is input to the signal processing unit 1402 and subjected to image processing to obtain a digital image.
  • This digital image is sent to the defect detection unit 1403, and defect candidates are extracted by image processing such as die comparison and cell comparison, and the image feature amount of the extracted defect candidates is calculated.
  • the defect candidate position information and image feature amount information are sent to the system control unit 1600.
  • the system control unit 1600 displays a GUI (Graphical User Interface) with a user who instructs the defect inspection apparatus 1000 on the screen of the display unit 1620, and information on defects that the user wants to detect via the GUI.
  • the past inspection history and inspection recipe stored in the storage unit 1610 can be browsed.
  • Information sent from the image processing unit 1400 is stored in the storage unit 1610.
  • Each mechanism operates via the mechanism control unit 1500 in accordance with a command instructed by the user via the GUI displayed on the display unit 1620.
  • the controlled mechanism includes ON / OFF of the laser light source 10 of the illumination optical system 1100, the magnification of the beam expander 12, the exchange of the transmission diffraction grating 25, the rotation angle of the wave plate unit 32, and the space of the detection optical system 1200.
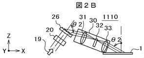
  • FIG. 2A and 2B show an outline of changing the illumination incident angle on the wafer 1 by switching the transmission diffraction gratings 25 and 26 by a switching mechanism (not shown) in the beam irradiation unit 1110.
  • a laser 19 having an elliptical cross section is incident on a cylindrical lens 20, and the laser 19 transmitted through the cylindrical lens 20 is linearly focused on a transmission diffraction grating 25.
  • the angle of the normal of the high-order diffracted light used for illumination by diffracting to the relay lens 30 side and the transmissive diffraction grating 25 is ⁇ 1.
  • the condensing image of the laser 19 condensed linearly on the transmissive diffraction grating 25 by the equal-magnification relay system 30 is incident on the wafer 1 from an oblique direction at an incident angle ⁇ 1, and the linear region 35 on the wafer 1 is incident. Is imaged (obliquely projected).
  • FIG. 2B shows a configuration in which the incident angle on the wafer 1 is made smaller than that in FIG. 2A.
  • the laser beam 19, the cylindrical lens 20, the relay lens 30, and the wafer 1 are arranged in the same manner as in FIG. 2A, and the transmissive diffraction grating 25 used in FIG. 2A is changed to a transmissive diffraction grating 26 having a larger grating pitch.
  • the transmission type diffraction grating 26 shown in FIG. 2B has a smaller number of gratings (a larger pitch between the gratings) than the transmission type diffraction grating 26 shown in FIG. 2A, and the diffraction angle ⁇ becomes smaller.
  • the angle ⁇ 2 formed between the higher-order diffracted light and the normal line of the diffraction grating 26 becomes smaller than ⁇ 1.
  • the condensing image of the laser 19 linearly condensed by the cylindrical lens 20 is formed on the linear region 35 on the wafer 1, so that the cylindrical lens 20 has a narrow width of 1 to 2 ⁇ m or less.
  • the width of the linear region 35 formed on the wafer 1 can be reduced to 1 to 2 ⁇ m or less regardless of the incident angle of the illumination light on the wafer 1.
  • high-order diffracted light from the transmission type diffraction grating onto the wafer 1 can be changed without changing the position of the illumination optical system 1100 or the beam irradiation unit 1110.
  • the incident angle can be changed.
  • FIG. 3 shows a means for changing the illumination elevation angle and direction of the wafer 1.
  • Laser light 19 incident on the cylindrical lens 20 is parallel light whose cross-sectional shape in a plane perpendicular to the optical axis is shaped into an ellipse 18 by the anamorphic prism 14, and is linearly formed on the transmission diffraction grating 25 by the cylindrical lens 20.
  • the light is condensed 27.
  • the higher-order diffracted light 28 is incident on the relay lens 30, and the lenses 31 and 33 constituting the relay lens 30 are placed on the transmission diffraction grating 25 on the wafer 1.
  • An image of the illumination light 27 condensed in a linear shape is formed at an equal magnification.
  • the transmission diffraction grating 27 can be rotated about the grating normal 70 as the center of rotation by using a rotation driving means (not shown) as indicated by an arrow 75 to change the diffraction direction of the high-order diffracted light 28. It is.
  • the illumination direction of the area 35 where the illumination light on the wafer 1 is illuminated can be controlled within the range of NA of the lenses 31 and 33 constituting the relay lens 30.
  • FIGS. 1 to 3 the configuration in which the laser beam incident on the cylindrical lens 20 is focused near the grating surface of the transmissive diffraction grating 27 has been described.
  • FIG. 4 even if the linear condensing position 27 by the cylindrical lens 20 and the transmission diffraction grating 25 are separated by more than the focal depth of the cylindrical lens 20, the imaging relationship between the condensing position 27 and the wafer 1 is the same. If maintained, it is possible to obliquely form a linear condensed image on the wafer 1.
  • FIG. 1 to 4 illustrate an example in which a transmissive diffraction grating 25 is used as a diffraction grating, an example in which a reflective diffraction grating 29 is used instead of the transmissive diffraction grating 25 is shown in FIG.
  • the cylindrical lens 20 is arranged on the side of the reflective diffraction grating 29 on which the diffraction grating is formed, and the mirror 16 in the configuration shown in FIG. 1 is not used and the anamorphic prism 14 is used.
  • the laser light 19 that has been elliptically shaped and reflected by the mirror 15 is incident on the cylindrical lens 20, and is linearly condensed 27 near the reflective diffraction grating 29.
  • a condensed image obtained by condensing high-order diffracted light used for illumination in the vicinity of the reflective diffraction grating 29 by lenses 31 and 33 constituting an equal-magnification relay system of the relay lens 30 is formed on a linear region 35 on the wafer 1. In this configuration, oblique imaging is performed.
  • FIG. 6 shows a defect inspection apparatus 2000 including an illumination optical system 2100 that obliquely illuminates the wafer 1 without using the transmission type diffraction gratings 25 and 26 or the reflection type diffraction grating 29 as described in the first embodiment.
  • a schematic configuration is shown.
  • the laser light 11 oscillated by the laser light source 10 is expanded to a predetermined beam diameter by the beam expander 12, and only a specific direction is expanded by the anamorphic prism 14 to form an elliptical light beam.
  • the specific direction is a direction in which light is collected on the wafer 1.
  • the laser 19 formed into an elliptical light beam is reflected by the plane mirrors 15 and 16 and enters the beam irradiation unit 2110.
  • the elliptical light beam laser 19 incident on the beam irradiation unit 2110 is incident on a cylindrical lens 20 arranged as shown in FIG.
  • the laser 19 transmitted through the cylindrical lens 20 forms a linear condensed image 92 (intermediate image) as an elongated light beam condensed in one direction.
  • a linear condensed image 92 intermediate image
  • the convex surface of the cylindrical lens 20 be aspherical.
  • the light that forms the condensing portion image 92 is incident on the relay lens 100 having the lenses 31 and 33 and having the zoom function, and the image of the linear condensing portion 92 is obliquely applied to the linear region 35 on the wafer 1.
  • a side image 35 is formed.
  • the linear region 35 on the wafer 1 is a long region in the X direction and a thin region in the Y direction. Although the linear region 35 irradiated with the illumination light on the wafer 1 is elongated in the X direction, by setting the relay lens 30 so that the surface of the wafer 1 and the linear light collecting 35 are in a conjugate relationship, A linear condensed image 92 formed by the cylindrical lens 20 can be projected and illuminated on a linear region 35 on the wafer 1.
  • the incident angle of the condensed illumination light applied to the linear region 35 on the wafer 1 from the relay lens 100 is increased, the incident angle of the laser 19 that is reflected by the plane mirror 16 and enters the cylindrical lens 20. Also grows.
  • either S-polarized light or P-polarized light is selected as the polarized light of the laser 19 incident on the cylindrical lens 20 and formed on the surface of the cylindrical lens 20. It is necessary to optimize the antireflection film (not shown).
  • the polarized light that suppresses the surface reflection is incident polarized light to the cylindrical lens 20 on which an antireflection film (not shown) is formed.
  • the relay lens 30 is configured to incorporate a wave plate 32 that can be rotated independently of each other and is composed of a half-wave plate, a quarter-wave plate, or a combination thereof.
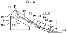
  • 7A and 7B show a means for changing the elevation angle (illumination elevation angle) of the illumination light incident on the wafer 1.
  • the plane mirror 16 and the cylindrical lens 20 constitute a condensing unit 95, and this unit has an integral structure.
  • 7A shows a case where the incident angle ⁇ 3 to the wafer 1 is large
  • FIG. 7B shows a case where the incident angle ⁇ 4 is small.
  • the condensing unit 95 composed of the plane mirror 16 and the cylindrical lens 20 is mounted on a goniometer 90.
  • the elliptical light beam 19 reflected by the flat mirror 15 and incident on the condensing unit 95 is reflected by the flat mirror 16, enters the cylindrical lens 20, and the elliptical light beam 19 emitted from the cylindrical lens 20 collects in one direction. It is illuminated to form a linear collection 92.
  • the goniometer 90 is configured to be able to rotate the condensing unit 95 around the intersection 94 of the optical axis of the elliptical light beam 19 emitted from the linear condensing unit 92 and the cylindrical lens 20.
  • the light that forms the linear condensing image 92 is incident on the relay lens 100 having a zoom function, and the entire surface of the linear condensing 92 and the surface of the wafer 1 are in a conjugate relationship.
  • the region 35 is irradiated.
  • the linear condensing image 93 when the condensing unit 95 rotates (counterclockwise on the paper surface), the linear condensing image 93 also rotates. At this time, the light rays forming the linear condensing 93 are inclined in the direction in which the angle formed with the Z-axis is increased. As a result, the light transmitted through the zoom lens 100 has a small incident angle ⁇ 4 on the wafer 1.
  • the linear condensed image 93 and the wafer 1 are out of the conjugate relationship with the magnification of the relay lens 100 having the zoom function of FIG.
  • the magnification at which the image of the linear condensed image 93 is projected onto the wafer 1 is adjusted in the reduction direction with respect to FIG. 7A by the relay lens 100 (not shown in the configuration for realizing the zoom function).
  • the linear condensed image 93 and the wafer 1 can be in a conjugate relationship.
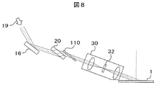
  • FIG. 8 shows a configuration in which a thin line shape is mechanically formed and obliquely projected onto the wafer 1 as a first modification of the second embodiment.
  • the configuration of the optical system is the same as that shown in FIG. 6, and a slit plate 110 having a linear opening 113 formed at a linear condensing position by the cylindrical lens 20 is disposed. An image of the opening 113 of the slit plate 110 is obliquely projected onto the wafer 1 by the relay lens 30. Thereby, the fluctuation
  • the structure of the slit plate 110 is shown in a front view in FIG. 9A and a side view in FIG. 9B.
  • the substrate 111 of the slit plate 110 is made of synthetic quartz that transmits ultraviolet light.
  • a reflection film, an absorption film, or the like is formed on the light shielding portion 112, and the slit-shaped opening 113 (width W, length L) is formed. This film is missing.
  • Examples of the reflection film formed on the light shielding portion 112 include a dielectric multilayer film and a metal film such as aluminum, and chromium oxide is a candidate for the absorption film. Since the opening width W of the opening 113 shown in FIG. 9A is 2 to 1 ⁇ m or less, an opening pattern can be formed by photolithography and etching.
  • FIG. 10 shows, as a second modification of the second embodiment, a means for forming a linear condensed image 92 projected onto the wafer 1 by the relay lens 30 and the relay lens 100 having a zoom function.
  • the elliptically shaped parallel light 19 is incident on the concave cylindrical mirror 120, and the reflected light is incident on the convex cylindrical lens 125 to form a linear condensed image 92.
  • the convex radius of the convex cylindrical lens 125 substantially halved with respect to the radius of the reflecting surface of the concave cylindrical mirror 120, the light beam in the direction orthogonal to the incident surfaces of the cylindrical mirror 120 and the cylindrical lens 125 is one point on the wafer. Can be collected. For this reason, the longitudinal direction of the linear condensed image 92 does not spread more than necessary, and it is possible to suppress a decrease in illumination efficiency.
  • At least one of the concave surface of the cylindrical mirror 120 and the convex surface of the cylindrical lens 125 is aspherical, thereby reducing aberration at the position where a linear condensed image is formed, and a finer condensing width.
  • the flat mirror 15 in FIG. 6 is made aspherical, or one side of a parallel plate (not shown) is made aspherical.
  • FIG. 11A the same components as those in FIG. 1 described in the first embodiment are denoted by the same reference numerals as those in FIG.
  • the surface inspection apparatus shown in FIG. 11A includes an illumination optical system 1100, a detection optical system 3200, a stage unit 3300, an image processing unit 3400, a mechanism control unit 3500, an overall control unit 3600, a storage unit 3610, and a display unit 3620. .
  • the illumination optical system 1100 is the same as the configuration described in the first embodiment, and the image of the illumination light condensed linearly on the surface of the transmissive diffraction grating 25 by the cylindrical lens 20 is applied to the relay lens 30. The image is projected obliquely onto the linear region 3035 on the surface of the wafer 3001 through the image.
  • Scattered light generated from the linear region 3035 on the surface of the wafer 3001 on which the image of the illumination light collected in a linear shape is obliquely projected is detected by the detection optical system 3200.
  • the wafer 3001 is attracted to the chuck 3302 of the stage unit 3300, and the ⁇ stage 3303 that can rotate the chuck 3302 and the X stage 3304 that can move in the X direction by mounting the ⁇ stage 3303 and the base plate 3305 that mounts the X stage 3304 are mounted.
  • the stage unit 3300 includes a sensor for detecting the rotation angle of the ⁇ stage 3303 and a sensor for detecting the position of the X stage, which are not shown.
  • the wafer 3001 is attracted to the chuck 3302 and rotated on the ⁇ stage 3303 while the X stage 3304 moves at a constant speed in the X direction.
  • An oblique projection is performed on the area 3035.
  • the detection optical system 3200 detects low-angle scattered light detection optical systems 3210 and 3240 for detecting scattered light scattered in a low-angle direction when viewed from the surface of the wafer 3001 among scattered light generated from the linear region 3035 on the surface of the wafer 3001.
  • High angle scattered light detection optical systems 3220 and 3230 for detecting scattered light scattered in a high angle direction when viewed from the surface of the wafer 3001 are provided.
  • the low angle detection optical system 3210 has an objective lens that collects light scattered in the direction of the low angle detection optical system 3210 out of scattered light generated from the linear region 3035 on the surface of the wafer 3001. 3211, an image forming lens 3212 that forms an image of scattered light in the linear region 3035 on the surface of the wafer 3001 by the scattered light collected by the objective lens 3211, and scattered light from the linear region 3035 formed by the imaging lens 3212.
  • 3211 an image forming lens 3212 that forms an image of scattered light in the linear region 3035 on the surface of the wafer 3001 by the scattered light collected by the objective lens 3211, and scattered light from the linear region 3035 formed by the imaging lens 3212.
  • a one-dimensional sensor 3213 for detecting the image
  • a lens barrel 3214 for covering the whole.
  • the low angle detection optical system 3240 and the high angle scattered light detection optical systems 3220 and 3230 also have the same configuration.
  • An analog signal obtained by detecting an image of scattered light generated from the linear region 3035 on the surface of the wafer 3001 by the low angle scattered light detection optical systems 3210 and 3240 and the high angle scattered light detection optical systems 3220 and 3230, respectively, is an image processing unit. After being input to the A / D converter 3401 of 3400 and amplified, it is converted into a digital signal (A / D conversion). Each A / D converted signal is processed by a signal processing unit 3402 to obtain an image signal. Each image signal is processed by a defect detection unit 3403 to detect a defect candidate on the wafer 3001 and detect this. The positional information of the defect candidate on the wafer 3001 and the feature quantity such as the size and length, the brightness of the image, and the like are extracted.
  • the position information and feature amount information of the detected defect candidates are sent to the system control unit 3600. Since the processing in the system control unit 3600 and the function of the mechanism control unit 3500 are the same as the processing in the system control unit 1600 described in the first embodiment and the function of the mechanism control unit 1500, description thereof is omitted.
  • the focused image of the laser 19 focused linearly by the cylindrical lens 20 of the illumination optical system 1100 is formed on the linear region 3035 on the wafer 1.
  • the width of the linear region 35 formed on the wafer 1 is 1 to 2 ⁇ m, regardless of the incident angle of the illumination light to the wafer 1. It can be made thinner than that.
  • the imaging area can be efficiently irradiated. As a result, it is possible to improve the illumination brightness of the linear region where the line width irradiated with the illumination light on the wafer 1 is thin, and it is possible to perform inspection with higher sensitivity.
  • FIG. 12 shows an example in which the illumination optical system described in the second embodiment is applied to a surface inspection apparatus 4000 that detects surface defects on a wafer (bare wafer) 3001 on which no pattern is formed or foreign matter attached to the surface. It explains using. 12 that are the same as the configuration of FIG. 6 described in the second embodiment or the configuration of FIG. 11A described in the third embodiment are denoted by the same reference numerals as in FIG.
  • the surface inspection apparatus shown in FIG. 12 includes an illumination optical system 2100, a detection optical system 3200, a stage unit 3300, an image processing unit 4400, a mechanism control unit 4500, an overall control unit 4600, a storage unit 4610, and a display unit 4620. .
  • the illumination optical system 2100 is the same as the configuration described in the second embodiment, and the illumination light image 92 condensed linearly by the cylindrical lens 20 is reflected on the surface of the wafer 3001 via the relay lens 30. An image is formed by oblique projection onto the linear region 3035.
  • the plane mirror 16 and the cylindrical lens 20 of the illumination optical system 2100 are formed with an image 92 of illumination light condensed linearly by the cylindrical lens 20 and have a dominant position as the center of rotation.
  • the display is omitted in FIG.
  • Scattered light generated from the linear region 3035 on the surface of the wafer 3001 on which the image of the illumination light collected in a linear shape is obliquely projected is detected by the detection optical system 3200.
  • the present invention is not limited to the above-described embodiments, and includes various modifications.

Landscapes

  • Physics & Mathematics (AREA)
  • General Physics & Mathematics (AREA)
  • Chemical & Material Sciences (AREA)
  • Health & Medical Sciences (AREA)
  • Life Sciences & Earth Sciences (AREA)
  • Analytical Chemistry (AREA)
  • Biochemistry (AREA)
  • General Health & Medical Sciences (AREA)
  • Immunology (AREA)
  • Pathology (AREA)
  • Signal Processing (AREA)
  • Engineering & Computer Science (AREA)
  • Computer Vision & Pattern Recognition (AREA)
  • Investigating Materials By The Use Of Optical Means Adapted For Particular Applications (AREA)
PCT/JP2012/077250 2012-03-13 2012-10-22 欠陥検査方法及びその装置 Ceased WO2013136574A1 (ja)

Priority Applications (2)

Application Number Priority Date Filing Date Title
US14/377,753 US9513228B2 (en) 2012-03-13 2012-10-22 Defect inspection method and its device
US15/299,662 US9976966B2 (en) 2012-03-13 2016-10-21 Defect inspection method and its device

Applications Claiming Priority (2)

Application Number Priority Date Filing Date Title
JP2012055362A JP5865738B2 (ja) 2012-03-13 2012-03-13 欠陥検査方法及びその装置
JP2012-055362 2012-03-13

Related Child Applications (2)

Application Number Title Priority Date Filing Date
US14/377,753 A-371-Of-International US9513228B2 (en) 2012-03-13 2012-10-22 Defect inspection method and its device
US15/299,662 Continuation US9976966B2 (en) 2012-03-13 2016-10-21 Defect inspection method and its device

Publications (1)

Publication Number Publication Date
WO2013136574A1 true WO2013136574A1 (ja) 2013-09-19

Family

ID=49160528

Family Applications (1)

Application Number Title Priority Date Filing Date
PCT/JP2012/077250 Ceased WO2013136574A1 (ja) 2012-03-13 2012-10-22 欠陥検査方法及びその装置

Country Status (3)

Country Link
US (2) US9513228B2 (enExample)
JP (1) JP5865738B2 (enExample)
WO (1) WO2013136574A1 (enExample)

Cited By (2)

* Cited by examiner, † Cited by third party
Publication number Priority date Publication date Assignee Title
CN105572039A (zh) * 2014-08-07 2016-05-11 由田新技股份有限公司 光源设备
WO2021205650A1 (ja) * 2020-04-10 2021-10-14 株式会社日立ハイテク 照明光学系および基板検査装置

Families Citing this family (16)

* Cited by examiner, † Cited by third party
Publication number Priority date Publication date Assignee Title
CN104034508B (zh) * 2013-03-08 2017-01-11 佳能株式会社 光学检查设备和光学检查系统
ITMI20130692A1 (it) * 2013-04-26 2014-10-27 Copan Italia Spa Dispositivo e procedimento per il processamento automatico di piastre di coltura per campioni microbiologici
US10444160B2 (en) 2014-09-18 2019-10-15 Zhejiang University Surface defects evaluation system and method for spherical optical components
US9915524B2 (en) * 2015-05-11 2018-03-13 Kla-Tencor Corporation Optical metrology with small illumination spot size
US10482551B2 (en) * 2015-08-10 2019-11-19 Google Llc Systems and methods of automatically estimating restaurant wait times using wearable devices
US10444162B2 (en) 2017-04-03 2019-10-15 Samsung Electronics Co., Ltd. Method of testing an object and apparatus for performing the same
US10429315B2 (en) 2017-07-18 2019-10-01 Samsung Electronics Co., Ltd. Imaging apparatus and imaging method
JP2019090625A (ja) * 2017-11-10 2019-06-13 ミツミ電機株式会社 測距カメラ
KR102632562B1 (ko) 2018-08-22 2024-02-02 삼성전자주식회사 Si 기반 검사 장치와 검사 방법, 및 그 검사 방법을 포함한 반도체 소자 제조방법
JP6639746B1 (ja) * 2019-01-08 2020-02-05 三菱電機株式会社 レーザ増幅器
US11112691B2 (en) 2019-01-16 2021-09-07 Kla Corporation Inspection system with non-circular pupil
KR102840033B1 (ko) * 2020-09-04 2025-07-29 삼성전자주식회사 멀티 스케일의 스펙트럼 이미징 장치 및 방법, 및 그 방법을 이용한 반도체 소자 제조방법
KR102260167B1 (ko) * 2020-09-29 2021-06-03 케이맥(주) 디스플레이 패널의 다층 경계면 불량 검사 시스템 및 방법
DE102021201690A1 (de) 2021-02-23 2022-08-25 Carl Zeiss Smt Gmbh Optisches System, insbesondere für die EUV-Lithographie
WO2022215179A1 (ja) * 2021-04-06 2022-10-13 株式会社日立ハイテク 表面検査装置および形状計測ソフトウェア
CN114280080A (zh) * 2021-12-10 2022-04-05 华虹半导体(无锡)有限公司 一种透明薄片状缺陷的检测方法

Citations (6)

* Cited by examiner, † Cited by third party
Publication number Priority date Publication date Assignee Title
JPH07209200A (ja) * 1994-01-13 1995-08-11 Canon Inc 検査装置及びそれを用いた半導体デバイスの製造方法
JPH09269295A (ja) * 1996-04-02 1997-10-14 Nikon Corp 異物検査装置
JPH10123060A (ja) * 1996-10-17 1998-05-15 Olympus Optical Co Ltd 欠陥検査装置
JP2000311926A (ja) * 1993-03-09 2000-11-07 Hitachi Ltd 半導体デバイスの生産方法
JP2008275540A (ja) * 2007-05-02 2008-11-13 Hitachi High-Technologies Corp パターン欠陥検査装置および方法
JP2012032252A (ja) * 2010-07-30 2012-02-16 Hitachi High-Technologies Corp 欠陥検査装置および欠陥検査方法

Family Cites Families (9)

* Cited by examiner, † Cited by third party
Publication number Priority date Publication date Assignee Title
JPH05209841A (ja) 1992-01-13 1993-08-20 Hitachi Ltd 異物検出方法およびその装置
US6608676B1 (en) * 1997-08-01 2003-08-19 Kla-Tencor Corporation System for detecting anomalies and/or features of a surface
JP2002055059A (ja) * 2000-08-10 2002-02-20 Nikon Corp 異物検査装置、露光装置、及び露光方法
EP1546691A1 (en) * 2002-09-30 2005-06-29 Applied Materials Israel Ltd. Inspection system with oblique viewing angle
US7199946B2 (en) 2005-06-06 2007-04-03 Kla-Tencor Technologies Corp. Systems configured to provide illumination of a specimen during inspection
JP2009053132A (ja) * 2007-08-29 2009-03-12 Hitachi High-Technologies Corp 欠陥検査方法および欠陥検査装置
JP2009236791A (ja) * 2008-03-28 2009-10-15 Hitachi High-Technologies Corp 欠陥検査方法及び欠陥検査装置
JP2010025713A (ja) * 2008-07-18 2010-02-04 Hitachi High-Technologies Corp 欠陥検査方法及び欠陥検査装置
JP5171744B2 (ja) 2009-07-01 2013-03-27 株式会社日立ハイテクノロジーズ 欠陥検査方法およびその装置

Patent Citations (6)

* Cited by examiner, † Cited by third party
Publication number Priority date Publication date Assignee Title
JP2000311926A (ja) * 1993-03-09 2000-11-07 Hitachi Ltd 半導体デバイスの生産方法
JPH07209200A (ja) * 1994-01-13 1995-08-11 Canon Inc 検査装置及びそれを用いた半導体デバイスの製造方法
JPH09269295A (ja) * 1996-04-02 1997-10-14 Nikon Corp 異物検査装置
JPH10123060A (ja) * 1996-10-17 1998-05-15 Olympus Optical Co Ltd 欠陥検査装置
JP2008275540A (ja) * 2007-05-02 2008-11-13 Hitachi High-Technologies Corp パターン欠陥検査装置および方法
JP2012032252A (ja) * 2010-07-30 2012-02-16 Hitachi High-Technologies Corp 欠陥検査装置および欠陥検査方法

Cited By (3)

* Cited by examiner, † Cited by third party
Publication number Priority date Publication date Assignee Title
CN105572039A (zh) * 2014-08-07 2016-05-11 由田新技股份有限公司 光源设备
WO2021205650A1 (ja) * 2020-04-10 2021-10-14 株式会社日立ハイテク 照明光学系および基板検査装置
US12085517B2 (en) 2020-04-10 2024-09-10 Hitachi High-Tech Corporation Lighting optical system and substrate inspecting device

Also Published As

Publication number Publication date
JP2013190252A (ja) 2013-09-26
US20150022806A1 (en) 2015-01-22
JP5865738B2 (ja) 2016-02-17
US9976966B2 (en) 2018-05-22
US9513228B2 (en) 2016-12-06
US20170102338A1 (en) 2017-04-13

Similar Documents

Publication Publication Date Title
JP5865738B2 (ja) 欠陥検査方法及びその装置
US8467048B2 (en) Pattern defect inspection apparatus and method
JP4838122B2 (ja) 表面の異常および/または特徴を検出する光学システム
CN109196336B (zh) 利用奇异光束的暗场晶片纳米缺陷检查系统
JP7662805B2 (ja) マルチフィールド走査オーバレイ計測
JP5944850B2 (ja) 欠陥検査方法及びこれを用いた装置
JP5869817B2 (ja) 欠陥検査方法および欠陥検査装置
JP6522604B2 (ja) 簡略化された光学素子を備えた極端紫外線(euv)基板検査システム及びその製造方法
US20110141463A1 (en) Defect inspection method, and defect inspection device
US7643137B2 (en) Defect inspection apparatus, defect inspection method and method of inspecting hole pattern
JP5405956B2 (ja) 欠陥検査装置
US7355690B2 (en) Double inspection of reticle or wafer
JP2008275612A (ja) 半導体製造用のサブストレート上の構造体を測定する高解像度を備えた装置及び測定装置におけるアパーチャの使用
JP5945126B2 (ja) 欠陥検査方法および欠陥検査装置
JP6067083B2 (ja) 欠陥検査方法及びその装置
JP2006098156A (ja) 欠陥検査方法及びその装置
JP2010536034A (ja) ウエハーを検査するように構成される装置
JP2007033381A (ja) 光学式検査装置及びその照明方法
JP5259669B2 (ja) 欠陥検査装置及び欠陥検査方法
KR102796477B1 (ko) 검사 장치 및 검사 방법
JP2011141135A (ja) 表面検査装置
JP2006133026A (ja) 外観検査装置
JP2008046247A (ja) 顕微鏡装置
JP2020076574A (ja) パターン検査装置及びパターン検査方法
JP2012163422A (ja) 検査装置

Legal Events

Date Code Title Description
121 Ep: the epo has been informed by wipo that ep was designated in this application

Ref document number: 12871576

Country of ref document: EP

Kind code of ref document: A1

WWE Wipo information: entry into national phase

Ref document number: 14377753

Country of ref document: US

NENP Non-entry into the national phase

Ref country code: DE

122 Ep: pct application non-entry in european phase

Ref document number: 12871576

Country of ref document: EP

Kind code of ref document: A1