WO2013118170A1 - Storage apparatus with a plurality of nonvolatile semiconductor storage units and control method thereof to place hot data in storage units with higher residual life and cold data in storage units with lower residual life - Google Patents
Storage apparatus with a plurality of nonvolatile semiconductor storage units and control method thereof to place hot data in storage units with higher residual life and cold data in storage units with lower residual life Download PDFInfo
- Publication number
- WO2013118170A1 WO2013118170A1 PCT/JP2012/000843 JP2012000843W WO2013118170A1 WO 2013118170 A1 WO2013118170 A1 WO 2013118170A1 JP 2012000843 W JP2012000843 W JP 2012000843W WO 2013118170 A1 WO2013118170 A1 WO 2013118170A1
- Authority
- WO
- WIPO (PCT)
- Prior art keywords
- data
- storage
- logical
- storage region
- region
- Prior art date
- Legal status (The legal status is an assumption and is not a legal conclusion. Google has not performed a legal analysis and makes no representation as to the accuracy of the status listed.)
- Ceased
Links
Images
Classifications
-
- G—PHYSICS
- G06—COMPUTING OR CALCULATING; COUNTING
- G06F—ELECTRIC DIGITAL DATA PROCESSING
- G06F3/00—Input arrangements for transferring data to be processed into a form capable of being handled by the computer; Output arrangements for transferring data from processing unit to output unit, e.g. interface arrangements
- G06F3/06—Digital input from, or digital output to, record carriers, e.g. RAID, emulated record carriers or networked record carriers
- G06F3/0601—Interfaces specially adapted for storage systems
- G06F3/0602—Interfaces specially adapted for storage systems specifically adapted to achieve a particular effect
- G06F3/0604—Improving or facilitating administration, e.g. storage management
- G06F3/0605—Improving or facilitating administration, e.g. storage management by facilitating the interaction with a user or administrator
-
- G—PHYSICS
- G06—COMPUTING OR CALCULATING; COUNTING
- G06F—ELECTRIC DIGITAL DATA PROCESSING
- G06F3/00—Input arrangements for transferring data to be processed into a form capable of being handled by the computer; Output arrangements for transferring data from processing unit to output unit, e.g. interface arrangements
- G06F3/06—Digital input from, or digital output to, record carriers, e.g. RAID, emulated record carriers or networked record carriers
- G06F3/0601—Interfaces specially adapted for storage systems
- G06F3/0602—Interfaces specially adapted for storage systems specifically adapted to achieve a particular effect
- G06F3/0608—Saving storage space on storage systems
-
- G—PHYSICS
- G06—COMPUTING OR CALCULATING; COUNTING
- G06F—ELECTRIC DIGITAL DATA PROCESSING
- G06F3/00—Input arrangements for transferring data to be processed into a form capable of being handled by the computer; Output arrangements for transferring data from processing unit to output unit, e.g. interface arrangements
- G06F3/06—Digital input from, or digital output to, record carriers, e.g. RAID, emulated record carriers or networked record carriers
- G06F3/0601—Interfaces specially adapted for storage systems
- G06F3/0602—Interfaces specially adapted for storage systems specifically adapted to achieve a particular effect
- G06F3/0614—Improving the reliability of storage systems
- G06F3/0616—Improving the reliability of storage systems in relation to life time, e.g. increasing Mean Time Between Failures [MTBF]
-
- G—PHYSICS
- G06—COMPUTING OR CALCULATING; COUNTING
- G06F—ELECTRIC DIGITAL DATA PROCESSING
- G06F3/00—Input arrangements for transferring data to be processed into a form capable of being handled by the computer; Output arrangements for transferring data from processing unit to output unit, e.g. interface arrangements
- G06F3/06—Digital input from, or digital output to, record carriers, e.g. RAID, emulated record carriers or networked record carriers
- G06F3/0601—Interfaces specially adapted for storage systems
- G06F3/0628—Interfaces specially adapted for storage systems making use of a particular technique
- G06F3/0646—Horizontal data movement in storage systems, i.e. moving data in between storage devices or systems
- G06F3/0647—Migration mechanisms
-
- G—PHYSICS
- G06—COMPUTING OR CALCULATING; COUNTING
- G06F—ELECTRIC DIGITAL DATA PROCESSING
- G06F3/00—Input arrangements for transferring data to be processed into a form capable of being handled by the computer; Output arrangements for transferring data from processing unit to output unit, e.g. interface arrangements
- G06F3/06—Digital input from, or digital output to, record carriers, e.g. RAID, emulated record carriers or networked record carriers
- G06F3/0601—Interfaces specially adapted for storage systems
- G06F3/0628—Interfaces specially adapted for storage systems making use of a particular technique
- G06F3/0655—Vertical data movement, i.e. input-output transfer; data movement between one or more hosts and one or more storage devices
- G06F3/0659—Command handling arrangements, e.g. command buffers, queues, command scheduling
-
- G—PHYSICS
- G06—COMPUTING OR CALCULATING; COUNTING
- G06F—ELECTRIC DIGITAL DATA PROCESSING
- G06F3/00—Input arrangements for transferring data to be processed into a form capable of being handled by the computer; Output arrangements for transferring data from processing unit to output unit, e.g. interface arrangements
- G06F3/06—Digital input from, or digital output to, record carriers, e.g. RAID, emulated record carriers or networked record carriers
- G06F3/0601—Interfaces specially adapted for storage systems
- G06F3/0628—Interfaces specially adapted for storage systems making use of a particular technique
- G06F3/0662—Virtualisation aspects
- G06F3/0665—Virtualisation aspects at area level, e.g. provisioning of virtual or logical volumes
-
- G—PHYSICS
- G06—COMPUTING OR CALCULATING; COUNTING
- G06F—ELECTRIC DIGITAL DATA PROCESSING
- G06F3/00—Input arrangements for transferring data to be processed into a form capable of being handled by the computer; Output arrangements for transferring data from processing unit to output unit, e.g. interface arrangements
- G06F3/06—Digital input from, or digital output to, record carriers, e.g. RAID, emulated record carriers or networked record carriers
- G06F3/0601—Interfaces specially adapted for storage systems
- G06F3/0668—Interfaces specially adapted for storage systems adopting a particular infrastructure
- G06F3/067—Distributed or networked storage systems, e.g. storage area networks [SAN], network attached storage [NAS]
-
- G—PHYSICS
- G06—COMPUTING OR CALCULATING; COUNTING
- G06F—ELECTRIC DIGITAL DATA PROCESSING
- G06F3/00—Input arrangements for transferring data to be processed into a form capable of being handled by the computer; Output arrangements for transferring data from processing unit to output unit, e.g. interface arrangements
- G06F3/06—Digital input from, or digital output to, record carriers, e.g. RAID, emulated record carriers or networked record carriers
- G06F3/0601—Interfaces specially adapted for storage systems
- G06F3/0668—Interfaces specially adapted for storage systems adopting a particular infrastructure
- G06F3/0671—In-line storage system
- G06F3/0683—Plurality of storage devices
- G06F3/0688—Non-volatile semiconductor memory arrays
Definitions
- the present invention relates to a storage control of a storage apparatus that is provided with a plurality of nonvolatile semiconductor storage media.
- a storage apparatus is provided with a physical storage medium that is configured to store data and a controller that is configured to control a physical storage medium in general.
- the controller provides a data store space (a logical volume in general) to a computer (such as a host) that is coupled to a storage apparatus.
- a storage apparatus enables an I/O processing to be executed at a high speed and can show a high fault tolerance to a failure of a physical storage medium by using a plurality of physical storage media with a RAID (Redundant Array of Independent (or Inexpensive) Disks) configuration.
- RAID Redundant Array of Independent (or Inexpensive) Disks
- a storage apparatus is equipped with an HDD (Hard Disk Drive) as a physical storage medium in general.
- HDD Hard Disk Drive
- FM flash memory
- SSD Solid State Drive
- the SSD is provided with a merit of an extremely high speed of an I/O processing as compared with an HDD.
- an upper limit to the frequency of write of data for the SSD and a length of life of an SSD is shorter than that of an HDD disadvantageously.
- the disadvantages of the SSD will be described in the following.
- a frequency of erasing the number of times of a block erasing (hereafter referred to as a frequency of erasing) for each block is limited because of a physical restriction of a flash memory.
- a frequency of erasing of a block exceeds the limit, data cannot be stored into the block.
- a length of life of an SSD is when a frequency of erasing of all blocks that configure the SSD exceeds the upper limit.
- a length of life of an SSD is lengthened by using a method called a wear leveling (hereafter referred to as a WL) for a general SSD.
- a wear leveling hereafter referred to as a WL
- This is a technique for leveling a frequency of erasing between blocks and for suppressing only a specific block from being degraded by controlling a store location of data in such a manner that data that is updated with a low frequency is stored into a block that is provided with a more frequency of erasing and data that is updated with a high frequency is stored into a block that is provided with a less frequency of erasing.
- Patent Literature 1 discloses a method for implementing a long life of the entire of a storage apparatus by applying the WL to SSDs and by leveling an erasing frequency between a plurality of SSDs.
- a WL that is executed between physical storage media such as an SSD is referred to as an "inter-device WL" in the following.
- a controller of a storage apparatus decides data of a movement target for an inter-device WL. Consequently, it is necessary that the storage controller comprehends the internal information of an SSD.
- the internal information is information such as a data write amount to a flash memory and a remaining erasing frequency. In the case in which a granularity of the information is finer (that is, the information is more detailed), an execution accuracy of an inter-device WL is improved. This means that the storage controller can comprehend an SSD, data of the SSD, and an SSD to which the data is to be moved.
- Patent Literature 1 discloses a technique in which the storage controller can comprehend the internal information of the SSD in a physical block unit in detail to implement an inter-device WL.
- the storage controller controls the information of an erasing frequency of a plurality of blocks in each SSD.
- Such a problem may occur for a storage apparatus that is provided with nonvolatile semiconductor storage media in which an erasing frequency is limited other than the SSD.
- a storage apparatus is provided with a plurality of nonvolatile semiconductor storage media and a storage controller that is a controller that is coupled to the plurality of semiconductor storage media.
- Each of the semiconductor storage media unit is configured by at least one nonvolatile semiconductor storage media and is a basis of a logical storage region.
- the storage controller writes data based on data of a write target to a semiconductor storage unit that is a basis of a logical storage region of a write destination of a plurality of logical storage regions.
- the storage controller acquires the internal information from each of the semiconductor storage media on a regular basis or on an irregular basis for instance, and stores the internal information that has been acquired for every semiconductor storage medium.
- the storage controller stores the statistics information that indicates the statistics that is related to a write for every logical storage region, and stores the remaining life length information that is the information that is related to a remaining length of life of each of the semiconductor storage media.
- the remaining life length information can be a numerical value that indicates a remaining length of life itself, can be an attribute that has an effect on a remaining length of life (for instance, a storage media type such as a single level cell and a multi-level cell), and can be a numerical value that is used for predicting (calculating) a remaining length of life.
- the storage apparatus can be provided with a physical storage medium of other type (such as a hard disk drive) in addition to a plurality of semiconductor storage media.
- the storage controller identifies a first semiconductor storage unit and a second semiconductor storage unit that is provided with a remaining length of life shorter than that of the first semiconductor storage unit based on the remaining life length information that has been acquired.
- the storage controller moreover identifies a first logical storage region for the first semiconductor storage unit and a second logical storage region that is provided with a write load higher than that of the first logical storage region for the second semiconductor storage unit based on the statistics information that indicates the statistics that is related to a write for every logical storage region.
- the storage controller reads data from the first logical storage region and the second logical storage region, and writes data that has been read from the first logical storage region to the second logical storage region and/or writes data that has been read from the second logical storage region to the first logical storage region.
- the semiconductor storage unit can be one SSD or can be a RAID group that is configured by at least two SSDs for instance.
- the logical storage region can be a logical address range based on one SSD or can be a logical address range that is over at least two SSDs that configure a RAID group for instance.
- An increase in a load of the storage controller can be reduced, and a leveling of an erasing frequency between nonvolatile semiconductor storage media can be executed with a high degree of accuracy.
- Fig. 1 is a view showing a configuration example of a storage system 10000 that includes a storage apparatus 10 in accordance with a first embodiment.
- Fig. 2 is a schematic illustrative drawing showing the capacity virtualization technique.
- Fig. 3 is a view showing a configuration example of a cache memory 103.
- Fig. 4 is a view showing a configuration example of a Disk management TBL 13100.
- Fig. 5 is a view showing a configuration example of an RG management TBL 13200.
- Fig. 6 is a view showing a configuration example of a Pool management TBL 13300.
- Fig. 7 is a view showing a configuration example of an extent management TBL 13400.
- Fig. 8 is a view showing a configuration example of a virtual volume management TBL 13500.
- Fig. 9 is a view showing a configuration example of a statistics information management TBL 13600.
- Fig. 10 is a view showing a configuration example of an FM WR amount prediction TBL 13700 in accordance with a first embodiment.
- Fig. 11 is a view showing a configuration example of an SSD 700.
- Fig. 12 is a view showing a configuration example of a flash memory 780.
- Fig. 13 is a view showing a configuration example of an address space of an SSD.
- Fig. 14 is a view showing a configuration example of a cache memory 716.
- Fig. 15 is a view showing a configuration example of a logical physical conversion TBL 23100.
- FIG. 16 is a view showing a configuration example of a statistics information management TBL 23200 in an SSD.
- Fig. 17 is a view showing a configuration example of the SSD internal information 25000.
- Fig. 18 is a sequence drawing showing an example of a flow of a processing from a transmission of a write request from a host computer 30 to a completion of the processing of the write request.
- Fig. 19 is a sequence drawing showing an example of a flow of a processing from a transmission of a read request from a host computer 30 to a completion of the processing of the read request.
- Fig. 20 is a sequence drawing showing an example of a flow of a WL control processing.
- FIG. 21 is a schematic illustrative drawing showing S301 (a life length prediction of an SSD) of Fig. 20.
- Fig. 22 is a sequence drawing showing an example of a flow of an FM WR amount prediction in accordance with a first embodiment (S303 of Fig. 20).
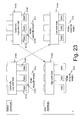
- Fig. 23 is a schematic illustrative drawing showing an execution pattern A of an inter-device WL.
- Fig. 24 is a sequence drawing showing an example of an execution pattern A of an inter-device WL.
- Fig. 25 is a schematic illustrative drawing showing an execution pattern B of an inter-device WL.
- Fig. 26 is a sequence drawing showing an example of an execution pattern B of an inter-device WL.
- FIG. 27 is a schematic illustrative drawing showing an execution pattern C of an inter-device WL.
- Fig. 28 is a schematic illustrative drawing showing an execution pattern D of an inter-device WL.
- Fig. 29 is a sequence drawing showing an example of the execution patterns C and D of an inter-device WL.
- Fig. 30 is a schematic illustrative drawing showing an execution pattern E of an inter-device WL.
- Fig. 31 is a sequence drawing showing an example of an execution pattern E of an inter-device WL.
- Fig. 32 is a sequence drawing showing an example of an execution pattern F of an inter-device WL.
- FIG. 33 is a view showing a configuration example of an FM WR amount prediction TBL 13700 in accordance with a second embodiment.
- Fig. 34 is a view showing a configuration example of a WA information storage table 13800 in accordance with a second embodiment.
- Fig. 35 is a sequence drawing showing an example of a flow of an FM WR amount prediction in accordance with a second embodiment (S303 of Fig. 20).
- Fig. 36 is a view showing a configuration example of an FM WR amount prediction TBL 13700 in accordance with a second embodiment.
- Fig. 37 is a view showing a summary of an embodiment.
- Fig. 38 is a view showing an example of a relationship between an inter-device WL and a virtual volume.
- the identification information of an element such as an extent
- the identification information of other types such as a name and an identifier
- a "program” is handled as a subject in some cases.
- the processor executes the predetermined processing by using a storage resource (such as a memory) and/or a communication interface apparatus (such as a communication port) as it decides proper.
- a subject of a processing can also be a controller or a processor.
- the processor can include a hardware circuit that executes a part or a whole of a processing.
- a computer program can be installed from a program source.
- the program source can be a program distribution server or a storage medium that can be read by a computer for instance.
- a physical storage medium is represented as "Disk" as a matter of practical convenience in some cases. However, this notation does not always mean that a physical storage medium is a storage medium in a disk shape. In the following description, Disk indicates an SSD in many cases.
- a unit of a period or a time is not restricted.
- a unit of a period or a time can be represented as any one or a combination of at least two of a year, a month, a day, an hour, a minute, and a second.
- the nonvolatile semiconductor storage medium that is included in an SSD is a flash memory (FM).
- FM flash memory
- an erasing is executed in a unit of a block.
- the flash memory is a flash memory in which a read/write is executed in a unit of a page, a flash memory of a NAND type in a quintessential way.
- the flash memory can also be a flash memory of other type as substitute for a NAND type (for instance, a NOR type).
- a nonvolatile semiconductor storage medium of other type such as a phase change memory can also be adopted as substitute for a flash memory.
- Fig. 37 is a view showing a summary of an embodiment.
- a storage apparatus 10 is provided with a storage controller 100 and a plurality of physical storage media 11.
- Each of the physical storage media 11 is a basis of at least two logical storage regions.
- the logical storage region can be an extent described later or can be a whole or a part of a logical volume (LU: Logical Unit) that is provided to an upper level apparatus (such as a host computer) that is coupled to the storage apparatus 10.
- the plurality of physical storage media 11 can configure a RAID group.
- the storage controller 100 executes a leveling of an erasing frequency between physical storage media 11.
- the storage controller 100 acquires the internal information that is related to each of physical storage media from the physical storage media 11.
- the internal information is the information that is an index of a length of life and a consumption status of the physical storage media 11.
- the internal information is the information that includes a total erasing frequency of a plurality of blocks and a real write amount that is a total amount of data that has been written to a flash memory.
- the storage controller 100 judges a remaining length of life of an SSD based on the internal information. In other words, the storage controller 100 identifies an SSD 11 that is provided with a short length of life and that is a movement source of data and an SSD 11 that is provided with a long length of life and that is the movement source of the data.
- the storage controller 100 can reduce an overhead caused by an information transfer between the storage controller 100 and the SSD 11 by acquiring the internal information in a unit of an SSD.
- the storage controller 100 can acquire the internal information for every logical address range in an SSD and for every physical range (for instance, in a unit of a DIMM).
- a range of a storage region (a certain address range) in moving data is called an extent for an inter-device WL.
- the extent can be an address range (a logical region) based on one SSD as shown by a reference symbol 60 and can be an address range (a logical region) that is disposed over a plurality of SSDs as shown by a reference symbol 70.
- a part of the extent can be a target of the inter-device WL, and an aggregate of a plurality of SSDs can be a target of the inter-device WL.
- An address range (a logical region) based on one SSD can also be called an extent, and an address range (a logical region) that is disposed over a plurality of SSDs can also be called an extent group.
- a load for a data movement is larger in a small unit such as a block unit and a page unit of a flash memory. Consequently, by executing the inter-device WL in a unit called an extent that is larger than a block and a page, a load of a data movement can be prevented from being increased.
- the storage controller 100 measures a write data amount to an extent for every extent.
- a write data amount to an SSD is large for instance, a rewriting of a block occurs on a number of occasions and an erasing frequency is increased in accordance with that.
- an erasing frequency of a block is increased, the erasing frequency of a block reaches the upper limit and a read/write to the block is not possible.
- an SSD in which such a block is increased cannot be used. Consequently, the storage controller 100 finds an extent in which a write data amount is large and moves data that is included in the extent from an SSD that is provided with a short length of life to an SSD that is provided with a long length of life.
- an extent is disposed over a plurality of SSDs
- data in an extent in which a write data amount is large is also moved between SSD groups (a plurality of SSDs).
- an erasing frequency can be leveled between SSDs without increasing a load of the storage controller 100.
- a degradation rate of an SSD that is provided with a short length of life can be suppressed by exchanging data of an extent in which a write data amount is large for an SSD that is provided with a short length of life and data of an extent in which a write data amount is small for an SSD that is provided with a long length of life.
- Fig. 1 is a view showing a configuration example of a storage system 10000 that includes a storage apparatus 10 in accordance with a first embodiment.
- a storage system 10000 is provided with a storage apparatus 10 and a host computer 30.
- the host computer 30 is an example of an upper level apparatus that utilizes the storage apparatus 10.
- the host computer 30 is an application server for instance.
- the host computer 30 and the storage apparatus 10 communicate with each other via a SAN (Storage Area Network) 20.
- SAN Storage Area Network
- a fiber channel an SCSI (Small Computer System Interface), an iSCSI (internet Small Computer System Interface), a USB (Universal Serial Bus), an IEEE 1394 bus, and a SAS (Serial Attached SCSI) can be used for instance.
- a communication network of other type such as a LAN (Local Area Network)
- the host computer 30 issues a control command or the like to the storage apparatus 10 by executing the control software (not shown) that issues a control command or the like to the storage apparatus 10.
- the control software (not shown) that issues a control command or the like to the storage apparatus 10.
- a modification of a RAID level of a RAID group which the storage apparatus 10 is provided with can be executed.
- the RAID group is a physical storage medium group that is configured by a plurality of SSDs (or HDDs) and that stores data in accordance with a predetermined RAID level.
- a computer that issues a control command to the storage apparatus 10 a computer other than the host computer 30 can also be used.
- the storage apparatus 10 is provided with a storage controller 100 and a Disk Box 110 that is coupled to the storage controller 100.
- the storage controller 100 controls an operation of the storage apparatus 10.
- the storage controller 100 is provided with a communication interface device, a memory, and a control device that is coupled to the communication interface device and the memory.
- a communication interface device there is a Host I/F 101 that is a communication interface device of a front end and a Disk I/F 107 that is a communication interface device of a back end.
- a memory there is a cache memory 103.
- As a control device there is a processor (such as a CPU (Central Processing Unit)) 104.
- CPU Central Processing Unit
- the Host I/F 101, the cache memory 103, the processor 104, and the Disk I/F 107 are coupled to an internal network 102 by a dedicated connection bus such as a PCI (Peripheral Component Interconnect) and can be communicated with each other via the internal network 102.
- the cache memory 103 is coupled to an internal network 102 by a dedicated connection bus such as a DDR3 (Double Data Rate3).
- the Host I/F 101 is an interface by which the storage apparatus 10 is coupled to the SAN 20.
- the internal network 102 is a network for coupling devices that exist in the storage apparatus 10 to each other.
- the internal network 102 includes a switch.
- the ASICs Application Specific Integrated Circuit
- the switch function As substitute for the internal network 102, the ASICs (Application Specific Integrated Circuit) that is provided with a switch function, a DMA transfer, and an assist function such as a RAID operation can also be used.
- the processor 104 controls the entire of the storage apparatus 10.
- a plurality of processors 104 exist.
- the plurality of processors 104 can control the storage apparatus 10 in consort with each other or while paying a share.
- the cache memory 103 is a region for storing a computer program and data that are required for controlling the storage apparatus 10 by the processor 104.
- the Disk I/F 107 is an interface for coupling the storage controller 100 and the Disk Box 110 to each other.
- the Disk Box 110 is provided with a plurality of Disks of different types (for instance, nonvolatile physical storage media such as an HDD 111 and an SSD 700).
- the RAID group is configured by Disks of the same type.
- a logical volume as a storage space of user data is provided from each RAID group.
- the HDD 111 and the SSD 700 are shown as the Disk that configures the Disk Box 110.
- the HDD 111 can also be omitted.
- Fig. 11 is a view showing a configuration example of the SSD 700.
- the SSD 700 is provided with a plurality of flash memories and an SSD controller 710 that is coupled to the flash memories.
- the SSD controller 710 controls an operation of the SSD 700.
- the SSD controller 710 is provided with a communication interface device, a memory, and a control device that is coupled to the communication interface device and the memory.
- a communication interface device there can be mentioned for instance a Disk I/F 711 that is a communication interface device of a front end and a Flash I/F 717 that is a communication interface device of a back end.
- the memory there can be mentioned for instance a cache memory 716.
- the control device there can be mentioned for instance a processor 713.
- the Disk I/F 711, the processor 713, the cache memory 716, and the Flash I/F 717 are coupled to each other via an internal network 712.
- the Disk I/F 711 is coupled to the Disk I/F 107 of the storage controller 100 via a dedicated communication bus.
- the internal network 712 is a network that is configured to couple devices to each other.
- the internal network 712 can include a switch and can be replaced by the ASICs that are provided with a switch function.
- the processor 713 controls the entire of the SSD 700.
- the cache memory 716 is a region that is configured to store a computer program and data that are required for controlling the SSD 700 by the processor 713.
- the Flash I/F 717 is an interface that is configured to couple the SSD controller 710 and a flash memory 780 to each other.
- an SSD is a storage media that is provided with a plurality of flash memories and a controller that controls the plurality of flash memories, and the external shape of the SSD is not limited to a form factor.
- Fig. 12 is a view showing a configuration example of the flash memory 780.
- the flash memory 780 is provided with a plurality of blocks 782 and a flash memory controller 781 that is coupled to the blocks.
- the flash memory controller (hereafter referred to as a flash controller) 781 controls the flash memory 780.
- Each of blocks 782 is configured by a plurality of pages 783.
- a read of data from the flash memory 780 and a write of data to the flash memory 780 are executed in a unit of a page.
- a data erasing is executed in a unit of a block.
- the flash memory 780 is a flash memory of a NAND type for instance. Data cannot be overwritten to the flash memory of a NAND type. Consequently, in the case in which new data is tried to be written to a page to which data has been written, data is erased and data is written to a page in which data has been erased.
- the SSD controller 710 executes a leveling of an erasing frequency to a plurality of blocks 782 in the SSD 700.
- the SSD controller 710 stores data that is provided with a small update frequency into a block that is provided with a large erasing frequency and stores data that is provided with a large update frequency into a block that is provided with a small erasing frequency to level an erasing frequency to a block in the SSD 700.
- the SSD controller 710 can also execute a leveling of an erasing frequency by selecting a free block that is provided with a small erasing frequency and storing data into the block.
- a plurality of blocks can be divided into a plurality of groups depending on an erasing frequency, and a block can be selected from a group that is provided with a small erasing frequency.
- a long length of life of an SSD can be achieved by leveling an erasing frequency of a plurality of blocks in an SSD.
- Fig. 13 is a view showing a configuration example of an address space of an SSD.
- a logical address space 900 and a physical address space 800 exist for the SSD 700.
- the logical address space 900 is a unique address space that is provided to the storage controller 100 by the SSD 700.
- the physical address space 800 is an address space in which actual data is stored.
- the SSD controller 710 dynamically modifies a mapping of an address range (region) that configures the logical address space 900 and an address range (region) that configures the physical address space 800, thereby implementing a WL or the like.
- a correspondence between the logical address space 900 and the physical address space 800 is managed using a logical physical conversion table 23100 described later by the processor 713.
- the storage controller 100 does not manage a logical physical conversion table in an SSD in a direct manner. Consequently, in the case in which the processor 713 does not notify the storage controller 100 of the SSD internal information, the storage controller 100 cannot comprehend a correspondence relationship between the logical address space 900 and the physical address space 800.
- the SSD 700 manages a chunk that is an aggregate of blocks.
- a chunk 810 is formed by blocks 811 to 814
- a chunk 820 is formed by blocks 821 to 824
- a chunk 830 is formed by blocks 831 to 834.
- the chunk 810 provides a logical address (LBA) space #a 901
- the chunk 820 provides a logical address (LBA) space #b 902
- the chunk 830 provides a logical address (LBA) space #c 903.
- the capacity virtualization technique (for instance, Thin Provisioning) is a technique for providing a virtual capacity larger than a physical capacity which the storage apparatus 10 is provided with to the side of the host computer 30.
- the host computer 30 accesses a virtual logical volume (a virtual volume).
- a virtual logical volume (a virtual volume).
- a physical storage region is allocated to a virtual region (a virtual extent) of the write destination of the data of the write request.
- a unit of a physical storage region that is allocated for the capacity virtualization technique is called an extent unit.
- a size of the extent can be rich in diversity in the range from several MB to several GB.
- the capacity virtualization technique will be described in detail with reference to Fig. 2 in the following.
- the RAID group (RG) is configured by the Disks (such as SSDs) of the same type.
- a Pool Volume 500 is configured based on at least one RG.
- the extent is a storage region that is obtained by dividing the Pool Volume 500, that is, a part of the Pool Volume 500.
- the Pool Volume 500 is configured based on three RGs of an RG 200, an RG 300, and an RG 400.
- the RG 200 will be described in the following.
- the RG 200 is configured by a Disk1 210, a Disk2 220, and a Disk3 230. Moreover, the RG 200 constructs a RAID 5, and a Data (D in the figure) and Parity (P in the figure) are stored into a stripe line based on Disks (210 to 230).
- a "stripe line" is a storage region that is configured by the same address region of a plurality of Disks that configure the same RG. That is, the stripe line is arranged on a plurality of Disks that configure the same RG. The set of the Data and Parity is stored into the stripe line.
- a D 211, D 221, and P 231 are stored into one stripe line 250 for instance.
- the redundancy of the RAID is degraded. Consequently, the storage controller 100 controls a stored destination of data in such a manner that at least two Data or Parity that have been stored into one stripe line do not exist in the same Disk as a result of an execution of an inter-device WL.
- a storage region based on the RG is divided into a plurality of extents. Moreover, a storage region based on the RG is made of a logical address space 900 that is provided by a plurality of SSDs.
- each of extents is configured by at least one stripe line.
- an extent 240, an extent 241, and an extent 242 are formed from the RG 200.
- An extent 340, an extent 341, and an extent 342 are formed from a storage region of the RG 300.
- An extent 440, an extent 441, and an extent 442 are formed from a storage region of the RG 400.
- the extent 240 is configured by two stripe lines, that is, a stripe line in which Data 214, Parity 224, and Data 234 have been stored and a stripe line in which Parity 215, Data 225, and Data 235 have been stored.
- an extent 301 and an extent 401 are also formed from the RG 300 and the RG 400.
- the extent is a storage region of which a size is larger than that of a block.
- a size of the extent is N times (N is an integer number that is equal to or larger than 2) of that of a block for instance. Chunk described later is an aggregate of a plurality of extents.
- a virtual volume 600 is a virtual logical volume that is configured to store user data by the host computer 30.
- a capacity that is defined as a capacity of the virtual volume 600 can be a storage capacity larger than a total capacity of the storage media that is included in the storage apparatus 10.
- the virtual volume 600 is configured by virtual extents of arbitrary number of 601 to 607. For instance, although one extent is corresponded to one virtual extent shown in Fig. 2, a plurality of extents can also be corresponded to one virtual extent.
- the virtual volume 600 is provided with a virtual address (a logical address that configures a virtual volume), and the virtual address is divided in a predetermined range to configure the virtual extent.
- the virtual extents 601 to 604 that are shown by solid lines are virtual extents in which an extent has been allocated from the RGs 200, 300, and 400.
- an extent 301 has been allocated to a virtual extent 601
- an extent 242 has been allocated to a virtual extent 602
- an extent 402 has been allocated to a virtual extent 603
- an extent 240 has been allocated to a virtual extent 604.
- the virtual extents 605 to 607 that are shown by dotted lines are not virtual extents to which an address that has been specified as a write destination of data belongs. Consequently, an extent has not been allocated to the virtual extents 605 to 607.
- Fig. 38 is a view showing an example of a relationship between an inter-device WL and a virtual volume.
- the host computer 30 In the case in which data is moved between SSDs, the host computer 30 must modify an access destination of data to be an SSD of a movement destination. However, in the case in which an address is converted by using the virtual volume 600, the host computer 30 can access data of a movement destination without modifying an access destination. In other words, an association with a virtual address of the virtual extent 610 is changed from a logical address of the extent 70 of a movement source to a logical address of the extent 80 of a movement destination by the storage controller 100. The host computer 30 can execute an inter-device WL by accessing the virtual volume 600 without modifying an address of an access destination.
- Fig. 3 is a view showing a configuration example of a cache memory 103 that is included in the storage controller 100.
- the cache memory 103 is provided with a Program Area 12000, a Table Area 13000, and a Data Cache Area 14000.
- the Program Area 12000 and the Table Area 13000 are regions in which a program for controlling the storage apparatus 10 and a wide variety of tables are stored.
- the Data Cache Area 14000 is a region that is used for storing user data on a temporary basis.
- the Program Area 12000 stores a Write I/O Program 12100, a Read I/O Program 12200, a life length management Program 12300, an SSD information acquisition Program 12400, and an inter-SSD WL Program 12500.
- the Write I/O Program 12100 is a program for processing a write request from the host computer 30.
- the Read I/O Program 12200 is a program for processing a read request from the host computer 30.
- the life length management Program 12300 is a program for managing a life length of a wide variety of Disks such as an SSD 700 by the processor 104.
- the SSD information acquisition Program 12400 is a program for acquiring the internal information of the SSD 700.
- the inter-SSD WL Program 12500 is a program for executing the inter-device WL.
- the Table Area 13000 is provided with a Disk management Table (hereafter Table is referred to as TBL) 13100, an RG management TBL 13200, a Pool management TBL 13300, an extent management TBL 13400, a virtual volume management TBL 13500, a statistics information management TBL 13600, an FM (Flash Memory) write amount prediction TBL 13700, and a WA information storage TBL 13800.
- TBL Disk management Table
- the Disk management TBL 13100 is a table for storing the information related to Disk that has been stored into a Disk Box 110.
- the RG management TBL 13200 is a table for storing the information related to the RAID group.
- the Pool management TBL 13300 is a table for storing the information of a Pool Volume.
- the extent management TBL 13400 is a table for storing the information related to an extent.
- the virtual volume management TBL 13500 is a table for storing the information related to a virtual volume.
- the statistics information management TBL 13600 is a table for storing a wide variety of information related to a performance of the storage apparatus 10.
- the FM write amount prediction TBL 13700 is a table that is used for predicting a data write amount in an SSD.
- the WA information storage TBL 13800 is a table for storing a predicted value of a rate of a write data amount that is increased by a processing in an SSD based on a write I/O pattern to the SSD.
- the user data 14100 that conforms to a write request and a read request is stored into the Data Cache Area 14000 on a temporary basis.
- the user data 14100 is data that is used by the host computer 30.
- Fig. 4 is a view showing a configuration example of a Disk management TBL 13100.
- the information that is managed by the Disk management TBL 13100 is used for judging a length of life of each Disk in large part.
- the Disk management TBL 13100 is provided with a Disk# 13101, a Disk Type 13102, an information update date 13103, a remaining guarantee period 13104, a total Write amount 13105, a remaining erasing frequency 13106, and a remaining life length 13107 for every Disk.
- the Disk# 13101 is an identifier of the Disk and a unique number.
- the Disk Type 13102 indicates a type of the Disk and indicates an SSD (SLC), an SSD (MLC), and an HDD for instance.
- SLC Single Level Cell
- MLC Multi Level Cell
- SLC Single Level Cell
- MLC Multi Level Cell
- the SLC is a flash memory of a high speed, a long life length, and a small capacity, and enables a block erasing of hundreds of thousands of order to tens of thousands of order.
- the MLC is a flash memory of a low speed, a short life length, and a large capacity, and enables a block erasing of tens of thousands of order to thousands of order.
- the information update date 13103 indicates a latest date when the information related to the Disk was updated (for instance, a date when the life length information was updated).
- the information update date 13103 is represented by the number of days.
- the remaining guarantee period 13104 indicates a remaining period of a guarantee period of the Disk decided by a vender.
- the guarantee period of the Disk is a period in which a normal operation of the Disk is guaranteed (for instance, 5 years).
- a flash memory is deteriorated by an increase in an erasing frequency due to a write of data.
- a threshold value is specified based on an erasing frequency and a total write amount in advance. In the case in which a usage period of the Disk exceeds the guarantee period, the Disk is exchanged.
- the total Write amount 13105 is an integrated value of a write amount that has occurred in an SSD (an amount of data that has been written to a flash memory in an SSD), and is updated based on the SSD internal information.
- the remaining erasing frequency 13106 indicates a value that conforms to the number of times of a block erasing that can be executed for an SSD.
- the remaining erasing frequency 13106 is represented in percentage terms and is updated based on the SSD internal information. In the case in which the numerical value becomes zero, it is indicated that the number of times of a erasing of all blocks in a flash memory reaches the upper limit.
- the information that is registered as the total Write amount 13105 and the remaining erasing frequency 13106 is included in the information that is acquired from the SSD.
- the total Write amount 13105 and the remaining erasing frequency 13106 are updated based on the information that has been acquired from each SSD by the storage controller 100.
- the information is acquired by using a general-purpose interface such as an S.M.A.R.T. (Self-Monitoring Analysis and Reporting Technology).
- the remaining life length 13107 indicates the remaining period of time until the remaining erasing frequency 13106 of the SSD reaches zero.
- the remaining life length 13107 is a numerical value that is predicted by the processor 104 (the life length management Program 12300). Here, the remaining life length 13107 is represented by the number of days.
- That the remaining life length 13107 is below the remaining guarantee period 13104 means that a load is concentrated to the specific SSD due to a dispersion of an I/O for instance, the SSD is provided with a load higher than a load that has been assumed by a vender, and the SSD reaches the length of life before the expiration date for use that is guaranteed by a vender.
- An inter-device WL is executed between SSDs, thereby avoiding a concentration of a write to a specific SSD and lengthening a length of life of the SSD.
- the remaining life length 13107 can be calculated based on the information update date 13103, the total Write amount 13105, and the remaining erasing frequency 13106 or the like. A calculation method of the remaining life length will be described later.
- the Disk management TBL 13100 stores the information related to a life length management of the Disk mainly. Consequently, it is not necessary that the information of the total Write amount 13105 to the remaining life length 13107 is an acquisition target of the processor 104 for the Disk that is not provided with a restriction of the number of times of rewrite (for instance, an HDD).
- Fig. 5 is a view showing a configuration example of an RG management TBL 13200.
- the RG management TBL 13200 is provided with an RG# 13201, a Disk Type 13202, a RAID Level 13203, a RAID configuration 13204, and a Disk# 13205 for every RG.
- the RG# 13201 is an identifier of an RG and a unique number.
- the Disk Type 13202 indicates a type of the Disk that configures an RG.
- the RG is configured by the Disk of the same type.
- the RAID Level 13203 indicates a RAID level of an RG and is a variety of values such as RAID 1 + 0, 1, 3, 4, 5, and 6 for instance.
- the RAID configuration 13204 indicates the number of data Disks that configures the RAID (Disks that store data) and the number of parity Disks (Disks that store parity).
- the Disk# 13205 indicates the number of the Disk that configures an RG and includes an effective numerical value that is equivalent to a numerical value of the RAID configuration 13204.
- Fig. 6 is a view showing a configuration example of a Pool management TBL 13300.
- the Pool management TBL 13300 is provided with a Pool# 13301, an RG# 13302, an RG remaining capacity 13303, and a Pool remaining capacity 13304 for every Pool.
- the Pool# 13301 is an identifier of a Pool and a unique number.
- the RG# 13302 indicates an RG number of all RGs that configure the Pool.
- the RG remaining capacity 13303 indicates a remaining capacity for every RG.
- the Pool remaining capacity 13304 indicates a remaining capacity for the Pool and is equivalent to a sum total value of the RG remaining capacity 13303 of an RG that configures the Pool.
- the RG remaining capacity 13303 and the Pool remaining capacity 13304 are reduced in the case in which a write of data occurs in an unallocated region of an extent of a virtual volume, and are updated to be the reduced value by the processor 104 (Write I/O Program 12100).
- Fig. 7 is a view showing a configuration example of an extent management TBL 13400.
- the extent management TBL 13400 is provided with an extent# 13401, an RG# 13402, a Size 13403, a Disk Type 13404, a Disk# 13405, a Stripe# 13406, a Start-LBA 13407, a Last-LBA 13408, an allocation flag 13409 for every extent.
- the extent# 13401 is an identifier of an extent and a unique number.
- the RG# 13402 indicates a number of an RG that is a basis of an extent.
- the Size 13403 indicates a capacity of an extent. Here, a unit of the Size 13403 is Byte.
- the Disk Type 13404 indicates a type of the Disk that is included in an RG that is a basis of an extent.
- the Disk# 13405, the Stripe# 13406, the Start-LBA 13407, and the Last-LBA 13408 indicate a Disk on which the extent is prepared based, a stripe line that configures the Disk on which the extent is prepared based, and a physical space from the number of LBA to the number of LBA of a stripe line by which the extent is prepared.
- the allocation flag 13409 indicates whether or not the extent has been allocated to a virtual volume.
- a flag 13409 of an allocated extent is "done” and a flag 13409 of an unallocated extent is "not done”.
- Fig. 8 is a view showing a configuration example of a virtual volume management TBL 13500.
- the virtual volume management TBL 13500 is provided with a virtual volume # 13501, a virtual capacity 13502, a real used capacity 13503, a virtual extent # 13504, and an allocating extent # 13505 for every virtual volume.
- the virtual volume # 13501 is an identifier of a virtual volume and a unique number.
- the virtual capacity 13502 is a virtual capacity of a virtual volume.
- the virtual capacity is provided to the host computer 30.
- the real used capacity 13503 is a sum total value of a capacity of an extent that has been allocated to a virtual volume as a practical matter.
- the virtual extent # 13504 is an identifier of a virtual extent that is included in a virtual volume. It is indicated that virtual extents #0 to #n are included in a virtual volume #0.
- the allocating extent# 13505 is an identifier (a number) of an extent that has been allocated to a virtual volume.
- the storage controller 100 manages an allocating status of an extent. In other words, an extent #0 is allocated to a virtual extent #0, and an extent #100 is allocated to a virtual extent #1. However, the allocating extent # 13505 of a virtual extent to which an extent has been unallocated is "-". In other words, an extent that is a physical storage region is not allocated to a virtual extent #n.
- Fig. 9 is a view showing a configuration example of a statistics information management TBL 13600.
- the statistics information management TBL 13600 is the information that is related to an access status such as a read/write to each extent.
- the storage controller 100 monitors a read/write status to each extent and configures the statistics information management TBL 13600.
- the statistics information management TBL 13600 is provided with an Disk# 13601, an extent# 13602, a WR (an abbreviation of Write) IOPS (Input Output Per Second) 13603, an RD (an abbreviation of Read) IOPS 13604, an average WR I/O Size 13605, a WR I/O Pattern 13606, a WR rate 13607, an WR amount 13608, and an RD amount 13609 for every Disk. At least one of the information 13601 to 13609 is referred to as statistics information in some cases in the following.
- the Disk# 13601 is an identifier of the Disk and a unique number.
- the extent# 13602 is an identifier of an extent based on the Disk and a unique number.
- the WR IOPS 13603 and the RD IOPS 13604 indicate an occurrence frequency of a WR (write) I/O and an RD (read) I/O that have occurred in an address range that is corresponded to an extent in an address range of the Disk.
- IOPS is an abbreviation of Input/Output Per Second.
- the average WR I/O Size 13605 indicates an average size of data that is associated with a WR I/O request from the host computer 30.
- the WR I/O Pattern 13606 indicates whether a WR I/O is a random pattern (RND) or a sequential pattern (SEQ).
- the WR rate 13607 indicates a rate of a write I/O to all I/O.
- the WR amount 13608 and the RD amount 13609 indicate a total amount of WR data that has occurred in an extent (data in which an address range that is corresponded to an extent in an address range of the Disk is a write destination) and a total amount of RD data that has occurred in an extent (data in which an address range that is corresponded to an extent in an address range of the Disk is a read source), respectively.
- a value of an IOPS of the extent can be calculated as a total sum or an average value of values that are managed for every disk.
- Fig. 9 shows the case in which the statistics information for every Disk is managed.
- the statistics information can also be managed for every RG.
- the statistics information can be acquired without distinguishing the Disk for an extent that is disposed over a plurality of Disks.
- the statistics information is monitored in a unit of an extent. Consequently, a monitoring load can be reduced as compared with the case in which the statistics information is monitored in a block unit or a page unit of a flash memory.
- the storage controller 100 monitors an access status for an extent that is being allocated based on the virtual volume management TBL 13500.
- the statistics information is an accumulated value from an allocation of an extent to a virtual volume and a trend of a read/write.
- the statistics information can also be an accumulated value in a unit time.
- the statistics information of an extent of a target of a judgment of necessity can be reset.
- the storage controller 100 can reset only the statistics information that is related to an extent that has been moved by an inter-device WL.
- Fig. 10 is a view showing a configuration example of an FM WR amount prediction TBL 13700 in the present embodiment.
- the FM WR amount prediction TBL 13700 is configured based on the statistics information management TBL 13600.
- the FM WR amount prediction TBL 13700 is provided with a Disk# 13701, an extent# 13702, a WR amount 13706, and an FM WR predicted amount 13708 for every Disk.
- the Disk# 13701 is an identifier of the Disk and a unique number.
- the extent# 13702 is an identifier of an extent and a unique number. In the case in which an extent is disposed over a plurality of SSDs that configure an RG, the extent described here means a part of an extent to be precise.
- the WR amount 13706 indicates a total amount of WR data in which an address range that is corresponded to an extent in an address range of the Disk is a write destination.
- the FM WR predicted amount 13708 indicates a predicted amount of data that is written to a flash memory as a practical matter.
- the WR amount 13706 for an extent is considered as a real WR amount for a region that is corresponded to the extent for the Disk (SSD).
- SSD Disk
- a write data amount to an extent is large
- a rewrite of data to a block for an SSD that is a basis of the extent occurs on a number of occasions, and an erasing frequency of a block is increased.
- a length of life of an SSD that is provided with the block is shortened in the case in which an erasing frequency of a block is increased. Consequently, a highly accurate inter-device WL can be executed by deciding an extent of a movement target based on a write data amount to the extent in the case in which an inter-device WL is executed.
- Fig. 14 is a view showing a configuration example of a cache memory 716 of the SSD 700.
- the cache memory 716 is provided with a Program Area 22000, a Table Area 23000, and a Data Cache Area 24000.
- the Program Area 22000 and the Table Area 23000 are regions in which a program for controlling the SSD 700 and a wide variety of tables are stored.
- the Data Cache Area 24000 is a region that is used to store user data on a temporary basis.
- the Program Area 22000 is provided with a Write I/O Program 22100, a Read I/O Program 22200, an in-SSD WL Program 22300, a free capacity generation Program 22400, and an SSD internal information communication Program 22500.
- the Write I/O Program 22100 is a program for processing a write request from the storage controller 100.
- the Read I/O Program 22200 is a program for processing a read request from the storage controller 100.
- the in-SSD WL Program 22300 is a program for executing a WL in the SSD.
- the free capacity generation Program 22400 is a program for executing a reclamation processing that is executed for avoiding a depletion of a free space of the SSD 700.
- the SSD internal information communication Program 22500 is a program for creating the internal information of an SSD in accordance with a request of the storage controller 100 and notifying the storage controller 100 of the SSD internal information.
- the Table Area 23000 is provided with a logical physical conversion TBL 23100 and a statistics information management TBL 23200.
- the logical physical conversion TBL 23100 is a table for managing a correspondence between a logical address space and a physical address space of the SSD 700.
- the statistics information management TBL 23200 is a table for managing the statistics information of the SSD.
- the Data Cache Area 24000 is provided with a region that is used to store the user data 24100.
- the user data 24100 is data that is written to a block and data that has been read from a block.
- Fig. 15 is a view showing a configuration example of the logical physical conversion TBL 23100.
- the logical physical conversion TBL 23100 is provided with a Start-LBA 23100, a Chunk# 23102, a Block# 23103, and a Page# 23104.
- the Start-LBA 23100 indicates a starting position of an LBA that is provided to the storage controller 100. Since an I/O unit of a flash memory is a page, a numerical value of the Start-LBA 23100 is managed by a multiple number of a page size.
- the Chunk# 23102, the Block# 23103, and the Page# 23104 indicate the information of a physical address space that is corresponded to the Start-LBA 23100.
- the logical physical conversion TBL 23100 is provided with the information related to a chunk, a block, and a page that are corresponded to each Start-LBA 23100.
- Fig. 16 is a view showing a configuration example of the statistics information management TBL 23200 in the SSD.
- the information that is included in the statistics information management TBL 23200 is notified to the storage controller 100.
- the statistics information management TBL 23200 is provided with the information 23210 of a unit of an SSD, and the information 23220 of a unit of a Chunk.
- the statistics information management TBL 23200 can be provided with at least one of the information 23210 of a unit of an SSD and the information 23220 of a unit of a Chunk (an aggregate of a plurality of extents). In the present embodiment, the statistics information management TBL 23200 is provided with the information 23210 of a unit of an SSD.
- the information 23210 of a unit of an SSD is provided with an SSD# 23211, a WR amount 23212, and a remaining erasing frequency 23213.
- the SSD# 23211 indicates an identifier of an SSD.
- the WR amount 23212 indicates a total amount of data that been written to an SSD.
- the remaining erasing frequency 23213 indicates a remaining frequency of erasing until a length of life for an SSD.
- the remaining erasing frequency 23213 is a value (for instance, a total sum) based on a remaining erasing frequency of a block that is included in an SSD.
- the information 23220 of a unit of a Chunk is provided with a Chunk# 23221, a WR amount 23222, and a remaining erasing frequency 23223.
- the Chunk# 23221 indicates an identifier of a Chunk.
- the WR amount 23222 indicates a total amount of data that been written to a Chunk.
- the remaining erasing frequency 23223 indicates a remaining frequency of erasing for a Chunk.
- the remaining erasing frequency 23223 is a value (for instance, a total sum) based on a remaining erasing frequency of a block that configures the Chunk.
- a numerical value of the present table 23200 is updated (for instance, can be added) in the case in which a write of data or the erasing of data occurs.
- the present table 23200 can store not only the information related to a write but also the information related to a read.
- Fig. 17 is a view showing a configuration example of the SSD internal information 25000.
- the SSD internal information 25000 is the information that is transmitted from an SSD.
- the SSD internal information 25000 is provided with the address information 25100 and the statistics information 25200 for instance.
- the address information 25100 is the information that is created based on the logical physical conversion TBL 23100.
- the logical physical conversion TBL 23100 is configured to notify the storage controller 100 of a correspondence status between a logical address and a physical address for instance.
- the logical physical conversion TBL 23100 is the information that indicates a Chunk that is corresponded to an LBA to be more precise for instance.
- the SSD address information 25100 is not notified from the SSD controller 710 to the storage controller 100. In the embodiment 3 described later, the address information 25100 is notified from the SSD controller 710 to the storage controller 100.
- the statistics information 25200 is the information that is created based on the statistics information management TBL 23200.
- the statistics information 25200 (see Fig. 16) is the information that is configured to make the storage controller 100 to create the information related to a life length of each SSD for instance.
- the statistics information 25200 includes a data amount that has been written to an SSD and a remaining number of the erasing enable number of times for instance.
- An amount of the information that is included in the SSD internal information 25000 is varied depending on a notification granularity in a unit of an SSD and a unit of a Chunk (see the statistics information management TBL 23200).
- An amount of the information in the case of a unit of an SSD is smaller than that in the case of a unit of a Chunk. Consequently, an overhead of a communication is smaller in the case of a unit of an SSD.
- an SSD notifies the storage controller of the information in a unit of a Chunk, it is necessary to transfer the information for a plurality of Chunks in the SSD. However, the storage controller can comprehend the internal information in more detail and can execute the inter-device WL.
- a notification unit is a unit of an SSD.
- the address information 25100 is not included and the statistics information 25200 is provided with only the information 23210 in a unit of an SSD of the statistics information management TBL 23200.
- the information that is notified from the SSD controller 710 to the storage controller as the SSD internal information 25000 can include the information related to a life length of each SSD that has been created by the SSD controller 710 in addition to the information configured to make the storage controller 100 to create the information related to a life length of each SSD.
- the SSD can also manage the information in a plurality of granularity such as a unit of an SSD and a unit of a Chunk, and can modify the granularity of the information to be notified of.
- Fig. 18 is a sequence drawing showing an example of a flow of a processing from a transmission of a write request from the host computer 30 to a completion of the processing of the write request.
- the host computer 30 transmits write data and a write request to the storage controller 100 (S100).
- the storage controller 100 receives the write data and the write request and judges whether or not an extent has been allocated to a write destination range (an address range for a virtual volume) that is indicated by the write request based on the virtual volume management table 13500 (S101).
- the storage controller 100 can allocate an extent to a write destination range that is indicated by the write request while taking the opportunity of receiving the write request.
- an extent has been unallocated as a result of the judgment (S101: No)
- the storage controller 100 finds an unallocated extent, allocates a virtual extent of the extent to the write destination range (S102), and stores the received data to the cache memory 103 (S103).
- the storage controller 100 can allocate an extent in the case in which the storage controller 100 transmits data from the cache memory 103 to the SSD.
- the storage controller 100 transmits the data that has been stored into the cache memory 103 and the write request to the SSD controller 710 of an SSD 700 that is a stored destination of data (S104).
- the SSD controller 710 receives the data and the write request from the storage controller 100, decides a flash memory that is a stored destination of the received data based on the logical physical conversion TBL 23100, and stores the data into the decided flash memory (S105).
- the SSD controller 710 updates the statistics information management TBL 23200 related to the received data (S106).
- the SSD controller 710 transmits a completion response of a transfer as a response of the write request that has been received in the S105 to the storage controller 100 (S107).
- the storage controller 100 receives the completion response of a transfer from the SSD controller 710, and updates the statistics information management TBL 23200 (S108).
- the storage controller 100 transmits a completion response of a transfer as a response of the write request that has been received in the S101 to the host computer 30 (S109).
- the host computer 30 receives the completion response of a transfer from the storage controller 100, and terminates a sequence of processing (S110).
- the storage controller 100 can transmit the completion response of a transfer to the host computer 30 at the time point when data is stored into the cache memory 103, and then transmit data from the cache memory 103 to an SSD at an arbitrary timing.
- the present processing is called a post line processing, and is known as one means for improving a write processing performance of the storage controller 100.
- an operation of the storage controller 100 is an operation that has been executed by an execution of an I/O Program 12100
- an operation of the SSD controller 710 is an operation that has been executed by an execution of a Write I/O Program 22100.
- Fig. 19 is a sequence drawing showing an example of a flow of a processing from a transmission of a read request from the host computer 30 to a completion of the processing of the read request.
- the host computer 30 transmits write data and a read request to the storage controller 100 (S200).
- the storage controller 100 receives the read request of data, identifies an SSD that is a basis of an extent that has been allocated to a read source range (an address range of a virtual volume) that conforms to the read request, and transmits the read request of data (also referred to as a staging request) to the SSD controller 710 of the identified SSD (S201).
- the SSD controller 710 receives the read request of data, identifies a physical address range that is corresponded to a logical address range that conforms to the read request based on the logical physical conversion TBL 23100, reads data from the physical address range (at least one page), and transmits the read data to the storage controller 100 (S202). At this time, the SSD controller 710 updates the statistics information management TBL 23200 (S203).
- the storage controller 100 receives data from the SSD controller 710 as a response of the read request that has been transmitted in the S201, stores the received date into the cache memory 103 (S204), and updates the statistics information management TBL 13600 (S205). After that, the storage controller 100 transmits data that has been stored in the S204 to the host computer 30 (S206).
- the host computer 30 receives data from the storage controller 100 as a response of the read request that has been transmitted in the S200, and terminates a sequence of processing (S207).
- an operation of the storage controller 100 is an operation that has been executed by an execution of a Read I/O Program 12200
- an operation of the SSD controller 710 is an operation that has been executed by an execution of a Read I/O Program 22200.
- Fig. 20 is a sequence drawing showing an example of a flow of an inter-device WL control processing.
- the storage controller 100 requests a notification of the internal information 25000 (see Fig. 17) to the SSD controller 710, and receives the internal information of the SSD 700 from the SSD controller 710 in response to the request (S300).
- the storage controller 100 updates the Disk management TBL 13100 and calculates a remaining length of life of each SSD based on the internal information (S301). A method for calculating a remaining length of life will be described later with reference to Fig. 21.
- the storage controller 100 judges whether or not the inter-device WL is required (S302). This can be judged by checking whether or not there is an SSD that reaches a length of life prior to a guarantee period (a remaining life length 13107 is shorter than a remaining guarantee period 13104) or whether or not there is a dispersion of a write amount between SSDs (a total write amount 13105 is not equalized) for instance. In the case in which an extent is disposed over a plurality of SSDs and there is at least one SSD that reaches a length of life prior to a guarantee period among the plurality of SSDs, the storage controller 100 can also execute an inter-device WL.
- the storage controller 100 proceeds to the S303 and predicts a write amount of a flash memory for every extent based on the statistics information (13701 to 13706) of the storage controller 100 and the internal information (23211 to 23213) of the SSD 700 (S303: the details will be described with reference to Fig. 22).
- the storage controller 100 executes the inter-device WL based on the predicted result of the S303 (S304: the details will be described with reference to Figs. 22 to 32). After that, the storage controller 100 updates the information related to an extent that has stored data that has been moved in the inter-device WL (for instance, the information that has been stored into a table) (S305). Subsequently, the storage controller 100 terminates the present processing.
- the storage controller 100 terminates the present processing.
- the present processing can also be executed at any timing.
- the present processing can also be executed at the same interval of time (for instance, every other day).
- the present processing can be executed in conjunction with an I/O request of the host computer 30.
- the present processing can be executed at the timing when a specific command is received.
- the present processing can be executed in the case in which a user instructs an execution opportunity of the present processing from the control software of the host computer 30.
- an operation of the storage controller 100 is an operation that has been executed by executing the inter-SSD WL Program 12500.
- Fig. 21 is a schematic illustrative drawing showing S301 (a life length prediction of an SSD) of Fig. 20.
- a method for predicting a reaching time to a length of life from the rate of decline of a remaining erasing frequency will be described in the following.
- a length of life of an SSD is a period in which the SSD can be used as a practical matter.
- a horizontal axis indicates a time and a vertical axis indicates a remaining erasing frequency.
- a life length is shortened. Consequently, it is necessary that an inter-device WL is executed (more specifically, data that has been stored into an extent is exchanged between SSDs) in such a manner that other SSD that is provided with a long life length is used in a positive manner.
- an SSD that is provided with a short life length (a life length is equal to or less than a threshold value) is detected.
- t (previous time) 30000 is a point of time when a life length prediction was executed at a previous time and a point of time that is indicated by a value that has been stored into the information update date 13103.
- EZ (previous time) 30003 is a remaining erasing frequency at a point of time of a life length prediction of a previous time and a number of times that is indicated by a value that has been stored into the remaining erasing frequency 13106.
- t (present time) 30001 is a point of time when a life length prediction was executed at a present time
- EZ (present time) 30002 is a remaining erasing frequency of a present time and a value that can be acquired from the SSD internal information that is issued this time.
- an inclination (I) 3004 can be calculated. The larger the inclination (I) 3004 is, the higher the rate of decline of a remaining erasing frequency is.
- t (life length reach) - (EZ (present time) divided by inclination (I))
- the storage media and the storage apparatus are used for a predetermined period (a guarantee period of 5 years for instance) and data is guaranteed. Consequently, in the case in which an inter-device WL is executed in which a guarantee period is one index, a plurality of storage media (such as SSDs) can be used for a guarantee period or longer.
- a vertical axis can be substituted with a remaining erasing frequency and a remaining Write amount (a value that is obtained by subtracting a total Write amount 13105 from the all Write total amount) can also be used.
- Fig. 22 is a sequence drawing showing an example of a flow of S303 (a prediction of a write amount of a flash memory) of Fig. 20.
- the processor 104 acquires a WR amount 13706 to an extent that is the statistics information that is required for the FM WR amount prediction TBL 13700 based on the information of the statistics information management TBL 13600 (S3031).
- the processor 104 makes the WR amount 13706 that has been acquired to be an FM WR predicted amount to a flash memory in an SSD to which an extent belongs (S3032).
- Pattern A data is moved between RGs in a unit of an extent (Fig. 23); Pattern B: data is moved between RGs in a unit of an extent, and a storage location of a plurality of data elements (data (and parity)) based on data in the extent is optimized for the RG of a movement destination (Fig. 25); Pattern C: data is moved between RGs in a specific unit of data in an extent (Fig. 27); Pattern D: data is moved in an RG in a specific unit of data in an extent (Fig. 28); Pattern E: data is moved between different devices in accordance with a performance characteristic of a device (Fig. 30); and Pattern F: data is moved in accordance with a life length characteristic of a device (Fig. 32).
- the condition is that at least two RGs exist. Moreover, for the pattern D, there is at least one RG. Moreover, for the pattern E and the pattern F, the condition is that at least two RGs that are provided with different Disk types exist.
- a write load is an FM WR predicted amount.
- a high (low) write load means that an FM WR predicted amount is large (small).
- Fig. 23 is a schematic illustrative drawing showing an execution pattern A of an inter-device WL.
- An RG #n 310 is configured by an SSD 3110, an SSD 3120, and an SSD 3130, and there is an extent #3140 based on an RG #n 310. Data based on data 3111 in the SSD 3110, data 3121 in the SSD 3120, and data 3131 in the SSD 3130 has been stored into the extent #3140.
- An RG #m 410 is configured by an SSD 4110, an SSD 4120, and an SSD 4130, and there is an extent #4140 based on an RG #m 410. Data based on data 4111 in the SSD 4110, data 4121 in the SSD 4120, and data 4131 in the SSD 4130 has been stored into the extent #4140.
- the RG #m 410 is a RAID group in which a length of life is short.
- the RG #m 410 includes an SSD in which a remaining length of life is shorter than a threshold value.
- a RAID group in which a length of life is short includes an SSD in which a length of life is shorter than a guarantee period.
- An extent (A) in which an FM WR predicted amount is largest is a target of an inter-device WL among a plurality of extents that are included in the RAID group.
- the RG #n 310 is a RAID group in which a length of life is long. For instance, an SSD that is included in the RAID group is provided with a remaining length of life that is larger than a threshold value.
- An extent (B) in which an FM WR predicted amount is largest is a target of an inter-device WL among a plurality of extents that are included in the RAID group.
- the storage controller 100 can execute an inter-device WL.
- an inter-device WL is executed.
- data that has been stored into the extent # 3140 and data that has been stored into the extent # 4140 are exchanged with each other for instance.
- data that is provided with a high write load is stored into the RG #n 310 that is provided with a long remaining length of life
- data that is provided with a low write load is stored into the RG #m 410 that is provided with a short remaining length of life.
- the "data exchange” means that the storage controller 100 executes the following processing for instance: (*) the storage controller 100 identifies a range of a logical address of the extent # 3140 in which data has been stored and a range of a logical address of the extent # 4140 in which data has been stored by referring to the extent management TBL 13400. (*) the storage controller 100 issues a read request to an SSD that includes the identified logical address range (more specifically, issues a read request to an SSD that is a basis of the extent # 3140 and an SSD that is a basis of the extent # 4140), reads the data from the SSD, and stores the read data into the cache memory 103 on a temporary basis.
- the SSD that has received the read request identifies a physical page in which data has been stored, reads the data, and transmits the data to the storage controller based on a logical address that is included in the read request and the logical physical conversion TBL 23100.
- the data that has been read from the SSD based on the extent # 3140 (first data) and the data that has been read from the SSD based on the extent # 4140 (second data) are stored into the cache memory 103 on a temporary basis.
- the storage controller 100 identifies an SSD that includes a logical address of the extent, and issues a write request of the data that has been stored into the cache memory 103 on a temporary basis to the SSD.
- a write request of the first data is issued to an SSD based on the extent # 4140 and a write request of the second data is issued to an SSD based on the extent # 3140.
- the first data from the extent # 3140 is stored into the extent # 4140
- the second data from the extent # 4140 is stored into the extent # 3140.
- the SSD that has received the write request identifies a free physical page from the logical physical conversion TBL 23100, writes the received data to the identified free physical page, and updates the logical physical conversion TBL 23100.
- the "data exchange” means a processing in which data that has been stored into each of two extents is identified by the extent management TBL 13400, the identified data is stored into the cache memory 103 on a temporary basis, and the stored data is stored into the other extent that is different from an extent of a read source as described above.
- the "data exchange" is equivalent to a modification of an allocation order of the allocating extent # 13505 of the virtual volume management TBL 13500 and a modification of a value of the Disk # 13405, the Stripe # 13406, the Start-LBA 13407, and the Last-LBA 13408 of the extent management TBL 13400 for instance.
- a data movement is executed between SSDs in order to reduce a divergence of a remaining length of life of the RG #n 310 and a remaining length of life of the RG #m 410 by exchanging data that has been stored into the extent # 3140 and data that has been stored into the extent # 4140 as described above.
- data that has been stored into the extent # 4140 (a short life length and a high write load) can also be moved to an extent in which data has not been stored.
- Fig. 24 is a sequence drawing showing an example of an execution pattern A of an inter-device WL.
- the storage controller 100 transmits an exchange instruction of data that has been stored into an extent to the SSD controller 710, and the SSD controller 710 that has received the exchange instruction of data transmits data related to the exchange instruction of data to the storage controller 100.
- the processor 104 selects an RG that is provided with a short length of life and that is a data movement source of an inter-device WL based on the Disk management TBL 13100 and the RG management TBL 13200.
- the RG that is provided with a short length of life is an RG that is provided with at least one (or at least two) SSDs in which a remaining life length period is equal to or less than the predetermined threshold value (a short length of life among a plurality of SSDs that are included in an RG.
- the threshold value is determined based on a guarantee period. That is, an RG that includes an SSD that reaches a length of life before a guarantee period is an RG that is provided with a short length of life.
- any RG can be a target of an inter-device WL.
- a length of life of each RG is a length of life of an SSD that is provided with a shortest length of life among SSDs that are included in each RG, and an inter-device WL can be executed in order from an RG that is provided with a shorter length of life.
- an inter-device WL can be executed in order from an RG in which the number of SSDs that are provided with a length of life shorter than a guarantee period is larger.
- the processor 104 refers to the FM WR amount prediction TBL 13700, and selects an extent (A1) that is provided with a large FM WR predicted amount in RGs that are provided with a short length of life (S30410).
- An extent that is provided with a large FM WR predicted amount is an extent that is provided with a largest FM WR predicted amount among a plurality of extents.
- the extents that are provided with a FM WR predicted amount that is equal to or larger than a threshold value can be grouped, and one extent can be selected from the group. In this case, it is not necessary that an extent that is provided with a largest FM WR predicted amount is searched, thereby shortening a processing time.
- the processor 104 selects an RG that is provided with a long length of life based on the Disk management TBL 13100 and the RG management TBL 13200.
- the RG that is provided with a long length of life is an RG that is not provided with an SSD that is provided with a short length of life among a plurality of SSDs that are included in an RG.
- an RG in which the number of SSDs that are provided with a short length of life is less can be an RG that is provided with a longer length of life.
- the processor 104 refers to the FM WR amount prediction TBL 13700, and selects an extent (A1) that is provided with a small FM WR predicted amount in RGs that are provided with a long length of life (S30411).
- An extent that is provided with a small FM WR predicted amount is an extent that is provided with a smallest FM WR predicted amount among a plurality of extents.
- the extents that are provided with a FM WR predicted amount that is equal to or less than a threshold value can be grouped, and one extent can be selected from the group.
- the processor 104 judges whether or not an FM WR predicted amount of the extent (A1) is larger than an FM WR predicted amount of the extent (B1) (S30412).
- an FM WR predicted amount of the extent (B1) is larger than an FM WR predicted amount of the extent (A1) and the extent (B1) is moved to an RG that is provided with a short remaining length of life, a write data amount to the RG is more increased, and an erasing frequency is not leveled between devices. Consequently, by this judgment, an erasing frequency can be leveled between devices in an appropriate manner without executing an unnecessary data movement.
- the processor 104 exchanges data in the extent (A1) and data in the extent (B1) with each other (S30413) and terminates the present processing.
- the processor 104 stops the data exchange (S30414) and terminates the present processing.
- Fig. 25 is a schematic illustrative drawing showing an execution pattern B of an inter-device WL.
- a data movement (a data exchange) is executed in a unit of an extent between RGs, and an optimization of a data store location in an extent is also executed. Even in the case in which data is moved between RGs, it is not always true that an optimization of a data store location in an extent is executed.
- An RG #n 320 is configured by an SSD 3210, an SSD 3220, and an SSD 3230, and there is an extent # 3240 based on an RG #n 320. Data that is based on data in the SSD 3210, data in the SSD 3220, and data in the SSD 3230 has been stored into the extent # 3240.
- An RG #m 420 is configured by an SSD 4210, an SSD 4220, and an SSD 4230, and there is an extent # 4240 based on an RG #m 420. Data that is based on data in the SSD 4210, data in the SSD 4220, and data in the SSD 4230 has been stored into the extent # 4240.
- the extent # 3240 of the RG #n 320 is provided with the regions (3211 and 3221) that are provided with a high FM WR predicted amount and the region (3231) that is provided with a middle FM WR predicted amount. In other words, the extent # 3240 is provided with regions (extent parts) that are provided with different FM WR predicted amounts. In the case in which a logical address range based on one SSD is called an "extent", it can also be said that an extent group # 3240 is provided with extents that are provided with different FM WR predicted amounts. Moreover, the RG #n 320 is a RAID group that is provided with a short length of life.
- the extent # 4240 of the RG #m 420 has stored data that is provided with a low FM WR predicted amount (4211, 4221, and 4231).
- a length of life of an SSD that configures the RG #m 420 is dispersed. More specifically, an SSD 4210 and an SSD 4230 are provided with a long length of life (a remaining erasing frequency is high) for instance, and an SSD 4220 is provided with a middle remaining length of life.
- a WL in which the extents # 3240 and # 4240 are targets of an inter-device WL is executed between SSDs. More specifically, the following will be executed: (*) Data that has been stored into the extent # 3240 and data that has been stored into the extent # 4240 are exchanged with each other.
- the data 3231 that is provided with a middle FM WR predicted amount is stored into the SSD 4220 that is provided with a middle remaining length of life
- the data 3221 that is provided with a large FM WR predicted amount is stored into the SSD 4230 that is provided with a long length of life for instance. That is, the stored locations of the data 3231 and 3221 are exchanged with each other for the extent # 3240.
- Fig. 26 is a sequence drawing showing an example of an execution pattern B of an inter-device WL.
- the processor 104 selects an RG that is provided with a short length of life based on the Disk management TBL 13100 and the RG management TBL 13200. Moreover, the processor 104 refers to the FM WR amount prediction TBL 13700, and selects an extent (A2) that is provided with a large FM WR predicted amount in RGs that are provided with a short length of life (S30420).
- the processor 104 selects an RG that is provided with a long length of life based on the Disk management TBL 13100 and the RG management TBL 13200. Moreover, the processor 104 refers to the FM WR amount prediction TBL 13700, and selects an extent (B2) that is provided with a small FM WR predicted amount in RGs that are provided with a long length of life (S30420).
- the processor 104 judges whether or not an FM WR amount of the extent (A2) is larger than an FM WR amount of the extent (B2) (S30422).
- the processor 104 judges whether or not an optimization of a data store location in an extent is possible (S30424).
- the optimization of a data store location in an extent is to store the data into an SSD that is provided with a remaining length of life that is suitable for a degree of an FM WR predicted amount of the data, more specifically, to store the data that is provided with a large FM WR predicted amount into an SSD that is provided with a long remaining length of life and to store the data that is provided with a small FM WR predicted amount into an SSD that is provided with a short remaining length of life.
- the processor 104 exchanges data in the extent (A2) and data in the extent (B2) with each other, executes a switching of a data location (an optimization of a data store location) in an extent (S30425), and terminates the present processing.
- the processor 104 exchanges data in the extent (A2) and data in the extent (B2) with each other (S30426) and terminates the present processing without executing an optimization of a data store location.
- the processor 104 stops the data movement (S30423) and terminates the present processing.
- Fig. 27 is a schematic illustrative drawing showing an execution pattern C of an inter-device WL.
- An SSD 3330 belongs to the RG #n 330 and is provided with a short length of life. However, the SSD 3330 is based on a region (an extent part of the extent (A) 3340) that is provided with a large FM WR predicted amount and data has been stored into the region 3331.
- an SSD 4310 belongs to the RG #n 430 and is provided with a long length of life. However, the SSD 4310 is based on a region (an extent part of the extent (B) 4340) that is provided with a small FM WR predicted amount and data has been stored into the region 4331.
- a data movement (a data exchange) is executed. More specifically, the data is exchanged between the region 3331 that is provided with a large FM WR predicted amount and the region 4311 that is provided with a small FM WR predicted amount.
- the processor 104 can refers to the extent management TBL 13400 in a movement of data, and can suppress the movement of data in the case in which a redundancy of the RAID is deteriorated
- one extent (A) 3340 (in other words, three extent parts of the same extent (A) 3340) is allocated to one virtual extent for instance.
- two extents (A) and (B) (in other words, an extent part of the extent (A) 3340 and an extent part of the extent (B) 4340) are corresponded to the virtual extent for instance.
- an allocated destination to which the extent (A) 3340 has been allocated is modified from a part of the extent (A) 3340 (a data movement source) to a part of the extent (B) 4340 (a data movement destination).
- an allocated destination of a part of a virtual extent to which the extent (B) 4340 has been allocated is modified from a part of the extent (B) 4340 (a data movement source) to a part of the extent (A) 3340 (a data movement destination).
- Fig. 28 is a schematic illustrative drawing showing an execution pattern D of an inter-device WL.
- a data movement is executed in a unit of an extent part in an RG.
- the pattern D that is different from the pattern C is not a movement between RGs but a data movement in the same RG.
- the basic concept of the pattern D is equal to that of the pattern C, and is to level a write load of the SSD 3410, the SSD 3420, and the SSD 3430 that configure the RG #n 340.
- the RG #n 340 is configured by the SSD 3410 that is provided with a long remaining length of life, the SSD 3420 that is provided with a middle remaining length of life, and the SSD 3430 that is provided with a short remaining length of life.
- the extents # 3440 and # 3450 are based on the RG #n 340.
- the data that has been stored into the SSD 3430 that is provided with a short length of life and that has been stored into the region 3413 that is provided with a large FM WR predicted amount is moved to the SSD 3410 that is provided with a long length of life. Moreover, the data that has been stored into the SSD 3410 that is provided with a long length of life and that has been stored into the region 3411 that is provided with a small FM WR predicted amount is moved to the SSD 3430 that is provided with a short length of life.
- a redundancy of the RAID is at risk of being deteriorated due to a movement of data.
- the processor 104 suppresses the movement of data.
- the processor 104 can store a correspondence relationship between an extent part of a movement source of the data and an extent part of a movement destination into the cache memory 103.
- a movement source can be a plurality of extents based on the correspondence relationship that has been stored.
- the processor 104 can modify the correspondence relationship between a part of a logical address range of an extent and a physical address range of an SSD.
- some extent can based on an SSD of a part of one RAID group and an SSD of a part of another RAID group.
- Fig. 29 is a sequence drawing showing an example of the execution patterns C and D of an inter-device WL.
- the processor 104 selects an RG that is formed based on the Disk that is provided with a short length of life based on the Disk management TBL 13100 and the RG management TBL 13200. Moreover, the processor 104 refers to the FM WR amount prediction TBL 13700 and selects an extent (A3) that is provided with a large FM WR predicted amount in Disks that are provided with a short length of life (S30430).
- the processor 104 selects a Disk that is provided with a long length of life based on the Disk management TBL 13100 and the FM WR amount prediction TBL 13700.
- the processor 104 selects a Disk that is provided with a long length of life among Disks that configure an RG that is different from an RG that is provided with a Disk that is provided with a short length of life in the pattern C.
- the processor 104 selects a Disk that is provided with a long length of life among Disks that configure an RG that is equal to an RG that is provided with a Disk that is provided with a short length of life in the pattern D.
- the processor 104 selects the data (B3) that is provided with a small FM WR amount among Disks that are provided with a long length of life (S30431). The processor 104 then judges whether or not an FM WR amount of the data (A3) is larger than an FM WR amount of the data (B3) (S30432).
- the processor 104 refers to the extent management TBL 13400 and judges whether or not a redundancy of the RAID is deteriorated due to a data movement (S30433).
- the processor 104 executes a data movement for exchanging a store location of the data (A) and the data (B) with each other (S30433) and terminates the present processing.
- the processor 104 stops a movement of data (S30435) and terminates the present processing.
- Fig. 30 is a schematic illustrative drawing showing an execution pattern E of an inter-device WL.
- a data movement is executed in accordance with a characteristic of a device that affects a remaining length of life of the storage media.
- the RG #n 350 is configured by an SSD of an SLC type.
- the RG #m 450 is configured by an SSD of an MLC type.
- the RG #o 550 is configured by an HDD.
- the RG #n 350 is characterized by a high speed and a long life length.
- the RG #m 450 is characterized by a high speed and a short life length.
- the RG #o 550 is characterized by a low speed and no restriction of rewriting in a substantial way.
- a device that is most suitable for a stored destination of data is selected by using a difference in a characteristic for every device.
- the data that has been stored into an extent that is provided with a small FM WR predicted amount among is stored into an extent that is provided with a small FM WR predicted amount of the SSD of an SLC type
- the data that is provided with a high read load is stored into an extent that is provided with a small FM WR predicted amount of the SSD of an MLC type
- the data that is provided with a low read load is moved to an HDD.
- each of data can be stored into a device of a type that is most suitable for the I/O characteristic.
- Fig. 30 shows an example of the pattern A (a data movement between RGs).
- the pattern E can also be applied to both of the pattern B (a data movement between RGs and a data movement between SSDs that are basis of the same extent) and the pattern C (a data movement between RGs in a specific data unit).
- Fig. 31 is a sequence drawing showing an example of an execution pattern E of an inter-device WL.
- the processor 104 selects a specific extent that is a processing target based on the Disk management TBL 13100, the RG management TBL 13200, the extent management TBL 13400, and the FM WR amount prediction TBL 13700 (S30440).
- a target extent an extent that has been selected in the S30440 is referred to as a "target extent”.
- the processor 104 judges whether or not a target extent includes a region that is provided with a large FM WR predicted amount based on the Disk management TBL 13100, the RG management TBL 13200, the extent management TBL 13400, and the FM WR amount prediction TBL 13700 (S30441). In the case in which the result of the judgment is positive (S30441: Yes), the processor 104 moves data in the target extent to an extent based on an SSD of an SLC type (S30443) and terminates the present processing.
- the processor 104 judges whether or not a read load of a target extent is high (S30442).
- the processor 104 moves data in the target extent to an extent based on an SSD of an MLC type (S30444) and terminates the present processing.
- the processor 104 moves data in the target extent to an extent based on an HDD (S30445) and terminates the present processing.
- Fig. 32 is a sequence drawing showing an example of an execution pattern F of an inter-device WL.
- the data is moved in accordance with a life length of a device.
- the processor 104 selects a specific extent that is a processing target based on the Disk management TBL 13100, the RG management TBL 13200, the extent management TBL 13400, and the FM WR amount prediction TBL 13700 (S30450).
- An extent that is selected here is an extent that is provided with a large FM WR predicted amount.
- an extent that has been selected in the S30450 is referred to as a "target extent”.
- the processor 104 judges whether or not data in the target extent can be stored into an extent based on an SSD of an MLC type from a point of view of a length of life (S30451). More specifically, the processor 104 refers to the Disk management TBL 13100 and checks whether or not a remaining life length period 13107 of an SSD is shorter than a remaining guarantee period 13104 of the SSD for each of the SSD of an MLC type that configures the same RG.
- the processor 104 tries to move data to an extent based on the SSD of an SLC type that is provided with a length of life longer than that of the SSD of an MLC type (S30452). This is possible in the case in which the processor 104 refers to the Disk management TBL 13100 and judges whether or not a remaining life length period 13107 of an SSD is shorter than a remaining guarantee period 13104 of the SSD for the SSD of an SLC type that configures the same RG.
- the processor 104 decides that an HDD that is not provided with an upper limit of a rewriting is a movement destination of data (S30455).
- the processor 104 decides that the SSD of an MLC type is a movement destination of data (S30453).
- the processor 104 decides that the SSD of an SLC type is a movement destination of data (S30454).
- an erasing frequency is also increased in accordance with the step.
- an accuracy of an inter-device WL is improved by predicting a WA.
- the WA will be described in detail in the following in the first place.
- the WA is a rate that is obtained by dividing the following (b) by (a) ((b) / (a)): (a) an amount of data that has been received from the storage controller 100 by the SSD; and (b) an amount of data that is written to a flash memory as a practical matter.
- the SSD 700 receives WR data from the storage controller 100 in the state in which no data has been written to the SSD 700, the data is written to a free page without any change, whereby the predicted WA have a high probability of being "1.0".
- the effective data has been written to a page of the SSD 700 and a reclamation processing is required without a free page, a page that is a movement destination of the effective data and a page in which data from the storage controller 100 is to be written are required, whereby the predicted WA exceeds "1.0".
- the WA 13707 is small even in the case in which the WR amount 13706 is small. This is because a unique processing of the SSD such as a WL and a reclamation processing occurs in the SSD 700.
- the reclamation processing is a processing in which a free block is generated by collecting pages that store the effective data to write to another block, by generating a block that is provided with only the ineffective data, and by erasing data in the block in the case in which a free block is started to be depleted for instance.
- the WA has a characteristic in which a random I/O (also referred to as a random access) is larger than a sequential I/O (also referred to as a sequential access).
- the sequential I/O is an I/O to a continuous LBA space in general. Consequently, there is a high possibility that new data is written to all pages that configure one block. Therefore, all data that exist in the block are not ineffective data in some case and a free page can be formed only by executing an erasing processing to the block. Accordingly, since there is a low necessity of moving data for the sequential I/O, a page that is a movement destination of data is not consumed and there is a high possibility that the WA is "1" or a numerical value that is close to "1".
- the random I/O is an I/O to a discontinuous LBA in general and a plurality of blocks is I/O destinations in some cases for instance.
- a data amount that is moved in a reclamation processing is larger as compared with a sequential write. Therefore, there is a high possibility that the WA is a numerical value that is larger than "1".
- the WA is larger for a small size I/O as compared with a large size I/O.
- a small size I/O means that a size of data that is associated with an I/O command is small.
- a large size I/O means that a size of data that is associated with an I/O command is large.
- data of 512 B is transmitted to an SSD as a write target for instance and the minimum write unit (page) is 8192 B
- one page of 8192 B is consumed and data of 512 B is stored. This is equal to that a write of data of 16 times as compared with a size of data to an SSD is executed to an internal flash memory. This depends on an I/O size and a page size.
- a value of a WA also depends on an existence or non-existence of a compression function of an SSD, an existence or non-existence of a duplication exclusion function of an SSD, and a type of a compression algorithm of a compression function. This is because data in which a compression effect or a duplication exclusion effect is high is provided with a small write data size.
- a value of a WA also depends on a cache hit rate in an SSD. This is because a write to a flash memory does not occur in the case in which write data is updated on a cache in an SSD.
- a value of a WA also depends on a data storage rate of an SSD (a rate of the total amount of user data to a capacity of an SSD).
- the SSD can utilize a remaining region of 50 GB as a free page. Even in the case in which all of the user data of 50 GB is updated to new data, the new data can be written to a remaining free page of 50 GB. At this time, since the updated data is invalid data all, a free page can be formed by only executing an erasing processing in the reclamation processing. Consequently, in the case in which a data storage rate of an SSD is small (more specifically, a half or less), an efficiency of the reclamation is improved and there is a high possibility that the WA comes close to "1".
- a WA is affected by a wide variety of factors.
- the storage controller predicts a WA in consideration of these (see Fig. 34).
- Fig. 33 is a view showing a configuration example of an FM WR amount prediction TBL 13700 in accordance with the present embodiment.
- the FM WR amount prediction TBL 13700 includes the information that is required for predicting a data amount that is written in an SSD as a practical matter.
- the FM WR amount prediction TBL 13700 is configured based on the statistics information management TBL 13600.
- the FM WR amount prediction TBL 13700 is provided with a Disk# 13701, an extent# 13702, an average WR I/O Size 13703, a WR I/O Pattern 13704, a WR rate 13705, a WR amount 13706, a predicted WA (Write Amplification) 13707, and an FM WR predicted amount 13708 for every Disk.
- the Disk# 13701 is an identifier of the Disk and a unique number.
- the extent# 13702 is an identifier of an extent and a unique number.
- the average WR I/O Size 13703 is an average size of data in which an address range that is corresponded to an extent in an address range of the Disk is a WR I/O destination.
- the WR I/O Pattern 13704 indicates whether a pattern of a WR I/O is a random pattern or a sequential pattern.
- the WR rate 13705 indicates a rate of a WR command of an I/O to an address range that is corresponded to an extent in an address range of the Disk.
- the WR amount 13706 indicates a total amount of WR data in which an address range that is corresponded to an extent in an address range of the Disk is a write destination.
- the predicted WA 13707 is a numerical value that predicts a multiple number of an increase of WR data from the storage controller 100 in the SSD 700.
- the predicted WA is based on a WA information storage TBL 13800 described later.
- the FM WR predicted amount 13708 indicates a predicted amount of data that is written to a flash memory as a practical matter.
- the value is a numerical value that is obtained based on the WR amount 13706 and the predicted WA 13707 (a product of the WR amount 13706 and the predicted WA 13707).
- the present table 13700 is a table for comprehending a data amount in a unit of an extent in the SSD 700 for a write data amount that has been transmitted from the storage controller 100 to the SSD 700.
- the Disk# 13701 to the WR amount 13706 are updated based on the statistics information management TBL 13600.
- Fig. 34 is a view showing a configuration example of a WA information storage table 13800 in accordance with a second embodiment.
- the WA information storage table 13800 is provided with a WR I/O pattern 13801, an average WR I/O size 13802, and a predicted WA 13803. It is thought that the WA is also affected by factors other than a WR I/O pattern and an average WR I/O size. However, the present embodiment is based on a concept that an influence of a WR I/O pattern and an average WR I/O size to the WA is large. As substitute for or in addition to an average WR I/O size, the maximum (or minimum) WR I/O size in a unit time can also be adopted.
- the predicted WA 13803 can also be determined based on not only the WR I/O pattern 13801 and the average WR I/O size 13802 but also any items (a WR IOPS 13603, an RD IOPS 13604, a WR rate 13607, a WR amount 13608, and an RD amount 13609) of the statistics information management TBL 13600.
- the information that is included in the statistics information is the information that can be easily acquired by monitoring an I/O by the storage controller 100 (the statistics information may be installed in advance as a function of the storage controller 100). Consequently, an WA can be predicted without executing a communication overhead between the storage controller and an SSD.
- the WR I/O pattern 13801 indicates an I/O pattern of a write.
- the average WR I/O size 13802 indicates an average value of a size of write data.
- the predicted WA 13803 indicates a value of a WA that is predicted to the I/O pattern and the average I/O size.
- a predicted WA is 1.0 regardless of an average I/O size.
- a predicted WA is larger as an I/O size is smaller.
- the compression function and the duplication exclusion function can be added to the WA information storage table 13800.
- the data of a specific pattern (such as all zero data) is provided with a high compression effect, and a write amount in an SSD is small. Consequently, in the case in which the storage controller 100 has a high tendency to write a data pattern in which a compression effect or a duplication exclusion effect is high to an SSD, the predicted WA is made small.
- the predicted WA can be made small.
- the predicted WA can be made small.
- the storage controller 100 acquires the internal information from the SSD and predicts a WA, an accuracy of the predicted WA can be more improved.
- Fig. 35 is a sequence drawing showing an example of a flow of S303 (a prediction of a write amount of a flash memory) of Fig. 20.
- the processor 104 acquires a WR amount to an extent from the statistics information management TBL 13600 (S3033).
- the processor 104 acquires an average WR I/O Size 13703, a WR I/O Pattern 13704, and a WR amount 13706 that are the statistics information that is required for the FM WR amount prediction TBL 13700 based on the information of the statistics information management TBL 13600 (S3034).
- the processor 104 acquires a value of a predicted WR13803 from the WA information storage TBL 13800 based on the information that has been acquired in the S3034 (S3031).
- the processor 104 calculates the FM WR predicted amount 13708 based on the predicted WA 13803 and the WR amount 13706 to an extent.
- the FM WR predicted amount 13708 is calculated by a product of the predicted WA 13803 and the WR amount 13706 to an extent.
- the FM WR predicted amount 13708 is obtained not only by the WR amount 13706 but also based on the WR amount 13706 to an extent and the predicted WA 13707. Consequently, an inter-device WL with a higher degree of precision can be executed, thereby lengthening a life length of an SSD.
- a granularity of the information that is acquired by the storage controller 100 is expanded in a Chunk unit.
- the statistics information 25200 shown in Fig. 17 can include the information 23210 in an SSD unit and the information 23220 in a Chunk (an aggregate of a plurality of extents) unit.
- the address information 25100 includes the information in a unit of an SSD and the logical physical conversion information in a Chunk unit.
- the processor 104 can comprehend a Chunk to which an extent belongs.
- the information that is acquired by the storage controller 100 for the present embodiment is more detailed as compared with that of the embodiments 1 and 2. Consequently, a predicted accuracy of an FM WR amount is improved, thereby improving an accuracy of an inter-device WL.
- a specific point that has been modified from the embodiment 1 will be described with reference to Fig. 36.
- Fig. 36 is a view showing a configuration example of an FM WR amount prediction TBL 13700 in accordance with the present embodiment.
- the FM WR amount prediction TBL 13700 includes the information of the Chunk# 13710 and the Chunk WR amount 13711.
- the Chunk# 13710 indicates the number of a Chunk to which an extent belongs.
- the Chunk WR amount 13711 indicates the total value of an FM WR amount that is corresponded to a Chunk (an amount of data that has been written to a flash memory region that is corresponded to a Chunk).
- the present embodiment enables the FM WR predicted amount 13708 to be calculated with a higher degree of accuracy as compared with the embodiment 1.
- an inter-device WL can be implemented with a high degree of accuracy in the case in which the storage controller 100 predicts an internal status of an SSD (for instance, the FM WR predicted amount 13708) based on the statistics information 25200.
- the storage controller 100 executes a processing for converting a remaining erasing frequency to the number of remaining dates.
- an SSD can also directly notify of the number of remaining dates. This can be implemented in the case in which an SSD is provided with a function for converting a remaining erasing frequency to the number of remaining dates as shown in Fig. 21 for instance.
- an erasing frequency or an FM WR predicted amount is used for calculating a remaining length of life.
- a flash memory is provided with a characteristic in which as a time from a write (programming) of data to an erasing is shorter, the flash memory is deteriorated more easily. Consequently, in the case in which a remaining length of life is calculated, not only an erasing frequency and an FM WR predicted amount but also an index "degree of deterioration" in consideration of a time from a write to an erasing can also be used.
- an accumulation of values (points) that are corresponded to a time elapsed from a previous write for every erasing of a block can be used for instance. More specifically, a degree of deterioration can be managed by adding points that are corresponded to an elapsed time for every erasing as 40 points in the case in which data is erased within 5 minutes from a time when data was written and 35 points in the case in which data is erased within 10 minutes from a time when data was written for instance.
- a length of life can be predicted by a rate of increase in a degree of deterioration.
- a length of life can be predicted with a higher degree of accuracy as compared with the case in which only an FM WR predicted amount and an erasing frequency are used, thereby executing an inter-device WL with a high degree of accuracy.
- an inter-device WL can also be executed in a unit of an LU (Logical unit).
- the storage controller 100 acquires the statistics information in a unit of an LU.
- a RAID group of a movement source (a RAID group that is provided with a short length of life) and a RAID group of a movement destination (a RAID group that is provided with a long length of life) are selected based on a length of life of a RAID group similarly to the above embodiments, and data that has been stored into an LU is moved based on a predicted write amount (a write load) of the RAID group of a movement source and the RAID group of a movement destination that have been selected.
Landscapes
- Engineering & Computer Science (AREA)
- Theoretical Computer Science (AREA)
- Human Computer Interaction (AREA)
- Physics & Mathematics (AREA)
- General Engineering & Computer Science (AREA)
- General Physics & Mathematics (AREA)
- Techniques For Improving Reliability Of Storages (AREA)
Priority Applications (7)
| Application Number | Priority Date | Filing Date | Title |
|---|---|---|---|
| EP12708594.2A EP2791774A1 (en) | 2012-02-08 | 2012-02-08 | Storage apparatus with a plurality of nonvolatile semiconductor storage units and control method thereof to place hot data in storage units with higher residual life and cold data in storage units with lower residual life |
| JP2014534292A JP5844473B2 (ja) | 2012-02-08 | 2012-02-08 | 複数の不揮発性の半導体記憶媒体を有し、ホットデータを長寿命記憶媒体に配置しコールドデータを短寿命記憶媒体に配置するストレージ装置、及び、記憶制御方法 |
| PCT/JP2012/000843 WO2013118170A1 (en) | 2012-02-08 | 2012-02-08 | Storage apparatus with a plurality of nonvolatile semiconductor storage units and control method thereof to place hot data in storage units with higher residual life and cold data in storage units with lower residual life |
| IN5977DEN2014 IN2014DN05977A (enExample) | 2012-02-08 | 2012-02-08 | |
| CN201280069439.9A CN104115109A (zh) | 2012-02-08 | 2012-02-08 | 具有多个非易失性半导体存储单元的存储装置及其用于在具有较高残留寿命长度的存储单元中放置热数据而在具有较低残留寿命长度的存储单元中放置冷数据的控制方法 |
| US13/391,728 US9405478B2 (en) | 2012-02-08 | 2012-02-08 | Storage apparatus provided with a plurality of nonvolatile semiconductor storage media and storage control method |
| US15/192,066 US20160306557A1 (en) | 2012-02-08 | 2016-06-24 | Storage apparatus provided with a plurality of nonvolatile semiconductor storage media and storage control method |
Applications Claiming Priority (1)
| Application Number | Priority Date | Filing Date | Title |
|---|---|---|---|
| PCT/JP2012/000843 WO2013118170A1 (en) | 2012-02-08 | 2012-02-08 | Storage apparatus with a plurality of nonvolatile semiconductor storage units and control method thereof to place hot data in storage units with higher residual life and cold data in storage units with lower residual life |
Related Child Applications (2)
| Application Number | Title | Priority Date | Filing Date |
|---|---|---|---|
| US13/391,728 A-371-Of-International US9405478B2 (en) | 2012-02-08 | 2012-02-08 | Storage apparatus provided with a plurality of nonvolatile semiconductor storage media and storage control method |
| US15/192,066 Continuation US20160306557A1 (en) | 2012-02-08 | 2016-06-24 | Storage apparatus provided with a plurality of nonvolatile semiconductor storage media and storage control method |
Publications (1)
| Publication Number | Publication Date |
|---|---|
| WO2013118170A1 true WO2013118170A1 (en) | 2013-08-15 |
Family
ID=48903939
Family Applications (1)
| Application Number | Title | Priority Date | Filing Date |
|---|---|---|---|
| PCT/JP2012/000843 Ceased WO2013118170A1 (en) | 2012-02-08 | 2012-02-08 | Storage apparatus with a plurality of nonvolatile semiconductor storage units and control method thereof to place hot data in storage units with higher residual life and cold data in storage units with lower residual life |
Country Status (6)
| Country | Link |
|---|---|
| US (2) | US9405478B2 (enExample) |
| EP (1) | EP2791774A1 (enExample) |
| JP (1) | JP5844473B2 (enExample) |
| CN (1) | CN104115109A (enExample) |
| IN (1) | IN2014DN05977A (enExample) |
| WO (1) | WO2013118170A1 (enExample) |
Cited By (3)
| Publication number | Priority date | Publication date | Assignee | Title |
|---|---|---|---|---|
| GB2514354A (en) * | 2013-05-20 | 2014-11-26 | Ibm | Managing storage devices having a lifetime of a finite number of operations |
| JP2015197832A (ja) * | 2014-04-02 | 2015-11-09 | コニカミノルタ株式会社 | 情報処理装置及びフラッシュメモリの制御方法 |
| US10083072B2 (en) | 2015-08-14 | 2018-09-25 | Fujitsu Limited | Abnormality handling determination program, method for abnormality handling determination, and administration device |
Families Citing this family (233)
| Publication number | Priority date | Publication date | Assignee | Title |
|---|---|---|---|---|
| US20110276776A1 (en) * | 2010-05-07 | 2011-11-10 | Tatu Ylonen Oy Ltd | Addressing for Huge Direct-Mapped Object Systems |
| US11614893B2 (en) | 2010-09-15 | 2023-03-28 | Pure Storage, Inc. | Optimizing storage device access based on latency |
| US12008266B2 (en) | 2010-09-15 | 2024-06-11 | Pure Storage, Inc. | Efficient read by reconstruction |
| US8589640B2 (en) | 2011-10-14 | 2013-11-19 | Pure Storage, Inc. | Method for maintaining multiple fingerprint tables in a deduplicating storage system |
| WO2014141411A1 (ja) * | 2013-03-13 | 2014-09-18 | 株式会社日立製作所 | ストレージシステムおよびストレージシステム制御方法 |
| DE112013006565T5 (de) * | 2013-05-17 | 2015-11-05 | Hitachi, Ltd. | Speichervorrichtung |
| CN103631538B (zh) | 2013-12-05 | 2017-04-05 | 华为技术有限公司 | 冷热数据识别门限值计算方法、装置和系统 |
| CN103699030B (zh) * | 2013-12-06 | 2016-04-06 | 中联重科股份有限公司 | 工程机械的工作机构的工作参数保存装置、系统和方法 |
| JP2015153056A (ja) * | 2014-02-13 | 2015-08-24 | 東芝テック株式会社 | 文書閲覧管理サーバ及び文書閲覧管理プログラム |
| US9933980B2 (en) * | 2014-02-24 | 2018-04-03 | Toshiba Memory Corporation | NAND raid controller for connection between an SSD controller and multiple non-volatile storage units |
| US9213485B1 (en) | 2014-06-04 | 2015-12-15 | Pure Storage, Inc. | Storage system architecture |
| US9218244B1 (en) | 2014-06-04 | 2015-12-22 | Pure Storage, Inc. | Rebuilding data across storage nodes |
| US9003144B1 (en) | 2014-06-04 | 2015-04-07 | Pure Storage, Inc. | Mechanism for persisting messages in a storage system |
| US10574754B1 (en) | 2014-06-04 | 2020-02-25 | Pure Storage, Inc. | Multi-chassis array with multi-level load balancing |
| US12341848B2 (en) | 2014-06-04 | 2025-06-24 | Pure Storage, Inc. | Distributed protocol endpoint services for data storage systems |
| US11652884B2 (en) | 2014-06-04 | 2023-05-16 | Pure Storage, Inc. | Customized hash algorithms |
| US8850108B1 (en) | 2014-06-04 | 2014-09-30 | Pure Storage, Inc. | Storage cluster |
| US12137140B2 (en) | 2014-06-04 | 2024-11-05 | Pure Storage, Inc. | Scale out storage platform having active failover |
| US11068363B1 (en) | 2014-06-04 | 2021-07-20 | Pure Storage, Inc. | Proactively rebuilding data in a storage cluster |
| US9367243B1 (en) | 2014-06-04 | 2016-06-14 | Pure Storage, Inc. | Scalable non-uniform storage sizes |
| US11399063B2 (en) | 2014-06-04 | 2022-07-26 | Pure Storage, Inc. | Network authentication for a storage system |
| US11960371B2 (en) | 2014-06-04 | 2024-04-16 | Pure Storage, Inc. | Message persistence in a zoned system |
| US9836234B2 (en) | 2014-06-04 | 2017-12-05 | Pure Storage, Inc. | Storage cluster |
| US11604598B2 (en) | 2014-07-02 | 2023-03-14 | Pure Storage, Inc. | Storage cluster with zoned drives |
| US11886308B2 (en) | 2014-07-02 | 2024-01-30 | Pure Storage, Inc. | Dual class of service for unified file and object messaging |
| US10114757B2 (en) | 2014-07-02 | 2018-10-30 | Pure Storage, Inc. | Nonrepeating identifiers in an address space of a non-volatile solid-state storage |
| US8868825B1 (en) | 2014-07-02 | 2014-10-21 | Pure Storage, Inc. | Nonrepeating identifiers in an address space of a non-volatile solid-state storage |
| US9836245B2 (en) | 2014-07-02 | 2017-12-05 | Pure Storage, Inc. | Non-volatile RAM and flash memory in a non-volatile solid-state storage |
| US9021297B1 (en) | 2014-07-02 | 2015-04-28 | Pure Storage, Inc. | Redundant, fault-tolerant, distributed remote procedure call cache in a storage system |
| US9811677B2 (en) | 2014-07-03 | 2017-11-07 | Pure Storage, Inc. | Secure data replication in a storage grid |
| US9747229B1 (en) * | 2014-07-03 | 2017-08-29 | Pure Storage, Inc. | Self-describing data format for DMA in a non-volatile solid-state storage |
| US8874836B1 (en) | 2014-07-03 | 2014-10-28 | Pure Storage, Inc. | Scheduling policy for queues in a non-volatile solid-state storage |
| US12182044B2 (en) | 2014-07-03 | 2024-12-31 | Pure Storage, Inc. | Data storage in a zone drive |
| US10853311B1 (en) | 2014-07-03 | 2020-12-01 | Pure Storage, Inc. | Administration through files in a storage system |
| US9558069B2 (en) | 2014-08-07 | 2017-01-31 | Pure Storage, Inc. | Failure mapping in a storage array |
| US12158814B2 (en) | 2014-08-07 | 2024-12-03 | Pure Storage, Inc. | Granular voltage tuning |
| US9082512B1 (en) | 2014-08-07 | 2015-07-14 | Pure Storage, Inc. | Die-level monitoring in a storage cluster |
| US9495255B2 (en) | 2014-08-07 | 2016-11-15 | Pure Storage, Inc. | Error recovery in a storage cluster |
| US10983859B2 (en) | 2014-08-07 | 2021-04-20 | Pure Storage, Inc. | Adjustable error correction based on memory health in a storage unit |
| US9483346B2 (en) | 2014-08-07 | 2016-11-01 | Pure Storage, Inc. | Data rebuild on feedback from a queue in a non-volatile solid-state storage |
| US9766972B2 (en) | 2014-08-07 | 2017-09-19 | Pure Storage, Inc. | Masking defective bits in a storage array |
| US10079711B1 (en) | 2014-08-20 | 2018-09-18 | Pure Storage, Inc. | Virtual file server with preserved MAC address |
| US10613933B2 (en) | 2014-12-09 | 2020-04-07 | Hitachi Vantara Llc | System and method for providing thin-provisioned block storage with multiple data protection classes |
| KR102343246B1 (ko) * | 2014-12-12 | 2021-12-27 | 에스케이하이닉스 주식회사 | 데이터 저장 장치 및 그것의 동작 방법 |
| WO2016117026A1 (ja) * | 2015-01-20 | 2016-07-28 | 株式会社日立製作所 | ストレージシステム |
| US10372538B2 (en) * | 2015-03-06 | 2019-08-06 | Hitachi, Ltd. | Computer system |
| US9948615B1 (en) | 2015-03-16 | 2018-04-17 | Pure Storage, Inc. | Increased storage unit encryption based on loss of trust |
| US11294893B2 (en) | 2015-03-20 | 2022-04-05 | Pure Storage, Inc. | Aggregation of queries |
| US9940234B2 (en) | 2015-03-26 | 2018-04-10 | Pure Storage, Inc. | Aggressive data deduplication using lazy garbage collection |
| US10082985B2 (en) | 2015-03-27 | 2018-09-25 | Pure Storage, Inc. | Data striping across storage nodes that are assigned to multiple logical arrays |
| WO2016163016A1 (ja) * | 2015-04-09 | 2016-10-13 | 株式会社日立製作所 | ストレージシステム及びデータ制御方法 |
| US10178169B2 (en) | 2015-04-09 | 2019-01-08 | Pure Storage, Inc. | Point to point based backend communication layer for storage processing |
| US9672125B2 (en) | 2015-04-10 | 2017-06-06 | Pure Storage, Inc. | Ability to partition an array into two or more logical arrays with independently running software |
| US12379854B2 (en) | 2015-04-10 | 2025-08-05 | Pure Storage, Inc. | Two or more logical arrays having zoned drives |
| US10140149B1 (en) | 2015-05-19 | 2018-11-27 | Pure Storage, Inc. | Transactional commits with hardware assists in remote memory |
| US9817576B2 (en) | 2015-05-27 | 2017-11-14 | Pure Storage, Inc. | Parallel update to NVRAM |
| US9547441B1 (en) * | 2015-06-23 | 2017-01-17 | Pure Storage, Inc. | Exposing a geometry of a storage device |
| US10846275B2 (en) | 2015-06-26 | 2020-11-24 | Pure Storage, Inc. | Key management in a storage device |
| US10983732B2 (en) | 2015-07-13 | 2021-04-20 | Pure Storage, Inc. | Method and system for accessing a file |
| US11232079B2 (en) | 2015-07-16 | 2022-01-25 | Pure Storage, Inc. | Efficient distribution of large directories |
| JP6403162B2 (ja) * | 2015-07-23 | 2018-10-10 | 東芝メモリ株式会社 | メモリシステム |
| US10108355B2 (en) | 2015-09-01 | 2018-10-23 | Pure Storage, Inc. | Erase block state detection |
| US11341136B2 (en) | 2015-09-04 | 2022-05-24 | Pure Storage, Inc. | Dynamically resizable structures for approximate membership queries |
| US11269884B2 (en) | 2015-09-04 | 2022-03-08 | Pure Storage, Inc. | Dynamically resizable structures for approximate membership queries |
| US12271359B2 (en) | 2015-09-30 | 2025-04-08 | Pure Storage, Inc. | Device host operations in a storage system |
| US9768953B2 (en) | 2015-09-30 | 2017-09-19 | Pure Storage, Inc. | Resharing of a split secret |
| US10762069B2 (en) | 2015-09-30 | 2020-09-01 | Pure Storage, Inc. | Mechanism for a system where data and metadata are located closely together |
| US10853266B2 (en) | 2015-09-30 | 2020-12-01 | Pure Storage, Inc. | Hardware assisted data lookup methods |
| JP6565560B2 (ja) * | 2015-10-01 | 2019-08-28 | 富士通株式会社 | ストレージ制御装置、及び制御プログラム |
| US9843453B2 (en) | 2015-10-23 | 2017-12-12 | Pure Storage, Inc. | Authorizing I/O commands with I/O tokens |
| US10007457B2 (en) | 2015-12-22 | 2018-06-26 | Pure Storage, Inc. | Distributed transactions with token-associated execution |
| JP6320439B2 (ja) * | 2016-03-10 | 2018-05-09 | 株式会社東芝 | メモリ制御装置、ストレージ装置、ストレージ装置の制御プログラム、及び、ストレージ装置の制御方法 |
| US10133503B1 (en) | 2016-05-02 | 2018-11-20 | Pure Storage, Inc. | Selecting a deduplication process based on a difference between performance metrics |
| US10261690B1 (en) | 2016-05-03 | 2019-04-16 | Pure Storage, Inc. | Systems and methods for operating a storage system |
| US12235743B2 (en) | 2016-06-03 | 2025-02-25 | Pure Storage, Inc. | Efficient partitioning for storage system resiliency groups |
| US11861188B2 (en) | 2016-07-19 | 2024-01-02 | Pure Storage, Inc. | System having modular accelerators |
| US12210476B2 (en) | 2016-07-19 | 2025-01-28 | Pure Storage, Inc. | Disaggregated compute resources and storage resources in a storage system |
| US9672905B1 (en) | 2016-07-22 | 2017-06-06 | Pure Storage, Inc. | Optimize data protection layouts based on distributed flash wear leveling |
| US10768819B2 (en) | 2016-07-22 | 2020-09-08 | Pure Storage, Inc. | Hardware support for non-disruptive upgrades |
| US12487884B1 (en) | 2017-10-31 | 2025-12-02 | Pure Storage, Inc. | Writing parity data to a targeted wordline |
| US11449232B1 (en) | 2016-07-22 | 2022-09-20 | Pure Storage, Inc. | Optimal scheduling of flash operations |
| US11080155B2 (en) | 2016-07-24 | 2021-08-03 | Pure Storage, Inc. | Identifying error types among flash memory |
| US10216420B1 (en) | 2016-07-24 | 2019-02-26 | Pure Storage, Inc. | Calibration of flash channels in SSD |
| US11604690B2 (en) | 2016-07-24 | 2023-03-14 | Pure Storage, Inc. | Online failure span determination |
| US11797212B2 (en) | 2016-07-26 | 2023-10-24 | Pure Storage, Inc. | Data migration for zoned drives |
| US10366004B2 (en) | 2016-07-26 | 2019-07-30 | Pure Storage, Inc. | Storage system with elective garbage collection to reduce flash contention |
| US11886334B2 (en) | 2016-07-26 | 2024-01-30 | Pure Storage, Inc. | Optimizing spool and memory space management |
| US11734169B2 (en) | 2016-07-26 | 2023-08-22 | Pure Storage, Inc. | Optimizing spool and memory space management |
| US10203903B2 (en) | 2016-07-26 | 2019-02-12 | Pure Storage, Inc. | Geometry based, space aware shelf/writegroup evacuation |
| KR101884913B1 (ko) * | 2016-08-09 | 2018-08-02 | 고려대학교 산학협력단 | 별도의 가상 영역으로 관리되는 복수의 정보 저장 테이블을 가지는 메모리 장치 및 그의 제어 방법 |
| US10359967B2 (en) | 2016-08-10 | 2019-07-23 | Hitachi, Ltd. | Computer system |
| JP2018036711A (ja) * | 2016-08-29 | 2018-03-08 | 富士通株式会社 | ストレージシステム,ストレージ制御装置および制御プログラム |
| US11422719B2 (en) | 2016-09-15 | 2022-08-23 | Pure Storage, Inc. | Distributed file deletion and truncation |
| US10756816B1 (en) | 2016-10-04 | 2020-08-25 | Pure Storage, Inc. | Optimized fibre channel and non-volatile memory express access |
| US10613974B2 (en) | 2016-10-04 | 2020-04-07 | Pure Storage, Inc. | Peer-to-peer non-volatile random-access memory |
| US20180095788A1 (en) | 2016-10-04 | 2018-04-05 | Pure Storage, Inc. | Scheduling operations for a storage device |
| US9747039B1 (en) | 2016-10-04 | 2017-08-29 | Pure Storage, Inc. | Reservations over multiple paths on NVMe over fabrics |
| US12039165B2 (en) | 2016-10-04 | 2024-07-16 | Pure Storage, Inc. | Utilizing allocation shares to improve parallelism in a zoned drive storage system |
| US10481798B2 (en) | 2016-10-28 | 2019-11-19 | Pure Storage, Inc. | Efficient flash management for multiple controllers |
| CN106502591B (zh) * | 2016-10-26 | 2019-10-25 | 深信服科技股份有限公司 | 一种基于混合存储产品的存储控制方法和存储控制装置 |
| US10359942B2 (en) | 2016-10-31 | 2019-07-23 | Pure Storage, Inc. | Deduplication aware scalable content placement |
| US11550481B2 (en) | 2016-12-19 | 2023-01-10 | Pure Storage, Inc. | Efficiently writing data in a zoned drive storage system |
| US10282097B2 (en) * | 2017-01-05 | 2019-05-07 | Western Digital Technologies, Inc. | Storage system and method for thin provisioning |
| US11307998B2 (en) | 2017-01-09 | 2022-04-19 | Pure Storage, Inc. | Storage efficiency of encrypted host system data |
| US9747158B1 (en) | 2017-01-13 | 2017-08-29 | Pure Storage, Inc. | Intelligent refresh of 3D NAND |
| US11955187B2 (en) | 2017-01-13 | 2024-04-09 | Pure Storage, Inc. | Refresh of differing capacity NAND |
| US10979223B2 (en) | 2017-01-31 | 2021-04-13 | Pure Storage, Inc. | Separate encryption for a solid-state drive |
| US10528488B1 (en) | 2017-03-30 | 2020-01-07 | Pure Storage, Inc. | Efficient name coding |
| JP6536614B2 (ja) * | 2017-03-30 | 2019-07-03 | 日本電気株式会社 | ストレージ装置、ストレージ装置の制御方法及びプログラム |
| US11016667B1 (en) | 2017-04-05 | 2021-05-25 | Pure Storage, Inc. | Efficient mapping for LUNs in storage memory with holes in address space |
| JP6885173B2 (ja) * | 2017-04-13 | 2021-06-09 | 富士フイルムビジネスイノベーション株式会社 | 画像処理装置及びプログラム |
| US10944671B2 (en) | 2017-04-27 | 2021-03-09 | Pure Storage, Inc. | Efficient data forwarding in a networked device |
| US10141050B1 (en) | 2017-04-27 | 2018-11-27 | Pure Storage, Inc. | Page writes for triple level cell flash memory |
| US10516645B1 (en) | 2017-04-27 | 2019-12-24 | Pure Storage, Inc. | Address resolution broadcasting in a networked device |
| US11467913B1 (en) | 2017-06-07 | 2022-10-11 | Pure Storage, Inc. | Snapshots with crash consistency in a storage system |
| US11782625B2 (en) | 2017-06-11 | 2023-10-10 | Pure Storage, Inc. | Heterogeneity supportive resiliency groups |
| US11947814B2 (en) | 2017-06-11 | 2024-04-02 | Pure Storage, Inc. | Optimizing resiliency group formation stability |
| US11138103B1 (en) | 2017-06-11 | 2021-10-05 | Pure Storage, Inc. | Resiliency groups |
| US10425473B1 (en) | 2017-07-03 | 2019-09-24 | Pure Storage, Inc. | Stateful connection reset in a storage cluster with a stateless load balancer |
| US10402266B1 (en) | 2017-07-31 | 2019-09-03 | Pure Storage, Inc. | Redundant array of independent disks in a direct-mapped flash storage system |
| US10572407B2 (en) * | 2017-08-11 | 2020-02-25 | Western Digital Technologies, Inc. | Hybrid data storage array |
| US10831935B2 (en) | 2017-08-31 | 2020-11-10 | Pure Storage, Inc. | Encryption management with host-side data reduction |
| JP6906405B2 (ja) | 2017-09-12 | 2021-07-21 | キオクシア株式会社 | 情報処理装置、情報処理方法、情報処理プログラム、および情報処理システム |
| US10877827B2 (en) | 2017-09-15 | 2020-12-29 | Pure Storage, Inc. | Read voltage optimization |
| US10210926B1 (en) | 2017-09-15 | 2019-02-19 | Pure Storage, Inc. | Tracking of optimum read voltage thresholds in nand flash devices |
| US10789211B1 (en) | 2017-10-04 | 2020-09-29 | Pure Storage, Inc. | Feature-based deduplication |
| CN109725835B (zh) * | 2017-10-27 | 2022-04-29 | 伊姆西Ip控股有限责任公司 | 用于管理盘阵列的方法、设备和计算机程序产品 |
| US12032848B2 (en) | 2021-06-21 | 2024-07-09 | Pure Storage, Inc. | Intelligent block allocation in a heterogeneous storage system |
| US10515701B1 (en) | 2017-10-31 | 2019-12-24 | Pure Storage, Inc. | Overlapping raid groups |
| US10496330B1 (en) | 2017-10-31 | 2019-12-03 | Pure Storage, Inc. | Using flash storage devices with different sized erase blocks |
| US11024390B1 (en) | 2017-10-31 | 2021-06-01 | Pure Storage, Inc. | Overlapping RAID groups |
| US11354058B2 (en) | 2018-09-06 | 2022-06-07 | Pure Storage, Inc. | Local relocation of data stored at a storage device of a storage system |
| US10884919B2 (en) | 2017-10-31 | 2021-01-05 | Pure Storage, Inc. | Memory management in a storage system |
| US12067274B2 (en) | 2018-09-06 | 2024-08-20 | Pure Storage, Inc. | Writing segments and erase blocks based on ordering |
| US10545687B1 (en) | 2017-10-31 | 2020-01-28 | Pure Storage, Inc. | Data rebuild when changing erase block sizes during drive replacement |
| US11520514B2 (en) | 2018-09-06 | 2022-12-06 | Pure Storage, Inc. | Optimized relocation of data based on data characteristics |
| JP6805110B2 (ja) * | 2017-11-06 | 2020-12-23 | 株式会社日立製作所 | ストレージシステム及びその制御方法 |
| US10860475B1 (en) | 2017-11-17 | 2020-12-08 | Pure Storage, Inc. | Hybrid flash translation layer |
| US10990566B1 (en) | 2017-11-20 | 2021-04-27 | Pure Storage, Inc. | Persistent file locks in a storage system |
| US10929053B2 (en) | 2017-12-08 | 2021-02-23 | Pure Storage, Inc. | Safe destructive actions on drives |
| US10719265B1 (en) | 2017-12-08 | 2020-07-21 | Pure Storage, Inc. | Centralized, quorum-aware handling of device reservation requests in a storage system |
| US10929031B2 (en) | 2017-12-21 | 2021-02-23 | Pure Storage, Inc. | Maximizing data reduction in a partially encrypted volume |
| US10467527B1 (en) | 2018-01-31 | 2019-11-05 | Pure Storage, Inc. | Method and apparatus for artificial intelligence acceleration |
| US10733053B1 (en) | 2018-01-31 | 2020-08-04 | Pure Storage, Inc. | Disaster recovery for high-bandwidth distributed archives |
| US10976948B1 (en) | 2018-01-31 | 2021-04-13 | Pure Storage, Inc. | Cluster expansion mechanism |
| JP6443572B1 (ja) * | 2018-02-02 | 2018-12-26 | 富士通株式会社 | ストレージ制御装置、ストレージ制御方法及びストレージ制御プログラム |
| US11416395B2 (en) * | 2018-02-05 | 2022-08-16 | Micron Technology, Inc. | Memory virtualization for accessing heterogeneous memory components |
| US12135876B2 (en) | 2018-02-05 | 2024-11-05 | Micron Technology, Inc. | Memory systems having controllers embedded in packages of integrated circuit memory |
| US10782908B2 (en) | 2018-02-05 | 2020-09-22 | Micron Technology, Inc. | Predictive data orchestration in multi-tier memory systems |
| US11099789B2 (en) | 2018-02-05 | 2021-08-24 | Micron Technology, Inc. | Remote direct memory access in multi-tier memory systems |
| US10880401B2 (en) | 2018-02-12 | 2020-12-29 | Micron Technology, Inc. | Optimization of data access and communication in memory systems |
| US11036596B1 (en) | 2018-02-18 | 2021-06-15 | Pure Storage, Inc. | System for delaying acknowledgements on open NAND locations until durability has been confirmed |
| US11494109B1 (en) | 2018-02-22 | 2022-11-08 | Pure Storage, Inc. | Erase block trimming for heterogenous flash memory storage devices |
| JP6800904B2 (ja) * | 2018-03-20 | 2020-12-16 | 株式会社東芝 | モデル生成装置、情報処理装置、モデル生成方法およびプログラム |
| US11416144B2 (en) | 2019-12-12 | 2022-08-16 | Pure Storage, Inc. | Dynamic use of segment or zone power loss protection in a flash device |
| US11847331B2 (en) | 2019-12-12 | 2023-12-19 | Pure Storage, Inc. | Budgeting open blocks of a storage unit based on power loss prevention |
| US12393340B2 (en) | 2019-01-16 | 2025-08-19 | Pure Storage, Inc. | Latency reduction of flash-based devices using programming interrupts |
| US11995336B2 (en) | 2018-04-25 | 2024-05-28 | Pure Storage, Inc. | Bucket views |
| US12001688B2 (en) | 2019-04-29 | 2024-06-04 | Pure Storage, Inc. | Utilizing data views to optimize secure data access in a storage system |
| US12175124B2 (en) | 2018-04-25 | 2024-12-24 | Pure Storage, Inc. | Enhanced data access using composite data views |
| US12079494B2 (en) | 2018-04-27 | 2024-09-03 | Pure Storage, Inc. | Optimizing storage system upgrades to preserve resources |
| US11385792B2 (en) | 2018-04-27 | 2022-07-12 | Pure Storage, Inc. | High availability controller pair transitioning |
| US10931450B1 (en) | 2018-04-27 | 2021-02-23 | Pure Storage, Inc. | Distributed, lock-free 2-phase commit of secret shares using multiple stateless controllers |
| US10853146B1 (en) | 2018-04-27 | 2020-12-01 | Pure Storage, Inc. | Efficient data forwarding in a networked device |
| US11436023B2 (en) | 2018-05-31 | 2022-09-06 | Pure Storage, Inc. | Mechanism for updating host file system and flash translation layer based on underlying NAND technology |
| US10877892B2 (en) * | 2018-07-11 | 2020-12-29 | Micron Technology, Inc. | Predictive paging to accelerate memory access |
| US11438279B2 (en) | 2018-07-23 | 2022-09-06 | Pure Storage, Inc. | Non-disruptive conversion of a clustered service from single-chassis to multi-chassis |
| US11868309B2 (en) | 2018-09-06 | 2024-01-09 | Pure Storage, Inc. | Queue management for data relocation |
| US11500570B2 (en) | 2018-09-06 | 2022-11-15 | Pure Storage, Inc. | Efficient relocation of data utilizing different programming modes |
| KR20200042780A (ko) * | 2018-10-16 | 2020-04-24 | 에스케이하이닉스 주식회사 | 데이터 저장 장치 및 그것의 동작 방법 |
| US10454498B1 (en) | 2018-10-18 | 2019-10-22 | Pure Storage, Inc. | Fully pipelined hardware engine design for fast and efficient inline lossless data compression |
| JP7313840B2 (ja) * | 2018-10-25 | 2023-07-25 | キヤノン株式会社 | 情報処理装置および情報処理装置の制御方法、ならびにプログラム |
| US10976947B2 (en) | 2018-10-26 | 2021-04-13 | Pure Storage, Inc. | Dynamically selecting segment heights in a heterogeneous RAID group |
| CN111104342B (zh) * | 2018-10-29 | 2023-08-04 | 伊姆西Ip控股有限责任公司 | 用于存储的方法、电子设备和计算机程序产品 |
| KR102831444B1 (ko) * | 2019-01-07 | 2025-07-09 | 에스케이하이닉스 주식회사 | 데이터 저장 장치 및 동작 방법과, 이를 위한 컨트롤러 |
| US11194473B1 (en) | 2019-01-23 | 2021-12-07 | Pure Storage, Inc. | Programming frequently read data to low latency portions of a solid-state storage array |
| US11086548B2 (en) * | 2019-01-31 | 2021-08-10 | EMC IP Holding Company LLC | Dynamic re-balancing in heterogeneous storage systems |
| US12547317B2 (en) | 2019-03-29 | 2026-02-10 | Pure Storage, Inc. | Managing voltage threshold shifts |
| US11334254B2 (en) | 2019-03-29 | 2022-05-17 | Pure Storage, Inc. | Reliability based flash page sizing |
| US11775189B2 (en) | 2019-04-03 | 2023-10-03 | Pure Storage, Inc. | Segment level heterogeneity |
| US12373340B2 (en) | 2019-04-03 | 2025-07-29 | Pure Storage, Inc. | Intelligent subsegment formation in a heterogeneous storage system |
| JP6886486B2 (ja) * | 2019-04-04 | 2021-06-16 | 株式会社日立製作所 | ストレージシステム及びデータ制御方法 |
| US12087382B2 (en) | 2019-04-11 | 2024-09-10 | Pure Storage, Inc. | Adaptive threshold for bad flash memory blocks |
| US11099986B2 (en) | 2019-04-12 | 2021-08-24 | Pure Storage, Inc. | Efficient transfer of memory contents |
| US10852949B2 (en) | 2019-04-15 | 2020-12-01 | Micron Technology, Inc. | Predictive data pre-fetching in a data storage device |
| US11221766B2 (en) * | 2019-05-24 | 2022-01-11 | Dell Products L.P. | System and method for persistent memory rotation based on remaining write endurance |
| US11487665B2 (en) | 2019-06-05 | 2022-11-01 | Pure Storage, Inc. | Tiered caching of data in a storage system |
| US11714572B2 (en) | 2019-06-19 | 2023-08-01 | Pure Storage, Inc. | Optimized data resiliency in a modular storage system |
| US11281394B2 (en) | 2019-06-24 | 2022-03-22 | Pure Storage, Inc. | Replication across partitioning schemes in a distributed storage system |
| US11893126B2 (en) | 2019-10-14 | 2024-02-06 | Pure Storage, Inc. | Data deletion for a multi-tenant environment |
| US12475041B2 (en) | 2019-10-15 | 2025-11-18 | Pure Storage, Inc. | Efficient data storage by grouping similar data within a zone |
| US11157179B2 (en) | 2019-12-03 | 2021-10-26 | Pure Storage, Inc. | Dynamic allocation of blocks of a storage device based on power loss protection |
| US12001684B2 (en) | 2019-12-12 | 2024-06-04 | Pure Storage, Inc. | Optimizing dynamic power loss protection adjustment in a storage system |
| US11704192B2 (en) | 2019-12-12 | 2023-07-18 | Pure Storage, Inc. | Budgeting open blocks based on power loss protection |
| CN111142796A (zh) * | 2019-12-20 | 2020-05-12 | 北京浪潮数据技术有限公司 | 一种ssd寿命预测方法、装置、设备及可读存储介质 |
| US10990537B1 (en) * | 2020-01-07 | 2021-04-27 | International Business Machines Corporation | Logical to virtual and virtual to physical translation in storage class memory |
| JP6958941B2 (ja) * | 2020-01-22 | 2021-11-02 | Necプラットフォームズ株式会社 | ディスク監視装置、それを備えたストレージシステム、ディスク監視方法、及び、ディスク監視プログラム |
| US11275510B2 (en) * | 2020-02-07 | 2022-03-15 | Samsung Electronics Co., Ltd. | Systems and methods for storage device block-level failure prediction |
| JP2021125147A (ja) | 2020-02-07 | 2021-08-30 | 株式会社日立製作所 | ストレージ装置およびストレージ装置のデータ処理方法 |
| US11188432B2 (en) | 2020-02-28 | 2021-11-30 | Pure Storage, Inc. | Data resiliency by partially deallocating data blocks of a storage device |
| US11507297B2 (en) | 2020-04-15 | 2022-11-22 | Pure Storage, Inc. | Efficient management of optimal read levels for flash storage systems |
| US11256587B2 (en) | 2020-04-17 | 2022-02-22 | Pure Storage, Inc. | Intelligent access to a storage device |
| US12056365B2 (en) | 2020-04-24 | 2024-08-06 | Pure Storage, Inc. | Resiliency for a storage system |
| US11416338B2 (en) | 2020-04-24 | 2022-08-16 | Pure Storage, Inc. | Resiliency scheme to enhance storage performance |
| US11474986B2 (en) | 2020-04-24 | 2022-10-18 | Pure Storage, Inc. | Utilizing machine learning to streamline telemetry processing of storage media |
| CN113590378A (zh) * | 2020-04-30 | 2021-11-02 | 伊姆西Ip控股有限责任公司 | 存储管理的方法、设备和计算机程序产品 |
| CN113934360B (zh) * | 2020-06-29 | 2024-04-12 | 戴尔产品有限公司 | 多存储设备生命周期管理系统 |
| US11768763B2 (en) | 2020-07-08 | 2023-09-26 | Pure Storage, Inc. | Flash secure erase |
| CN112000591B (zh) * | 2020-08-24 | 2023-12-05 | 深圳忆联信息系统有限公司 | 可指定逻辑区块地址的扫描ssd方法、装置、计算机设备及存储介质 |
| US11513974B2 (en) | 2020-09-08 | 2022-11-29 | Pure Storage, Inc. | Using nonce to control erasure of data blocks of a multi-controller storage system |
| US11681448B2 (en) | 2020-09-08 | 2023-06-20 | Pure Storage, Inc. | Multiple device IDs in a multi-fabric module storage system |
| US12153818B2 (en) | 2020-09-24 | 2024-11-26 | Pure Storage, Inc. | Bucket versioning snapshots |
| CN112329272B (zh) * | 2020-12-14 | 2021-11-02 | 中国人民解放军国防科技大学 | 综合光伏组件退化和寿命数据的剩余寿命拟合预测方法 |
| US11487455B2 (en) | 2020-12-17 | 2022-11-01 | Pure Storage, Inc. | Dynamic block allocation to optimize storage system performance |
| US12229437B2 (en) | 2020-12-31 | 2025-02-18 | Pure Storage, Inc. | Dynamic buffer for storage system |
| US12067282B2 (en) | 2020-12-31 | 2024-08-20 | Pure Storage, Inc. | Write path selection |
| US12093545B2 (en) | 2020-12-31 | 2024-09-17 | Pure Storage, Inc. | Storage system with selectable write modes |
| US11847324B2 (en) | 2020-12-31 | 2023-12-19 | Pure Storage, Inc. | Optimizing resiliency groups for data regions of a storage system |
| US11614880B2 (en) | 2020-12-31 | 2023-03-28 | Pure Storage, Inc. | Storage system with selectable write paths |
| US12061814B2 (en) | 2021-01-25 | 2024-08-13 | Pure Storage, Inc. | Using data similarity to select segments for garbage collection |
| US11630593B2 (en) | 2021-03-12 | 2023-04-18 | Pure Storage, Inc. | Inline flash memory qualification in a storage system |
| US12099742B2 (en) | 2021-03-15 | 2024-09-24 | Pure Storage, Inc. | Utilizing programming page size granularity to optimize data segment storage in a storage system |
| US11507597B2 (en) | 2021-03-31 | 2022-11-22 | Pure Storage, Inc. | Data replication to meet a recovery point objective |
| US11832410B2 (en) | 2021-09-14 | 2023-11-28 | Pure Storage, Inc. | Mechanical energy absorbing bracket apparatus |
| US11994723B2 (en) | 2021-12-30 | 2024-05-28 | Pure Storage, Inc. | Ribbon cable alignment apparatus |
| US12439544B2 (en) | 2022-04-20 | 2025-10-07 | Pure Storage, Inc. | Retractable pivoting trap door |
| US12314163B2 (en) | 2022-04-21 | 2025-05-27 | Pure Storage, Inc. | Die-aware scheduler |
| KR20240114507A (ko) | 2023-01-17 | 2024-07-24 | 에스케이하이닉스 주식회사 | 다수의 데이터 저장 장치를 포함하는 데이터 저장 시스템과 그 동작 방법 |
| US12481442B2 (en) | 2023-02-28 | 2025-11-25 | Pure Storage, Inc. | Data storage system with managed flash |
| US12204788B1 (en) | 2023-07-21 | 2025-01-21 | Pure Storage, Inc. | Dynamic plane selection in data storage system |
| US12572421B2 (en) | 2024-03-13 | 2026-03-10 | Pure Storage, Inc. | Wear-efficient error correction in a storage system |
| US12487920B2 (en) | 2024-04-30 | 2025-12-02 | Pure Storage, Inc. | Storage system with dynamic data management functions |
| US12524309B2 (en) | 2024-04-30 | 2026-01-13 | Pure Storage, Inc. | Intelligently forming data stripes including multiple shards in a single failure domain |
Citations (5)
| Publication number | Priority date | Publication date | Assignee | Title |
|---|---|---|---|---|
| US5737742A (en) * | 1994-06-29 | 1998-04-07 | Hitachi, Ltd. | Memory system using flash memory and method of controlling the memory system |
| EP1840722A2 (en) * | 2006-03-29 | 2007-10-03 | Hitachi, Ltd. | Storage system using flash memories, wear-leveling method for the same system and wear-leveling program for the same system |
| EP1876519A2 (en) * | 2006-07-05 | 2008-01-09 | Hitachi, Ltd. | Storage system and write distribution method |
| WO2011010344A1 (ja) | 2009-07-22 | 2011-01-27 | 株式会社日立製作所 | 複数のフラッシュパッケージを有するストレージシステム |
| GB2479235A (en) * | 2010-04-01 | 2011-10-05 | Intel Corp | Wear leveling in a solid state drive |
Family Cites Families (19)
| Publication number | Priority date | Publication date | Assignee | Title |
|---|---|---|---|---|
| US8200887B2 (en) * | 2007-03-29 | 2012-06-12 | Violin Memory, Inc. | Memory management system and method |
| JP4933861B2 (ja) * | 2005-09-22 | 2012-05-16 | 株式会社日立製作所 | ストレージ制御装置、データ管理システムおよびデータ管理方法 |
| US7653778B2 (en) * | 2006-05-08 | 2010-01-26 | Siliconsystems, Inc. | Systems and methods for measuring the useful life of solid-state storage devices |
| JP2008097502A (ja) * | 2006-10-16 | 2008-04-24 | Hitachi Ltd | 容量監視方法及び計算機システム |
| JP2008310685A (ja) | 2007-06-15 | 2008-12-25 | Hitachi Ltd | 冗長性を維持した性能最適化を行うストレージシステム |
| US20090144516A1 (en) * | 2007-12-04 | 2009-06-04 | Miklos Sandorfi | Systems and methods for managing data storage media |
| JP5242264B2 (ja) * | 2008-07-07 | 2013-07-24 | 株式会社東芝 | データ制御装置、ストレージシステムおよびプログラム |
| JP2010097372A (ja) * | 2008-10-16 | 2010-04-30 | Hitachi Ltd | ボリューム管理方式 |
| WO2010085228A1 (en) * | 2009-01-23 | 2010-07-29 | Lsi Corporation | Method and system for dynamic storage tiering using allocate-on-write snapshots |
| US8166232B2 (en) * | 2009-04-02 | 2012-04-24 | Hitachi, Ltd. | Metrics and management for flash memory storage life |
| US8639877B2 (en) * | 2009-06-30 | 2014-01-28 | International Business Machines Corporation | Wear leveling of solid state disks distributed in a plurality of redundant array of independent disk ranks |
| US8489803B2 (en) * | 2009-12-14 | 2013-07-16 | Smsc Holdings S.A.R.L. | Efficient use of flash memory in flash drives |
| JP4912456B2 (ja) * | 2009-12-17 | 2012-04-11 | 株式会社日立製作所 | ストレージ装置及びその制御方法 |
| US8700841B2 (en) * | 2010-04-19 | 2014-04-15 | International Business Machines Corporation | Sub-LUN input/output profiling for SSD devices |
| JP5459102B2 (ja) * | 2010-06-24 | 2014-04-02 | 富士通株式会社 | ストレージ制御装置、ストレージシステム及びストレージ制御方法 |
| US8812806B2 (en) * | 2010-10-29 | 2014-08-19 | Netapp, Inc. | Method and system for non-disruptive migration |
| US8990538B2 (en) * | 2010-11-05 | 2015-03-24 | Microsoft Corporation | Managing memory with limited write cycles in heterogeneous memory systems |
| US8775731B2 (en) * | 2011-03-25 | 2014-07-08 | Dell Products, L.P. | Write spike performance enhancement in hybrid storage systems |
| US9164676B2 (en) * | 2011-11-30 | 2015-10-20 | International Business Machines Corporation | Storing multi-stream non-linear access patterns in a flash based file-system |
-
2012
- 2012-02-08 IN IN5977DEN2014 patent/IN2014DN05977A/en unknown
- 2012-02-08 JP JP2014534292A patent/JP5844473B2/ja not_active Expired - Fee Related
- 2012-02-08 EP EP12708594.2A patent/EP2791774A1/en not_active Withdrawn
- 2012-02-08 US US13/391,728 patent/US9405478B2/en not_active Expired - Fee Related
- 2012-02-08 WO PCT/JP2012/000843 patent/WO2013118170A1/en not_active Ceased
- 2012-02-08 CN CN201280069439.9A patent/CN104115109A/zh active Pending
-
2016
- 2016-06-24 US US15/192,066 patent/US20160306557A1/en not_active Abandoned
Patent Citations (5)
| Publication number | Priority date | Publication date | Assignee | Title |
|---|---|---|---|---|
| US5737742A (en) * | 1994-06-29 | 1998-04-07 | Hitachi, Ltd. | Memory system using flash memory and method of controlling the memory system |
| EP1840722A2 (en) * | 2006-03-29 | 2007-10-03 | Hitachi, Ltd. | Storage system using flash memories, wear-leveling method for the same system and wear-leveling program for the same system |
| EP1876519A2 (en) * | 2006-07-05 | 2008-01-09 | Hitachi, Ltd. | Storage system and write distribution method |
| WO2011010344A1 (ja) | 2009-07-22 | 2011-01-27 | 株式会社日立製作所 | 複数のフラッシュパッケージを有するストレージシステム |
| GB2479235A (en) * | 2010-04-01 | 2011-10-05 | Intel Corp | Wear leveling in a solid state drive |
Cited By (5)
| Publication number | Priority date | Publication date | Assignee | Title |
|---|---|---|---|---|
| GB2514354A (en) * | 2013-05-20 | 2014-11-26 | Ibm | Managing storage devices having a lifetime of a finite number of operations |
| US9710175B2 (en) | 2013-05-20 | 2017-07-18 | International Business Machines Corporation | Managing storage devices having a lifetime of a finite number of operations |
| US10394463B2 (en) | 2013-05-20 | 2019-08-27 | International Business Machines Corporation | Managing storage devices having a lifetime of a finite number of operations |
| JP2015197832A (ja) * | 2014-04-02 | 2015-11-09 | コニカミノルタ株式会社 | 情報処理装置及びフラッシュメモリの制御方法 |
| US10083072B2 (en) | 2015-08-14 | 2018-09-25 | Fujitsu Limited | Abnormality handling determination program, method for abnormality handling determination, and administration device |
Also Published As
| Publication number | Publication date |
|---|---|
| US20130205070A1 (en) | 2013-08-08 |
| EP2791774A1 (en) | 2014-10-22 |
| JP2015505078A (ja) | 2015-02-16 |
| JP5844473B2 (ja) | 2016-01-20 |
| US9405478B2 (en) | 2016-08-02 |
| IN2014DN05977A (enExample) | 2015-06-26 |
| US20160306557A1 (en) | 2016-10-20 |
| CN104115109A (zh) | 2014-10-22 |
Similar Documents
| Publication | Publication Date | Title |
|---|---|---|
| US9405478B2 (en) | Storage apparatus provided with a plurality of nonvolatile semiconductor storage media and storage control method | |
| US10162536B2 (en) | Storage apparatus and storage control method | |
| US9223713B2 (en) | Allocation of cache to storage volumes | |
| US8943266B2 (en) | Storage system and method of control for storage system | |
| US9811288B1 (en) | Managing data placement based on flash drive wear level | |
| JP6073471B2 (ja) | ストレージ装置 | |
| US9684593B1 (en) | Techniques using an encryption tier property with application hinting and I/O tagging | |
| JP6000376B2 (ja) | 特性の異なる複数種類のキャッシュメモリを有する情報処理装置 | |
| US9619149B1 (en) | Weighted-value consistent hashing for balancing device wear | |
| US8775723B2 (en) | Storage system and control method of storage system | |
| US8364923B2 (en) | Data storage system manager and method for managing a data storage system | |
| AU2010234902B2 (en) | Data storage system and method of processing a data access request | |
| US9575668B1 (en) | Techniques for selecting write endurance classification of flash storage based on read-write mixture of I/O workload | |
| US10846231B2 (en) | Storage apparatus, recording medium, and storage control method | |
| CN107710140B (zh) | 存储系统 | |
| US20180275894A1 (en) | Storage system | |
| US9311207B1 (en) | Data storage system optimizations in a multi-tiered environment | |
| JP2012505441A (ja) | ストレージ装置およびそのデータ制御方法 | |
| US9767021B1 (en) | Optimizing destaging of data to physical storage devices | |
| JP2017199043A (ja) | ストレージ装置とシステム及び方法とプログラム | |
| US9436834B1 (en) | Techniques using an encryption tier property in a multi-tiered storage environment | |
| CN120653585A (zh) | 具有精简配置的ssd虚拟化 |
Legal Events
| Date | Code | Title | Description |
|---|---|---|---|
| WWE | Wipo information: entry into national phase |
Ref document number: 13391728 Country of ref document: US |
|
| 121 | Ep: the epo has been informed by wipo that ep was designated in this application |
Ref document number: 12708594 Country of ref document: EP Kind code of ref document: A1 |
|
| ENP | Entry into the national phase |
Ref document number: 2014534292 Country of ref document: JP Kind code of ref document: A |
|
| REEP | Request for entry into the european phase |
Ref document number: 2012708594 Country of ref document: EP |
|
| WWE | Wipo information: entry into national phase |
Ref document number: 2012708594 Country of ref document: EP |
|
| NENP | Non-entry into the national phase |
Ref country code: DE |