WO2013069178A1 - Voice control device, voice control method and program - Google Patents

Voice control device, voice control method and program Download PDF

Info

Publication number
WO2013069178A1
WO2013069178A1 PCT/JP2012/005291 JP2012005291W WO2013069178A1 WO 2013069178 A1 WO2013069178 A1 WO 2013069178A1 JP 2012005291 W JP2012005291 W JP 2012005291W WO 2013069178 A1 WO2013069178 A1 WO 2013069178A1
Authority
WO
WIPO (PCT)
Prior art keywords
sounds
tag information
recited
mobile terminal
information
Prior art date
Legal status (The legal status is an assumption and is not a legal conclusion. Google has not performed a legal analysis and makes no representation as to the accuracy of the status listed.)
Ceased
Application number
PCT/JP2012/005291
Other languages
English (en)
French (fr)
Inventor
Maki Mori
Shunichi Kasahara
Osamu Shigeta
Seiji Suzuki
Ryo Fukazawa
Current Assignee (The listed assignees may be inaccurate. Google has not performed a legal analysis and makes no representation or warranty as to the accuracy of the list.)
Sony Corp
Original Assignee
Sony Corp
Priority date (The priority date is an assumption and is not a legal conclusion. Google has not performed a legal analysis and makes no representation as to the accuracy of the date listed.)
Filing date
Publication date
Application filed by Sony Corp filed Critical Sony Corp
Priority to CN201280053462.9A priority Critical patent/CN103918284B/zh
Priority to US14/353,856 priority patent/US9299349B2/en
Priority to EP12848137.1A priority patent/EP2777040B1/en
Publication of WO2013069178A1 publication Critical patent/WO2013069178A1/en
Anticipated expiration legal-status Critical
Priority to US15/046,578 priority patent/US9557962B2/en
Priority to US15/376,052 priority patent/US9830128B2/en
Ceased legal-status Critical Current

Links

Images

Classifications

    • GPHYSICS
    • G06COMPUTING OR CALCULATING; COUNTING
    • G06FELECTRIC DIGITAL DATA PROCESSING
    • G06F3/00Input arrangements for transferring data to be processed into a form capable of being handled by the computer; Output arrangements for transferring data from processing unit to output unit, e.g. interface arrangements
    • G06F3/16Sound input; Sound output
    • G06F3/167Audio in a user interface, e.g. using voice commands for navigating, audio feedback
    • HELECTRICITY
    • H04ELECTRIC COMMUNICATION TECHNIQUE
    • H04SSTEREOPHONIC SYSTEMS 
    • H04S7/00Indicating arrangements; Control arrangements, e.g. balance control
    • H04S7/30Control circuits for electronic adaptation of the sound field
    • H04S7/302Electronic adaptation of stereophonic sound system to listener position or orientation
    • GPHYSICS
    • G06COMPUTING OR CALCULATING; COUNTING
    • G06FELECTRIC DIGITAL DATA PROCESSING
    • G06F16/00Information retrieval; Database structures therefor; File system structures therefor
    • G06F16/60Information retrieval; Database structures therefor; File system structures therefor of audio data
    • G06F16/68Retrieval characterised by using metadata, e.g. metadata not derived from the content or metadata generated manually
    • G06F16/686Retrieval characterised by using metadata, e.g. metadata not derived from the content or metadata generated manually using information manually generated, e.g. tags, keywords, comments, title or artist information, time, location or usage information, user ratings
    • GPHYSICS
    • G06COMPUTING OR CALCULATING; COUNTING
    • G06FELECTRIC DIGITAL DATA PROCESSING
    • G06F3/00Input arrangements for transferring data to be processed into a form capable of being handled by the computer; Output arrangements for transferring data from processing unit to output unit, e.g. interface arrangements
    • G06F3/01Input arrangements or combined input and output arrangements for interaction between user and computer
    • G06F3/048Interaction techniques based on graphical user interfaces [GUI]
    • G06F3/0487Interaction techniques based on graphical user interfaces [GUI] using specific features provided by the input device, e.g. functions controlled by the rotation of a mouse with dual sensing arrangements, or of the nature of the input device, e.g. tap gestures based on pressure sensed by a digitiser
    • G06F3/0488Interaction techniques based on graphical user interfaces [GUI] using specific features provided by the input device, e.g. functions controlled by the rotation of a mouse with dual sensing arrangements, or of the nature of the input device, e.g. tap gestures based on pressure sensed by a digitiser using a touch-screen or digitiser, e.g. input of commands through traced gestures
    • GPHYSICS
    • G06COMPUTING OR CALCULATING; COUNTING
    • G06TIMAGE DATA PROCESSING OR GENERATION, IN GENERAL
    • G06T11/002D [Two Dimensional] image generation
    • G06T11/60Editing figures and text; Combining figures or text
    • GPHYSICS
    • G10MUSICAL INSTRUMENTS; ACOUSTICS
    • G10LSPEECH ANALYSIS TECHNIQUES OR SPEECH SYNTHESIS; SPEECH RECOGNITION; SPEECH OR VOICE PROCESSING TECHNIQUES; SPEECH OR AUDIO CODING OR DECODING
    • G10L13/00Speech synthesis; Text to speech systems
    • GPHYSICS
    • G10MUSICAL INSTRUMENTS; ACOUSTICS
    • G10LSPEECH ANALYSIS TECHNIQUES OR SPEECH SYNTHESIS; SPEECH RECOGNITION; SPEECH OR VOICE PROCESSING TECHNIQUES; SPEECH OR AUDIO CODING OR DECODING
    • G10L17/00Speaker identification or verification techniques
    • GPHYSICS
    • G10MUSICAL INSTRUMENTS; ACOUSTICS
    • G10LSPEECH ANALYSIS TECHNIQUES OR SPEECH SYNTHESIS; SPEECH RECOGNITION; SPEECH OR VOICE PROCESSING TECHNIQUES; SPEECH OR AUDIO CODING OR DECODING
    • G10L25/00Speech or voice analysis techniques not restricted to a single one of groups G10L15/00 - G10L21/00
    • G10L25/48Speech or voice analysis techniques not restricted to a single one of groups G10L15/00 - G10L21/00 specially adapted for particular use
    • GPHYSICS
    • G06COMPUTING OR CALCULATING; COUNTING
    • G06TIMAGE DATA PROCESSING OR GENERATION, IN GENERAL
    • G06T19/00Manipulating 3D models or images for computer graphics
    • G06T19/006Mixed reality
    • HELECTRICITY
    • H04ELECTRIC COMMUNICATION TECHNIQUE
    • H04RLOUDSPEAKERS, MICROPHONES, GRAMOPHONE PICK-UPS OR LIKE ACOUSTIC ELECTROMECHANICAL TRANSDUCERS; DEAF-AID SETS; PUBLIC ADDRESS SYSTEMS
    • H04R2430/00Signal processing covered by H04R, not provided for in its groups
    • H04R2430/01Aspects of volume control, not necessarily automatic, in sound systems
    • HELECTRICITY
    • H04ELECTRIC COMMUNICATION TECHNIQUE
    • H04RLOUDSPEAKERS, MICROPHONES, GRAMOPHONE PICK-UPS OR LIKE ACOUSTIC ELECTROMECHANICAL TRANSDUCERS; DEAF-AID SETS; PUBLIC ADDRESS SYSTEMS
    • H04R2460/00Details of hearing devices, i.e. of ear- or headphones covered by H04R1/10 or H04R5/033 but not provided for in any of their subgroups, or of hearing aids covered by H04R25/00 but not provided for in any of its subgroups
    • H04R2460/07Use of position data from wide-area or local-area positioning systems in hearing devices, e.g. program or information selection
    • HELECTRICITY
    • H04ELECTRIC COMMUNICATION TECHNIQUE
    • H04SSTEREOPHONIC SYSTEMS 
    • H04S2400/00Details of stereophonic systems covered by H04S but not provided for in its groups
    • H04S2400/11Positioning of individual sound objects, e.g. moving airplane, within a sound field
    • HELECTRICITY
    • H04ELECTRIC COMMUNICATION TECHNIQUE
    • H04SSTEREOPHONIC SYSTEMS 
    • H04S2400/00Details of stereophonic systems covered by H04S but not provided for in its groups
    • H04S2400/13Aspects of volume control, not necessarily automatic, in stereophonic sound systems

Definitions

  • the present disclosure relates to voice control devices, voice control methods and programs.
  • AR augmented reality
  • an AR application which adds tag information like a picture, a text or a voice to a picture image of an actual space based on the position of the mobile equipment.
  • JP-A-2010-49158 discloses a voice control device which guides a user with voice in accordance with the relationship between the mobile terminal and an object position.
  • the present disclosure proposes a novel and improved voice control device, a voice control method and a program which enables a swift extraction of a piece of information to be output with voice from plural pieces of information.
  • an information processing apparatus includes a communication device to receive plural pieces of tag information corresponding to respective positions within a target area, the target area having a position defined by the position of the apparatus; and an output device to output a plurality of sounds such that for each sound at least a portion of the sound overlaps with at least a portion of another of the sounds, each of the sounds being indicative of a respective piece of tag information.
  • the present disclosure makes it possible to swiftly extract a piece of information to be output with voice from plural pieces of information.
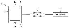
  • FIG. 1 illustrates a configuration of a voice control system according to an embodiment of the present disclosure
  • FIG. 2 illustrates a picture image of an actual space in which tag information is added
  • FIG. 3 illustrates a specific example of utilization mode of a mobile terminal according to a first embodiment
  • FIG. 4 is a functional block diagram illustrating a configuration of a mobile terminal according to the first embodiment of the present disclosure
  • FIG. 5 illustrates a specific example of a target area which is set through an area setting section
  • FIG. 6 illustrates a specific example of a target area in a case when the density of tag information around the mobile terminal is high
  • FIG. 7 illustrates a specific example of a target area in a case when the density of tag information around the mobile terminal is low
  • FIG. 1 illustrates a configuration of a voice control system according to an embodiment of the present disclosure
  • FIG. 2 illustrates a picture image of an actual space in which tag information is added
  • FIG. 3 illustrates a specific example of utilization mode of a mobile terminal according to a
  • FIG. 8 illustrates rearranged tag information
  • FIG. 9 illustrates a specific example of voice control through a voice control section
  • FIG. 10 illustrates a specific example of a list of tag information
  • FIG. 11 is a flowchart showing the operation of the mobile terminal according to the first embodiment of the present disclosure
  • FIG. 12 illustrates a mobile terminal and a voice output unit according to a second embodiment of the present disclosure
  • FIG. 13 is a functional block diagram showing a configuration of a mobile terminal according to the second embodiment
  • FIG. 14 illustrates an example of display according to the second embodiment
  • FIG. 15 illustrates a hardware configuration of a mobile terminal.
  • a plurality of composing elements which have substantially identical structure and function may be discriminated from each other by appending different alphabet behind the identical reference numeral.
  • a plurality of composing elements which have substantially identical structure and function may not be discriminated from each other, only identical reference numeral will be given.
  • Voice control device mobile terminal 20
  • A. an information obtaining section (a communication section 228 and an information analysis section 236) that obtains a piece of information which is associated with a position in a surrounding area; and B. a voice control section (240) that performs voice control so that, when plural pieces of information are obtained by the information obtaining section, the plural pieces of information are output at a time.
  • FIG. 1 illustrates a configuration of a voice control system according to an embodiment of the present disclosure.
  • the voice control system according to the embodiment of the present disclosure includes an AR server 10 and a mobile terminal 20 as shown in FIG. 1.
  • the AR server 10 and the mobile terminal 20 are connected to each other via a communication network 12 and are capable of communicating various kinds of information therebetween via the communication network 12.
  • the communication network 12 is a wired or wireless transmission channel of information transmitted from apparatuses connected to the communication network 12.
  • the communication network 12 may include a public network such as Internet, telephone network, satellite communication network or various kinds of LANs (local area network), WAN (wide area network) including Ethernet (registered trademark).
  • the communication network 12 may include a leased line network such as IP-VPN (Internet protocol-virtual private network).
  • the AR server 10 stores positional information and tag information while associating with each other, and transmits the positional information and the tag information to the mobile terminal 20 via the communication network 12. For example, receiving from the mobile terminal 20 a piece of positional information which represents a present position of the mobile terminal 20, the AR server 10 transmits to the mobile terminal 20 a piece of positional information and tag information which represent the location around the mobile terminal 20. Also, receiving from the mobile terminal 20 a piece of directional information which represents a direction in which a particular portion of the mobile terminal 20 is oriented, the AR server 10 may transmit to the mobile terminal 20 a piece of positional information and tag information representing a positional direction represented by the directional information viewed from the present position of the mobile terminal 20.
  • the tag information image information such as picture or motion picture, text information and voice information are conceivable, for example.
  • the tag information may be a piece of PR information on a location represented by the associated positional information or a piece of information which is provided and uploaded by an ordinary user with respect to the location represented by the associated positional information.
  • the mobile terminal 20 obtains a piece of positional information and tag information with respect to the surrounding area of the present position, and provides the tag information to the user. For example, the mobile terminal 20 transmits to the AR server 10 a piece of positional information representing the present position to the AR server 10 to obtain a piece of tag information and positional information with respect to the surrounding area of the present position from the AR server 10. And the mobile terminal 20 may add a piece of tag information to a picture image of the actual space and displays the same on the touch panel 22.
  • the mobile terminal 20 includes a speaker 24 as an example of a voice output section for outputting voices; and a microphone 26 as an example of a voice input section for picking up voices.
  • a speaker 24 as an example of a voice output section for outputting voices
  • a microphone 26 as an example of a voice input section for picking up voices.
  • the end where the speaker 24 is disposed will be referred to as upper side US; and the end where the microphone 26 is disposed will be referred to as lower side LS.
  • FIG. 1 shows a smartphone as an example of the mobile terminal 20.
  • the mobile terminal 20 is not limited to the smartphone.
  • the mobile terminal 20 may be a PDA (personal digital assistants), a mobile phone, a mobile music reproducer, a mobile image processor, or a mobile game machine.
  • PDA personal digital assistants
  • the embodiment of the present disclosure has been proposed.
  • the embodiment enables a swift extraction of information from plural pieces of tag information which are output with voices.
  • a detailed description will be made below on a first embodiment and a second embodiment of the present disclosure which provide such effect.
  • Outline of the first embodiment> It is known the fact that, even under circumstances filled with various kinds of noises, a person is able to unintentionally recognize words and conversation which he/she is interested in (cocktail-party effect).
  • a mobile terminal 20-1 according to the first embodiment of the present disclosure utilizes the cocktail-party effect. When the user is provided with the tag information output with voices, the user can swiftly extract the favorite tag information. Referring to FIG. 3, a specific example of a utilization mode of the mobile terminal 20-1 according to the first embodiment will be described below.
  • FIG. 3 illustrates a specific example of utilization mode of the mobile terminal 20-1 according to the first embodiment.
  • the mobile terminal 20-1 simultaneously performs voice output of plural pieces of tag information associated with a position in a surrounding area.
  • the mobile terminal 20-1 sets an target area including a direction in which the lower side LS as a particular portion of the mobile terminal 20-1 is oriented as a reference, and outputs simultaneously plural pieces of tag information TA to TC which are associated with positions P1 to P3 in the target area. That is, the mobile terminal 20-1 simultaneously a performs voice output of piece of tag information TA "It's cool! KKK's album.” a piece of tag information TB "Delicious cakes! at FFF cafe.”, a piece of tag information TC "Actress A appears at BBB! .
  • the mobile terminal 20-1 may outputs the tag information with a smaller volume level as the distance between the position associated with the tag information and the present position increases. In this case, the user can sense the distance between the position associated with the piece of desired tag information and the present position.
  • FIG. 4 is a functional block diagram showing a configuration of the mobile terminal 20-1 according to the first embodiment of the present disclosure.
  • the mobile terminal 20-1 according to the first embodiment of the present disclosure includes the touch panel 22, the speaker 24, a GPS 220, an acceleration sensor 224, the communication section 228, an area setting section 232, the information analysis section 236, a voice control section 240 and a display control section 244.
  • the mobile terminal 20-1 may include a direction sensor (not shown), such as an electronic compass.
  • the direction sensor may be included in addition to the acceleration sensor 224, or as an alternative to the acceleration sensor 224.
  • the GPS (global positioning system) 220 receives a navigation message which is transmitted from an artificial satellite to obtain a present position of the mobile terminal 20-1 based on the reception result of the navigation message.
  • the GPS 220 is given here just an example of a component for obtaining the present position of the mobile terminal 20-1.
  • the present position of the mobile terminal 20-1 may be obtained by other configuration.
  • the mobile terminal 20-1 may estimate the present position based on the intensity of received Wi-Fi radiowaves which are transmitted from surroundings wireless communication devices, or the present position may be obtained based on the input operation made by the user.
  • the acceleration sensor 224 measures the acceleration of the mobile terminal 20-1. Based on the measurement result by the acceleration sensor 224, the orientation of the mobile terminal 20-1; for example, a direction the lower side LS of the mobile terminal 20-1 is oriented can be estimated.
  • the communication section 228 is an interface with the AR server 10 that exchanges various kinds of information with the AR server 10. For example, the communication section 228 transmits a piece of positional information of the mobile terminal 20-1 obtained by the GPS 220 to the AR server 10, and receives a piece of tag information associated with area surrounding the mobile terminal 20-1 from the AR server 10 along with the positional information. Also, in addition to the positional information of the mobile terminal 20-1, the communication section 228 may transmit a measurement result made by the acceleration sensor 224, the direction sensor, or both the acceleration sensor 224 and the direction sensor to the AR server 10.
  • a piece of tag information which is associated with a location in a direction the lower side LS of the mobile terminal 20-1 is oriented, can be received from the AR server 10.
  • the communication section 228 or the information analysis section 236, which will be described later, functions as an information obtaining section for obtaining the tag information for outputting voice information.
  • the mobile terminal 20-1 obtains the tag information from the AR server 10.
  • the embodiment is not limited to the above.
  • the mobile terminal 20-1 may have a database in which the positional information and the tag information are associated with each other, and may obtain the tag information associated with the area surrounding the mobile terminal 20-1 from the database.
  • the area setting section 232 sets an target area relevant to the voice output of the tag information based on the positional information of the mobile terminal 20-1 supplied from the GPS 220 and the measured result obtained by the acceleration sensor 224, the direction sensor, or both the acceleration sensor 224 and the direction sensor.
  • the object of the voice output is the tag information that is associated with the positional information within the target area set by the area setting section 232.
  • FIG. 5 a particular description is made below on the target area set by the area setting section 232.
  • FIG. 5 illustrates an example of a specific target area that is set by the area setting section 232.
  • the area setting section 232 may set as a target area, for an example, a sector area which is represented by a radius "r" and an angle "P" with respect to a direction the lower side LS of the mobile terminal 20-1 is oriented as a reference.
  • the cocktail-party effect may decrease causing it difficult for the user to apprehend the favorite tag information.
  • the possibility of outputting user's favorite tag information also decreases. Therefore, the efficiency of information extraction decreases.
  • the area setting section 232 may change the range of the target area in accordance with the density of plural pieces of tag information within the area. For example, the area setting section 232 may set the target area so that the number of pieces of tag information, which are associated with the positional information within the target area, is larger than a lower limit value, smaller than an upper limit value, or equal to a predetermined number. Referring to FIG. 6 and FIG. 7, a particular description will be made on this point.
  • FIG. 6 illustrates a specific example of the target area in which the density of plural pieces of tag information in area surrounding the mobile terminal 20-1 is too high.
  • FIG. 7 illustrates a specific example of the target area in which the density of plural pieces of tag information in the area surrounding the mobile terminal 20-1 is too low.
  • the area setting section 232 may set the target area to be narrower by reducing the radius "r" and the angle "P".
  • the area setting section 232 may set the target area to be wider by increasing the radius "r" and the angle "P".
  • the information analysis section 236 extracts several pieces of tag information, each associated with a piece of positional information within the target area set by the area setting section 232, from plural pieces of tag information within the surrounding area received by the communication section 228. Also, the information analysis section 236 analyzes each position associated with the extracted tag information and the distance from the mobile terminal 20-1 and the angle, and supplies the analyzed result to the voice control section 240.
  • the voice control section 240 controls the voice output from the speaker 24 of the tag information extracted by the information analysis section 236.
  • the voice control section 240 performs voice control so that the tag information extracted by the information analysis section 236 is simultaneously output from the speaker 24 (first control mode).
  • the voice control section 240 may perform the following controls; i.e., example A to example E when outputting the voice tag information.
  • the voice control section 240 may control the volume level of the tag information in accordance with the distance between the mobile terminal 20-1 and the position associated with the tag information. For example, the voice control section 240 may control so that the volume level of the tag information becomes smaller as the distance between the mobile terminal 20-1 and the position associated with the tag information increases. This configuration makes it possible for the user to apprehend a sense of distance between the present position and the position associated with the tag information.
  • the voice control section 240 may perform the voice control so that each of plural pieces of tag information is output with sound characteristics different from each other.
  • the voice control section 240 may perform the voice control so that each of the plural pieces of tag information are output with a basic frequency or sound quality different from each other. This configuration ensures the cocktail-party effect to function more effectively.
  • the voice control section 240 may generate a piece of voice information from the tag information. For example, when the tag information is a piece of text information, the voice control section 240 may generate a piece of voice information corresponding to the text information. Also, when the tag information is a picture tag, the voice control section 240 may generate a piece of voice information corresponding to a comment added to the picture tag. This configuration enables the voice control section 240 to handle many pieces of tag information as the object of voice output.
  • the voice control section 240 may extract keywords from the respective pieces of tag information and perform the voice control so as to disperse timing of outputting keyword of the tag information.
  • the keyword of the tag information TA "It's cool! KKK's album” is "KKK”
  • the keyword of the tag information TB is “Delicious cakes! At FFF cafe.”
  • the keyword of the tag information TC "Actress A appears at BBB! is "actress A”.
  • the keyword "KKK" of the tag information TA and the keyword "FFF Cafe” of the tag information TB are output simultaneously.
  • the voice control section 240 may rearrange the content of the tag information TB as shown in FIG. 8 so that the keyword "KKK" of the tag information TA is output at a different timing from that of the keyword "FFF cafe" of the tag information TB. This configuration enables the keywords of the tag information to be apprehended more easily.
  • the voice control section 240 may rearrange the content of the tag information based on the user's preference so that user's favorite word is output first. In the case, when the user is interested in, for example, "actress A”, the voice control section 240 may rearrange the content of the tag information TC like this; "Actress A! appears at BBB” so that "Actress A” is output first. This configuration enables the user to extract his/her favorite tag information at an earlier timing.
  • the voice control section 240 switches the voice control to a second mode, in which plural pieces of tag information extracted by the information analysis section 236 are output in series based on a predetermined user operation such as tapping. In this mode, the user is allowed to select a desired piece of tag information by performing a first user operation while the desired tag information is being output with voice.
  • the voice control section 240 may switch the tag information of an object to be output with voice responding to a second user operation like flicking. A particular description will be made on a series of such operation below referring to FIG. 9.
  • FIG. 9 illustrates a specific example of the voice control by the voice control section 240.
  • the voice control section 240 switches the voice control mode in which plural pieces of tag information are output in series.
  • the voice control section 240 may perform the voice control so that plural pieces of tag information are output from plural pieces of tag information each associated with a position closer to the mobile terminal 20-1 in series.
  • the size of the characters corresponds to the volume level as shown in FIG. 9.
  • the desired tag information is select. For example, when the user makes a shaking operation while the tag information TB is being output, the display control section 244 displays the position associated with the tag information TB on the touch panel 22.
  • the user selects a group which includes a piece of favorite tag information based on the cocktail-party effect, and then specifies the favorite tag information from the group to thereby obtain detailed information of the favorite tag information.
  • the display control section 244 generates various display screens and displays the generated display screen on the touch panel 22. Particularly, in the second mode in which plural pieces of tag information are output in series, when an operation like shaking operation is made by the user, the display control section 244 according to the embodiment controls the display of a position associated with the tag information output with voice when the shaking operation is made (FIG. 9).
  • the display control section 244 may fix the plural pieces of tag information at a point when the user operation is made and display a list of the fixed plural pieces of tag information on the touch panel 22 as shown in FIG. 10. This configuration enables the user to select desired tag information from the list of plural pieces of tag information.
  • FIG. 11 is a flowchart showing the operation of the mobile terminal 20-1 according to the first embodiment of the present disclosure.
  • the GPS 220 of the mobile terminal 20-1 measures the present position of the mobile terminal 20-1
  • the acceleration sensor 224 measures the orientation of the lower side LS of the mobile terminal 20-1 (S304).
  • the communication section 228 transmits a piece of positional information of the mobile terminal 20-1 to the AR server 10 to thereby obtain a piece of tag information associated with the area surrounding the mobile terminal 20-1 from the AR server 10 (S308).
  • the direction sensor may measure the direction in which the mobile terminal 20-1 is pointing, and the measured direction may be included in the positional information.
  • the area setting section 234 sets a target area with respect to the voice output of a the tag information based on the positional information of the mobile terminal 20-1 and either one or both of the measurement result obtained by the acceleration sensor 224 and the measurement result obtained from the direction sensor.
  • the information analysis section 236 extracts a piece of tag information within the target area from the tag information associated with the area surrounding the mobile terminal 20-1 (S316).
  • the voice control section 240 performs the voice control so that plural pieces of tag information within the target area are simultaneously output from the speaker 24 (S320).
  • the voice control section 240 switches the voice control mode so that plural pieces of tag information within the target area are output in series (S328).
  • the display control section 244 displays on the touch panel 22 a display screen representing a position associated with the tag information being output with voice when the shaking operation is made (S336).
  • the user can select a group including his/her favorite tag information based on the cocktail-party effect.
  • the second embodiment of the present disclosure is different from the first embodiment in a point that the voice output is made not through the speaker 24 but through a wearable voice output unit.
  • the second embodiment of the present disclosure will be described in detail below.
  • FIG. 12 illustrates a mobile terminal 20-2 according to the second embodiment and a voice output unit 30 according to the present disclosure.
  • the mobile terminal 20-2 according to the second embodiment transmits voice signals to the voice output unit 30, and the voice output unit 30 outputs the voice signals received from the mobile terminal 20-2 with stereo sounds.
  • FIG. 12 illustrates an example in which the mobile terminal 20-2 and the voice output unit 30 are connected to each other via near field communication. However, the mobile terminal 20-2 and the voice output unit 30 may be connected to each other via a wire.
  • FIG. 12 illustrates a headphone as an example of the wearable voice output unit 30. However, the voice output unit 30 is not limited to a headphone but may be earphones, for example.
  • FIG. 13 is a functional block diagram showing a configuration of the mobile terminal 20-2 according to the second embodiment.
  • the mobile terminal 20-2 according to the second embodiment includes the touch panel 22, the GPS 220, the acceleration sensor 224, the communication section 228, the area setting section 234, the information analysis section 236, the voice control section 240, the display control section 246, a sound source setting section 248, a voice processing section 252 and a proximity communication section 256.
  • the mobile terminal 20-2 may include a direction sensor (not shown), such as an electronic compass.
  • the direction sensor may be included in addition to the acceleration sensor 224, or as an alternative to the acceleration sensor 224.
  • the area setting section 234 sets a target area with respect to the voice output of the tag information based on the positional information of the mobile terminal 20-1 supplied from the GPS 220 and either one or both of the measurement result obtained by the acceleration sensor 224 and the measurement result obtained from the direction sensor.
  • the area setting section 234 sets the target area using a direction in which, not the lower side LS but the upper side US, for example, of the mobile terminal 20-2 is oriented as a reference.
  • the sound source setting section 248 sets a virtual sound source position for each of plural pieces of tag information extracted by the information analysis section 236.
  • the sound source setting section 248 may set positions each associated with plural pieces of tag information at the respective virtual sound source positions.
  • the sound source setting section 248 may set positions different from the positions associated with plural pieces of tag information as virtual sound source positions for the plural pieces of tag information.
  • the voice processing section 252 performs voice processing on each plural pieces of tag information so that virtual sound source positions set by the sound source setting section 248 are apprehended by the user as sound source positions. This processing is performed in accordance with the orientation of the user. Therefore, the user may wear a sensor for detecting user's orientation, or the orientation of the upper side US of the mobile terminal 20-2 may be handled as the orientation of the user.
  • the proximity communication section 256 transmits the voice signals processed by the voice processing section 252 to the voice output unit 30.
  • the voice output unit 30 outputs the voice signals received from the proximity communication section 256 with stereo sounds.
  • the display control section 246 displays plural pieces of tag information on the touch panel 22 while plural pieces of tag information are being output simultaneously from the voice output unit 30.
  • the display control section 246 may perform display control so that the plural pieces of tag information are displayed at each of the virtual sound source positions with respect to the present position as the reference which are set by the sound source setting section 248 as shown in FIG. 14. This configuration allows the user also to apprehend visually the positions of the plural pieces of tag information, which is apprehended by hearing.
  • FIG. 15 is an explanatory view showing the hardware configuration of the mobile terminal 20.
  • the mobile terminal 20 includes a central processing unit (CPU) 201, a read only memory (ROM) 202, a random access memory (RAM) 203, an input apparatus 208, an output apparatus 210, a storage apparatus 211, a drive 212, an imaging apparatus 213, and a communication apparatus 215.
  • CPU central processing unit
  • ROM read only memory
  • RAM random access memory
  • the CPU 201 functions as an arithmetic processing unit and control apparatus and controls overall operations of the mobile terminal 20 according to various programs.
  • the CPU 201 may also be a microprocessor.
  • the ROM 202 stores programs and operation parameters used by the CPU 201.
  • the RAM 203 temporarily stores a program used for execution of the CPU 201 and parameters that suitably change during execution thereof. These elements are mutually connected by a host bus constructed from a CPU bus or the like.
  • the input apparatus 208 includes an input unit used by the user to input information such as a mouse, keyboard, touch panel, button, microphone, switch, and lever and an input control circuit that generates an input signal based on input from the user and outputs the input signal to the CPU 201.
  • the user of the mobile terminal 20 can input various kinds of data into the mobile terminal 20 or instruct the mobile terminal 20 to perform a processing operation by operating the input apparatus 208.
  • the output apparatus 210 includes, for example, a display apparatus such as a liquid crystal display (LCD) apparatus, organic light emitting diode (OLED) apparatus, and lamp. Further, the output apparatus 210 includes a sound output apparatus such as a speaker and headphone. For example, the display apparatus displays captured images or generated images. On the other hand, the sound output apparatus converts sound data or the like into sound and outputs the sound.
  • a display apparatus such as a liquid crystal display (LCD) apparatus, organic light emitting diode (OLED) apparatus, and lamp.
  • the output apparatus 210 includes a sound output apparatus such as a speaker and headphone.
  • the display apparatus displays captured images or generated images.
  • the sound output apparatus converts sound data or the like into sound and outputs the sound.
  • the storage apparatus 211 is an apparatus for data storage configured as an example of a storage unit of the mobile terminal 20 according to the present embodiment.
  • the storage apparatus 211 may contain a storage medium, a recording apparatus that records data in the storage medium, a reading apparatus that reads data from the storage medium, or a deletion apparatus that deletes data recorded in the storage medium.
  • the storage apparatus 211 stores programs executed by the CPU 201 and various kinds of data.
  • the drive 212 is a reader/writer for a storage medium and is attached to the mobile terminal 20 internally or externally.
  • the drive 212 reads information stored in a removable storage medium 23 such as an inserted magnetic disk, optical disk, magneto-optical disk, and semiconductor memory and outputs the information to the RAM 203.
  • the drive 212 can also write data into the removable storage medium 23.
  • the imaging apparatus 213 includes an imaging optical system such as a shooting lens that condenses light and a zoom lens and a signal conversion element such as a charge coupled device (CCD) and complementary metal oxide semiconductor (CMOS).
  • the imaging optical system condenses light emitted from a subject to form a subject image in a signal conversion unit and the signal conversion element converts the formed subject image into an electric image signal.
  • CCD charge coupled device
  • CMOS complementary metal oxide semiconductor
  • the communication device 215 is a communication interface constituted with a communication device and the like to be connected to a communication network 12, for example.
  • the communication device 215 may be a wireless local area network (LAN) compatible communication device, a LTE (Long Term Evolution) compatible communication device or a wired communication device to perform communication with a cable.
  • LAN wireless local area network
  • LTE Long Term Evolution
  • the user can swiftly select a group including his/her favorite tag information base on the cocktail-party effect. After that, the user specifies his/her favorite tag information from the group visually or by hearing to thereby obtain detailed information of the favorite tag information.
  • the tag information is a piece of information provide by an ordinary user while associating the same with the present position
  • the user can apprehend a sense of distance from the ordinary user based on the volume level of the output tag information.
  • the tag information of the present disclosure to a mail or chat associated with the positional information of the other party, it is possible for the use to apprehend a direction and distance of the other party.
  • the steps of the processing of the mobile terminal 20 in this specification may not be processed in time series described in the flowchart.
  • the steps in the processing of the mobile terminal 20 may be processed in an order different from the order described in the flowchart, or may be processed parallely.
  • An information processing apparatus including: a communication device to receive plural pieces of tag information corresponding to respective positions within a target area, the target area having a position defined by the position of the apparatus; and an output device to output a plurality of sounds such that for each sound at least a portion of the sound overlaps with at least a portion of another of the sounds, each of the sounds being indicative of a respective piece of tag information.
  • the sounds are voice sounds.
  • each piece of tag information is associated with a direction relative to the apparatus.
  • each of the sounds has an associated sound characteristic, and the associated sound characteristic for any one of the sounds is different from the associated sound characteristic for any other of the sounds.
  • the associated sound characteristic is volume.
  • the associated sound characteristic is frequency.
  • the associated sound characteristic is virtual sound source position.
  • the sounds are voice sounds and include at least one keyword for each piece of tag information, and wherein output of the sounds is performed such that no two of the keywords are output simultaneously.
  • the sounds are output in the form of stereophonic sound.
  • the apparatus according to (1) wherein the size of the target area is determined according to the density of the positions of the pieces of tag information.
  • the sounds are generated based on the respective pieces of tag information.
  • the sounds are voice sounds and are generated to include a user-preferred word as a first word.
  • the apparatus according to (1) further including a touch panel display, wherein when the apparatus is outputting the plurality of sounds simultaneously and a user operation is performed during the outputting, a list indicative of the pieces of tag information associated with the sounds is displayed on the touch panel display.
  • the apparatus according to (1) wherein when the apparatus is outputting the plurality of sounds simultaneously and a user operation is performed during the outputting, the apparatus outputs the plurality of sounds in series.
  • An information processing apparatus including: a database of plural pieces of tag information corresponding to respective positions within a target area, the target area having a position defined by the position of the apparatus; and an output device to output a plurality of sounds such that for each sound at least a portion of the sound overlaps with at least a portion of another of the sounds, each of the sounds being indicative of a respective piece of tag information.
  • each piece of tag information is associated with a direction relative to the apparatus.
  • each of the sounds has an associated sound characteristic, and the associated sound characteristic for any one of the sounds is different from the associated sound characteristic for any other of the sounds.
  • An information processing method including: receiving plural pieces of tag information corresponding to respective positions within a target area, the target area having a position defined by the position of an apparatus; and outputting a plurality of sounds such that for each sound at least a portion of the sound overlaps with at least a portion of another of the sounds, each of the sounds being indicative of a respective piece of tag information.
  • AR server 20 mobile terminal 22 touch panel 24 speaker 26 microphone 30 voice output unit 220 GPS 224 acceleration sensor 228 communication section 232, 234 area setting section 236 information analysis section 240 voice control section 244, 246 display control section 248 sound source setting section 252 voice processing section 256 proximity communication section

Landscapes

  • Engineering & Computer Science (AREA)
  • Physics & Mathematics (AREA)
  • Theoretical Computer Science (AREA)
  • Multimedia (AREA)
  • Human Computer Interaction (AREA)
  • General Engineering & Computer Science (AREA)
  • General Physics & Mathematics (AREA)
  • Acoustics & Sound (AREA)
  • Health & Medical Sciences (AREA)
  • Audiology, Speech & Language Pathology (AREA)
  • Signal Processing (AREA)
  • Computational Linguistics (AREA)
  • Library & Information Science (AREA)
  • Data Mining & Analysis (AREA)
  • Databases & Information Systems (AREA)
  • General Health & Medical Sciences (AREA)
  • Telephone Function (AREA)
  • User Interface Of Digital Computer (AREA)
  • Stereophonic System (AREA)
  • Circuit For Audible Band Transducer (AREA)
PCT/JP2012/005291 2011-11-09 2012-08-23 Voice control device, voice control method and program Ceased WO2013069178A1 (en)

Priority Applications (5)

Application Number Priority Date Filing Date Title
CN201280053462.9A CN103918284B (zh) 2011-11-09 2012-08-23 语音控制装置、语音控制方法和程序
US14/353,856 US9299349B2 (en) 2011-11-09 2012-08-23 Voice control device, voice control method and program
EP12848137.1A EP2777040B1 (en) 2011-11-09 2012-08-23 Voice control device, voice control method and program
US15/046,578 US9557962B2 (en) 2011-11-09 2016-02-18 Voice control device, voice control method and program
US15/376,052 US9830128B2 (en) 2011-11-09 2016-12-12 Voice control device, voice control method and program

Applications Claiming Priority (2)

Application Number Priority Date Filing Date Title
JP2011-245357 2011-11-09
JP2011245357A JP2013101248A (ja) 2011-11-09 2011-11-09 音声制御装置、音声制御方法、およびプログラム

Related Child Applications (2)

Application Number Title Priority Date Filing Date
US14/353,856 A-371-Of-International US9299349B2 (en) 2011-11-09 2012-08-23 Voice control device, voice control method and program
US15/046,578 Continuation US9557962B2 (en) 2011-11-09 2016-02-18 Voice control device, voice control method and program

Publications (1)

Publication Number Publication Date
WO2013069178A1 true WO2013069178A1 (en) 2013-05-16

Family

ID=48288955

Family Applications (1)

Application Number Title Priority Date Filing Date
PCT/JP2012/005291 Ceased WO2013069178A1 (en) 2011-11-09 2012-08-23 Voice control device, voice control method and program

Country Status (5)

Country Link
US (3) US9299349B2 (enExample)
EP (1) EP2777040B1 (enExample)
JP (1) JP2013101248A (enExample)
CN (1) CN103918284B (enExample)
WO (1) WO2013069178A1 (enExample)

Cited By (1)

* Cited by examiner, † Cited by third party
Publication number Priority date Publication date Assignee Title
CN104656605A (zh) * 2013-11-25 2015-05-27 阿自倍尔株式会社 工厂监视服务器以及工厂监视方法

Families Citing this family (14)

* Cited by examiner, † Cited by third party
Publication number Priority date Publication date Assignee Title
JP6263098B2 (ja) * 2014-07-15 2018-01-17 Kddi株式会社 仮想音源を提供情報位置に配置する携帯端末、音声提示プログラム及び音声提示方法
KR20160015512A (ko) * 2014-07-30 2016-02-15 에스케이플래닛 주식회사 비콘 신호 기반 스탬프 서비스 제공 방법
JP2016194612A (ja) * 2015-03-31 2016-11-17 株式会社ニデック 視覚認識支援装置および視覚認識支援プログラム
JP6651231B2 (ja) * 2015-10-19 2020-02-19 このみ 一色 携帯情報端末、情報処理装置、及びプログラム
JP7092108B2 (ja) * 2017-02-27 2022-06-28 ソニーグループ株式会社 情報処理装置、情報処理方法、及びプログラム
CN107154265A (zh) * 2017-03-30 2017-09-12 联想(北京)有限公司 一种采集控制方法及电子设备
JP6884854B2 (ja) * 2017-04-10 2021-06-09 ヤマハ株式会社 音声提供装置、音声提供方法及びプログラム
JP6907788B2 (ja) * 2017-07-28 2021-07-21 富士フイルムビジネスイノベーション株式会社 情報処理装置及びプログラム
WO2021260848A1 (ja) * 2020-06-24 2021-12-30 日本電信電話株式会社 学習装置、学習方法及び学習プログラム
DE112021003787T5 (de) * 2020-07-15 2023-06-29 Sony Group Corporation Informationsverarbeitungsvorrichtung, Informationsverarbeitungsverfahren und Endgerätevorrichtung
KR102530669B1 (ko) * 2020-10-07 2023-05-09 네이버 주식회사 앱과 웹의 연동을 통해 음성 파일에 대한 메모를 작성하는 방법, 시스템, 및 컴퓨터 판독가능한 기록 매체
CN113707165B (zh) * 2021-09-07 2024-09-17 联想(北京)有限公司 音频处理方法、装置及电子设备和存储介质
WO2023195048A1 (ja) * 2022-04-04 2023-10-12 マクセル株式会社 音声拡張現実オブジェクト再生装置、情報端末システム
WO2025110423A1 (ko) * 2023-11-20 2025-05-30 삼성전자주식회사 스피커 모듈을 포함하는 전자 장치

Citations (3)

* Cited by examiner, † Cited by third party
Publication number Priority date Publication date Assignee Title
JPS63260253A (ja) * 1987-04-17 1988-10-27 Hitachi Ltd 音声応答方式
JP2002023778A (ja) * 2000-06-30 2002-01-25 Canon Inc 音声合成装置、音声合成システム、音声合成方法及び記憶媒体
JP2010103756A (ja) * 2008-10-23 2010-05-06 Nissan Motor Co Ltd 音声出力装置および音声出力方法

Family Cites Families (21)

* Cited by examiner, † Cited by third party
Publication number Priority date Publication date Assignee Title
JPS61234355A (ja) 1985-04-11 1986-10-18 Terumo Corp 超音波測定方法およびその装置
JPH0566131A (ja) * 1991-09-09 1993-03-19 Sumitomo Electric Ind Ltd 音声案内装置
JP2783212B2 (ja) 1995-09-08 1998-08-06 日本電気株式会社 情報提示装置
JP3309735B2 (ja) 1996-10-24 2002-07-29 三菱電機株式会社 音声マンマシンインタフェース装置
WO2001055833A1 (en) * 2000-01-28 2001-08-02 Lake Technology Limited Spatialized audio system for use in a geographical environment
JP2002023787A (ja) 2000-07-06 2002-01-25 Canon Inc 音声合成装置、音声合成システム、音声合成方法及び記憶媒体
US7031924B2 (en) * 2000-06-30 2006-04-18 Canon Kabushiki Kaisha Voice synthesizing apparatus, voice synthesizing system, voice synthesizing method and storage medium
JP2006059136A (ja) 2004-08-20 2006-03-02 Seiko Epson Corp ビューア装置及びそのプログラム
JP2006091390A (ja) 2004-09-24 2006-04-06 Mitsubishi Electric Corp 情報表示システム及び情報表示方法及び情報表示方法をコンピュータに実行させるためのプログラム及び情報表示端末装置
JP3815509B2 (ja) * 2005-12-05 2006-08-30 ソニー株式会社 シミュレーションシステム、仮想空間提供装置および方法、並びにユーザ端末装置および仮想空間画像生成方法
JP4861105B2 (ja) 2006-09-15 2012-01-25 株式会社エヌ・ティ・ティ・ドコモ 空間掲示板システム
JP2008217133A (ja) 2007-02-28 2008-09-18 Nec Corp 地域情報案内システム、地域情報配信システム、地域情報配信プログラム、地域情報案内方法
JP2009140402A (ja) 2007-12-10 2009-06-25 Nippon Telegr & Teleph Corp <Ntt> 情報表示装置、情報表示方法、情報表示プログラム及び情報表示プログラムを記録した記録媒体
US8170222B2 (en) * 2008-04-18 2012-05-01 Sony Mobile Communications Ab Augmented reality enhanced audio
US20090315775A1 (en) * 2008-06-20 2009-12-24 Microsoft Corporation Mobile computing services based on devices with dynamic direction information
JP2010049158A (ja) 2008-08-25 2010-03-04 Ricoh Co Ltd 画像処理装置
EP2214425A1 (en) * 2009-01-28 2010-08-04 Auralia Emotive Media Systems S.L. Binaural audio guide
JP4911389B2 (ja) 2009-09-30 2012-04-04 Necビッグローブ株式会社 情報表示システム、サーバ、端末、及び方法
JP5293571B2 (ja) 2009-11-17 2013-09-18 日産自動車株式会社 情報提供装置及び方法
KR101099137B1 (ko) * 2010-01-29 2011-12-27 주식회사 팬택 이동 통신 시스템에서 증강 현실 정보를 제공하기 위한 장치 및 방법
JP6016322B2 (ja) * 2010-03-19 2016-10-26 ソニー株式会社 情報処理装置、情報処理方法、およびプログラム

Patent Citations (3)

* Cited by examiner, † Cited by third party
Publication number Priority date Publication date Assignee Title
JPS63260253A (ja) * 1987-04-17 1988-10-27 Hitachi Ltd 音声応答方式
JP2002023778A (ja) * 2000-06-30 2002-01-25 Canon Inc 音声合成装置、音声合成システム、音声合成方法及び記憶媒体
JP2010103756A (ja) * 2008-10-23 2010-05-06 Nissan Motor Co Ltd 音声出力装置および音声出力方法

Cited By (2)

* Cited by examiner, † Cited by third party
Publication number Priority date Publication date Assignee Title
CN104656605A (zh) * 2013-11-25 2015-05-27 阿自倍尔株式会社 工厂监视服务器以及工厂监视方法
CN104656605B (zh) * 2013-11-25 2017-06-30 阿自倍尔株式会社 工厂监视服务器以及工厂监视方法

Also Published As

Publication number Publication date
US20160210118A1 (en) 2016-07-21
US9299349B2 (en) 2016-03-29
CN103918284A (zh) 2014-07-09
EP2777040B1 (en) 2018-12-12
JP2013101248A (ja) 2013-05-23
US9830128B2 (en) 2017-11-28
US9557962B2 (en) 2017-01-31
CN103918284B (zh) 2017-02-15
EP2777040A4 (en) 2015-09-09
US20170123758A1 (en) 2017-05-04
US20140297289A1 (en) 2014-10-02
EP2777040A1 (en) 2014-09-17

Similar Documents

Publication Publication Date Title
US9830128B2 (en) Voice control device, voice control method and program
CN110868639B (zh) 视频合成方法及装置
US11546410B2 (en) Device and method for adaptively changing task-performing subjects
KR102089638B1 (ko) 전자장치의 음성 녹음 방법 및 장치
CN110601959B (zh) 会话消息显示方法、装置、终端及存储介质
CN114205324B (zh) 消息显示方法、装置、终端、服务器及存储介质
KR20130138123A (ko) 카메라 스위칭 동안 계속적으로 비디오를 캡쳐하는 방법 및 그 장치
WO2019147698A2 (en) Method and apparatus for displaying interactive information in panoramic video
CN110798327B (zh) 消息处理方法、设备及存储介质
CN113170279A (zh) 基于低功耗蓝牙的通信方法及相关装置
CN111045945B (zh) 模拟直播的方法、装置、终端、存储介质及程序产品
US12413660B2 (en) Accessory theme adaptation method, apparatus, and system
US9870619B2 (en) Electronic device and method for synthesizing continuously taken images
US20150154800A1 (en) Augmented reality viewing initiation based on social behavior
JP6206537B2 (ja) 携帯端末、情報処理装置、およびプログラム
CN113301444B (zh) 视频处理方法、装置、电子设备及存储介质
CN113992786A (zh) 音频播放方法及装置
CN114464171B (zh) 音频切分方法、装置、电子设备、存储介质及产品
KR20170083905A (ko) 이동 단말기 및 그 제어방법
CN116112702B (zh) 直播方法、装置、电子设备以及存储介质
WO2019183904A1 (zh) 自动识别音频中不同人声的方法
HK40019430B (en) Method and apparatus for displaying session message, terminal and storage medium
HK40019430A (en) Method and apparatus for displaying session message, terminal and storage medium
CN115686421A (zh) 图像显示、图像处理方法、装置及设备
KR20180057035A (ko) 이동 단말기 및 그 제어방법

Legal Events

Date Code Title Description
121 Ep: the epo has been informed by wipo that ep was designated in this application

Ref document number: 12848137

Country of ref document: EP

Kind code of ref document: A1

WWE Wipo information: entry into national phase

Ref document number: 14353856

Country of ref document: US

WWE Wipo information: entry into national phase

Ref document number: 2012848137

Country of ref document: EP

NENP Non-entry into the national phase

Ref country code: DE