WO2013042428A1 - 液体噴霧装置 - Google Patents

液体噴霧装置 Download PDF

Info

Publication number
WO2013042428A1
WO2013042428A1 PCT/JP2012/067181 JP2012067181W WO2013042428A1 WO 2013042428 A1 WO2013042428 A1 WO 2013042428A1 JP 2012067181 W JP2012067181 W JP 2012067181W WO 2013042428 A1 WO2013042428 A1 WO 2013042428A1
Authority
WO
WIPO (PCT)
Prior art keywords
liquid
tip
vibration source
recess
mesh member
Prior art date
Legal status (The legal status is an assumption and is not a legal conclusion. Google has not performed a legal analysis and makes no representation as to the accuracy of the status listed.)
Ceased
Application number
PCT/JP2012/067181
Other languages
English (en)
French (fr)
Japanese (ja)
Inventor
田畑 信
克至 高橋
雄太郎 奥野
山内 隆伸
Current Assignee (The listed assignees may be inaccurate. Google has not performed a legal analysis and makes no representation or warranty as to the accuracy of the list.)
Omron Corp
Omron Healthcare Co Ltd
Original Assignee
Omron Corp
Omron Healthcare Co Ltd
Omron Tateisi Electronics Co
Priority date (The priority date is an assumption and is not a legal conclusion. Google has not performed a legal analysis and makes no representation as to the accuracy of the date listed.)
Filing date
Publication date
Application filed by Omron Corp, Omron Healthcare Co Ltd, Omron Tateisi Electronics Co filed Critical Omron Corp
Priority to CN201280046080.3A priority Critical patent/CN103826758B/zh
Priority to US14/342,677 priority patent/US9358568B2/en
Priority to DE112012003948.3T priority patent/DE112012003948T5/de
Priority to IN3090DEN2014 priority patent/IN2014DN03090A/en
Priority to BR112014006923A priority patent/BR112014006923B8/pt
Publication of WO2013042428A1 publication Critical patent/WO2013042428A1/ja
Anticipated expiration legal-status Critical
Ceased legal-status Critical Current

Links

Images

Classifications

    • BPERFORMING OPERATIONS; TRANSPORTING
    • B05SPRAYING OR ATOMISING IN GENERAL; APPLYING FLUENT MATERIALS TO SURFACES, IN GENERAL
    • B05BSPRAYING APPARATUS; ATOMISING APPARATUS; NOZZLES
    • B05B17/00Apparatus for spraying or atomising liquids or other fluent materials, not covered by the preceding groups
    • B05B17/04Apparatus for spraying or atomising liquids or other fluent materials, not covered by the preceding groups operating with special methods
    • B05B17/06Apparatus for spraying or atomising liquids or other fluent materials, not covered by the preceding groups operating with special methods using ultrasonic or other kinds of vibrations
    • B05B17/0607Apparatus for spraying or atomising liquids or other fluent materials, not covered by the preceding groups operating with special methods using ultrasonic or other kinds of vibrations generated by electrical means, e.g. piezoelectric transducers
    • B05B17/0623Apparatus for spraying or atomising liquids or other fluent materials, not covered by the preceding groups operating with special methods using ultrasonic or other kinds of vibrations generated by electrical means, e.g. piezoelectric transducers coupled with a vibrating horn
    • BPERFORMING OPERATIONS; TRANSPORTING
    • B05SPRAYING OR ATOMISING IN GENERAL; APPLYING FLUENT MATERIALS TO SURFACES, IN GENERAL
    • B05BSPRAYING APPARATUS; ATOMISING APPARATUS; NOZZLES
    • B05B17/00Apparatus for spraying or atomising liquids or other fluent materials, not covered by the preceding groups
    • B05B17/04Apparatus for spraying or atomising liquids or other fluent materials, not covered by the preceding groups operating with special methods
    • B05B17/06Apparatus for spraying or atomising liquids or other fluent materials, not covered by the preceding groups operating with special methods using ultrasonic or other kinds of vibrations
    • B05B17/0607Apparatus for spraying or atomising liquids or other fluent materials, not covered by the preceding groups operating with special methods using ultrasonic or other kinds of vibrations generated by electrical means, e.g. piezoelectric transducers
    • B05B17/0638Apparatus for spraying or atomising liquids or other fluent materials, not covered by the preceding groups operating with special methods using ultrasonic or other kinds of vibrations generated by electrical means, e.g. piezoelectric transducers spray being produced by discharging the liquid or other fluent material through a plate comprising a plurality of orifices
    • AHUMAN NECESSITIES
    • A61MEDICAL OR VETERINARY SCIENCE; HYGIENE
    • A61MDEVICES FOR INTRODUCING MEDIA INTO, OR ONTO, THE BODY; DEVICES FOR TRANSDUCING BODY MEDIA OR FOR TAKING MEDIA FROM THE BODY; DEVICES FOR PRODUCING OR ENDING SLEEP OR STUPOR
    • A61M11/00Sprayers or atomisers specially adapted for therapeutic purposes
    • A61M11/005Sprayers or atomisers specially adapted for therapeutic purposes using ultrasonics
    • AHUMAN NECESSITIES
    • A61MEDICAL OR VETERINARY SCIENCE; HYGIENE
    • A61MDEVICES FOR INTRODUCING MEDIA INTO, OR ONTO, THE BODY; DEVICES FOR TRANSDUCING BODY MEDIA OR FOR TAKING MEDIA FROM THE BODY; DEVICES FOR PRODUCING OR ENDING SLEEP OR STUPOR
    • A61M15/00Inhalators
    • A61M15/08Inhaling devices inserted into the nose
    • AHUMAN NECESSITIES
    • A61MEDICAL OR VETERINARY SCIENCE; HYGIENE
    • A61MDEVICES FOR INTRODUCING MEDIA INTO, OR ONTO, THE BODY; DEVICES FOR TRANSDUCING BODY MEDIA OR FOR TAKING MEDIA FROM THE BODY; DEVICES FOR PRODUCING OR ENDING SLEEP OR STUPOR
    • A61M2210/00Anatomical parts of the body
    • A61M2210/06Head
    • A61M2210/0612Eyes
    • BPERFORMING OPERATIONS; TRANSPORTING
    • B05SPRAYING OR ATOMISING IN GENERAL; APPLYING FLUENT MATERIALS TO SURFACES, IN GENERAL
    • B05BSPRAYING APPARATUS; ATOMISING APPARATUS; NOZZLES
    • B05B17/00Apparatus for spraying or atomising liquids or other fluent materials, not covered by the preceding groups
    • B05B17/04Apparatus for spraying or atomising liquids or other fluent materials, not covered by the preceding groups operating with special methods
    • B05B17/06Apparatus for spraying or atomising liquids or other fluent materials, not covered by the preceding groups operating with special methods using ultrasonic or other kinds of vibrations
    • B05B17/0607Apparatus for spraying or atomising liquids or other fluent materials, not covered by the preceding groups operating with special methods using ultrasonic or other kinds of vibrations generated by electrical means, e.g. piezoelectric transducers
    • B05B17/0638Apparatus for spraying or atomising liquids or other fluent materials, not covered by the preceding groups operating with special methods using ultrasonic or other kinds of vibrations generated by electrical means, e.g. piezoelectric transducers spray being produced by discharging the liquid or other fluent material through a plate comprising a plurality of orifices
    • B05B17/0646Vibrating plates, i.e. plates being directly subjected to the vibrations, e.g. having a piezoelectric transducer attached thereto
    • BPERFORMING OPERATIONS; TRANSPORTING
    • B05SPRAYING OR ATOMISING IN GENERAL; APPLYING FLUENT MATERIALS TO SURFACES, IN GENERAL
    • B05BSPRAYING APPARATUS; ATOMISING APPARATUS; NOZZLES
    • B05B17/00Apparatus for spraying or atomising liquids or other fluent materials, not covered by the preceding groups
    • B05B17/04Apparatus for spraying or atomising liquids or other fluent materials, not covered by the preceding groups operating with special methods
    • B05B17/06Apparatus for spraying or atomising liquids or other fluent materials, not covered by the preceding groups operating with special methods using ultrasonic or other kinds of vibrations
    • B05B17/0607Apparatus for spraying or atomising liquids or other fluent materials, not covered by the preceding groups operating with special methods using ultrasonic or other kinds of vibrations generated by electrical means, e.g. piezoelectric transducers
    • B05B17/0653Details
    • B05B17/0676Feeding means

Definitions

  • the present invention relates to a liquid spraying device, and more particularly to a liquid spraying device that sprays liquid using a vibration source and a mesh member.
  • Patent Document 1 Japanese Patent Application Laid-Open No. 07-256170
  • Patent Document 2 Japanese Patent Application Laid-Open No. 05-228410
  • Patent Document 4 Japanese Patent Application Laid-Open No. 07-328503
  • Patent Document 5 Japanese Patent Application Laid-Open No. 07-080368
  • a general liquid spraying apparatus includes a liquid storage unit that stores a liquid, a mesh member having a large number of fine holes, and a vibration source that is arranged so as to contact the mesh unit.
  • a liquid is supplied from the liquid storage part between the mesh member and the vibration source. The liquid supplied between the mesh member and the vibration source is sprayed toward the outside through the fine holes as the vibration source vibrates.
  • An object of the present invention is to provide a liquid spraying apparatus that sprays a liquid using a vibration source and a mesh member, and can spray the liquid stably.
  • a liquid spraying apparatus includes a liquid storage part for storing a liquid, a tip part, a vibration source having a recess formed on a surface of the tip part, a large number of micropores, and the above-described vibration source.
  • a mesh member disposed in contact with the surface of the tip, and the liquid is supplied from the outside of the tip to the surface and the recess of the tip, and the vibration source vibrates.
  • the liquid supplied to the surface of the tip and the recess is ejected in a mist form through the fine hole.
  • the recess is formed to extend in a groove shape, and has a first end facing each other along the extending direction and a second end opposite to the first end. And the said recessed part is extended and provided so that the said 1st end part may reach
  • the recess is provided to extend so that the second end reaches the outer peripheral surface of the tip.
  • the surface of the tip of the vibration source is circular, and the width of the recess in a direction orthogonal to the extending direction of the recess is 50% or more of the diameter of the surface of the tip. % Or less.
  • the depth of the recess from the surface of the tip is 0.03 mm or more and 1.0 mm or less.
  • the liquid storage section reaches the vicinity of the contact portion between the tip portion of the vibration source and the mesh member when the liquid spraying device is tilted toward the vibration source side, and
  • the liquid spraying device is kept in a horizontal state, the liquid is formed so as not to reach the vicinity of the contact portion, and the concave portion is provided so as to extend along a direction in which the liquid spraying device is inclined toward the vibration source side. It is done.
  • the outer edge of the surface of the tip is chamfered with a predetermined chamfer dimension, and the depth of the recess from the surface of the tip is smaller than the chamfer dimension.
  • the chamfer dimension is greater than 0.1 mm and the depth is 0.1 mm.
  • the mesh member is attached to be inclined at a predetermined angle with respect to the surface of the tip portion of the vibration source.
  • the mesh member is arranged such that the direction in which the mesh member is inclined and the extending direction of the recess intersect each other. Is attached to the tip of the vibration source.
  • the mesh member is configured to be rotatable with respect to the vibration source while maintaining the state where the mesh member and the surface of the tip of the vibration source are in contact with each other.
  • the recess is provided so as to be recessed in a hemispheric shape on the surface of the tip.
  • the liquid storage section reaches the vicinity of the contact portion between the tip portion of the vibration source and the mesh member when the liquid spraying device is tilted toward the vibration source side, and
  • the liquid spraying device is formed so that the liquid does not reach the vicinity of the contact portion when the liquid spraying device is kept in a horizontal state, and the concave portion of the vibration source is in a state where the liquid spraying device is tilted toward the vibration source side. It is located below the gravitational direction on the surface of the tip.
  • the surface roughness of the bottom surface of the recess is formed to be rougher than the surface roughness of the surface.
  • a liquid spraying apparatus that sprays a liquid using a vibration source and a mesh member, and can spray the liquid stably.
  • FIG. 1 is a perspective view showing an external configuration of a liquid spray device in Embodiment 1.
  • FIG. 3 is a perspective view showing a bottle unit provided in the liquid spraying apparatus in Embodiment 1.
  • FIG. It is a 1st perspective view which shows the state which the bottle unit with which the liquid spray apparatus in Embodiment 1 is equipped decomposed
  • FIG. 3 is a cross-sectional view showing a disassembled state of a bottle unit provided in the liquid spray device in Embodiment 1.
  • FIG. 3 is a perspective view showing a cross section taken along the line VI-VI in FIG. 2.
  • FIG. 3 is a cross-sectional view showing a state during spraying of a bottle unit used in the liquid spraying apparatus in the first embodiment.
  • 3 is a perspective view showing a horn vibrator used in the liquid spray device in Embodiment 1.
  • FIG. 3 is a plan view showing a horn vibrator used in the liquid spray device in the first embodiment.
  • FIG. 4 is a side view showing the vicinity of the surface of the tip portion of the horn vibrator used in the liquid spraying apparatus in the first embodiment.
  • FIG. 13 is a cross-sectional view taken along line XIII-XIII in FIG.
  • FIG. 6 is a cross-sectional view showing a state during spraying of a horn vibrator used in the liquid spraying apparatus in Embodiment 1.
  • FIG. 6 is a plan view showing a horn vibrator used in a liquid spraying apparatus in a comparative example of Embodiment 2.
  • FIG. 6 is a plan view showing a horn vibrator used in a liquid spraying apparatus according to Embodiment 2.
  • FIG. 17 is a cross-sectional view taken along line XVII-XVII in FIG. 16.
  • 6 is a plan view showing a horn vibrator used in a liquid spraying apparatus in Embodiment 3.
  • FIG. 19 is a cross-sectional view taken along the line XIX-XIX in FIG.
  • FIG. 10 is a perspective view showing a horn vibrator used in a liquid spray device in a fourth embodiment.
  • FIG. 10 is a perspective view showing a horn vibrator used in a liquid spray device in a fifth embodiment. It is sectional drawing which shows the state at the time of the spraying of the horn vibrator
  • FIG. 10 is a perspective view showing a liquid spray device in a sixth embodiment.
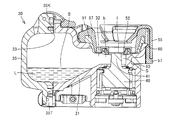
  • FIG. 1 is a perspective view showing an external configuration of the liquid spraying apparatus 100.
  • the liquid spraying apparatus 100 includes a main body unit 20 and a bottle unit 30.
  • the main body 20 has a power switch 21 on the surface.
  • a power source (not shown) and an electric circuit (not shown) for driving the liquid spray device 100 (vibrating a horn vibrator 40 described later) and the like are provided inside the main body 20.
  • the bottle unit 30 is detachably attached to the main body unit 20.
  • FIG. 2 is a perspective view showing the bottle unit 30.
  • FIG. 3 is a first perspective view showing the bottle unit 30 in an exploded state.
  • FIG. 4 is a second perspective view showing the bottle unit 30 in an exploded state.
  • FIG. 5 is a cross-sectional view showing the bottle unit 30 in an exploded state.
  • FIG. 6 is a perspective view of a cross section taken along the line VI-VI in FIG.
  • the mesh member 1 see FIGS. 3 to 5 (details will be described later) is not shown for convenience of illustration.
  • the mesh member 1 similarly, the mesh member 1, the support members 50 and 52, the hermetic support packing 51, and the outer mesh cap 55 are not shown (the details thereof will be described later).
  • FIG. 7 is a cross-sectional view corresponding to FIG.
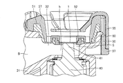
  • FIG. 8 is an enlarged sectional view showing the vicinity of the mesh member 1 in FIG.
  • the bottle unit 30 includes a mesh member 1 (see FIGS. 1 and 3 to 5), a bottle part 31 (liquid storage part), and a horn vibrator 40 (vibration source) ( 3 to 5).
  • the mesh member 1 has a large number of fine holes (not shown).
  • the mesh member 1 is made of, for example, Ni—Pd (nickel-palladium) alloyed at a predetermined ratio. As will be described in detail later, the mesh member 1 (see FIGS. 1 and 3 to 5) is disposed so as to contact the surface 42 of the tip portion 41 of the horn vibrator 40.
  • bottom part 31 Referring to FIGS. 5 to 8, the bottom surface of bottle portion 31 is formed to be inclined. A liquid L such as a chemical solution (see FIG. 7) is stored inside the bottle portion 31.
  • the bottle portion 31 is provided with a liquid injection port 33 located on the opposite side of the horn vibrator 40 and a tip opening 32 that gradually becomes narrower as the horn vibrator 40 is approached.
  • a cap 35 is attached so as to close the liquid injection port 33.
  • the cap 35 is supported by the support portion 35T so as to be rotatable in the direction of the arrow AR35 (see FIG. 2).
  • the liquid injection port 33 of the bottle portion 31 is closed.
  • the state in which the cap 35 closes the liquid injection port 33 is held by a fixing portion 35 ⁇ / b> K provided on the top of the cap 35.
  • the front end opening 32 of the bottle portion 31 faces the front end portion 41 of the horn vibrator 40.
  • the liquid L stored in the bottle portion 31 is supplied to the surface 42 of the tip portion 41 from the outside of the tip portion 41 of the horn vibrator 40.
  • the bottle part 31 is the surface of the tip part 41 of the horn vibrator 40 (see FIG. 1) when the liquid spraying apparatus 100 (see FIG. 1) is kept in the horizontal state (the horizontal state shown in FIG. 7).
  • the liquid L is formed so as not to reach the vicinity of the contact portion (atomization portion) between the mesh member 1 and the surface 42 in 3 etc.
  • the bottle part 31 in the spray state (inclined state shown in FIG. 9) in which the liquid spray device 100 (see FIG. 1) is tilted toward the horn vibrator 40, the bottle part 31 has a surface (see FIG. 3 is formed so that the liquid L reaches the vicinity of the contact portion (atomizing portion) between the mesh member 1 and the surface 42).
  • the bottle portion 31 includes a large-capacity portion B and a small-capacity portion that communicates with the large-capacity portion B through the tip opening 32 and faces the tip portion 41 of the horn vibrator 40.
  • the small capacity portion b is an annular space S (see FIG. 5) between the inner wall 62 (see FIG. 6) of the opening 60 of the bottle unit 30 that sprays the atomized chemical liquid and the tip 41 of the horn vibrator 40. Reference).
  • the small capacity portion b In the state where the liquid L has reached the space S (see FIG. 5) inside the small capacity portion b, the small capacity portion b is arranged so that the liquid L (liquid LL in FIG. 9) contacts the vicinity of the atomizing portion. It is formed. The small capacity portion b is formed so that the liquid LL reaches the atomizing portion even if the liquid LL (see FIG. 9) supplied in the space S is a small amount of liquid.
  • the liquid flows into the small capacity portion b from the large capacity portion B of the bottle portion 31.
  • the liquid LL (see FIG. 9) adheres to the periphery and the surface 42 of the tip 41 of the horn vibrator 40.
  • the distance between the inner wall 62 forming the space S and the tip 41 of the horn vibrator 40 is such that the liquid LL in the small volume portion b is meshed to the vicinity of the atomizing portion at a small amount immediately before the liquid L in the large volume portion B disappears. It is good to set so that it may be supplied by the surface tension between member 1 and tip 41.
  • the liquid L in the large-capacity portion B becomes a certain amount or less.
  • the liquid L of the large volume portion B and the liquid LL of the small volume portion b are formed so as to be separated from each other. Since the small volume portion b is higher than the large volume portion B, when the large volume portion B is not filled with the liquid L and the liquid level is located below the tip opening 32, the small volume portion Only a small amount of the liquid LL is left around the tip 41 of the horn vibrator 40, and the other liquid L is stored in the large-capacity portion B.
  • the inside of the bottle portion 31 is a hole for introducing outside air formed in the cap 35. It is kept liquid tight except for (not shown).
  • the horn vibrator 40 is disposed so as to face the tip opening 32 of the bottle portion 31.
  • the horn vibrator 40 is located below the opening 60 provided in the bottle unit 30.
  • an outer mesh cap 55 and an inner mesh cap 57 described later are detachably attached to the opening 60.
  • support member 50 and support member 52 can be fitted to each other with mesh member 1 being sandwiched between support member 50 and support member 52. Configured. The mesh member 1 is sandwiched between the support member 50 and the support member 52 that are fitted to each other on the tip portion 41 of the horn vibrator 40. The support member 50 and the support member 52 fix the mesh member 1 so that the mesh member 1 abuts against the surface 42 of the horn vibrator 40 while sandwiching the mesh member 1.
  • the support member 50 and the support member 52 that are fitted to each other are attached to the inner peripheral portion of the hermetic support packing 51 formed in an annular shape.
  • the supporting member 50 and the supporting member 52 that are fitted to each other are attached to the inner mesh cap 57 by the hermetic support packing 51.
  • the outer peripheral portion of the hermetic support packing 51 is fitted into the inner mesh cap 57.
  • the space between the support members 50 and 52 and the inner mesh cap 57 is sealed by the hermetic support packing 51.
  • the inner mesh cap 57 is attached around the opening 60 so as to cover the opening 60 provided in the bottle unit 30.
  • the inner mesh cap 57 is pivotally supported by the support portion 38T provided on the bottle portion 31 side so that the support portion 57T of the inner mesh cap 57 is rotatable.
  • An outer mesh cap 55 is provided so as to cover the outer side of the inner mesh cap 57.
  • the air gap formed between the inner mesh cap 57 and the opening 60 is sealed by the sealing support packing 51.
  • the sealing By the sealing, the liquid L and the liquid LL stored in the bottle part 31 are kept from leaking from the bottle part 31 to the outside. Thereby, even if it is a case where the liquid spraying apparatus 100 is inclined, the liquid L and the liquid LL inside the bottle part 31 do not leak outside.
  • the mesh member 1 needs to be brought into contact with the surface 42 of the tip portion 41 of the horn vibrator 40 with an appropriate force. There may be variations in the contact pressure with respect to the surface 42 of the mesh member 1 due to variations in the dimensions of the components that occur during manufacture or variations that occur when the components are assembled.
  • the support members 50 and 52 that sandwich the mesh member 1 are supported by the hermetic support packing 51. Since the mesh member 1 contacts the surface 42 of the tip portion 41 of the horn vibrator 40 through the hermetic support packing 51, the above-described variation is absorbed by the elasticity of the hermetic support packing 51 itself. Therefore, in the liquid spraying apparatus 100, a stable positional relationship between the mesh member 1 and the surface 42 of the tip portion 41 is maintained.
  • the support portion 57T of the inner mesh cap 57 is pivotally supported by the support portion 38T provided on the bottle portion 31 side.
  • the inner mesh cap 57 is detachable from the opening 60 in a state where the mesh member 1, the support members 50 and 52, and the hermetic support packing 51 are integrally attached to the inner side of the inner mesh cap 57. It is attached.
  • the mesh member 1 Since the mesh member 1 is attached to the inner mesh cap 57, the mesh member 1 can be easily washed by removing the inner mesh cap 57 from the opening 60 (rotating the inner mesh cap 57). It is possible.
  • the bottle unit 30 When the liquid sprayer 100 is held by hand and tilted toward the horn vibrator 40, the bottle unit 30 is tilted as shown in FIG. It flows into the space S.
  • the liquid LL in the space S reaches the vicinity of the contact portion between the surface 42 of the tip 41 and the mesh member 1 from the outside of the tip 41 of the horn vibrator 40.
  • the horn vibrator 40 vibrates ultrasonically, and the ultrasonic vibration between the mesh member 1 and the surface 42 of the tip 41 of the horn vibrator 40. Accordingly, the liquid LL is ejected through the fine holes of the mesh member 1, and the mist-like liquid LL is sprayed from the opening 60 (see FIGS. 3 to 5).
  • the concave portion 43 (details will be described later) is formed on the surface 42 of the tip portion 41, so that the liquid L (liquid LL) is discharged from the small volume portion b. Is stably supplied to the mesh member 1 little by little.
  • the liquid LL in the small-capacity portion b is, as described above, the tip portion 41 and the inner wall 62 (see FIG. 6), the surface tension rises to the vicinity of the atomizing portion, and can be further supplied to the mesh member 1 by the vibration of the horn vibrator 40.
  • the liquid L that is almost full in the large-capacity portion B of the bottle portion 31. Except for the liquid L, the liquid L slightly adheres to the inner wall 62 of the small volume portion b, and most of the liquid L is stored in the large volume portion B. Even when the power switch 21 is forgotten to be turned off, the liquid L is prevented from being wasted. Combined with the auto power-off function when the liquid L runs out, it is possible to prevent unnecessary battery consumption.
  • the liquid L is not supplied to the contact portion between the surface 42 of the tip 41 of the horn vibrator 40 and the mesh member 1. Since the liquid L is not supplied to the mesh member 1, the liquid L oozes out and the liquid L does not leak. The liquids L and LL in the bottle part 31 do not leak to the outside.
  • FIG. 10 is a perspective view showing the horn vibrator 40 in the present embodiment.
  • FIG. 11 is a plan view showing the horn vibrator 40.
  • FIG. 12 is a side view showing the vicinity of the surface 42 of the tip portion 41 of the horn vibrator 40.
  • FIG. 13 is a cross-sectional view taken along line XIII-XIII in FIG.
  • FIG. 14 is a cross-sectional view showing a state when the horn vibrator 40 is sprayed.
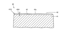
  • the surface 42 of the tip portion 41 of the horn vibrator 40 is provided with a recess 43 extending in a groove shape along the substantially diameter direction of the surface 42.
  • the horn vibrator 40 may be fixed in a state where the phase in the rotation direction is positioned so that the concave portion 43 extends along the direction in which the liquid spraying device 100 is tilted toward the horn vibrator 40.
  • the recess 43 in the present embodiment has a first end 43a and a second end 43b.
  • the first end portion 43 a and the second end portion 43 b face each other along the extending direction of the recess 43.
  • the second end 43b is located on the opposite side of the first end 43a.
  • the recess 43 in the present embodiment is provided extending so that both the first end 43 a and the second end 43 b reach the outer peripheral surface of the tip 41.
  • the surface 42 of the tip 41 of the horn vibrator 40 in the present embodiment is formed in a circular shape.
  • the diameter of the surface 42 is about 3.5 mm, for example.
  • the width 43D of the recess 43 in a direction (left and right direction in FIG. 11) orthogonal to the extending direction of the recess 43 (up and down direction in FIG. 11) is, for example, about 1.0 mm.
  • the width 43D may be 5% or more and 50% or less of the diameter of the surface 42. If the width 43D of the recess 43 is too wide (the area of the surface 42 is excessively reduced), the spray state becomes unstable and a good spray may not be obtained. On the other hand, if the width 43D of the recess 43 becomes too small, the original effect of the recess 43 may not be obtained. Therefore, the width 43 ⁇ / b> D is preferably 5% to 50% of the diameter of the surface 42.
  • depth 43H from surface 42 of recess 43 is, for example, about 0.1 mm.
  • the depth 43H is preferably 0.03 mm or more and 1.0 mm or less.
  • the spray state becomes unstable and a good spray may not be obtained.
  • the width of the recess 43 is narrow and the depth 43H is too deep, it may not be preferable on the cleaning surface.
  • the depth 43H of the recessed part 43 is too shallow, the original effect of the recessed part 43 may not be acquired. Therefore, the depth 43H is preferably 0.03 mm or more and 1.0 mm or less.
  • the surface of the bottom surface 43c of the recess 43 is formed to be rougher than the surface 42 (surface roughness of the bottom surface 43c> surface roughness of the surface 42).
  • the outer edge of the surface 42 of the tip portion 41 of the horn vibrator 40 is subjected to R chamfering processing having a predetermined processing radius 41R (chamfering dimension).
  • the processing radius 41R is larger than 0.1 mm (R0.1 mm), for example, about 0.2 mm.
  • the depth 43H of the recess 43 from the surface 42 of the tip 41 is preferably provided smaller than the processing radius 41R.
  • burrs may be formed on the first end portion 43a or the second end portion 43b of the concave portion 43 in some cases.
  • the outer edge of the surface 42 is subjected to R chamfering after the formation of the recess 43, the depth 43H of the recess 43 from the surface 42 of the tip 41 is provided smaller than the processing radius 41R, thereby removing burrs. It becomes possible.
  • the outer edge of the surface 42 of the tip portion 41 of the horn vibrator 40 may be subjected to C chamfering processing having a predetermined chamfering dimension without being limited to R chamfering processing.
  • the chamfer dimension is preferably larger than 0.1 mm (C 0.1 mm), for example, about 0.2 mm. Also with this configuration, it is possible to remove the burrs.
  • the concave portion 43 is provided on the surface 42 of the tip portion 41 of the horn vibrator 40, a space corresponding to the shape of the concave portion 43 is provided between the mesh member 1 and the surface 42. Is formed.
  • the liquid L (liquid LL) is supplied from the bottle portion 31 toward the horn vibrator 40 side.
  • the liquid L (liquid LL) is supplied to the surface 42 of the tip portion 41 from the outside of the tip portion 41 of the horn vibrator 40.
  • the liquid L (liquid LL) is supplied from the outside of the tip portion 41 between the surface 42 of the tip portion 41 of the horn vibrator 40 and the mesh member 1. At this time, the liquid L (liquid LL) can reach the lower surface side of the mesh member 1 while flowing into the space formed by the recess 43 from the outside of the tip portion 41 (arrow AR in FIG. 14). reference).
  • the liquid L accumulates in the recess 43.
  • the amount of the liquid L (liquid LL) supplied to the mesh member 1 is locally increased between the mesh member 1 and the surface 42 by providing the concave portion 43 on the surface 42.
  • the mesh member 1 can be stably supplied with the liquid L (liquid LL).
  • the power switch 21 of the main body 20 (see FIG. 1) is pressed.
  • the horn vibrator 40 is ultrasonically vibrated, and the liquid LL in the small capacity portion b is supplied to the mesh member 1 by the ultrasonic vibration between the mesh member 1 and the surface 42 of the tip 41 of the horn vibrator 40, and the liquid LL is supplied. It is discharged as a droplet from the fine hole of the mesh member 1 and sprayed from the opening 60. Even during spraying, the liquid L (liquid LL) is reliably supplied to the mesh member 1 through the recess 43 little by little.
  • liquid L (liquid LL) is stably supplied to the mesh member 1 without interruption. Therefore, according to liquid spraying apparatus 100 in the present embodiment, liquid L (liquid LL) can be sprayed stably.
  • the liquid L liquid LL
  • the vibration energy of the horn vibrator 40 is concentrated at the center of the surface 42, so that a more stable continuous spray state can be obtained.
  • the recess 43 in the present embodiment is provided so that both the first end portion 43 a and the second end portion 43 b reach the outer peripheral surface of the tip end portion 41. Since the both ends of the recessed part 43 are open
  • four corners P are formed on the surface 42 of the horn vibrator 40 by providing a recess 43 on the surface 42. Even when the outer edge of the surface 42 of the front end portion 41 is not subjected to R chamfering, the four corner portions P are similarly formed.
  • the mesh member 1 is in contact with the surface 42 in a state parallel to the surface 42 of the tip portion 41 of the horn vibrator 40.
  • the mesh member 1 receives local stress from the four corners P due to ultrasonic vibration with the surface 42 of the tip portion 41, and the portion of the mesh member 1 that contacts the corner P is damaged. It becomes easy to do.
  • FIG. 16 is a plan view showing a horn vibrator 40 used in the liquid spraying apparatus in the present embodiment.
  • FIG. 17 is a cross-sectional view taken along the line XVII-XVII in FIG.
  • mesh member 1 is inclined at a predetermined angle ⁇ 1 (see FIG. 17) with respect to surface 42 of tip portion 41 of horn vibrator 40. It is attached. According to the said structure, the part which contacts the corner
  • the mesh member 1 is attached so as to be inclined at a predetermined angle ⁇ 1 (see FIG. 19) with respect to the surface 42 of the tip portion 41 of the horn vibrator 40.
  • the mesh member 1 is attached so as to be inclined in the direction of the arrow DR1.
  • the direction in which the mesh member 1 is inclined (in the direction of the arrow DR1) and the concave portion in the projection view in which the mesh member 1 is projected onto the tip portion 41 side of the horn vibrator 40.
  • the mesh member 1 is attached to the surface 42 of the tip portion 41 of the horn vibrator 40 so that the extending direction of 43 (arrow DR2) intersects each other.
  • a predetermined angle ⁇ 2 is provided between the direction in which the mesh member 1 is inclined (arrow DR1 direction) and the direction in which the recess 43 extends (arrow DR2). .
  • the mesh member 1 does not contact the corner portion P but contacts the surface 42 of the tip portion 41 at the edge portion R other than the corner portion P. The possibility that the mesh member 1 is damaged can be further reduced.
  • horn vibrator 40A is used.
  • a recess 43 ⁇ / b> A is provided on the surface 42 of the tip 41.
  • the recess 43A in the present embodiment is formed such that the first end 43a reaches the outer peripheral surface of the tip 41.
  • the second end portion 43 b does not reach the outer peripheral surface of the tip end portion 41.
  • the liquid L By storing the liquid L in the recess 43A, the liquid L can be stably supplied to the mesh member 1 without interruption. As a result, the liquid L can be stably sprayed.
  • horn vibrator 40B is used in the liquid spray apparatus in the present embodiment.
  • a concave portion 43B is provided on the surface 42 of the tip portion 41.
  • the recess 43B is provided so as to be recessed in a hemispherical shape on the surface 42 of the distal end portion 41.
  • the liquid L supplied onto the surface 42 can be stored in the recess 43B, as in the fourth embodiment.
  • the liquid L By storing the liquid L in the recess 43B, the liquid L can be stably supplied to the mesh member 1 without interruption. As a result, the liquid L can be stably sprayed.
  • the recess 43 ⁇ / b> B is located on the lower side in the gravity direction on the surface 42 of the tip 41 of the horn vibrator 40 in a state where the liquid spraying apparatus in the present modification is tilted toward the horn vibrator 40. It is good to be provided so that it may be located. According to the said structure, the liquid L becomes easy to accumulate in the recessed part 43B.
  • the liquid L By storing the liquid L in the recess 43B, the liquid L can be stably supplied to the mesh member 1 without further interruption. As a result, the liquid L can be stably sprayed.
  • FIG. 23 is a perspective view showing a liquid spraying apparatus 200 in the present embodiment.
  • the outer mesh cap 55 in the present embodiment is configured to be detachable with respect to the bottle portion 31 and is attached in a state where the outer mesh cap 55 is not positioned with respect to the bottle portion 31 (the outer mesh cap 55 is optional in the arrow DR direction). At an angle of).
  • the mesh member 1 held by the outer mesh cap 55 is in a state where the mesh member 1 and the surface 42 (not shown) of the tip 41 (not shown) of the horn vibrator 40 (not shown) are in contact with each other. It becomes possible to rotate with respect to the horn vibrator 40 while maintaining the above.
  • the user removes the outer mesh cap 55 together with the mesh member 1 from the bottle portion 31 and cleans the mesh member 1.
  • the user reattaches the mesh member 1 to the bottle portion 31 together with the outer mesh cap 55.
  • the outer mesh cap 55 is attached in a state where the rotational direction is not positioned with respect to the bottle part 31 (attached at an arbitrary phase).
  • the attachment state of the mesh member 1 to the horn vibrator 40 (not shown) is changed each time the outer mesh cap 55 is attached / detached.
  • abuts with respect to the mesh member 1 is changed every time.
  • the contact position between the mesh member 1 and the recess 43 (not shown) is changed every time (the load on the mesh member 1 is suppressed from concentrating), so the mesh member 1 can be damaged. Can be reduced.
  • each embodiment based on this invention was described, each embodiment disclosed this time is an illustration and restrictive at no points.
  • the number of the recesses 43, 43A, 43B may be plural.
  • the surface 42 of the tip 41 of the horn vibrator 40 may be configured to be supplied without tilting the liquid spray device 100.

Landscapes

  • Special Spraying Apparatus (AREA)
PCT/JP2012/067181 2011-09-22 2012-07-05 液体噴霧装置 Ceased WO2013042428A1 (ja)

Priority Applications (5)

Application Number Priority Date Filing Date Title
CN201280046080.3A CN103826758B (zh) 2011-09-22 2012-07-05 液体喷雾装置
US14/342,677 US9358568B2 (en) 2011-09-22 2012-07-05 Liquid spray apparatus
DE112012003948.3T DE112012003948T5 (de) 2011-09-22 2012-07-05 Flüssigkeitssprühvorrichtung
IN3090DEN2014 IN2014DN03090A (enExample) 2011-09-22 2012-07-05
BR112014006923A BR112014006923B8 (pt) 2011-09-22 2012-07-05 Aparelho de pulverizar líquido

Applications Claiming Priority (2)

Application Number Priority Date Filing Date Title
JP2011-207416 2011-09-22
JP2011207416A JP5652790B2 (ja) 2011-09-22 2011-09-22 液体噴霧装置

Publications (1)

Publication Number Publication Date
WO2013042428A1 true WO2013042428A1 (ja) 2013-03-28

Family

ID=47914209

Family Applications (1)

Application Number Title Priority Date Filing Date
PCT/JP2012/067181 Ceased WO2013042428A1 (ja) 2011-09-22 2012-07-05 液体噴霧装置

Country Status (7)

Country Link
US (1) US9358568B2 (enExample)
JP (1) JP5652790B2 (enExample)
CN (1) CN103826758B (enExample)
BR (1) BR112014006923B8 (enExample)
DE (1) DE112012003948T5 (enExample)
IN (1) IN2014DN03090A (enExample)
WO (1) WO2013042428A1 (enExample)

Families Citing this family (21)

* Cited by examiner, † Cited by third party
Publication number Priority date Publication date Assignee Title
SE447791B (sv) 1985-04-30 1986-12-15 Astra Meditec Ab Vetnings- och forvaringsanordning for en kateter
IL258641B (en) 2015-10-30 2022-09-01 Johnson & Johnson Consumer Inc Aseptic aerosol misting device
MX2018005335A (es) 2015-10-30 2018-05-17 Johnson & Johnson Consumer Inc Nebulizador de aerosol aseptico.
IL258628B (en) * 2015-10-30 2022-09-01 Johnson & Johnson Consumer Inc Install an uncontaminated spray misting device
MA43112A (fr) * 2015-10-30 2018-09-05 Johnson & Johnson Consumer Inc Pulvérisateur d'aérosol aseptique de dose unitaire
BR112018016110B1 (pt) * 2016-02-08 2023-01-24 Koninklijke Philips N.V Gerador de aerossol, nebulizador e método de fabricação de um gerador de aerossol
AU2017260444B2 (en) 2016-05-03 2019-05-09 Pneuma Respiratory, Inc. Droplet delivery device for delivery of fluids to the pulmonary system and methods of use
JP6686682B2 (ja) * 2016-05-09 2020-04-22 オムロンヘルスケア株式会社 メッシュ式ネブライザおよび交換部材
JP6776761B2 (ja) * 2016-09-20 2020-10-28 オムロンヘルスケア株式会社 メッシュ式ネブライザおよび薬液パック
CN106759018B (zh) * 2016-12-14 2019-05-10 合加新能源汽车有限公司 用于吸扫式扫路车的吸管降尘装置
JP2019051217A (ja) * 2017-09-19 2019-04-04 オムロンヘルスケア株式会社 メッシュ式ネブライザ
CN118203735A (zh) 2017-10-04 2024-06-18 精呼吸股份有限公司 电子呼吸致动式直线型液滴输送装置及其使用方法
JP6988365B2 (ja) 2017-10-20 2022-01-05 オムロンヘルスケア株式会社 メッシュ式ネブライザおよび交換部材
EP3706843B1 (en) 2017-11-08 2024-06-26 Pneuma Respiratory, Inc. Electronic breath actuated in-line droplet delivery device with small volume ampoule
WO2019204122A1 (en) 2018-04-17 2019-10-24 Turtle Wax, Inc. Modular dispenser system
USD881717S1 (en) 2018-04-17 2020-04-21 Turtle Wax, Inc. Modular dispenser
US12357773B2 (en) * 2018-07-24 2025-07-15 Monash University Nebulizer
US10506320B1 (en) 2019-01-10 2019-12-10 Phillip Dale Lott Dynamic earphone tip
CN110087693A (zh) * 2019-03-15 2019-08-02 璞真生活有限公司 雾化装置
ES3040366T3 (en) * 2021-06-22 2025-10-30 Pneuma Respiratory Inc Droplet delivery device with push ejection
US12161795B2 (en) 2022-07-18 2024-12-10 Pneuma Respiratory, Inc. Small step size and high resolution aerosol generation system and method

Citations (7)

* Cited by examiner, † Cited by third party
Publication number Priority date Publication date Assignee Title
JPS58183270U (ja) * 1982-06-01 1983-12-06 ライオン株式会社 超音波噴霧装置
JPS62273069A (ja) * 1986-05-20 1987-11-27 シ−メンス、アクチエンゲゼルシヤフト 超音波振動子
JPS63194765A (ja) * 1987-02-04 1988-08-11 Toa Nenryo Kogyo Kk 超音波霧化装置
JPS6418465A (en) * 1987-07-15 1989-01-23 Toa Nenryo Kogyo Kk Ultrasonic atomization device
JPH07256170A (ja) * 1994-03-23 1995-10-09 Omron Corp 超音波霧化装置
JP2001149473A (ja) * 1999-11-29 2001-06-05 Omron Corp 噴霧装置
JP2009154058A (ja) * 2007-12-25 2009-07-16 Panasonic Electric Works Co Ltd 弾性表面波霧化装置

Family Cites Families (9)

* Cited by examiner, † Cited by third party
Publication number Priority date Publication date Assignee Title
JP2833436B2 (ja) 1993-09-14 1998-12-09 オムロン株式会社 超音波式吸入器
JPH07328503A (ja) 1994-06-08 1995-12-19 Daishinku Co 超音波振動子および超音波霧化装置
US7600511B2 (en) * 2001-11-01 2009-10-13 Novartis Pharma Ag Apparatus and methods for delivery of medicament to a respiratory system
EP2165771B1 (en) * 2000-10-05 2012-01-18 Omron Healthcare Co., Ltd. Liquid spray device
US6667911B2 (en) * 2001-10-11 2003-12-23 Micron Technology, Inc. High speed memory architecture
TWM248459U (en) * 2003-11-26 2004-11-01 You-Ji Lin Ultrasonic atomization device for water-soluble essential oil
EP1604701B1 (en) * 2004-06-09 2010-12-15 Microflow Engineering SA Improved modular liquid spray system
TWI262824B (en) * 2005-04-01 2006-10-01 Ind Tech Res Inst Device for creating fine mist
EP1952896B1 (en) * 2007-02-01 2012-11-07 EP Systems SA Droplet dispenser

Patent Citations (7)

* Cited by examiner, † Cited by third party
Publication number Priority date Publication date Assignee Title
JPS58183270U (ja) * 1982-06-01 1983-12-06 ライオン株式会社 超音波噴霧装置
JPS62273069A (ja) * 1986-05-20 1987-11-27 シ−メンス、アクチエンゲゼルシヤフト 超音波振動子
JPS63194765A (ja) * 1987-02-04 1988-08-11 Toa Nenryo Kogyo Kk 超音波霧化装置
JPS6418465A (en) * 1987-07-15 1989-01-23 Toa Nenryo Kogyo Kk Ultrasonic atomization device
JPH07256170A (ja) * 1994-03-23 1995-10-09 Omron Corp 超音波霧化装置
JP2001149473A (ja) * 1999-11-29 2001-06-05 Omron Corp 噴霧装置
JP2009154058A (ja) * 2007-12-25 2009-07-16 Panasonic Electric Works Co Ltd 弾性表面波霧化装置

Also Published As

Publication number Publication date
US9358568B2 (en) 2016-06-07
JP5652790B2 (ja) 2015-01-14
BR112014006923B8 (pt) 2022-09-06
US20140231538A1 (en) 2014-08-21
BR112014006923A2 (pt) 2017-04-04
JP2013066847A (ja) 2013-04-18
CN103826758A (zh) 2014-05-28
DE112012003948T5 (de) 2014-07-10
CN103826758B (zh) 2016-08-17
IN2014DN03090A (enExample) 2015-05-15
BR112014006923B1 (pt) 2020-12-22

Similar Documents

Publication Publication Date Title
JP5652790B2 (ja) 液体噴霧装置
KR100485836B1 (ko) 액체 분무 장치
US9205445B2 (en) Rotary nebulization device
US11771845B2 (en) Mesh nebulizer and replacement member
JP2013066847A5 (enExample)
US10926045B2 (en) Mesh nebulizer and replacement member
JP2005516680A (ja) 分配装置
JP2017202026A5 (enExample)
JP2022146901A (ja) 霧化装置、霧化装置アセンブリ及び霧化装置の制御システム
JP5858384B2 (ja) 液体噴霧装置
JP5904415B2 (ja) 液体噴霧装置
JP3211330U (ja) 回転接続式メディカルカップを備える噴霧器
JP4262638B2 (ja) 液体タンク用のストレーナ
JP4775028B2 (ja) 美顔器
JP3129018U (ja) 霧化装置
JP6518873B2 (ja) 超音波霧化装置
JP2018176019A (ja) 噴霧装置
CN201172028Y (zh) 侧向喷雾的雾化器
JP6591750B2 (ja) 薬剤容器及びこれを備えた薬剤揮散器
TWI499460B (zh) Liquid spray device
JP2019118889A (ja) 噴霧器
JP2024139323A (ja) 密封体、揮散装置、及び放散装置
JP2534258Y2 (ja) キャップの取り付け構造
JP3107682U (ja) レンズクリーナ
BR112020007587B1 (pt) Membro de substituição, e, nebulizador do tipo malha

Legal Events

Date Code Title Description
121 Ep: the epo has been informed by wipo that ep was designated in this application

Ref document number: 12833166

Country of ref document: EP

Kind code of ref document: A1

WWE Wipo information: entry into national phase

Ref document number: 14342677

Country of ref document: US

WWE Wipo information: entry into national phase

Ref document number: 1120120039483

Country of ref document: DE

Ref document number: 112012003948

Country of ref document: DE

REG Reference to national code

Ref country code: BR

Ref legal event code: B01A

Ref document number: 112014006923

Country of ref document: BR

122 Ep: pct application non-entry in european phase

Ref document number: 12833166

Country of ref document: EP

Kind code of ref document: A1

ENP Entry into the national phase

Ref document number: 112014006923

Country of ref document: BR

Kind code of ref document: A2

Effective date: 20140321