WO2013002082A1 - 高強度マグネシウム合金材料を製造する方法およびマグネシウム合金製の棒材 - Google Patents

高強度マグネシウム合金材料を製造する方法およびマグネシウム合金製の棒材 Download PDF

Info

Publication number
WO2013002082A1
WO2013002082A1 PCT/JP2012/065666 JP2012065666W WO2013002082A1 WO 2013002082 A1 WO2013002082 A1 WO 2013002082A1 JP 2012065666 W JP2012065666 W JP 2012065666W WO 2013002082 A1 WO2013002082 A1 WO 2013002082A1
Authority
WO
WIPO (PCT)
Prior art keywords
workpiece
magnesium alloy
mold
sample
internal space
Prior art date
Legal status (The legal status is an assumption and is not a legal conclusion. Google has not performed a legal analysis and makes no representation as to the accuracy of the status listed.)
Ceased
Application number
PCT/JP2012/065666
Other languages
English (en)
French (fr)
Japanese (ja)
Inventor
博己 三浦
Current Assignee (The listed assignees may be inaccurate. Google has not performed a legal analysis and makes no representation or warranty as to the accuracy of the list.)
University of Electro Communications NUC
Original Assignee
University of Electro Communications NUC
Priority date (The priority date is an assumption and is not a legal conclusion. Google has not performed a legal analysis and makes no representation as to the accuracy of the date listed.)
Filing date
Publication date
Application filed by University of Electro Communications NUC filed Critical University of Electro Communications NUC
Priority to CN201280031740.0A priority Critical patent/CN103619506B/zh
Priority to JP2013522785A priority patent/JP5843176B2/ja
Priority to EP12805338.6A priority patent/EP2727667B1/en
Priority to US14/129,562 priority patent/US9574259B2/en
Publication of WO2013002082A1 publication Critical patent/WO2013002082A1/ja
Anticipated expiration legal-status Critical
Ceased legal-status Critical Current

Links

Images

Classifications

    • CCHEMISTRY; METALLURGY
    • C22METALLURGY; FERROUS OR NON-FERROUS ALLOYS; TREATMENT OF ALLOYS OR NON-FERROUS METALS
    • C22FCHANGING THE PHYSICAL STRUCTURE OF NON-FERROUS METALS AND NON-FERROUS ALLOYS
    • C22F3/00Changing the physical structure of non-ferrous metals or alloys by special physical methods, e.g. treatment with neutrons
    • BPERFORMING OPERATIONS; TRANSPORTING
    • B21MECHANICAL METAL-WORKING WITHOUT ESSENTIALLY REMOVING MATERIAL; PUNCHING METAL
    • B21JFORGING; HAMMERING; PRESSING METAL; RIVETING; FORGE FURNACES
    • B21J1/00Preparing metal stock or similar ancillary operations prior, during or post forging, e.g. heating or cooling
    • B21J1/02Preliminary treatment of metal stock without particular shaping, e.g. salvaging segregated zones, forging or pressing in the rough
    • CCHEMISTRY; METALLURGY
    • C22METALLURGY; FERROUS OR NON-FERROUS ALLOYS; TREATMENT OF ALLOYS OR NON-FERROUS METALS
    • C22CALLOYS
    • C22C23/00Alloys based on magnesium
    • CCHEMISTRY; METALLURGY
    • C22METALLURGY; FERROUS OR NON-FERROUS ALLOYS; TREATMENT OF ALLOYS OR NON-FERROUS METALS
    • C22CALLOYS
    • C22C23/00Alloys based on magnesium
    • C22C23/02Alloys based on magnesium with aluminium as the next major constituent
    • CCHEMISTRY; METALLURGY
    • C22METALLURGY; FERROUS OR NON-FERROUS ALLOYS; TREATMENT OF ALLOYS OR NON-FERROUS METALS
    • C22FCHANGING THE PHYSICAL STRUCTURE OF NON-FERROUS METALS AND NON-FERROUS ALLOYS
    • C22F1/00Changing the physical structure of non-ferrous metals or alloys by heat treatment or by hot or cold working
    • C22F1/06Changing the physical structure of non-ferrous metals or alloys by heat treatment or by hot or cold working of magnesium or alloys based thereon

Definitions

  • the present invention relates to a method for producing a high strength magnesium alloy material.
  • Magnesium alloys (including magnesium metal; the same applies hereinafter) have the characteristics of being lightweight and having high specific strength, and are expected to be used as next-generation lightweight structural materials.
  • a magnesium alloy is one of difficult-to-work materials, and it is known that cracks and defects are easily generated when a general processing such as rolling or forging is applied. Therefore, it is difficult to expect the strength improvement effect by work hardening treatment for magnesium alloy material, and the application field of magnesium alloy is a limited part where strength is not considered as important, such as parts for small electronic devices. Remains in use.
  • Non-Patent Documents 1 and 2 a technique for improving the magnesium alloy strength by adding a transition metal and a specific rare earth metal to magnesium has been disclosed (for example, Non-Patent Documents 1 and 2).
  • Non-Patent Documents 1 and 2 are also referred to as KUMADAI magnesium alloys.
  • KUMADAI magnesium alloy by adding a rare earth metal element, a special atomic arrangement structure (long-period stacked structure) is developed in the alloy structure, whereby the strength of the alloy can be improved.
  • Non-Patent Documents 1 and 2 may be limited to some high-value added products.
  • the present invention has been made in view of such a background, and an object of the present invention is to provide a method for producing a high-strength magnesium alloy material at a relatively simple and low cost.
  • a method for producing a high-strength magnesium alloy material (A) preparing a magnesium alloy workpiece having an upper surface and side surfaces; (B) applying a compressive load ⁇ p (MPa) from the upper surface side of the workpiece, and subjecting the workpiece to uniaxial forging; Have The step (b) is in a state in which deformation such that the side surface of the workpiece spreads outward is suppressed, (I) ⁇ p> ⁇ f (where ⁇ f is the compressive breaking stress (MPa) of the workpiece), (Ii) plastic deformation rate of 10% or less, and (iii) strain rate of 0.1 / sec or less, A method is provided that is performed under conditions that satisfy
  • the plastic deformation rate is defined by the ratio of the volume of the workpiece before and after the forging process.
  • the strain rate is defined by the initial strain rate.
  • ⁇ p ⁇ 2.4 ⁇ f may be satisfied.
  • a mold having an internal space for accommodating the workpiece is used.
  • the internal space is constituted by an inner wall of the mold,
  • the ratio (L: P) is 20: 1 to 600: 1. It may be.
  • the inner space of the mold may be configured by combining a plurality of mold members.
  • the internal space may not penetrate the mold.
  • the internal space may change in dimension along the depth direction.
  • the present invention provides a magnesium alloy bar whose longitudinal direction is substantially parallel to the c-axis direction.
  • the present invention has a rod, plate, block, pellet or tubular form, A magnesium alloy material produced by any of the foregoing methods is provided.
  • the present invention can provide a method for producing a high-strength magnesium alloy material at a relatively simple and low cost.
  • FIG. 3 schematically illustrates another type of configuration that may be used in the present invention.
  • FIG. 6 schematically illustrates yet another type of configuration that may be used in the present invention. It is the figure which showed schematically the shape of type
  • magnesium alloy materials have poor workability, and it is known that cracks and defects are easily generated when general processing such as cold rolling or forging is applied. Therefore, in the case of a magnesium alloy material, there is a problem that a large amount of strain cannot be introduced by processing, and it is difficult to expect a strength improvement effect by work hardening treatment.
  • rare earth metal elements in order to obtain a high-strength magnesium alloy, it is necessary to add a rare earth metal element to the alloy in an amount of about 5% to 7% or more by weight, that is, it is necessary to control the alloy composition. .
  • rare earth metal elements generally have a problem that the price is high. Therefore, with this technique, the obtained magnesium alloy may be expensive. Furthermore, the use of rare earth metal elements is not so preferable from the viewpoint of stable supply of materials.
  • the new high-strength magnesium alloy production method discovered by the present inventors does not require the addition of an expensive rare earth metal element to control the composition, as will be described in detail below.
  • strength magnesium alloy can be manufactured by a forge process. Therefore, in the present invention, a high-strength magnesium alloy can be provided by a simple and low-cost method.
  • a method for producing a high strength magnesium alloy material comprising: (A) preparing a magnesium alloy workpiece having an upper surface and side surfaces; (B) applying a compressive load ⁇ p from the upper surface side of the workpiece, and subjecting the workpiece to uniaxial forging; Have The step (b) is in a state in which deformation such that the side surface of the workpiece spreads outward is suppressed, (I) ⁇ p> ⁇ f (where ⁇ f is the compression breaking stress of the workpiece), (Ii) plastic deformation rate of 10% or less, and (iii) strain rate of 0.1 / sec or less, A method is provided that is performed under conditions that satisfy
  • ⁇ p> ⁇ f Equation (1) A large compressive load ⁇ p that satisfies the above is applied.
  • ⁇ f is the compressive breaking stress of the workpiece in the direction in which the compressive load ⁇ p is applied in a state where there is no deformation constraint.
  • a forging process is not performed on a workpiece of a difficult-to-work material under such conditions. This is because when such a large compressive load ⁇ p is applied to the workpiece, the workpiece is destroyed.
  • a large compressive load ⁇ p satisfying the expression (1) can be applied without destroying the workpiece made of magnesium alloy. This is because in the present invention, the forging process is performed “slowly” in a state where the side surface of the workpiece is “constrained”, and the plastic deformation rate is limited to a small value.
  • the side surface of the workpiece is “constrained”, the strain rate is set to 0.1 / sec or less, and the plastic deformation rate is suppressed to 10% or less, thereby satisfying the formula (1). Even if the compressive load ⁇ p is applied to the workpiece, the uniaxial forging process can be performed without causing cracks or damage to the workpiece.
  • “restraint” on the side surface of the workpiece or “constraint” the side surface means that free deformation is suppressed on the side surface of the workpiece during the forging process, more specifically. Means that the deformation of the side surface of the workpiece to be greatly expanded outward from the original position is suppressed.
  • the value of the compression load ⁇ p applied to the workpiece is not particularly limited as long as the expression (1) is satisfied. However, in order to obtain a more significant strength improvement effect, the value of the compression load ⁇ p can be set. The larger one is preferable. For example, ⁇ p ⁇ 2.4 ⁇ f may be satisfied, and ⁇ p ⁇ 3 ⁇ f is more preferable.
  • the compressive load ⁇ p becomes extremely large, there is a high risk of cracking of the workpiece even under the conditions (ii) and (iii) described above. For this reason, the compressive load ⁇ p is ⁇ p ⁇ 10 ⁇ f Equation (2) It is preferable to satisfy.
  • FIG. 1 shows an example of a flowchart of a method for producing a high strength magnesium alloy material according to the present invention.
  • a method for producing a high strength magnesium alloy material includes: (A) preparing a magnesium alloy workpiece having an upper surface and side surfaces (step S110); (B) A step of applying a compressive load ⁇ p from the upper surface side of the workpiece and subjecting the workpiece to uniaxial forging, wherein the step (b) is such that the side surface of the workpiece extends outward.
  • step S110 A step of applying a compressive load ⁇ p from the upper surface side of the workpiece and subjecting the workpiece to uniaxial forging, wherein the step (b) is such that the side surface of the workpiece extends outward.
  • Step S110 First, a workpiece made of magnesium alloy is prepared.
  • FIG. 2 shows an example of the shape of the workpiece 110.
  • the workpiece 110 has a substantially cylindrical shape having an upper surface 112, a side surface 114, and a bottom surface 116.
  • this shape is an example, and the workpiece 110 may have another shape.
  • the workpiece 110 may have a rod shape, a block shape, a cone shape, a truncated cone shape, a pyramid shape, a truncated pyramid shape, a plate shape (including a disk shape), a pellet shape, a tubular shape, or the like. That is, the workpiece 110 may have any shape as long as it has an upper surface and side surfaces.
  • the terms “upper surface” and “side surface” of a workpiece are used to represent relative parts of the workpiece. That is, the “upper surface” is a surface of the workpiece that is directly contacted by a press mandrel (a member that applies a compressive load to the workpiece) during the forging process of the workpiece, and is subjected to a compressive load. This means a plane that is substantially perpendicular to the direction of the movement. Further, the “side surface” of the workpiece means a surface (one) adjacent to the “upper surface” of the workpiece.
  • the “upper surface” of the workpiece means one bottom surface of the workpiece.
  • the “side surface” means at least one of a plurality of surfaces extending in the longitudinal direction of the workpiece.
  • the “upper surface” of the workpiece means one end face having an opening of the tube.
  • the “side surface” means an outer peripheral surface and / or an inner peripheral surface extending in the longitudinal direction of the tube.
  • the material of the workpiece 110 is not particularly limited as long as it is a magnesium alloy.
  • the workpiece 110 may be, for example, an AZ-based magnesium alloy (a magnesium alloy containing aluminum and zinc), a rare earth element-added magnesium alloy, a Ca-added magnesium alloy, or the like.
  • the present invention can also be applied to difficult-to-work materials other than magnesium alloys, such as titanium alloys, zirconium alloys, molybdenum alloys, and niobium alloys.
  • Step S120 Next, the aforementioned workpiece 110 is forged.
  • FIG. 3 shows an example of an apparatus configuration that can be used when manufacturing a high-strength magnesium alloy material by the method according to the present invention.
  • the apparatus 200 used in the present invention includes a mold 220 having an internal space 215 therein, a base member 230 disposed at the bottom of the internal space 215 of the mold 220, a press mandrel 240, Consists of.
  • the base member 230 is not always necessary.
  • the mold 220 has an inner wall 225, and an inner space 215 is formed by the inner wall 225.
  • the materials of the mold 220, the base member 230, and the press mandrel 240 are not particularly limited, but materials having high compressive strength, for example, steel materials for molds and super hard ceramics are preferable.
  • the workpiece 110 described above is accommodated in the internal space 215 of the mold 220.
  • the workpiece 110 is arranged in the internal space 215 of the mold 220 such that the bottom surface 116 contacts the base member 230 and the side surface 114 faces the inner wall 225 of the mold 220.
  • a press mandrel 240 is disposed on the upper surface 112 of the workpiece 110.
  • a slight interval P is formed between the side surface 114 of the workpiece 110 and the inner wall 225 forming the internal space 215 of the mold 220.
  • the press mandrel 240 is pressed against the upper surface 112 of the workpiece 110, and the press mandrel 240 moves along the longitudinal direction of the workpiece 110 (Z direction in FIG. 3). Thereby, the compressive load ⁇ p (MPa) is applied to the workpiece 110.
  • the applied compressive load ⁇ p is: ⁇ p> ⁇ f Equation (1) Meet.
  • the to-be-processed object 110 receives a compressive deformation by a forge process, the side surface 114 of the to-be-processed object 110 is "restrained" by the inner wall 225 of the type
  • the strain rate of the workpiece 110 is controlled to 0.1 / sec or less, and the plastic deformation of the workpiece 110 is performed. The rate is suppressed to 10% or less.
  • the plastic deformation rate of the workpiece 110 by the forging process may be in the range of 2% to 8%.
  • a large compressive load ⁇ p can be applied to the workpiece 110 without causing cracks or defects in the workpiece 110.
  • the interval P between the workpiece 110 and the inner wall 225 varies depending on the plastic deformation rate and / or the maximum length (referred to as “L”) of the upper surface 112 of the workpiece 110.
  • the ratio (P: L) with the maximum length L of the upper surface 112 of the body 110 may be between 1:20 and 1: 600.
  • the total distance between the inner wall 225 and the workpiece 110 in one direction parallel to the upper surface 112 (XY plane) is 2P at the maximum.
  • a large number of deformation twins are introduced into the crystal structure after the forging process, and the dislocation density is significantly improved by slip deformation. Therefore, in this invention, the work hardening by a forge process is attained, and the intensity
  • FIG. 4 shows an example of the structure state (optical micrograph) of the workpiece after the forging process according to the present invention is applied.
  • the workpiece is an AZ-based magnesium alloy (8 wt% Al—wt% Zn—Mg), the strain rate of the workpiece is 10 ⁇ 3 / sec, and the plastic deformation rate of the workpiece is 3%. did. Further, the aforementioned interval P was set so that the aforementioned ratio (P: L) was 1: 102.
  • FIG. 4 shows that as the compressive load ⁇ p is increased, more deformation twins are introduced into the structure.
  • the method according to the present invention introduces a large number of deformed twins while the initial grain structure remains intact. You can see that
  • FIG. 5 shows an example of the relationship between the compression load ⁇ p applied to the workpiece and the hardness change of the workpiece.
  • the workpiece is an AZ-based magnesium alloy (8 wt% Al—wt% Zn—Mg), and the strain rate of the workpiece is 10 ⁇ 3 / sec.
  • the above-mentioned ratio (P: L) at the time of forging is 1: 102.
  • FIG. 3 is merely an example, and it will be apparent to those skilled in the art that the present invention may be applied using various other devices.
  • various modes other than the mold 220 can be considered as the configuration of the mold.
  • Various modes are also conceivable as the form of the base member and / or the press mandrel.
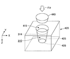
  • FIG. 6 schematically shows another type of configuration that can be used in the present invention.
  • the mold 420 has an internal space 415 that can accommodate a substantially truncated cone-shaped workpiece 310.
  • the internal space 415 does not penetrate the mold 420 and is closed at one end. Therefore, in the case of this mold 420, the base member 230 as shown in FIG. 3 is not necessarily used.
  • the internal space 415 is constituted by an inner wall 425 and a bottom wall 428. As described above, the interval P is formed between the side surface 314 of the workpiece 310 and the inner wall 425.
  • a press mandrel 440 having a shape that fits the upper portion of the internal space 415 is used.
  • the compression load ⁇ p is applied to the workpiece 310 by moving the press mandrel 440 along the longitudinal direction of the workpiece 310 (Z direction in FIG. 6).
  • the mold 620 includes an outer housing portion 650 and an inner mold 660.
  • the internal mold 660 has an internal space 615 for a workpiece (not shown) at the center.
  • the internal mold 660 is configured by combining two mold members 665A and 665B.
  • the mold members 665A and 665B constituting the internal mold 660 have substantially the same shape. That is, the mold members 665A and 665B have a shape in which a cylinder is halved along the longitudinal direction (Z direction), and by combining the two, an internal space 615 extending along the longitudinal direction is formed in the central portion. It is formed.
  • the internal mold 660 and the internal space 615 have a substantially cylindrical shape, but this is not always necessary, and the internal mold 660 and the internal space 615 are, for example, in the longitudinal direction.
  • a truncated cone shape having a diameter decreasing from one end to the other end may be used.
  • the internal mold 660 and the internal space 615 may have other shapes.
  • the outer periphery of the internal die 660 may be tapered. In this case, it becomes much easier to remove the mold members 665A and 665B and the workpiece from the external housing portion 650 after the forging process.
  • the number of mold members constituting the internal mold 660 is not particularly limited, and the internal mold 660 may be configured by three or more mold members.
  • the form of the press mandrel and / or the base member is not limited to that in which the contact portion with the upper surface and the bottom surface of the workpiece has a flat surface.
  • the press mandrel 940 includes an upper portion 942 and an extending portion 943 coupled to the upper portion 942.
  • the extending portion 943 extends along the central axis of the press mandrel 940.
  • Such a press mandrel 940 is effective when the workpiece has a tubular shape.
  • FIG. 10 schematically shows an apparatus configuration when the press mandrel 940 is used.
  • a circular workpiece 710 is installed in the internal space 815 of the mold 820.
  • the workpiece 710 is disposed on the base material 830.
  • the press mandrel 940 having the shape shown in FIG. 9 is installed on the workpiece 710 so that the extending portion 943 passes through the through hole of the workpiece 710.
  • the outer peripheral side surface of the workpiece 710 is subjected to “constraint deformation” and can be deformed outward only to the extent that there is no gap between the outer peripheral side surface of the workpiece 710 and the inner wall 825.
  • the inner peripheral side surface of the workpiece 710 is only subjected to “restraint” deformation by the extending portion 943 of the press mandrel 940, so that there is no gap between the workpiece 710 and the extending portion 943 of the press mandrel 940. Can not be deformed.
  • the entire workpiece 710 is subjected to “constrained” deformation, and the processed workpiece 710 is improved in overall strength without blocking the through hole. To do.
  • FIG. 11 schematically shows another configuration of a press mandrel and / or base member that can be used in the present invention.
  • the contact surface of the press mandrel 1041 with the workpiece has a convex portion 1041P
  • the contact surface of the base member 1031 is: It has a concave portion 1031C
  • the contact surface of the press mandrel 1042 may have a concave portion 1042C
  • the contact surface of the base member 1032 may have a convex portion 1032P
  • the contact surface of the press mandrel may be a flat surface, and only the contact surface of the base member may have a convex portion or a concave portion.
  • the contact surface of the base member may be a flat surface, and only the contact surface of the press mandrel may have a convex portion or a concave portion.
  • the storage space for storing the workpiece may have a more complex outer contour, for example, close to the shape of the final product, in addition to the simple shape as described above.
  • the interval P between the side surface of the workpiece and the inner wall of the mold may be different in the depth direction (forging direction).
  • a disk-shaped sample was prepared from a commercially available hot-extruded round bar (manufactured by Osaka Fuji Industrial Co., Ltd.) made of AZ80 magnesium alloy.
  • the sample has a diameter L of 25.5 mm and a total length of 16 mm.
  • FIG. 12 shows the measurement result of the compressive stress-strain curve in the longitudinal direction of the sample before the forging process. This test was performed at room temperature with an initial strain rate of 3.0 ⁇ 10 ⁇ 3 / sec. Also, in this test, during compression, the sample can freely spread outward and the deformation is not constrained.
  • the compressive fracture strength ⁇ f of the sample before the forging process under a condition where deformation is not constrained is about 400 MPa.
  • the sample was compression forged at room temperature.
  • the sample was placed in the interior space of the mold.
  • This internal space penetrates the mold and has a disk shape with a diameter of 26 mm and a total length of 16 mm.
  • the mandrel has a diameter of 25.5 mm.
  • the compression load ⁇ p was changed for each test, and was 566 MPa, 754 MPa, 943 MPa, 1320 MPa, and 1509 MPa. This corresponds to a ratio of ⁇ p / ⁇ f of about 1.4, about 1.9, about 2.4, about 3.3, and about 3.8, respectively.
  • a processed sample with ⁇ p / ⁇ f of about 1.4 is sample 1
  • a processed sample with ⁇ p / ⁇ f of about 1.9 is sample 2
  • a processed sample with ⁇ p / ⁇ f of about 2.4 is processed.
  • a sample 3 and a sample after processing with ⁇ p / ⁇ f of about 3.3 are referred to as sample 4
  • a sample after processing with ⁇ p / ⁇ f of about 3.8 is referred to as sample 5.
  • FIG. 13 shows the results of measuring the texture change in the sample (initial material) and the sample 5 before the forging process by OIM (Orientation Imaging Microscope) observation.
  • 13A shows the crystal orientation distribution of the initial material
  • FIG. 13B shows the crystal orientation distribution of Sample 5. Note that the initial material was observed in a cross section perpendicular to the extrusion direction. Sample 5 was observed in a cross section perpendicular to the compression direction. In the figure, the darker the region, the higher the orientation distribution of the crystal.
  • FIG. 13 (a) shows that in the case of the initial material, the crystals are arranged so that the direction perpendicular to the c-axis (0001), in particular, the crystal orientation (1010) is the main direction.
  • This is a typical feature of hot extruded materials. That is, in the rod-shaped hot extruded material, the c-axis tends to be oriented perpendicular to the longitudinal direction of the initial rod material.
  • sample 5 it can be seen that the crystals are arranged so that the crystal orientation (0001), that is, the c-axis is the main direction. That is, in the sample, it can be seen that the c-axis (0001) tends to be arranged parallel to the compression direction. This represents that the c-axis is arranged in parallel along the longitudinal direction of the bar.
  • the hot-extruded bar has a texture in which c-axes are arranged in a direction perpendicular to the longitudinal direction like the initial bar, whereas the processed bar obtained in the present invention has a longitudinal direction. It has a feature of having a texture in which c-axes are arranged in parallel.
  • FIG. 14 collectively shows the true stress-nominal strain curves for Sample 1 and Samples 3 to 5.
  • FIG. 14 also shows the true stress-nominal strain curve of the sample before the forging process.
  • the maximum tensile strength exceeds 400 MPa, and it can be seen that the maximum tensile strength increases in any sample as compared with the state before the treatment (maximum tensile strength of about 350 MPa).
  • the yield stress is 250 MPa or more (about 100 MPa before the treatment), and it can be seen that the yield stress is improved.

Landscapes

  • Chemical & Material Sciences (AREA)
  • Engineering & Computer Science (AREA)
  • Mechanical Engineering (AREA)
  • Materials Engineering (AREA)
  • Metallurgy (AREA)
  • Organic Chemistry (AREA)
  • Crystallography & Structural Chemistry (AREA)
  • Physics & Mathematics (AREA)
  • Thermal Sciences (AREA)
  • Forging (AREA)
PCT/JP2012/065666 2011-06-28 2012-06-19 高強度マグネシウム合金材料を製造する方法およびマグネシウム合金製の棒材 Ceased WO2013002082A1 (ja)

Priority Applications (4)

Application Number Priority Date Filing Date Title
CN201280031740.0A CN103619506B (zh) 2011-06-28 2012-06-19 镁合金材料制造方法及镁合金制棒材
JP2013522785A JP5843176B2 (ja) 2011-06-28 2012-06-19 高強度マグネシウム合金材料を製造する方法およびマグネシウム合金製の棒材
EP12805338.6A EP2727667B1 (en) 2011-06-28 2012-06-19 Method for producing high-strength magnesium alloy material
US14/129,562 US9574259B2 (en) 2011-06-28 2012-06-19 Method for producing high-strength magnesium alloy material and magnesium alloy rod

Applications Claiming Priority (2)

Application Number Priority Date Filing Date Title
JP2011-143042 2011-06-28
JP2011143042 2011-06-28

Publications (1)

Publication Number Publication Date
WO2013002082A1 true WO2013002082A1 (ja) 2013-01-03

Family

ID=47423980

Family Applications (1)

Application Number Title Priority Date Filing Date
PCT/JP2012/065666 Ceased WO2013002082A1 (ja) 2011-06-28 2012-06-19 高強度マグネシウム合金材料を製造する方法およびマグネシウム合金製の棒材

Country Status (5)

Country Link
US (1) US9574259B2 (enExample)
EP (1) EP2727667B1 (enExample)
JP (2) JP5843176B2 (enExample)
CN (1) CN103619506B (enExample)
WO (1) WO2013002082A1 (enExample)

Cited By (1)

* Cited by examiner, † Cited by third party
Publication number Priority date Publication date Assignee Title
KR20160087956A (ko) * 2015-01-14 2016-07-25 한국기계연구원 마그네슘 합금 판재의 제조방법 및 이에 따라 제조되는 마그네슘 합금 판재

Families Citing this family (4)

* Cited by examiner, † Cited by third party
Publication number Priority date Publication date Assignee Title
PL3722104T3 (pl) 2011-04-12 2024-08-19 Välinge Innovation AB Sposób wytwarzania warstwy
ES2805332T3 (es) 2011-04-12 2021-02-11 Vaelinge Innovation Ab Método de fabricación de un panel de construcción
US20170239386A1 (en) * 2014-08-18 2017-08-24 University Of Cincinnati Magnesium single crystal for biomedical applications and methods of making same
US20220193776A1 (en) * 2020-12-18 2022-06-23 Divergent Technologies, Inc. Hybrid processing of freeform deposition material by progressive forging

Citations (4)

* Cited by examiner, † Cited by third party
Publication number Priority date Publication date Assignee Title
JP2004012296A (ja) * 2002-06-06 2004-01-15 Honda Motor Co Ltd 塑性加工用潤滑剤の評価方法
JP2009172657A (ja) * 2008-01-25 2009-08-06 National Institute Of Advanced Industrial & Technology 高性能マグネシウム合金部材及びその製造方法
JP2010000515A (ja) * 2008-06-19 2010-01-07 Kagoshima Prefecture マグネシウム合金の鍛造加工方法
JP2011121118A (ja) * 2009-11-11 2011-06-23 Univ Of Electro-Communications 難加工性金属材料を多軸鍛造処理する方法、それを実施する装置、および金属材料

Family Cites Families (18)

* Cited by examiner, † Cited by third party
Publication number Priority date Publication date Assignee Title
US4040286A (en) * 1975-10-09 1977-08-09 St. Joe Minerals Corporation High-precision, fine-detail forging process
US4721537A (en) * 1985-10-15 1988-01-26 Rockwell International Corporation Method of producing a fine grain aluminum alloy using three axes deformation
US5620537A (en) * 1995-04-28 1997-04-15 Rockwell International Corporation Method of superplastic extrusion
JP3619442B2 (ja) * 2000-09-29 2005-02-09 京セラ株式会社 テープクリーナ
JP3852915B2 (ja) * 2001-11-05 2006-12-06 九州三井アルミニウム工業株式会社 輸送機器用アルミニウム合金の半溶融成型ビレットの製造方法
JP3768909B2 (ja) * 2002-03-25 2006-04-19 株式会社栗本鐵工所 マグネシウム合金部材とその製造方法
JP4150219B2 (ja) * 2002-06-27 2008-09-17 松下電器産業株式会社 塊状マグネシウム合金材料の塑性加工方法
US20060283529A1 (en) * 2005-06-17 2006-12-21 Amit Ghosh Apparatus and Method of Producing Net-Shaped Components from Alloy Sheets
JPWO2007114439A1 (ja) * 2006-04-03 2009-08-20 国立大学法人 電気通信大学 超微細粒組織を有する材料およびその製造方法
JP2007308780A (ja) * 2006-05-22 2007-11-29 Toyota Motor Corp マグネシウム合金の組織制御方法、組織制御されたマグネシウム合金、及び車両用ホイール
JP4693007B2 (ja) * 2007-02-09 2011-06-01 株式会社日本製鋼所 高強度金属材の製造方法
WO2009001516A1 (ja) * 2007-06-28 2008-12-31 Sumitomo Electric Industries, Ltd. マグネシウム合金板材
US20090028743A1 (en) * 2007-07-26 2009-01-29 Gm Global Technology Operations, Inc. Forming magnesium alloys with improved ductility
CN101109061B (zh) * 2007-08-10 2010-05-26 中国兵器工业第五二研究所 镁合金室温静液挤压变形强化工艺
US8361251B2 (en) * 2007-11-06 2013-01-29 GM Global Technology Operations LLC High ductility/strength magnesium alloys
JP5085612B2 (ja) * 2008-09-05 2012-11-28 ワシ興産株式会社 鍛造ビレット及びホイール
CN101914712B (zh) * 2010-07-07 2012-01-04 中南大学 一种高强镁合金厚板的挤压变形工艺
CN104379788A (zh) * 2012-06-13 2015-02-25 住友电气工业株式会社 镁合金板和镁合金构件

Patent Citations (4)

* Cited by examiner, † Cited by third party
Publication number Priority date Publication date Assignee Title
JP2004012296A (ja) * 2002-06-06 2004-01-15 Honda Motor Co Ltd 塑性加工用潤滑剤の評価方法
JP2009172657A (ja) * 2008-01-25 2009-08-06 National Institute Of Advanced Industrial & Technology 高性能マグネシウム合金部材及びその製造方法
JP2010000515A (ja) * 2008-06-19 2010-01-07 Kagoshima Prefecture マグネシウム合金の鍛造加工方法
JP2011121118A (ja) * 2009-11-11 2011-06-23 Univ Of Electro-Communications 難加工性金属材料を多軸鍛造処理する方法、それを実施する装置、および金属材料

Cited By (2)

* Cited by examiner, † Cited by third party
Publication number Priority date Publication date Assignee Title
KR20160087956A (ko) * 2015-01-14 2016-07-25 한국기계연구원 마그네슘 합금 판재의 제조방법 및 이에 따라 제조되는 마그네슘 합금 판재
KR101650003B1 (ko) * 2015-01-14 2016-08-23 한국기계연구원 마그네슘 합금 판재의 제조방법 및 이에 따라 제조되는 마그네슘 합금 판재

Also Published As

Publication number Publication date
EP2727667A4 (en) 2015-01-07
EP2727667B1 (en) 2018-05-09
US9574259B2 (en) 2017-02-21
CN103619506A (zh) 2014-03-05
JP2016026887A (ja) 2016-02-18
US20140147331A1 (en) 2014-05-29
EP2727667A1 (en) 2014-05-07
JP6113805B2 (ja) 2017-04-12
JPWO2013002082A1 (ja) 2015-02-23
CN103619506B (zh) 2016-01-20
JP5843176B2 (ja) 2016-01-13

Similar Documents

Publication Publication Date Title
JP6113805B2 (ja) 高強度マグネシウム合金材料を製造する方法およびマグネシウム合金製の棒材
Yin et al. Effects of grain size on tensile fatigue life of nanostructured NiTi shape memory alloy
Toroghinejad et al. On the use of accumulative roll bonding process to develop nanostructured aluminum alloy 5083
Mehr et al. Mechanical properties and microstructure evolutions of multilayered Al–Cu composites produced by accumulative roll bonding process and subsequent annealing
Zhao et al. Strategies for improving tensile ductility of bulk nanostructured materials
Rao et al. Mechanical properties and microstructural evolution of Al 6061 alloy processed by multidirectional forging at liquid nitrogen temperature
Zhang et al. Influence of shot peening on high cycle fatigue properties of the high-strength wrought magnesium alloy AZ80
Choi et al. Deformation behavior of magnesium in the grain size spectrum from nano-to micrometer
Mansoor et al. Microstructure and tensile behavior of a friction stir processed magnesium alloy
Ishihara et al. Anisotropy of the fatigue behavior of extruded and rolled magnesium alloys
Dong et al. Cyclic deformation and fatigue of extruded ZK60 magnesium alloy with aging effects
KR101066817B1 (ko) 비대칭 압출방법, 이에 따라 제조된 압출재, 비대칭 압출용 다이스 및 비대칭 압출장치
Xu et al. Processing of a magnesium alloy by equal-channel angular pressing using a back-pressure
Fatemi-Varzaneh et al. Processing of AZ31 magnesium alloy by a new noble severe plastic deformation method
JP2011006754A (ja) マグネシウム合金板
Miura et al. Room-temperature multi-directional forging of AZ80Mg alloy to induce ultrafine grained structure and specific mechanical properties
JP6489576B2 (ja) マグネシウム基合金伸展材の製造方法
Trojanová et al. Effect of rotary swaging on microstructure and mechanical properties of an AZ31 magnesium alloy
JP2016017183A (ja) マグネシウム基合金展伸材及びその製造方法
Kurzydlowski et al. Effect of severe plastic deformation on the microstructure and mechanical properties of Al and Cu
Ghorbani et al. Microstructural evolution and room temperature mechanical properties of AZ31 alloy processed through hot constrained compression
Derakhshandeh et al. Microstructure and mechanical properties of ultrafine-grained titanium processed by multi-pass ECAP at room temperature using core–sheath method
JP6675753B2 (ja) マグネシウムまたはマグネシウム合金の加工方法
Liu et al. Effect of cold forging and static recrystallization on microstructure and mechanical property of magnesium alloy AZ31
Liu et al. Change-channel angular extrusion of magnesium alloy AZ31

Legal Events

Date Code Title Description
121 Ep: the epo has been informed by wipo that ep was designated in this application

Ref document number: 12805338

Country of ref document: EP

Kind code of ref document: A1

DPE1 Request for preliminary examination filed after expiration of 19th month from priority date (pct application filed from 20040101)
ENP Entry into the national phase

Ref document number: 2013522785

Country of ref document: JP

Kind code of ref document: A

WWE Wipo information: entry into national phase

Ref document number: 14129562

Country of ref document: US

Ref document number: 2012805338

Country of ref document: EP

NENP Non-entry into the national phase

Ref country code: DE