WO2012111617A1 - 信号伝送装置及び電子機器 - Google Patents
信号伝送装置及び電子機器 Download PDFInfo
- Publication number
- WO2012111617A1 WO2012111617A1 PCT/JP2012/053280 JP2012053280W WO2012111617A1 WO 2012111617 A1 WO2012111617 A1 WO 2012111617A1 JP 2012053280 W JP2012053280 W JP 2012053280W WO 2012111617 A1 WO2012111617 A1 WO 2012111617A1
- Authority
- WO
- WIPO (PCT)
- Prior art keywords
- frequency signal
- waveguide
- signal waveguide
- electronic device
- frequency
- Prior art date
- Legal status (The legal status is an assumption and is not a legal conclusion. Google has not performed a legal analysis and makes no representation as to the accuracy of the status listed.)
- Ceased
Links
Images
Classifications
-
- H—ELECTRICITY
- H01—ELECTRIC ELEMENTS
- H01P—WAVEGUIDES; RESONATORS, LINES, OR OTHER DEVICES OF THE WAVEGUIDE TYPE
- H01P3/00—Waveguides; Transmission lines of the waveguide type
- H01P3/16—Dielectric waveguides, i.e. without a longitudinal conductor
-
- H—ELECTRICITY
- H01—ELECTRIC ELEMENTS
- H01P—WAVEGUIDES; RESONATORS, LINES, OR OTHER DEVICES OF THE WAVEGUIDE TYPE
- H01P3/00—Waveguides; Transmission lines of the waveguide type
-
- H—ELECTRICITY
- H04—ELECTRIC COMMUNICATION TECHNIQUE
- H04B—TRANSMISSION
- H04B3/00—Line transmission systems
- H04B3/52—Systems for transmission between fixed stations via waveguides
Definitions
- the present disclosure relates to a signal transmission device and an electronic device.
- the electronic devices When exchanging / transmitting information / data between electronic devices, the electronic devices are usually connected with a cable.
- a cable For example, when exchanging and transmitting data such as images and music between electronic devices such as computer devices, they may be connected by a general-purpose cable such as an AV (Audio Visual) cable or a USB cable.
- AV Audio Visual
- USB USB
- information and data can be exchanged and transmitted / received between electronic devices using a wireless interface such as a wireless LAN represented by IEEE 802.11.
- 2008-131372 is A transmitter circuit unit that generates a high-frequency signal for transmitting data; a transmitter including a high-frequency coupler that transmits the high-frequency signal as an electrostatic magnetic field; A receiver including a high-frequency coupler and a receiving circuit unit that receives and processes a high-frequency signal received by the high-frequency coupler; And further, Surface wave propagation means for providing a surface wave transmission line for transmitting a surface wave radiated from the high frequency coupler on the transmitter side with a low propagation loss (Japanese Patent Laid-Open No.
- One or more transmitter-side high-frequency couplers for receiving a high-frequency signal output from the high-frequency coupler by being electrostatically coupled to the transmitter-side high-frequency coupler; and a signal line for transmitting the received high-frequency signal;
- a coupling device including one or more receiver-side high-frequency couplers for outputting a high-frequency signal that is electrostatically coupled to the receiver-side high-frequency coupler and transmitted through the signal line (specifically, Open 2008-131372).
- an object of the present disclosure is to enable construction of an inexpensive system, to transmit / receive data between electronic devices without connecting with a general-purpose cable, and to further reduce power consumption and wide communication range. It is another object of the present invention to provide a signal transmission device capable of achieving a high transmission rate and an electronic device including the signal transmission device.
- a signal transmission device of the present disclosure has a high-frequency signal waveguide that transmits high-frequency signals emitted from electronic equipment, When the electronic device is disposed close to the high frequency signal waveguide, the high frequency signal is transmitted through the high frequency signal waveguide.
- an electronic device of the present disclosure is provided.
- An electronic device comprising: When the high-frequency signal waveguide is disposed close to the high-frequency signal waveguide arranged outside, the high-frequency signal is transmitted from the high-frequency signal waveguide constituting the electronic device to the high-frequency signal waveguide arranged outside.
- the signal transmission device includes a high-frequency signal waveguide, and transmits a high-frequency signal as data emitted from a nearby electronic device via the high-frequency signal waveguide.
- the electronic device of the present disclosure includes a high-frequency signal waveguide, and the electronic device is configured when the high-frequency signal waveguide is disposed close to the high-frequency signal waveguide disposed outside.
- the high-frequency signal as data is transmitted from the high-frequency signal waveguide to the high-frequency signal waveguide disposed outside. Therefore, data can be exchanged between the electronic devices without connecting with a general-purpose cable, the degree of freedom of arrangement of the electronic devices is high, and power consumption does not increase.
- transmission target signal a signal to be transmitted
- transmission target signal a signal to be transmitted
- the coupling is good
- the transmission loss is small
- the reflection of the high-frequency signal in the signal transmission device or the electronic device can be suppressed
- the multipath and unnecessary radiation can be reduced at a high transmission rate.
- transmission deterioration can be suppressed.
- the high-frequency signal can be confined in the high-frequency signal waveguide, the confidentiality of information (data) is high.
- FIGS. 3A to 3D are conceptual diagrams of another modification of the signal transmission device according to the first embodiment.
- 4A to 4D are conceptual diagrams of the signal transmission device according to the first embodiment and the electronic apparatus according to the second embodiment.
- 5A to 5D are conceptual diagrams of modifications of the signal transmission device of the first embodiment and the electronic device of the second embodiment.
- 6A and 6B are conceptual diagrams of another modification of the electronic apparatus of the second embodiment.
- FIG. 7 is a block diagram of the first communication device and the second communication device according to the first embodiment or the second embodiment.
- FIG. 8A is a schematic diagram of the signal transmission device and the electronic device of the third embodiment
- FIGS. 8B to 8D are schematic cross-sectional views of the signal transmission device of the third embodiment. is there.
- FIG. 9 is a schematic diagram of the signal transmission device and the electronic apparatus according to the fourth embodiment.
- FIG. 10 is a conceptual diagram of the signal transmission device and the electronic device according to the fifth embodiment, and illustrates an example in which the first high-frequency signal waveguide is configured by one flat plate.
- FIG. 11 is a conceptual diagram of a modified example of the signal transmission device and the electronic device according to the fifth embodiment, and illustrates an example in which the first high-frequency signal waveguide has a comb shape.
- FIG. 12 is a conceptual diagram of a modification of the signal transmission device and the electronic device according to the fifth embodiment, and illustrates an example in which the first high-frequency signal waveguide has a comb shape.
- FIG. 13 is a conceptual diagram of a modified example of the signal transmission device and the electronic device according to the fifth embodiment, and illustrates an example in which the first high-frequency signal waveguide has a comb shape.
- FIG. 14 is a conceptual diagram of a modified example of the signal transmission device and the electronic device according to the fifth embodiment, and illustrates an example in which the first high-frequency signal waveguide has a comb shape.
- FIG. 13 is a conceptual diagram of a modified example of the signal transmission device and the electronic device according to the fifth embodiment, and illustrates an example in which the first high-frequency signal waveguide has a comb shape.
- FIG. 14 is a conceptual diagram of a modified example of the signal transmission device and the electronic device according to the fifth embodiment, and illustrates an example in which the first high-frequency signal waveguide has a
- FIG. 15 is a conceptual diagram of a modified example of the signal transmission device and the electronic device according to the fifth embodiment, and illustrates an example in which the first high-frequency signal waveguide has a comb shape.
- FIG. 16 is a conceptual diagram of a modified example of the signal transmission device and the electronic device according to the fifth embodiment, and illustrates an example in which the first high-frequency signal waveguide has a comb shape.
- FIG. 17 is a conceptual diagram of a modified example of the signal transmission device and the electronic device according to the fifth embodiment, and illustrates an example in which the first high-frequency signal waveguide has a comb shape.
- FIG. 16 is a conceptual diagram of a modified example of the signal transmission device and the electronic device according to the fifth embodiment, and illustrates an example in which the first high-frequency signal waveguide has a comb shape.
- FIG. 18 is a conceptual diagram of a modification of the signal transmission device and the electronic device according to the fifth embodiment, and illustrates an example in which the first high-frequency signal waveguide has a lattice shape.
- FIG. 19 is a conceptual diagram of a modified example of the signal transmission device and the electronic device according to the fifth embodiment, and illustrates an example in which the first high-frequency signal waveguide has a spiral shape.
- FIG. 20 is a conceptual diagram of a modified example of the signal transmission device and the electronic device according to the fifth embodiment, and illustrates an example in which the first high-frequency signal waveguide has a three-dimensional shape.
- FIG. 21 is a conceptual diagram of an example in which an electronic device is configured from a multilayer printed wiring board.
- FIGS. 22A and 22B are a conceptual diagram of a conventional signal transmission device and a conceptual diagram of an electrical interface, respectively.
- Example 1 (signal transmission device of the present disclosure) 3.
- Example 2 (signal transmission device of the present disclosure and electronic device of the present disclosure) 4).
- Example 3 (Modification of Example 1 and Example 2) 5.
- Example 4 (another modification of Example 1 and Example 2) 6).
- Example 5 (another modification of Example 1 and Example 2), other
- the high-frequency signal waveguide disposed outside is referred to as a “first high-frequency signal waveguide” for convenience.
- the high-frequency signal waveguide in the electronic device of the present disclosure may be referred to as a “second high-frequency signal waveguide” for convenience.
- the high-frequency signal waveguide (first high-frequency signal waveguide) arranged outside in the electronic device of the present disclosure can be configured from the high-frequency signal waveguide in the signal transmission device of the present disclosure.
- the high-frequency signal waveguide in the signal transmission device of the present disclosure may be referred to as “first high-frequency signal waveguide” for convenience.
- the communication device in the signal transmission device of the present disclosure is referred to as a “first communication device” in order to distinguish the communication device in the electronic device of the present disclosure from the communication device in the signal transmission device of the present disclosure described later.
- the communication device in the electronic device of the present disclosure may be referred to as a “second communication device”.
- a high-frequency signal as data is transmitted between the plurality of electronic devices via the high-frequency signal waveguide. It can be set as a form to do.
- one electronic device referred to as “electronic device-B” for convenience
- another electronic device for convenience, “ The electronic device-B can be regarded as an external device or an accessory device, and the electronic device-B can be used as an electronic device for extending the functions of the electronic device-A.
- the function expansion and function change of the electronic device-A can be performed without changing the electronic device-A itself.
- the electronic device can be indirectly combined with the electronic device-B without changing the design of the electronic device-A, the printed wiring board constituting the electronic device-A, or changing various parts.
- -Function expansion and function change of A can be performed.
- the degree of freedom of the combination of electronic device-A and electronic device-B is extremely high, and the combination of electronic devices can be easily changed.
- a communication device (first communication device) connected to the high-frequency signal waveguide or coupled to the high-frequency signal waveguide;
- the electronic device When the electronic device is disposed close to the high-frequency signal waveguide, a high-frequency signal as data is transmitted through the high-frequency signal waveguide between the communication device (first communication device) and the electronic device. Can do.
- the signal transmission device of the present disclosure including the preferred embodiment described above further includes a holding member (supporting member) that holds the high-frequency signal waveguide, and the high-frequency signal waveguide is the holding member. It can be set as the structure arrange
- proximity includes “placement”, “contact”, and “approach”. Further, “approach” means in a non-contact state. The same applies to the following.
- the first communication device or the second communication device can be used rather than the configuration in which the high-frequency signal waveguide and the electronic device are in contact with each other as described below. It is preferable to increase the transmission power of the communication device.
- a concave portion for placing the electronic device may be provided in the portion of the holding member facing the high-frequency signal waveguide, or an appropriate mark is attached. May be.
- the signal transmission device including the preferred embodiment described above further includes a holding member (supporting member) that holds the high-frequency signal waveguide, and at least a part of the high-frequency signal waveguide.
- a holding member that holds the high-frequency signal waveguide, and at least a part of the high-frequency signal waveguide.
- an electronic device may be placed on, exposed to, or approached to the portion exposed from the holding member of the high-frequency signal waveguide.
- a holding member (supporting support member) that holds the high-frequency signal waveguide may be further provided, and the high-frequency signal waveguide may be formed on the holding member.
- an electronic device may be placed on, contacted with, or approached to the high-frequency signal waveguide.
- the high-frequency signal waveguide and the electronic device are preferably configured to be coupled by vertically polarized electromagnetic waves when the electronic device is disposed close to the high-frequency signal waveguide.
- the high-frequency signal waveguide may have a flat plate shape, or may have a comb shape. Or it can be in the form of a lattice, or it can be in the form of a spiral.
- the shape of the high-frequency signal waveguide is a lattice shape, a plurality of paths (which are high-frequency signal transmission paths in the high-frequency signal waveguide, which are the same in the following) are formed, so the high-frequency signal waveguide is transmitted.
- the high-frequency signal waveguide can be two-dimensional as a whole, or can be linear or curved (one-dimensional), but is not limited to this, and as a whole 3 It can also be dimensional (three-dimensional).
- the high-frequency signal waveguide is three-dimensional, a plurality of two-dimensional high-frequency signal waveguides may be juxtaposed, and the plurality of two-dimensional high-frequency signal waveguides may be connected by a waveguide, for example.
- the high-frequency signal waveguide is disposed on the high-frequency signal waveguide, below the high-frequency signal waveguide, or above and below the high-frequency signal waveguide. It can be set as the structure by which the layer which consists of a material different from the material which comprises a signal waveguide is formed. That is, the high-frequency signal waveguide can also have a structure in which a plurality of layers are stacked. Alternatively, a conductive layer may be formed between the holding member and the high-frequency signal waveguide, or a laminated structure of the high-frequency signal waveguide, the holding member, and the conductive layer may be used.
- the material constituting the layer made of a material different from the material constituting the high-frequency signal waveguide can include a material constituting the holding member described later, and the material constituting the conductive layer can be a metal or an alloy.
- the conductive layer is formed based on, for example, a plating method, a printing method, a physical vapor deposition method (PVD method) or a combination of a chemical vapor deposition method (CVD method) and an etching method. Can do.
- the high-frequency signal waveguide can be made of a dielectric material, or can be made of a magnetic material. Alternatively, it may be composed of a ceramic material, a glass material, or a crystalline material.
- the dielectric material include PTFE (polytetrafluoroethylene) resin, polyethylene resin, polypropylene resin, polystyrene resin, bismaleimide triazine resin (BT resin), epoxy resin, ABS resin, AES resin, and acrylic resin. Can do.
- the relative dielectric constant ⁇ 1 (for example, 3 to 10) of the material constituting the high-frequency signal waveguide is preferably different from the relative dielectric constant ⁇ 2 of the material constituting the holding member.
- ⁇ 10 Can be illustrated.
- the magnetic material include spinel, hexagonal, and garnet ferrite magnetic materials, iron oxide, chromium oxide, and cobalt.
- the high-frequency signal waveguide may be made of a rigid material or may be made of a flexible material.
- the high-frequency signal waveguide is formed using a fixing member made of metal, an alloy, plastic, or the like, or based on an adhesive or the like. Or it can also be set as the form currently fixed to the holding member based on various welding methods, welding methods, etc., and can also be set as the form which manufactures a high frequency signal waveguide integrally with a holding member.
- a high-frequency signal transmission member that transmits a high-frequency signal emitted from a communication device (second communication device) to a high-frequency signal waveguide (second high-frequency signal waveguide) included in the electronic device.
- second high-frequency signal transmission member For convenience, it is referred to as a “second high-frequency signal transmission member”).
- an antenna can be mentioned as the second high-frequency signal transmission member.
- the second high-frequency signal waveguide and the second high-frequency signal transmission member can do. Further, in the arrangement of the second high-frequency signal waveguide and the second high-frequency signal transmission member, a considerable degree of error (several millimeters to several centimeters) can be allowed, and high positional accuracy in the arrangement of the connectors. Such high positional accuracy is not required.
- the loss of electromagnetic waves can be reduced, the power consumption of the second communication device can be reduced, the second communication device can be simplified, the interference of radio waves from outside the electronic device, and the outside of the electronic device. The radiation of electromagnetic waves can be suppressed.
- the configuration and structure of the high-frequency signal waveguide in the signal transmission device of the present disclosure described above can be applied to the high-frequency signal waveguide (second high-frequency signal waveguide) in the electronic device of the present disclosure.
- the “electronic device” in the signal transmission device of the present disclosure may be an electronic device having the same configuration and structure as the electronic device of the present disclosure, and does not include the second high-frequency signal waveguide.
- An electronic device having the same configuration and structure as the electronic device may be used, or an electronic device having a configuration and structure different from the electronic device of the present disclosure may be used, although the communication unit is provided.
- the signal transmission device further includes a high-frequency signal transmission member (referred to as a “first high-frequency signal transmission member” for convenience) that transmits a high-frequency signal emitted from the first communication device to the first high-frequency signal waveguide.
- a high-frequency signal transmission member referred to as a “first high-frequency signal transmission member” for convenience
- the first high-frequency signal transmission member or the second high-frequency signal transmission member is configured from an antenna, specifically, as the antenna, a patch antenna, an inverted F-type antenna, a Yagi antenna, a probe antenna (such as a dipole antenna), a loop antenna, A small aperture coupling element (such as a slot antenna) can be used.
- the first communication device and the first high-frequency signal transmission member, and the second communication device and the second high-frequency signal transmission member are transmission lines composed of, for example, a microstrip line, a strip line, a coplanar line, and a slot line. Can be connected or coupled through.
- the first high-frequency signal waveguide also referred to as “first high-frequency signal transmission member” and the second high-frequency signal waveguide (also referred to as “second high-frequency signal transmission member”) are, for example, a holding member, although it may be a free space transmission path that propagates through the space inside the housing that constitutes electronic equipment, it is composed of a waveguide structure such as a waveguide, transmission line, dielectric line, dielectric, etc., and transmits millimeter-wave band electromagnetic waves It is preferable that the structure is confined in a road and has a characteristic of efficiently performing high-frequency signal transmission. In the case of a free space transmission path, wireless transmission may be performed.
- the first high-frequency signal waveguide and the second high-frequency signal waveguide may be linear (one-dimensional), planar (two-dimensional), or three-dimensional. It may be.
- the relative permittivity of the material constituting the first high-frequency signal waveguide and the second high-frequency signal waveguide, the wavelength of the high-frequency signal transmitted by these, the width and thickness of the first high-frequency signal waveguide and the second high-frequency signal waveguide By appropriately selecting and determining, electromagnetic coupling between the first high-frequency signal waveguide and the electronic device, coupling based on an electric field, and electromagnetic coupling between the first high-frequency signal waveguide and the second high-frequency signal waveguide -Electric field based coupling, especially single mode coupling, can be achieved.
- the electronic device including the preferred embodiment described above may further include a casing, and the second high-frequency signal waveguide may be disposed inside the casing.
- the portion of the housing that faces the second high-frequency signal waveguide may be placed on the holding member or the first high-frequency signal waveguide and brought into contact with or close to it.
- a housing may be further provided, and at least a part of the second high-frequency signal waveguide may be exposed from the housing.
- the portion exposed from the housing of the second high-frequency signal waveguide may be placed on the holding member or the first high-frequency signal waveguide and brought into contact with or approached.
- a housing may be further provided, and the second high-frequency signal waveguide may be formed on the housing. In this case, the second high-frequency signal waveguide may be placed on the holding member or the first high-frequency signal waveguide and brought into contact with or approached.
- the electronic device main body, the second communication device, and the second high-frequency signal waveguide may be integrated and stored in one housing.
- the second communication device and the second high-frequency signal waveguide are stored in separate housings, and the housing in which the electronic device main body is stored, the second communication device and the second high-frequency signal waveguide are stored. You may connect the housing
- Examples of the material constituting the holding member and the case constituting the signal transmission device and the electronic device include plastic, metal, alloy, wood, and paper.
- PTFE polytetra Fluoroethylene
- polyethylene resin polyethylene resin
- polypropylene resin polypropylene resin
- polystyrene resin bismaleimide triazine resin (BT resin)
- epoxy resin ABS resin
- AES resin acrylic resin
- the signal transmission device may include a control unit (referred to as a “first control unit” for convenience) for controlling the signal transmission device and / or controlling the electronic device.
- the electronic device may include a control unit (referred to as “second control unit” for convenience) for controlling the signal transmission device and / or controlling the electronic device.
- a control unit for controlling the signal transmission device and / or the electronic device may be arranged outside the system (an apparatus different from the signal transmission device and the electronic device).
- Such a control unit is referred to as an “external control unit” for convenience.
- the first control unit, the second control unit, and the external control unit are, for example, electronic device configuration information before and after placement when a new electronic device is placed close to the first high-frequency signal waveguide of the signal transmission device.
- high-frequency signal transmission can be performed according to the changed electronic device configuration information.
- a high frequency signal as data is transmitted between a plurality of electronic devices via the first high frequency signal waveguide
- a combination of the plurality of electronic devices is changed, or a new electronic device is
- the first control unit, the second control unit, or the out-of-system control unit can perform high-frequency signal transmission in a state suitable for the changed combination.
- the frequency and transmission / reception power are set according to the type of the changed electronic device. Examples of such adjustments can be given.
- the electronic device configuration information may be stored in an electronic device, a signal transmission device, or a device outside the system. Specifically, as the electronic device configuration information, the use frequency, transmission power value, and reception power value of the electronic device are specifically described. It can be illustrated. What kind of processing is to be performed based on the electronic device configuration information may be stored in the first control unit, the second control unit, or the external control unit as a kind of database.
- the first control unit can be configured to detect where the electronic device is disposed in the first high-frequency signal waveguide.
- the first control unit is configured to detect whether an object disposed in the vicinity of the first high-frequency signal waveguide is an electronic device or a foreign object (an object that is not an electronic device). It is also possible.
- the first control unit normally places the first communication device or the second communication device in a power saving mode, and when communication processing is required, that is, the electronic device is close to the first high-frequency signal waveguide.
- a process of switching from the power saving mode to the normal operation mode may be performed.
- power supply to the electronic device can be performed based on radio power reception, electromagnetic induction, or resonance wireless power supply.
- the power can be fed through the first high frequency signal waveguide or through the first high frequency signal waveguide and the second high frequency signal waveguide. It can be carried out.
- power feeding (power transmission) and high-frequency signal transmission may be performed with different signals. In this case, the frequency of power feeding may be different from the frequency of the carrier signal for data transmission. Or the same.
- a power supply coil for supplying electric power to the electronic device wirelessly may be disposed inside a housing or a holding member constituting the signal transmission device.
- the first communication device and the second communication device can have substantially the same configuration.
- the 1st communication apparatus and the 2nd communication apparatus receive and convert the high frequency signal transmitted from the transmission part which converts the data (transmission object signal) which should be transmitted into a high frequency signal, and transmits, It can be set as the structure provided with the receiving part converted into a transmission object signal.
- the electronic device is provided with a transmission unit and a reception unit, bidirectional communication can be supported. And between the transmission part (reception part) in the 2nd communication apparatus which comprises an electronic device, and the reception part (transmission part) in the 1st communication apparatus which comprises a signal transmission apparatus, a 2nd high frequency signal waveguide and 1st 1 A high frequency signal is transmitted through a high frequency signal waveguide.
- the second high-frequency signal is transmitted between the transmission unit (reception unit) in the second communication device configuring the electronic device-B and the reception unit (transmission unit) in the second communication device configuring the electronic device-A.
- a high-frequency signal is transmitted through the waveguide, the first high-frequency signal waveguide, and the second high-frequency signal waveguide.
- frequency division multiplexing FDM, FrequencyFDivision Multiplexing
- TDM Time Division Multiplexing
- a carrier frequency in the millimeter wave band (wavelength is 1 to 10 millimeters).
- the millimeter wave band for example, a sub-millimeter wave band having a shorter wavelength (wavelength is 0.1 millimeter to 1 millimeter), a centimeter wave band having a longer wavelength (wavelength is 1 centimeter to 10 centimeter), etc.
- a carrier frequency near the millimeter wave band can also be used.
- a submillimeter wave band to a millimeter wave band, a millimeter wave band to a centimeter wave band, or a submillimeter wave band to a millimeter wave band to a centimeter wave band can be used. That is, it is preferable that the wavelength of the carrier frequency in the high frequency signal is, for example, 0.1 millimeters to 10 centimeters. If the millimeter wave band or a band in the vicinity thereof is used for high-frequency signal transmission, other wiring is not disturbed, and the need for EMC countermeasures in wiring such as flexible printed wiring is reduced.
- the high-frequency signal transmission rate can be increased as compared with the case where wiring such as flexible printed wiring is used for high-frequency signal transmission. Therefore, it is possible to easily cope with the demand for higher image signal transmission and higher data rate due to higher definition and higher frame rate. Further, it is possible to construct a signal interface with a simpler and less expensive configuration than optical communication.
- a signal that can be regarded as a direct current, such as a power supply, may not be converted into a high-frequency signal, or a transmission target signal that does not require high speed or a small-capacity transmission target signal may be converted into a high-frequency signal.
- the first communication device and the high-frequency signal waveguide may be modularized or may be integrated with a semiconductor chip.
- the second communication device and the second high-frequency signal waveguide may be modularized, integrated with a semiconductor chip, the second communication device, and the second communication device.
- the high-frequency signal waveguide and the second high-frequency signal transmission member may be modularized or integrated with the semiconductor chip.
- the second communication device and the second high-frequency signal transmission member may be modularized or integrated with the semiconductor chip.
- the form and shape of the signal transmission device are not limited, and examples thereof include a cradle device, an electronic device mounting table, a rod shape, a plate shape, and a block shape.
- electronic devices include, but are not limited to, digital still cameras, camcorders and video cameras, mobile phones, PHSs, portable image playback devices, game machines, electronic books, and electronic dictionaries.
- a printed wiring board is also included in the electronic device.
- Example 1 relates to a signal transmission device and an electronic apparatus according to the present disclosure.
- Conceptual diagrams of the signal transmission device and the electronic device according to the first embodiment are shown in FIGS. 1A to 1D and FIGS. 2A to 2D.
- the signal transmission device according to the first embodiment includes, for example, The cradle device is constructed.
- the electronic device of Example 1 is comprised from the digital still camera, for example.
- the signal transmission device 10 transmits a high-frequency signal (specifically, for example, a high-frequency signal in the millimeter wave band) emitted (transmitted) from the electronic device 30 (hereinafter, for convenience, for convenience).
- a high-frequency signal as data (indicated by a dotted line in the drawing) is provided.
- the first high-frequency signal waveguide 20 has a function as a high-frequency coupler that relays (couples) transmission of a high-frequency signal.
- the electronic device 30 according to the first embodiment includes the communication unit 31 but does not include the high-frequency signal waveguide. That is, the electronic device 30 according to the first embodiment is not an electronic device according to the present disclosure.
- the most basic configuration of the signal transmission device 10 according to the first embodiment is shown in a conceptual diagram of FIG.
- an output unit 22 is provided in addition to the configuration shown in FIG. That is, the output section 22 is connected to or coupled to the first high-frequency signal waveguide 20. Then, a high-frequency signal as data transmitted through the first high-frequency signal waveguide 20 can be sent out of the system (for example, a server device (not shown)) through the output unit 22.
- the signal transmission device 10 is connected to the first high-frequency signal waveguide 20 or is connected to the first high-frequency signal waveguide 20 (hereinafter, referred to as “communication device”). For convenience, it is further referred to as “first communication device 21”.
- first communication device 21 When the electronic device 30 is disposed close to the first high-frequency signal waveguide 20, a high-frequency signal as data is transmitted from the electronic device (specifically, the communication unit 31) to the first communication device 21. 1 is transmitted through a high-frequency signal waveguide 20. The transmitted high frequency signal is sent out of the system via the output unit 22.
- the signal transmission device 10 includes a control unit for controlling the signal transmission device 10 and / or controlling an electronic device in addition to the first communication device 21 and the output unit 22.
- the 1st control part 23 is comprised from the microcomputer or CPU, memory, etc., for example.
- the electronic device 30B when the plurality of electronic devices 30A and 30B are arranged close to the first high-frequency signal waveguide 20, the plurality of electronic devices 30A and 30B A high-frequency signal as data is transmitted through the first high-frequency signal waveguide 20.
- the electronic device 30B is regarded as an external device or an accessory device of the electronic device 30A.
- the electronic device 30B can be used as an electronic device for extending the function of the electronic device 30A. That is, function expansion and function change of the electronic device 30A can be performed without changing the electronic device 30A itself.
- the function of the electronic device 30A can be indirectly combined with the electronic device 30B without changing the design of the electronic device 30A, changing the printed wiring board constituting the electronic device 30A, or various parts. Enlarge and change functions. Moreover, in such a form, the freedom degree of the combination of electronic equipment 30A and electronic equipment 30B is very high, and the combination of electronic equipment can be changed easily.
- a first communication device 21 and an output unit 22 are further added to the configuration of the signal transmission device 10 shown in FIG. .
- a first communication device 21 is further added to the configuration of the signal transmission device 10 shown in FIG.
- a first control unit 23 is further added to the configuration of the signal transmission apparatus 10 shown in FIG.
- the signal transmission device 10 further includes a holding member (supporting member) 24, and the first high-frequency signal waveguide 20 is formed on the holding member 24.
- the electronic device 30 or the electronic device 40 of Example 2 described later may be placed on the first high-frequency signal waveguide 20 as illustrated.
- the present invention is not limited to this, and the electronic devices 30 and 40 may be brought into contact with each other or may be brought close to each other.
- the first high-frequency signal waveguide 20 is made of polystyrene resin having a relative dielectric constant of 2.5
- the holding member 24 is made of acrylic resin having a relative dielectric constant of 3.5. That is, the relative dielectric constant of the material (dielectric material) constituting the first high-frequency signal waveguide 20 is different from the relative dielectric constant of the material constituting the holding member 24.
- the first high-frequency signal waveguide 20 can be formed on the holding member 24 using an adhesive, or can be disposed. Such a method is referred to as a “first manufacturing method” for convenience.
- the casings 34 and 44 of the electronic device 30 or the electronic device 40 described later are made of engineering plastic.
- the outer surface of the holding member 24 excluding the portion where the first high-frequency signal waveguide 20 is provided and the vicinity thereof, or also inside the holding member 24.
- the outer surface of the holding member 24 excluding the surface region corresponding to the first high-frequency signal waveguide 20 or the opposed surface facing the electronic device is excluded.
- a shielding layer preferably including a metal plating is included so as not to be affected by unnecessary external electromagnetic waves or to prevent a high-frequency signal from leaking out of the first high-frequency signal waveguide 20. It is preferable to form a metal material layer or a conductive polymer material layer.
- the shielding layer can reflect the high-frequency signal, so that the reflection component of the high-frequency signal can be used and the sensitivity can be improved.
- an absorbing member a radio wave absorber that absorbs the high-frequency signal may be disposed.
- the first high-frequency signal waveguide 20 and the electronic devices 30 and 40 are, for example, vertically polarized waves when the electronic devices 30 and 40 are disposed close to the first high-frequency signal waveguide 20. It is set as the structure couple
- vertical polarization can be realized by setting the electric field perpendicular to the ground. More specifically, for example, the polarization direction of an antenna described later may be matched with the vertical direction. That is, the first high-frequency signal waveguide 20 and the electronic devices 30 and 40 can be coupled by vertically polarized electromagnetic waves by aligning the polarization directions in the vertical plane.
- the first high-frequency signal waveguide 20 (in the illustrated example, the first high-frequency signal) A configuration in which the entire signal waveguide 20 is exposed from the holding member 24 may be employed.
- 3B is a conceptual diagram of the signal transmission device 10 when the signal transmission device 10 is cut along the arrow BB in FIG. 3A. That is, the first high-frequency signal waveguide 20 is embedded in the holding member 24 made of a material different from the material constituting the first high-frequency signal waveguide 20.
- the electronic devices 30 and 40 may be placed on, brought into contact with, or approached to the portion 20 ⁇ / b> A exposed from the holding member 24 of the first high-frequency signal waveguide 20.
- the first high-frequency signal waveguide 20 is disposed inside the holding member 24 as shown in the conceptual diagrams of FIGS. 3C and 3D in the modified example of FIG. .
- 3D is a conceptual diagram of the signal transmission device 10 when the signal transmission device 10 is cut along the arrow DD in FIG. 3C.
- the electronic devices 30 and 40 may be placed on, brought into contact with, or approached to the portion 24 ′ of the holding member 24 facing the first high-frequency signal waveguide 20.
- a recess for placing the electronic devices 30 and 40 is provided in the portion 24 ′ of the holding member 24 facing the first high-frequency signal waveguide 20. You may attach an appropriate mark.
- the first control unit 23 manages the electronic device configuration information before and after the placement, High-frequency signals as data are transmitted according to the changed electronic device configuration information.
- the first control unit 23 performs high-frequency signal transmission in a state suitable for the combination after the change.
- the first communication device 21 emits a detection signal from the first high-frequency signal waveguide 20 and detects a reflected wave via the first high-frequency signal waveguide 20. Thus, it is possible to detect that some object has approached the first high-frequency signal waveguide 20.
- the communication means 31 or the second communication device 51 of the electronic device 30 or 40 that has received the detection signal emitted from the first high-frequency signal waveguide 20 transmits a predetermined signal unique to the electronic device 30 or 40 to the first signal. 1 is transmitted to the high-frequency signal waveguide 20, and the first communication device 21 receives this signal.
- the operation described above is referred to as “electronic device confirmation operation” for convenience.
- the first communication device 21 will be described in detail in the second embodiment with respect to the configuration of the communication unit 31 and the second communication device 51.
- the electronic devices 30B and 40B are arranged close to the first high-frequency signal waveguide 20, for example, as shown in FIG. 1D or FIG. 4D, the electronic devices 30A and 40A.
- the first control unit 23 performs an electronic device confirmation operation, for example, FIG.
- the first control unit 23 detects the presence of the electronic devices 30B and 40B, and transmits a high-frequency signal between the plurality of electronic devices 30A and 40A and the electronic devices 30B and 40B. Is switched to a mode of performing via the first high-frequency signal waveguide 20 (and the second high-frequency signal waveguide 50).
- the electronic devices 30 and 40 may be provided with a second control unit (not shown) for controlling the signal transmission device 10 and / or controlling the electronic devices 30 and 40.
- a control unit for controlling the signal transmission device 10 and / or controlling the electronic devices 30 and 40 may be arranged outside the system.
- the first control unit 23 usually sets the first communication device 21 and the second communication device 51 in the power saving mode, and when communication processing is necessary, that is, the electronic devices 30 and 40 are connected to the first high-frequency signal.
- the first control unit 23 detects that the optical waveguide 20 is disposed in the vicinity of the waveguide 20, a process of switching from the power saving mode to the normal operation mode may be performed. Further, the first control unit 23 may be configured to detect where the electronic devices 30 and 40 are arranged in the first high-frequency signal waveguide 20.
- the first control unit 23 determines whether the object disposed close to the first high-frequency signal waveguide 20 is the electronic device 30 or 40 or a foreign object (an object that is not an electronic device). It is also possible to detect. Specifically, the electronic device confirmation operation described above is executed. Accordingly, the first control unit 23 can detect that the objects disposed in the vicinity of the first high-frequency signal waveguide 20 are the electronic devices 30 and 40. However, when the object disposed in the vicinity of the first high-frequency signal waveguide 20 is a foreign object (an object that is not an electronic device), the first communication device 21 uses a predetermined signal unique to the electronic devices 30 and 40. Is not received. Therefore, the first control unit 23 can detect that the object disposed in the vicinity of the first high-frequency signal waveguide 20 is a foreign object (an object that is not an electronic device).
- Example 2 relates to an electronic apparatus of the present disclosure.
- the electronic device 40 of Example 2 is A communication device (hereinafter referred to as “second communication device 51"), and A high-frequency signal waveguide for transmitting a high-frequency signal emitted (transmitted) from the second communication device 51 (hereinafter referred to as “second high-frequency signal waveguide 50”); With When the second high-frequency signal waveguide 50 is disposed close to a high-frequency signal waveguide disposed outside (hereinafter referred to as “first high-frequency signal waveguide 20”), the second high-frequency signal waveguide 50 that constitutes the electronic device 40 A high-frequency signal as data is transmitted from the high-frequency signal waveguide 50 to the first high-frequency signal waveguide 20 disposed outside.
- FIG. 4A to FIG. 4D and FIG. 5A to FIG. 5D are conceptual diagrams of the electronic device 40 of the second embodiment and the signal transmission device 10 described in the first embodiment.
- the most basic configuration of the signal transmission device 10 of the first embodiment and the electronic device 40 of the second embodiment is shown in the conceptual diagram of FIG. 4A.
- FIG. 4A is a diagram of FIG. This corresponds to (A).
- FIGS. 4B to 4D and FIGS. 5A to 5D FIGS. 1B to 1D and FIGS.
- the electronic device 30 is replaced with the electronic device 40 of the present disclosure.
- the second high-frequency signal waveguide 50 is disposed inside the housing 44 that constitutes the electronic device 40. ing. In this case, the portion of the housing 44 that faces the second high-frequency signal waveguide 50 may be placed on the holding member 24 or the first high-frequency signal waveguide 20, contacted, or approached.
- a modified example of the electronic device 40 includes at least a part of the second high-frequency signal waveguide 50 (in the illustrated example, all of the second high-frequency signal waveguide 50 is ), A configuration exposed from the housing 44 may be adopted. That is, the second high frequency signal waveguide 50 is embedded in the housing 44 made of a material different from the material constituting the second high frequency signal waveguide 50. In this case, the portion of the second high-frequency signal waveguide 50 exposed from the housing 44 is placed on the holding member 24 or the first high-frequency signal waveguide 20 to be brought into contact with or approached. .
- the second high-frequency signal waveguide 50 may be formed on the housing 44 as shown in a conceptual diagram in FIG. .
- Such a structure can be achieved by substantially the same method as the first manufacturing method described above.
- the second high-frequency signal waveguide 50 may be placed on the holding member 24 or the first high-frequency signal waveguide 20 and brought into contact with or approached.
- FIG. 7 shows a block diagram of the first communication device 21 and the second communication device 51.
- the first communication device 21 has the same configuration as the second communication device 51 except that the second high-frequency signal waveguide 50 is not provided.
- the communication unit 31 has the same configuration as the second communication device 51 except that the second high-frequency signal waveguide 50 is not provided. If so-called frequency division multiplexing (FDM) or time division multiplexing (TDM) using a plurality of carrier frequencies (carrier frequencies) having different frequencies is adopted, a plurality of systems can be formed by one first high-frequency signal waveguide 20. Communication is possible.
- FDM frequency division multiplexing
- TDM time division multiplexing
- the second communication device 51 and the second high-frequency signal waveguide 50 are not limited, they are integrated with the semiconductor chip.
- the second communication device 51 includes an LSI function unit 101, a transmission unit 110, a reception unit 120, and a transmission line (or dielectric material piece) 102, which is a previous-stage signal processing unit.
- the LSI function unit 101 includes a processing circuit that controls main applications of the second communication device 51, for example, processes various signals to be transmitted, and processes various received signals.
- the transmission unit 110 includes a multiplexing processing unit 111, a parallel / serial conversion unit 112, a modulation unit 113, a frequency conversion unit 114, and an amplification unit 115, and a signal (transmission) to be transmitted from the LSI function unit 101.
- the target signal is converted (generated) into a millimeter-wave high-frequency signal.
- the modulation unit 113 and the frequency conversion unit 114 may be combined into a so-called direct conversion method.
- the multiplexing processing unit 111 when there are a plurality of types of transmission target signals to be communicated in the millimeter wave band among the signals from the LSI function unit 101, time division multiplexing, frequency division multiplexing, code
- a multiplexing process such as division multiplexing
- a plurality of types of transmission target signals are combined into a single transmission target signal.
- a plurality of types of transmission target signals for which high speed and large capacity are required are collected as one transmission target signal in the millimeter wave band.
- the parallel transmission target signal is converted into a serial transmission target signal and supplied to the modulation unit 113.
- the modulation unit 113 may basically be any circuit that modulates a transmission target signal with at least one of amplitude, frequency, and phase, and any combination of these can be employed.
- Examples of the analog modulation scheme include amplitude modulation (AM) and vector modulation.
- AM amplitude modulation
- FM frequency modulation
- PM phase modulation
- ASK Amplitude transition modulation
- ASK Amplitude transition modulation
- FSK frequency shift keying
- PSK phase shift keying
- APSK Amplitude phase modulation
- QAM Quadrature amplitude modulation
- a method that can adopt the synchronous detection method on the receiving unit side is adopted.
- the transmission target signal is modulated and supplied to the frequency conversion unit 114.
- the frequency conversion unit 114 performs frequency conversion on the transmission target signal modulated by the modulation unit 113, generates a high-frequency signal in the millimeter wave band, and supplies the amplified signal to the amplification unit 115.
- a high-frequency signal in the millimeter wave band refers to an electrical signal having a frequency in the range of approximately 30 GHz to 300 GHz.
- “substantially” may be a frequency at which the effect of millimeter wave band communication is obtained, and means that the lower limit is not limited to 30 GHz and the upper limit is not limited to 300 GHz.
- various circuit configurations can be employed as the frequency conversion unit 114, for example, a configuration including a frequency mixing circuit (mixer circuit) and a local oscillation circuit may be employed.
- a carrier wave (carrier signal, reference carrier wave) used for modulation is generated.
- the frequency mixing circuit multiplies (modulates) the signal from the parallel / serial conversion unit 112 and the millimeter wave band carrier wave generated by the local oscillation circuit to generate a millimeter wave band high frequency signal as data.
- the amplifying unit 115 has an amplitude adjustment function of adjusting and outputting the magnitude of the input signal.
- the high frequency signal in the millimeter wave band after frequency conversion is amplified, for example, via a transmission line (or a piece of dielectric material) 102 composed of a microstrip line, strip line, coplanar line, slot line, etc. It is sent out to the second high-frequency signal waveguide 50 (in the case of the electronic device 40), or is sent out to the first high-frequency signal waveguide 20 (in the case of the electronic device 30).
- the receiving unit 120 includes an amplifying unit 125, a frequency converting unit 124, a demodulating unit 123, a serial / parallel converting unit 122, and a unification processing unit 121, and the second high-frequency signal waveguide 50 or transmission.
- a millimeter wave band high frequency signal received by the line (or dielectric material piece) 102 is subjected to signal processing to obtain a transmission target signal.
- the frequency conversion unit 124 and the demodulation unit 123 may be combined into a so-called direct conversion method.
- the demodulation carrier signal may be generated by applying an injection locking method.
- the amplification unit 125 functions as an amplitude adjustment that adjusts and outputs the magnitude of the input signal.
- the amplifying unit 125 is connected to or coupled to the transmission line (or dielectric material piece) 102. Then, the millimeter-wave band high-frequency signal received by the second high-frequency signal waveguide 50 or the transmission line (or dielectric material piece) 102 (in the case of the electronic device 40) or from the first high-frequency signal waveguide 20 is used.
- the amplifying unit 125 that receives the millimeter-wave band high-frequency signal (in the case of the electronic device 30) via the transmission line (or dielectric material piece) 102 amplifies the high-frequency signal and supplies the amplified signal to the frequency conversion unit 124. .
- the amplified millimeter-wave band high-frequency signal is frequency-converted and supplied to the demodulator 123.
- the demodulator 123 the frequency-converted signal is demodulated and supplied to the serial / parallel converter 122.
- the serial / parallel conversion unit 122 the serial demodulated signal is converted into a parallel signal and supplied to the unification processing unit 121.
- the unification processing unit 121 corresponds to the multiplexing processing unit 111, and separates signals collected in one system into a plurality of types of transmission target signals. For example, a plurality of transmission target signals collected in one system of signals are separated separately and supplied to the LSI function unit 101.
- the 2nd communication apparatus 51 demonstrated above is a structure corresponding to bidirectional
- the millimeter wave band signal transmission path which is a millimeter wave band transmission channel, is a single line (single core) single core bidirectional transmission.
- a half-duplex method using frequency division multiplexing (TDM), frequency division multiplexing (FDM), or the like can be applied.
- the entire second communication device 51 can be molded into a module by resin, and the second communication device 51 and the second high-frequency signal transmission member can be modularized.
- a second high-frequency signal transmission member connected to or coupled to the transmission line 102 may be disposed between the transmission line 102 and the second high-frequency signal waveguide 50.
- the second high-frequency signal transmission member can transmit the millimeter-wave band high-frequency signal generated by the second communication device 51 to the second high-frequency signal waveguide 50, and the second high-frequency signal waveguide member A high-frequency signal from the signal waveguide 50 can be received.
- the second high-frequency signal transmission member can be constituted by an antenna, for example.
- the antenna can be formed, for example, by plating on the outer surface of the modularized second communication device 51, or can be provided by forming and etching a metal layer, or can be patterned. It can also be provided by sticking together metal foil.
- the transmission line 102 can be replaced with a piece of material that constitutes the second high-frequency signal waveguide 50, and this also allows coupling between the material piece and the second high-frequency signal waveguide 50 based on electromagnetic coupling / electric field. Can be formed.
- the directivity of the second high-frequency signal transmission member may be horizontal polarization (in a plane defined by the length direction and width direction of the second high-frequency signal waveguide 50), or vertical polarization (second high-frequency signal transmission member). It may be in the thickness direction of the signal waveguide 50). Alternatively, circular polarization may be used.
- the second high-frequency signal transmission member is composed of, for example, a dipole antenna or a Yagi antenna, the directivity of these antennas is horizontal polarization.
- the second high-frequency signal transmission member is radiated from the second high-frequency signal transmission member.
- the high-frequency signal is coupled to the first high-frequency signal waveguide 20 in the horizontal direction, that is, coupled to the first high-frequency signal waveguide 20 by a horizontally polarized electromagnetic wave and is transmitted through the first high-frequency signal waveguide 20.
- the high-frequency signal radiated from the second high-frequency signal transmission member is coupled to the second high-frequency signal waveguide 50 in the horizontal direction, that is, the second electromagnetic wave is horizontally polarized electromagnetic waves. It couple
- the second high-frequency signal transmission member is composed of, for example, a patch antenna or a slot antenna, the directivity of these antennas is vertical polarization.
- the second high-frequency signal transmission member is The radiated high-frequency signal is coupled to the first high-frequency signal waveguide 20 in the vertical direction, that is, coupled to the first high-frequency signal waveguide 20 by the vertically polarized electromagnetic wave, and the first high-frequency signal waveguide 20 Is transmitted.
- the high-frequency signal radiated from the second high-frequency signal transmission member is coupled to the second high-frequency signal waveguide 50 in the vertical direction, that is, the second electromagnetic wave is vertically polarized electromagnetic waves.
- the first high-frequency signal waveguide 20 is provided, and the high-frequency signal as data emitted from the adjacent electronic devices 30 and 40 is converted into the first high-frequency signal.
- the signal is transmitted through the waveguide 20.
- the second high-frequency signal waveguide 50 is provided, and the second high-frequency signal waveguide 50 is close to the first high-frequency signal waveguide 20 arranged outside.
- a high-frequency signal as data is transmitted from the second high-frequency signal waveguide 50 constituting the electronic device 40 to the first high-frequency signal waveguide 20 arranged outside.
- a signal to be transmitted (transmission target signal) is converted into a high frequency signal and transmitted at a high frequency signal, a wide communication range and a high transmission rate can be achieved. Furthermore, the coupling is good, the transmission loss is small, the reflection of high-frequency signals in the signal transmission device 10 and the electronic devices 30 and 40 can be suppressed, and multipath and unnecessary radiation are reduced at a high transmission rate. And transmission degradation can be suppressed. Further, since the high-frequency signal can be confined in the high-frequency signal waveguide, the confidentiality of information (data) is high.
- FIG. 22A A conceptual diagram of a conventional signal transmission device is shown in FIG. 22A, and an electrical interface is shown in FIG.
- a first device 710 and a second device 720 are coupled via an electrical interface 730 to perform signal transmission.
- the first device 710 and the second device 720 are provided with semiconductor chips 712 and 721 that can transmit signals via electrical wiring.
- the conventional signal transmission device shown in FIG. 22 has a configuration in which the first high-frequency signal waveguide 20 in the first or second embodiment is replaced by the electrical interface (electrical wiring) 730.
- the first device 710 is provided with an electrical signal conversion unit 712 and the second device 720 is provided with an electrical signal conversion unit 722 to perform signal transmission via an electrical interface (electrical wiring) 730. .
- an electrical signal is sent from the LSI function unit 713 to the second device 720 via the electrical signal conversion unit 712 and the electrical interface 730.
- the electrical signal conversion unit 722 is connected.
- the LSI function unit 723 obtains data.
- various signal processing such as image processing, compression processing, and image storage of electrical signals from the solid-state imaging device are often signals placed outside the solid-state imaging device. It is performed in the processing device.
- a high-speed transfer technique of electric signals is required between the solid-state imaging device and the signal processing device, for example, in order to cope with high definition and a high frame rate.
- LVDS Low Voltage Differential Differential
- a matched impedance termination is required, but an increase in power consumption cannot be ignored.
- Example 1 or Example 2 the electrical interface (electrical wiring) 730 of the conventional signal transmission device is replaced with the first high-frequency signal waveguide 20, and not the electric wiring but the high-frequency signal. Perform signal transmission.
- This eliminates the need for connectors and cables, reduces costs, eliminates the need to consider the reliability of connectors and cables, and improves the reliability of transmission paths. Further, when a connector or a cable is used, a space for assembling and a time for assembly are required. However, according to the first embodiment or the second embodiment, these are unnecessary.
- Example 3 is a modification of Example 1 and Example 2.
- FIG. 8A shows a conceptual diagram of a signal transmission device, an electronic device, and the like in the third embodiment.
- the electronic device includes an electronic device 340B composed of a digital still camera and an electronic device 340A composed of an HDMI adapter that can be attached to and detached from the digital still camera 340B.
- the electronic device 340 ⁇ / b> A corresponds to the electronic device 30 in the first embodiment or the electronic device 40 in the second embodiment.
- the electronic device 340A corresponds to the electronic device 40 in the second embodiment.
- the cradle device 300 includes a main body 301, a holding member 24 is disposed on the top of the main body 301, and the first high-frequency signal waveguide 20 is provided on the holding member 24.
- the first high-frequency signal waveguide 20 may be disposed inside the holding member 24 or may have a structure in which at least a part of the high-frequency signal waveguide 20 is exposed from the holding member 24.
- the first high-frequency signal waveguide 20 is made of a polyethylene resin (relative dielectric constant 2.5) having a width of 3.0 mm, a length of 150 mm, and a thickness of 1.0 mm, and is made of an acrylic resin (relative dielectric constant 3.5).
- the holding member 24 was bonded to the top surface. Actually, the holding member 24 and the main body 301 are integrally manufactured.
- the housing of the electronic device 340B is made of a metal or an alloy, or made of a material having a high relative dielectric constant (for example, a material having a relative dielectric constant exceeding 10).
- the high frequency signal emitted from the first high frequency signal waveguide 20 does not enter the electronic device 340B.
- the housing of the electronic device 340B is made of, for example, a material having a low relative dielectric constant, there is a possibility that the high frequency signal from the first high frequency signal waveguide 20 may enter the electronic device 340B. Therefore, it is preferable to form a shielding layer such as a metal layer in the portion of the electronic device 340B that is in contact with the first high-frequency signal waveguide 20.
- the electronic device 340A and the electronic device 340B integrated with each other are placed on the cradle device 300. Specifically, the electronic device 340A and the electronic device 340B are placed on the first high-frequency signal waveguide 20, thereby The image data recorded in the device 340B (digital still camera) is converted into the electronic device 340A (HDMI adapter), the second communication device 51, the second high-frequency signal waveguide 50, the first high-frequency signal waveguide 20, and the first communication device 21. It can be sent as an HDMI signal to an external television receiver (not shown) via the first control unit 23 and the output unit 22.
- HDMI adapter HDMI adapter
- FIG. 8C and 8D A schematic diagram of the signal transmission device 10 when the first high-frequency signal waveguide 20 is cut in a virtual plane orthogonal to the length direction of the first high-frequency signal waveguide 20 is shown in FIG. Further, as shown in FIGS. 8C and 8D, schematic diagrams of the signal transmission device 10 when the first high-frequency signal waveguide 20 is cut in the same virtual plane, as shown in FIGS. 8C and 8D, the holding member 24 and the first high-frequency signal.
- a conductive layer 27 made of copper foil may be formed between the waveguide 20 and a laminated structure of the first high-frequency signal waveguide 20, the holding member 24, and the conductive layer 27. By providing the conductive layer 27, the electric field strength in the vertical direction can be increased.
- the electronic device 340B has the function of the electronic device 340A, and the electronic device 340A can be omitted.
- combinations of (second high-frequency signal transmission member in second communication device 51, first high-frequency signal transmission member in first communication device 21) are (patch antenna, patch antenna), (Yagi antenna, Yagi antenna), ( As a patch antenna (Yagi antenna) (Yagi antenna, patch antenna), a high-frequency signal transmission test was conducted. In all combinations, high-frequency signal transmission could be reliably performed without any problem.
- Example 4 is also a modification of Example 1 and Example 2, and is an example in which the signal transmission device 10 is incorporated in the television receiver 400.
- the electronic device includes, for example, a camcorder 30 ′′.
- the television receiver 400 has a structure in which a display unit 401 is supported by a pedestal 402. In the portion of the pedestal 402, Example 1 or The signal transmission device 10 (specifically not shown) described in the second embodiment is incorporated, and the camcorder 30 ′′ is mounted on the first high-frequency signal waveguide 20 of the signal transmission device 10 incorporated in the base 402.
- the image data captured by the camcorder 30 ′′ is sent to the television receiver 400, and an HD moving image or an HD still image is displayed on the display unit 401.
- Example 5 the shape and the like of the first high-frequency signal waveguide will be described, but these descriptions can also be applied to the second high-frequency signal waveguide.
- the first high-frequency signal waveguide is two-dimensional as a whole.
- the first high-frequency signal waveguide has a three-dimensional shape as a whole.
- the first high-frequency signal waveguide 20 ⁇ / b> A in the signal transmission device 10 ⁇ / b> A has a flat plate shape, a flexible material, or a rigid material, specifically, for example, a thickness It consists of a 1.0 mm thick polystyrene resin.
- the present invention is not limited to this, and the dielectric material and thickness constituting the first high-frequency signal waveguide 20A may be determined depending on the high-frequency signal.
- Such a first high-frequency signal waveguide 20A can confine and transmit a high-frequency signal in the first high-frequency signal waveguide 20A.
- the first high-frequency signal waveguide 20 ⁇ / b> A composed of one flat plate is disposed inside the holding member 24.
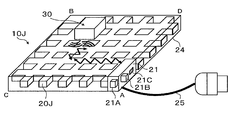
- a first communication device 21 that transmits and receives a high-frequency signal as data is attached to the side of the first high-frequency signal waveguide 20A.
- the first communication device 21 is connected to a server device (not shown) via a wiring 25. It is connected.
- An external control unit may be provided in the server device.
- the first communication device 21 is not limited to one, and a plurality of first communication devices 21 may be arranged. Further, based on the plurality of first communication devices 21, MIMO (Multi-InputMultiMulti-Output) can be applied. The same applies to other application examples described later.
- the first communication device 21 includes, for example, a transmission / reception circuit unit 21A including a transmission unit 110 and a reception unit 120, a resonance unit 21B, and a transmission / reception electrode 21C.
- the transmitting / receiving electrode 21 ⁇ / b> C is attached to the end face of the first high-frequency signal waveguide 20.
- the resonance unit 21B and the transmission / reception electrode 21C constitute a high-frequency coupler that couples a high-frequency signal at the end face of the first high-frequency signal waveguide 20.
- the first communication device 21 is attached to the corner portion of the first high-frequency signal waveguide 20, but is not limited to this.
- the high-frequency signal output from the transmission unit 110 is resonated by the resonance unit 21 ⁇ / b> B, radiated as a surface wave in the front direction from the transmission / reception electrode 21 ⁇ / b> C, and propagates in the first high-frequency signal waveguide 20.
- the high frequency signal output from the electronic device 30 also propagates through the first high frequency signal waveguide 20 as a surface wave.
- the receiving unit 120 of the transmitting / receiving circuit unit 21A demodulates and decodes the high-frequency signal received by the transmitting / receiving electrode 21C, and sends the reproduced data to the server device.
- the surface wave is propagated without loss while being repeatedly reflected every time it reaches the boundary surface with the outside. Therefore, a high frequency signal such as a millimeter wave band can be efficiently transmitted through the first high frequency signal waveguide 20.
- the configuration and structure of the first communication device are not limited to the configuration and structure described above.
- the first high-frequency signal waveguide 20B in the signal transmission device 10B has a comb shape and is a dielectric material. Made of mm polystyrene resin. However, the present invention is not limited to this, and the dielectric material and the thickness constituting the first high-frequency signal waveguide 20B may be determined depending on the high-frequency signal.
- the holding member 24 is made of, for example, an acrylic resin having a thickness of 1.0 mm, and the first high-frequency signal waveguide 20B is disposed inside the holding member 24. A space between the comb-tooth portion 20B 'and the comb-tooth portion 20B' of the first high-frequency signal waveguide 20B is filled with a holding member 24. The same applies to the following.
- a digital still camera 30A 'and a mobile phone 30B' are mounted on the first high-frequency signal waveguide 20B.
- the digital still camera 30 ⁇ / b> A ′ and the mobile phone 30 ⁇ / b> B ′ correspond to the electronic device 30 in the first embodiment.
- Various semiconductor chips 32 are arranged inside the digital still camera 30 ⁇ / b> A ′, one of which corresponds to the communication means 31, and another semiconductor chip corresponds to the second control unit. The same applies to the electronic device 30B '.
- the user can start an operation start switch (FIG. 11) provided on the digital still camera 30A ′.
- the communication means 31 emits a detection signal to the first high-frequency signal waveguide 20B under the control of the second control unit provided in the digital still camera 30A ′, and the mobile phone 30B ′ By detecting the reflected wave via the first high-frequency signal waveguide 20B, and further detecting a predetermined signal specific to the mobile phone 30B ′ via the first high-frequency signal waveguide 20B. The presence of the mobile phone 30B ′ can be detected.
- the operation described above is substantially the same as the “electronic device confirmation operation” described above.
- the digital still camera 30A ′ that has detected the presence of the mobile phone 30B ′ transfers the image data recorded therein to the mobile phone 30B ′ via the communication means 31, the first high-frequency signal waveguide 20B, and the communication means 31. Forward to.
- the image data transferred to the mobile phone 30B ' is sent to the outside based on the communication function of the mobile phone 30B'. In this way, it is possible to realize a function of transmitting image data acquired by the digital still camera 30A 'to the outside via the mobile phone 30B' and further via a communication line, WLAN, or the like.
- the mobile phone 30B ′ can be regarded as an external device or an accessory device of the digital still camera 30A ′, and the mobile phone 30B ′ can be used as an electronic device for extending the functions of the digital still camera 30A ′. it can. That is, function expansion and function change such as providing a communication function to the digital still camera 30A 'can be performed without changing the digital still camera 30A' itself. In other words, for example, the functions of the digital still camera 30A ′ can be expanded and changed by being indirectly combined with the mobile phone 30B ′ without changing the design or the specification of the digital still camera 30A ′. Can do.
- the width of the comb tooth portion 20B ′ and the width of the space between the comb tooth portions 20B ′ may be determined so that the high frequency signal from the communication means 31 of the electronic device 30 is not detected by the plurality of comb tooth portions 20B ′. It is desirable from the viewpoint of preventing the occurrence of a multipath phenomenon such as high-frequency signal interference between a plurality of paths. That is, when the communicable width of the high frequency signal is DT, the width of the comb tooth portion 20B ′ is W, and the width of the space between the adjacent comb tooth portions 20B ′ is w, DT ⁇ W + w And it is sufficient.
- a signal specific to the electronic device is detected via the first high-frequency signal waveguide 20B
- transfer of the high-frequency signal is started when a signal specific to the electronic device having a predetermined strength or higher is detected. If a signal specific to an electronic device having a predetermined intensity or more cannot be detected, an electronic circuit or an LED display (not shown) provided in the electronic device or signal transmission device (these are not shown) The user may be prompted to finely adjust the placement position of the device.
- a signal transmission device 10C including the first high-frequency signal waveguide 20C illustrated in FIG. 12 is a modification of the signal transmission device 10B illustrated in FIG. 11, and includes a first communication device 21 similar to that illustrated in FIG.
- the first communication device 21 is connected to the server device.
- a signal transmission device 10D shown in FIG. 13 is also a modification of the signal transmission device 10B shown in FIG. 11, and includes a first communication device 21 similar to that shown in FIG. 10, and the first communication device 21 is a server device. It is connected to the. Unlike FIG. 12, one electronic device 30 is placed on the first high-frequency signal waveguide 20D.
- a signal transmission device 10E shown in FIG. 14 is also a modification of the signal transmission device 10B shown in FIG. 11, and includes a first communication device 21 similar to that shown in FIG. 10, and the first communication device 21 is a server device. It is connected to the.
- layers (upper layer 24A and lower layer 24B) made of a material different from the material constituting the first high-frequency signal waveguide 20D are formed above and below the first high-frequency signal waveguide 20D.
- the upper layer 24A is made of, for example, a polystyrene resin having a thickness of 1.0 mm
- the lower layer 24B is made of, for example, an acrylic resin having a thickness of 1.0 mm. Only the upper layer 24A may be formed, or only the lower layer 24B may be formed.
- a signal transmission device 10F illustrated in FIG. 15 is a modification of the signal transmission device 10E illustrated in FIG. 14, and includes a first communication device 21 similar to that illustrated in FIG. 10, and the first communication device 21 is a server device. It is connected to the. Unlike FIG. 14, a metal plate 24C is arranged under the first high-frequency signal waveguide 20D.
- a signal transmission device 10G shown in FIG. 16 is also a modification of the signal transmission device 10B shown in FIG. 11, and includes a first communication device 21 similar to that shown in FIG. 10, and the first communication device 21 is a server device. It is connected to the. Unlike FIG. 11, an electromagnetic coil 26 is disposed below the first high-frequency signal waveguide 20D, and power is supplied by an electromagnetic induction method or a resonance method. Correspondingly, the electronic device 30 is provided with a power receiving unit (not shown) that can be electromagnetically coupled or resonantly coupled to the electromagnetic coil 26.
- a signal transmission device 10H illustrated in FIG. 17 is also a modification of the signal transmission device 10B illustrated in FIG. 11, and includes a first communication device 21 similar to that illustrated in FIG. 10, and the first communication device 21 is a server device. It is connected to the.
- the first high-frequency signal waveguide 20H is made of a magnetic material having a comb shape, specifically, for example, cobalt having a thickness of 1.0 mm.
- the present invention is not limited to this, and the magnetic material and thickness constituting the first high-frequency signal waveguide 20B may be determined depending on the high-frequency signal.
- the holding member 24 is made of, for example, a ferrite magnetic material having a thickness of 1.0 mm, and the first high-frequency signal waveguide 20 ⁇ / b> B is disposed inside the holding member 24.
- the first high-frequency signal waveguide 20J in the signal transmission device 10J has a lattice shape.
- a plurality of paths can be formed between the first communication device 21 and the electronic device 30. Therefore, the high-frequency signal that has passed through different paths reaches the first communication device 21 with a time difference caused by the path length difference. Accordingly, it is possible to detect where in the first high-frequency signal waveguide 20J the electronic device 30 is placed.
- the corner part C or the corner part D it is preferable to arrange at the corner part C or the corner part D rather than the corner part B on the diagonal with respect to the corner part A where the first communication device 21 is arranged.
- the principle of triangulation is applied to more reliably determine where the electronic device 30 is placed in the first high-frequency signal waveguide 20J. Can be detected.
- the first high-frequency signal waveguide 20K in the signal transmission device 10K has a spiral shape. In such a configuration, since there is one transmission line and there is no portion that bends at a right angle, there is little loss and the influence of multipath is small.
- a plurality of two-dimensional high-frequency signal waveguides 20L constituting the signal transmission device 10L are three-dimensional (three-dimensional) as a whole. That is, a plurality of two-dimensional high-frequency signal waveguides 20L are juxtaposed, and the plurality of two-dimensional high-frequency signal waveguides 20L are connected by the waveguides.
- each of the two-dimensional first high-frequency signal waveguides 20L has a Chinese character “day” shape. That is, in the illustrated example, each of the two-dimensional first high-frequency signal waveguides 20L has a planar shape in which three horizontal bars extend in the horizontal direction and both ends of the horizontal bar are connected by vertical bars. Have.
- the two-dimensional first high-frequency signal waveguides 20L are connected to each other.
- the various first high-frequency signal waveguides described above may be disposed inside the holding member, or at least a part of the high-frequency signal waveguide may be exposed from the holding member, or on the holding member. It may be formed.
- FIG. 21 shows a conceptual diagram of an example in which the electronic device is composed of a multilayer printed wiring board.
- the signal transmission device 610 and the electronic device 640 are configured by multilayer printed wiring boards (two-layer and three-layer printed wiring boards, respectively).
- Semiconductor chips 611 and 641 are mounted on the printed wiring board 612.642 constituting each multilayer printed wiring board. Furthermore, the printed wiring board 612.642 is connected by the printed wiring boards 613 and 643, or is also connected by a through hole.
- the signal transmission device 10 including the first high-frequency signal waveguide 20 is provided on one surface of the laminated printed wiring board 612. On the other hand, on one surface of the laminated printed wiring board 642, for example, the second high-frequency signal waveguide 50 is provided, or the communication means 31 is provided.
- this indication can also take the following structures.
- ⁇ Signal transmission device It has a high-frequency signal waveguide that transmits high-frequency signals emitted from electronic equipment, A signal transmission device that transmits a high-frequency signal through a high-frequency signal waveguide when the electronic device is disposed close to the high-frequency signal waveguide.
- [3] It further includes a communication device connected to or coupled to the high-frequency signal waveguide, The signal transmission device according to [1] or [2], wherein when the electronic device is disposed close to the high-frequency signal waveguide, the high-frequency signal is transmitted between the communication device and the electronic device via the high-frequency signal waveguide. .
- a holding member that holds the high-frequency signal waveguide is further provided, The signal transmission device according to any one of [1] to [3], wherein the high-frequency signal waveguide is disposed inside the holding member.
- a holding member that holds the high-frequency signal waveguide is further provided. The signal transmission device according to any one of [1] to [3], wherein at least a part of the high-frequency signal waveguide is exposed from the holding member.
- a holding member for holding the high-frequency signal waveguide is further provided, The signal transmission device according to any one of [1] to [3], wherein the high-frequency signal waveguide is formed on a holding member. [7] The signal transmission device according to any one of [1] to [6], wherein the high-frequency signal waveguide has a flat plate shape. [8] The signal transmission device according to any one of [1] to [6], wherein the high-frequency signal waveguide has a comb shape. [9] The signal transmission device according to any one of [1] to [6], wherein the high-frequency signal waveguide has a lattice shape.
- the signal transmission device according to any one of [1] to [6], wherein the high-frequency signal waveguide has a spiral shape.
- a layer made of a material different from the material constituting the high-frequency signal waveguide is formed on the high-frequency signal waveguide, below the high-frequency signal waveguide, or above and below the high-frequency signal waveguide.
- the signal transmission device according to any one of [1] to [10].
- [12] The signal transmission device according to any one of [1] to [12], wherein the high-frequency signal waveguide is made of a dielectric material.
- the signal transmission device according to any one of [1] to [12], wherein the high-frequency signal waveguide is made of a magnetic material.
- Modulation part 114 ... ⁇ Frequency conversion unit, 115... Amplification unit, 120... Reception unit, 121... Unification processing unit, 122... Serial / parallel conversion unit, 123.
Landscapes
- Engineering & Computer Science (AREA)
- Computer Networks & Wireless Communication (AREA)
- Signal Processing (AREA)
- Near-Field Transmission Systems (AREA)
- Transceivers (AREA)
Priority Applications (4)
| Application Number | Priority Date | Filing Date | Title |
|---|---|---|---|
| EP12746680.3A EP2677669A1 (en) | 2011-02-18 | 2012-02-13 | Signal-transmitting device and electronic equipment |
| US13/984,092 US9246205B2 (en) | 2011-02-18 | 2012-02-13 | Transmission of signals via a high-frequency waveguide |
| CN201280006163.XA CN103329456B (zh) | 2011-02-18 | 2012-02-13 | 信号传送装置和电子设备 |
| US14/974,559 US9698460B2 (en) | 2011-02-18 | 2015-12-18 | Transmission of signals via a high-frequency waveguide |
Applications Claiming Priority (4)
| Application Number | Priority Date | Filing Date | Title |
|---|---|---|---|
| JP2011033057 | 2011-02-18 | ||
| JP2011-033057 | 2011-02-18 | ||
| JP2012-016372 | 2012-01-30 | ||
| JP2012016372A JP2012186796A (ja) | 2011-02-18 | 2012-01-30 | 信号伝送装置及び電子機器 |
Related Child Applications (3)
| Application Number | Title | Priority Date | Filing Date |
|---|---|---|---|
| US13/984,092 A-371-Of-International US9246205B2 (en) | 2011-02-18 | 2012-02-13 | Transmission of signals via a high-frequency waveguide |
| US13984092 A-371-Of-International | 2013-02-13 | ||
| US14/974,559 Continuation US9698460B2 (en) | 2011-02-18 | 2015-12-18 | Transmission of signals via a high-frequency waveguide |
Publications (1)
| Publication Number | Publication Date |
|---|---|
| WO2012111617A1 true WO2012111617A1 (ja) | 2012-08-23 |
Family
ID=46672536
Family Applications (1)
| Application Number | Title | Priority Date | Filing Date |
|---|---|---|---|
| PCT/JP2012/053280 Ceased WO2012111617A1 (ja) | 2011-02-18 | 2012-02-13 | 信号伝送装置及び電子機器 |
Country Status (5)
| Country | Link |
|---|---|
| US (2) | US9246205B2 (enExample) |
| EP (1) | EP2677669A1 (enExample) |
| JP (1) | JP2012186796A (enExample) |
| CN (1) | CN103329456B (enExample) |
| WO (1) | WO2012111617A1 (enExample) |
Cited By (1)
| Publication number | Priority date | Publication date | Assignee | Title |
|---|---|---|---|---|
| TWI707168B (zh) * | 2016-01-29 | 2020-10-11 | 台灣積體電路製造股份有限公司 | 整合式晶片及形成整合式介電質波導的方法 |
Families Citing this family (182)
| Publication number | Priority date | Publication date | Assignee | Title |
|---|---|---|---|---|
| US9113347B2 (en) | 2012-12-05 | 2015-08-18 | At&T Intellectual Property I, Lp | Backhaul link for distributed antenna system |
| US10009065B2 (en) | 2012-12-05 | 2018-06-26 | At&T Intellectual Property I, L.P. | Backhaul link for distributed antenna system |
| US9525524B2 (en) | 2013-05-31 | 2016-12-20 | At&T Intellectual Property I, L.P. | Remote distributed antenna system |
| US9999038B2 (en) | 2013-05-31 | 2018-06-12 | At&T Intellectual Property I, L.P. | Remote distributed antenna system |
| WO2015023781A2 (en) | 2013-08-13 | 2015-02-19 | Keyssa, Inc. | Contactless communication unit connector assemblies |
| US8897697B1 (en) | 2013-11-06 | 2014-11-25 | At&T Intellectual Property I, Lp | Millimeter-wave surface-wave communications |
| US9209902B2 (en) | 2013-12-10 | 2015-12-08 | At&T Intellectual Property I, L.P. | Quasi-optical coupler |
| GB201401014D0 (en) | 2014-01-21 | 2014-03-05 | Welding Inst | System and method for transmitting data or power across a structural component |
| US9515368B2 (en) * | 2014-03-11 | 2016-12-06 | Nxp B.V. | Transmission line interconnect |
| US9912072B1 (en) * | 2014-03-18 | 2018-03-06 | Lockheed Martin Corporation | RF module with integrated waveguide and attached antenna elements and method for fabrication |
| US9692101B2 (en) | 2014-08-26 | 2017-06-27 | At&T Intellectual Property I, L.P. | Guided wave couplers for coupling electromagnetic waves between a waveguide surface and a surface of a wire |
| US9768833B2 (en) | 2014-09-15 | 2017-09-19 | At&T Intellectual Property I, L.P. | Method and apparatus for sensing a condition in a transmission medium of electromagnetic waves |
| US10063280B2 (en) | 2014-09-17 | 2018-08-28 | At&T Intellectual Property I, L.P. | Monitoring and mitigating conditions in a communication network |
| US9628854B2 (en) | 2014-09-29 | 2017-04-18 | At&T Intellectual Property I, L.P. | Method and apparatus for distributing content in a communication network |
| US9615269B2 (en) | 2014-10-02 | 2017-04-04 | At&T Intellectual Property I, L.P. | Method and apparatus that provides fault tolerance in a communication network |
| US9685992B2 (en) | 2014-10-03 | 2017-06-20 | At&T Intellectual Property I, L.P. | Circuit panel network and methods thereof |
| US9503189B2 (en) | 2014-10-10 | 2016-11-22 | At&T Intellectual Property I, L.P. | Method and apparatus for arranging communication sessions in a communication system |
| US9973299B2 (en) | 2014-10-14 | 2018-05-15 | At&T Intellectual Property I, L.P. | Method and apparatus for adjusting a mode of communication in a communication network |
| US9762289B2 (en) | 2014-10-14 | 2017-09-12 | At&T Intellectual Property I, L.P. | Method and apparatus for transmitting or receiving signals in a transportation system |
| US9564947B2 (en) | 2014-10-21 | 2017-02-07 | At&T Intellectual Property I, L.P. | Guided-wave transmission device with diversity and methods for use therewith |
| US9780834B2 (en) | 2014-10-21 | 2017-10-03 | At&T Intellectual Property I, L.P. | Method and apparatus for transmitting electromagnetic waves |
| US9520945B2 (en) | 2014-10-21 | 2016-12-13 | At&T Intellectual Property I, L.P. | Apparatus for providing communication services and methods thereof |
| US9627768B2 (en) | 2014-10-21 | 2017-04-18 | At&T Intellectual Property I, L.P. | Guided-wave transmission device with non-fundamental mode propagation and methods for use therewith |
| US9653770B2 (en) * | 2014-10-21 | 2017-05-16 | At&T Intellectual Property I, L.P. | Guided wave coupler, coupling module and methods for use therewith |
| US9577306B2 (en) | 2014-10-21 | 2017-02-21 | At&T Intellectual Property I, L.P. | Guided-wave transmission device and methods for use therewith |
| US9769020B2 (en) | 2014-10-21 | 2017-09-19 | At&T Intellectual Property I, L.P. | Method and apparatus for responding to events affecting communications in a communication network |
| US9312919B1 (en) | 2014-10-21 | 2016-04-12 | At&T Intellectual Property I, Lp | Transmission device with impairment compensation and methods for use therewith |
| US9800327B2 (en) | 2014-11-20 | 2017-10-24 | At&T Intellectual Property I, L.P. | Apparatus for controlling operations of a communication device and methods thereof |
| US10340573B2 (en) | 2016-10-26 | 2019-07-02 | At&T Intellectual Property I, L.P. | Launcher with cylindrical coupling device and methods for use therewith |
| US9954287B2 (en) | 2014-11-20 | 2018-04-24 | At&T Intellectual Property I, L.P. | Apparatus for converting wireless signals and electromagnetic waves and methods thereof |
| US9680670B2 (en) | 2014-11-20 | 2017-06-13 | At&T Intellectual Property I, L.P. | Transmission device with channel equalization and control and methods for use therewith |
| US9461706B1 (en) | 2015-07-31 | 2016-10-04 | At&T Intellectual Property I, Lp | Method and apparatus for exchanging communication signals |
| US9544006B2 (en) | 2014-11-20 | 2017-01-10 | At&T Intellectual Property I, L.P. | Transmission device with mode division multiplexing and methods for use therewith |
| US10009067B2 (en) | 2014-12-04 | 2018-06-26 | At&T Intellectual Property I, L.P. | Method and apparatus for configuring a communication interface |
| US9742462B2 (en) | 2014-12-04 | 2017-08-22 | At&T Intellectual Property I, L.P. | Transmission medium and communication interfaces and methods for use therewith |
| US10243784B2 (en) | 2014-11-20 | 2019-03-26 | At&T Intellectual Property I, L.P. | System for generating topology information and methods thereof |
| US9654173B2 (en) | 2014-11-20 | 2017-05-16 | At&T Intellectual Property I, L.P. | Apparatus for powering a communication device and methods thereof |
| US9997819B2 (en) | 2015-06-09 | 2018-06-12 | At&T Intellectual Property I, L.P. | Transmission medium and method for facilitating propagation of electromagnetic waves via a core |
| US10144036B2 (en) | 2015-01-30 | 2018-12-04 | At&T Intellectual Property I, L.P. | Method and apparatus for mitigating interference affecting a propagation of electromagnetic waves guided by a transmission medium |
| US9876570B2 (en) | 2015-02-20 | 2018-01-23 | At&T Intellectual Property I, Lp | Guided-wave transmission device with non-fundamental mode propagation and methods for use therewith |
| US9749013B2 (en) | 2015-03-17 | 2017-08-29 | At&T Intellectual Property I, L.P. | Method and apparatus for reducing attenuation of electromagnetic waves guided by a transmission medium |
| US9705561B2 (en) | 2015-04-24 | 2017-07-11 | At&T Intellectual Property I, L.P. | Directional coupling device and methods for use therewith |
| US10224981B2 (en) | 2015-04-24 | 2019-03-05 | At&T Intellectual Property I, Lp | Passive electrical coupling device and methods for use therewith |
| US9948354B2 (en) | 2015-04-28 | 2018-04-17 | At&T Intellectual Property I, L.P. | Magnetic coupling device with reflective plate and methods for use therewith |
| US9793954B2 (en) | 2015-04-28 | 2017-10-17 | At&T Intellectual Property I, L.P. | Magnetic coupling device and methods for use therewith |
| US9490869B1 (en) | 2015-05-14 | 2016-11-08 | At&T Intellectual Property I, L.P. | Transmission medium having multiple cores and methods for use therewith |
| US9871282B2 (en) | 2015-05-14 | 2018-01-16 | At&T Intellectual Property I, L.P. | At least one transmission medium having a dielectric surface that is covered at least in part by a second dielectric |
| US9748626B2 (en) | 2015-05-14 | 2017-08-29 | At&T Intellectual Property I, L.P. | Plurality of cables having different cross-sectional shapes which are bundled together to form a transmission medium |
| US10650940B2 (en) | 2015-05-15 | 2020-05-12 | At&T Intellectual Property I, L.P. | Transmission medium having a conductive material and methods for use therewith |
| US10679767B2 (en) | 2015-05-15 | 2020-06-09 | At&T Intellectual Property I, L.P. | Transmission medium having a conductive material and methods for use therewith |
| US9917341B2 (en) | 2015-05-27 | 2018-03-13 | At&T Intellectual Property I, L.P. | Apparatus and method for launching electromagnetic waves and for modifying radial dimensions of the propagating electromagnetic waves |
| US9866309B2 (en) | 2015-06-03 | 2018-01-09 | At&T Intellectual Property I, Lp | Host node device and methods for use therewith |
| US10103801B2 (en) | 2015-06-03 | 2018-10-16 | At&T Intellectual Property I, L.P. | Host node device and methods for use therewith |
| US10812174B2 (en) | 2015-06-03 | 2020-10-20 | At&T Intellectual Property I, L.P. | Client node device and methods for use therewith |
| US9912381B2 (en) | 2015-06-03 | 2018-03-06 | At&T Intellectual Property I, Lp | Network termination and methods for use therewith |
| US10348391B2 (en) | 2015-06-03 | 2019-07-09 | At&T Intellectual Property I, L.P. | Client node device with frequency conversion and methods for use therewith |
| US10154493B2 (en) | 2015-06-03 | 2018-12-11 | At&T Intellectual Property I, L.P. | Network termination and methods for use therewith |
| US9913139B2 (en) | 2015-06-09 | 2018-03-06 | At&T Intellectual Property I, L.P. | Signal fingerprinting for authentication of communicating devices |
| US10142086B2 (en) | 2015-06-11 | 2018-11-27 | At&T Intellectual Property I, L.P. | Repeater and methods for use therewith |
| US9608692B2 (en) | 2015-06-11 | 2017-03-28 | At&T Intellectual Property I, L.P. | Repeater and methods for use therewith |
| US9820146B2 (en) | 2015-06-12 | 2017-11-14 | At&T Intellectual Property I, L.P. | Method and apparatus for authentication and identity management of communicating devices |
| US9667317B2 (en) | 2015-06-15 | 2017-05-30 | At&T Intellectual Property I, L.P. | Method and apparatus for providing security using network traffic adjustments |
| US9509415B1 (en) | 2015-06-25 | 2016-11-29 | At&T Intellectual Property I, L.P. | Methods and apparatus for inducing a fundamental wave mode on a transmission medium |
| US9640850B2 (en) | 2015-06-25 | 2017-05-02 | At&T Intellectual Property I, L.P. | Methods and apparatus for inducing a non-fundamental wave mode on a transmission medium |
| US9865911B2 (en) | 2015-06-25 | 2018-01-09 | At&T Intellectual Property I, L.P. | Waveguide system for slot radiating first electromagnetic waves that are combined into a non-fundamental wave mode second electromagnetic wave on a transmission medium |
| US9836957B2 (en) | 2015-07-14 | 2017-12-05 | At&T Intellectual Property I, L.P. | Method and apparatus for communicating with premises equipment |
| US9853342B2 (en) | 2015-07-14 | 2017-12-26 | At&T Intellectual Property I, L.P. | Dielectric transmission medium connector and methods for use therewith |
| US10205655B2 (en) | 2015-07-14 | 2019-02-12 | At&T Intellectual Property I, L.P. | Apparatus and methods for communicating utilizing an antenna array and multiple communication paths |
| US9882257B2 (en) | 2015-07-14 | 2018-01-30 | At&T Intellectual Property I, L.P. | Method and apparatus for launching a wave mode that mitigates interference |
| US10033108B2 (en) | 2015-07-14 | 2018-07-24 | At&T Intellectual Property I, L.P. | Apparatus and methods for generating an electromagnetic wave having a wave mode that mitigates interference |
| US10033107B2 (en) | 2015-07-14 | 2018-07-24 | At&T Intellectual Property I, L.P. | Method and apparatus for coupling an antenna to a device |
| US10341142B2 (en) | 2015-07-14 | 2019-07-02 | At&T Intellectual Property I, L.P. | Apparatus and methods for generating non-interfering electromagnetic waves on an uninsulated conductor |
| US10320586B2 (en) | 2015-07-14 | 2019-06-11 | At&T Intellectual Property I, L.P. | Apparatus and methods for generating non-interfering electromagnetic waves on an insulated transmission medium |
| US10044409B2 (en) | 2015-07-14 | 2018-08-07 | At&T Intellectual Property I, L.P. | Transmission medium and methods for use therewith |
| US10148016B2 (en) | 2015-07-14 | 2018-12-04 | At&T Intellectual Property I, L.P. | Apparatus and methods for communicating utilizing an antenna array |
| US10170840B2 (en) | 2015-07-14 | 2019-01-01 | At&T Intellectual Property I, L.P. | Apparatus and methods for sending or receiving electromagnetic signals |
| US9847566B2 (en) | 2015-07-14 | 2017-12-19 | At&T Intellectual Property I, L.P. | Method and apparatus for adjusting a field of a signal to mitigate interference |
| US9628116B2 (en) | 2015-07-14 | 2017-04-18 | At&T Intellectual Property I, L.P. | Apparatus and methods for transmitting wireless signals |
| US9722318B2 (en) | 2015-07-14 | 2017-08-01 | At&T Intellectual Property I, L.P. | Method and apparatus for coupling an antenna to a device |
| US10090606B2 (en) | 2015-07-15 | 2018-10-02 | At&T Intellectual Property I, L.P. | Antenna system with dielectric array and methods for use therewith |
| US9608740B2 (en) | 2015-07-15 | 2017-03-28 | At&T Intellectual Property I, L.P. | Method and apparatus for launching a wave mode that mitigates interference |
| US9793951B2 (en) | 2015-07-15 | 2017-10-17 | At&T Intellectual Property I, L.P. | Method and apparatus for launching a wave mode that mitigates interference |
| US10784670B2 (en) | 2015-07-23 | 2020-09-22 | At&T Intellectual Property I, L.P. | Antenna support for aligning an antenna |
| US9912027B2 (en) | 2015-07-23 | 2018-03-06 | At&T Intellectual Property I, L.P. | Method and apparatus for exchanging communication signals |
| US9749053B2 (en) | 2015-07-23 | 2017-08-29 | At&T Intellectual Property I, L.P. | Node device, repeater and methods for use therewith |
| US9871283B2 (en) | 2015-07-23 | 2018-01-16 | At&T Intellectual Property I, Lp | Transmission medium having a dielectric core comprised of plural members connected by a ball and socket configuration |
| US9948333B2 (en) | 2015-07-23 | 2018-04-17 | At&T Intellectual Property I, L.P. | Method and apparatus for wireless communications to mitigate interference |
| US10020587B2 (en) | 2015-07-31 | 2018-07-10 | At&T Intellectual Property I, L.P. | Radial antenna and methods for use therewith |
| US9967173B2 (en) | 2015-07-31 | 2018-05-08 | At&T Intellectual Property I, L.P. | Method and apparatus for authentication and identity management of communicating devices |
| US9735833B2 (en) | 2015-07-31 | 2017-08-15 | At&T Intellectual Property I, L.P. | Method and apparatus for communications management in a neighborhood network |
| US9947983B2 (en) * | 2015-08-05 | 2018-04-17 | Keyssa, Inc. | Contactless signal conduit structures |
| US9904535B2 (en) | 2015-09-14 | 2018-02-27 | At&T Intellectual Property I, L.P. | Method and apparatus for distributing software |
| US10009063B2 (en) | 2015-09-16 | 2018-06-26 | At&T Intellectual Property I, L.P. | Method and apparatus for use with a radio distributed antenna system having an out-of-band reference signal |
| US9705571B2 (en) | 2015-09-16 | 2017-07-11 | At&T Intellectual Property I, L.P. | Method and apparatus for use with a radio distributed antenna system |
| US10136434B2 (en) | 2015-09-16 | 2018-11-20 | At&T Intellectual Property I, L.P. | Method and apparatus for use with a radio distributed antenna system having an ultra-wideband control channel |
| US10051629B2 (en) | 2015-09-16 | 2018-08-14 | At&T Intellectual Property I, L.P. | Method and apparatus for use with a radio distributed antenna system having an in-band reference signal |
| US10079661B2 (en) | 2015-09-16 | 2018-09-18 | At&T Intellectual Property I, L.P. | Method and apparatus for use with a radio distributed antenna system having a clock reference |
| US10009901B2 (en) | 2015-09-16 | 2018-06-26 | At&T Intellectual Property I, L.P. | Method, apparatus, and computer-readable storage medium for managing utilization of wireless resources between base stations |
| US9769128B2 (en) | 2015-09-28 | 2017-09-19 | At&T Intellectual Property I, L.P. | Method and apparatus for encryption of communications over a network |
| US9729197B2 (en) | 2015-10-01 | 2017-08-08 | At&T Intellectual Property I, L.P. | Method and apparatus for communicating network management traffic over a network |
| US10074890B2 (en) | 2015-10-02 | 2018-09-11 | At&T Intellectual Property I, L.P. | Communication device and antenna with integrated light assembly |
| US9876264B2 (en) | 2015-10-02 | 2018-01-23 | At&T Intellectual Property I, Lp | Communication system, guided wave switch and methods for use therewith |
| US9882277B2 (en) | 2015-10-02 | 2018-01-30 | At&T Intellectual Property I, Lp | Communication device and antenna assembly with actuated gimbal mount |
| US10051483B2 (en) | 2015-10-16 | 2018-08-14 | At&T Intellectual Property I, L.P. | Method and apparatus for directing wireless signals |
| US10355367B2 (en) | 2015-10-16 | 2019-07-16 | At&T Intellectual Property I, L.P. | Antenna structure for exchanging wireless signals |
| US10665942B2 (en) | 2015-10-16 | 2020-05-26 | At&T Intellectual Property I, L.P. | Method and apparatus for adjusting wireless communications |
| GB201607672D0 (en) | 2016-05-03 | 2016-06-15 | Rolls Royce Plc | A signal transmitting component |
| US10658868B2 (en) * | 2016-08-04 | 2020-05-19 | Texas Instruments Incorporated | Waveguide housing channels for wireless communications |
| US9912419B1 (en) | 2016-08-24 | 2018-03-06 | At&T Intellectual Property I, L.P. | Method and apparatus for managing a fault in a distributed antenna system |
| US9860075B1 (en) | 2016-08-26 | 2018-01-02 | At&T Intellectual Property I, L.P. | Method and communication node for broadband distribution |
| US10291311B2 (en) | 2016-09-09 | 2019-05-14 | At&T Intellectual Property I, L.P. | Method and apparatus for mitigating a fault in a distributed antenna system |
| US11032819B2 (en) | 2016-09-15 | 2021-06-08 | At&T Intellectual Property I, L.P. | Method and apparatus for use with a radio distributed antenna system having a control channel reference signal |
| US10135147B2 (en) | 2016-10-18 | 2018-11-20 | At&T Intellectual Property I, L.P. | Apparatus and methods for launching guided waves via an antenna |
| US10135146B2 (en) | 2016-10-18 | 2018-11-20 | At&T Intellectual Property I, L.P. | Apparatus and methods for launching guided waves via circuits |
| US10340600B2 (en) | 2016-10-18 | 2019-07-02 | At&T Intellectual Property I, L.P. | Apparatus and methods for launching guided waves via plural waveguide systems |
| US10811767B2 (en) | 2016-10-21 | 2020-10-20 | At&T Intellectual Property I, L.P. | System and dielectric antenna with convex dielectric radome |
| US10374316B2 (en) | 2016-10-21 | 2019-08-06 | At&T Intellectual Property I, L.P. | System and dielectric antenna with non-uniform dielectric |
| US9991580B2 (en) | 2016-10-21 | 2018-06-05 | At&T Intellectual Property I, L.P. | Launcher and coupling system for guided wave mode cancellation |
| US9876605B1 (en) | 2016-10-21 | 2018-01-23 | At&T Intellectual Property I, L.P. | Launcher and coupling system to support desired guided wave mode |
| US10312567B2 (en) | 2016-10-26 | 2019-06-04 | At&T Intellectual Property I, L.P. | Launcher with planar strip antenna and methods for use therewith |
| US10225025B2 (en) | 2016-11-03 | 2019-03-05 | At&T Intellectual Property I, L.P. | Method and apparatus for detecting a fault in a communication system |
| US10291334B2 (en) | 2016-11-03 | 2019-05-14 | At&T Intellectual Property I, L.P. | System for detecting a fault in a communication system |
| US10224634B2 (en) | 2016-11-03 | 2019-03-05 | At&T Intellectual Property I, L.P. | Methods and apparatus for adjusting an operational characteristic of an antenna |
| US10498044B2 (en) | 2016-11-03 | 2019-12-03 | At&T Intellectual Property I, L.P. | Apparatus for configuring a surface of an antenna |
| US10178445B2 (en) | 2016-11-23 | 2019-01-08 | At&T Intellectual Property I, L.P. | Methods, devices, and systems for load balancing between a plurality of waveguides |
| US10090594B2 (en) | 2016-11-23 | 2018-10-02 | At&T Intellectual Property I, L.P. | Antenna system having structural configurations for assembly |
| US10535928B2 (en) | 2016-11-23 | 2020-01-14 | At&T Intellectual Property I, L.P. | Antenna system and methods for use therewith |
| US10340603B2 (en) | 2016-11-23 | 2019-07-02 | At&T Intellectual Property I, L.P. | Antenna system having shielded structural configurations for assembly |
| US10340601B2 (en) | 2016-11-23 | 2019-07-02 | At&T Intellectual Property I, L.P. | Multi-antenna system and methods for use therewith |
| US10361489B2 (en) | 2016-12-01 | 2019-07-23 | At&T Intellectual Property I, L.P. | Dielectric dish antenna system and methods for use therewith |
| US10305190B2 (en) | 2016-12-01 | 2019-05-28 | At&T Intellectual Property I, L.P. | Reflecting dielectric antenna system and methods for use therewith |
| US10694379B2 (en) | 2016-12-06 | 2020-06-23 | At&T Intellectual Property I, L.P. | Waveguide system with device-based authentication and methods for use therewith |
| US10382976B2 (en) | 2016-12-06 | 2019-08-13 | At&T Intellectual Property I, L.P. | Method and apparatus for managing wireless communications based on communication paths and network device positions |
| US10727599B2 (en) | 2016-12-06 | 2020-07-28 | At&T Intellectual Property I, L.P. | Launcher with slot antenna and methods for use therewith |
| US10020844B2 (en) | 2016-12-06 | 2018-07-10 | T&T Intellectual Property I, L.P. | Method and apparatus for broadcast communication via guided waves |
| US10819035B2 (en) | 2016-12-06 | 2020-10-27 | At&T Intellectual Property I, L.P. | Launcher with helical antenna and methods for use therewith |
| US10326494B2 (en) | 2016-12-06 | 2019-06-18 | At&T Intellectual Property I, L.P. | Apparatus for measurement de-embedding and methods for use therewith |
| US10755542B2 (en) | 2016-12-06 | 2020-08-25 | At&T Intellectual Property I, L.P. | Method and apparatus for surveillance via guided wave communication |
| US10637149B2 (en) | 2016-12-06 | 2020-04-28 | At&T Intellectual Property I, L.P. | Injection molded dielectric antenna and methods for use therewith |
| US10135145B2 (en) | 2016-12-06 | 2018-11-20 | At&T Intellectual Property I, L.P. | Apparatus and methods for generating an electromagnetic wave along a transmission medium |
| US9927517B1 (en) | 2016-12-06 | 2018-03-27 | At&T Intellectual Property I, L.P. | Apparatus and methods for sensing rainfall |
| US10439675B2 (en) | 2016-12-06 | 2019-10-08 | At&T Intellectual Property I, L.P. | Method and apparatus for repeating guided wave communication signals |
| US10389029B2 (en) | 2016-12-07 | 2019-08-20 | At&T Intellectual Property I, L.P. | Multi-feed dielectric antenna system with core selection and methods for use therewith |
| US10139820B2 (en) | 2016-12-07 | 2018-11-27 | At&T Intellectual Property I, L.P. | Method and apparatus for deploying equipment of a communication system |
| US10168695B2 (en) | 2016-12-07 | 2019-01-01 | At&T Intellectual Property I, L.P. | Method and apparatus for controlling an unmanned aircraft |
| US9893795B1 (en) | 2016-12-07 | 2018-02-13 | At&T Intellectual Property I, Lp | Method and repeater for broadband distribution |
| US10243270B2 (en) | 2016-12-07 | 2019-03-26 | At&T Intellectual Property I, L.P. | Beam adaptive multi-feed dielectric antenna system and methods for use therewith |
| US10547348B2 (en) | 2016-12-07 | 2020-01-28 | At&T Intellectual Property I, L.P. | Method and apparatus for switching transmission mediums in a communication system |
| US10446936B2 (en) | 2016-12-07 | 2019-10-15 | At&T Intellectual Property I, L.P. | Multi-feed dielectric antenna system and methods for use therewith |
| US10359749B2 (en) | 2016-12-07 | 2019-07-23 | At&T Intellectual Property I, L.P. | Method and apparatus for utilities management via guided wave communication |
| US10027397B2 (en) | 2016-12-07 | 2018-07-17 | At&T Intellectual Property I, L.P. | Distributed antenna system and methods for use therewith |
| US9911020B1 (en) | 2016-12-08 | 2018-03-06 | At&T Intellectual Property I, L.P. | Method and apparatus for tracking via a radio frequency identification device |
| US10777873B2 (en) | 2016-12-08 | 2020-09-15 | At&T Intellectual Property I, L.P. | Method and apparatus for mounting network devices |
| US10103422B2 (en) | 2016-12-08 | 2018-10-16 | At&T Intellectual Property I, L.P. | Method and apparatus for mounting network devices |
| US10601494B2 (en) | 2016-12-08 | 2020-03-24 | At&T Intellectual Property I, L.P. | Dual-band communication device and method for use therewith |
| US10389037B2 (en) | 2016-12-08 | 2019-08-20 | At&T Intellectual Property I, L.P. | Apparatus and methods for selecting sections of an antenna array and use therewith |
| US9998870B1 (en) | 2016-12-08 | 2018-06-12 | At&T Intellectual Property I, L.P. | Method and apparatus for proximity sensing |
| US10916969B2 (en) | 2016-12-08 | 2021-02-09 | At&T Intellectual Property I, L.P. | Method and apparatus for providing power using an inductive coupling |
| US10069535B2 (en) | 2016-12-08 | 2018-09-04 | At&T Intellectual Property I, L.P. | Apparatus and methods for launching electromagnetic waves having a certain electric field structure |
| US10326689B2 (en) | 2016-12-08 | 2019-06-18 | At&T Intellectual Property I, L.P. | Method and system for providing alternative communication paths |
| US10938108B2 (en) | 2016-12-08 | 2021-03-02 | At&T Intellectual Property I, L.P. | Frequency selective multi-feed dielectric antenna system and methods for use therewith |
| US10411356B2 (en) | 2016-12-08 | 2019-09-10 | At&T Intellectual Property I, L.P. | Apparatus and methods for selectively targeting communication devices with an antenna array |
| US10530505B2 (en) | 2016-12-08 | 2020-01-07 | At&T Intellectual Property I, L.P. | Apparatus and methods for launching electromagnetic waves along a transmission medium |
| US9838896B1 (en) | 2016-12-09 | 2017-12-05 | At&T Intellectual Property I, L.P. | Method and apparatus for assessing network coverage |
| US10264586B2 (en) | 2016-12-09 | 2019-04-16 | At&T Mobility Ii Llc | Cloud-based packet controller and methods for use therewith |
| US10340983B2 (en) | 2016-12-09 | 2019-07-02 | At&T Intellectual Property I, L.P. | Method and apparatus for surveying remote sites via guided wave communications |
| US11037892B2 (en) * | 2016-12-30 | 2021-06-15 | Intel Corporation | Substrate dielectric waveguides in semiconductor packages |
| US9973940B1 (en) | 2017-02-27 | 2018-05-15 | At&T Intellectual Property I, L.P. | Apparatus and methods for dynamic impedance matching of a guided wave launcher |
| US10298293B2 (en) | 2017-03-13 | 2019-05-21 | At&T Intellectual Property I, L.P. | Apparatus of communication utilizing wireless network devices |
| RU2662384C1 (ru) * | 2017-04-26 | 2018-07-25 | Алексей Викторович Шторм | Светодиодный экран с беспроводной шиной передачи данных (варианты) |
| US10374278B2 (en) | 2017-09-05 | 2019-08-06 | At&T Intellectual Property I, L.P. | Dielectric coupling system with mode control and methods for use therewith |
| US10446899B2 (en) | 2017-09-05 | 2019-10-15 | At&T Intellectual Property I, L.P. | Flared dielectric coupling system and methods for use therewith |
| US10374277B2 (en) | 2017-09-05 | 2019-08-06 | At&T Intellectual Property I, L.P. | Multi-arm dielectric coupling system and methods for use therewith |
| CN108051775A (zh) * | 2017-10-20 | 2018-05-18 | 上海微波技术研究所(中国电子科技集团公司第五十研究所) | 通过式电子装置的探测系统及方法 |
| US10554235B2 (en) | 2017-11-06 | 2020-02-04 | At&T Intellectual Property I, L.P. | Multi-input multi-output guided wave system and methods for use therewith |
| US10555318B2 (en) | 2017-11-09 | 2020-02-04 | At&T Intellectual Property I, L.P. | Guided wave communication system with resource allocation and methods for use therewith |
| US10355745B2 (en) | 2017-11-09 | 2019-07-16 | At&T Intellectual Property I, L.P. | Guided wave communication system with interference mitigation and methods for use therewith |
| US10003364B1 (en) | 2017-11-09 | 2018-06-19 | At&T Intellectual Property I, L.P. | Guided wave communication system with interference cancellation and methods for use therewith |
| WO2019190550A1 (en) * | 2018-03-30 | 2019-10-03 | Intel Corporation | Guided wave tera-hertz generation apparatus and method using spin orbit effect |
| TWI715306B (zh) | 2019-11-22 | 2021-01-01 | 英業達股份有限公司 | 測試載台 |
| CN113552513A (zh) * | 2020-04-24 | 2021-10-26 | 佳能医疗系统株式会社 | 高频线圈、磁共振成像装置以及数据传输方法 |
| KR102384943B1 (ko) * | 2021-12-14 | 2022-04-12 | 한국해양과학기술원 | 선박용 금속체 통신 표면파 발생 장치 |
Citations (4)
| Publication number | Priority date | Publication date | Assignee | Title |
|---|---|---|---|---|
| JP2003324395A (ja) * | 2002-04-26 | 2003-11-14 | Nippon Telegr & Teleph Corp <Ntt> | 電界データ通信装置 |
| JP2006190215A (ja) * | 2005-01-07 | 2006-07-20 | Nippon Telegr & Teleph Corp <Ntt> | コンピュータシステム |
| JP2008099235A (ja) | 2006-09-11 | 2008-04-24 | Sony Corp | 通信システム及び通信装置 |
| JP2008131372A (ja) | 2006-11-21 | 2008-06-05 | Sony Corp | 通信システム並びに通信装置 |
Family Cites Families (8)
| Publication number | Priority date | Publication date | Assignee | Title |
|---|---|---|---|---|
| US4490700A (en) * | 1982-12-01 | 1984-12-25 | The United States Of America As Represented By The Secretary Of The Army | Dielectric waveguide ferrite modulator/switch |
| JP3780991B2 (ja) * | 2002-09-25 | 2006-05-31 | ブラザー工業株式会社 | ネットワークシステム、電子機器、プログラム、記録媒体 |
| CN101145810B (zh) * | 2006-09-11 | 2011-06-15 | 索尼株式会社 | 通信系统以及通信装置 |
| DE102007027155A1 (de) * | 2007-04-03 | 2008-10-23 | Rohde & Schwarz Gmbh & Co. Kg | Wellenleiter-System mit differenziellem Wellenleiter |
| US8358185B2 (en) * | 2007-08-02 | 2013-01-22 | Mitsubishi Electric Corporation | Waveguide connection between a dielectric substrate and a waveguide substrate having a choke structure in the dielectric substrate |
| JP5282626B2 (ja) * | 2009-03-30 | 2013-09-04 | ソニー株式会社 | 通信装置並びに高周波結合器 |
| JP5309209B2 (ja) * | 2009-03-31 | 2013-10-09 | 京セラ株式会社 | 導波構造体、ならびに、導波構造体を含む高周波モジュールおよびレーダ装置 |
| DE102009003846A1 (de) * | 2009-04-29 | 2010-11-04 | Weidmüller Interface GmbH & Co. KG | System zur berührungslosen Energie- und Datenversorgung von Busteilnehmermodulen |
-
2012
- 2012-01-30 JP JP2012016372A patent/JP2012186796A/ja active Pending
- 2012-02-13 CN CN201280006163.XA patent/CN103329456B/zh not_active Expired - Fee Related
- 2012-02-13 EP EP12746680.3A patent/EP2677669A1/en not_active Withdrawn
- 2012-02-13 US US13/984,092 patent/US9246205B2/en active Active
- 2012-02-13 WO PCT/JP2012/053280 patent/WO2012111617A1/ja not_active Ceased
-
2015
- 2015-12-18 US US14/974,559 patent/US9698460B2/en not_active Expired - Fee Related
Patent Citations (4)
| Publication number | Priority date | Publication date | Assignee | Title |
|---|---|---|---|---|
| JP2003324395A (ja) * | 2002-04-26 | 2003-11-14 | Nippon Telegr & Teleph Corp <Ntt> | 電界データ通信装置 |
| JP2006190215A (ja) * | 2005-01-07 | 2006-07-20 | Nippon Telegr & Teleph Corp <Ntt> | コンピュータシステム |
| JP2008099235A (ja) | 2006-09-11 | 2008-04-24 | Sony Corp | 通信システム及び通信装置 |
| JP2008131372A (ja) | 2006-11-21 | 2008-06-05 | Sony Corp | 通信システム並びに通信装置 |
Cited By (1)
| Publication number | Priority date | Publication date | Assignee | Title |
|---|---|---|---|---|
| TWI707168B (zh) * | 2016-01-29 | 2020-10-11 | 台灣積體電路製造股份有限公司 | 整合式晶片及形成整合式介電質波導的方法 |
Also Published As
| Publication number | Publication date |
|---|---|
| US9698460B2 (en) | 2017-07-04 |
| US20130314182A1 (en) | 2013-11-28 |
| CN103329456A (zh) | 2013-09-25 |
| EP2677669A1 (en) | 2013-12-25 |
| US9246205B2 (en) | 2016-01-26 |
| US20160111766A1 (en) | 2016-04-21 |
| CN103329456B (zh) | 2016-12-21 |
| JP2012186796A (ja) | 2012-09-27 |
Similar Documents
| Publication | Publication Date | Title |
|---|---|---|
| WO2012111617A1 (ja) | 信号伝送装置及び電子機器 | |
| CN101997560B (zh) | 无线传输系统和无线传输方法 | |
| JP5724439B2 (ja) | 電子機器及び電子機器に搭載されるモジュール | |
| EP2330683B1 (en) | In-millimeter-wave dielectric transmission device and method for manufacturing same, and wireless transmission device and wireless transmission method | |
| JP5278210B2 (ja) | 無線伝送システム、電子機器 | |
| CN102592166B (zh) | 信号传输设备、电子设备以及信号传输方法 | |
| US9991579B2 (en) | Waveguide device, communication module and electronic device | |
| US9705169B2 (en) | Waveguide device, communication module, method of producing waveguide device, and electronic device | |
| JP6137355B2 (ja) | 信号伝送装置 | |
| JP4413766B2 (ja) | 電子機器筐体及び無線通信モジュール |
Legal Events
| Date | Code | Title | Description |
|---|---|---|---|
| 121 | Ep: the epo has been informed by wipo that ep was designated in this application |
Ref document number: 12746680 Country of ref document: EP Kind code of ref document: A1 |
|
| WWE | Wipo information: entry into national phase |
Ref document number: 2012746680 Country of ref document: EP |
|
| WWE | Wipo information: entry into national phase |
Ref document number: 13984092 Country of ref document: US |
|
| NENP | Non-entry into the national phase |
Ref country code: DE |