WO2012086359A1 - ビューワ装置、閲覧システム、ビューワプログラム及び記録媒体 - Google Patents

ビューワ装置、閲覧システム、ビューワプログラム及び記録媒体 Download PDF

Info

Publication number
WO2012086359A1
WO2012086359A1 PCT/JP2011/076991 JP2011076991W WO2012086359A1 WO 2012086359 A1 WO2012086359 A1 WO 2012086359A1 JP 2011076991 W JP2011076991 W JP 2011076991W WO 2012086359 A1 WO2012086359 A1 WO 2012086359A1
Authority
WO
WIPO (PCT)
Prior art keywords
balloon
information
sentence
translated
text
Prior art date
Legal status (The legal status is an assumption and is not a legal conclusion. Google has not performed a legal analysis and makes no representation as to the accuracy of the status listed.)
Ceased
Application number
PCT/JP2011/076991
Other languages
English (en)
French (fr)
Japanese (ja)
Inventor
宮本 隆司
Current Assignee (The listed assignees may be inaccurate. Google has not performed a legal analysis and makes no representation or warranty as to the accuracy of the list.)
Fujifilm Corp
Original Assignee
Fujifilm Corp
Priority date (The priority date is an assumption and is not a legal conclusion. Google has not performed a legal analysis and makes no representation as to the accuracy of the date listed.)
Filing date
Publication date
Application filed by Fujifilm Corp filed Critical Fujifilm Corp
Publication of WO2012086359A1 publication Critical patent/WO2012086359A1/ja
Anticipated expiration legal-status Critical
Ceased legal-status Critical Current

Links

Images

Classifications

    • GPHYSICS
    • G06COMPUTING OR CALCULATING; COUNTING
    • G06TIMAGE DATA PROCESSING OR GENERATION, IN GENERAL
    • G06T11/002D [Two Dimensional] image generation
    • GPHYSICS
    • G06COMPUTING OR CALCULATING; COUNTING
    • G06FELECTRIC DIGITAL DATA PROCESSING
    • G06F40/00Handling natural language data
    • G06F40/10Text processing
    • G06F40/103Formatting, i.e. changing of presentation of documents
    • G06F40/106Display of layout of documents; Previewing
    • GPHYSICS
    • G06COMPUTING OR CALCULATING; COUNTING
    • G06FELECTRIC DIGITAL DATA PROCESSING
    • G06F40/00Handling natural language data
    • G06F40/40Processing or translation of natural language
    • G06F40/53Processing of non-Latin text

Definitions

  • the present invention relates to a viewer apparatus, a browsing system, a viewer program, and a recording medium that can display a translated sentence obtained by translating an original sentence into a predetermined language in a balloon of an electronic comic image.
  • Patent Document 1 for vertical writing of a manuscript and horizontal writing of a translated sentence, layout information is rotated and converted into a horizontal writing layout.
  • Patent Document 2 if the name does not fit in the balloon frame, the character series is lowered or the character spacing is reduced.
  • the size of the text box is adjusted so that all the characters of the inserted name can be accommodated without any shortage. Adjust the vertical and horizontal length of the text box according to the vertical / horizontal type and character size.
  • a belt-like telop area is provided on the display screen, and the translated sentence for the speech in the speech balloon is displayed as subtitles in the telop area.
  • Patent Document 6 the omission of the pattern that occurs at the original position of the image is compensated from the constituent pattern of the surrounding image to close it.
  • Patent Document 5 discloses a configuration in which a translated sentence is displayed in a belt-like telop area, but when the translated sentence is displayed around the image, the user recognizes the correspondence between the characters and the translated sentence. It is not easy to do this, and if the translated sentence is mixed with the original sentence, the user cannot properly observe the translated sentence simply by setting a belt-like telop area at the position of the balloon. In addition, when a translated sentence protrudes outside the balloon, there is a problem that characters in the image are hidden in the translated sentence. In addition, some authors do not want to allow changes to the contents of images outside the balloon or changes to the layout, even if the changes are allowed until the translation is displayed.
  • the present invention has been made in view of such circumstances so that when a user browses an electronic comic, the user can appropriately observe the translated sentence while protecting the rights of the author.
  • the purpose is to do.
  • the present invention includes display means, balloon area information indicating an existence area in the image of a balloon in which an image of each page or frame of a comic, and a speech of a comic character is entered.
  • Speech information including text information including translation information obtained by translating the speech of the original text in each speech balloon into a predetermined language, and text information associated with each speech balloon, and the image on the screen of the display means for scroll reproduction or frame
  • Information acquisition means for acquiring electronic comic information including display control information for display by reproduction, and displaying the image on the screen of the display means by scroll reproduction or frame reproduction based on the acquired display control information
  • the entire translated sentence corresponding to the speech balloon is set in advance.
  • Determination means for determining whether or not the character size is entered, and the translation instead of the original text in the speech balloon in the image displayed on the screen based on the acquired speech balloon information and text information
  • a translated sentence display control means for displaying a sentence, and when the determining means determines that the entire sentence of the translated sentence is entered, the translated sentence is displayed in the balloon, and the determining means causes the translated sentence to be displayed.
  • the viewer apparatus is provided with a translated sentence display control means for scrolling the translated sentence within the balloon when it is determined that the whole sentence of the sentence does not enter.
  • the speech balloon in the comic image based on the size of the speech balloon in the comic image, the length of the translated sentence in the speech balloon, and the preset character size, it is determined whether or not the text of the translated text is included in the speech balloon. If it is determined that the entire sentence of the translated sentence is included, the entire sentence of the translated sentence is displayed instead of the original sentence without scrolling in the balloon, and if it is determined that the entire sentence of the translated sentence is not included, the balloon Since the line translation is scrolled, the user can appropriately observe the line translation while protecting the author's rights.
  • the determination unit determines whether or not the entire sentence of the translated sentence corresponding to the balloon is placed in a preset character size in a balloon displayed according to the screen size of the display unit. Is determined.
  • the text information includes character attribute information indicating a character size and a character type
  • the translated sentence display control means is for display based on the text information and the character attribute information. Generate characters.
  • a character size changing means for changing the character size is provided.
  • the translated sentence display control unit adjusts the number of lines, the line interval, or the character interval of the translated sentence arranged in a balloon in an image displayed on the screen of the display unit.
  • the discriminating unit discriminates whether or not the entire sentence of the translated sentence when adjusted by the translated sentence display control unit enters the balloon.
  • the translated sentence display control means scrolls line by line or scrolls all lines simultaneously.
  • the electronic comic information includes information related to a scroll method including at least one of a scroll speed, a scroll direction, scroll start, stop, pause, and repeat method of the translated sentence.
  • the translated sentence display control means scrolls the translated sentence based on information on the scroll method.
  • the translated sentence display control means scrolls the translated sentence endlessly when scrolling the translated sentence in the balloon area.
  • it comprises selection means for selecting whether or not to display an original sentence or translation in the balloon, and the translated sentence display control means selects the display of the translated sentence by the selection means Only when the translation is displayed in the balloon.
  • voice translation means for voice reproduction of the translation sentence is provided, and the translation sentence display control means scrolls the translation sentence according to the voice reproduction speed of the translation sentence.
  • the present invention also provides a browsing system including a user terminal including the function of the viewer device and a server that provides information on the electronic comic in response to a request from the user terminal.
  • the present invention provides a viewer program for realizing the viewer device according to any one of claims 1 to 10.
  • the present invention also provides a recording medium on which the viewer program is recorded.
  • scroll playback display
  • scroll playback display
  • frame playback images are switched and displayed in units of frames.
  • the movement of the display position in the scroll reproduction and the image switching for each frame in the frame reproduction may be any of manual, automatic, and semi-automatic.
  • FIG. 1 shows a configuration of an electronic book browsing system according to a preferred embodiment of the present invention.
  • This system includes a server 1 and an electronic book viewer 2.
  • the server 1 includes an operation device that can receive an instruction input from a specific administrator, an input / output device that can input (acquire) and output various information, a control device that performs various arithmetic processes and controls, and a storage device.
  • the electronic book viewer 2 includes a display device capable of displaying an image, a sound output device capable of outputting sound, an operation device capable of receiving user instruction input, an input / output device capable of inputting (acquiring) and outputting various information, It is a user terminal provided with the control device which performs various arithmetic processing and control.
  • the electronic book viewer 2 is configured by a mobile terminal such as a mobile phone, a mobile game machine, and a mobile computer device, for example. It should be noted that an unspecified number of electronic book viewers 2 accessing the server 1 may be used.
  • the server 1 includes an analysis unit 10, a database (DB) 11, an operation unit 16, and an input / output unit 17.
  • DB database
  • the server 1 includes an analysis unit 10, a database (DB) 11, an operation unit 16, and an input / output unit 17.
  • the DB 11 stores electronic comic information 12. Details of the electronic comic information will be described later.
  • the analysis unit 10 is composed of a control device such as a CPU.
  • the DB 11 is configured by a storage device such as a hard disk or a memory.
  • the operation unit 16 includes operation devices such as a keyboard, a mouse, and a touch pad.
  • the electronic comic information includes an analysis result output from the analysis unit 10, information input from the operation unit 16, or information input via the input / output unit 17.
  • the analysis unit 10 analyzes a digital content image (manga image) generated from the original content and generates incidental information of the content image.
  • the original content is a book including a manga image
  • the content image to be distributed is a page-unit (or frame-unit) image (regardless of live-action or drawing).
  • the content image includes a speech balloon as shown in FIGS. 2A to 2D and a dialogue within the speech balloon.
  • FIG. 3 shows electronic comic information composed of a header, a page-based (or frame-based) content image, and supplementary information of the content image.
  • the electronic comic information is composed of one file, but the content image and the incidental information may be stored separately in different files and may be composed of a plurality of files.
  • the header indicates file attributes (file name, etc.).
  • a content image is a manga image in page units (or frame units) and is associated with page numbers (or frame numbers).
  • the content image is created, for example, by converting the original content into electronic data using a scanner or the like.
  • Original content is organized in pages, such as manga, newspapers, weekly magazines, office documents (such as presentation documents), textbooks, and reference books.
  • the storage format of the content image is arbitrary, and is stored in a format such as a PDF file or a JPEG image file.
  • the content image includes a schematic image and a detailed image (high resolution data), and is prepared for each page, frame, or anchor point. Information indicating the enlargement permission area may be added.
  • the incidental information includes search information, balloon information, text information, character information, display control information, automatic reading attribute information, reproduction effect information, and other information.
  • Search information is tag information used for search. For example, page number (page identification information), frame number (frame identification information), episode number (episode identification information, indicating, for example, what episode), title, author, publisher (copyright owner), total number of pages Such information may be included.
  • Balloon information is information regarding balloons in content images in page units (or frame units). For example, balloon area information indicating the existence area in the content image of the speech balloon, the shape of the speech balloon, the position and orientation of the speech balloon origin (the speech balloon vertex), the balloon stroke attribute (dotted line, solid line, etc.), content image elements (Such as the speaker) and the relative position of the speech balloon origin (for example, the minimum distance between the speech balloon vertex and the speaker's face pointed by the speech balloon vertex), the speech balloon size, the speech speaker identification information, and the speech balloon belonging It is a top.
  • balloon area information indicating the existence area in the content image of the speech balloon, the shape of the speech balloon, the position and orientation of the speech balloon origin (the speech balloon vertex), the balloon stroke attribute (dotted line, solid line, etc.), content image elements (Such as the speaker) and the relative position of the speech balloon origin (for example, the minimum distance between the speech balloon vertex and the speaker's face pointed by the speech balloon vertex), the speech balloon size, the speech
  • the balloon area information is, for example, information indicating the position of the balloon drawing line (frame line) in the content image (for example, position information of a plurality of points corresponding to the balloon shape on the drawing line, or vector information of the entire drawing line).
  • the balloon area information may be bitmap information indicating the entire area (range) of the balloon.
  • the balloon area information may be represented by a specific position (center position) of the balloon and the size of the balloon. For example, if there are four types of balloons as shown in FIGS. 2A to 2D, the identification information A to D corresponding to each type is stored as the attribute of the stroke drawn line.
  • the text information is information related to the text in the content image. For example, text (sentence), character attribute information, number of lines, line spacing, character spacing, display switching method, language used, vertical writing / horizontal writing, and reading direction corresponding to each frame and each balloon.
  • the character attribute information includes a character size (number of points, etc.) and a character type (font, emphasized character, etc.).
  • the text information includes the speech of the speaker in the speech balloon.
  • translated texts of various languages corresponding to the lines of the original text arranged in the balloon and the language used may be included in this text information.
  • the display switching method may include scroll control information (scroll method) such as scroll speed, scroll direction, scroll start, stop, pause, and repeat method.
  • Character information is information about the speaker of the speech in the speech balloon.
  • speaker area information such as face area information
  • speaker identification information such as name
  • speaker attributes such as speaker attributes, age, etc.
  • a speaker means a source of speech bubbles, and includes not only human beings but also non-living animals such as animals, telephones, personal computers, electronic devices, and robots.
  • Display control information is information related to display control in page units or frame units. This information includes screen scrolling and / or screen switching.
  • the screen scroll information may include, as detailed information, scroll speed, scroll direction, scroll order, scroll start, end, pause, repeat method, and the like.
  • the screen switching information may include, as detailed information, switching units (such as frames), switching timing determination methods (manual, automatic, semi-automatic), display effects associated with switching (wipe, fade-in / fade-out, dissolve), and the like. .
  • Attribute information for automatic reading includes, for example, reading speed, volume, speaker emotion, and the like.
  • Display control information includes playback scenarios.
  • the playback scenario consists of the magnification rate of the detailed image, which is the unit of the partial display area of the content image, the display switching speed from the detailed image corresponding to the previous anchor point to the detailed image corresponding to the next anchor point, and the display switching.
  • Method saccharging, fade-out / fade-in, etc.
  • gaze stop time at each anchor point or frame that is, duration of display of detailed image corresponding to each anchor point, overview image in content and details Image positioning (page, section), transition order of anchor points, heading information, and the like are included.
  • the anchor point is a position (ice top) where the line of sight stops in a partial area (typically a frame or a part of a frame) for each page.
  • the playback scenario includes a stay time that matches the text amount of the detailed image corresponding to each anchor point. Since the amount of information in one screen increases as the amount of text in the detailed image around each anchor point increases, the stay time is set longer in the playback scenario.
  • the electronic book viewer 2 that has accessed the server 1 for the enlargement rate of the detailed image at each anchor point, or the residence time for each model that matches the screen size for each model is set in the playback scenario.
  • This speed may be determined from the past browsing speed corresponding to the user of the electronic book viewer 2 who has accessed the server 1 acquired as the playback state information, or a plurality of electronic books that have played back the same playback content You may determine by applying the speed of the past browsing acquired from the viewer 2 as reproduction
  • the display switching method may be determined according to an instruction from the user of the electronic book viewer 2 to the operation unit 27, may be a predetermined default switching method, or may be set based on content analysis information. . For example, if the movement destination in the line-of-sight direction of the character in the content of a certain frame a coincides with frame b that is the destination of the anchor point movement direction, the display switching method from frame a to frame b is set to scroll.
  • the information related to the reading voice includes, for example, the contents of the reading voice, the start timing / end timing, the reading speed, the reading voice volume, and the reading speaker attributes (gender, age, etc.).
  • the content of the read-out voice may be a recorded voice or an artificial voice. When the content of the reading voice is an artificial voice, it can be shared with the contents of the speech balloon and / or the accompanying voice.
  • onomatopoeia also includes information on accompanying audio.
  • the contents of onomatopoeia and sound effects text information of the original text and translated text
  • the onomatopoeia may be acquired from the content image by the analysis unit 10 or may be input from the input / output unit 17 or the like.
  • the character information not included in the balloon is the content of the onomatopoeia. Translations in various languages corresponding to onomatopoeia can also be included in this information.
  • Playback effect information is information related to playback effects.
  • the types of effects such as terminal vibration, screen shaking, screen flash, screen switching, and start timing.
  • Other information includes page information such as information about page turning (for example, left / right opening) and line feed direction (for vertical writing). Further, the other information includes a page margin area and advertisement data arranged in the area.
  • the other information includes change permission / inhibition information.
  • the change permission / inhibition information is setting information indicating whether or not the original content can be modified, such as layout change permission / inhibition. For example, it indicates whether or not translation display, balloon expansion, balloon shape change, image change, speech reading of dialogue and onomatopoeia, and horizontal reversal of the entire page. It is possible to set whether or not modification can be performed independently for each modification item. For example, it is possible to set to permit the display of the translated text but to prohibit the horizontal flipping of the entire page. Settings such as allowing scroll playback (scroll view) but prohibiting frame playback (frame view) are also possible.
  • the analysis unit 10 of the server 1 analyzes the content image stored in the DB 11.
  • the incidental information obtained as a result of the analysis becomes electronic comic information together with the content image.
  • the electronic comic information may be a page unit, a frame unit, or an episode unit.
  • a known image analysis technique and text analysis technique are used for the analysis of the content image by the analysis unit 10.
  • the position, size, and type of content elements such as a face, an animal, a building, an automobile, and other objects may be automatically detected based on the feature amounts related to the image information.
  • Automatic detection of content image elements may be performed based on machine learning. For example, based on the sample manga for learning, the detection accuracy of the outer edge of the frame or balloon, the threshold for determining the validity of a frame or balloon other than a rectangle, and the like are set empirically.
  • the speech (original text) in the balloon may be recognized by OCR (optical character reading), and the area surrounding it may be recognized as the balloon area.
  • OCR optical character reading
  • Each character of the read dialogue is sorted according to the direction of the character. For example, if the dialogue is written vertically, it is sorted from the beginning to the end of the column, and from the right column to the left column.
  • the frame number or dialogue number is determined according to a predetermined rule. For example, the representative point of each frame or balloon (such as the center or the center of gravity of the frame or balloon) is sequentially scanned in the horizontal direction from the top right to the bottom left of the frame or balloon included in the content analysis result information. Thus, the page number or dialogue number is determined.
  • the representative point of each frame is the position (anchor point) where the line of sight of the content element for each page stops, and the display unit of the content is switched by scrolling or switching starting from the anchor point.
  • the page number or dialogue number may be determined according to a rule according to the author of the content.
  • the content analysis rule may be a rule according to the author and type of content learned by artificial intelligence, as well as a rule according to the author and type of content.
  • Rule learning is performed as follows, for example. First, correct rules are prepared in advance for each of a plurality of basic patterns. The analysis unit 10 extracts feature quantities (thickness and length of the frame boundary line) for each of the plurality of basic patterns. Then, the analysis unit 10 estimates the reading order of frames assumed by the content creator from the extracted feature values. The analysis unit 10 compares the reading order estimated for each basic pattern with the correct rule, and optimizes the parameter for estimating the reading order of the frames. The analysis unit 10 estimates the reading order of the comic frames according to the optimized parameters.
  • the analysis unit 10 analyzes the content image stored in the DB 11.
  • the information acquired as a result of the analysis is incidental information.
  • the electronic comic information includes information related to the page analysis result of the analysis unit 10.
  • a known image analysis technique and text analysis technique are used.
  • the position, size, and type of content elements such as a face, an animal, a building, an automobile, and other objects may be automatically detected based on the feature amounts related to the image information.
  • Automatic detection of content elements may be performed based on machine learning. For example, based on the sample manga for learning, the detection accuracy of the outer edge of the frame or balloon, the threshold for determining the validity of the frame or balloon other than the rectangular area, and the like are set empirically.
  • the text sentence (serif) inside the balloon may be recognized by OCR, and the area surrounding it may be recognized as a serif area.
  • Each character of the read line is sorted according to the direction of the character. For example, if the words are written vertically, they are sorted from the beginning to the end of the column, and from the right column to the left column.
  • the frame number or serif number is determined according to a predetermined rule. For example, if the content type is manga, the representative point of each frame or balloon (such as the center or center of gravity of the frame or balloon) from the top right to the bottom left of the frame or balloon included in the content analysis information
  • the page number or serif number is determined by sequentially scanning in the horizontal direction.
  • the representative point of each frame is the position (anchor point) where the line of sight of the content element for each page stops, and the display unit of the content is switched by scrolling or switching starting from the anchor point.
  • the page number or the serif number can be determined according to a rule according to the author of the content.
  • the content analysis rule may be a rule according to the author and type of content learned by artificial intelligence, as well as a rule according to the author and type of content.
  • Rule learning is performed as follows, for example. First, correct rules are prepared in advance for each of a plurality of basic patterns. The analysis unit 10 extracts feature quantities (thickness and length of the frame boundary line) for each of the plurality of basic patterns. Then, the analysis unit 10 estimates the reading order of frames assumed by the content creator from the extracted feature values. The analysis unit 10 compares the reading order estimated for each basic pattern with the correct rule, and optimizes the parameter for estimating the reading order of the frames. The analysis unit 10 estimates the reading order of the comic frames according to the optimized parameters.
  • the original content is a manga and the original content image is an image corresponding to each page of the manga.
  • Manga is content that consists of both pictures (whether live-action or drawing) and lines.
  • the electronic book viewer 2 includes a database (DB) 21, a display unit 24, a display control unit 25, an audio playback unit 26, an operation unit 27, an input / output unit 29, and an execution control unit 30.
  • DB database
  • the electronic book viewer 2 includes a database (DB) 21, a display unit 24, a display control unit 25, an audio playback unit 26, an operation unit 27, an input / output unit 29, and an execution control unit 30.
  • the electronic comic information includes, as described above, content information for each page or frame of a comic, speech balloon information including speech balloon area information indicating a presence area in a content image of a speech balloon in which the dialogue of a comic character is entered,
  • speech balloon information including speech balloon area information indicating a presence area in a content image of a speech balloon in which the dialogue of a comic character is entered
  • text information associated with each speech balloon including text translated from a sentence in the speech balloon translated into a predetermined language, and a content image on the screen of the display unit 24 by scroll playback or frame playback.
  • Display control information Display control information.
  • the display unit 24 is a display unit configured with a display device capable of displaying an image.
  • the display unit 24 is configured by an LCD, for example.
  • the display control unit 25 displays the content image on the screen of the display unit 24 by scroll reproduction (or frame reproduction) based on the display control information in the supplementary information as image display control means.
  • the display control unit 25 serves as a translated text display control unit, instead of the dialogue of the original text in the balloon in the content image displayed on the screen of the display unit 24 based on the balloon information and text information in the supplementary information. , Display the translated text in the balloon. Specifically, the display control unit 25 generates display characters based on the text information and the character attribute information of the accompanying information.
  • the voice reproduction unit 26 and the speaker 28 read out the text in the content image as automatic reading means based on the text information of the auxiliary information and the automatic reading attribute information.
  • the operation unit 27 receives user instruction input.
  • the operation unit 27 may be a touch sensor arranged on the screen of the display unit 24, a key input device, or a pointing device.
  • the input / output unit 29 inputs / outputs various information.
  • the input / output unit 29 of this example is configured by a communication device that communicates with the server 1.
  • the electronic comic information is received by transmitting an electronic comic information request to the server 1 and receiving the electronic comic information from the server 1. get.
  • the input / output unit 29 is not particularly limited to the communication unit as in this example, and may be a unit that performs writing / reading on a computer-readable recording medium.
  • the execution control unit 30 determines whether or not the entire sentence of the translation corresponding to the balloon is included in the balloon in the image displayed on the screen of the display unit 24 as a determination unit. Specifically, the execution control unit 30, based on the screen size information stored in advance in the DB 21 and the balloon information and text information of the accompanying information, in a balloon displayed according to the screen size of the display unit 24. Then, it is determined whether or not the entire sentence of the translated sentence enters with a preset character size.
  • the size of characters displayed on the display unit 24 can be changed by operating the operation unit 27.
  • the display control unit 25 displays the entire sentence of the translated sentence in the balloon, and the execution control unit 30 does not include the entire sentence of the translated sentence. If it is determined, the translation is scrolled in the balloon.
  • the display control unit 25 has a function of adjusting the number of lines, the line spacing, or the character spacing of the translation sentence arranged in the balloon in the image displayed on the screen of the display unit 24.
  • the execution control unit 30 determines whether or not the entire translated sentence when adjusted by the display control unit 25 enters the balloon.
  • the display control unit 25 may scroll and display the translated sentence in accordance with the voice reproduction speed of the translated sentence in the voice reproducing unit 26.
  • the audio playback speed may be extracted from the accompanying information.
  • the information in the DB 11 of the server 1 and the information in the DB 21 of the electronic book viewer 2 do not have to be completely the same.
  • the DB 11 is a library that stores various types of content images, for example, images of each volume of manga by different authors, in order to respond to requests from various users. It is sufficient that only the electronic comic information that the user of the electronic book viewer 2 wants to browse is stored in the DB 21.
  • FIG. 4 is a flowchart of distribution processing executed between the server 1 and the electronic book viewer 2.
  • the electronic book viewer 2 executes S1 and S4, and the server 1 executes S2 and S3.
  • Programs for causing the server 1 and the electronic book viewer 2 to execute this processing are stored in computer-readable storage media (RAM, ROM, CDROM, etc.) provided in the server 1 and the electronic book viewer 2, respectively.
  • the server 1 is waiting for a content request, and when receiving a content request from the electronic book viewer 2 via the input / output unit 17, the process proceeds to S3.
  • the server 1 transmits the electronic comic information 12 stored in the DB 11 as content to the electronic book viewer 2 via the input / output unit 17.
  • the transmission of the electronic comic information 12 may be performed in units of pages or frames.
  • the electronic book viewer 2 receives the electronic comic information 12 via the input / output unit 17 and stores it in the DB 21.
  • the acquisition mode of the electronic comic information is not particularly limited.
  • electronic comic information may be read from a recording medium such as a memory card.
  • the electronic book viewer 2 that has acquired the electronic comic information proceeds to display processing described later.
  • FIG. 5 shows a flowchart of a scroll view display process example (scroll playback process example) executed by the electronic book viewer 2.
  • FIG. 6 is a flowchart of a frame view display process example (frame playback process example) executed by the electronic book viewer 2. The process in either FIG. 5 or 6 is executed according to the selection from the operation unit 27.
  • the display control unit 25 sets the first anchor point of the page of the specified content image as the current anchor point based on the electronic comic information 22 of the DB 21.
  • the display control unit 25 cuts out a display image from the content image of the entire page on the basis of the current anchor point, and sets this as the current image. Instead of cutting out the image, a detailed image can be read out from the electronic comic information 22 to be the current image.
  • the display control unit 25 displays a detailed image on the display unit 24.
  • the display control unit 25 determines whether the stay time corresponding to the current anchor point has elapsed based on the incidental information. In the case of Yes, it progresses to S14, and in No, it returns to S12.
  • the display control unit 25 determines whether or not the current anchor point is the last anchor point of the page. In the case of Yes, it progresses to S21 and the display of the said page is complete
  • the display control unit 25 newly sets the next anchor point next to the current anchor point as the current anchor point.
  • the display control unit 25 cuts out a display image from the image of the entire page on the basis of the current anchor point, and sets this as the next detailed image.
  • a detailed image of the electronic comic information 22 can be used instead of cutting out the image.
  • the display control unit 25 displays the content image while scrolling from the detailed image currently displayed to the next detailed image by a predetermined increment (for example, by one dot).
  • the content display control unit 25 determines whether the scroll display of the content image has reached the next detailed image. If Yes, the process returns to S12, and the next detailed image is displayed. If No, the process returns to S16 and continues scrolling.
  • the display control unit 25 sets the first frame as the current frame based on the frame order of the content image of the designated page.
  • the display control unit 25 cuts out the partial image corresponding to the current frame from the content image, and sets this as the current frame image.
  • a detailed image can be read out from the electronic comic information 22 and used instead of cutting out the image.
  • the display control unit 25 displays the current frame image on the display unit 24.
  • the display control unit 25 determines whether the stay time corresponding to the current frame has elapsed based on the supplementary information of the electronic comic information 22. In the case of Yes, it progresses to S35, and in No, it returns to S33.
  • the display control unit 25 determines whether or not the current frame is the last frame of the page. In the case of Yes, it progresses to S36 and the display of the said page is complete
  • the display control unit 25 newly sets the next frame next to the current frame as the current frame. Then, returning to S32, a partial image corresponding to the current frame is cut out or a detailed image is read out, and this is set as the current frame image. The subsequent processing is the same as described above.
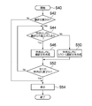
  • FIG. 7 is a flowchart showing an example of content image display processing (S12 in FIG. 5 and S33 in FIG. 6) executed by the electronic book viewer 2. This process is executed by the control device (execution control unit 30) of the electronic book viewer 2 according to the viewer program.
  • FIG. 8 is a content image distributed from the server 1 and shows a content image in which the speech of the original text is contained in the balloon.
  • step S40 the display control unit 25 starts an image display process based on the electronic comic information 22 of the DB 21.
  • the content image is switched in accordance with an image feed instruction input to the operation unit 27.
  • the unit for switching the content image is a page (or frame).
  • the order of switching follows the page number (or frame number). However, since the user may desire irregular browsing such as skipping a page (or frame), a content image switching operation ignoring this order may be allowed.
  • step S42 the display control unit 25 performs the original text display for displaying the dialogue as the original text embedded in the content image, or the translated text display for displaying the translation text included in the supplementary information of the content image. Determine. If the original sentence is displayed, the process proceeds to step S52. If the translated sentence is displayed, the process proceeds to step S44.
  • the operation unit 27 accepts an instruction to select whether to display the original text or the translated text.
  • the original text display is set as the default, and the translated text is displayed only when the selection of the translated text is instructed.
  • step S44 the display control unit 25 uses the balloon information in the content image displayed on the screen of the display unit 24 based on the balloon information and text information of the supplementary information and the screen size information stored in the DB 21. Then, it is determined whether or not the entire translated sentence corresponding to the balloon is entered with a preset character size. If Yes (when the entire sentence of the translated sentence is included in the balloon area), the process proceeds to step S46, and if No (when the entire sentence of the translated sentence is not included in the area of the balloon), the process proceeds to step S50.
  • the horizontal display size of the balloon is compared with the display size of one translated sentence for each horizontal line of the translated sentence, and one translated sentence line is compared. If the display size of is larger, the entire sentence of the translated sentence does not enter the balloon, so it is determined that the balloon needs to be enlarged. If the translated sentence of the dialogue is written vertically, the vertical display size of the balloon is compared with the display size of one translated sentence for each vertical line of the translated sentence, When the display size is larger, it is determined that the balloon needs to be enlarged because the entire sentence of the translated sentence does not enter the balloon.
  • step S46 the display control unit 25 synthesizes the entire sentence of the translated sentence in the balloon area of the content image.
  • the display control unit 25 synthesizes the scroll translation sentence in the balloon area of the content image in step S50.
  • the scroll translated sentence includes the entire translated sentence and scroll control information indicating a scroll method.
  • the scroll control information is information included in the text information in the accompanying information of the electronic comic information received from the server 1.
  • step S52 the display control unit 25 determines whether or not the translated text synthesis of all the balloons in the content image has been completed.
  • step S54 the display control unit 25 causes the display unit 24 to display the content image.
  • original text display translation text non-display
  • a content image shown in FIG. 8 is displayed on the screen of the display unit 24.
  • the entire sentence of the translated sentence (“You" re great. Ritsuko.) is displayed at once in the speech balloon, and in the case of the translated text display, if it is determined in step S44 that the entire sentence of the translated text does not enter the speech balloon area, FIG.
  • the entire translated sentence (“An assistant has been ready for this situation.”) Is scrolled and displayed in the balloon, that is, the display control unit 25 controls the scrolling of the accompanying information. Based on the information, the translated text is scrolled and displayed in the balloon.
  • the content image (page image for each page or frame image for each frame), balloon information including balloon area information indicating the balloon area in the content image, and the original text in each balloon Control for displaying text information including translated text obtained by translating the dialogue of the text into a predetermined language and associated with each balloon, and a content image on the screen of the display unit 24 by scroll playback or frame playback
  • text information including translated text obtained by translating the dialogue of the text into a predetermined language and associated with each balloon
  • a content image on the screen of the display unit 24 by scroll playback or frame playback In the display process of acquiring an electronic comic having information (S4) and displaying the content image by scroll playback or frame playback on the screen of the display unit 24 based on the acquired display control information, at least balloon information and text information In the balloon in the content image displayed on the screen of the display unit 24.
  • the user can browse the entire sentence of the translated sentence in the balloon by scrolling the translated sentence in the balloon.
  • FIG. 11 shows a case where four lines are displayed.
  • the user can view the translated sentence by scrolling from the end of the first line to the beginning of the second line, from the end of the second line to the beginning of the third line, and from the end of the third line to the beginning of the fourth line.
  • You can recognize the contents of the translation by looking at many characters at once.
  • the number of scroll lines is not particularly limited, and is switched by the display control unit 25 based on the incidental information and the display size of the balloon area. Instead of displaying in endless, the number of repetitions may be limited.
  • the display control unit 25 when it is determined by the execution control unit 30 that the entire sentence of the translated sentence does not fall within the balloon area with a preset character size, the display control unit 25, as shown in FIG.
  • the translated text is separated by a line feed and scrolled for each character string.
  • “Now, I can speak English.” Is scrolled on the first line of the speech bubble (upper row), and “Happy, happy, I'm happy.” Is displayed on the second row (lower row) of the speech bubble. Scroll display. If scroll display is performed for each character string in this way, the user can easily recognize the contents of the translated sentence. For example, the display control unit 25 scrolls the entire sentence of the translated sentence adjusted to a plurality of lines one line at a time or all lines simultaneously.
  • the display control unit 25 when it is determined by the execution control unit 30 that the entire sentence of the translation does not fall within the balloon area with a preset character size, the display control unit 25, as shown in FIG. Based on the balloon information of the accompanying information, the number of characters for each line is switched according to the balloon shape. In this way, even for a circular balloon, for example, the number of characters that can be visually recognized (displayed) at the same time can be maximized according to the balloon shape.
  • the execution control unit 30 and the display control unit 25 in FIG. 1 perform various control processes (for example, search, translation display, automatic reading, playback effect, etc.) other than those described in this specification based on the supplementary information in FIG. Others) may be performed.
  • the viewer device may be implemented by any user terminal provided with display means capable of displaying an image.
  • the recording medium on which the viewer program for realizing the viewer device described in the present specification (the electronic book viewer 2 in the embodiment) is recorded may be any recording medium capable of recording the program.
  • Server 2 Electronic book viewer 24: Display unit 25: Display control unit 26: Audio playback unit 27: Operation unit 29: Input / output unit 30: Execution control unit

Landscapes

  • Engineering & Computer Science (AREA)
  • Theoretical Computer Science (AREA)
  • Physics & Mathematics (AREA)
  • General Physics & Mathematics (AREA)
  • Audiology, Speech & Language Pathology (AREA)
  • Computational Linguistics (AREA)
  • General Health & Medical Sciences (AREA)
  • Health & Medical Sciences (AREA)
  • General Engineering & Computer Science (AREA)
  • Artificial Intelligence (AREA)
  • User Interface Of Digital Computer (AREA)
  • Processing Or Creating Images (AREA)
  • Document Processing Apparatus (AREA)
PCT/JP2011/076991 2010-12-22 2011-11-24 ビューワ装置、閲覧システム、ビューワプログラム及び記録媒体 Ceased WO2012086359A1 (ja)

Applications Claiming Priority (2)

Application Number Priority Date Filing Date Title
JP2010286395A JP2012133663A (ja) 2010-12-22 2010-12-22 ビューワ装置、閲覧システム、ビューワプログラム及び記録媒体
JP2010-286395 2010-12-22

Publications (1)

Publication Number Publication Date
WO2012086359A1 true WO2012086359A1 (ja) 2012-06-28

Family

ID=46313641

Family Applications (1)

Application Number Title Priority Date Filing Date
PCT/JP2011/076991 Ceased WO2012086359A1 (ja) 2010-12-22 2011-11-24 ビューワ装置、閲覧システム、ビューワプログラム及び記録媒体

Country Status (2)

Country Link
JP (1) JP2012133663A (enExample)
WO (1) WO2012086359A1 (enExample)

Cited By (2)

* Cited by examiner, † Cited by third party
Publication number Priority date Publication date Assignee Title
JP2018511102A (ja) * 2015-02-03 2018-04-19 ネイバーウェブトゥーン コーポレーション インターネット漫画コンテンツの流通のための方法とシステム、および記録媒体
JP2025518475A (ja) * 2022-05-24 2025-06-17 北京字跳▲網▼絡技▲術▼有限公司 メッセージ処理方法、装置、機器及び媒体

Families Citing this family (6)

* Cited by examiner, † Cited by third party
Publication number Priority date Publication date Assignee Title
KR101724144B1 (ko) * 2015-01-28 2017-04-06 네이버 주식회사 만화 데이터 표시 장치 및 방법
CN105718448B (zh) * 2016-01-13 2019-03-19 北京新美互通科技有限公司 一种对输入字符进行自动翻译的方法和装置
JP6462962B2 (ja) * 2016-08-10 2019-01-30 楽天株式会社 情報処理装置、情報処理方法、プログラム、記憶媒体
KR102279164B1 (ko) * 2019-03-27 2021-07-19 네이버 주식회사 인공지능 모델을 이용한 이미지 편집 방법 및 장치
JP6726342B1 (ja) * 2019-07-23 2020-07-22 エヌエイチエヌ コーポレーション サーバ、プログラム、方法及びシステム
KR20220145038A (ko) * 2021-04-21 2022-10-28 삼성전자주식회사 번역을 수행하는 방법 및 전자 장치

Citations (3)

* Cited by examiner, † Cited by third party
Publication number Priority date Publication date Assignee Title
JP2002073062A (ja) * 2000-08-23 2002-03-12 Sharp Corp 文章読み上げ装置及び方法並びにこれに利用される記憶媒体
JP2003022269A (ja) * 2001-07-09 2003-01-24 Kyodo Printing Co Ltd 漫画翻訳装置及びそのシステム並びに漫画翻訳方法
JP2010176429A (ja) * 2009-01-29 2010-08-12 Dainippon Printing Co Ltd 電子コンテンツ配信システム

Family Cites Families (3)

* Cited by examiner, † Cited by third party
Publication number Priority date Publication date Assignee Title
JPH05108716A (ja) * 1991-10-21 1993-04-30 Oki Electric Ind Co Ltd 機械翻訳装置
JP2001338307A (ja) * 2000-05-29 2001-12-07 Sharp Corp 電子まんが作成装置および電子まんが表示装置
JP3486159B2 (ja) * 2000-08-01 2004-01-13 克 三宅 漫画編集支援装置、漫画編集支援システム、および漫画編集支援プログラムを記録した記録媒体

Patent Citations (3)

* Cited by examiner, † Cited by third party
Publication number Priority date Publication date Assignee Title
JP2002073062A (ja) * 2000-08-23 2002-03-12 Sharp Corp 文章読み上げ装置及び方法並びにこれに利用される記憶媒体
JP2003022269A (ja) * 2001-07-09 2003-01-24 Kyodo Printing Co Ltd 漫画翻訳装置及びそのシステム並びに漫画翻訳方法
JP2010176429A (ja) * 2009-01-29 2010-08-12 Dainippon Printing Co Ltd 電子コンテンツ配信システム

Cited By (3)

* Cited by examiner, † Cited by third party
Publication number Priority date Publication date Assignee Title
JP2018511102A (ja) * 2015-02-03 2018-04-19 ネイバーウェブトゥーン コーポレーション インターネット漫画コンテンツの流通のための方法とシステム、および記録媒体
JP2025518475A (ja) * 2022-05-24 2025-06-17 北京字跳▲網▼絡技▲術▼有限公司 メッセージ処理方法、装置、機器及び媒体
JP7772971B2 (ja) 2022-05-24 2025-11-18 北京字跳▲網▼絡技▲術▼有限公司 メッセージ処理方法、装置、電子機器及び媒体

Also Published As

Publication number Publication date
JP2012133663A (ja) 2012-07-12

Similar Documents

Publication Publication Date Title
JP5674450B2 (ja) 電子コミックのビューワ装置、電子コミックの閲覧システム、ビューワプログラム、該ビューワプログラムが記録された記録媒体ならびに電子コミックの表示方法
US8719029B2 (en) File format, server, viewer device for digital comic, digital comic generation device
JP5634853B2 (ja) 電子コミックのビューワ装置、電子コミックの閲覧システム、ビューワプログラム、ならびに電子コミックの表示方法
US11657725B2 (en) E-reader interface system with audio and highlighting synchronization for digital books
US7603620B2 (en) Creating visualizations of documents
WO2012086359A1 (ja) ビューワ装置、閲覧システム、ビューワプログラム及び記録媒体
US20080235564A1 (en) Methods for converting electronic content descriptions
US8812969B2 (en) Methods for authoring and interacting with multimedia representations of documents
JP5674451B2 (ja) ビューワ装置、閲覧システム、ビューワプログラム及び記録媒体
US20110097693A1 (en) Aligning chunk translations for language learners
US20070168852A1 (en) Methods for computing a navigation path
US20120196260A1 (en) Electronic Comic (E-Comic) Metadata Processing
JP5312420B2 (ja) コンテンツ解析装置、方法およびプログラム
CA2544391A1 (en) Information storage medium containing subtitles and processing apparatus therefor
US20180067902A1 (en) Textual Content Speed Player
JP5083155B2 (ja) 辞書機能を備えた電子装置およびプログラム
JP6731011B2 (ja) 電子図書の表示用データの作成装置
KR101843133B1 (ko) 판서 영상 생성 방법, 장치 및 컴퓨터 프로그램
WO2014042051A1 (ja) コンテンツ作成装置、方法およびプログラム
Erol et al. Multimedia clip generation from documents for browsing on mobile devices
KR101843135B1 (ko) 영상 처리 방법, 장치 및 컴퓨터 프로그램
JP2022051500A (ja) 関連情報提供方法及びシステム
KR101125358B1 (ko) 컴퓨터를 이용한 멀티미디어 프레젠테이션 운용장치 및 멀티미디어 프레젠테이션의 분할된 제어화면 배치방법
JPH11112698A (ja) 印刷システム
JP2013015698A (ja) 表示装置、表示装置方法、および、表示プログラム

Legal Events

Date Code Title Description
121 Ep: the epo has been informed by wipo that ep was designated in this application

Ref document number: 11850426

Country of ref document: EP

Kind code of ref document: A1

DPE1 Request for preliminary examination filed after expiration of 19th month from priority date (pct application filed from 20040101)
NENP Non-entry into the national phase

Ref country code: DE

122 Ep: pct application non-entry in european phase

Ref document number: 11850426

Country of ref document: EP

Kind code of ref document: A1