WO2012043604A1 - 電池モジュール用セルユニットの締結構造及び締結部材 - Google Patents

電池モジュール用セルユニットの締結構造及び締結部材 Download PDF

Info

Publication number
WO2012043604A1
WO2012043604A1 PCT/JP2011/072139 JP2011072139W WO2012043604A1 WO 2012043604 A1 WO2012043604 A1 WO 2012043604A1 JP 2011072139 W JP2011072139 W JP 2011072139W WO 2012043604 A1 WO2012043604 A1 WO 2012043604A1
Authority
WO
WIPO (PCT)
Prior art keywords
spacer
cell unit
spacers
fastening member
battery module
Prior art date
Legal status (The legal status is an assumption and is not a legal conclusion. Google has not performed a legal analysis and makes no representation as to the accuracy of the status listed.)
Ceased
Application number
PCT/JP2011/072139
Other languages
English (en)
French (fr)
Japanese (ja)
Inventor
隆平 西田
Current Assignee (The listed assignees may be inaccurate. Google has not performed a legal analysis and makes no representation or warranty as to the accuracy of the list.)
Nifco Inc
Original Assignee
Nifco Inc
Priority date (The priority date is an assumption and is not a legal conclusion. Google has not performed a legal analysis and makes no representation as to the accuracy of the date listed.)
Filing date
Publication date
Application filed by Nifco Inc filed Critical Nifco Inc
Publication of WO2012043604A1 publication Critical patent/WO2012043604A1/ja
Anticipated expiration legal-status Critical
Ceased legal-status Critical Current

Links

Images

Classifications

    • HELECTRICITY
    • H01ELECTRIC ELEMENTS
    • H01MPROCESSES OR MEANS, e.g. BATTERIES, FOR THE DIRECT CONVERSION OF CHEMICAL ENERGY INTO ELECTRICAL ENERGY
    • H01M10/00Secondary cells; Manufacture thereof
    • H01M10/02Details
    • HELECTRICITY
    • H01ELECTRIC ELEMENTS
    • H01MPROCESSES OR MEANS, e.g. BATTERIES, FOR THE DIRECT CONVERSION OF CHEMICAL ENERGY INTO ELECTRICAL ENERGY
    • H01M50/00Constructional details or processes of manufacture of the non-active parts of electrochemical cells other than fuel cells, e.g. hybrid cells
    • H01M50/20Mountings; Secondary casings or frames; Racks, modules or packs; Suspension devices; Shock absorbers; Transport or carrying devices; Holders
    • H01M50/204Racks, modules or packs for multiple batteries or multiple cells
    • H01M50/207Racks, modules or packs for multiple batteries or multiple cells characterised by their shape
    • H01M50/209Racks, modules or packs for multiple batteries or multiple cells characterised by their shape adapted for prismatic or rectangular cells
    • HELECTRICITY
    • H01ELECTRIC ELEMENTS
    • H01MPROCESSES OR MEANS, e.g. BATTERIES, FOR THE DIRECT CONVERSION OF CHEMICAL ENERGY INTO ELECTRICAL ENERGY
    • H01M10/00Secondary cells; Manufacture thereof
    • H01M10/04Construction or manufacture in general
    • H01M10/0481Compression means other than compression means for stacks of electrodes and separators
    • YGENERAL TAGGING OF NEW TECHNOLOGICAL DEVELOPMENTS; GENERAL TAGGING OF CROSS-SECTIONAL TECHNOLOGIES SPANNING OVER SEVERAL SECTIONS OF THE IPC; TECHNICAL SUBJECTS COVERED BY FORMER USPC CROSS-REFERENCE ART COLLECTIONS [XRACs] AND DIGESTS
    • Y02TECHNOLOGIES OR APPLICATIONS FOR MITIGATION OR ADAPTATION AGAINST CLIMATE CHANGE
    • Y02EREDUCTION OF GREENHOUSE GAS [GHG] EMISSIONS, RELATED TO ENERGY GENERATION, TRANSMISSION OR DISTRIBUTION
    • Y02E60/00Enabling technologies; Technologies with a potential or indirect contribution to GHG emissions mitigation
    • Y02E60/10Energy storage using batteries

Definitions

  • the present invention relates to a battery module cell unit fastening structure in which a plurality of flat batteries having electrode terminals are stacked and the electrode terminals of each flat battery are electrically connected to increase the output and / or capacity, and the fastening.
  • the present invention relates to a fastening member used for a structure.
  • FIGS. 9A to 10B show a cell unit disclosed in Patent Document 1 and a battery module using the cell unit.
  • the battery module 100 shown in FIG. 9 has a structure in which the cell unit 140 shown in FIG. 9B is housed in a metal case 120 (lower case 122 and upper case 124), as shown in FIG. 9A. It is not limited to one use, but a plurality of batteries are connected in series or in parallel, and are produced as an assembled battery according to the target current, voltage and capacity.
  • the cell unit 140 includes a plurality of flat batteries 144A to 144D (144) and a plurality of spacers 160A to 160E (160) that sandwich each flat battery from above and below and stack them in a non-contact state. ), 161A to 161E (161), and a fastening member 170 that restrains each spacer (the fastening member on the spacer 161 side is omitted).
  • Each flat battery 144 includes a power generation element with electrode terminals 147 and 148, an exterior material that seals the power generation element except for the electrode terminals, and the like.
  • each spacer 160 has a window portion 163, a through-hole 164, a voltage detection portion 169, and the like.
  • the electrode terminal 147 is disposed so as to be sandwiched from above and below.
  • Each spacer 161 has a through-hole 165 and is disposed on the rear side of the stacked body 142 so as to sandwich the other electrode terminal 148 of each flat battery from above and below.
  • the window portion 163 exposes a part of the electrode terminals, and can electrically connect each flat battery 144.
  • the through holes 164 and 165 correspond to the through holes 130 provided at the four corners of the case 122, and bolts (not shown) are inserted therethrough.
  • the voltage detection unit 169 exposes the peripheral portion of the sandwiched electrode terminal and is disposed in the opening 134 provided on the case front surface 123. However, the voltage detection unit 169 may be configured by a dedicated terminal.
  • the upper surface of the uppermost spacer 160A and the lower surface of the lowermost spacer 160E are formed in the recesses 162 for fitting the fastening members.
  • the spacer 160E has an output terminal 166 electrically joined to the electrode terminal 147 through the bus bar 196, and the spacer 160B has an output terminal 167 electrically joined to the electrode terminal 147.
  • Each output terminal protrudes from openings 132 and 133 provided on the case front surface 123.
  • the fastening member 170 has a substantially U-shaped longitudinal section composed of a main body base portion 172 and upper and lower side surface portions 190, and sandwiches the spacer 160 of the laminated body from above and below by both side surface portions 190.
  • the main body base 172 has openings 174 and 175 in the vicinity of both sides and an insertion port 176 in the center.
  • the openings 174 and 175 can project the output terminals 166 and 167 and have projecting portions 184 and 185 extending to the edge.
  • the protruding portions 184 and 185 have a cylindrical wall portion 186 and an extended portion 188 at the tip thereof, and protrude from the opening portions 132 and 133 of the case as shown in FIG.
  • the flat batteries 144A to 144D are stacked in a non-contact state at the front and rear portions via the spacers 160 and 161, and the stacked body 142 is the fastening member 170 (the fastening member on the spacer 161 side is omitted).
  • the upper and lower side surfaces 190 are recessed on the outer surface side of the uppermost spacers 160A and 160E. By being fitted to 162, the restraint is integrated.
  • the cell unit 140 is housed in the case 120 from the constrained state and is created as the battery module 100.
  • the battery modules 100 are stacked in the required number according to the use or specifications, and are connected by fixing means such as bolts inserted into the case side through holes 130 and the spacer side through holes 164 and 165 as the assembled batteries. Built.
  • the laminate is constrained to a state in which the spacers at the front and rear portions are integrated by the fastening member, but it is stored in a case as a battery module or built as a battery pack.
  • a flat battery or spacers may move in a minute amount and cause a failure such as electrical connection.
  • As a countermeasure for example, in addition to the fastening member, it is conceivable to reinforce the binding force on the laminated body by other coupling means.
  • the number of members and the number of assembly steps increase, which makes it difficult to employ.
  • the present invention provides a battery module cell unit capable of more securely and firmly restraining and holding a plurality of flat batteries and spacers without increasing the number of members and the number of assembling steps. .
  • the present invention provides a fastening structure for a battery module cell unit having the following feature (1).
  • each of the plurality of flat batteries is sandwiched from above and below by a spacer and stacked in a non-contact state, and each spacer is restrained by a fastening member.
  • the fastening member has a substantially U-shaped longitudinal section and has an engaging portion provided on the opposing inner surface, and each spacer is interposed between the opposing inner surfaces. The spacers are clamped between the engaging portions and the portions facing the engaging portions in the arranged state to restrict the movement of the spacers.
  • the “engagement portion provided on the opposing inner surface” is a first configuration in which an engagement portion is provided on each of the opposing inner surfaces of the fastening member; And a second configuration in which an engagement portion is provided only on one of the opposing inner surfaces of the fastening member.
  • “holding each spacer between the engaging portion and a portion facing the engaging portion” means that each spacer is divided between the engaging portion and the engaging portion. It becomes the structure to clamp.
  • each spacer is sandwiched between one engaging portion and the side portion of the substantially U-shaped side portion constituting the fastening member, the side portion not provided with the engaging portion, and Become.
  • the fastening structure of the battery module cell unit having the feature (1) further preferably has the following features (2) to (4).
  • an engagement portion is provided in a spacer arranged at the uppermost lower stage, and at the same time as each spacer is sandwiched between the fastening members, the engagement portion engages with the engagement portion
  • a fastening member is the structure which clamps each said spacer in the engagement state of the said engaging part and the said to-be-engaged part.
  • the present invention provides a fastening member for use in a fastening structure of a cell unit for a battery module having any one of the above features (1) to (4), wherein the following (5) A fastening member having features is provided.
  • a fastening member that integrates a laminated body in which each of a plurality of flat batteries is laminated in a non-contact state by sandwiching each flat battery from above and below by restraining each spacer.
  • the fastening member having the feature (5) more preferably has the following feature (6).
  • the battery module cell unit fastening structure according to the present invention has the feature (1), so that the engagement member is provided on one of the opposing inner surfaces in a state in which the fastening members sandwich the spacers inside the substantially U shape. Since each spacer is further clamped between the portion and the portion facing the engaging portion, the position of each spacer can be regulated more reliably. Thereby, in this structure, a flat battery or spacers can be restrained more reliably and firmly without increasing the number of members or increasing the number of assembly steps.
  • the fastening structure of the battery unit cell unit of the present invention further has the feature (2), so that each spacer is sandwiched within the substantially U shape of the fastening member, and at the same time, the engaged portion provided in the lowermost spacer. Part and the fastening member side engaging part are in the engaged state, and in addition to the regulating force for clamping the spacers within the substantially U shape of the fastening member, the left and right by the engagement between the engaging part and the engaged part and A regulating force in the vertical direction can be applied, thereby improving the reliability and quality of the battery module cell unit.
  • the fastening structure of the cell unit for battery module of the present invention further has the feature (3), so that the fastening member also serves as an insulating cover arranged to cover the outside of each spacer, thereby increasing the number of members. Can be easily implemented.
  • the fastening structure of the cell unit for battery module of the present invention further has the feature (4), so that when the insulating cover is assembled to each spacer, it is fitted to each other by the positioning means so as to prevent positional deviation and with high accuracy. Constraints can be integrated.
  • the fastening member used for the fastening structure of the battery unit cell unit of the present invention has the feature of (5), thereby restraining the flat battery stacks or spacers constituting the battery module cell unit.
  • the fastening member used in the fastening structure of the battery module cell unit of the present invention further has the feature (6), so that the fastening member is provided at the left and right ends in the longitudinal direction, and part of both side surfaces of each spacer is provided. Due to the presence of the curved portion to be covered, a more stable assembled state can be obtained for the laminated body or each spacer.
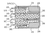
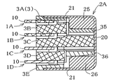
  • FIG. 2 is an enlarged cross-sectional view in which a cross section cut along the line AA in FIG.
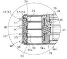
  • FIG. 2 is an enlarged cross-sectional view in which a cross section cut along line BB in FIG.
  • FIG. 2 is an enlarged cross-sectional view in which a cross section cut along a line CC in FIG.
  • FIG. 2 is an enlarged sectional view in which a section cut along a line DD in FIG. 1A is enlarged and a partial enlarged view thereof.
  • FIG. 10 is an exploded view of the cell unit shown in FIG. It is a block diagram of the laminated body of the flat battery which comprises the cell unit shown in FIG.9 (b).
  • FIGS. 1 (a) to 6 (b) the outline of the cell unit for the battery module according to the embodiment of the present invention shown in FIGS. 1 (a) to 6 (b), the fastening structure and its advantages, FIGS. 7 (a) and 7 (b).
  • the same members and parts as those of the battery module cell unit according to the embodiment of the present invention shown in FIGS. 1 (a) to 6 (b) are denoted by the same reference numerals. Therefore, the explanation is omitted, and only the changes are described in detail.
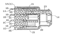
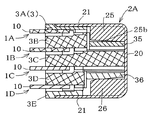
  • the battery module cell unit 5 includes a laminate 4 and fastening members 2 ⁇ / b> A and 2 ⁇ / b> B that also serve as an insulating cover.
  • the battery module cell unit 5 is the same as the conventional battery module cell unit in that it is housed in a metal case as shown in FIG.
  • the stacked body 4 includes a plurality of flat batteries 1A to 1D and a plurality of spacers that hold the flat batteries 1A to 1D in a stacked state.
  • each of the plurality of flat batteries 1A to 1D includes a plurality of spacers 3A to 3E provided on the front side of the stacked body 4 and a plurality of spacers provided on the rear side.
  • the flat batteries 1A to 1D are stacked so as not to contact each other, that is, in a non-contact state.
  • the fastening member 2A is attached so as to cover the plurality of spacers 3A to 3E on the front side, and restrains and holds these spacers 3A to 3E.
  • the fastening member 2A is attached so as to cover a plurality of rear spacers (not shown), and holds and holds these spacers.
  • the fastening members 2A and 2B constituting the fastening structure are the same in that both have a substantially U-shaped longitudinal section and engaging portions 25 and 26 provided on opposing inner surfaces.
  • the fastening member 2A holds the spacers 3A to 3E on the front side
  • the fastening member 2B holds the spacers on the back side between the substantially U-shaped opposed inner surfaces.
  • a portion facing the piece 25 in the case of FIG. 3, the piece 26, in the case of FIG. 8B of the substantially U-shaped side parts 21 constituting the fastening member
  • the movement of the laminated body 4 or each spacer is regulated by being sandwiched by the side part 21) on which the piece part 25 is not provided.
  • the fastening members 2A and 2B constituting the fastening structure are symmetrical to each other except for the cylindrical portion 23 and the like, a detailed description of the fastening member 2B is omitted, and only the fastening member 2A.
  • the detailed structure will be described in detail.
  • the front spacers 3A to 3E and the rear spacers have different shapes depending on the presence or absence of output terminals, but the portions related to the fastening structure have the same shape, so the details of the rear spacers are detailed. The detailed structure of only the front spacers 3A to 3E will be described in detail.
  • symbol 1 is used when it applies regardless of any of flat battery 1A, 1B, 1C, 1D.
  • symbol 2 is used when it applies regardless of either the fastening member 2A or the fastening member 2B.
  • Reference numeral 3 is used when any of the spacers 3A, 3B, 3C, 3D, and 3E is applicable.
  • the flat battery 1 is a lithium ion secondary battery or the like, and includes a power generation element (not shown) and front and rear end electrode terminals 10 connected to the power generation element (see FIGS. 2A to 2C). ), And an exterior material 11 (see FIGS. 1A and 1B) covering the power generating element.
  • 4A and 4B schematically show the flat batteries 1A to 1D, and FIG. 2A to FIG. 2C, FIG. 7A, FIG. 4B, and FIG. In FIG. 8A and FIG. 8B, the exterior material 11 is omitted.
  • the stacked body 4 is formed by moving the flat batteries 1A to 1D up and down one by one by the front spacers 3A to 3E and the rear spacers (not shown). Are stacked in a non-contact state.
  • the fastening member 2A is assembled by being pushed into the front spacers 3A to 3E in a state where the flat batteries 1A to 1D are sandwiched between the front spacers 3A to 3E.
  • the fastening member 2B is assembled by pressing the flat batteries 1A to 1D into the rear spacers while being sandwiched by the rear spacers.
  • the laminated body 4 is integrated to form the battery module cell unit 5 by restraining and holding the spacers before and after the flat batteries 1A to 1D with the fastening members 2A and 2B.
  • FIG. 5 shows details of the spacers 3A to 3E.
  • Each spacer 3 has a length corresponding to the width of the flat battery 1.
  • These spacers 3 are manufactured by, for example, resin injection molding.
  • the uppermost spacer 3A and the lower spacer 3B sandwich the electrode terminal 10 of the flat battery 1A from above and below, and the spacer 3B and the lower spacer 3C sandwich the electrode terminal 10 of the flat battery 1B from above and below.
  • 3C and the lower spacer 3D sandwich the electrode terminal 10 of the flat battery 1C from above and below, and the spacer 3D and the lowermost spacer 3E sandwich the electrode terminal 10 of the flat battery 1D from above and below.
  • Each spacer 3 is provided with a plurality of cutout portions 33 or 33a that expose a part of the electrode terminal 10 by cutting out the front portion.
  • through holes 34 are provided in both end portions 30 of the spacers 3A and 3E and both end portions 31 of the spacers 3B to 3D.
  • the lower cylindrical portion 30a corresponding to the through-hole 34 of the spacer 3A is fitted into the large-diameter upper portion 34a of the through-hole 34 of the spacer 3B, and corresponding to the through-hole 34 of the spacer 3B.
  • the lower cylinder portion 31a is fitted into the upper diameter large hole portion 34a of the through hole 34 of the spacer 3C, and the lower cylinder portion 30a corresponding to the through hole 34 of the spacer 3C is inserted into the through hole 34 of the spacer 3D.
  • the through-hole 34 is fitted in the large-diameter hole portion 34a on the upper side of the spacer 3D and the cylindrical portion 31a provided corresponding to the through-hole 34 of the spacer 3D is fitted in the large-diameter hole portion 34a of the spacer 3E. It has become.
  • each of the spacers 3A to 3E is laminated on both sides through fitting of the cylindrical portion 30a and the large-diameter hole portion 34a, so that the vertical and horizontal movements are restricted.
  • the spacers 3A and 3E are provided in a central portion of the outer surface and serve as both a positioning means and a locking means, and a concave portion 38 that is also provided outside the both end portions 30 and serves as a positioning means and a locking means. have.
  • the spacer 3B is provided with an arrangement portion 37a for positioning the output terminal 14.
  • the output terminal 14 is connected to the electrode terminal 10 of the flat battery 1A disposed between the spacers 3A and 3B and the electrode terminal 10 of the flat battery 1B disposed between the spacers 3B and 3C. 13a and 13b are formed.
  • the spacer 3D is provided with an arrangement portion 38a for positioning the output terminal 12 and an opening 38b.
  • the output terminal 12 is a connecting portion connected to the electrode terminal 10 of the flat battery 1C disposed between the spacers 3C and 3D and the electrode terminal 10 of the flat battery 1D disposed between the spacers 3D and 3E. 11a and 11b are formed.
  • the bus bar 16 is disposed along the left notch 33 or 33a.
  • the bus bar 16 is formed in a step shape so that it can be connected to the electrode terminals 10 of the flat batteries 1A to 1D.
  • the uppermost flat plate portion of the bus bar 16 is positioned and locked between the spacer 3A and the spacer 3B, and the lowermost flat plate portion 16a is disposed on the left notch 33 of the spacer 3E. These are similar to the spacer configuration disclosed in Patent Document 1.
  • the spacer 3 ⁇ / b> A has a receiving portion 35 as an engaged portion provided inside the both end portions 30, and the spacer 3 ⁇ / b> E is engaged inside the both end portions 30. It has the receiving part 36 as a part.
  • the receiving part 35 and the receiving part 36 are provided on substantially the same line.
  • the receiving portions 35 on both sides are substantially concave in a side view and face each other with a predetermined distance.
  • the receiving portions 36 on both sides have an inverted concave shape in a side view and face each other with a predetermined distance.
  • the length of each receiving part 35 is a dimension which contacts the upper corresponding part of the intermediate spacer 3C through the notch 33a of the spacer 3B.
  • the length of each receiving part 36 is a dimension which contacts the lower side corresponding part of intermediate spacer 3C through notch 33a of spacer 3D.
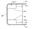
  • FIG. 6A is a perspective view of the details of the fastening member of the battery module cell unit 5 as seen from the back side.
  • FIG. 6B is an enlarged cross-sectional view enlarging a cross section taken along the line EE of FIG.
  • the fastening member 2A has a container shape having a size corresponding to the spacers 3A to 3E assembled as the laminate 4. That is, the fastening member 2A has a substantially U-shaped longitudinal section including an intermediate portion 20 and upper and lower side portions 21, and has curved portions 22 provided at left and right ends in the longitudinal direction. ) And the spacers 3 constituting the laminate 4 shown in FIG. 4B can be accommodated inside.
  • the fastening member 2A is manufactured, for example, by injection molding a resin.
  • the outer surface of the intermediate portion 20 has a substantially rectangular tube portion 23 projecting according to each output terminal 12, 14 of the spacer 3, and the output terminal 12, 14 can protrude outward from the corresponding tube portion 23. It has become.
  • a through hole 24 penetrating on the coaxial line is provided in the vicinity of the left and right curved portions 22 on the side portion 21 facing the upper and lower sides of the fastening member 2A.
  • Each through hole 24 overlaps with the through hole 34 of each spacer 3 in a state where the fastening member 2A is mounted on each spacer 3 of the laminate 4 and assembled as the cell unit 5 for battery modules.
  • substantially rectangular pieces 25 and 26 as engagement portions are provided slightly closer to the center than the left and right through holes 24.
  • the piece 25 is disposed so as to be opposed to the piece 26 in the vertical direction, and extends to substantially the front and rear of the side portion 21 with the rear surface and the upper surface or the lower surface joined to the inner surface of the intermediate portion and the inner surface of the side portion. .
  • the corner portions on the front side of the pieces 25 and 26 are formed on the inclined surfaces 25a and 26a.
  • a longitudinal rib 27 is provided on the inner surface of the intermediate portion 20 slightly from the center than the one side portions 25 and 26 on one side.
  • the vertical rib 27 extends directly above the left-side cutout 33 of the spacer 3E, and abuts against the lowermost flat plate portion 16a that is the free end of the bus bar 16 as shown in the partially enlarged view of FIG. The swing of the is regulated.
  • the left and right curved portions 22 are provided with a convex portion 28 on the inner surface and slightly below the upper and lower side portions 21.
  • the upper and lower side surfaces 21 have claw portions 29 on the inner surface and provided in the middle of the left and right sides.
  • Each convex portion 28 forms positioning means or locking means with the corresponding concave portions 38 of the spacers 3A and 3E.
  • claw part 29 comprises the positioning means or the latching means with the recessed part 39 to which spacer 3A, 3E respond
  • the above fastening member 2A is assembled to each spacer 3 constituting the laminate 4 shown in FIGS. 4 (a) and 4 (b) by a pushing operation in the direction of the arrow in FIG. 3 is integrated as a battery module cell unit 5.
  • this operation itself is the same as the conventional one, the above fastening structure realizes the following advantages over the conventional structure.
  • each convex part 28 on both sides is provided with the corresponding concave part 38 on the spacer side and the intermediate part. Since each nail
  • the other spacers 3B to 3D are sandwiched from above and below by the lowermost spacers 3A and 3E whose positions are restricted, and the positions of the left and right and up and down movements are reliably restricted.
  • the plurality of flat batteries 1 and the spacers 3 can be more securely and firmly restrained and held without increasing the number of members or the number of assembly steps.
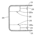
  • Modification 1 described with reference to FIGS. 7A and 7B is an example in which the shape of the piece portion 25 that is the above-described engagement portion is changed.
  • the piece 25A has a surface facing the piece 26 formed on the inclined surface 25b.
  • the inclined surface 25b is set to a taper that gradually increases the distance from the opposing surface of the piece portion 26 as the distance from the intermediate portion 20 increases. For this reason, in this fastening structure, when the fastening member 2A is mounted on each spacer 3, as shown in FIG. 7A, the half portion 25 is the lowermost portion of the inclined surface 25b with respect to the receiving portion 35. A portion close to 20 is locally pressed.
  • a similar inclined surface may be formed on the one portion 26 or a similar inclined surface may be formed on the receiving portion 35 or 36 side.
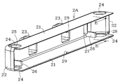
  • Modification 2 described with reference to FIG. 8A is an example in which the shapes of the receiving portions 35 and 36 described above are changed.
  • the receiving portions 35a on both sides are substantially L-shaped in a side view and face each other with a predetermined distance.
  • the receiving portions 36a on both sides are reverse L-shaped in a side view and face each other with a predetermined distance.
  • each of the receiving portions 35a and 36a has a simpler shape than the above-described embodiment described with reference to FIGS. Since the left and right receiving portions 35a provided on 3A and 3E are respectively fitted from the inside, the fine movement of the spacers 3 in the left and right direction can be restricted to the same extent as in the above embodiment.
  • Modification 3 described with reference to FIG. 8B is an example in which one of the above-described pieces 25 and 26 and one of the receiving portions 35 and 36 corresponding thereto are omitted.
  • the side portions 25 on both sides and the receiving portions 35 to which they are fitted are the same as in the above embodiment.
  • the piece portions 26 on both sides and the receiving portions 35 fitted to the two portions are omitted.
  • the spacer 3E is formed with an overhanging portion 36b instead of the receiving portion 36 of the above form.

Landscapes

  • Chemical & Material Sciences (AREA)
  • Chemical Kinetics & Catalysis (AREA)
  • Electrochemistry (AREA)
  • General Chemical & Material Sciences (AREA)
  • Engineering & Computer Science (AREA)
  • Manufacturing & Machinery (AREA)
  • Battery Mounting, Suspending (AREA)
  • Connection Of Plates (AREA)
PCT/JP2011/072139 2010-10-01 2011-09-28 電池モジュール用セルユニットの締結構造及び締結部材 Ceased WO2012043604A1 (ja)

Applications Claiming Priority (2)

Application Number Priority Date Filing Date Title
JP2010223653A JP2012079543A (ja) 2010-10-01 2010-10-01 電池モジュール用セルユニットの締結構造及び締結部材
JP2010-223653 2010-10-01

Publications (1)

Publication Number Publication Date
WO2012043604A1 true WO2012043604A1 (ja) 2012-04-05

Family

ID=45893043

Family Applications (1)

Application Number Title Priority Date Filing Date
PCT/JP2011/072139 Ceased WO2012043604A1 (ja) 2010-10-01 2011-09-28 電池モジュール用セルユニットの締結構造及び締結部材

Country Status (2)

Country Link
JP (1) JP2012079543A (enExample)
WO (1) WO2012043604A1 (enExample)

Families Citing this family (2)

* Cited by examiner, † Cited by third party
Publication number Priority date Publication date Assignee Title
JP5895488B2 (ja) * 2011-12-02 2016-03-30 日産自動車株式会社 位置決め部材および金型
JP6156546B2 (ja) * 2016-04-27 2017-07-05 株式会社Gsユアサ バッテリモジュール

Citations (5)

* Cited by examiner, † Cited by third party
Publication number Priority date Publication date Assignee Title
JP2008147089A (ja) * 2006-12-12 2008-06-26 Nissan Motor Co Ltd 電池モジュールとその製造方法
JP2009231267A (ja) * 2008-02-29 2009-10-08 Nissan Motor Co Ltd 電池モジュールおよび電池モジュールの製造方法
JP2009259581A (ja) * 2008-04-16 2009-11-05 Nec Tokin Corp 電池モジュール
JP2010092610A (ja) * 2008-10-03 2010-04-22 Toyota Motor Corp 組電池構造体、車両、電池搭載機器及び組電池構造体の製造方法
JP2010519676A (ja) * 2006-10-23 2010-06-03 エルジー・ケム・リミテッド バッテリーモジュールにおける電極接続部材

Patent Citations (5)

* Cited by examiner, † Cited by third party
Publication number Priority date Publication date Assignee Title
JP2010519676A (ja) * 2006-10-23 2010-06-03 エルジー・ケム・リミテッド バッテリーモジュールにおける電極接続部材
JP2008147089A (ja) * 2006-12-12 2008-06-26 Nissan Motor Co Ltd 電池モジュールとその製造方法
JP2009231267A (ja) * 2008-02-29 2009-10-08 Nissan Motor Co Ltd 電池モジュールおよび電池モジュールの製造方法
JP2009259581A (ja) * 2008-04-16 2009-11-05 Nec Tokin Corp 電池モジュール
JP2010092610A (ja) * 2008-10-03 2010-04-22 Toyota Motor Corp 組電池構造体、車両、電池搭載機器及び組電池構造体の製造方法

Also Published As

Publication number Publication date
JP2012079543A (ja) 2012-04-19

Similar Documents

Publication Publication Date Title
US8808907B2 (en) Battery module
CN202308182U (zh) 二次电池
JP2009231126A (ja) 電池パック
JPWO2013073046A1 (ja) 二次電池モジュール
CN108780861A (zh) 电源装置
JP6564048B2 (ja) 組電池
US11848463B2 (en) Power storage device
CN111033795A (zh) 约束部件以及电池模块
JP2014179196A (ja) 二次電池の接続構造およびこれを備えた二次電池装置
JP5137354B2 (ja) 電源装置
JP4792697B2 (ja) 二次電池
KR20210008495A (ko) 막 전극 조립체, 막 전극 조립체를 갖는 연료 전지 스택, 및 연료 전지 스택용 정렬 도구
JP6170937B2 (ja) 蓄電デバイスおよび蓄電モジュール
CN100533814C (zh) 密封型电池及其制造方法
WO2012043604A1 (ja) 電池モジュール用セルユニットの締結構造及び締結部材
JP2019117732A (ja) 蓄電装置
WO2020238531A1 (zh) 二次电池
JP2014078365A (ja) 蓄電モジュール
WO2019065034A1 (ja) 電源装置
KR20200075478A (ko) 힌지 구조를 포함하는 버스바 프레임 및 이를 포함하는 전지팩
CN115275498A (zh) 电池组用板和电池组
WO2021161587A1 (ja) 電池モジュール
CN112335113A (zh) 蓄电装置
JP2010108733A (ja) 電池モジュール
JP7070444B2 (ja) 燃料電池セルユニット

Legal Events

Date Code Title Description
121 Ep: the epo has been informed by wipo that ep was designated in this application

Ref document number: 11829157

Country of ref document: EP

Kind code of ref document: A1

NENP Non-entry into the national phase

Ref country code: DE

122 Ep: pct application non-entry in european phase

Ref document number: 11829157

Country of ref document: EP

Kind code of ref document: A1