WO2011122004A1 - Imaging apparatus and imaging method - Google Patents

Imaging apparatus and imaging method Download PDF

Info

Publication number
WO2011122004A1
WO2011122004A1 PCT/JP2011/001868 JP2011001868W WO2011122004A1 WO 2011122004 A1 WO2011122004 A1 WO 2011122004A1 JP 2011001868 W JP2011001868 W JP 2011001868W WO 2011122004 A1 WO2011122004 A1 WO 2011122004A1
Authority
WO
WIPO (PCT)
Prior art keywords
imaging
light beams
inspection object
measurement light
display
Prior art date
Legal status (The legal status is an assumption and is not a legal conclusion. Google has not performed a legal analysis and makes no representation as to the accuracy of the status listed.)
Ceased
Application number
PCT/JP2011/001868
Other languages
English (en)
French (fr)
Inventor
Tsutomu Utagawa
Makoto Sato
Yukio Sakagawa
Current Assignee (The listed assignees may be inaccurate. Google has not performed a legal analysis and makes no representation or warranty as to the accuracy of the list.)
Canon Inc
Original Assignee
Canon Inc
Priority date (The priority date is an assumption and is not a legal conclusion. Google has not performed a legal analysis and makes no representation as to the accuracy of the date listed.)
Filing date
Publication date
Application filed by Canon Inc filed Critical Canon Inc
Priority to US13/634,527 priority Critical patent/US8820933B2/en
Priority to CN201180017918.1A priority patent/CN102834046B/zh
Priority to EP11716076A priority patent/EP2552298A1/en
Priority to KR1020127026813A priority patent/KR101407385B1/ko
Publication of WO2011122004A1 publication Critical patent/WO2011122004A1/en
Anticipated expiration legal-status Critical
Ceased legal-status Critical Current

Links

Images

Classifications

    • AHUMAN NECESSITIES
    • A61MEDICAL OR VETERINARY SCIENCE; HYGIENE
    • A61BDIAGNOSIS; SURGERY; IDENTIFICATION
    • A61B3/00Apparatus for testing the eyes; Instruments for examining the eyes
    • A61B3/10Objective types, i.e. instruments for examining the eyes independent of the patients' perceptions or reactions
    • AHUMAN NECESSITIES
    • A61MEDICAL OR VETERINARY SCIENCE; HYGIENE
    • A61BDIAGNOSIS; SURGERY; IDENTIFICATION
    • A61B3/00Apparatus for testing the eyes; Instruments for examining the eyes
    • A61B3/10Objective types, i.e. instruments for examining the eyes independent of the patients' perceptions or reactions
    • A61B3/102Objective types, i.e. instruments for examining the eyes independent of the patients' perceptions or reactions for optical coherence tomography [OCT]
    • AHUMAN NECESSITIES
    • A61MEDICAL OR VETERINARY SCIENCE; HYGIENE
    • A61BDIAGNOSIS; SURGERY; IDENTIFICATION
    • A61B3/00Apparatus for testing the eyes; Instruments for examining the eyes
    • A61B3/10Objective types, i.e. instruments for examining the eyes independent of the patients' perceptions or reactions
    • A61B3/12Objective types, i.e. instruments for examining the eyes independent of the patients' perceptions or reactions for looking at the eye fundus, e.g. ophthalmoscopes
    • GPHYSICS
    • G01MEASURING; TESTING
    • G01BMEASURING LENGTH, THICKNESS OR SIMILAR LINEAR DIMENSIONS; MEASURING ANGLES; MEASURING AREAS; MEASURING IRREGULARITIES OF SURFACES OR CONTOURS
    • G01B9/00Measuring instruments characterised by the use of optical techniques
    • G01B9/02Interferometers

Definitions

  • the present invention relates to an imaging apparatus and an imaging method, and more particularly, to an imaging apparatus and an imaging method that captures an image of an object to be inspected using a plurality of measurement light beams.
  • an imaging apparatus (hereinafter, sometimes referred to as an optical coherence tomography (OCT) apparatus) that captures a tomographic image (hereinafter, sometimes referred to as an optical coherence tomographic image) of an inspection object using an optical coherence tomography (OCT) utilizing interference by a low-coherence light has been used in the medical field, particularly in the ophthalmic field. Since an OCT apparatus utilizes the properties of light, the OCT apparatus can acquire tomographic images at high resolution on a micrometer base which is an order of wavelength of light.
  • OCT optical coherence tomography
  • an OCT which irradiates the pupil (anterior eye portion) with a plurality of measurement light beams is discussed in Japanese Unexamined Patent Application Publication (Translation of PCT Application) No. 2008-508068. Since an irradiating region per one measurement light beam can be narrowed, the three-dimensional structure can be captured at a high speed.
  • an imaging apparatus includes an irradiation unit configured to irradiate an inspection object with a plurality of measurement light beams, an intersection image acquisition unit configured to acquire an intersection image of the inspection object in a direction intersecting a direction in which the inspection object is irradiated with the plurality of measurement light beams, an intersection image display control unit configured to cause a display unit to display the intersection image, and a scanning range display control unit configured to cause the display unit to display a scanning range of the plurality of measurement light beams by being associated with the intersection image.
  • an imaging apparatus capable of capturing optical coherence tomographic images of an inspection object based on a plurality of combined light beams each obtained by combining a plurality of return light beams from the inspection object irradiated with a plurality of measurement light beams and a plurality of reference light beams each corresponding to the plurality of measurement light beams includes a selection unit configured to select at least one of a plurality of imaging modes with different imaging conditions, and an acquisition unit configured to acquire the optical coherence tomographic images according to the imaging mode selected by the selection unit.
  • a method for capturing optical coherence tomographic images of an inspection object based on a plurality of combined light beams each obtained by combining a plurality of return light beams from the inspection object irradiated with a plurality of measurement light beams and a plurality of reference light beams each corresponding to the plurality of measurement light beams includes displaying an intersection image of the inspection object in a direction intersecting a direction in which the inspection object is irradiated with the plurality of measurement light beams, and displaying a scanning range of the plurality of measurement light beams on the display unit by being associated with the intersection image.
  • a method for capturing optical coherence tomographic images of an inspection object based on a plurality of combined light beams each obtained by combining a plurality of return light beams from the inspection object irradiated with a plurality of measurement light beams and a plurality of reference light beams each corresponding to the plurality of measurement light beams includes selecting at least one from among a plurality of imaging modes with different imaging conditions, and acquiring the optical coherence tomographic images according to the selected imaging mode.
  • An imaging apparatus can cause a display unit to display scanning ranges of a plurality of measurement light beams by being associated with intersection images of an inspection object. Accordingly, controllability can be improved for each measurement light beam (or for each optical coherence tomographic image), and the imaging apparatus with good convenience for the user can be provided.
  • FIG. 1A Fig. 1A illustrates an imaging apparatus according to a first exemplary embodiment of the present invention.
  • FIG. 1B Fig. 1B illustrates an imaging apparatus according to the first exemplary embodiment.
  • FIG. 2A Fig. 2A illustrates a screen display according to the first exemplary embodiment.
  • FIG. 2B Fig. 2B illustrates a screen display according to the first exemplary embodiment.
  • FIG. 3A Fig. 3A illustrates an imaging mode according to the first and a second exemplary embodiment.
  • FIG. 3B Fig. 3B illustrates an imaging mode according to the first and the second exemplary embodiments.
  • FIG. 4A Fig.
  • FIG. 4A illustrates frequency characteristics of a light source and an output signal of a sensor according to the first exemplary embodiment.
  • Fig. 4B Fig. 4B illustrates frequency characteristics of a light source and an output signal of a sensor according to the first exemplary embodiment.
  • FIG. 5 is a flowchart illustrating an imaging method according to the first exemplary embodiment.
  • Fig. 6A Fig. 6A illustrates a display of optical coherence tomographic images corresponding to the number of measurement light beams according to the first exemplary embodiment.
  • FIG. 6B Fig. 6B illustrates a display of optical coherence tomographic images corresponding to the number of measurement light beams according to the first exemplary embodiment.
  • FIG. 7A Fig.
  • FIG. 7A illustrates a screen display according to the first and the second exemplary embodiments.
  • FIG. 7B illustrates a screen display according to the first and the second exemplary embodiments.
  • FIG. 7C illustrates a screen display according to the first and the second exemplary embodiments.
  • FIG. 7D illustrates a screen display according to the first and the second exemplary embodiments.
  • FIG. 8 is a flowchart illustrating an imaging method according to the second exemplary embodiment.
  • An imaging apparatus can cause a display unit to display an intersection image (an image in a direction intersecting to a direction to which a plurality of measurement light beams is irradiated to an inspection object) of an inspection object in such a manner that each scanning range of the plurality of measurement light beams is indicated therein. Accordingly, controllability can be improved for each measurement light beam (or for each optical coherence tomographic image), and thus the imaging apparatus with good convenience for the user can be provided.
  • the intersection image refers to at least one of a two-dimensional image on a surface of an eye fundus (sometimes referred to as a fundus image), an integrated image in which at least a portion of the optical coherence tomographic image is integrated in a depth direction of the fundus, and an optical coherence tomographic image (sometimes referred to as a C scan image) in a substantially vertical direction to the depth direction of the fundus.
  • the imaging apparatus includes an intersection image acquisition unit that acquires the above-described intersection images, and an intersection image display control unit that causes the display unit to display the above-described intersection images.
  • the imaging apparatus includes a scanning range display control unit that causes the display unit to display scanning ranges of the plurality of measurement light beams by being associated with the above-described intersection images. It is desirable to cause the display unit to display the scanning ranges of the plurality of measurement light beams with different colors or shapes respectively. Accordingly, each of the scanning ranges can be indicated so as to allow a user to recognize the respective correspondences of the scanning ranges and the plurality of measurement light beams.
  • the above-described scanning range can be interpreted as a scanning position, a scanning region, an irradiating position, an imaging region, or the like.
  • the imaging apparatus preferably includes a tomographic image display control unit that causes the display unit to display each of the optical coherence tomographic images. Further, the imaging apparatus according to the present invention preferably includes a position display control unit that causes the display unit to display a position of each of the optical coherence tomographic images by being associated with the above-described intersection image.
  • the imaging apparatus preferably includes a selection unit that selects at least one of a plurality of imaging modes with different imaging conditions.
  • the optical coherence tomographic images can be acquired according to the imaging mode selected by the above-described selection unit.
  • the imaging apparatus includes an imaging condition display control unit that causes the display unit to display a list of the above-described plurality of imaging modes and images having a function of the above-described selection unit (e.g., an icon or a region 202 displayed on a display portion in Figs. 2A and 2B. Any configuration may be used as long as a preset function can be operated, when it is clicked or dragged with a cursor displayed on the display portion).
  • the display unit may be integrated with the imaging apparatus, or may be removably mounted to the imaging apparatus. Further, the display unit may communicate with the imaging apparatus via wired or wireless connection.
  • At least one imaging mode among the above-described plurality of imaging modes is preferably set such that the number of the measurement light beams with which an inspection object is irradiated is different from that in the other imaging modes. Also, at least one imaging mode among the above-described plurality of imaging modes is preferably set such that at least one value among a size of scanning range, the number of times of imaging, and an imaging time period is different from those in the other imaging modes.
  • Fig. 1A is a block diagram illustrating an OCT apparatus according to the present exemplary embodiment.
  • the OCT apparatus that uses three measurement light beams as a plurality of measurement light beams with which an inspection object such as a subject's eye is irradiated will be described. For simplification of the drawings, three measurement light beams are drawn collectively as one light beam.
  • the present exemplary embodiment uses an optical fiber, when the plurality of measurement light beams is transmitted, but the present invention is not limited to the optical fiber.
  • the present exemplary embodiment is applied to a spectral domain (SD)-OCT, but the present invention can be applied to another type of OCT (such as, time domain (TD)-OCT and swept source (SS)-OCT) and a scanning laser ophthalmoscope (SLO).
  • SD spectral domain
  • SS swept source
  • SLO scanning laser ophthalmoscope
  • three light beams emitted from a light source 101 are divided each into reference light beams 112 and measurement light beams 111 by a beam splitter 102.
  • Three measurement light beams 111 after a position of an optical fiber end which transmits three light beams has is adjusted by a position adjusting device 115 at the fiber end, are irradiated to an XY mirror 103 via a lens 116.
  • the XY mirror 103 is reciprocally rotated to perform raster scanning of the fundus as an observation target with the measurement light beams 111 according to a command from a controller (not illustrated) which controls the entire apparatus.
  • the measurement light beams 111 irradiated to the eye 105 are reflected or scattered at the fundus and returned as return light beams 113.
  • the return light beams are irradiated to the beam splitter 102 via the lens 116, and combined with the reference light beams 112 by the beam splitter 102 to form three interference light beams 114 (sometimes referred to as a combined light).
  • the three interference light beams 114 are incident on a diffraction grating 107 via a lens 118, are dispersed by the diffraction grating 107, and each form an image by the lens 108 on a line sensor 109.
  • a three-line sensor including three photoelectric conversion element arrays is used, but an area sensor may be used.
  • Three pieces of image information corresponding to three interference light beams which are photoelectrically converted by the line sensor 109 each are subjected to analog-to-digital (A/D) conversion in an image information processing unit 110, and then are subjected to Fourier transform.
  • tomographic images (sometimes referred to as optical coherence tomographic images) of the fundus of the eye 105 are acquired by combining the three pieces of image information.
  • the light source 101 is a super luminescent diode (SLD) as a typical low-coherent light source.
  • the light source 101 has a wavelength of 840 nm, and a band width of 50 nm.
  • the band width is an important parameter, since it has an effect on resolution in an optical axis direction of the tomographic images to be obtained.
  • the SLD is selected here as a type of the light source, amplified spontaneous emission (ASE) or the like may be used, as long as it can emit low-coherent light.
  • ASE amplified spontaneous emission
  • near-infrared light is suitable for a wavelength of the light source.
  • a wavelength as short as possible, since the wavelength of the light source affects resolution in a horizontal direction of the tomographic images to be obtained.
  • a light source having a wavelength of 840 nm is used. Other wavelengths may be selected depending on a measurement area of the observation target.
  • the reference light beams 112 divided by the beam splitter 102 are reflected by the mirror 106, and return to the beam splitter 102.
  • an optical path length of the reference light beam 112 By making an optical path length of the reference light beam 112 to be the same as a length of the measurement light beam 111, the reference light beam and the measurement light beam can interfere with each other.
  • Three pieces of the mirror 106 are prepared to correspond to three reference light beams 112, and a position of each mirror can be independently adjusted, but in the present exemplary embodiment, for simplification of the drawing, the mirror 106 is illustrated as one mirror.
  • the measurement light beams 111 divided by the beam splitter 102 are incident on the XY mirror 103.
  • the XY mirror 103 is drawn as one mirror, but actually two mirrors, namely an X scanning mirror and a Y scanning mirror, are arranged close to each other.
  • the measurement light beams 111 are used for raster scanning on a retina of the eye 105 in a direction perpendicular to the optical axis via a lens 104.
  • the lens 104 is used to collect the measurement light beams 111 onto the retina.
  • a zoom lens which can adjust a focal distance may be used for the lens 104.
  • the interference light beams 114 are dispersed by the diffraction grating 107, but dispersion is performed under the same wavelength condition as a central wavelength and a band width of the light source. More specifically, a light with frequency characteristics as illustrated in Fig. 4A will be irradiated to the photoelectric conversion element arrays 109-1 to 109-3 (described below) of the line sensor 109 via the diffraction grating 107 and the lens 108. Then, as illustrated in Fig. 4B, the light wavelengths as a horizontal axis in Fig. 4A become 0 to 1023 pixel positions (the horizontal axis in Fig. 4B) of the photoelectric conversion element arrays 109-1 to 109-3 of the line sensor 109. A fiber end fixing portion 117 is used to fix positions at which three interference light beams 114 are incident on the diffraction grating 107.
  • Fig. 1B illustrates the three interference light beams 114 that form images on the line sensor 109.
  • the line sensor 109 includes three photoelectric conversion element arrays 109-1 to 190-3.
  • a line camera 119 includes a lens, a line sensor, an A/D conversion unit, and the like. Reflected lights from the retina irradiated with light beams emitted from an infrared light source (not illustrated), are reflected by a mirror 120 and guided to the line camera 119, and read out for each line. By causing the mirror 120 to rotate around a parallel axis relative to a line direction of the line camera 119, it becomes possible to read out two-dimensional images of the retina. In a controller (not illustrated), a piece of two-dimensional image is generated by connecting images together for each line. By repetitively operating the mirror 120 each time two-dimensional image is generated, it becomes possible to acquire continuous two-dimensional images of the retina.
  • the above-described controller is connected to a personal computer (PC), and a measurer operates the OCT apparatus using an input/output device such as a monitor, a mouse, and a keyboard connected to the PC.
  • PC personal computer
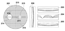
  • Fig. 2A is a selection screen of the imaging mode displayed on a monitor (sometimes referred to as display unit) attached to the OCT apparatus.
  • a two-dimensional image 201 of the fundus is captured by the line camera 119.
  • a macula 215 and an optic papilla 214 are illustrated in Fig. 2A.
  • B scan images 203 to 206 obtained by scanning the fundus with the respective beams are displayed at real time.
  • the B scan image is obtained, before capturing tomographic images of the fundus, in order to perform a pint adjustment, and a position adjustment of the mirror 106, namely coherent gate adjustment, which reflects the reference light beam 112.
  • the images 203 to 206 are referred to as live B scan images.
  • rectangles and lines are displayed for each of three laser beams (the details will be described below). The rectangles and lines indicate the scanning regions to be scanned with the respective three laser beams, and B scan lines scanned by the respective laser beams for obtaining the live B scan images.
  • Parameters of the imaging modes are set and displayed in a region 202.
  • eight types of the imaging modes are displayed.
  • the imaging modes to be displayed may be set by the measurer in advance, or may be displayed in descending order of imaging frequency from a past imaging history. Further, the parameters of the imaging modes can be selected on the monitor screen by the input unit such as the mouse, and changed at any time.
  • the number of A scans, the number of B scans, an x range, a y range, the number of beams, and the number of times of imaging can be set.
  • the x range represents an x direction of the fundus, i.e., an imaging region width in a horizontal direction relative to a head of a measured person.
  • the y range represents a y direction of the fundus, i.e., an imaging region width in a vertical direction relative to the head of the measured person.
  • the number of A scans represents resolution in the x direction of the fundus
  • the number of B scans represents resolution in the y direction.
  • the x range 10 mm
  • the y range 5 mm
  • the number of A scans 500
  • 500 pieces of A scan data are combined at a pitch of 20 micrometer in the x direction to generate one piece of B scan image
  • 100 pieces of the B scan images will be captured at a 50 micrometer pitch in the y direction.
  • the number of beams is the number of laser beams to be used for capturing an image of the fundus, and one beam and three beams can be selected in the apparatus according to the present exemplary embodiment.
  • the number of times of imaging represents a repetitive number of scans of how many times the B scan line at the same position of the fundus will be captured.
  • tomographic images of the fundus will be created using fine image signals (interference signals)
  • coarse image signals interference signals
  • increase of the number of times of imaging may lengthen the imaging time period.
  • a time period required to capture tomographic images of the fundus images according to the set parameters are displayed in the region 202.
  • a measurer sets an imaging mode based on the measurer's operation.
  • the measurer selects the imaging mode 2 including the number of A scans of 300, the number of B scans of 300, the x range of 10 mm, the y range of 10 mm, the number of laser beams of 3, and the number of times of imaging of 1.
  • the imaging time period required for the imaging mode 2 is 0.75 seconds.
  • Fig. 2B and Fig. 6A information unnecessary for the descriptions is deleted.
  • the scanning regions of the three laser beams are respectively displayed in the order of scanning regions 207, 208, and 209 from the top.
  • the scanning region 207, the scanning region 208, and the scanning region 209 are located on an upper part, a middle part, and a lower part of the fundus respectively. Further, the scanning region 207 and the scanning region 208, and also the scanning region 208 and the scanning region 208 are overlapped by 10 % each in the y direction.
  • Fig. 6A illustrates a live B scan image in the mode selected in step S801.
  • a B scan line 210 indicates an imaging position of a live B scan image 203.
  • B scan lines 211, 212, and 213 indicate imaging positions of a live B scan image 204, a live B scan image 205, and a live B scan image 206, respectively.
  • a frame of the scanning region 207 in the upper part, a frame of the live B scan image 203 captured using a laser beam for scanning the scanning region 207 in the upper part, and the B scan line 210 thereof are indicated with the same dotted lines.
  • a frame of the scanning region 208 in the middle part, and a frame of the live B scan image 204 captured using a laser beam for scanning the scanning region 208 in the middle part, and the B scan line 211 thereof are indicated with solid lines.
  • a frame of the scanning region 209 in the lower part, a frame of the live B scan image 205 captured using a laser beam for scanning the scanning region 209 in the lower part, and the B scan line 212 thereof are indicated with alternate long and short dash lines.
  • a frame of the live B scan image 206 in the y direction of the fundus, and the B scan line 213 thereof are indicated with thin dotted lines.
  • the live B scan images 203 to 206 to be first displayed after the selection of the imaging mode are the tomographic images at the middle part of the scanning region of each laser beam with respect to the x direction, and the tomographic image at the central part of the entire imaging region with respect to the y direction.
  • the live B scan image 203 corresponding to a position of the B scan line 210 after movement is displayed.
  • the live B scan image 206 corresponding to a position of the B scan line 213 after movement is displayed.
  • the measurer confirms the imaging regions on the fundus indicated in Fig. 2B, and determines whether the imaging mode currently selected is suitable for capturing tomographic images of the imaging regions of a patient i.e. the measured person.
  • the fundus images are captured with three laser beams, and three B scan images are combined, discontinuity will occur on the boundaries of the divided regions.
  • the boundary of the divided regions overlaps with a target region such as the periphery of a macula or an affected part, it is better to select the imaging mode using one laser beam.
  • the imaging mode can be switched to the one in which only the periphery of the target region is captured with one laser beam.
  • the imaging mode 4 with small imaging region is selected in step S804.
  • Fig. 3A illustrates the scanning region 208 at the time of setting the imaging mode 4, that is, the number of A scans of 300, the number of B scans of 300, the x range of 6 mm, the y range of 6 mm, the number of laser beams of 1, and the number of times of imaging of 1.
  • a second laser beam which scans the region 208 in the middle part is selected from among the three laser beams. This is because the second laser beam among the three laser beams which scan the region 208 in the middle part will pass through the central parts of the lenses 108 and 118, and thus is least affected by optical distortions at the lenses.
  • Fig. 6B illustrates the live B scan image in the imaging mode 4 selected in step S804.
  • a B scan line 211 indicates an imaging position of the live B scan image 204.
  • a position of the scanning region 208 can be moved on the fundus.
  • the scanning region is changed by adjusting under control of the controller a position of the optical system at the measured person side of the XY scanner 103.
  • the position of the scanning region 208 is set so that a region centering on the macula 215 can be captured.
  • the live B scan image 203 corresponding to the position of the B scan line 210 after movement is displayed.
  • the live B scan image 204 corresponding to the position of the B scan line 211 after movement is displayed.
  • the live B scan image 206 corresponding to the position of the B scan line 213 after movement is displayed.
  • the measurer selects the imaging mode, confirms the imaging regions and the live B scan image each time, and determines whether the selected imaging mode is suitable for symptoms of the patient i.e. the measured person or purpose of measurement. If it can be confirmed that the selected imaging mode is suitable for the purpose (YES in step S803), then in step S805, the measurer actually measures the tomographic images of the fundus as the measured object.
  • the imaging regions corresponding to the number of beams to be used for imaging can be displayed in a distinguishable manner on a two-dimensional image of the measured object. Accordingly, whether the selected imaging mode is suitable for the purpose of imaging can be readily confirmed. Further, the imaging mode suitable for the purpose of imaging can be readily changed.
  • the scanning regions 207, 208, 209 of the laser beams on the operation screen as illustrated in Fig. 2B may be different from the scanning regions of the laser beams actually caused to be scanned on the fundus depending on individual differences such as an eye axis length and a refractive index of crystalline lens of the measured person, and a focal distance adjustment in the lens 104.
  • a step for calibrating the scanning regions of the laser beams may be included in the above-described exemplary embodiment.
  • the fundus may be scanned with the laser beams corresponding to the x range and the y range set in step S801, and scanning ranges of the laser beams used for scanning the fundus are measured in the line camera 119. If the actually measured scanning ranges of the laser beams are different from the scanning regions 207, 208, and 209 of the laser beams on the operation screen, it is only necessary to adjust the scanning regions of the laser beams to be displayed on the operation screen to the scanning regions of the measured laser beams. Conversely, an amount of rotation of the XY mirror 103 may be controlled so that the scanning regions 207, 208, and 209 of the laser beams displayed on the operation screen coincide with the scanning ranges of the laser beams actually used for scanning the fundus.
  • step S1301 the measurer designates a target point on a two-dimensional image 201 of the fundus with a mouse cursor 216 as illustrated in Fig. 7C.
  • step S1302 the measurer sets parameters of the imaging mode by designating an imaging region size in a setting/display unit.
  • the x range and the y range both are set to 100 per 1 mm in advance, i.e., the resolution in the x direction and the y direction are set to 100(1/mm)
  • the number of A scans and the number of B scans will be set in conjunction with the designation of the x range and the y range.
  • this value may be arbitrarily set.
  • the number of times of imaging is set to one, this value can also be arbitrarily changed.
  • step S1303 the imaging time period in the case that the number of the laser beams is one and the case that the number of the laser beams is three are calculated from the set parameters in the PC. It is difficult to cause a patient as the measured person to stay his/her eye still at one location. Therefore, in this case, a limitation not to allow selecting the imaging mode in which the imaging time period exceeds three seconds is set.
  • an optimal imaging mode can be selected, depending on whether priority is given to capturing images in a short time or capturing images without discontinuity. In the present exemplary embodiment, if priority is given to the capturing of images without discontinuity and an imaging time period with one laser beam is within three seconds as the limit time, the imaging mode using one laser beam is supposed to be selected.
  • the monitor indicates the conditions set to the imaging mode 1, and displays imaging regions and the live B scan images, as illustrated in Fig. 3B.
  • the imaging mode using one laser beam is selected from the set conditions, the imaging region 208 scanned with the second laser beam among the three laser beams for scanning the region in the center part, the live B scan image 204 acquired by the second laser beam among the three laser beams for scanning the region in the center part, and the live B scan image 206 in the y direction are displayed.
  • step S1305 the measurer determines whether imaging in the imaging mode displayed in step S1304 meets the purpose by moving the live B scan lines 211 and 213. If the selected imaging mode does not meet the purpose (NO in step S1305), then in step S1306, similarly to the first exemplary embodiment, the controller resets the imaging mode. Then, the processing in steps S1304 to S1306 is repeated until an imaging mode which meets the purpose of imaging is found. Finally, in step S1307, if the imaging mode which meets the purpose of imaging can be set, the OCT apparatus captures tomographic images of the fundus.
  • a method for setting the imaging region by designating a center point of a desired imaging region with the mouse cursor and setting the x range and the y range with numerical values is described.
  • a method for designating an imaging region 217 by moving the mouse cursor from a starting point 218 to an oblique direction while clicking as illustrated in Fig. 7D may be used.
  • the imaging mode can be also selected by setting a region, if an operator does not understand various imaging modes, the operator can select an appropriate imaging mode and operate the apparatus easily.
  • priority for selecting the imaging mode is given to the conditions of the imaging region, the imaging time period, and the number of beams, in this order.
  • the measurer can arbitrarily determine the priority of all parameters for determining an imaging mode, such as imaging region, an imaging time period, the number of beams, the number of times of imaging, and resolution.
  • aspects of the present invention can also be realized by a computer of a system or apparatus (or devices such as a CPU or MPU) that reads out and executes a program recorded on a memory device to perform the functions of the above-described embodiment(s), and by a method, the steps of which are performed by a computer of a system or apparatus by, for example, reading out and executing a program recorded on a memory device to perform the functions of the above-described embodiment(s).
  • the program is provided to the computer for example via a network or from a recording medium of various types serving as the memory device (e.g., computer-readable medium).

Landscapes

  • Health & Medical Sciences (AREA)
  • Life Sciences & Earth Sciences (AREA)
  • Physics & Mathematics (AREA)
  • Medical Informatics (AREA)
  • Surgery (AREA)
  • Biophysics (AREA)
  • Ophthalmology & Optometry (AREA)
  • Engineering & Computer Science (AREA)
  • Biomedical Technology (AREA)
  • Heart & Thoracic Surgery (AREA)
  • Veterinary Medicine (AREA)
  • Molecular Biology (AREA)
  • Public Health (AREA)
  • Animal Behavior & Ethology (AREA)
  • General Health & Medical Sciences (AREA)
  • Radiology & Medical Imaging (AREA)
  • Nuclear Medicine, Radiotherapy & Molecular Imaging (AREA)
  • General Physics & Mathematics (AREA)
  • Eye Examination Apparatus (AREA)
  • Investigating Or Analysing Materials By Optical Means (AREA)
PCT/JP2011/001868 2010-03-31 2011-03-29 Imaging apparatus and imaging method Ceased WO2011122004A1 (en)

Priority Applications (4)

Application Number Priority Date Filing Date Title
US13/634,527 US8820933B2 (en) 2010-03-31 2011-03-29 Imaging apparatus and imaging method
CN201180017918.1A CN102834046B (zh) 2010-03-31 2011-03-29 摄像设备和摄像方法
EP11716076A EP2552298A1 (en) 2010-03-31 2011-03-29 Imaging apparatus and imaging method
KR1020127026813A KR101407385B1 (ko) 2010-03-31 2011-03-29 촬상장치 및 촬상 방법

Applications Claiming Priority (2)

Application Number Priority Date Filing Date Title
JP2010082804A JP5783681B2 (ja) 2010-03-31 2010-03-31 撮像装置及び撮像方法
JP2010-082804 2010-03-31

Publications (1)

Publication Number Publication Date
WO2011122004A1 true WO2011122004A1 (en) 2011-10-06

Family

ID=44280720

Family Applications (1)

Application Number Title Priority Date Filing Date
PCT/JP2011/001868 Ceased WO2011122004A1 (en) 2010-03-31 2011-03-29 Imaging apparatus and imaging method

Country Status (6)

Country Link
US (1) US8820933B2 (enExample)
EP (1) EP2552298A1 (enExample)
JP (1) JP5783681B2 (enExample)
KR (1) KR101407385B1 (enExample)
CN (2) CN102834046B (enExample)
WO (1) WO2011122004A1 (enExample)

Cited By (3)

* Cited by examiner, † Cited by third party
Publication number Priority date Publication date Assignee Title
WO2014084231A1 (ja) * 2012-11-30 2014-06-05 株式会社トプコン 眼底撮影装置
US8870377B2 (en) 2012-01-27 2014-10-28 Canon Kabushiki Kaisha Image processing apparatus, image processing apparatus control method, ophthalmologic apparatus, ophthalmologic apparatus control method, ophthalmologic system, and storage medium
EP3263016A4 (en) * 2015-02-27 2018-10-24 Kowa Company, Ltd. Cross-section image capture device

Families Citing this family (10)

* Cited by examiner, † Cited by third party
Publication number Priority date Publication date Assignee Title
JP5210443B1 (ja) 2012-01-26 2013-06-12 キヤノン株式会社 光断層撮像装置および制御方法
JP6300443B2 (ja) * 2013-01-31 2018-03-28 キヤノン株式会社 光断層撮像装置およびその制御方法
JP6184113B2 (ja) * 2013-01-31 2017-08-23 キヤノン株式会社 光断層撮像装置およびその制御方法
JP6460618B2 (ja) * 2013-01-31 2019-01-30 キヤノン株式会社 光干渉断層撮像装置およびその制御方法
JP5766225B2 (ja) * 2013-02-22 2015-08-19 キヤノン株式会社 光断層撮像装置および制御方法
JP6585897B2 (ja) * 2015-01-29 2019-10-02 株式会社トプコン 眼科撮影装置
US10709329B2 (en) * 2015-07-30 2020-07-14 Canon Kabushiki Kaisha Image pickup apparatus and method of controlling image pickup apparatus
CN105913446B (zh) * 2016-05-04 2019-05-17 深圳市斯尔顿科技有限公司 一种多彩线扫描眼底成像装置及多彩眼底图像合成方法
ES3010642T3 (en) * 2016-09-16 2025-04-04 Alcon Inc Subtractive en face optical coherence tomography imaging
US10827919B2 (en) 2017-05-02 2020-11-10 Alcon Inc. Reconfigurable optical coherence tomography (OCT) system

Citations (5)

* Cited by examiner, † Cited by third party
Publication number Priority date Publication date Assignee Title
US6198540B1 (en) * 1997-03-26 2001-03-06 Kowa Company, Ltd. Optical coherence tomography have plural reference beams of differing modulations
JP2008508068A (ja) 2004-08-03 2008-03-21 カール ツァイス メディテック アクチエンゲゼルシャフト 眼のフーリエ領域octレイ・トレーシング法
EP1908397A2 (en) * 2006-10-04 2008-04-09 Osaka University A fundus oculi observation device
EP1935329A1 (en) * 2006-12-22 2008-06-25 Kabushiki Kaisha TOPCON Fundus oculi observation device and fundus oculi image display device
JP2010082804A (ja) 2008-09-29 2010-04-15 Pilot Ink Co Ltd 熱変色性筆記具

Family Cites Families (8)

* Cited by examiner, † Cited by third party
Publication number Priority date Publication date Assignee Title
WO1992019930A1 (en) 1991-04-29 1992-11-12 Massachusetts Institute Of Technology Method and apparatus for optical imaging and measurement
GB0425419D0 (en) * 2004-11-18 2004-12-22 Sira Ltd Interference apparatus and method and probe
US8223143B2 (en) 2006-10-27 2012-07-17 Carl Zeiss Meditec, Inc. User interface for efficiently displaying relevant OCT imaging data
JP5231802B2 (ja) * 2007-12-29 2013-07-10 株式会社ニデック 眼科撮影装置
CA2731226A1 (en) * 2008-07-21 2010-01-28 Optovue, Inc. Extended range imaging
JP4819851B2 (ja) * 2008-07-31 2011-11-24 キヤノン株式会社 診断支援装置およびその方法、プログラム、記録媒体
JP5605999B2 (ja) * 2009-03-06 2014-10-15 キヤノン株式会社 光干渉断層撮像方法および装置
JP5836564B2 (ja) * 2010-03-12 2015-12-24 キヤノン株式会社 眼科撮像装置、および眼科撮像方法、そのプログラム

Patent Citations (5)

* Cited by examiner, † Cited by third party
Publication number Priority date Publication date Assignee Title
US6198540B1 (en) * 1997-03-26 2001-03-06 Kowa Company, Ltd. Optical coherence tomography have plural reference beams of differing modulations
JP2008508068A (ja) 2004-08-03 2008-03-21 カール ツァイス メディテック アクチエンゲゼルシャフト 眼のフーリエ領域octレイ・トレーシング法
EP1908397A2 (en) * 2006-10-04 2008-04-09 Osaka University A fundus oculi observation device
EP1935329A1 (en) * 2006-12-22 2008-06-25 Kabushiki Kaisha TOPCON Fundus oculi observation device and fundus oculi image display device
JP2010082804A (ja) 2008-09-29 2010-04-15 Pilot Ink Co Ltd 熱変色性筆記具

Cited By (4)

* Cited by examiner, † Cited by third party
Publication number Priority date Publication date Assignee Title
US8870377B2 (en) 2012-01-27 2014-10-28 Canon Kabushiki Kaisha Image processing apparatus, image processing apparatus control method, ophthalmologic apparatus, ophthalmologic apparatus control method, ophthalmologic system, and storage medium
WO2014084231A1 (ja) * 2012-11-30 2014-06-05 株式会社トプコン 眼底撮影装置
EP3263016A4 (en) * 2015-02-27 2018-10-24 Kowa Company, Ltd. Cross-section image capture device
US10188286B2 (en) 2015-02-27 2019-01-29 Kowa Company, Ltd. Tomographic image capturing device

Also Published As

Publication number Publication date
KR20120140672A (ko) 2012-12-31
EP2552298A1 (en) 2013-02-06
US20130003018A1 (en) 2013-01-03
CN102834046B (zh) 2015-09-02
JP5783681B2 (ja) 2015-09-24
CN105266755B (zh) 2017-05-24
US8820933B2 (en) 2014-09-02
KR101407385B1 (ko) 2014-06-13
CN105266755A (zh) 2016-01-27
CN102834046A (zh) 2012-12-19
JP2011212203A (ja) 2011-10-27

Similar Documents

Publication Publication Date Title
US8820933B2 (en) Imaging apparatus and imaging method
JP5210443B1 (ja) 光断層撮像装置および制御方法
JP5210442B1 (ja) 光断層撮像装置および制御方法
US9326679B2 (en) Medical system
JP2014045868A (ja) インタラクティブ制御装置
JP2010243280A (ja) 光画像計測装置
JP6184113B2 (ja) 光断層撮像装置およびその制御方法
US20120253183A1 (en) Image processing apparatus, ophthalmic apparatus, and ophthalmic system
US8985770B2 (en) Ophthalmic imaging apparatus, method of controlling opthalmic apparatus and storage medium
US9538913B2 (en) Ophthalmic system
JP5506504B2 (ja) 撮像装置及び撮像方法
JP2018201749A (ja) 制御装置、断層像撮影システム、制御方法、及びプログラム
JP6188339B2 (ja) 光断層撮像装置およびその制御方法
US9314156B2 (en) Ophthalmologic apparatus and control method of ophthalmologic apparatus
JP2019080793A (ja) 断層画像撮影装置、画像処理装置、断層画像撮影装置の制御方法およびプログラム
JP2017080496A (ja) インタラクティブ制御装置
JP5766225B2 (ja) 光断層撮像装置および制御方法
JP2014217470A (ja) 制御装置、制御方法及びプログラム
JP2020048688A (ja) 眼科装置および眼科装置の制御方法

Legal Events

Date Code Title Description
WWE Wipo information: entry into national phase

Ref document number: 201180017918.1

Country of ref document: CN

121 Ep: the epo has been informed by wipo that ep was designated in this application

Ref document number: 11716076

Country of ref document: EP

Kind code of ref document: A1

WWE Wipo information: entry into national phase

Ref document number: 13634527

Country of ref document: US

REEP Request for entry into the european phase

Ref document number: 2011716076

Country of ref document: EP

WWE Wipo information: entry into national phase

Ref document number: 2011716076

Country of ref document: EP

NENP Non-entry into the national phase

Ref country code: DE

ENP Entry into the national phase

Ref document number: 20127026813

Country of ref document: KR

Kind code of ref document: A