WO2011077489A1 - 仮想ボリュームを提供するストレージシステム - Google Patents

仮想ボリュームを提供するストレージシステム Download PDF

Info

Publication number
WO2011077489A1
WO2011077489A1 PCT/JP2009/007207 JP2009007207W WO2011077489A1 WO 2011077489 A1 WO2011077489 A1 WO 2011077489A1 JP 2009007207 W JP2009007207 W JP 2009007207W WO 2011077489 A1 WO2011077489 A1 WO 2011077489A1
Authority
WO
WIPO (PCT)
Prior art keywords
page
real page
virtual
tier
frequency
Prior art date
Legal status (The legal status is an assumption and is not a legal conclusion. Google has not performed a legal analysis and makes no representation as to the accuracy of the status listed.)
Ceased
Application number
PCT/JP2009/007207
Other languages
English (en)
French (fr)
Japanese (ja)
Inventor
折笠大典
松田健
高田豊
江口賢哲
里山愛
水野陽一
Current Assignee (The listed assignees may be inaccurate. Google has not performed a legal analysis and makes no representation or warranty as to the accuracy of the list.)
Hitachi Ltd
Original Assignee
Hitachi Ltd
Priority date (The priority date is an assumption and is not a legal conclusion. Google has not performed a legal analysis and makes no representation as to the accuracy of the date listed.)
Filing date
Publication date
Application filed by Hitachi Ltd filed Critical Hitachi Ltd
Priority to JP2011547081A priority Critical patent/JPWO2011077489A1/ja
Priority to EP09852506.6A priority patent/EP2518613A4/en
Priority to US12/811,275 priority patent/US8489844B2/en
Priority to PCT/JP2009/007207 priority patent/WO2011077489A1/ja
Priority to CN200980161169.2A priority patent/CN102483684B/zh
Priority to IN839DEN2012 priority patent/IN2012DN00839A/en
Publication of WO2011077489A1 publication Critical patent/WO2011077489A1/ja
Anticipated expiration legal-status Critical
Priority to US13/920,390 priority patent/US8862849B2/en
Priority to US14/484,395 priority patent/US9037829B2/en
Ceased legal-status Critical Current

Links

Images

Classifications

    • GPHYSICS
    • G06COMPUTING OR CALCULATING; COUNTING
    • G06FELECTRIC DIGITAL DATA PROCESSING
    • G06F3/00Input arrangements for transferring data to be processed into a form capable of being handled by the computer; Output arrangements for transferring data from processing unit to output unit, e.g. interface arrangements
    • G06F3/06Digital input from, or digital output to, record carriers, e.g. RAID, emulated record carriers or networked record carriers
    • G06F3/0601Interfaces specially adapted for storage systems
    • G06F3/0628Interfaces specially adapted for storage systems making use of a particular technique
    • G06F3/0629Configuration or reconfiguration of storage systems
    • G06F3/0632Configuration or reconfiguration of storage systems by initialisation or re-initialisation of storage systems
    • GPHYSICS
    • G06COMPUTING OR CALCULATING; COUNTING
    • G06FELECTRIC DIGITAL DATA PROCESSING
    • G06F3/00Input arrangements for transferring data to be processed into a form capable of being handled by the computer; Output arrangements for transferring data from processing unit to output unit, e.g. interface arrangements
    • G06F3/06Digital input from, or digital output to, record carriers, e.g. RAID, emulated record carriers or networked record carriers
    • G06F3/0601Interfaces specially adapted for storage systems
    • G06F3/0602Interfaces specially adapted for storage systems specifically adapted to achieve a particular effect
    • G06F3/0608Saving storage space on storage systems
    • GPHYSICS
    • G06COMPUTING OR CALCULATING; COUNTING
    • G06FELECTRIC DIGITAL DATA PROCESSING
    • G06F3/00Input arrangements for transferring data to be processed into a form capable of being handled by the computer; Output arrangements for transferring data from processing unit to output unit, e.g. interface arrangements
    • G06F3/06Digital input from, or digital output to, record carriers, e.g. RAID, emulated record carriers or networked record carriers
    • G06F3/0601Interfaces specially adapted for storage systems
    • G06F3/0602Interfaces specially adapted for storage systems specifically adapted to achieve a particular effect
    • G06F3/061Improving I/O performance
    • GPHYSICS
    • G06COMPUTING OR CALCULATING; COUNTING
    • G06FELECTRIC DIGITAL DATA PROCESSING
    • G06F3/00Input arrangements for transferring data to be processed into a form capable of being handled by the computer; Output arrangements for transferring data from processing unit to output unit, e.g. interface arrangements
    • G06F3/06Digital input from, or digital output to, record carriers, e.g. RAID, emulated record carriers or networked record carriers
    • G06F3/0601Interfaces specially adapted for storage systems
    • G06F3/0602Interfaces specially adapted for storage systems specifically adapted to achieve a particular effect
    • G06F3/061Improving I/O performance
    • G06F3/0611Improving I/O performance in relation to response time
    • GPHYSICS
    • G06COMPUTING OR CALCULATING; COUNTING
    • G06FELECTRIC DIGITAL DATA PROCESSING
    • G06F3/00Input arrangements for transferring data to be processed into a form capable of being handled by the computer; Output arrangements for transferring data from processing unit to output unit, e.g. interface arrangements
    • G06F3/06Digital input from, or digital output to, record carriers, e.g. RAID, emulated record carriers or networked record carriers
    • G06F3/0601Interfaces specially adapted for storage systems
    • G06F3/0628Interfaces specially adapted for storage systems making use of a particular technique
    • G06F3/0646Horizontal data movement in storage systems, i.e. moving data in between storage devices or systems
    • G06F3/0647Migration mechanisms
    • GPHYSICS
    • G06COMPUTING OR CALCULATING; COUNTING
    • G06FELECTRIC DIGITAL DATA PROCESSING
    • G06F3/00Input arrangements for transferring data to be processed into a form capable of being handled by the computer; Output arrangements for transferring data from processing unit to output unit, e.g. interface arrangements
    • G06F3/06Digital input from, or digital output to, record carriers, e.g. RAID, emulated record carriers or networked record carriers
    • G06F3/0601Interfaces specially adapted for storage systems
    • G06F3/0628Interfaces specially adapted for storage systems making use of a particular technique
    • G06F3/0662Virtualisation aspects
    • G06F3/0665Virtualisation aspects at area level, e.g. provisioning of virtual or logical volumes
    • GPHYSICS
    • G06COMPUTING OR CALCULATING; COUNTING
    • G06FELECTRIC DIGITAL DATA PROCESSING
    • G06F3/00Input arrangements for transferring data to be processed into a form capable of being handled by the computer; Output arrangements for transferring data from processing unit to output unit, e.g. interface arrangements
    • G06F3/06Digital input from, or digital output to, record carriers, e.g. RAID, emulated record carriers or networked record carriers
    • G06F3/0601Interfaces specially adapted for storage systems
    • G06F3/0668Interfaces specially adapted for storage systems adopting a particular infrastructure
    • G06F3/0671In-line storage system
    • G06F3/0683Plurality of storage devices
    • G06F3/0685Hybrid storage combining heterogeneous device types, e.g. hierarchical storage, hybrid arrays
    • GPHYSICS
    • G06COMPUTING OR CALCULATING; COUNTING
    • G06FELECTRIC DIGITAL DATA PROCESSING
    • G06F3/00Input arrangements for transferring data to be processed into a form capable of being handled by the computer; Output arrangements for transferring data from processing unit to output unit, e.g. interface arrangements
    • G06F3/06Digital input from, or digital output to, record carriers, e.g. RAID, emulated record carriers or networked record carriers
    • G06F3/0601Interfaces specially adapted for storage systems
    • G06F3/0668Interfaces specially adapted for storage systems adopting a particular infrastructure
    • G06F3/0671In-line storage system
    • G06F3/0683Plurality of storage devices
    • G06F3/0689Disk arrays, e.g. RAID, JBOD
    • GPHYSICS
    • G06COMPUTING OR CALCULATING; COUNTING
    • G06FELECTRIC DIGITAL DATA PROCESSING
    • G06F3/00Input arrangements for transferring data to be processed into a form capable of being handled by the computer; Output arrangements for transferring data from processing unit to output unit, e.g. interface arrangements
    • G06F3/06Digital input from, or digital output to, record carriers, e.g. RAID, emulated record carriers or networked record carriers
    • G06F3/0601Interfaces specially adapted for storage systems
    • G06F3/0668Interfaces specially adapted for storage systems adopting a particular infrastructure
    • G06F3/0671In-line storage system
    • G06F3/0673Single storage device

Definitions

  • the present invention relates to storage control to which Thin Provisioning (also called Dynamic Provisioning) is applied.
  • Data migration technology is known. Data migration is generally performed on a volume basis. For example, according to Patent Document 1, all data stored in the first logical volume is migrated from the first logical volume to the second logical volume.
  • storage tiering technology is known.
  • a plurality of logical volumes included in a plurality of storage systems are classified into any one of a plurality of tiers, and a logical volume belonging to a certain tier is assigned to another tier.
  • the plurality of tiers include, for example, a highly reliable tier and a low-cost tier.
  • Thin Provisioning also called Dynamic Provisioning
  • a virtual logical volume composed of a plurality of virtual storage areas (virtual pages) and a plurality of substantive storage areas (real pages) are prepared.
  • a real page is allocated to the virtual page, and write target data is written to the allocated real page.
  • the above-mentioned data migration technology and storage tiering technology are applied to Thin Provisioning. Further, it is assumed that the first virtual volume belongs to the first tier and the second virtual volume belongs to the second tier. In this case, all data can be migrated from the first virtual volume belonging to the first tier to the second virtual volume belonging to the second tier.
  • all the data in the first virtual volume is transferred from the first tier to the second tier, but it is preferable that all the data is necessarily present in the second tier. Not exclusively.
  • an object of the present invention is to appropriately arrange data in a virtual volume in accordance with Thin Provisioning.
  • a plurality of the logical volumes to which at least one storage area included in the plurality of storage areas is allocated in response to a write request to at least one address included in the plurality of addresses in the logical volume is provided.
  • the access status of the at least one address in the logical volume the data that has been written to the at least one address by the write request is included in the at least one storage area group.
  • the storage area is shifted to at least one storage area in another storage area group included in the plurality of storage area groups.
  • Example 1 shows a configuration of a storage system 103.
  • the relationship between various storage areas in the storage system 103 is shown.
  • stores are shown.
  • the structure of the tier definition table 401 is shown.
  • the structure of the tier management table 402 is shown.
  • the structure of the pool management table 403 is shown.
  • the structure of the VVOL management table 404 is shown.
  • the structure of the PVOL management table 405 is shown.
  • the structure of the allocation table 407 is shown.
  • the structure of the real page management table 408 is shown.
  • the structure of the monitor table 409 is shown.
  • the structure of the frequency distribution table 410 is shown.
  • the structure of the migration page table 411 is shown.
  • the structure of the migration definition table 412 is shown.
  • the flowchart of a pool creation process is shown.
  • the pool definition GUI 1700 is shown.
  • the flow of a VVOL creation process is shown.
  • a VVOL creation GUI 1900 is shown.
  • 10 shows a VVOL management table 4404 related to Example 5 of the present invention.
  • An overview of data element aggregation processing is shown.
  • the flow of an information display process is shown.
  • a frequency distribution GUI 2300 is shown.
  • the flow of write processing write to cache memory
  • the flow of destage processing is shown.
  • the flow of read processing is shown.
  • An overview of the relationship between I / O frequency monitoring and rearrangement is shown.
  • the flow of a rearrangement process is shown.
  • An overview of the tear arrangement determination process is shown.
  • the flow of a tear arrangement determination process is shown.
  • the flow of the tier boundary value calculation process of S4402 of FIG. 30 is shown.
  • 10 shows a pool management table 4403 according to Embodiment 5 of the present invention.
  • 10 shows a flow of a comparison method / comparison target setting process according to Embodiment 5 of the present invention.
  • the flow of the migration page table creation process in S2808 of FIG. 28 is shown.
  • An overview of the page-by-page migration process is shown.
  • a flow of page-by-page migration processing is shown.
  • the flow of a change process of a tier threshold value is shown.
  • the flow of the over threshold handling process is shown.
  • a plurality of storage areas provided from a plurality of storage devices are managed according to storage area attributes, and a plurality of storage area groups are managed, Providing a plurality of the logical volumes to which at least one storage area included in the plurality of storage areas is allocated in response to a write request to at least one address included in the plurality of addresses in the logical volume; According to the access status of the at least one address in the logical volume, the data that has been written to the at least one address by the write request is included in the at least one storage area group.
  • a method for controlling a storage system characterized in that a storage area is migrated to at least one storage area in another storage area group included in the plurality of storage area groups.
  • a method comprising The first storage area group and the second storage area group included in the plurality of storage area groups have the degree of access status suitable for each group as an attribute for each loop, and The degree of the access situation with the second storage area group is different for each group, but partially overlaps,
  • the at least one storage area included in one of the plurality of storage area groups is included in the first or second storage area group and the at least one address
  • the storage system control method wherein the data migration is not performed when the access status is within the partially overlapping range of the degree of the access status.
  • a storage system connected to one or more hosts includes a plurality of types of physical storage device groups and a storage control device.
  • the storage control device includes a storage resource, a controller connected to the plurality of types of physical storage device groups, the storage resource, and the host.
  • the physical storage device group is composed of one or more physical storage devices.
  • the plurality of types of physical storage device groups are the basis of a plurality of types of real page groups.
  • the type of the real page group is based on the attribute of the physical storage device group on which the real page group is based.
  • the real page group has a plurality of real pages.
  • the controller provides one or more virtual volumes to the one or more hosts.
  • the virtual volume is a virtual logical volume composed of a plurality of virtual pages.
  • the virtual page is a virtual storage area.
  • the real page is a substantial storage area.
  • the storage resource is allocation information that is information indicating which virtual page is allocated to which virtual page, monitor information that is information indicating I / O (Input / Output) frequency for each virtual page, and real page Real page group management information, which is information including information indicating the I / O frequency range set for each group type, is stored (any format of information, such as a table format or a queue format).
  • the controller receives a write command from the host, specifies a write-destination virtual page from the write command, updates the allocation information so as to allocate a free real page to the specified virtual page, and sets the allocated real page. Stores the data to be written.
  • the controller updates the I / O frequency of the virtual page in the monitor information according to the I / O for the virtual page or the real page assigned to the virtual page.
  • the real page is a substantial storage area, and data stored in the real page is stored in a physical storage device that is the basis of the real page. Transition process in which the controller includes the following processes (A) to (C): (A) specifying a virtual volume or virtual page whose I / O frequency specified from the monitor information does not meet a predetermined condition; (B) The data stored in the first real page in the first type real page group allocated to the specified virtual volume or virtual page is stored in the second type real page group.
  • the controller performs an I / O frequency range determination process, and in the determination process, determines the I / O frequency range of various real page groups based on the monitor information.
  • the controller may have at least one processor, for example.
  • the storage resource may be a memory, for example.
  • the host may be a computer, another storage system, or another storage control device.
  • the data in the virtual volume can be rearranged in units of pages according to the I / O frequency of the virtual page.
  • the data can be a group of real pages corresponding to an I / O frequency range in which the I / O frequency of the virtual page to which the real page storing the data is allocated falls.
  • the controller performs the following processes (a) and (b) in the determination process: (A) Using the monitor information, creating relationship information that is information representing the relationship between the I / O frequency and the number of virtual pages; (B) Based on the relationship information, the I / O frequency range of various real page groups is determined.
  • the controller performs the following processes (b1) to (b3) in the process (b): (B1) A total I / O frequency that is a total I / O frequency of all virtual pages in one or more virtual volumes to which a real page is allocated from the plurality of types of real page groups using the relationship information. Calculate (B2) Based on the ratio of performance values of various real page groups and the total I / O frequency, a boundary value that is an I / O frequency of the boundary of the real page group is calculated for each boundary of the real page group; (B3) Determine the I / O frequency range of each real page group based on the I / O frequency of each real page group and the boundary value for each boundary of the real page group.
  • the performance value of the real page group is a value related to the performance determined based on the attribute of the physical storage device group that is the basis of the real page group.
  • the boundary of the real page group is a boundary between the real page group and its upper and / or lower real page group.
  • the maximum value and / or the minimum value of the I / O frequency range of each real page group is a value determined based on the boundary value between the real page group and its upper and / or lower real page group.
  • the maximum value of the I / O frequency range is larger than the larger boundary value corresponding to the I / O frequency range and / or the I / O frequency range.
  • the minimum value of the / O frequency range is smaller than the smaller boundary value corresponding to the I / O frequency range.
  • the performance value of the real page group includes the number of real pages that can be a migration destination in the migration process in the real page group and the performance per real page in the real page group. It is a value calculated by multiplication with the value.
  • the performance value per real page in the real page group is a value related to the performance, which is determined based on the attribute of the physical storage device group on which the real page group is based.
  • the controller performs the following process in the determination process: (A) A total I / O frequency that is the total I / O frequency of all virtual pages in one or more virtual volumes to which real pages are allocated from the plurality of types of real page groups using the monitor information. To calculate; (B) Based on the ratio of performance values of various real page groups and the total I / O frequency, a boundary value that is an I / O frequency of the boundary of the real page group is calculated for each boundary of the real page group; (C) Based on the I / O frequency of each real page group and the boundary value for each boundary of the real page group, determine the I / O frequency range of each real page group, I do.
  • the performance value of the real page group is a value related to the performance determined based on the attribute of the physical storage device group that is the basis of the real page group.
  • the boundary of the real page group is a boundary between the real page group and its upper and / or lower real page group.
  • the maximum value and / or the minimum value of the I / O frequency range of each real page group is a value determined based on the boundary value between the real page group and its upper and / or lower real page group.
  • the controller performs the following processes (d) and (e) in the determination process: (D) Assuming that the data elements in the real page assigned to all virtual pages having an I / O frequency that falls within the I / O frequency range of the real page group have been transferred to the real page group, Determining whether the usage rate of a page group exceeds the rate threshold of the actual page group; (E) When the result of the determination in (d) is negative, the determined I / O frequency range is included in the real page group management information. I do.
  • the usage ratio of the real page group is a ratio of the number of real pages allocated to the virtual page to the number of real pages constituting the real page group.
  • the ratio threshold of the real page group is the threshold of the usage ratio.
  • the controller further performs the following process (f) in the determination process: (F) When the result of the determination in (d) is affirmative, the I / O frequency range is corrected so that the usage ratio of the real page group does not exceed the percentage threshold of the real page group. I do.
  • the controller further performs the following process (g) in the determination process: (G) including the corrected I / O frequency range in the real page group management information; I do.
  • the I / O frequency of the virtual volume or virtual page specified from the monitor information is included in the monitor information of the virtual volume or virtual page. I / O frequency.
  • the I / O frequency of the virtual volume or virtual page specified from the monitor information is different from the virtual volume in the monitor information. This is a relative value with respect to the I / O frequency of the volume or the I / O frequency of a virtual page different from the virtual page.
  • the controller receives designation of whether the I / O frequency in (A) is an absolute value or a relative value.
  • the I / O frequency of the virtual volume or virtual page specified from the monitor information is the I / O frequency included in the monitor information of the virtual volume or virtual page. / O frequency.
  • the I / O frequency of the virtual volume or virtual page specified from the monitor information is the I / O frequency of a virtual volume different from the virtual volume in the monitor information. This is a relative value to the O frequency or the I / O frequency of a virtual page different from the virtual page.
  • the I / O frequency in (A) is an average of the number of I / Os at a certain time.
  • the I / O frequency in (A) is the maximum of a plurality of I / O numbers respectively corresponding to a plurality of times in a certain time zone. The number of I / Os.
  • the controller designates whether the I / O frequency in (A) is an average I / O number or a maximum I / O number. receive.
  • the I / O frequency in (A) is an average of the number of I / Os in a certain time.
  • the I / O frequency in (A) is the maximum of the number of I / Os respectively corresponding to a plurality of times in a certain time zone. I / O number.
  • the controller receives an I / O command from the host, and specifies an I / O destination virtual page from the I / O command.
  • the controller updates the I / O frequency corresponding to the I / O destination virtual page in the monitor information when performing I / O to the real page allocated to the I / O destination virtual page.
  • the I / O frequency corresponding to the I / O destination virtual page in the monitor information is not updated. .
  • the I / O frequency of the virtual page to which the real page is allocated can be updated only when I / O is performed on the real page.
  • the storage resource stores, as the monitor information, monitor information whose state is active and monitor information whose state is standby.
  • the controller updates the I / O frequency in the active monitor information.
  • the controller identifies the first virtual page based on the active monitor information, changes the state of the standby monitor information from standby to active,
  • the I / O frequency of the specified virtual page in the monitor information whose state is changed to active is updated.
  • monitoring (update) of the I / O frequency can be continued.
  • the controller outputs the relation information so that the created relation information is displayed.
  • the controller starts the migration process when receiving an instruction to start migration.
  • ⁇ Viewpoint 21> In the storage system according to any one of the viewpoints 3 to 20, the controller starts the migration process when the usage ratio of the first real data group exceeds a predetermined ratio threshold.
  • the first type real data group is the highest level real data group.
  • the controller always assigns a real page from the first type of real data group to the write-destination virtual page specified from the write command.
  • the controller includes a certain percentage or more of real pages allocated to the virtual volume in a certain real page group. If there is, the data in the real page in the real page group other than the certain real page group among all the real pages assigned to the virtual volume is converted into the certain real page. Move to a real page in the group.
  • ⁇ Viewpoint 24> In the storage system according to the viewpoint 23, a real page assigned to the virtual page after shifting to a real page in the certain real page group is always a real page in the certain real page group.
  • the controller receives a write command for specifying the first virtual page from the host after the page unit migration processing is started, and If the data transfer from the first real page to the second real page has not been started, the transfer is canceled and the data according to the write command is transferred to the real page in the second type real page group. And the allocation information is updated so that the first virtual page is assigned the real page of the write destination instead of the first real page.
  • the controller receives a write command for specifying the first virtual page from the host after the page unit migration processing is started, and When data transfer from the first real page to the second real page has not started, data according to the write command is written to the first real page, and then (A) and (B )I do.
  • the controller receives a write command for specifying the first virtual page from the host after the page unit migration process is started, and , If data is being migrated from the first real page to the second real page, cancel the migration, write the data according to the write command to the real page in the second type real page group, and The allocation information is updated so that the first virtual page is allocated with the real page of the write destination instead of the first real page.
  • the controller receives a write command specifying the first virtual page from the host after the page unit migration processing is started, and When data is being transferred from the first real page to the second real page, the data according to the write command is written to the first real page, and then the second type from the first real page. The migration of data to the real page in the real page group is resumed.
  • the controller receives a write command for specifying the first virtual page from the host after the page unit migration process is started, and When data is being transferred from the first real page to the second real page, after the transfer is completed, the data according to the write command is written to the second real page according to the allocation information.
  • the controller receives a write command for specifying the first virtual page from the host after the page unit migration process is started, and When data is being transferred from the first real page to the second real page, data according to the write command is written to both the first real page and the second real page.
  • the controller receives a write command for specifying the first virtual page from the host after the page unit migration process is started, and When (A) and (B) have been completed, data according to the write command is written into the second real page according to the allocation information.
  • the first virtual page is a virtual page in which the last I / O time that is the latest time when the I / O is performed satisfies a predetermined condition. is there.
  • the predetermined condition is that the last I / O time is past the predetermined time from the current time.
  • the second type real page group is a lower real page group than the first type real page group.
  • the first virtual page is a virtual page in which an I / O according to sequential access has occurred.
  • the second type real page group is a lower real page group than the first type real page group.
  • the controller updates the monitor information only in a predetermined time zone.
  • the controller stores the monitor information every time a predetermined time zone is passed.
  • the first virtual page is a virtual page in which the I / O frequency specified from the monitor information corresponding to the designated time zone does not meet a predetermined condition.
  • a storage control device of a storage system connected to a host includes a storage resource and a controller connected to the storage resource and the host.
  • the controller provides one or more virtual volumes to the one or more hosts.
  • the virtual volume is a virtual logical volume composed of a plurality of virtual pages.
  • the virtual page is a virtual storage area.
  • the real page is a substantial storage area.
  • the storage resource is allocation information that is information indicating which virtual page is allocated to which virtual page, monitor information that is information indicating I / O (Input / Output) frequency for each virtual page, and real page Real page group management information which is information including information indicating the I / O frequency range set for each group type is stored.
  • the controller receives a write command from the host, specifies a write-destination virtual page from the write command, and allocates a free real page from any of a plurality of types of real pages to the specified virtual page.
  • the information is updated, and the write target data is stored in the allocated real page.
  • the controller updates the I / O frequency of the virtual page in the monitor information according to the I / O for the virtual page or the real page assigned to the virtual page.
  • the real page is a substantial storage area.
  • the real page group has a plurality of real pages.
  • Transition process in which the controller includes the following processes (A) to (C): (A) specifying a virtual volume or virtual page whose I / O frequency specified from the monitor information does not meet a predetermined condition; (B) The data stored in the first real page in the first type real page group allocated to the specified virtual volume or virtual page is stored in the second type real page group. Move to 2 real pages; (C) updating the allocation information to allocate the second real page instead of the first real page to a first virtual page that is a virtual page to which the first real page is allocated; I do.
  • the predetermined condition is to fall within the I / O frequency range of the first type real page group.
  • the second type real page group is a real page group in which the I / O frequency range is within the I / O frequency of the virtual volume or virtual page specified in (A).
  • the controller performs an I / O frequency range determination process, and in the determination process, determines the I / O frequency range of various real page groups based on the monitor information.
  • the viewpoints 1 and 2 described above are viewpoints taking a storage system control method as an example
  • the viewpoints 3 to 35 are viewpoints taking a storage system as an example
  • the viewpoint 36 takes a storage controller as an example.
  • any of these aspects is also applicable to storage systems, storage control devices, storage control methods, storage systems or storage control device control methods, storage systems or storage control devices, computer programs (e.g., ( e.g., ( , A computer program for storage control, or a computer program executed by a storage system or storage control device).
  • an object may be represented by a combination of a name and an ID instead of a reference sign.
  • a logical volume is represented by reference numeral 500
  • logical volume 500 when a logical volume with ID 00 is represented, it is represented as “logical volume # 00”.
  • data stored in one real page is referred to as a “data element”.
  • data elements stored in a real page assigned to a virtual page may be represented by “data elements in a virtual page” or similar expressions.
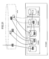
  • FIG. 1 shows an outline of the first embodiment of the present invention.
  • a host device (hereinafter referred to as a host) 101 is connected to the storage system 103. There may be one host 101 or a plurality of hosts 101.
  • the storage system 103 provides a virtual volume (hereinafter referred to as VVOL (Virtual Volume)) 203 to the host 101 and has a plurality of types of tiers 303.
  • VVOL Virtual Volume
  • the VVOL 203 is a virtual logical volume according to Thin Provisioning, that is, a logical volume not based on a physical storage device (hereinafter referred to as PDEV).
  • the VVOL 203 is composed of a plurality of virtual pages 207.
  • the virtual page 207 is a virtual storage area. Assume that there is one VVOL # 00 as the VVOL 203.
  • the virtual page #b in the VVOL #a will be referred to as “virtual page # (ab)”.
  • the Thin Provisioning VVOL 203 is provided to the host 101 as having a virtual capacity, and a real page is allocated in response to a write request from the host 101 to an address of a virtual page.
  • One VVOL 203 is provided to one or more hosts 101. When provided to a plurality of hosts 101, the VVOL 203 is shared by the plurality of hosts 101.
  • Tier 303 is composed of a plurality of real pages 209.
  • the real page 209 is a substantial storage area.
  • the tier 303 for example, it is assumed that there are two tiers # 01 and # 02.
  • the real page #d in the tier #c is referred to as “real page # (cd)”.
  • the tier 303 may be composed of, for example, one or more real volumes (hereinafter referred to as RVOL (Real Volume)).
  • RVOL Real Volume
  • the RVOL is a substantive logical volume, that is, a logical volume based on PDEV.
  • Each of the plurality of tiers 303 in one pool is set to be used for one or a plurality of VVOLs 203 in a state before data migration.
  • the host 101 is generally a computer, but may be another storage system instead of the computer.
  • the host 101 transmits an I / O (Input / Output) command to the storage system 103.
  • the I / O command is, for example, a write command or a read command, and has I / O destination information.
  • the I / O destination information is information indicating the I / O destination. For example, the ID of the VVOL 203 (for example, LUN (Logical Unit Number)) and the address of the I / O destination (for example, LBA (Logical) Block Address)). From the I / O destination information, the I / O destination VVOL 203 and the virtual page 207 are specified.
  • the storage system 103 receives a write command from the host 101 and specifies the virtual page # (00-C) as the write destination based on the I / O destination information included in the write command. If any real page 209 is not assigned to the specified virtual page # (00-C), the storage system 103 assigns any free (unassigned) real page # (01) to the virtual page 207. -D) is allocated, and the data element to be written in accordance with the write command is written to the allocated real page (01-D).
  • data migration is performed on a page basis.
  • the storage system 103 performs the following processing: * The data element in the real page # (01-D) assigned to the virtual page # (00-C) is transferred to the free (unassigned) real page # (02-E); * Change the allocation source of virtual page # (00-C) from real page # (01-D) to real page # (02-E); * Update the status of real page # (01-D) to free (unallocated status) I do.
  • Whether or not to migrate data migration and where to place the migration destination tier are determined based on the tier range described below.
  • the tear range is determined automatically.
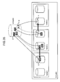
  • FIG. 2 shows the configuration of the storage system 103.
  • the storage system 103 includes a plurality of PDEVs 105, a storage control device connected to the plurality of PDEVs 105, and a power supply unit 100.
  • the plurality of PDEVs 105 include a plurality of types of PDEVs such as SSD (Solid State Drive) and HDD (Hard Disk Drive).
  • HDDs include HDD-FC (Fibre Channel), HDD-SATA (Serial ATA), and HDD-SAS (Serial Attached SCSI).
  • the storage control device has a controller and a plurality of CMPKs (cache memory packages) 119 connected to the controller.
  • the controller includes a plurality of CHAs (channel adapters) 111, a plurality of DKAs (disk adapters) 113, a plurality of MPPKs (microprocessor packages) 121, and a SW (switch) 117.
  • CHAs channel adapters
  • DKAs disk adapters
  • MPPKs microprocessor packages
  • SW switch
  • the number of CMPK 119 may be more than two.
  • the power supply unit 100 supplies electric power based on electric power from a commercial power supply to each of the packages 119, 111, 113, 121, and 117.
  • the CHA 111 is an interface device connected to the host 101.
  • the CHA 111 receives an I / O command (write command or read command) from the host 101 and transfers the received I / O command to one of the plurality of MPPKs 121.
  • the CHA 111 has a protocol chip 112 and an LR (Local Router) 114.
  • the protocol chip 112 performs protocol conversion for communication with the host 101.
  • the LR 114 transfers the received I / O command to the MPPK 121 corresponding to the I / O destination specified from the I / O destination information included in the I / O command.
  • the DKA 113 is an interface device connected to the HDD 105.
  • the DKA 113 reads data from the HDD 105 and transfers the data to a DRAM (Dynamic Random Access Memory) of the CMPK 119 or writes the data from the CMPK 119 to the HDD 105.
  • DRAM Dynamic Random Access Memory
  • the MPPK 121 is a device having one or a plurality of MPs (microprocessors).
  • the MP processes an I / O command from the CHA 111.
  • a plurality of packages that is, CHA 111, DKA 113, CMPK 119, and MPPK 121 are connected to SW 117.
  • the SW 117 controls connection between PKs (packages).
  • CMPK119 has a volatile memory and / or a non-volatile memory.
  • the CMPK 119 includes, for example, a storage area (hereinafter referred to as a cache memory or CM for short) in which a data element that is a target of I / O with respect to the virtual page 207 (real page 209) is stored.
  • the CMPK 119 has a storage area for storing various information and computer programs. Information and computer programs will be described later.
  • a management device 107 is connected to the storage system 103.
  • the management device 107 is a computer having a display device and an input device, for example.
  • the administrator can perform various settings for the storage system 103 from the management apparatus 107.
  • FIG. 3 shows the relationship between various storage areas in the storage system 103.
  • one or more RGs 301, one or more pools 201, and one or more VVOLs 203 are managed from the lower level to the higher level.
  • RG301 is an abbreviation for RAID group.
  • One RG 301 is composed of the same type of PDEV.
  • the PDEV type is defined, for example, at least one of performance and unit cost.
  • the performance is, for example, a data I / O speed or a response time (a time length from when a command is received from the host until a response is returned).
  • the unit cost is a price (for example, so-called bit cost) required to store data of unit size.
  • RG # 00 is composed of a plurality of SSDs
  • RG # 01 is composed of a plurality of HDD-SASs
  • RG # 02 is composed of a plurality of HDD-SATAs.
  • capacitance of several PDEV which comprises one RG is the same, for example.
  • the pool 201 is a set of real pages 207. Specifically, for example, the pool 201 is composed of one or more RVOLs 205, and each RVOL 205 is composed of one or more real pages 207.
  • RVOL constituting the pool 201 is abbreviated as “PVOL”.
  • Real pages 207 constituting one pool 201 are hierarchized. That is, a plurality of tiers 303 exist in one pool 201.
  • the tier 303 exists, for example, for each type of RVOL.
  • the number of tiers 303 is also three. Therefore, one type of RVOL 205 corresponding to that tier belongs to one tier 303.
  • tier # 00 is a type called SSD
  • an RVOL based on RG 301 configured by SSD belongs
  • tier # 01 is a type called HDD-SAS, which is HDD-SAS.
  • the RVOL based on the configured RG 301 belongs, and the tier # 03 is of the type HDD-SATA, and the RVOL based on the RG 301 configured by the HDD-SATA belongs.
  • the tier 303 is not necessarily provided strictly for each RVOL type, and a plurality of RVOLs 205 based on similar types of RGs may belong to the same tier 303.
  • the VVOL 203 is associated with an allocation source pool 201 from one or more pools 201. Further, a tier 303 (hereinafter referred to as an allocation tier) 303 that can be used as an allocation source is associated with the VVOL 203 from the selected pool 201. In addition, one of one or more allocation tiers 303 is associated with the VVOL 203 as a default tier 303. According to FIG. 3, the allocation tiers of VVOL # 01 are tiers # 00 and # 02.
  • a plurality of RVOLs may be based on one RG if they belong to the same tier, but if they belong to different tiers, respectively. , Each of which is based on a separate RG.
  • a plurality of real pages are sequentially allocated to a plurality of virtual pages of one or a plurality of VVOLs 203 related to the same tier 303, the real pages are sequentially selected across the RGs related to the tier 303. It is desirable to do.
  • the real pages are sequentially selected from sequentially different RGs in consideration of the relationship with the RG. This makes it possible to improve access performance.
  • FIG. 4 shows information and computer programs stored in the CMPK 119.
  • a table is adopted as an example of information, but the information may be in a format other than the table (for example, a queue format).
  • the CMPK 119 includes, as information, a tier definition table 401, a tier management table 402, a pool management table 403, a VVOL management table 404, a PVOL management table 405, an allocation table 407, a real page management table 408, a monitor table 409, a frequency distribution table 410, A migration page table 411 and a migration definition table 412 are stored. Further, the CMPK 119 is a UI control program 413 that is a program that controls UI (User Interface), an I / O control program 414 that is a program that controls I / O, and a program that performs relocation as computer programs. The rearrangement program 415 is stored. Note that at least one of these tables and the computer program may be stored in a storage resource other than the CMPK 119. For example, at least one computer program and / or the migration page table 411 may be stored in a memory in the MPPK 121.
  • an object is specified using an ID, but may be specified using at least one of a name and a number instead of or in addition to the ID.
  • FIG. 5 shows the configuration of the tier definition table 401.
  • the tier definition table 401 is a table representing a tier definition. Specifically, for example, the table 401 represents the relationship between the RVOL type and the tier ID. According to the table 401, a tier to which an ID “00” is assigned is prepared as a tier corresponding to the RVOL type “SSD”.
  • FIG. 6 shows the configuration of the tier management table 402.
  • the tier management table 402 is a table for managing information related to tiers. Specifically, for example, the table 402 has, for each tier, a pool ID, a tier ID, a tier range, a PVOL ID, a tier threshold, a usage rate, and a real page ID. Taking one tier (hereinafter referred to as “target tier” in the description of FIG. 6) as an example, these information elements are specifically as follows.
  • “Pool ID” is the ID of the pool having the target tier.
  • * “Tier ID” is the ID of the target tier. From the tier ID, the type of PDEV that is the basis of the PVOL belonging to the target tier is uniquely specified.
  • Tier range is a range of the load (for example, I / O frequency) of a real page that should exist in the target tier.
  • PVOL ID is an ID of a PVOL belonging to the target tier.
  • Tier threshold is a threshold of the usage rate of the target tier.
  • User ratio is a use ratio of the target tier, that is, a ratio of the number of allocated real pages to the number of real pages constituting the target tier.
  • Real page ID is an ID of all real pages belonging to the target tier.
  • the tier threshold is set for each tier, but instead, one tier threshold is set for one pool, and the one tier is the one pool. It may be common for all tiers of the.
  • FIG. 7 shows the configuration of the pool management table 403.
  • the pool management table 403 is a table for managing information related to the pool. Specifically, for example, the table 403 has, for each pool, a pool ID, tiering, rearrangement, automatic execution, rearrangement execution cycle, rearrangement execution time, monitor time zone, and pool status. Taking a single pool (hereinafter referred to as “target pool” in the description of FIG. 7) as an example, these information elements are specifically as follows. * “Pool ID” is the ID of the target pool. * “Hierarchization” is whether or not to stratify the actual page in the target pool.
  • “ON” means tiering (that is, a plurality of tiers are provided in the target pool), and “OFF” means that tiering is not performed (that is, tiers are not provided in the target pool).
  • “Relocation” is whether or not to relocate the data elements in the target pool.
  • “ON” means that rearrangement is performed, and “OFF” means that rearrangement is not performed.
  • the important thing regarding the monitoring of the I / O frequency is that the I / O frequency is not updated unless the I / O is actually performed on the real page allocated to the I / O destination VVOL or the virtual page.
  • the I / O frequency is updated when I / O is performed on a given real page. This point will also be described in the later-described write process and read process.
  • Automatic execution is whether the relocation of the data elements in the target pool is automatically started or manually started. “ON” means that the rearrangement is automatically started, and “OFF” means that the rearrangement is started manually.
  • the “relocation execution cycle” is a cycle in which data elements in the target pool are rearranged. For example, “1 day” means that rearrangement is started every day (24 hours).
  • Relocation execution time is the time at which relocation of data elements in the target pool is started.
  • Monitoring time zone is a time zone for monitoring the I / O frequency of the real page assigned to the VVOL to which the target pool is assigned.
  • Pool status is the status of the target pool.
  • Monitoring means that the I / O frequency of the VVOL to which the target pool is allocated or the virtual page in the VVOL is being monitored, and the data element is not being relocated.
  • Relocating means that data elements have been relocated (relocation within the target pool or data elements from the target pool to another pool) It means being in the middle of being.
  • Non-monitoring means neither I / O frequency monitoring nor data element relocation.
  • FIG. 8 shows the configuration of the VVOL management table 404.
  • the VVOL management table 404 is a table for managing information related to the VVOL. Specifically, for example, the table 404 includes, for each VVOL, a VVOL ID, a PVOL ID, an allocation tier ID, a default tier ID, a capacity, a rearrangement, an automatic execution, a rearrangement execution cycle, a rearrangement execution time, and a monitoring time zone.
  • the rearrangement, automatic execution, rearrangement execution cycle, rearrangement execution time, and monitoring time zone are the same as the information elements in the pool management table 403, but the information elements in this table 404 (for example, “ If the value of “relocation”) is different from the value of the same information element (for example, “relocation”) in the pool management table 403, the value in this table 404 may be prioritized.
  • the value of the information element is set for one pool, and as a result, the value can be reflected in the settings for all the VVOLs to which the pool is assigned. Can be set.
  • VVOL ID is the ID of the target VVOL.
  • PVOL ID is an ID of a pool (hereinafter, allocated pool) allocated to the target VVOL.
  • Allocation Tier ID is an ID of a tier that is allocated to the target VVOL among a plurality of tiers that the allocation pool has. A real page is allocated from the allocation tier to the virtual page in the target VVOL.
  • Default Tier ID is the ID of the default tier.
  • the default tier is a tier that provides a real page that is initially allocated to a write-destination virtual page from the host 101.
  • Capacity is the capacity of the target VVOL.
  • Relocation is whether or not to relocate data elements in the target VVOL.
  • ON means that rearrangement is performed, and “OFF” means that rearrangement is not performed.
  • ON the I / O frequency of the target VVOL or its virtual page is monitored, and when “OFF”, the I / O frequency of the target VVOL or its virtual page is not monitored.
  • Automatic execution is whether the relocation of data elements in the target VVOL is automatically started or manually started.
  • the “ON” means that the rearrangement is automatically started, and “OFF” means that the rearrangement is started manually.
  • the “relocation execution cycle” is a cycle in which data elements in the target VVOL are rearranged.
  • Relocation execution time is the time at which the rearrangement of data elements in the target VVOL is started.
  • Monitoring time zone is a time zone for monitoring the I / O frequency of the target VVOL or virtual page.
  • FIG. 9 shows the configuration of the PVOL management table 405.
  • the PVOL management table 405 is a table for managing information related to PVOL. Specifically, for example, the table 405 has RG ID, PDEV ID, type, PVOL ID, and capacity for each PVOL. Taking one PVOL (hereinafter referred to as “target PVOL” in the description of FIG. 9) as an example, these information elements are specifically as follows.
  • RG ID is the ID of the RG that is the basis of the target PVOL.
  • PDEV ID is the ID of all PDEVs constituting the RG that is the basis of the target PVOL.
  • * “Type” is the type of the target PVOL. This is the same as the type of PDEV that is the basis of the target PVOL. For example, if the RVOL type is “SSD”, the type of the target PVOL is also “SSD”.
  • PVOL ID is the ID of the target PVOL.
  • Capacity is the capacity of the target PVOL.
  • FIG. 10 shows the configuration of the allocation table 407.
  • the allocation table 407 is a table representing which virtual page is allocated to which virtual page.
  • the table 407 has a VVOL ID, a virtual page ID, a pool ID, a real page ID, and a tier ID for each virtual page.
  • VVOL ID is the ID of the VVOL having the target virtual page.
  • Virtual page ID is the ID of the target virtual page.
  • Pool ID is the ID of the pool assigned to the VVOL having the target virtual page.
  • * “Real page ID” is an ID of a real page assigned to the target virtual page.
  • * “Tier ID” is an ID of a tier having a real page allocated to the target virtual page.
  • FIG. 11 shows the configuration of the real page management table 408.
  • the real page management table 408 is a table for managing the status of each real page. Specifically, for example, the table 408 has a pool ID, a real page ID, and a status for each real page. Taking one real page (hereinafter referred to as “target real page” in the description of FIG. 11) as an example, these information elements are specifically as follows. * “Pool ID” is the ID of the pool having the target real page. * “Real page ID” is the ID of the target real page. * “Status” is the status of the target real page. Status values include, for example, “in use” and “free”. “In use” means that the target real page has been assigned to any virtual page. “Free” means that the target real page is not assigned to any virtual page, and therefore can be assigned to any virtual page.
  • FIG. 12 shows the configuration of the monitor table 409.
  • the monitor table 409 exists for each VVOL.
  • a table 409 is a table representing the I / O frequency of the virtual page.
  • the table 409 will be described by taking one VVOL (hereinafter referred to as “target VVOL” in the description of FIG. 12) as an example.
  • the table 409 has, for example, a VVOL ID, a virtual page ID, a total number of I / Os, an average number of I / Os, a maximum number of I / Os, and a final I / O time for each virtual page.
  • VVOL ID is the ID of the VVOL having the target virtual page (that is, the target VVOL).
  • Virtual page ID is the ID of the target virtual page.
  • Total number of I / Os is the number of I / Os performed on the target virtual page during the monitoring time period.
  • the “average I / O number” is a value calculated by dividing the value of the “total I / O number” by a predetermined time.
  • “Maximum number of I / Os” is the largest number of I / Os among a plurality of I / Os (I / Os for the target virtual page) in a plurality of time zones constituting the monitor time zone.
  • “Last I / O time” is the latest time when I / O was performed on the target virtual page.
  • Two tables 409 are used alternately. Specifically, for example, when rearrangement is executed, a migration page table 411 described later is created using the table 409 for the latest monitoring time zone at the time of execution, and the other table 409 is used. Thus, the I / O frequency is monitored.
  • the table 409 that is used may be referred to as an active table 409, and the table 409 that is not used may be referred to as a standby table 409.
  • FIG. 13 shows the configuration of the frequency distribution table 410.
  • the frequency distribution table 410 is a table representing the correlation between the number of I / Os and the number of virtual pages. This table 410 is created based on the monitor table 409. As the number of I / Os, at least one of the total number of I / Os, the average number of I / Os, and the maximum number of I / Os in the table 409 described above may be employed.
  • FIG. 13 is an example in which the average number of I / Os is employed. That is, the table 410 shown in FIG. 13 represents the number of virtual pages for each average I / O number. As can be seen from FIG. 13, the number of virtual pages having an average I / O count of “0” is “561”.
  • This table 410 (or a graph created based on this table 410) is displayed on the management apparatus 107. The administrator can manually instruct the storage system 103 to start rearrangement of data elements based on the table 401 (or a graph based thereon).
  • the frequency distribution table 410 may be updated as the monitor table 409 is updated, or may be created based on the table 409 when the administrator instructs the display of the frequency distribution.
  • FIG. 14 shows the configuration of the migration page table 411.
  • the migration page table 411 is a table created based on the monitor table 409 when data is migrated in units of pages.
  • a table 411 represents the relationship between the migration source and the migration destination.
  • the table 411 includes a virtual page ID, a migration source tier ID, a migration destination tier ID, and a migration status for each migration target virtual page.
  • target virtual page Taking one virtual page (hereinafter referred to as “target virtual page” in the description of FIG. 14) as an example, these information elements are specifically as follows.
  • “Virtual page ID” is the ID of the target virtual page.
  • * “Migration source tier ID” is an ID of a tier having a real page (migration source real page) assigned to the target virtual page.
  • Migration Destination Tier ID is the ID of the tier that is the migration destination of the data element.
  • the real page of the transfer destination is any free real page in the tier.
  • Migration status is the status of migration for the target virtual page. As the value of “migration status”, for example, “migrated”, “migrating”, and “not migrated” are available.
  • “Migrated” means that the data element has been migrated from the migration source real page to any real page in the migration destination tier.
  • Migrating means that the data element is being migrated from the migration source real page to any real page in the migration destination tier.
  • Non-migrated means that the migration of the data element from the migration source real page to any real page in the migration destination tier has not yet started.
  • the migration page table 411 may include other types of information elements related to the migration source instead of or in addition to the virtual page ID.
  • the ID of the real page assigned to the virtual page may be included in the table 411.
  • the migration page table 411 may include other types of information elements related to the migration destination instead of or in addition to the migration destination tier ID.
  • a free real page in the migration destination tier may be specified based on the tables 402 (FIG. 6) and 408 (FIG. 11), and the ID of the specified real page may be included in the table 411.
  • the status of the specified real page may be updated from “free” to “in use” (or another status (for example, “reserve”).
  • FIG. 15 shows the configuration of the migration definition table 412.
  • the migration definition table 412 represents a migration-related definition for each VVOL.
  • the table 412 has a VVOL ID, a tier maintenance, an allocation tier ID, and a storage threshold for each VVOL.
  • VVOL ID is the ID of the target VVOL.
  • Allocation Tier ID is the ID of the allocation tier of the target VVOL.
  • Storage threshold is a threshold of the storage ratio of the allocation tier. This threshold is set for each allocation tier.
  • the “storage ratio” is as follows for one allocation tier (hereinafter, “target allocation tier” in the description of this paragraph). That is, the storage ratio is how much data elements of all data elements in the target VVOL are stored in the target allocation tier.
  • the storage threshold is set for each tier, but instead, one storage threshold is set for one pool, and that one tier is the one pool. It may be common for all tiers of the.
  • the processing performed by the computer program is actually performed by an MP (microprocessor) that executes the computer program.
  • the MP is in the MPPK 121 (see FIG. 2).
  • FIG. 16 shows a flow of pool creation processing.
  • a pool newly created by the pool creation processing is referred to as a “target pool”.
  • the UI control program 413 receives a pool creation instruction from the administrator through the management apparatus 107. Then, the program 413 performs the following preparation process, for example. * The program 413 adds a new record of the target pool to the tables 402 (FIG. 6), 403 (FIG. 7), and 408 (FIG. 11). * The program 413 receives the designation of PVOL from the administrator through the management apparatus 107. Specifically, for example, the program 413 displays information (for example, ID, type, etc.) regarding the RVOL and receives designation of the RVOL as the PVOL.
  • information for example, ID, type, etc.
  • S1602 to S1605 are performed for each designated RVOL. Taking one RVOL (hereinafter referred to as “target RVOL” in the description of FIG. 16) as an example, S1602 to S1605 will be described.
  • the program 413 specifies the type of the specified RVOL.
  • the CMPK 119 stores an RVOL management table having an ID, a capacity, a type (for example, SSD, HDD-SAS) for each RVOL, and the program 413 is designated from the RVOL management table.
  • the type of the RVOL that has been specified is specified.
  • the program 413 determines from the tier management table 403 whether or not a tier corresponding to the specified RVOL type already exists in the target pool. If the result of this determination is negative, S1604 is performed, and if the result of this determination is affirmative, S1605 is performed.
  • the program 413 identifies the tier ID corresponding to the identified RVOL type from the tier definition table 401. Then, the program 413 adds the identified tier ID for the target pool to the table 402 (FIG. 6).
  • the program 413 adds the target RVOL to the tier corresponding to the specified RVOL type (hereinafter referred to as “target tier” in this paragraph). Specifically, for example, the program 413 registers the ID of the target RVOL as the PVOL ID corresponding to the tier ID of the target tier in the table 402 (FIG. 6).
  • the program 413 determines whether or not S1602 and subsequent steps have been performed for all designated RVOLs. If there is an RVOL in which the processing after S1602 is not performed in the designated RVOL, S1602 and subsequent steps are performed for that RVOL.
  • the program 413 displays a pool definition GUI (Graphical User Interface). Then, the program 413 receives various settings through the GUI.
  • GUI Graphic User Interface
  • FIG. 17 shows a pool definition GUI 1700.
  • the ID of the target pool is displayed.
  • the program 413 can also display the IDs of pools other than the target pool (that is, existing pools) in response to a predetermined tool (for example, pull-down menu) being operated by the administrator.
  • the GUI 1700 also displays information elements “hierarchy”, “relocation”, “automatic execution”, “execution cycle”, “execution time” to be set in the table 403 (FIG. 7) for the pool indicated by the displayed ID. ”,“ Monitor time zone ”, and“ tier threshold value ”, and an input tool used by the administrator to input values.
  • an input tool in the present embodiment an arbitrary tool such as a radio button, a check box, and a text input field can be adopted.
  • the GUI 1700 can make one threshold common to all tiers of the target pool, or set a threshold for each tier of the target pool. Yes.
  • the existing pool ID can also be displayed on the GUI 1700
  • the setting of the existing pool desired by the administrator can be changed using the GUI 1700.
  • the program 413 displays a warning on the management apparatus 105 as an inappropriate tier threshold.
  • the tier threshold value may not be registered in the table 402 (FIG. 6).
  • the program 413 updates the table. Specifically, for example, the program 413 performs the following processing. * The program 413 is input to the GUI 1700 in FIG. "Is registered in the table 403 (FIG. 7). * The program 413 divides the target pool into a plurality of real pages, and adds the IDs of the plurality of real pages to the tables 402 (FIG. 6) and 408 (FIG. 11).
  • the real page capacity may be common to all pools. Therefore, the number of real pages configuring the target pool may depend on the capacity of the target pool (the total capacity of the PVOL configuring the target pool).
  • the capacity of the real page may be different for each PVOL. Specifically, for example, the capacity of a real page constituting a PVOL based on a RAID 5 (4D + 1P) RG and the capacity of a real page constituting a PVOL based on a RAID 6 (4D + 2P) RG may be different. This is because the number of parity stored in one real page is different.
  • FIG. 18 shows the flow of VVOL creation processing.
  • a VVOL newly created by the VVOL creation process is referred to as “target VVOL”.
  • the UI control program 413 displays a VVOL creation GUI. Then, the program 413 receives various settings through the GUI.
  • FIG. 19 shows a VVOL creation GUI 1900.
  • the ID of the target VVOL is displayed.
  • the program 413 can also display the ID of a VVOL (existing VVOL) other than the target VVOL in response to a predetermined tool (for example, pull-down menu) being operated by the administrator.
  • a predetermined tool for example, pull-down menu
  • the GUI 1900 displays the information elements “pool ID”, “capacity”, “relocation”, “automatic execution”, “execution cycle”, “information” to be set in the table 404 (FIG. 8) for the VVOL represented by the displayed ID.
  • An input tool used by the administrator to input values of “execution time” and “monitor time zone” is provided.
  • the GUI 1900 identifies the tier ID corresponding to the input pool ID from the table 402 (FIG. 6), and displays all the identified tier IDs.
  • the GUI 1900 has an input tool used by the administrator to input values of “allocation tier”, “storage threshold”, and “default tier” for the VVOL represented by the displayed ID.
  • the administrator uses these input tools to determine which of the multiple tiers of the pool (pool allocated to the VVOL) represented by the input pool ID is to be assigned tier, and which of the assigned tiers is The “default tier” can be entered, and the storage threshold for each assigned tier can be entered.
  • the program 413 updates the table. Specifically, for example, the program 413 performs the following processing.
  • the program 413 is input to the GUI 1900 in FIG.
  • the values of “allocation tier ID” and “default tier ID” are registered in the table 404 (FIG. 8).
  • the program 413 calculates the number of virtual pages constituting the target VVOL based on the capacity of the target VVOL.
  • the program 413 registers the ID of the target VVOL and the virtual page IDs for the calculated number of virtual pages in the table 407 (FIG. 10).
  • the program 413 creates the table 409 (FIG. 12) if the “relocation” is “ON” for the target VVOL. This is because the I / O frequency is monitored during the monitoring time period.
  • virtual page IDs corresponding to the calculated number of virtual pages are registered.
  • the program 413 registers “allocation tier ID” and “storage threshold” for the target VVOL in the table 412 (FIG. 15).
  • FIG. 22 shows a flow of information display processing.
  • the UI control program 413 receives a display command from the management device 107 (S2201), and displays information specified by the display command on the management device 107 (S2202).
  • the types of information that can be displayed include, for example, at least one of the tables 401 to 412 (or information obtained by processing the table (eg, graph, summary, etc.)).
  • FIG. 23 shows a frequency distribution GUI 2300.
  • the frequency distribution GUI 2300 is displayed in S2202 of FIG. Specifically, for example, in S2201 of FIG. 22, the management apparatus 107 transmits a frequency distribution display command designating the VVOL ID desired by the administrator in accordance with a request from the administrator.
  • the program 413 extracts a frequency distribution corresponding to the VVOL ID specified by the command from the table 410 (FIG. 13), and the extracted frequency distribution is shown in FIG. As shown in FIG.
  • the frequency distribution is displayed in a table format, but may be displayed in another format such as a graph format instead of or in addition to the frequency distribution.
  • the administrator looks at the frequency distribution displayed on the GUI 2300 and determines whether or not to migrate the data element in the desired VVOL. For example, if the administrator thinks that there are a large number of virtual pages with a high average I / O count, the administrator may instruct the storage system 103 to migrate the data elements in the desired VVOL (for example, in the GUI 2300) You can press the “Migrate” button).
  • the frequency distribution is used as a determination material for the administrator to determine whether or not to perform data migration (migration of data elements in the VVOL). In other words, if the data migration is performed automatically, the frequency distribution need not be calculated.
  • FIG. 24 shows a flow of write processing (write to cache memory).
  • the I / O control program 414 receives a write command from the host 101.
  • the program 414 specifies the write-destination VVOL and virtual page from the I / O destination information included in the received write command.
  • a plurality of virtual pages are often specified. This is because the size of write target data is usually larger than the capacity of one virtual page.
  • S2403 and subsequent steps are performed for each identified virtual page.
  • target virtual page the data element to be written to the target virtual page.
  • the program 414 determines whether the ID of the target virtual page exists in the migration page table 411. If the result of this determination is negative, S2404 to S2406 are performed, and if the result of this determination is affirmative, S2407 to S2408 are performed.
  • the program 414 determines whether a real page is assigned to the target virtual page based on the allocation table 407 (FIG. 10). If the result of this determination is negative, S2405 is performed.
  • the program 414 performs the following processing.
  • the program 414 identifies the pool corresponding to the write-destination VVOL and the default tier in the pool based on the VVOL management table 404 (FIG. 8).
  • the program 414 specifies a free real page in the specified default tier based on the tier management table 402 (FIG. 6) and the real page management table 408 (FIG. 11).
  • the program 414 assigns the specified real page to the target virtual page. That is, the program 414 stores the allocated real page ID, the tier ID having the real page, and the pool ID having the tier in the column corresponding to the ID of the target virtual page in the allocation table 407 (FIG. 10). And register.
  • the program 414 may identify a free real page from the allocation tier corresponding to the write destination VVOL, and allocate the identified real page to the target virtual page.
  • the program 414 updates the value of “use ratio” of the tier (referred to as “allocation source tier” in the description of S2403) having the allocated real page in the table 402 (FIG. 6).
  • the program 414 determines whether or not the updated value of the “use ratio” of the allocation source tier exceeds the value of the “tier threshold” of the allocation source tier (hereinafter referred to as “determination Z”).
  • the value of the “tier threshold” of the allocation source tier is a value registered in the table 402 (FIG.
  • the program 414 may perform at least one of the following (a) and (b) if the result of the determination Z is affirmative.
  • the program 414 may notify the management apparatus 107 (and / or the host 101 that has sent the write command) of the error. If the administrator learns an error about the allocation source tier, the administrator can add an RVOL to the allocation source tier.
  • the program 414 calls the rearrangement program 415.
  • the rearrangement program 415 performs the processing shown in FIG. The process shown in FIG. 38 will be described later.
  • the program 414 secures a CM area for the data element stored in the target virtual page from the cache memory.
  • the program 414 secures a CM area according to the “migration status” value corresponding to the target virtual page in the migration page table 411. Specifically, for example, it is as follows.
  • the program 414 updates the “migration status” corresponding to the target virtual page to “migrated”. As a result, data elements are not migrated for the target virtual page. In other words, the migration of data elements for the target virtual page is canceled.
  • the program 414 assigns the determined write destination real page to the target virtual page instead of the original real page. That is, the program 414 stores the ID of the write-destination real page and the ID of the tier having the real page (migration destination tier ID) in the column corresponding to the ID of the target virtual page in the allocation table 407. Overwrite.
  • the program 414 updates the “status” of the original real page assigned to the target virtual page in the real page management table 408 (FIG. 11) to “free”.
  • the program 414 updates the “status” of the real page (the determined write destination real page) newly assigned to the target virtual page in the table 408 to “in use”. (Specific example A2) *
  • the program 414 secures a CM area and determines a real page (real page in the migration source tier) assigned to the target virtual page as a write destination. More specifically, for example, if the data element in any free real page in the migration destination tier is not in the cache memory, the program 414 has a CM area (for example, in the real page allocated to the target virtual page). An area where the data element exists) is secured, and a real page (real page in the migration source tier) allocated to the target virtual page is determined as a write destination.
  • the program 414 may update the “migration status” corresponding to the target virtual page to “suspended”. Thereby, for example, data migration by the rearrangement program 415 is not performed for the target virtual page. Note that the value of the “migration status” may be returned from “suspended” to “not migrated” when a destage described later is completed by the program 414, for example.
  • the destage is performed after the “migration status” corresponding to the target virtual page is updated to “migrated”. Therefore, the write destination (destination destination) is a real page in the migration destination tier. This is because at that time, a real page in the migration destination tier is allocated to the target virtual page. (Specific example B3) * The program 414 secures a CM area.
  • the destage is performed while the “migration status” corresponding to the target virtual page is “migrating”, and the data element includes the real page assigned to the target virtual page, Destaged to both real pages in the migration destination tier (so-called double write is performed).
  • FIG. 25 shows a flow of destage processing.
  • the I / O control program 414 performs destage processing for each data element constituting the write target data.
  • the program 414 performs destage. That is, the program 414 writes a data element (dirty data element) that has not been written to the real page among the plurality of data elements existing in the cache memory to the real page.
  • the destage destination real page is a real page (real page specified from the allocation table 407) assigned to the virtual page that is the write destination of the real page.
  • the program 414 may update the “migration status” to “not migrated”.
  • the program 414 determines whether it is necessary to update the monitor table 409 based on the table 403 (FIG. 7) or 404 (FIG. 8).
  • the table 404 (FIG. 8) may be prioritized. Specifically, for example, the program 414 performs the following two determinations P and Q.
  • Decision P The program 414 determines whether or not “relocation” corresponding to the pool having the actual page of the destage destination in S2501 (hereinafter referred to as “target pool” in the description of FIG. 25) is “ON”.
  • the program 414 determines whether or not the current time is within the time period represented by the value of the “monitor time period” corresponding to the target pool. If the result of this determination Q is negative, S2503 is not performed. On the other hand, if not only the determination P but also the result of the determination Q is affirmative, S2503 is performed (that is, the monitor table 409 needs to be updated).
  • the program 414 updates the monitor table 409. Specifically, for example, it is as follows. * The program 414 updates the active monitor table 409 corresponding to the target VVOL if the “page unit migration” corresponding to the target VVOL is “ON” in the table 412 (FIG. 15). Specifically, for example, the program 414 updates (for example, increments by 1) the value of “total number of I / Os” corresponding to the write destination virtual page of the destaged data element in the active monitor table 409. In addition, the value of “last I / O time” is updated. In addition, for example, the program 414 adds the time at the destage time for the write destination virtual page to the I / O history table.
  • the ID of the write destination virtual page may be recorded in the I / O history table.
  • the program 414 may update the “average I / O number” and “maximum I / O number” in the active monitor table 409 later.
  • FIG. 26 shows the flow of read processing.
  • the I / O control program 414 receives a read command from the host 101. Then, the program 414 identifies the read-source VVOL and virtual page from the I / O destination information included in the received read command.
  • the program 414 determines whether there is data to be read on the cache memory. If the result of this determination is negative, S2603 is performed, and if the result of this determination is affirmative, S2602 is performed.
  • the program 414 transmits the read target data on the cache memory to the host 101.
  • the monitor table 409 corresponding to the read-source VVOL is not updated. This is because no I / O is performed on the actual page.
  • the program 414 determines whether a real page is allocated to the virtual page specified in S2600. If the result of this determination is negative, S2604 is performed, and if the result of this determination is affirmative, S2605 is performed.
  • the program 414 transmits a predetermined response (for example, data representing zero) to the host 101.
  • the program 414 reads data elements from one or more real pages (one or more real pages specified from the allocation table 407) respectively assigned to one or more virtual pages specified in S2600.
  • the program 414 transmits the read target data composed of these data elements to the host 101.
  • the program 414 waits until the “migration status” is updated to “migrated” for the virtual page whose “migration status” is “migrating”. Thereafter, the program 414 reads data elements from one or more real pages (one or more real pages specified from the allocation table 407) respectively assigned to one or more virtual pages specified in S2600. The program 414 transmits the read target data composed of these data elements to the host 101.
  • the program 414 determines whether it is necessary to update the monitor table 409 based on the table 403 (FIG. 7) or 404 (FIG. 8).
  • the table 404 (FIG. 8) may be prioritized. Specifically, for example, the program 414 performs the following two determinations V and W.
  • Decision V The program 414 determines whether the “relocation” corresponding to the pool (hereinafter referred to as “read source pool” in the description of FIG. 26) assigned to the read source VVOL is “ON”, or Then, it is determined whether or not “relocation” corresponding to the read source VVOL is “ON”.
  • the program 414 updates the monitor table 409. Specifically, for example, it is as follows. * The program 414 updates the active monitor table 409 corresponding to the read-source VVOL if the “page unit shift” corresponding to the read-source VVOL is “ON” in the table 412 (FIG. 15). . Specifically, for example, the program 414 updates (for example, increments by 1) the value of “total number of I / Os” corresponding to the read source write destination virtual page in the active monitor table 409, and The value of “last I / O time” is updated. Further, for example, the program 414 adds the time at the time of reading for the read-source virtual page to the above-described I / O history table.
  • the ID of the read source virtual page may be recorded in the I / O history table.
  • the program 414 may update the “average I / O number” and “maximum I / O number” in the active monitor table 409 later.
  • FIG. 27 shows an overview of the relationship between I / O frequency monitoring and relocation.
  • the monitor table 409 is updated.
  • the monitor table 409 is not updated.
  • the frequency distribution table 410 is updated. Note that the frequency distribution table 410 does not have to be prepared in advance. For example, when the administrator instructs the display of the frequency distribution, the frequency distribution table 410 is created based on the monitor table 409. A frequency distribution may be displayed on the basis. Note that a monitor table 409 may be displayed instead of the frequency distribution.
  • Relocation processing includes tier determination processing and migration processing.
  • a migration page table 411 is created.
  • the table 411 may be created based on the I / O frequency represented by the monitor table 409 and the tier range in the tier management table 402 (FIG. 6).
  • page-based data migration is performed based on the created migration page table 411.
  • the rearrangement process may be performed when the usage ratio of a certain tier exceeds the tier threshold value of the tier, and may be performed periodically (for example, every time indicated by the value of “relocation execution time”). It may be broken.
  • FIG. 28 shows the flow of the rearrangement process.
  • FIG. 28 is a flow for one VVOL (referred to as “target VVOL” in the description of FIG. 28).
  • the rearrangement program 415 determines whether to perform data migration for the target VVOL. Specifically, for example, the following processing is performed. * The program 415 determines whether or not “automatic execution” corresponding to the target VVOL is “ON” in the VVOL management table 404 (FIG. 8). When there is no “automatic execution” value setting corresponding to the target VVOL, the program 415 uses the pool assigned to the target VVOL in the pool management table 403 (FIG. 7) (hereinafter, “target pool” in the description of FIG. 28). It is determined whether “automatic execution” corresponding to “)” is “ON”.
  • the program 415 determines whether or not a tear range is set by the administrator. If the result of this determination is negative, S2808 is performed after S2807 is performed, and if the result of this determination is negative, S2808 is performed without performing S2807.
  • the program 415 performs a tear range determination process. Through this process, the tear range is determined. There are several possible methods for determining the tear range. For example, a plurality of types of tier ranges may be prepared in advance, and the program 415 may select an arbitrary tier range from the plurality of types of tier ranges for each tier.
  • the program 415 performs a tier determination process.
  • the migration page table 411 is created as described above.
  • the program 415 performs page-by-page migration processing according to the created migration page table 411.
  • data migration in units of pages data elements are migrated from a real page in one tier to a real page in another tier in the target pool.
  • the page unit migration process will be described in detail later.
  • FIG. 34 shows the flow of the migration page table creation process in S2808 of FIG.
  • the program 415 selects the first virtual page of the target VVOL.
  • the program 415 determines whether a real page is assigned to the selected virtual page. If the result of this determination is negative, S3405 is performed, and if the result of this determination is affirmative, S3403 is performed.
  • the program 415 determines whether or not to change the tier in which the data element in the real page assigned to the selected virtual page should exist. Specifically, for example, it is as follows. * The program 415 identifies from the table 402 (FIG. 6) a tier (“target tier” in the description of S3403) having a real page assigned to the selected virtual page. * The program 415 calculates the I / O frequency of the selected virtual page (for example, among the total I / O number, average I / O number, and maximum I / O number represented by the active monitor table 409 corresponding to the target VVOL).
  • the data elements in the real page assigned to the selected virtual page should be migrated from the target tier to another tier based on the “tier range” value corresponding to the target tier. Judge whether or not. For example, if the I / O frequency of the selected virtual page does not fall within the tier range corresponding to the target tier of the selected virtual page, it is determined that the data element should be migrated.
  • S3403 If the result of the determination in S3403 is negative, S3405 is performed, and if the result of the determination is positive, S3404 is performed.
  • the program 415 executes the I / O frequency of the selected virtual page (for example, out of the total I / O number, average I / O number, and maximum I / O number represented by the active monitor table 409 corresponding to the target VVOL).
  • the migration destination tier is determined based on at least one) and a value of “tier range” corresponding to another allocation tier in the pool having the target tier.
  • an allocation tier allocation tier of the target VVOL
  • the program 415 registers the ID of the selected virtual page, the ID of the target tier, the ID of the determined migration destination tier, and the migration status “not migrated” in the migration destination page table 411.
  • step S3406 The program 415 determines whether or not the selected virtual page is a virtual page at the end of the target VVOL. If the result of this determination is negative, step S3406 is performed, and if the result of this determination is affirmative, the transition page table creation process ends.
  • the program 415 selects a virtual page next to the virtual page selected immediately before from the target VVOL. Thereafter, S3402 and subsequent steps are performed for the selected virtual page.
  • This moving page table creation process creates a moving page table 411 for page-by-page migration processing.
  • FIG. 35 shows an overview of the page-by-page migration process.
  • the data element in the real page assigned to the virtual page is free of the data in the migration destination tier corresponding to the virtual page. Move to real page.
  • a migration destination real page is assigned to the virtual page instead of the migration source real page.
  • there are data elements that are transferred to a higher tier by this transfer process and there are data elements that are transferred to a lower tier.
  • data elements in the virtual page can be arranged in a tier suitable for the I / O frequency of the virtual page.
  • a higher tier range is set for the upper tier and a lower tier range is set for the lower tier.
  • tier # 11 is a high-speed and highly-reliable tier (for example, a tier whose RVOL type is “SSD”), and a high tier range is set.
  • tier # 13 is a low-speed or low-reliability tier (for example, a tier whose RVOL type is “HDD-SATA”) and a low tier range is set.
  • tier # 12 is the default tier of VVOL # 50 and a medium tier range is set.
  • the data element to be written to the virtual page constituting the VVOL # 50 is once written to the real page in the default tier # 12. Thereafter, for example, when the I / O frequency of a certain virtual page #A in the VVOL # 50 becomes high enough to be within a high tier range, the virtual page #A is assigned to that virtual page #A.
  • the data elements in the real page #X are transferred from the tier # 12 to the tier # 11.
  • the virtual page #B is assigned to that virtual page #B.
  • the data elements in the actual page #Y are transferred from tier # 12 to tier # 13.
  • the data elements in the VVOL are appropriately tiered (physical storage). Resources).
  • FIG. 36 shows a flow of page-by-page migration processing.
  • the relocation program 415 updates the “pool status” of the pool assigned to the target VVOL to “relocating”.
  • the program 415 selects the top record of the created migration page table 411.
  • the program 415 selects a free real page from the migration destination tier represented by the selected record, and the data elements stored in the migration source real page in the migration source tier in the selected real page (migration destination real page) To migrate.
  • the migration source real page is a real page assigned to the target virtual page.
  • the program 415 updates the table. Specifically, for example, it is as follows. * The program 415 updates the allocation table 407 so that the migration destination real page is assigned to the virtual page represented by the selected record (hereinafter, “selected virtual page” in the description of S3605) instead of the migration source real page. . That is, the program 415 associates the ID of the migration destination real page and the ID of the migration destination tier with the selected virtual page. * The program 415 updates the I / O frequency (for example, the active table 409) of the selected virtual page. Specifically, for example, the total number of I / Os of the selected virtual page or target VVOL is incremented by one. * The program 415 updates the “use ratio” value of the migration destination tier in the table 402 (FIG. 6).
  • step S3608 The program 415 determines whether or not the selected record is a terminal record in the virtual page table 411. If the result of this determination is negative, step S3608 is performed, and if the result of this determination is affirmative, the transition process ends.
  • the program 415 selects a record next to the record selected immediately before from the virtual page table 411. Thereafter, S3603 and subsequent steps are performed for the selected record.
  • the program 415 may determine whether or not the usage rate of the migration destination tier exceeds the tier threshold value of the migration destination tier, assuming that the data element has been migrated to the migration destination tier. If it is determined that the number exceeds, the program 415 may skip S3603 to S3606 and perform S3607 (that is, the program 415 may not perform data element migration for the selected record).
  • the program 415 increases the number of free real pages to the migration destination tier by performing the rearrangement process for the VVOL having the migration destination tier as the allocation tier, and then starts S3603 Also good.
  • the program 415 may determine whether the usage rate of the migration destination tier exceeds the tier threshold value of the migration destination tier. If it is determined that the number has exceeded, the program 415 may display a warning on the management apparatus 107 and / or perform a relocation process on the VVOL with the migration destination tier as the allocation tier, thereby freeing the migration destination tier. You can increase the number of real pages.
  • the UI control program 413 can accept a change in the tier threshold from the administrator.
  • FIG. 37 shows the flow of the tier threshold value changing process.
  • the program 413 receives the pool ID and tier ID and the changed tier threshold value for the tier ID.
  • the program 413 determines whether or not the “use ratio” value corresponding to the pool ID and tier ID received in S3701 exceeds the changed tier threshold value.
  • the program 413 displays an error on the management apparatus 107 when the result of the determination in S3702 is affirmative.
  • the program 414 or 415 may determine whether the updated value of the “use ratio” exceeds the value of the “tier threshold value” corresponding to the tier. If the result of this determination is affirmative, the program 414 or 415 may perform the threshold value excess handling process shown in FIG.
  • FIG. 38 shows a flow of processing for dealing with over-threshold values.
  • the program 414 or 415 determines whether or not the “pool status” of the pool having a tier whose usage ratio exceeds the tier threshold is “relocating” (S3801).
  • the program 414 or 415 issues a warning to the management apparatus 107 or the host 101 (S3802).
  • the warning may include, for example, the ID of the tier whose usage rate has exceeded the tier threshold, the ID of the pool having the tier, and the value of “pool status” of the pool (“relocating”).
  • the program 414 or 415 issues a warning to the management apparatus 107 or the host 101 (S3803), and rearrangement processing is performed so that the usage rate of the tier is less than or equal to the tier threshold value of the tier. (FIG. 28) is executed (S3804).
  • the warning in S3803 may include, for example, the ID of the tier whose usage rate has exceeded the tier threshold, the ID of the pool having the tier, and a message indicating that the relocation processing is performed for the pool. .
  • data element aggregation processing may be performed.
  • FIG. 21 shows an overview of data element aggregation processing.
  • the I / O control program 414 or the rearrangement program 415 periodically or when the data element is written to the real page for the VVOL # 39 (for example, at the end of the page-by-page migration process), the VVOL # 39.
  • the program 414 or 415 determines whether there is an allocation tier whose storage ratio exceeds the storage threshold in the allocation tiers # 00, # 01, and # 03 of the VVOL # 39.
  • the program 414 or 415 When there is an allocation tier whose storage ratio exceeds the storage threshold, the program 414 or 415 stores the data elements in the allocation tiers # 01 and # 03 (data elements in the VVOL # 39) other than the allocation tier # 00. , The allocation tier # 00 (specifically, for example, a free real page of the allocation tier # 00).
  • the program 414 always assigns an allocation tier to the virtual page.
  • a real page may be allocated from # 00.
  • the program 414 or 415 may perform the following (x) or (y).
  • the program 414 does not transfer the data elements in the allocation tiers # 01 and # 03 to the allocation tier # 00.
  • the program 414 increases the number of free real pages to the allocation tier # 00 by moving the data elements in the VVOL other than the target VVOL and in the allocation tier # 00 to another tier.
  • the tear range can be automatically determined in S2807 of FIG.
  • the tear range is determined, for example, by executing a tear range determination program (not shown) on the MP.
  • target pool in the description of automatic determination of the tier arrangement
  • FIG. 29 shows an overview of the tear range determination process.
  • tier # 01 is the highest
  • tier # 02 is the second highest
  • tier # 03 is the lowest tier.
  • tier # 01 has the highest performance potential
  • tier # 02 has the second highest performance potential
  • tier # 03 has the lowest performance potential.
  • “Performance potential” is the weight of the arrangement of data elements in the rearrangement process. The performance potential will be described in detail later.
  • the tier arrangement determination program acquires the frequency distribution 4300 for the target pool by aggregating the frequency distributions of all VVOLs to which the target pool is assigned.
  • the horizontal axis of the frequency distribution is the I / O frequency (load), and the vertical axis is the number of virtual pages.
  • the tier range determination program determines the tier range in order from the upper tier to the lower tier (or from the lower tier to the upper tier).
  • the tier range is determined in the order of tiers # 01, # 02, and # 03.
  • processing performed for determining the tear range for each tier will be described (in FIG. 29, the upper limit of the tier range is a diamond mark and the lower limit of the tier range is a round mark).
  • ⁇ Determination of Tier 1 for Tier # 01 >> * The tier range determination program sets infinity as the upper limit of tier # 1 of tier # 01. That is, infinity is set as the upper limit of the tier range of the highest tier. * In the frequency distribution 4300, the tear range determination program accumulates the number of virtual pages from the highest I / O frequency to the lowest, as indicated by an arrow 4301. When the cumulative value reaches the performance potential of the tier # 01, the tier range determination program calculates the I / O frequency corresponding to the number of virtual pages added immediately before reaching the performance potential of the tier # 01 as the tier (0 -1) Set as a boundary value (boundary value between tier # 00 and tier # 01).
  • the tier range determination program sets an I / O frequency lower than the tier (0-1) boundary value by a certain margin as a lower limit of tier # 1 of tier # 01.
  • the lower limit is an I / O frequency lower than the tier (0-1) boundary value by a predetermined percentage (for example, an I / O frequency lower by 10%).
  • the Tier Arrangement determination program assumes that the data elements in all virtual pages that have an I / O frequency that falls within Tier 1 have been transferred to Tier # 01, and the usage rate of Tier # 01 is Tier # 01 It is determined whether or not the tier threshold is exceeded. If the result of this determination is affirmative, the tier range determination program corrects the tier range 1 so that the usage rate of tier # 01 does not exceed the tier threshold value of tier # 01.
  • the tier range determination program sets an I / O frequency that is higher than the tier (0-1) boundary value by a certain margin as the upper limit of tier range 1 of tier # 02.
  • the upper limit is an I / O frequency that is a predetermined percentage higher than the tier (0-1) boundary value (for example, an I / O frequency that is 10% higher).
  • the tier range determination program accumulates the number of virtual pages in the frequency distribution 4300 from the tier (0-1) boundary value to the lower side.
  • the tier range determination program calculates the I / O frequency corresponding to the number of virtual pages added immediately before reaching the performance potential of tier # 02 as tier (1 -2) Set as a boundary value (boundary value between tier # 01 and tier # 02). * The tier range determination program sets an I / O frequency lower than the tier (1-2) boundary value by a certain margin as the lower limit of tier # 2 of tier # 02. * The tier arrangement determination program assumes that the data elements in all virtual pages that have an I / O frequency that falls within tier arrangement 2 have been transferred to tier # 02, and the usage ratio of tier # 02 is tier # 02. It is determined whether or not the tier threshold value is exceeded. If the result of this determination is affirmative, the tier range determination program corrects tier range 2 so that the usage rate of tier # 02 does not exceed the tier threshold value of tier # 02.
  • ⁇ Determination of Tier 3 for Tier # 03 >> * The tier range determination program sets an I / O frequency that is higher than the tier (1-2) boundary value by a certain margin as the upper limit of the tier # 03 tier range 3. * The tear range determination program sets zero as the lower limit of the tear range 2 of the tier # 02. That is, zero is set as the lower limit of the tier range of the lowest tier. * The Tier Arrangement determination program assumes that the data elements in all virtual pages that have an I / O frequency that falls within Tier 3 have been migrated to Tier # 03, and the usage rate of Tier # 03 is Tier # 03 It is determined whether or not the tier threshold value is exceeded. If the result of this determination is affirmative, the tier range determination program corrects the tier range 3 so that the usage rate of tier # 03 does not exceed the tier threshold value of tier # 03.
  • tier ranges 1 to 3 are determined.
  • the reason why the margin of the tier boundary value is given to the upper and / or lower limits of the tier range is to prevent frequent data element migration in accordance with fluctuations in the I / O frequency. Specifically, for example, when there is no margin and the I / O frequency of a certain virtual page frequently exceeds or falls below the tier (0-1) boundary value, the data elements in the virtual page are frequently It will be transferred to Tier # 01 or transferred to Tier # 02. However, if a margin is provided as described above, the frequency of such a transition can be reduced.
  • FIG. 30 shows a flow of the tear range determination process.
  • the “effective actual page number” is the total number of real pages that can become data element migration destinations in the rearrangement process among all the real pages constituting the target tier.
  • the pool may be provided with real pages that are not used as the migration destination in the rearrangement process so that the write-target data element from the host can be written during the rearrangement process.
  • the “performance level” is a performance potential per unit capacity (for example, one real page) of the target tier.
  • “RG effective capacity” in (Expression 2) is, for example, the total number of real pages that store data elements for the RG that is the basis of the target tier.
  • the ratio of the read weight and the write weight may be considered as the performance level instead of or in addition to the value K.
  • the ratio includes, for example, I / O status from the host, cache memory status (for example, allocation of dirty data elements and clean data elements (data elements already stored in real pages)), RG RAID level It may be changed based on at least one of them.
  • the performance level may be set manually by the administrator.
  • the tier range determination program performs a tier boundary value calculation process. That is, the tier range determination program calculates the tier boundary value based on the performance potential calculated for each tier of the target pool.
  • the tier range determination program calculates a tier range for each tier based on the calculated tier boundary values.
  • the tear range determination program determines whether or not the tear range is inappropriate for each tier. More specifically, taking one tier (hereinafter referred to as “target tier” in the description of S4403 and S4405) as an example, for example, the tier range determination program includes an I / O frequency that falls within the tier range of the target tier. Assuming that the data elements in all the virtual pages are transferred to the target tier, it is determined whether the usage rate of the target tier exceeds the tier threshold value of the target tier.
  • the tear range determination program displays a warning on the management apparatus 107 or sets the size so that the usage rate of the target tier does not exceed the tier threshold value of the target tier. To correct.
  • FIG. 31 shows the flow of the tier boundary value calculation process in S4402 of FIG.
  • the tear range determination program acquires the frequency distribution of the target pool by aggregating the frequency distribution of all VVOLs to which the target pool is allocated.
  • the frequency distribution can be acquired using the monitor table 409 corresponding to each VVOL to which the target pool is assigned.
  • the tear arrangement determination program calculates the total I / O frequency of the target pool. Specifically, the tear range determination program sums up the I / O frequencies of all virtual pages of all VVOLs to which the target pool is allocated.
  • the tier range determination program calculates the distribution I / O frequency for each tier of the target pool based on the total I / O frequency calculated in S4502. Specifically, the tier range determination program distributes the total I / O frequency calculated in S4502 to a plurality of tiers in the target pool. Specifically, for example, the tier range determination program distributes the total I / O frequency to the plurality of tiers based on the performance potential ratio of the plurality of tiers calculated in S4401 of FIG.
  • allocation of tier # 01 The I / O frequency is 4000 (7000 ⁇ (4 / (4 + 2 + 1))
  • the distributed I / O frequency of tier # 02 is 2000 (7000 ⁇ (2 / (4 + 2 + 1))
  • the distributed I / O frequency of tier # 01 is 1000. (7000x (1 / (4 + 2 + 1)).
  • the tier range determination program determines a tier boundary value based on the distribution I / O frequency of each tier in the target pool. For example, in the example of S4503, the tier (0-1) boundary value is 2000, and the tier (1-2) boundary value is 1000.
  • an appropriate tier range corresponding to the entire I / O status of the target pool is set for each tier based on the performance potential of each tier and the frequency distribution of the target pool. Can do.
  • the default tier is always the tier with the maximum I / O performance (for example, I / O speed or response time) in the VVOL allocation tier (for example, the highest of the allocation tiers). Higher tier). This is to increase the VVOL I / O performance as much as possible.
  • the data element to be written to the VVOL may be arranged in a higher allocation tier as possible. However, control is performed so that the used capacity of the allocated tier does not exceed the tier threshold value of the allocated tier.
  • a evacuation tier may be provided in common with each pool or a plurality of pools.
  • the programs 414 and 415 normally do not write data elements to the evacuation tier, either by writing according to a write command from the host or by migration processing in the rearrangement processing.
  • the program 414 or 415 for example, if the usage rate of the tier to which the data element is written (hereinafter “target tier” in the description of this paragraph) exceeds the tier threshold value of the tier, The data elements in the page (or the data elements in the real page in the target tier assigned to the virtual page whose I / O frequency does not fit in the target tier's tier range) are transferred to the evacuation tier.
  • the program 414 or 415 may assign the migration destination real page in the evacuation tier to the virtual page assigned to the migration source real page in the target tier instead of the migration source real page. Thereafter, the program 414 or 415 adds the tier range in which the I / O frequency of the virtual page allocated to the real page in the save tier is set to the real page in the save tier. Stored data elements may be migrated.
  • the evacuation tier may be, for example, a tier composed of the same type of RVOL as the highest tier.
  • the default tier need not be set.
  • the data element to be written from the host 101 to the VVOL may be written to the upper tier as much as possible.
  • the data element may be written in a tier one lower than the upper tier.
  • VVOL I / O frequency may be calculated by summing up the I / O frequencies for each virtual page included in the monitor table 409B.
  • the page-by-page migration process can be interrupted.
  • the relocation program 415 receives an interruption instruction from the administrator, the migration status “migrating” is processed until the migration status “migrated” is reached, and then the page-by-page migration process is suspended.
  • the program 415 may resume the migration process based on the migration page table 411 after a certain time after receiving the interruption instruction or when receiving a restart instruction.
  • the program 415 may discard the migration page table 411 when receiving an interruption instruction, and create the migration page table 411 based on the active monitor table 409 in the next migration processing.
  • the Thin Provisioning VVOL 203 is allocated with a real page in response to a write request from the host 101 to a certain address of the virtual page.
  • the present invention is limited to this case.
  • the following examples are also preferable. This is because even in these examples, it is possible to reduce the capacity actually used.
  • the first example is as follows. That is, for some virtual pages of a plurality of virtual pages of the VVOL 203 or for some areas included in each virtual page of the VVOL 203, the host 101 receives a write request to a certain address of the virtual page. If the real area has been allocated in advance (pre-allocation), and the already allocated area is not sufficient and further allocation is required in response to a write request from the host 101 to an address of a virtual page, Additional real space is allocated.
  • the second example is as follows. That is, a plurality of virtual pages of the VVOL 203 are real areas or control areas in which zero data is stored in advance before receiving a write request to a certain address of the virtual page from the host 101 (these areas are SSD or the like). Is temporarily allocated (temporary allocation), and data is stored from the temporary allocation area in response to a write request from the host 101 to an address of a virtual page. The assignment destination is changed to the actual page to be changed (this allocation). In this case, if a read request is received from the host 101 to an address with a virtual page before the actual allocation, zero data stored in the real area of the temporary allocation destination or the control area is returned to the host 101. become.
  • the plurality of pools 201 are managed by one table so as to manage the plurality of pools 201 in a unified manner.
  • the present invention is not limited to this, and a real page is provided for each pool 201.
  • the type of the tier 303 is not limited to being classified for each attribute such as SSD, HDD-SAS, and HDD-SATA described in the present embodiment. It is also preferable to classify by attribute such as a device, for example, a device composed of a semiconductor storage medium such as a flash memory. In this case, the attribute of the virtual page associated with each tier 303 and the attribute of each real page included in each tier 303 are also classified for each attribute such as SSD, HDD-SAS, HDD-SATA described in this embodiment.
  • the classification is not limited to the above, and classification is performed for each attribute such as an HDD having an FC interface, a storage device that is not in the HDD format, for example, a device configured by a semiconductor storage medium such as a flash memory, and the like.
  • the type of the tier 303 is not limited to being classified only by the attribute of the storage device type, but is an attribute that combines the storage device type and a RAID type such as RAID1 to RAID5, or the storage device. It is also preferable to classify each attribute by combining the device type, the performance (access speed, etc.) of the storage device, the storage capacity, and the RAID type such as RAID1 to RAID5. In these cases, the attribute of the virtual page associated with each tier 303 and the attribute of each real page included in each tier 303 are not limited to being classified only by the attribute of the storage device type. Attributes combining device type and RAID type such as RAID1 to RAID5, attributes combining storage device type and performance (access speed, etc.) and storage capacity of the storage device and RAID types such as RAID1 to RAID5 It will be classified for each.
  • Example 2 of the present invention will be described. At that time, differences from the first embodiment will be mainly described, and description of common points with the first embodiment will be omitted or simplified (this applies to the third and later embodiments).
  • a page-by-page migration process is performed based on the last I / O time for each VVOL or each virtual page.
  • the final I / O time is registered in the monitor table 409 when a data element is written on a real page.
  • the rearrangement program uses the last I / O time of the virtual page as a transition page. A virtual page to be registered in the table 411 is determined.
  • a virtual page whose last I / O time is past a predetermined time from the current time may be registered in the migration page table 411.
  • the migration destination of the data element in the virtual page may be a lower tier than the tier having the data element in the virtual page. This is because a data element in a virtual page with an old last I / O time is unlikely to be input / output in the future, and it is considered preferable to arrange it in a lower tier.
  • page-by-page migration processing is performed based on which access pattern is sequential access or random access.
  • the HDD seek time can be shortened when the PDEV that is the base of the I / O destination RVOL is the HDD.
  • the degree of performance degradation is small because of sequential access.
  • by shifting the sequentially accessed data to the inexpensive and low-performance PDEV more of the real pages based on the high-performance PDEV can be freed for other randomly accessed data. For this reason, an improvement in I / O performance of the entire storage system can be expected.
  • an access pattern for the virtual page of the I / O destination is displayed, for example, an allocation table. 407 is registered. In the allocation table 407, the execution frequency for each access pattern may be written for each virtual page.
  • the rearrangement program 415 uses the migration page corresponding to the virtual page as the migration destination. You can select a lower tier. Further, for example, the rearrangement program 415 determines the data elements in the real page even if the I / O frequency of the virtual page is higher than the maximum value of the tier range of the tier having the real page assigned to the virtual page. It is not necessary to make it a migration target.
  • the two monitor tables 409 are stored in the CMPK 119 or other storage resources so that they cannot be edited at a predetermined timing, instead of being used alternately.
  • the monitor table 409 representing the Monday monitor result may be stored as the Monday table 409
  • the monitor table 409 representing the Saturday monitor result may be stored as the Saturday table 409 separately from the Monday monitor table 409.
  • the rearrangement program 415 determines whether to save the active monitor table 409 immediately before the rearrangement by a method such as inquiring an administrator. In the case of saving, immediately before the rearrangement process, the program 415 saves the monitor table 409 in the management apparatus 107 or another storage resource. The program 415 selects which monitor table 409 to be referred to for creating the migration page table 411 from the plurality of stored monitor tables 409, and uses the selected monitor table 409 to migrate page table 409 411 can be created.
  • either an absolute value comparison or a relative value comparison can be selected and set as a comparison method between the I / O frequency and the tear range.
  • “Absolute value comparison” refers to the I / O frequency (for example, the total number of I / Os, the average number of I / Os, or the maximum number of I / Os) of virtual pages in terms of page unit migration processing. Compared with the tear range without considering the I / O frequency of other virtual pages in the VVOL having the page. According to the absolute value comparison, since it is not necessary to consider the I / O frequency of other virtual pages or VVOLs, the time required for the comparison can be shortened, and thus the time required for the rearrangement process can be shortened. I can expect that.
  • “Relative value comparison” refers to the I / O frequency (for example, the total number of I / Os, the average number of I / Os, or the maximum number of I / Os) of the virtual page.
  • the correction is based on the I / O frequency of other virtual pages in the VVOL having the page (normalization), and the corrected I / O frequency is compared with the tear range. Specifically, for example, even if the I / O frequency of a certain virtual page or VVOL is low, if the I / O frequency of another virtual page or another VVOL is lower, the certain virtual page or The VVOL I / O frequency is corrected so as not to be so low.
  • the I / O frequency of a certain virtual page or VVOL is high, if the I / O frequency of another virtual page or other VVOL is higher, the I / O of the certain virtual page or VVOL as a whole / O frequency is corrected so as not to be so high. According to the relative value comparison, it is possible to expect an optimal arrangement according to the entire I / O status in the monitoring time zone.
  • the I / O frequency to be compared can be selected and set, for example, whether the average I / O number or the maximum I / O number is used. According to the average number of I / Os, it can be expected that data elements are arranged according to the I / O frequency in the entire monitoring time period. According to the maximum number of I / O, it can be expected that data elements are arranged so that the I / O performance does not decrease even if the I / O frequency temporarily increases.
  • the comparison method is absolute value comparison or relative value comparison, and whether the comparison target is the average I / O number or the maximum I / O number is, for example, the above-described pool definition GUI or VVOL creation GUI Can be set by the administrator.
  • the comparison method and comparison target for the pool are registered in the pool management table 4403 as shown in FIG. 20, for example, and the comparison method and comparison target for the VVOL are registered in the VVOL management table 4404 as shown in FIG. 20, for example. (In FIG. 32 and FIG. 20, the column shown in FIG. 7 or FIG. 8 is omitted, but the column exists also in Example 2). If the comparison method or the comparison target is different between the VVOL and the pool allocated thereto, the setting for the VVOL may be prioritized as in the first embodiment.
  • FIG. 33 shows the flow of the comparison method / comparison target setting process.
  • the comparison method / comparison target setting process may be performed, for example, in a pool creation process and / or a VVOL creation process.
  • the UI control program 413 receives a relative value comparison specification for a certain pool or a certain VVOL (referred to as “target pool or target VVOL” in the description of FIG. 33) (S4201: NO)
  • target pool or target VVOL the comparison method “relative value comparison” is set in the table 4403 or 4404 (S4202).
  • the comparison method “absolute value comparison” is set in the table 4403 or 4404 for the target pool or target VVOL (S4203). ).
  • the comparison target “maximum number of I / Os” is stored in the table 4403 or 4404 for the target pool or target VVOL.
  • the setting is made (S4205).
  • the comparison target “average I / O number” is stored in the table 4403 or 4404 for the target pool or the target VVOL. Setting is made (S4206).
  • the comparison method and / or the comparison target may be automatically set or changed instead of the manual setting by the administrator.
  • the program 414 or 415 checks the I / O status of the VVOL or the pool based on the monitor table 409B, and according to the checked I / O status, the program “414” or “415” is set in the tables 4403 and / or 4403. The value of “comparison method” and / or “comparison target” may be changed.
  • the “comparison method” is When “relative value comparison” is changed to “absolute value comparison”, and it is detected that the variation is within a predetermined range, “comparison method” is changed from “absolute value comparison” to “absolute value comparison”. It may be changed to “relative value comparison”. Further, for example, when it is detected that the I / O frequency suddenly increases temporarily, the “comparison target” is changed from “average number of I / Os” to “maximum number of I / Os”. When it is detected that the variation in O frequency is within a predetermined range, the “comparison target” may be changed from “maximum I / O number” to “average I / O number”.
  • At least one PVOL may be a virtual PVOL, and a PDEV on which the PVOL is based may exist in another storage system.
  • the data element written to the actual page constituting the PVOL may be written to the PDEV in another storage system that is the basis of the PVOL.
  • the monitor table 409 may be updated whenever I / O for a virtual page occurs regardless of whether or not I / O for a real page has been performed.
  • the I / O frequency and the final I The / O time may not be updated.
  • the I / O frequency and final I of the virtual page or VVOL / O time may be updated.
  • the RVOL type may be based on the RAID level of the RG (RAID 1, RAID 5 (3D + 1P), etc.) instead of or in addition to the type of PVEV that constitutes the RG on which the RVOL is based.
  • RAID 1, RAID 5 3D + 1P
  • the first RG The first RVOL based on the second RVOL and the second RVOL based on the second RG will be of different types, and therefore the first RVOL and the second RVOL may belong to different tiers.
  • the tier is not limited to the RVOL type, and may be defined from other viewpoints.
  • the capacity of one real page may be a capacity such that a plurality of real pages are allocated to one virtual page.
  • data elements may be migrated from a plurality of migration source real pages assigned to the virtual page to a plurality of migration destination real pages.
  • the capacity of one real page may be a capacity such that one real page is allocated to a plurality of virtual pages.
  • a plurality of virtual pages may be selected, and the data elements may be migrated from one migration source real page to the migration destination real page for the plurality of virtual pages.
  • the pool VOL may be a virtual logical volume associated with a VOL provided by an external storage system.
  • the data element written to the real page of the pool VOL is written to the VOL of the external storage system corresponding to the pool VOL.
  • the unit of the I / O frequency may be, for example, IOPS (number of I / Os per second).
  • the I / O frequency width in the frequency distribution may be 1 (that is, the number of virtual pages may be counted for each I / O frequency).

Landscapes

  • Engineering & Computer Science (AREA)
  • Theoretical Computer Science (AREA)
  • Human Computer Interaction (AREA)
  • Physics & Mathematics (AREA)
  • General Engineering & Computer Science (AREA)
  • General Physics & Mathematics (AREA)
  • Information Retrieval, Db Structures And Fs Structures Therefor (AREA)
PCT/JP2009/007207 2009-12-24 2009-12-24 仮想ボリュームを提供するストレージシステム Ceased WO2011077489A1 (ja)

Priority Applications (8)

Application Number Priority Date Filing Date Title
JP2011547081A JPWO2011077489A1 (ja) 2009-12-24 2009-12-24 仮想ボリュームを提供するストレージシステム
EP09852506.6A EP2518613A4 (en) 2009-12-24 2009-12-24 STORAGE SYSTEM FOR PROVIDING A VIRTUAL DATA CARRIER
US12/811,275 US8489844B2 (en) 2009-12-24 2009-12-24 Storage system providing heterogeneous virtual volumes and storage area re-allocation
PCT/JP2009/007207 WO2011077489A1 (ja) 2009-12-24 2009-12-24 仮想ボリュームを提供するストレージシステム
CN200980161169.2A CN102483684B (zh) 2009-12-24 2009-12-24 提供虚拟卷的存储系统
IN839DEN2012 IN2012DN00839A (enExample) 2009-12-24 2010-12-10
US13/920,390 US8862849B2 (en) 2009-12-24 2013-06-18 Storage system providing virtual volumes
US14/484,395 US9037829B2 (en) 2009-12-24 2014-09-12 Storage system providing virtual volumes

Applications Claiming Priority (1)

Application Number Priority Date Filing Date Title
PCT/JP2009/007207 WO2011077489A1 (ja) 2009-12-24 2009-12-24 仮想ボリュームを提供するストレージシステム

Related Child Applications (2)

Application Number Title Priority Date Filing Date
US12/811,275 A-371-Of-International US8489844B2 (en) 2009-12-24 2009-12-24 Storage system providing heterogeneous virtual volumes and storage area re-allocation
US13/920,390 Continuation US8862849B2 (en) 2009-12-24 2013-06-18 Storage system providing virtual volumes

Publications (1)

Publication Number Publication Date
WO2011077489A1 true WO2011077489A1 (ja) 2011-06-30

Family

ID=44195053

Family Applications (1)

Application Number Title Priority Date Filing Date
PCT/JP2009/007207 Ceased WO2011077489A1 (ja) 2009-12-24 2009-12-24 仮想ボリュームを提供するストレージシステム

Country Status (6)

Country Link
US (3) US8489844B2 (enExample)
EP (1) EP2518613A4 (enExample)
JP (1) JPWO2011077489A1 (enExample)
CN (1) CN102483684B (enExample)
IN (1) IN2012DN00839A (enExample)
WO (1) WO2011077489A1 (enExample)

Cited By (8)

* Cited by examiner, † Cited by third party
Publication number Priority date Publication date Assignee Title
WO2013038510A1 (ja) * 2011-09-13 2013-03-21 株式会社日立製作所 仮想ボリュームに割り当てられた要求性能に基づく制御を行うストレージシステムの管理システム及び管理方法
WO2013061368A1 (en) 2011-10-26 2013-05-02 Hitachi, Ltd. Storage apparatus and method of controlling storage apparatus
WO2013183088A1 (en) 2012-06-07 2013-12-12 Hitachi, Ltd. Storage subsystem and storage control method
WO2014057521A1 (en) 2012-10-12 2014-04-17 Hitachi, Ltd. Storage apparatus and data management method
JP2015517697A (ja) * 2012-05-23 2015-06-22 株式会社日立製作所 二次記憶装置に基づく記憶領域をキャッシュ領域として用いるストレージシステム及び記憶制御方法
CN105009092A (zh) * 2013-04-26 2015-10-28 株式会社日立制作所 存储系统
JP2016500459A (ja) * 2012-12-21 2016-01-12 華為技術有限公司Huawei Technologies Co.,Ltd. 監視レコード管理方法及びデバイス
US9495109B2 (en) 2014-02-21 2016-11-15 Fujitsu Limited Storage controller, virtual storage apparatus, and computer readable recording medium having storage control program stored therein

Families Citing this family (41)

* Cited by examiner, † Cited by third party
Publication number Priority date Publication date Assignee Title
JP5663981B2 (ja) * 2010-07-01 2015-02-04 富士通株式会社 ストレージ装置、ストレージ装置のコントローラおよびストレージ装置の制御方法
US8510515B2 (en) * 2010-12-22 2013-08-13 Hitachi, Ltd. Storage system comprising multiple storage apparatuses with both storage virtualization function and capacity virtualization function
US9513814B1 (en) * 2011-03-29 2016-12-06 EMC IP Holding Company LLC Balancing I/O load on data storage systems
US9575690B2 (en) * 2011-12-23 2017-02-21 Oracle International Corporation Sub-lun auto-tiering
US10082959B1 (en) * 2011-12-27 2018-09-25 EMC IP Holding Company LLC Managing data placement in storage systems
US20130238867A1 (en) * 2012-03-06 2013-09-12 Hitachi, Ltd. Method and apparatus to deploy and backup volumes
JP5938968B2 (ja) * 2012-03-19 2016-06-22 富士通株式会社 情報処理装置、情報処理プログラム及び情報処理方法
JP5886963B2 (ja) 2012-03-21 2016-03-16 株式会社日立製作所 ストレージ装置及びデータ管理方法
WO2013153581A1 (en) 2012-04-13 2013-10-17 Hitachi, Ltd. Storage apparatus and data management method
JP5981563B2 (ja) 2012-04-26 2016-08-31 株式会社日立製作所 情報記憶システム及び情報記憶システムの制御方法
US9367439B2 (en) * 2012-04-30 2016-06-14 Oracle International Corporation Physical memory usage prediction
US8943270B2 (en) 2012-07-24 2015-01-27 Hitachi, Ltd. Storage system, storage control method and storage control program
US8769105B2 (en) * 2012-09-14 2014-07-01 Peaxy, Inc. Software-defined network attachable storage system and method
US9542125B1 (en) * 2012-09-25 2017-01-10 EMC IP Holding Company LLC Managing data relocation in storage systems
JP6051228B2 (ja) 2012-11-07 2016-12-27 株式会社日立製作所 計算機システム、ストレージ管理計算機及びストレージ管理方法
JP5941996B2 (ja) 2012-11-27 2016-06-29 株式会社日立製作所 ストレージ装置及び階層制御方法
US9501426B1 (en) * 2013-02-08 2016-11-22 Workday, Inc. Dynamic two-tier data storage utilization
US9396131B1 (en) * 2013-02-08 2016-07-19 Workday, Inc. Dynamic three-tier data storage utilization
WO2014174671A1 (ja) * 2013-04-26 2014-10-30 株式会社日立製作所 計算機システム及び負荷分散方法
US9619429B1 (en) * 2013-09-27 2017-04-11 EMC IP Holding Company LLC Storage tiering in cloud environment
CN103631537B (zh) * 2013-11-29 2016-09-14 华为技术有限公司 一种虚拟磁盘的管理方法及装置
CN104731517A (zh) * 2013-12-19 2015-06-24 中国移动通信集团四川有限公司 一种存储池容量分配方法和装置
WO2015140931A1 (ja) * 2014-03-18 2015-09-24 株式会社 東芝 トライアル領域を備えた階層化ストレージシステム、ストレージコントローラ及びプログラム
US10095425B1 (en) * 2014-12-30 2018-10-09 EMC IP Holding Company LLC Techniques for storing data
CN107408017B (zh) * 2015-04-09 2020-07-14 株式会社日立制作所 存储系统和数据控制方法
US20170177224A1 (en) * 2015-12-21 2017-06-22 Oracle International Corporation Dynamic storage transitions employing tiered range volumes
JP6276301B2 (ja) * 2016-01-22 2018-02-07 Necプラットフォームズ株式会社 ストレージアクセス制御装置、ストレージアクセス制御システム、ストレージアクセス制御方法、及び、ストレージアクセス制御プログラム
US10579540B2 (en) * 2016-01-29 2020-03-03 Netapp, Inc. Raid data migration through stripe swapping
US20170228178A1 (en) * 2016-02-04 2017-08-10 Hewlett Packard Enterprise Development Lp Effective utilization of storage arrays within and across datacenters
US10089136B1 (en) * 2016-09-28 2018-10-02 EMC IP Holding Company LLC Monitoring performance of transient virtual volumes created for a virtual machine
US11402998B2 (en) * 2017-04-27 2022-08-02 EMC IP Holding Company LLC Re-placing data within a mapped-RAID environment comprising slices, storage stripes, RAID extents, device extents and storage devices
CN107332904A (zh) * 2017-06-29 2017-11-07 郑州云海信息技术有限公司 一种跨存储系统的数据迁移方法、装置及系统
US10585756B2 (en) 2017-08-07 2020-03-10 International Business Machines Corporation Point-in-time copy on a remote system
US10783119B2 (en) * 2017-08-08 2020-09-22 Seagate Technology Llc Fixed record media conversion with data compression and encryption
US10838647B2 (en) * 2018-03-14 2020-11-17 Intel Corporation Adaptive data migration across disaggregated memory resources
US10656990B2 (en) 2018-06-13 2020-05-19 Nutanix, Inc. Dynamically adjusting reserve portion and allocation portions of disaster recovery site in a virtual computing system
US11048430B2 (en) * 2019-04-12 2021-06-29 Netapp, Inc. Object store mirroring where during resync of two storage bucket, objects are transmitted to each of the two storage bucket
US11379373B2 (en) * 2019-08-13 2022-07-05 Micron Technology, Inc. Memory tiering using PCIe connected far memory
WO2022132957A1 (en) 2020-12-15 2022-06-23 Nebulon, Inc. Cloud provisioned boot volumes
US20220382478A1 (en) * 2021-06-01 2022-12-01 Samsung Electronics Co., Ltd. Systems, methods, and apparatus for page migration in memory systems
CN120849344A (zh) * 2024-04-26 2025-10-28 戴尔产品有限公司 用于迁移文件的方法和系统

Citations (6)

* Cited by examiner, † Cited by third party
Publication number Priority date Publication date Assignee Title
JP2001519563A (ja) * 1997-10-08 2001-10-23 シーゲイト テクノロジー エルエルシー ディスクドライブアレイおよびデータ格納方法
JP2006302077A (ja) 2005-04-22 2006-11-02 Hitachi Ltd ボリュームマイグレーションシステム、ボリューム再配置方法及びプログラム
JP2007200333A (ja) * 2006-01-26 2007-08-09 Seagate Technology Llc オブジェクト・ベースのデータ記憶装置
JP2007234006A (ja) * 2006-02-27 2007-09-13 Internatl Business Mach Corp <Ibm> パフォーマンスの監視を動的に調整する装置、システム及び方法
JP2008047156A (ja) 2004-08-30 2008-02-28 Hitachi Ltd ストレージシステム及びデータ再配置制御装置
JP2009043055A (ja) * 2007-08-09 2009-02-26 Hitachi Ltd 計算機システム、ストレージ装置及びデータ管理方法

Family Cites Families (17)

* Cited by examiner, † Cited by third party
Publication number Priority date Publication date Assignee Title
US7151759B1 (en) * 2001-03-19 2006-12-19 Cisco Systems Wireless Networking (Australia) Pty Limited Automatic gain control and low power start-of-packet detection for a wireless LAN receiver
US6832248B1 (en) * 2001-05-10 2004-12-14 Agami Systems, Inc. System and method for managing usage quotas
AU2003272358A1 (en) * 2002-09-16 2004-04-30 Tigi Corporation Storage system architectures and multiple caching arrangements
EP1668486A2 (en) * 2003-08-14 2006-06-14 Compellent Technologies Virtual disk drive system and method
JP4863605B2 (ja) * 2004-04-09 2012-01-25 株式会社日立製作所 記憶制御システム及び方法
JP4519563B2 (ja) * 2004-08-04 2010-08-04 株式会社日立製作所 記憶システム及びデータ処理システム
US7395396B2 (en) * 2004-08-30 2008-07-01 Hitachi, Ltd. Storage system and data relocation control device
US7698517B2 (en) * 2004-12-02 2010-04-13 Storagedna, Inc. Managing disk storage media
JP4400679B2 (ja) * 2007-07-23 2010-01-20 株式会社デンソー 燃料供給装置
DE102008040479A1 (de) 2007-07-23 2009-02-05 Denso Corp., Kariya-shi Kraftstoffzufuhrvorrichtung
US8006111B1 (en) * 2007-09-21 2011-08-23 Emc Corporation Intelligent file system based power management for shared storage that migrates groups of files based on inactivity threshold
JP2009093571A (ja) * 2007-10-11 2009-04-30 Hitachi Ltd 記憶制御装置、記憶制御装置のデータアーカイブ方法及びストレージシステム
JP2009134397A (ja) * 2007-11-29 2009-06-18 Hitachi Ltd 仮想ボリュームに割り当て済みの全ての実記憶領域を解放するか否かを制御する計算機及び方法
US9134917B2 (en) * 2008-02-12 2015-09-15 Netapp, Inc. Hybrid media storage system architecture
JP5186982B2 (ja) * 2008-04-02 2013-04-24 富士通株式会社 データ管理方法及びスイッチ装置
US8051243B2 (en) * 2008-04-30 2011-11-01 Hitachi, Ltd. Free space utilization in tiered storage systems
US8261009B2 (en) * 2008-12-30 2012-09-04 Sandisk Il Ltd. Method and apparatus for retroactive adaptation of data location

Patent Citations (6)

* Cited by examiner, † Cited by third party
Publication number Priority date Publication date Assignee Title
JP2001519563A (ja) * 1997-10-08 2001-10-23 シーゲイト テクノロジー エルエルシー ディスクドライブアレイおよびデータ格納方法
JP2008047156A (ja) 2004-08-30 2008-02-28 Hitachi Ltd ストレージシステム及びデータ再配置制御装置
JP2006302077A (ja) 2005-04-22 2006-11-02 Hitachi Ltd ボリュームマイグレーションシステム、ボリューム再配置方法及びプログラム
JP2007200333A (ja) * 2006-01-26 2007-08-09 Seagate Technology Llc オブジェクト・ベースのデータ記憶装置
JP2007234006A (ja) * 2006-02-27 2007-09-13 Internatl Business Mach Corp <Ibm> パフォーマンスの監視を動的に調整する装置、システム及び方法
JP2009043055A (ja) * 2007-08-09 2009-02-26 Hitachi Ltd 計算機システム、ストレージ装置及びデータ管理方法

Non-Patent Citations (1)

* Cited by examiner, † Cited by third party
Title
See also references of EP2518613A4

Cited By (14)

* Cited by examiner, † Cited by third party
Publication number Priority date Publication date Assignee Title
WO2013038510A1 (ja) * 2011-09-13 2013-03-21 株式会社日立製作所 仮想ボリュームに割り当てられた要求性能に基づく制御を行うストレージシステムの管理システム及び管理方法
US9244616B2 (en) 2011-09-13 2016-01-26 Hitachi, Ltd. Management system and management method of storage system that performs control based on required performance assigned to virtual volume
US9015412B2 (en) 2011-09-13 2015-04-21 Hitachi Ltd. Management system and management method of storage system that performs control based on required performance assigned to virtual volume
WO2013061368A1 (en) 2011-10-26 2013-05-02 Hitachi, Ltd. Storage apparatus and method of controlling storage apparatus
US8572347B2 (en) 2011-10-26 2013-10-29 Hitachi, Ltd. Storage apparatus and method of controlling storage apparatus
JP2015517697A (ja) * 2012-05-23 2015-06-22 株式会社日立製作所 二次記憶装置に基づく記憶領域をキャッシュ領域として用いるストレージシステム及び記憶制御方法
US8930621B2 (en) 2012-06-07 2015-01-06 Hitachi, Ltd. Storage subsystem and storage control method
WO2013183088A1 (en) 2012-06-07 2013-12-12 Hitachi, Ltd. Storage subsystem and storage control method
US8918609B2 (en) 2012-10-12 2014-12-23 Hitachi, Ltd. Storage apparatus and data management method to determine whether to migrate data from a first storage device to a second storage device based on an access frequency of a particular logical area
WO2014057521A1 (en) 2012-10-12 2014-04-17 Hitachi, Ltd. Storage apparatus and data management method
US9235353B2 (en) 2012-10-12 2016-01-12 Hitachi, Ltd. Storage apparatus and management method including determination of migration of data from one storage area to another based on access frequency
JP2016500459A (ja) * 2012-12-21 2016-01-12 華為技術有限公司Huawei Technologies Co.,Ltd. 監視レコード管理方法及びデバイス
CN105009092A (zh) * 2013-04-26 2015-10-28 株式会社日立制作所 存储系统
US9495109B2 (en) 2014-02-21 2016-11-15 Fujitsu Limited Storage controller, virtual storage apparatus, and computer readable recording medium having storage control program stored therein

Also Published As

Publication number Publication date
US20150006817A1 (en) 2015-01-01
EP2518613A4 (en) 2013-10-02
CN102483684B (zh) 2015-05-20
US9037829B2 (en) 2015-05-19
EP2518613A1 (en) 2012-10-31
US8862849B2 (en) 2014-10-14
CN102483684A (zh) 2012-05-30
US20110167236A1 (en) 2011-07-07
US8489844B2 (en) 2013-07-16
JPWO2011077489A1 (ja) 2013-05-02
US20130282981A1 (en) 2013-10-24
IN2012DN00839A (enExample) 2015-06-26

Similar Documents

Publication Publication Date Title
JP5555260B2 (ja) 仮想ボリュームを提供するストレージシステム
WO2011077489A1 (ja) 仮想ボリュームを提供するストレージシステム
JP5502232B2 (ja) ストレージシステム、及びその制御方法
JP5079841B2 (ja) ThinProvisioningに従う仮想的な論理ボリュームに対するデータのライトを制御する方法及びストレージ装置
JP5685676B2 (ja) 計算機システム及びデータ管理方法
JP5075761B2 (ja) フラッシュメモリを用いたストレージ装置
WO2012004837A1 (en) Storage apparatus and storage management method
WO2012164632A1 (en) Storage apparatus and storage apparatus management method
JP4684864B2 (ja) 記憶装置システム及び記憶制御方法
CN105611979B (zh) 具备试验区域的层级化存储系统、存储控制器及介质
EP2584453A2 (en) Method and apparatus to change storage tiers
CN104808954B (zh) 提供虚拟卷的存储系统及其控制方法
US20120254583A1 (en) Storage control system providing virtual logical volumes complying with thin provisioning
US12153518B2 (en) Storage device
US9128819B2 (en) Storage system and management method therefor
JP6555290B2 (ja) ストレージ装置、ストレージ管理方法及びストレージ管理プログラム
JP5355764B2 (ja) ThinProvisioningに従う仮想的な論理ボリュームに対するデータのライトを制御する方法及びストレージ装置

Legal Events

Date Code Title Description
WWE Wipo information: entry into national phase

Ref document number: 200980161169.2

Country of ref document: CN

WWE Wipo information: entry into national phase

Ref document number: 12811275

Country of ref document: US

121 Ep: the epo has been informed by wipo that ep was designated in this application

Ref document number: 09852506

Country of ref document: EP

Kind code of ref document: A1

WWE Wipo information: entry into national phase

Ref document number: 2011547081

Country of ref document: JP

REEP Request for entry into the european phase

Ref document number: 2009852506

Country of ref document: EP

WWE Wipo information: entry into national phase

Ref document number: 2009852506

Country of ref document: EP

NENP Non-entry into the national phase

Ref country code: DE