WO2011058880A1 - 発光素子光源ユニット - Google Patents

発光素子光源ユニット Download PDF

Info

Publication number
WO2011058880A1
WO2011058880A1 PCT/JP2010/069061 JP2010069061W WO2011058880A1 WO 2011058880 A1 WO2011058880 A1 WO 2011058880A1 JP 2010069061 W JP2010069061 W JP 2010069061W WO 2011058880 A1 WO2011058880 A1 WO 2011058880A1
Authority
WO
WIPO (PCT)
Prior art keywords
cooling
light emitting
flow path
light
emitting element
Prior art date
Legal status (The legal status is an assumption and is not a legal conclusion. Google has not performed a legal analysis and makes no representation as to the accuracy of the status listed.)
Ceased
Application number
PCT/JP2010/069061
Other languages
English (en)
French (fr)
Japanese (ja)
Inventor
敏博 中島
悟司 村上
博成 羽田
研 片岡
Current Assignee (The listed assignees may be inaccurate. Google has not performed a legal analysis and makes no representation or warranty as to the accuracy of the list.)
Ushio Denki KK
Original Assignee
Ushio Denki KK
Priority date (The priority date is an assumption and is not a legal conclusion. Google has not performed a legal analysis and makes no representation as to the accuracy of the date listed.)
Filing date
Publication date
Application filed by Ushio Denki KK filed Critical Ushio Denki KK
Priority to CN2010800192228A priority Critical patent/CN102414502B/zh
Publication of WO2011058880A1 publication Critical patent/WO2011058880A1/ja
Anticipated expiration legal-status Critical
Ceased legal-status Critical Current

Links

Images

Classifications

    • FMECHANICAL ENGINEERING; LIGHTING; HEATING; WEAPONS; BLASTING
    • F21LIGHTING
    • F21VFUNCTIONAL FEATURES OR DETAILS OF LIGHTING DEVICES OR SYSTEMS THEREOF; STRUCTURAL COMBINATIONS OF LIGHTING DEVICES WITH OTHER ARTICLES, NOT OTHERWISE PROVIDED FOR
    • F21V29/00Protecting lighting devices from thermal damage; Cooling or heating arrangements specially adapted for lighting devices or systems
    • F21V29/50Cooling arrangements
    • F21V29/56Cooling arrangements using liquid coolants
    • F21V29/58Cooling arrangements using liquid coolants characterised by the coolants
    • FMECHANICAL ENGINEERING; LIGHTING; HEATING; WEAPONS; BLASTING
    • F21LIGHTING
    • F21VFUNCTIONAL FEATURES OR DETAILS OF LIGHTING DEVICES OR SYSTEMS THEREOF; STRUCTURAL COMBINATIONS OF LIGHTING DEVICES WITH OTHER ARTICLES, NOT OTHERWISE PROVIDED FOR
    • F21V29/00Protecting lighting devices from thermal damage; Cooling or heating arrangements specially adapted for lighting devices or systems
    • F21V29/50Cooling arrangements
    • F21V29/70Cooling arrangements characterised by passive heat-dissipating elements, e.g. heat-sinks
    • F21V29/83Cooling arrangements characterised by passive heat-dissipating elements, e.g. heat-sinks the elements having apertures, ducts or channels, e.g. heat radiation holes
    • FMECHANICAL ENGINEERING; LIGHTING; HEATING; WEAPONS; BLASTING
    • F21LIGHTING
    • F21YINDEXING SCHEME ASSOCIATED WITH SUBCLASSES F21K, F21L, F21S and F21V, RELATING TO THE FORM OR THE KIND OF THE LIGHT SOURCES OR OF THE COLOUR OF THE LIGHT EMITTED
    • F21Y2115/00Light-generating elements of semiconductor light sources
    • F21Y2115/10Light-emitting diodes [LED]

Definitions

  • the present invention relates to a light-emitting element light source unit including a plurality of light-emitting portions composed of light-emitting elements such as LED (Light Emitting Diode) elements, and more particularly, to be suitably used as a fixing light irradiator in a photo-curable ink jet printer apparatus.
  • the present invention relates to a light-emitting element light source unit that can
  • a light emitting device such as an LED element is used as a fixing light irradiator (see, for example, Patent Document 1), and the LED element emits light.
  • a fixing light irradiator as a source is usually configured by arranging a large number of LED elements at a high density in order to obtain a desired light emission intensity.
  • heat is generated as the LED element emits light, and 80 to 90% of the input power is converted into heat.
  • Each of the LEDs easily rises in temperature due to its own heat generation or heat received from the surroundings, and the light emission efficiency of the LED element itself is lowered due to this.
  • the thermal resistance is reduced by providing the circulation channel in the vicinity of the LED element, and the cooling medium of the heat sink Since it is necessary to increase the contact area of the heat sink with the cooling medium in order to increase the efficiency of heat conduction between the two, the following problems arise when trying to cool a large number of LED elements. That is, as the flow path length of the flow path becomes longer and the required flow rate of the coolant increases, the pressure loss increases, so that the required amount of coolant can be circulated in the flow path. Therefore, the flow rate of the cooling medium is reduced, and accordingly, the contact area between the cooling medium and the heat sink is reduced, and the LED element cannot be sufficiently cooled. In addition, in the flow channel, a large temperature difference occurs between the cooling medium on the upstream side and the downstream side, that is, a large temperature gradient occurs, so that a large number of LED elements cannot be uniformly cooled.
  • An object of the present invention is to provide a light emitting element light source unit capable of suppressing a decrease in light emission intensity and generation of illuminance unevenness on a light irradiated surface.
  • the light-emitting element light source unit of the present invention is a light-emitting element light source unit including a heat sink in which a plurality of light-emitting portions each including one or more light-emitting elements are positioned on the upper surface.
  • a cooling channel for circulating a cooling medium corresponding to one or a plurality of light emitting units, and an inlet and an outlet for the cooling medium in the cooling channel are formed at a lower surface side level than the cooling channel, respectively.
  • the cooling medium supply channel and the cooling medium discharge channel are connected to each other.
  • the heat sink is provided with a plurality of cooling channels, and the inlet and outlet of each of the plurality of cooling channels are a common supply channel and a common discharge channel. It is preferable that they are connected.
  • the length of the path from the most upstream position of the supply flow path to the most downstream position of the discharge flow path via the cooling flow path is the same for each cooling flow path. It is preferable that
  • the cooling flow path is annular, and the inlet and outlet of the cooling medium are provided at symmetrical positions.
  • the light-emitting element light source unit of the present invention it is preferable that all the light-emitting elements constituting the plurality of light-emitting portions are arranged in the region immediately above the cooling flow path.
  • the light-emitting element light source unit of the present invention is used as a light irradiator for fixing in a photo-curable ink jet printer apparatus.
  • the flow path of the cooling medium provided in the heat sink includes a cooling flow path, a supply flow path, and a discharge flow path, and the supply flow path and the discharge flow path are
  • the cooling medium flowing through the supply flow path rises in temperature due to heat received from the light emitting element because it is disposed at the lower surface side than the cooling flow path, that is, at a position level away from the upper surface where the light emitting element is disposed. Therefore, a large temperature gradient does not occur in the supply channel.
  • a plurality of cooling flow paths can be connected in parallel by the supply flow path and the discharge flow path, thereby allowing the cooling medium to circulate corresponding to the light emitting section without causing a large pressure loss. Since the total flow path length of the cooling flow path can be increased, the required amount of cooling medium can be circulated, and the contact area between the cooling medium and the heat sink can be increased, Since a cooling medium having the same temperature as that of the upstream side of the supply flow path can flow into each cooling flow path, the light emitting element can be cooled with the cooling medium with high efficiency.
  • the plurality of light emitting elements constituting the light emitting source can be cooled efficiently and with high uniformity, thereby reducing the emission intensity and reducing the light irradiation surface. Generation of uneven illuminance can be suppressed.
  • (A) is explanatory drawing which shows the state which looked at the flow path of the cooling medium currently formed in the heat sink from the upper direction
  • (B) is explanatory drawing which shows the state which looked at the flow path of the cooling medium currently formed in the heat sink from the one side surface side. It is explanatory drawing which shows an example of a structure of the principal part of the photocurable inkjet printer apparatus which used the light emitting element light source unit of this invention as a light irradiation device for fixing.
  • (B) is explanatory drawing which shows the state which looked at the flow path of the cooling medium currently formed in the heat sink from the one side surface side. It is a graph which shows the relationship between the flow volume of the cooling medium in Example 1 and a comparative example, and a pressure loss. It is explanatory drawing which shows the structure of the heat sink for cooling the LED element arrange
  • FIG. 1 is an explanatory perspective view showing an example of the configuration of the light emitting element light source unit of the present invention
  • FIG. 2 is an enlarged sectional view for explaining the light emitting element light source unit of FIG. 1
  • FIG. 4 is an explanatory enlarged perspective view showing a front surface (light emitting surface) side of a light source module constituting the light emitting element light source unit of FIG. 4, and
  • FIG. 4 is an explanatory view showing a rear surface side of the light source module constituting the light emitting element light source unit of FIG. 5 is a perspective view
  • FIG. 5 is an explanatory view showing a state in which the front surface of the light source module constituting the light emitting element light source unit of FIG.
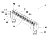
  • the light-emitting element light source unit 10 uses the light-emitting element 23 as a light-emitting source, and is used as, for example, a fixing light irradiator in a photo-curable ink jet printer apparatus.
  • the arranged rectangular substrate 21 includes a light source module 11 configured to be positioned on the upper surface (upper surface in FIG. 3) of the heat sink 30 having a substantially U-shaped appearance. It is configured to be covered with an aluminum cover member 13.
  • the cover member 13 is provided with a power supply connector 18 for connecting to an external power source and a light irradiation window 17 made of borosilicate glass for protecting the light emitting element 23 provided on the substrate 21.
  • the outer surface of the cover member 13 is subjected to black alumite treatment from the viewpoint of preventing light scattering, and is provided on the region of the inner surface from the substrate 21 to the light irradiation window 17, that is, the substrate 21.
  • the region 13A surrounding the space where the light path from the plurality of light emitting elements 23 to the light irradiation window 17 is formed the light from the plurality of light emitting elements 23 is transmitted from the light irradiation window 17 with high efficiency.
  • Mirror finish is given from the viewpoint of radiation.
  • the substrate 21 is fixed to the upper surface of the heat sink 30 by screws 19, and heat transfer grease is applied between the substrate 21 and the heat sink 30 from the viewpoint of thermal conductivity.
  • a plurality (48 in the example in the figure) of light emitting units 22 are arranged in two rows at equal intervals (a pitch of 4.6 mm in the example in the figure).
  • a plurality (six in the illustrated example) of connectors 24 for supplying power to the light emitting elements 23 constituting the light emitting unit 22 are provided on the back surface.
  • each of the plurality of light emitting units 22 is composed of one light emitting element 23, and eight light emitting elements 23 constituting these light emitting units 22 are electrically connected in series. The eight light emitting elements 23 connected in series are electrically connected to one connector 24.
  • an LED element As the light emitting element 23, an LED element, an LD element (laser diode element) or the like is used. Specifically, for example, those having peak emission wavelengths of 365 nm, 385 nm, 405 nm, and 450 nm are used as the LED element. In the example of this figure, an LED element is used as the light emitting element 23.
  • the appropriate thing according to the kind etc. of the light emitting element 23 is used,
  • the thing made from aluminum nitride etc. can be used.
  • a substrate made of aluminum nitride having a width of 16 mm, a length of 113 mm, and a thickness of 0.6 mm is used.
  • the heat sink 30 is for cooling the light emitting element 23 constituting the light emitting unit 22 located on the upper surface.
  • the heat sink 30 has, for example, cooling water in a heat sink body 31 having a substantially U-shaped appearance made of copper.
  • a flow channel for circulating a cooling medium such as a supply channel 34 for supplying a cooling medium to the flow channel, and a discharge for discharging the cooling medium from the flow channel are formed.
  • the portion 35 is provided in a region other than the region where the substrate 21 is located on the outer surface of the heat sink main body 31.
  • the supply part 34 is formed at the end of one protrusion (left side in FIG. 3) of the heat sink main body 31, and the discharge part 35 is formed at the end of the other protrusion.
  • the cooling medium flow path is, as shown in FIG.
  • a supply flow path 43 and a discharge flow path 44 provided in parallel to the upper surface of the heat sink 30 are provided at the lower surface side level in the lower surface portion 33 located on the lower surface side of the cooling flow channel 45.
  • the cooling flow path 45 formed at different position levels in the thickness direction of the heat sink 30, the supply flow path 43 and the discharge flow path 44 are the cooling medium inlet formed in the cooling flow path 45.
  • 46 and the outlet 47 respectively communicate with the supply channel 43 through an inflow path 48 extending in the thickness direction of the heat sink 30, while an outflow path 49 in which the outlet 47 extends in the thickness direction of the heat sink 30. Are connected by communicating with the discharge flow path 44 via.
  • the supply channel 43 is connected to the supply unit 34 via a supply channel 41 extending in the thickness direction of the heat sink 30 at a supply opening 43A formed at one end thereof, and the discharge channel 43 44 is connected to the discharge part 35 through a discharge path 42 extending in the thickness direction of the heat sink 30 in a discharge opening 44A formed at one end thereof.
  • the cooling channel 45 is for circulating a cooling medium corresponding to the light emitting unit 22 on the substrate 21, and in this cooling channel 45, heat of the light emitting elements 23 constituting the light emitting unit 22 is transferred to the substrate 21 and the cooling channel 45. Heat is received by the cooling medium via the heat sink body 31, whereby the light emitting element 23 is cooled.
  • the cooling channel 45 has a rectangular shape with a cross-sectional shape having a width of 3 mm and a height of 1 mm.
  • a plurality of cooling channels 45 are provided according to, for example, the number and arrangement state of the light emitting elements 23 constituting the plurality of light emitting units 22 on the substrate 21. It is preferable that In the case where a plurality of cooling channels 45 are provided, these plurality of cooling channels 45 preferably have the same shape (specifically, the overall shape and the cross-sectional shape). In the example of this figure, three cooling channels 45 are provided so as to correspond to a total of 16 light emitting elements 23 arranged in two rows, respectively, and these three cooling channels 45 45 has the same shape.
  • the cooling channel 45 is provided at a position level close to the upper surface of the upper surface side portion 32 of the heat sink 30 from the viewpoint of increasing the cooling efficiency by reducing the thermal resistance between the cooling channel 45 and the light emitting element 23. It is preferable.
  • each of the cooling channels 45 is formed so that the depth from the upper surface of the heat sink 30 is 1 mm, that is, the distance from the upper surface is 1 mm.
  • the cooling flow path 45 is preferably provided so that all of the light emitting elements 23 constituting the plurality of light emitting units 22 in the substrate 21 are arranged in a region immediately above the cooling flow path 45.
  • the thermal resistance between the cooling flow paths 45 is made uniform in each of the plurality of light emitting elements 23. Can be achieved.
  • the shape (the entire shape) of the cooling channel 45 is not limited.
  • the cooling channel 45 is preferably annular, and in the case of an annular shape, the inlet 46 and the outlet 47 are connected to the cooling channel 45. It is preferable that they are provided symmetrically with respect to the center point of the ring. Since the cooling channel 45 has an annular shape as a whole, the cooling medium flowing in from the inlet 46 has two paths toward the outlet 47, that is, two branch paths are formed in the cooling channel 45. In addition, since the inlet 46 and the outlet 47 are in a symmetrical position, the length of the path from the inlet 46 to the outlet 47 in each of the two branch paths is the same.
  • the cooling efficiency for each of the plurality of light emitting elements 23 by the cooling medium can be increased and made uniform.
  • the cooling channel 45 has a rectangular shape as a whole, and the inflow port 46 and the outflow port 47 are symmetrical positions corresponding to the respective midpoints on the two long sides of the rectangle. Is formed.
  • the overall shape of the cooling channel and the formation position of the inlet and outlet in addition to the example in this figure, for example, the overall shape is a rectangular ring, and the inlet and outlet are symmetrical on the diagonal line.
  • the entire shape is annular, the inlet and the outlet are formed in symmetrical positions, and the entire shape is U-shaped, and flows at one end. Examples include an inlet formed and an outlet formed at the other end.
  • the cooling flow path 45 is provided with many columnar portions extending in a direction perpendicular to the flow direction of the cooling medium.
  • the contact area between the heat sink 30 and the cooling medium in the cooling flow path 45 can be increased, and the cooling medium in the cooling flow path 45 can be increased. Since the flow can be turbulent, heat transfer between the heat sink 30 and the cooling medium can be increased.
  • the cooling flow path 45 extends in the thickness direction of the heat sink 30 (vertical direction in FIG. 3), and each end thereof is joined to the mutually opposing wall surfaces of the cooling flow path 45. A large number of columnar portions are formed.
  • the supply flow path 43 circulates the cooling medium toward the inlet 46 of the cooling flow path 45, while the discharge flow path 44 is the outlet 47 of the cooling flow path 45.
  • a common supply to the plurality of cooling channels 45 that is, a common supply of the plurality of cooling channels 45 is provided.
  • these cooling flow paths 45 can be connected in parallel.
  • These supply flow path 43 and discharge flow path 44 preferably have the same shape (specifically, the overall shape and the cross-sectional shape) and are provided in parallel.
  • each of the supply flow path 43 and the discharge flow path 44 is a rectangular shape having an overall shape of a straight line and a cross-sectional shape of a width of 2.5 mm and a height of 5 mm.
  • the cooling medium supplied from the supply unit 34 reaches the discharge unit 35.
  • the plurality of paths are the most upstream of the supply flow path 43.
  • the length of the path from the supply opening 43A, which is the position, to the discharge opening 44A, which is the most downstream position of the discharge flow path 44, via the cooling flow path 45 is about each of the plurality of cooling flow paths 45.
  • the cooling flow path 45A located on the most upstream side of the supply flow path 43 and the cooling located on the most downstream side of the supply flow path 43.
  • the three cooling channels 45 that is, the channel 45 C and the cooling channel 45 B positioned between the cooling channel 45 A and the cooling channel 45 C, are provided between the supply channel 43 and the discharge channel 44.
  • Two branch paths are formed, thereby forming three paths having the same lengths: a path passing through the cooling flow path 45A, a path passing through the cooling flow path 45B, and a path passing through the cooling flow path 45C. Has been.
  • the cooling medium is supplied from the supply unit 34 to the heat sink 30 and supplied from the supply unit 34 in a state where the light emitting element 23 constituting the light source is emitting light.
  • the cooled cooling medium is distributed and introduced into each of the plurality of cooling channels 45 via the supply channel 41 and the supply channel 43, and after passing through each of the plurality of cooling channels 45, the discharge channel 44.
  • the cooling medium is discharged from the discharge portion 35 to the outside of the heat sink 30 through the common discharge path 42, and thus the cooling medium flows through the heat sink 30, so that the cooling medium flows through the heat sink body 31 and the cooling flow path 45.
  • Each of the light emitting elements 23 is cooled.
  • the flow path of the cooling medium provided in the heat sink 30 constituting the light emitting element light source unit 10 includes the cooling flow path 45, the supply flow path 43 and the discharge flow path 44, and the supply flow path 43 and the discharge channel 44 are disposed at a position level away from the upper surface where the light emitting element 23 on the lower surface side of the cooling channel 45 is disposed, so that the cooling medium flowing through the supply channel 43 is Since the temperature rise due to heat received from the light emitting element 23 is suppressed, a large temperature gradient does not occur in the supply flow path 43.
  • the heat sink 30 has a structure in which a plurality of cooling flow paths 45 are connected in parallel by the supply flow path 43 and the discharge flow path 44 in accordance with, for example, the number and arrangement state of the light emitting elements 23 constituting the light emission source.
  • the total flow path length of the cooling flow path for circulating the cooling medium corresponding to the light emitting section 22 can be increased without causing a large pressure loss.
  • An amount of the cooling medium to be circulated, and the contact area between the cooling medium and the heat sink 30 can be increased, and the upstream side of the supply flow path 43 with respect to each of the cooling flow paths 45. Since the cooling medium having the same temperature can be introduced, the light emitting element 23 can be cooled with the cooling medium with high efficiency.
  • the plurality of light emitting elements 23 constituting the light emitting source can be cooled efficiently and with high uniformity, thereby reducing the emission intensity and the illuminance on the irradiated surface.
  • the occurrence of unevenness can be suppressed.
  • the junction portion semiconductor bonding portion in all of the light emitting elements 23 bonded on the substrate 21, the junction portion (semiconductor bonding portion). ) Is 60 ° C. or lower and can be within a temperature range of ⁇ 1 ° C.
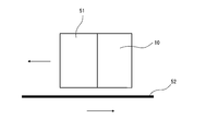
  • the light emitting element light source unit 10 is suitably used as a fixing light irradiator in a photocurable ink jet printer apparatus.
  • a fixing light irradiator composed of a light emitting element light source unit 10 is integrally disposed adjacent to an ink jet head 51 that ejects photocurable ink,
  • the print medium 52 such as paper
  • the print medium 52 to which the ejected ink is attached is irradiated with light. Is fixed or assumed.
  • a light emitting element constituting a light emitting unit is directly arranged on the upper surface of a heat sink, and a wiring pattern is applied to the upper surface of the heat sink, that is, the heat sink has a function as a substrate. It may be of a different configuration. In such a case, since the light emitting element is directly cooled by the heat sink, the light emitting element can be cooled more effectively.
  • the heat sink may have a configuration in which a heat transfer suppression unit including a slit or the like is provided between the supply channel and the discharge channel.
  • the heat transfer suppression unit can suppress the transfer of heat between the supply flow path and the discharge flow path, so that the heat reception from the cooling medium flowing in the discharge flow path.
  • it is possible to suppress the temperature gradient of the cooling medium from increasing in the supply flow path and the occurrence of a temperature gradient, so that the light emitting element can be cooled more efficiently.
  • the heat sink body has different materials in the upper surface side portion where the cooling flow path is provided and the lower surface side portion where the supply flow path and the discharge flow path are provided, and the lower surface side portion is the upper surface side portion. It may be made of a material having a lower thermal conductivity than In such a case, since it is possible to suppress the transfer of heat between the supply flow path and the discharge flow path by making the material of the lower surface side portion low in thermal conductivity, The temperature of the cooling medium rises in the supply flow path due to heat received from the cooling medium flowing in the discharge flow path, and a temperature gradient can be suppressed, so that the light emitting element can be cooled more efficiently. Can do. Even in such a case, the light-emitting element can be cooled more efficiently by providing a heat transfer suppression unit including a slit or the like between the supply channel and the discharge channel.
  • the light emitting element light source unit includes a plurality of cooling medium circulation channels in the heat sink 30 according to the number or arrangement state of the light emitting elements 23 constituting the light emitting source (in the example of FIG. 8).
  • the common supply channel 55 and the common discharge channel 56 are connected in parallel may be used.
  • the common supply channel 55 is connected to a supply path 41 that communicates with the supply unit, and the common discharge channel 56 is connected to a discharge channel 42 that communicates with the discharge unit.
  • the light emitting element light source unit having such a configuration, a larger number of light emitting elements 23 can be used as light emitting sources. Even in such a case, it is possible to cool the light emitting element more efficiently by providing a heat transfer suppressing portion including the slit 37 between the supply flow path 43 and the discharge flow path 44.
  • a slit 37 having a width of 5 mm is formed between the supply flow path 43 and the discharge flow path 44 between the cooling flow path parallel connection flow paths 40 adjacent to each other.
  • a light emitting element light source unit (hereinafter also referred to as “light emitting element light source unit (1)”) having the configuration according to the example of FIG. 1 was manufactured.
  • the substrate constituting this light-emitting element light source unit (1) has 48 light-emitting portions each made up of one LED element having a peak emission wavelength of 365 nm arranged in two rows at a pitch of 4.6 mm, 16 mm wide, vertically It is made of aluminum nitride having a thickness of 113 mm and a thickness of 0.6 mm.
  • the heat sink includes a copper heat sink body, a cross-sectional supply path having a circular shape (cross-sectional area of 12 mm 2 ), a cross-sectional shape having a width of 2.5 mm, a rectangular shape having a height of 5 mm, and a cross-section
  • a discharge channel having a rectangular shape with a width of 2.5 mm and a height of 5 mm and a discharge channel having a circular cross section (cross-sectional area of 12 mm 2 ) are used for discharging from the supply opening through the cooling channel.
  • a flow passage having a length of 164 mm in three paths leading to the opening is formed.
  • the cooling medium which consists of cooling water with a temperature of 25 degreeC with respect to the inside of a heat sink is supplied by various conditions (total amount of cooling water), and circulation of the cooling medium formed in the heat sink The pressure loss in the flow path was confirmed.
  • curve (A) the condition of the cooling medium to the heat sink is 1 liter / min (the cooling medium inflow condition in each cooling channel) was 14.5 kPa when the pressure loss was confirmed at a rate of 1/3 liter / min.
  • a cooling medium is supplied to the heat sink at a condition of 1 liter / min (the cooling medium inflow condition in each cooling channel is 1/3 liter / min).
  • the rising temperature in the supply channel was confirmed from the temperature difference between the temperature of the cooling medium in the supply opening and the temperature of the cooling medium at the inlet of the cooling channel located on the most downstream side of the supply channel. It was 5 ° C.
  • the temperature of the junction (semiconductor junction) in each light emitting element emitting light under the condition of a calorific value of 170 W was confirmed, it was 60 ° C. or less and the temperature range was within ⁇ 1 ° C. It was.
  • a light emitting element light source unit having a configuration in which cooling channels 45 are connected in series (hereinafter, also referred to as “comparative light emitting element light source unit (1)”) was manufactured.
  • the three cooling channels 45 in the circulation channel of the cooling medium in the heat sink 60 have a rectangular channel 61 (width 2.5, height 5 mm).
  • the pressure loss increases slightly as the supply amount of the cooling medium increases, but the increase rate is higher than that of the comparative light emitting element light source unit (1). It is clear that it is extremely small. Specifically, for example, when the cooling medium is supplied under the condition of 1 liter / min, the pressure loss of the path related to one cooling channel in the light emitting element light source unit (1) is 0.0145 MPa. On the other hand, since the pressure loss in the comparative light emitting element light source unit (1) is 1.2 MPa, the comparative light emitting element light source unit (1) has a pressure of 80 times or more that of the light emitting element light source unit (1). It will be appreciated that a cooling medium needs to be supplied.
  • the total flow path of the flow path for circulating the cooling medium corresponding to the light emitting part without causing a large pressure loss It has been confirmed that the length can be increased, and that the plurality of light emitting elements constituting the light emitting source can be cooled efficiently and with high uniformity.

Landscapes

  • Engineering & Computer Science (AREA)
  • General Engineering & Computer Science (AREA)
  • Led Device Packages (AREA)
  • Non-Portable Lighting Devices Or Systems Thereof (AREA)
  • Ink Jet (AREA)
  • Arrangement Of Elements, Cooling, Sealing, Or The Like Of Lighting Devices (AREA)
PCT/JP2010/069061 2009-11-12 2010-10-27 発光素子光源ユニット Ceased WO2011058880A1 (ja)

Priority Applications (1)

Application Number Priority Date Filing Date Title
CN2010800192228A CN102414502B (zh) 2009-11-12 2010-10-27 发光元件光源单元

Applications Claiming Priority (2)

Application Number Priority Date Filing Date Title
JP2009258533A JP4893806B2 (ja) 2009-11-12 2009-11-12 発光素子光源ユニット
JP2009-258533 2009-11-12

Publications (1)

Publication Number Publication Date
WO2011058880A1 true WO2011058880A1 (ja) 2011-05-19

Family

ID=43991539

Family Applications (1)

Application Number Title Priority Date Filing Date
PCT/JP2010/069061 Ceased WO2011058880A1 (ja) 2009-11-12 2010-10-27 発光素子光源ユニット

Country Status (4)

Country Link
JP (1) JP4893806B2 (enExample)
CN (1) CN102414502B (enExample)
TW (1) TW201135124A (enExample)
WO (1) WO2011058880A1 (enExample)

Cited By (1)

* Cited by examiner, † Cited by third party
Publication number Priority date Publication date Assignee Title
JP2016068052A (ja) * 2014-09-30 2016-05-09 東芝ライテック株式会社 光源装置

Families Citing this family (6)

* Cited by examiner, † Cited by third party
Publication number Priority date Publication date Assignee Title
JP5737064B2 (ja) * 2011-08-24 2015-06-17 ウシオ電機株式会社 光源ユニット
JP6915652B2 (ja) * 2015-11-16 2021-08-04 ウシオ電機株式会社 発光素子光源モジュール
JP6260604B2 (ja) 2015-11-16 2018-01-17 ウシオ電機株式会社 光照射装置
JP6558222B2 (ja) * 2015-11-16 2019-08-14 ウシオ電機株式会社 発光素子光源モジュール
DE102016224064A1 (de) * 2016-12-02 2018-06-07 Eaton Protection Systems Ip Gmbh & Co. Kg Elektrisches/Elektronisches Betriebsmittel, Verfahren zur Kühlung und Überwachung des Betriebsmittels sowie Sicherheitsschalteinrichtung
JP6636996B2 (ja) * 2017-07-11 2020-01-29 ファナック株式会社 Ldモジュール冷却装置及びレーザ装置

Citations (4)

* Cited by examiner, † Cited by third party
Publication number Priority date Publication date Assignee Title
JP2001162783A (ja) * 1999-12-10 2001-06-19 Noritsu Koki Co Ltd 画像形成装置および画像形成方法
JP2003092009A (ja) * 2001-09-17 2003-03-28 Matsushita Electric Ind Co Ltd 照明装置
JP2005045062A (ja) * 2003-07-23 2005-02-17 Seiko Epson Corp 光源装置及びそれを用いた投射型表示装置
JP2005229095A (ja) * 2004-01-13 2005-08-25 Seiko Epson Corp 光源装置および投射型表示装置

Family Cites Families (2)

* Cited by examiner, † Cited by third party
Publication number Priority date Publication date Assignee Title
JP2005079065A (ja) * 2003-09-03 2005-03-24 Seiko Epson Corp 光源装置、光源装置の製造方法、投射型表示装置
CN201307588Y (zh) * 2008-11-20 2009-09-09 华南理工大学 一种基于压电泵的主动式控温冷却装置

Patent Citations (4)

* Cited by examiner, † Cited by third party
Publication number Priority date Publication date Assignee Title
JP2001162783A (ja) * 1999-12-10 2001-06-19 Noritsu Koki Co Ltd 画像形成装置および画像形成方法
JP2003092009A (ja) * 2001-09-17 2003-03-28 Matsushita Electric Ind Co Ltd 照明装置
JP2005045062A (ja) * 2003-07-23 2005-02-17 Seiko Epson Corp 光源装置及びそれを用いた投射型表示装置
JP2005229095A (ja) * 2004-01-13 2005-08-25 Seiko Epson Corp 光源装置および投射型表示装置

Cited By (1)

* Cited by examiner, † Cited by third party
Publication number Priority date Publication date Assignee Title
JP2016068052A (ja) * 2014-09-30 2016-05-09 東芝ライテック株式会社 光源装置

Also Published As

Publication number Publication date
JP4893806B2 (ja) 2012-03-07
TW201135124A (en) 2011-10-16
TWI376476B (enExample) 2012-11-11
CN102414502A (zh) 2012-04-11
CN102414502B (zh) 2013-09-25
JP2011103261A (ja) 2011-05-26

Similar Documents

Publication Publication Date Title
JP4893806B2 (ja) 発光素子光源ユニット
KR101985823B1 (ko) 광 조사 장치
KR101622267B1 (ko) 반도체 다이를 냉각하는 냉각 장치
US10451262B2 (en) Light emitting apparatus
US11374157B2 (en) Light illuminating apparatus
KR101941093B1 (ko) 광조사장치
EP3187780B1 (en) Light irradiating device
KR101793969B1 (ko) 광 조사 장치
US20090225545A1 (en) Light source device and light source packaging method
JP6558222B2 (ja) 発光素子光源モジュール
KR100708124B1 (ko) 수냉식 냉각구조를 채용한 조명유니트
WO2012042337A1 (ja) Ledユニット
CN104972742B (zh) 光照射装置
JP2019175871A (ja) 発光素子光源モジュール
JP5239151B2 (ja) インクジェット記録装置
JP2017159657A (ja) 光照射装置
EP4186700A1 (en) Light irradiation device
JP2024166219A (ja) 光照射装置
JP2025029333A (ja) 冷却器及びこれを備えたレーザモジュール
JP2024039876A (ja) レーザモジュール及びそれを備えたレーザ加工装置

Legal Events

Date Code Title Description
WWE Wipo information: entry into national phase

Ref document number: 201080019222.8

Country of ref document: CN

121 Ep: the epo has been informed by wipo that ep was designated in this application

Ref document number: 10829840

Country of ref document: EP

Kind code of ref document: A1

NENP Non-entry into the national phase

Ref country code: DE

122 Ep: pct application non-entry in european phase

Ref document number: 10829840

Country of ref document: EP

Kind code of ref document: A1