WO2011039823A1 - プラント診断装置 - Google Patents

プラント診断装置 Download PDF

Info

Publication number
WO2011039823A1
WO2011039823A1 PCT/JP2009/005123 JP2009005123W WO2011039823A1 WO 2011039823 A1 WO2011039823 A1 WO 2011039823A1 JP 2009005123 W JP2009005123 W JP 2009005123W WO 2011039823 A1 WO2011039823 A1 WO 2011039823A1
Authority
WO
WIPO (PCT)
Prior art keywords
plant
database
category
data
data item
Prior art date
Legal status (The legal status is an assumption and is not a legal conclusion. Google has not performed a legal analysis and makes no representation as to the accuracy of the status listed.)
Ceased
Application number
PCT/JP2009/005123
Other languages
English (en)
French (fr)
Japanese (ja)
Inventor
関合孝朗
江口徹
楠見尚弘
堀嘉成
深井雅之
清水悟
Current Assignee (The listed assignees may be inaccurate. Google has not performed a legal analysis and makes no representation or warranty as to the accuracy of the list.)
Hitachi Ltd
Original Assignee
Hitachi Ltd
Priority date (The priority date is an assumption and is not a legal conclusion. Google has not performed a legal analysis and makes no representation as to the accuracy of the date listed.)
Filing date
Publication date
Application filed by Hitachi Ltd filed Critical Hitachi Ltd
Priority to PCT/JP2009/005123 priority Critical patent/WO2011039823A1/ja
Priority to CN200980161696.3A priority patent/CN102576227B/zh
Priority to IN2779DEN2012 priority patent/IN2012DN02779A/en
Priority to JP2011533967A priority patent/JP5199478B2/ja
Publication of WO2011039823A1 publication Critical patent/WO2011039823A1/ja
Anticipated expiration legal-status Critical
Ceased legal-status Critical Current

Links

Images

Classifications

    • GPHYSICS
    • G05CONTROLLING; REGULATING
    • G05BCONTROL OR REGULATING SYSTEMS IN GENERAL; FUNCTIONAL ELEMENTS OF SUCH SYSTEMS; MONITORING OR TESTING ARRANGEMENTS FOR SUCH SYSTEMS OR ELEMENTS
    • G05B23/00Testing or monitoring of control systems or parts thereof
    • G05B23/02Electric testing or monitoring
    • G05B23/0205Electric testing or monitoring by means of a monitoring system capable of detecting and responding to faults
    • G05B23/0218Electric testing or monitoring by means of a monitoring system capable of detecting and responding to faults characterised by the fault detection method dealing with either existing or incipient faults
    • G05B23/0221Preprocessing measurements, e.g. data collection rate adjustment; Standardization of measurements; Time series or signal analysis, e.g. frequency analysis or wavelets; Trustworthiness of measurements; Indexes therefor; Measurements using easily measured parameters to estimate parameters difficult to measure; Virtual sensor creation; De-noising; Sensor fusion; Unconventional preprocessing inherently present in specific fault detection methods like PCA-based methods

Definitions

  • the present invention relates to a plant diagnostic apparatus for detecting a plant abnormality.
  • the plant diagnostic device detects the occurrence of an abnormality or accident based on the measurement data from the plant when an abnormal transient or accident occurs in the plant.
  • Patent Document 1 discloses a diagnostic apparatus using adaptive resonance theory (ART).
  • ART has a function of classifying multidimensional data into categories according to their similarity.
  • measurement data at normal time is classified into a plurality of categories using ART.
  • current measurement data is classified into categories by ART, and when this category is different from a plurality of categories generated at normal time, an abnormality is diagnosed.
  • an object of the present invention is to provide a plant diagnostic apparatus that can appropriately select data items to be used for diagnosis in advance and can further suppress the occurrence of an alarm in a normal state. is there.
  • the diagnostic device of the present invention has the following features.
  • the plant diagnostic device includes a measurement signal database for storing plant measurement signals, an operation history database for storing operation signals when the operator performs operations using the external input device, and an operator when an abnormality occurs in the plant.
  • Learning means for extracting data items to be used for plant diagnosis from display information displayed on the image display device by an operation performed using the external input device.
  • the learning means of the plant diagnosis device is a method for weighting display information displayed on the screen from the display time of the display screen displayed on the image display device when a plant abnormality occurs, and data used for plant diagnosis. You may provide the process data item determination part which extracts an item.
  • the plant diagnosis device may display the extracted data item on the image display device and may be used for determination to add to the monitoring item of the plant diagnosis.
  • the plant diagnosis apparatus includes a control logic database that stores plant control logic and a design information database that stores design information, and the storage information of these databases may be displayed as display information on the image display device. .
  • a measurement signal database that stores plant measurement signals
  • a processing data extraction unit that extracts a diagnostic signal used to diagnose the state of the plant from the measurement signal database, and a diagnosis extracted by the processing data extraction unit
  • a reference signal database for storing signals
  • a classification means for classifying data stored in the reference signal database into categories
  • a classification result database for storing results classified by the classification means, and the latest data extracted by the processing data extraction means
  • the diagnostic signal does not belong to the category stored in the classification result database
  • a diagnostic means for generating and classifying a new category
  • a diagnostic result database for storing the classification result of the diagnostic means, a diagnostic result database, and a classification result Using category information stored in the database
  • a plant diagnosis device equipped with an alarm generating means for generating an alarm when the frequency of generation of a new category within a certain period exceeds a certain value (threshold)
  • an external input signal from an external input device consisting of a mouse and a keyboard is received.
  • a learning means having an operation
  • a measurement signal database for storing the measurement signal of the plant, a processing data extraction means for extracting a reference signal used for diagnosing the state of the plant from the measurement signal database, and a reference extracted by the processing data extraction means
  • a reference signal database for storing signals, a classification means for classifying data stored in the reference signal database into categories, a classification result database for storing results classified by the classification means, and the latest data extracted by the processing data extraction means
  • the diagnostic signal does not belong to the category stored in the classification result database
  • a diagnostic unit that generates and classifies a new category
  • a diagnostic result database that stores the classification result of the diagnostic unit, the diagnostic result database, and the classification Correct category attributes stored in results database
  • the category attribute database that defines whether the category attribute is stored and the category attribute database and the information stored in the diagnosis result database, the classification result database, and the category attribute database, the category of the abnormal attribute is generated within a certain period of time.
  • An operation history database for storing an external input signal from an external input device composed of a mouse and a keyboard, and an operation history in a plant diagnostic apparatus having an alarm generation means for generating an alarm when the frequency exceeds a certain value (threshold)
  • a processing data item determining unit that determines a data item to be extracted by the processing data extracting unit
  • a category attribute determining unit that determines whether the category attribute is normal or abnormal based on operation history information stored in the database
  • the plant diagnosis apparatus also includes a control logic database in which control logic information for controlling the plant is stored, and a design information database in which plant design information is stored.
  • the learning means stores the control logic database in the control logic database. The control logic information that is stored and the design information stored in the design information database may be processed together.
  • the plant diagnostic apparatus has an image display device that displays information stored in a database in the diagnostic device, and the operation history database displays at least the time when the operation was performed and the image display device. The screen relationship should be saved.
  • the plant diagnosis apparatus calculates the importance of the data item based on at least the data item related to the screen displayed on the image display device and the period during which the screen is displayed in the processing data item determination unit. It is preferable that the processing data extraction unit extracts the data item having a high importance extracted by the processing data item determination unit from the measurement signal database.
  • the plant diagnosis apparatus calculates the importance of the data item based on at least the data item related to the screen displayed on the image display device and the period during which the screen is displayed in the processing data item determination unit. It has a function to extract high data items, displays the data items of high importance extracted by the processing data item determination means on the image display device, and adds and deletes data items by operation from the external input device Then, the data item may be determined, and the processing data extraction unit may extract data of the data item determined by the operation from the external input device from the measurement signal database.
  • the category attribute determination unit holds the data of the ratio of the period during which the screen is displayed for each category, and determines the attribute of the category based on the similarity of the data of the ratio of the displayed period. It is preferable that the alarm generating means has a function of changing from abnormal to normal, and the alarm generation means generates an alarm when the generation ratio of the category having the abnormality attribute exceeds a certain value.
  • the category attribute determination unit holds data for the ratio of the period for which the screen was displayed for each category, and abnormal category attributes based on the similarity of the data for the ratio of the displayed period It is preferable to have a function of changing normally from the above and a function of correcting the attribute of the category displayed on the image display device based on the external input signal input from the external input device.
  • Data items used for diagnosis can be set appropriately in advance, improving diagnosis performance. In addition, unnecessary alarms can be suppressed.
  • FIG. It is a block diagram which shows the diagnostic apparatus of this invention. It is a flowchart figure explaining the basic operation
  • FIG. It is a figure explaining an example of the classification result in FIG. It is a figure explaining the aspect of the data preserve
  • FIG. 6 is a flowchart for explaining the operation of the learning means 800. It is a figure which shows the example of the screen which the operator of the plant 100 displays on the image display apparatus 950. It is a figure which shows time and a screen display timing as an aspect of the data preserve
  • FIG. It is a figure which shows the operation result of the process data item determination part 810.
  • FIG. It is a figure which shows the example of the data item addition screen displayed on the image display apparatus 950 by step S1220. It is a figure explaining the classification
  • FIG. It is a figure explaining the example of the data aspect preserve
  • FIG. 1 is a block diagram showing a plant diagnostic apparatus according to the present invention, in which a plant 100 is diagnosed by a plant diagnostic apparatus 200.
  • the diagnostic device 200 includes processing data extraction means 400, classification means 500, diagnostic means 600, alarm generation means 700, and learning means 800 as arithmetic devices.
  • the diagnostic apparatus 200 includes a measurement signal database 310, a reference signal database 320, a classification result database 330, a diagnosis result database 340, an operation history database 350, a control logic database 360, a design information database 370, and a category attribute database 380 as databases. I have.
  • an operation history database 350 is provided in order to “appropriately set data items used for diagnosis in advance”.
  • the actions of the operator when the abnormality occurs (various operations using the keyboard 910 and the mouse 920 performed toward the image display device 950) reflect the long-time knowledge of the operator. ing. Accordingly, the operation history at this time is stored in the operation history database 350 and analyzed to obtain a data item used for diagnosis.
  • the diagnostic apparatus 200 includes an external input interface 210 and an external output interface 220 as interfaces with the outside.
  • the diagnostic device 200 is created by operating the measurement signal 1 from the plant 100 and measuring the various state quantities of the plant through the external input interface 210 and operating the external input device 900 including the keyboard 910 and the mouse 920.
  • the external input signal 2 to be input is input.
  • the image display data 14 is output from the diagnostic apparatus 200 to the image display apparatus 950 via the external output interface 220.
  • the measurement signal 3 input via the external input interface 210 is stored in the measurement signal database 310.
  • the processing data extraction unit 400 extracts the diagnostic signal 6 used for diagnosis from the measurement signal 5 stored in the measurement signal database 310 and stores it in the reference signal database 320.
  • the classification unit 500 classifies the reference signal 7 into categories.
  • the classification result 8 is stored in the classification result database 330.
  • the processing content of the classification means 500 will be described later with reference to FIG.
  • diagnosis unit 600 when the latest diagnosis signal 6 extracted by the processing data extraction unit 400 belongs to the classification result database 330, the diagnosis signal 6 is classified into the category. On the other hand, if the latest diagnostic signal 6 extracted by the processing data extraction unit 400 does not belong to the category stored in the classification result database 330, a new category is generated and the diagnostic signal 6 is classified.
  • the diagnosis result 10 that is the classification result created by the diagnosis unit 600 is stored in the diagnosis result database 340. The processing contents of the diagnosis unit 600 will be described later with reference to FIG.
  • the category attribute database 380 stores category attributes stored in the classification result database 330 and the diagnosis result database 340.
  • the category attributes are normal and abnormal.
  • the category attributes stored in the classification result database 330 are normal.
  • the initial attribute of the new category generated by the diagnosis unit 600 is abnormal.
  • the attributes of these categories can be modified using the learning means 800. This correction method in the learning means 800 will be described later with reference to FIG.
  • the diagnosis result 11 stored in the diagnosis result database 340, the classification result 12 stored in the classification result database 330, the category attribute information 25 stored in the category attribute database 380, and the measurement signal database Whether or not to generate an alarm is determined using the latest measurement signal 4 stored in 310.
  • the alarm generation means 700 has a criterion for generating the following three types of alarms, and determines whether to generate an alarm by arbitrarily combining them. (For example, an alarm is generated when both condition 1 and condition 2 are satisfied, an alarm is generated when either condition 1 or condition 2 is satisfied, etc.)
  • Condition 1 The measurement signal 4 at the latest time deviates from a predetermined range (threshold value).
  • Condition 2 The frequency of generating a new category within a certain period exceeds a certain value (threshold value).
  • Condition 3 The frequency of generation of abnormal attribute categories within a certain period exceeds a certain value (threshold).
  • the alarm generation unit 700 transmits the alarm signal 13 to the external output interface 220.
  • the alarm signal 13 is converted into image display information 14 by the external output interface 220 and displayed on the image display device 950.
  • the external input signal 20 is stored in the operation history database 350.
  • the learning unit 800 includes a processing data item determination unit 810 and a category attribute determination unit 820.
  • the learning means 800 includes two of the processing data item determination unit 810 and the category attribute determination unit 820. However, only one of them may be included.
  • the processing data item determination unit 810 determines a data item to be extracted by the processing data extraction unit 400 using at least information stored in the operation history database 350.
  • the processing data item information 24 is transmitted to the processing data extraction unit 400.
  • the category attribute determination unit 820 determines the category attribute as normal or abnormal using at least information stored in the operation history database 350.
  • the category attribute information 30 is stored in the category attribute database 380.
  • the processing data item determination unit 810 and the category attribute determination unit 820 include a control logic database 360 in which the control logic of the plant 100 is stored as needed, and a design information database in which design information of the plant 100 is stored. Information of the classification result database 330 and the diagnosis result database 340 can also be used.
  • the diagnostic device information 50 stored in the measurement signal database 310, the reference signal database 320, the classification result database 330, the diagnosis result database 340, the operation history database 350, the control logic database 360, and the design information database 370 is an image display device. 950 can be displayed. These pieces of information can be corrected using the external input device 900 as necessary.
  • the operation history database 350, the control logic database 360, the design information database 370, and the category attribute database 380 are all inside the diagnostic apparatus 200, but some of them are arranged outside the diagnostic apparatus 200 so that only the data is communicated. It may be.
  • the diagnostic apparatus 200 there is one plant to be diagnosed, but a plurality of plants can be diagnosed by the diagnostic apparatus 200.
  • FIG. 2 and 3 are flowcharts for explaining the basic operation of the diagnostic apparatus 200.
  • FIG. The diagnostic apparatus 200 has two basic operations: a normal state learning mode for classifying normal data into categories based on information stored in the reference signal database 320, and a diagnostic mode for diagnosing the state of the plant 100.
  • the normal state learning mode and the diagnostic mode are operated independently for each measurement signal sampling period or each period preset by the operator.
  • 2 is a flowchart for explaining the operation in the normal state learning mode
  • FIG. 3 is a flowchart for explaining the operation in the diagnosis mode.
  • steps S1000 and S1010 are executed in combination as shown in FIG.
  • the processing data extraction unit 400 is operated to extract the diagnostic signal 6 from the measurement signal 5 in the measurement signal database 310.
  • the diagnostic signal 6 is stored in the reference signal database 320.
  • the data stored in the reference signal database 320 is data for a period during which the operator determines that the operation state of the plant is normal.
  • step S1010 the classification means 500 is operated to classify the reference signal 7 stored in the reference signal database 320, and the classification result 8 is stored in the classification result database 330.
  • steps S1100, S1110, S1120, and S1130 are executed in combination as shown in FIG.
  • step S1000 the measurement signal 1 from the plant 100 is taken into the diagnostic device 200 via the external input interface 210, and the measurement signal 3 is stored in the measurement signal database 310.
  • the processing data extraction unit 400 is operated, the measurement signal 5 is extracted from the measurement signal database 310, and the diagnostic signal 6 with the latest time is transmitted to the diagnostic unit 600.
  • step S1010 the diagnosis unit 600 is operated and the diagnosis result 10 is transmitted to the diagnosis result database 340.
  • step S1020 the alarm generation means 700 is operated to determine whether an alarm can be generated. If it is determined in step S1020 that an alarm can be generated, the process proceeds to step S1030. If the alarm is not generated, the process returns to step S1000.
  • step S1030 the alarm signal 13 output from the alarm generation means 700 is converted into the image display information 14 by the external output interface 220 and output to the image display device 950. This notifies the plant operator of an alarm.
  • FIG. 4 is a block diagram for explaining an embodiment of the classification means 500 and the diagnosis means 600.
  • ART adaptive resonance theory
  • other clustering methods such as vector quantization
  • the classification unit 500 and the diagnosis unit 600 respectively execute a flowchart composed of the data preprocessing device 610 and the ART module 620 shown in FIG.
  • the data preprocessing device 610 converts the operation data into input data for the ART module 620. The steps will be described below.
  • the normalization method will be described by taking the plant process quantity xi as an example.
  • the number of data of xi is N and the nth measurement value is xi (n). Further, if the maximum value and the minimum value in the N pieces of data are Max_i and Min_i, respectively, normalized data Nxi (n) is obtained by Expression (1).
  • Nxi (n) ⁇ + (1 ⁇ ) ⁇ (xi (n) ⁇ Min_i) / (Max_i ⁇ Min_i) (1)
  • it is a constant of ⁇ (0 ⁇ ⁇ ⁇ 0.5)
  • the data is normalized to the range of [ ⁇ , 1 ⁇ ] by the equation (1).
  • the complement of the normalized data is calculated and added to the input data.
  • CNxi (n) 1 ⁇ Nxi (n) (2)
  • data consisting of data Nxi (n) and CNxi (n) is input to the ART module 620 as input data.
  • the above is the input data conversion processing of the operation data to the ART module 620 in the data preprocessing device 610.
  • the ART module 620 classifies input data into a plurality of categories.
  • the ART module 620 includes an F0 layer 621, an F1 layer 622, an F2 layer 623, a memory 624, and a selection subsystem 625, which are coupled to each other.
  • the F1 layer 622 and the F2 layer 623 are coupled via a weighting factor, and the weighting factor represents a prototype (prototype) of a category into which input data is classified.
  • Process 1 The input vector is normalized by the F0 layer 621, and noise is removed.
  • a suitable category candidate is selected by comparing the input data input to the F1 layer 622 with a weighting factor.
  • Process 3 The validity of the category selected by the selection subsystem 625 is evaluated by the ratio with the parameter ⁇ . If it is determined to be valid, the input data is classified into the category, and the process proceeds to process 4. If it is not judged to be valid, the category is reset, and an appropriate category candidate is selected from the other categories (the process 2 is repeated). Increasing the value of parameter ⁇ makes the category classification finer, and decreasing ⁇ makes the classification coarser. This parameter ⁇ is referred to as a vigilance parameter.
  • Process 4 When all existing categories are reset in Process 2, it is determined as a new category, and a new weighting factor representing a prototype of the new category is generated.
  • the characteristic of the data classification algorithm of the ART module 620 is the process 4.
  • the stored pattern is not changed and a new pattern can be stored. For this reason, it is possible to store a new pattern while storing patterns learned in the past.
  • the ART module 620 learns the given pattern. Therefore, when new input data is input to the learned ART module 620, it is possible to determine which pattern is near by the above algorithm. If the pattern has never been experienced before, it is classified into a new category.
  • FIG. 5 is a diagram for explaining an example of the classification result.
  • two items of measurement data are displayed and represented by a two-dimensional graph.
  • the measurement data is divided into a plurality of categories 630 (circles in FIG. 5) by the ART module 620.
  • FIG. 6 is a diagram for explaining a mode of data stored in the measurement signal database 310, the reference signal database 320, and the classification result database 330. 6 may be considered as a display screen when displayed on the image display device 950 of FIG. Therefore, for example, in the measurement signal database 310 of FIG. 6, a wider range of data can be scroll-displayed by the scroll 301 on the vertical and horizontal screens. Further, by selecting the reference tab 302 in the reference signal database 320, only items classified into the reference can be displayed together. The data stored in the diagnosis result database 340 and the classification result database 330 are the same. Further, the data of these databases are processed into various forms as shown in FIG. 6 and further shown in FIGS. 13, 14, 15, 16, and 20 to be converted into display information. Is displayed.
  • the upper part of FIG. 6 is a diagram for explaining the mode of data stored in the measurement signal database 310.
  • values of a plurality of data items (items A, B, C, etc.) measured by the plant 100 are stored for each sampling period (vertical time). .
  • the middle part of FIG. 6 is a diagram for explaining the mode of data stored in the reference signal database 320.
  • the processing data extraction unit 400 in FIG. 1 extracts a data group used for diagnosis of the plant 100 from the measurement signal database 310 in the upper part of FIG.
  • a data group used for diagnosis of the plant 100 from the measurement signal database 310 in the upper part of FIG.
  • the measurement values of all the data items are stored in time series as one data group, whereas the reference signal database 320 is selected according to the reference and limited. Measurement values of data items are stored in a time series as a plurality of data groups.
  • the lower part of FIG. 6 is a diagram for explaining the mode of data stored in the classification result database 330.
  • the classification result database 330 stores the time, the relationship between the category numbers in which the data at that time is classified (lower left in FIG. 6), and the relationship between the category number and the weighting factor (lower right in FIG. 6).
  • the classification result database 330 stores the classification results for each data group stored in the reference signal database 320.
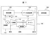
  • FIG. 7 shows a thermal power plant as a plant to which the present invention is applied.
  • the thermal power plant 100 includes a gas turbine generator 110, a control device 120, and a data transmission device 130.
  • the gas turbine generator 110 includes a generator 111, a compressor 112, a combustor 113, and a turbine 114.
  • the compressed air generated by the compressor 112 is sent to the combustor 113, mixed with fuel, and burned by the combustor 113.
  • the turbine 114 is rotated by the high-pressure gas generated by the combustion, and the generator 111 generates power.
  • the control device 120 controls the output of the gas turbine generator 110 according to the power demand. Further, the control device 110 inputs operation data 102 measured by a sensor (not shown) installed in the gas turbine generator 110.
  • the operation data 102 is a state quantity such as an intake air temperature, a fuel input amount, a turbine exhaust gas temperature, a turbine rotational speed, a generator power generation amount, a turbine shaft vibration, and the like, and is measured every sampling period. It also measures weather information such as atmospheric temperature.
  • the control device 120 calculates a control signal 101 for controlling the gas turbine generator 110 using these operation data 102.
  • the signal data transmission device 130 transmits the measurement signal 1 including the operation data 102 measured by the control device 120 and the control signal 101 calculated by the control device 120 to the diagnosis device 200.
  • FIG. 8 shows an example when the measurement signal obtained from the plant of FIG. As shown in FIG. 8, for example, a generator output as item A and an atmospheric temperature measurement signal as item B are input to the diagnostic unit 600 in the diagnostic apparatus 200.
  • the initial items A and B are stable at a substantially constant value, but then the item A decreases at time t1, then decreases after the item B increases, and finally both items increase. It is assumed that it has changed.
  • the measurement signal 4 belongs to any one of the category numbers 1 to 4 in the time zone before the occurrence of the abnormality in FIG. It belongs to a category (new categories 5, 6, and 7) that is not sometimes present.
  • the occurrence rate of new categories calculated by the moving average of the number of new categories occurring in a certain period increases after the occurrence of an abnormality.
  • the alarm generation means 700 generates an alarm when the new category generation ratio exceeds a preset threshold value.
  • the alarm can be notified to the operator.
  • the categories before the occurrence of the abnormality are classified into the categories at the reference time, no alarm is generated in the normal state in this example.
  • the example shown in FIG. 9 is that no alarm is generated at the time of abnormality
  • the example shown in FIG. 10 is that the alarm is generated at the time of abnormality
  • the normal state shown in FIG. There are cases where alarms sometimes occur.
  • the learning apparatus 800 is mounted in the diagnostic apparatus 200 of the present invention in order to prevent an alarm from being generated when an abnormality occurs and an alarm from occurring when the apparatus is normal. The operation of the learning unit 800 will be described later with reference to FIG.
  • FIG. 9 shows the results when the data of items A and B are diagnosed
  • FIG. 10 shows the results when the data of items C and D input at the same time as in FIG. 9 are diagnosed.
  • FIG. 9 shows the results when the data of items A and B are diagnosed
  • FIG. 10 shows the results when the data of items C and D input at the same time as in FIG. 9 are diagnosed.
  • the measured values of both item A and item B do not change even after an abnormality occurs. Therefore, even if the diagnostic value is classified by the diagnostic unit 600, the categories classified before and after the occurrence of the abnormality are the same. In this case, the alarm generation means 700 does not generate an alarm.
  • FIG. 10 shows the result of diagnosing the measured values of item C and item D in the same time zone as FIG.
  • the measured values of item C and item D have changed greatly after the occurrence of abnormality, a new category (category numbers 2 to 4) is generated, and an alarm is also generated.
  • the processing data item determination unit 810 in the learning unit 800 of the present invention has a function of selecting data items to be used for diagnosis from data items stored in the measurement signal database 310.
  • FIG. 11 is a diagram for explaining a case where an alarm is generated in a normal state.
  • the normal category number is 1 and the plant state is normal.
  • the data of the item E changed slightly, and as a result of classifying the measurement values by the diagnostic unit 600, a new category (category number 2) was generated. As a result, an alarm is generated even in a normal state.
  • the category attribute determination unit 820 of the present invention has a function of normally distinguishing category attributes from abnormalities.
  • the operation content of the learning unit 800 including the processing data item determination unit 810 and the category attribute determination unit 820 will be described.
  • FIG. 12 is a flowchart for explaining the operation of the learning means 800. As shown in FIG. 12, this flowchart is executed by combining steps S1200, S1210, S1220, S1230, S1240, and S1250.
  • the operation history database 350 in FIG. 1 includes the result of the operation of the plant 100 operator using the external input device 900 (for example, information on the screen displayed on the image display device 950, control parameter Adjustments, etc.) are saved.
  • step S1200 the learning unit 800 acquires the operation history information 21 from the operation history database 350.
  • step S1210 the processing data item determination unit 810 and the category attribute determination unit 820 of FIG.
  • the processing data item determination unit 810 determines a data item to be extracted by the processing data extraction unit 400.
  • the category attribute determining unit 820 determines the category attribute.
  • step S1220 the data item determined by the processing data item determination unit 810 is displayed on the image display device 950.
  • the operator of the plant 100 checks the displayed data item and decides whether to add the data item. When adding a data item, it progresses to step S1230 and adds the data item extracted by the process data extraction means 400. FIG. If no data item is added, the process advances to step S1240.
  • step S1240 the category attribute determined by the category attribute determining unit 820 is displayed on the image display device 950.
  • the operator of the plant 100 checks the displayed category attribute and decides whether to change the category attribute stored in the category attribute database 380. If the category attribute is to be changed, the process proceeds to step S1240, and the category attribute is changed. If the category attribute is not changed, the process ends.
  • steps S1220 and S1240 the operator is inquired whether the data item can be added and whether the category attribute can be changed. However, this is omitted, and the data item is automatically added and the category attribute is changed. May be executed. Also, any one of steps S1220 and S1230 or steps S1240 and S1250 may be excluded from this flowchart, and only one of the processing data item determination unit 810 and the category attribute determination unit 820 may be operated.
  • FIG. 13 shows an example of a screen displayed by the operator of the plant 100 on the image display device 950
  • FIG. 14 shows the mode of data stored in the operation history database 350
  • FIG. 15 shows the operation of the processing data item determination unit 810
  • step S1220 shows an example of a data item addition screen displayed on the image display device 950.
  • FIG. 17 to FIG. 19 show changes in the classification means 500 and the diagnosis means 600 when a data item is added in step S1230.
  • An example of data stored in 830 and an example of a category attribute correction screen displayed on the image display device in step S1240 will be described with reference to FIG.
  • FIG. 13 is an example of a screen displayed on the image display device 950 by the operator of the plant 100.
  • the upper part of FIG. 13 shows display information on the image display device 950 using information stored in the measurement signal database 310 of FIG. It is an example of a screen when being displayed as.
  • the measurement signal database 310 stores the relationship between the time and the measurement value of the data item as described in the upper part of FIG. In this example, this information is displayed as a trend graph with the horizontal axis as the time axis as shown in the upper items A and B of FIG. From this screen, the change with time of each measurement signal can be visually confirmed.
  • FIG. 13 is an example of a screen when information stored in the control logic database 360 of FIG. 1 is displayed as display information on the image display device 950.
  • the control logic database 360 stores a logic diagram for calculating the control signal 101 from the operation data 102 in the control device 120 of FIG.
  • the middle part of FIG. 13 shows an example of a logic diagram of proportional / integral control widely used for plant control.
  • the item C is taken as the operation data 1, and the relationship between the operation data and the control signal can be visually confirmed as the control signal 1 (item D) obtained by proportional-integral calculation of the error from the set value.
  • the lower part of FIG. 13 is an example of a screen when information stored in the design information database 370 of FIG. 1 is displayed as display information on the image display device 950.
  • the design information database 370 stores design information of the gas turbine generator 110 shown in FIG. 7. For example, a system diagram showing a relationship between a fluid path and a sensor arrangement position (T: temperature sensor, P: pressure sensor). Is saved.
  • the information shown in FIG. 13 is displayed on the image display device 950 of FIG. 1, and the operation state of the plant 100 is constantly monitored.
  • the operator specifies the cause of the abnormality, and furthermore, in order to converge and stabilize the abnormality, a trend graph, a control logic diagram, a system diagram, etc. that are considered to be related to the abnormality are displayed on the keyboard 910 and mouse 920. The user should have made an appropriate selection using and displayed the response.
  • the operation of the image display device 950 by the operator at this time should be based on the knowledge under the operator's consciousness. If it is an abnormal state that is being developed in front of you, you should have been checking the relationship with other process quantities that the operator is interested in based on experience. It is highly likely that these items include “data items used for diagnosis” that are not yet clearly recognized.
  • the processing data item determination unit 810 determines data items related to the abnormality based on information displayed on the image display device 950 by the operator. Further, the operation history database 350 stores information on the screen displayed on the image display device 950 by the operator at the time of normality and abnormality. The category attribute determination unit determines whether the category attribute is normal or abnormal based on this information.
  • FIG. 14 is a diagram for explaining a mode of data stored in the operation history database 350.
  • the operation history database 350 of FIG. 1 stores the time and screen display timing (display ON) and erased timing (display OFF) information in association with each other. Yes.
  • the screen 1 was displayed from 10:00 on July 1 to 11:30 on the same day.
  • Screen 2 was displayed from 10:13 to 10:45 on the same day.
  • the display time and the data item information related to the displayed screen are stored for each screen.
  • the display time can be obtained by subtracting the display ON time from the display OFF time.
  • a and B were displayed as related data items for 1 hour and 30 minutes.
  • C and D were displayed for 32 minutes as related data items.
  • the related data items are data items displayed on the drawing shown in FIG.
  • the related data items displayed on the screen 950 in FIG. 13 are items A and B in the trend graph on the upper screen
  • the data items related to the control logic in the middle in FIG. 13 are items C and D
  • the data items related to the figure are items E, F, G, H, I, and J.
  • the timing at which the screen is displayed and the timing at which the screen is deleted are stored in the operation history database 350.
  • the number of times the mouse is clicked, the number of times the set value is confirmed, etc. All information related to operations using 900 may be stored.
  • an ID may be assigned to each operator, and the operation contents for each operator may be stored in the operation history database 350.
  • FIG. 15 is a diagram for explaining the operation result of the processing data item determination unit 810.
  • the processing data item determination unit calculates the importance of the data item for a certain period using the information stored in the operation history database 350.
  • the importance of the data item is calculated by the following equation (4), for example.
  • S ⁇ ⁇ T (4)
  • S is the importance of the data item
  • is the weighting factor
  • T is the display time of the screen related to the data item.
  • S ⁇ ⁇ T + ⁇ ⁇ C (5)
  • is a weighting factor
  • C is the number of times the mouse is clicked on the screen related to the data item.
  • the data item determination unit 810 determines that “a data item having a high importance is an effective data item for detecting the occurrence of an abnormality”, and extracts a certain number (for example, 10) of data items in descending order of importance. To do.
  • FIG. 16 is a diagram for explaining an example of the data item addition screen displayed on the image display device 950 in step S1220.
  • the data items extracted by the processing data item determination unit 810 are displayed in descending order of importance, and it is confirmed to the operator whether to add to the data used for diagnosis.
  • zone Z1 on screen 950 a message indicating that the report is related to a pump abnormality at 0:00 on July 1, 2009 is displayed in zone Z1 on screen 950, and the purpose of “in order to detect an abnormality similar to the above abnormality” is described in zone 2. It is recommended to add the following data item. " In zone 3, the data item is displayed together with its name, and the importance of the data item calculated by the processing data item determination unit 810 is also described. The operator confirms the check mark in the check box 1223 and clicks the “Add” button 1221 when adding the data while viewing the displayed data, and clicks the “Cancel” button 1222 when not adding the data.
  • the data item extracted by the processing data item determination unit 810 can be deleted, and the data item can be added.
  • the data item can be added.
  • an arbitrary data item stored in the measurement signal database 310 can be added by clicking a button 1224.
  • the lower part of FIG. 16 is a screen for manually setting all data items used for diagnosis without using the processing data item determination unit 810.
  • the number of data items measured from the plant 100 varies depending on the scale of the plant, but there are thousands of data items for a large-scale plant. From these data items, it takes a lot of time to select the data items used for diagnosis one by one.
  • the processing data item determination unit 810 of the present invention it is possible to shorten the time for selecting a data item to be used for diagnosis.
  • FIG. 17 to 19 are diagrams for explaining changes in the classification means 500 and the diagnosis means 600 when a data item is added in step S1230 of FIG.
  • FIG. 17 is a diagram for explaining the classification unit 500 and the diagnosis unit 600 before the data item is added.
  • the number of input data is two.
  • changes in the classification unit 500 and the diagnosis unit 600 when two data items are added in step S1230 and the number of input data becomes four will be described.
  • one ART module is added, and two input data added to this ART module are input to create a category.
  • the data item input to one ART module is changed from 2 to 4.
  • a method of adding an ART module to add data items used for diagnosis or a method of adding data items to be used for diagnosis by increasing the number of data items input to one ART module. Is used.
  • FIG. 20 is a diagram for explaining the mode of data stored in the category attribute database 830 and an example of the category attribute correction screen displayed on the image display device in step S1240.
  • the category attribute database 830 stores the relationship between the category number (1 to 6), the category attribute (normal, abnormal), and the screen display time ratio (%) together with the data items A, B, and C. Has been.
  • the category attribute determination unit 820 has a function of changing a category having an abnormal category attribute to a normal category based on the information on the screen display time ratio.
  • the category attribute determination unit 820 calculates the similarity between the normal category and the abnormal category using the following equation (6). If the similarity is less than or equal to the threshold, the category attribute is corrected from abnormal to normal.
  • SI (TA1-TA2) 2 + (TB1-TB2) 2 + (TC1-TC2) 2 (6)
  • SI is the similarity
  • TA1 is the display time of screen 1 when a normal category is occurring
  • TA2 is the display time of screen 1 when an abnormal category is occurring
  • TB1 is a normal category is occurring
  • TB2 is the display time of screen 2 when an abnormal category is occurring
  • TC1 is the display time of screen 3 when a normal category is occurring
  • TC2 is an abnormal category It is the display time of the screen 3 when
  • the operation state of the plant may be normal.
  • the operator does not determine that there is an abnormality even if an alarm is generated, so the screen displayed on the image display device 950 is the same as when the category attribute is normal. Therefore, it is possible to suppress the occurrence of unnecessary alarms by correcting the category attributes normally from abnormalities.
  • step S1240 is a diagram for explaining an example of the category attribute correction screen displayed on the image display device in step S1240.
  • the desired item “Add the following category to the normal category? Are you sure?” Is displayed on this screen, and the category number at this time is displayed together with the measurement signal in FIG.
  • FIG. 21 is a diagram for explaining an example of operation as a result of correcting the category attribute.
  • a new category (category number 2) occurred and an alarm occurred.
  • the category attribute determination unit 820 was operated, and the attribute of category number 2 was changed normally.
  • no alarm is generated at time t2.
  • the alarm generation means 700 has a function of generating an alarm when the measured value exceeds a threshold in addition to the function of generating an alarm based on the category information.
  • a function for generating an alarm when a measured value exceeds a threshold value and a function for generating an alarm based on category information can be linked so that no alarm is generated at time t2.
  • the learning unit 800 of the present invention automatically performs selection of data items used for diagnosis and determination of conditions for generating an alarm based on the operation history information of the operator. Thereby, it becomes possible to improve diagnostic accuracy and exclude unnecessary alarms.

Landscapes

  • Physics & Mathematics (AREA)
  • General Physics & Mathematics (AREA)
  • Engineering & Computer Science (AREA)
  • Automation & Control Theory (AREA)
  • Testing And Monitoring For Control Systems (AREA)
PCT/JP2009/005123 2009-10-02 2009-10-02 プラント診断装置 Ceased WO2011039823A1 (ja)

Priority Applications (4)

Application Number Priority Date Filing Date Title
PCT/JP2009/005123 WO2011039823A1 (ja) 2009-10-02 2009-10-02 プラント診断装置
CN200980161696.3A CN102576227B (zh) 2009-10-02 2009-10-02 设备诊断装置
IN2779DEN2012 IN2012DN02779A (enExample) 2009-10-02 2009-10-02
JP2011533967A JP5199478B2 (ja) 2009-10-02 2009-10-02 プラント診断装置

Applications Claiming Priority (1)

Application Number Priority Date Filing Date Title
PCT/JP2009/005123 WO2011039823A1 (ja) 2009-10-02 2009-10-02 プラント診断装置

Publications (1)

Publication Number Publication Date
WO2011039823A1 true WO2011039823A1 (ja) 2011-04-07

Family

ID=43825680

Family Applications (1)

Application Number Title Priority Date Filing Date
PCT/JP2009/005123 Ceased WO2011039823A1 (ja) 2009-10-02 2009-10-02 プラント診断装置

Country Status (4)

Country Link
JP (1) JP5199478B2 (enExample)
CN (1) CN102576227B (enExample)
IN (1) IN2012DN02779A (enExample)
WO (1) WO2011039823A1 (enExample)

Cited By (9)

* Cited by examiner, † Cited by third party
Publication number Priority date Publication date Assignee Title
CN103454515A (zh) * 2012-05-31 2013-12-18 Ge医疗系统环球技术有限公司 图形化自诊断系统和方法
JP2017117034A (ja) * 2015-12-22 2017-06-29 株式会社日立製作所 診断装置及び診断方法
WO2018003192A1 (ja) * 2016-06-29 2018-01-04 株式会社日立製作所 運用保守知識情報の策定支援システムおよび策定支援方法
CN109597366A (zh) * 2017-10-02 2019-04-09 费希尔-罗斯蒙特系统公司 用于对过程控制系统的多站点性能监测的系统和方法
CN110023862A (zh) * 2016-12-28 2019-07-16 三菱日立电力系统株式会社 诊断装置、诊断方法及程序
JP2019121257A (ja) * 2018-01-10 2019-07-22 三菱電機株式会社 監視制御支援装置
JP2019153018A (ja) * 2018-03-01 2019-09-12 株式会社日立製作所 診断装置および診断方法
WO2020027207A1 (ja) * 2018-08-03 2020-02-06 パナソニックIpマネジメント株式会社 異常検出方法、情報処理装置及び異常検出システム
US20200210144A1 (en) * 2018-12-27 2020-07-02 Mitsubishi Hitachi Power Systems, Ltd. Data sorting device and method, and monitoring and diagnosis device

Families Citing this family (6)

* Cited by examiner, † Cited by third party
Publication number Priority date Publication date Assignee Title
JP6078019B2 (ja) * 2014-04-02 2017-02-08 三菱電機ビルテクノサービス株式会社 設備監視装置及びプログラム
JP6620056B2 (ja) * 2016-03-31 2019-12-11 三菱日立パワーシステムズ株式会社 機器の異常診断方法及び機器の異常診断装置
JP2018106432A (ja) * 2016-12-27 2018-07-05 株式会社日立製作所 オンライン監視装置、及びオンライン監視方法
CN110785717B (zh) * 2017-06-19 2022-12-09 杰富意钢铁株式会社 工艺的异常状态诊断装置和异常状态诊断方法
US11433539B2 (en) 2018-07-31 2022-09-06 Nissan Motor Co., Ltd. Abnormality determination device and abnormality determination method
CN109885951A (zh) * 2019-02-28 2019-06-14 中科云创(厦门)科技有限公司 设备故障诊断方法及装置

Citations (4)

* Cited by examiner, † Cited by third party
Publication number Priority date Publication date Assignee Title
JP2004206583A (ja) * 2002-12-26 2004-07-22 Nisshin Flour Milling Inc 学習型異常通知装置及びその方法
JP2005258649A (ja) * 2004-03-10 2005-09-22 Hitachi Ltd データ分類方法及び装置
JP2007123007A (ja) * 2005-10-27 2007-05-17 Hitachi Ltd 燃料電池システムの診断方法および診断装置
JP2009042997A (ja) * 2007-08-08 2009-02-26 Hitachi Ltd データ分類方法および装置

Patent Citations (4)

* Cited by examiner, † Cited by third party
Publication number Priority date Publication date Assignee Title
JP2004206583A (ja) * 2002-12-26 2004-07-22 Nisshin Flour Milling Inc 学習型異常通知装置及びその方法
JP2005258649A (ja) * 2004-03-10 2005-09-22 Hitachi Ltd データ分類方法及び装置
JP2007123007A (ja) * 2005-10-27 2007-05-17 Hitachi Ltd 燃料電池システムの診断方法および診断装置
JP2009042997A (ja) * 2007-08-08 2009-02-26 Hitachi Ltd データ分類方法および装置

Cited By (15)

* Cited by examiner, † Cited by third party
Publication number Priority date Publication date Assignee Title
CN103454515A (zh) * 2012-05-31 2013-12-18 Ge医疗系统环球技术有限公司 图形化自诊断系统和方法
JP2017117034A (ja) * 2015-12-22 2017-06-29 株式会社日立製作所 診断装置及び診断方法
WO2018003192A1 (ja) * 2016-06-29 2018-01-04 株式会社日立製作所 運用保守知識情報の策定支援システムおよび策定支援方法
JP2018005392A (ja) * 2016-06-29 2018-01-11 株式会社日立製作所 運用保守知識情報の策定支援システムおよび策定支援方法
CN110023862A (zh) * 2016-12-28 2019-07-16 三菱日立电力系统株式会社 诊断装置、诊断方法及程序
CN110023862B (zh) * 2016-12-28 2022-01-14 三菱动力株式会社 诊断装置、诊断方法及计算机可读取的记录介质
JP2019091425A (ja) * 2017-10-02 2019-06-13 フィッシャー−ローズマウント システムズ,インコーポレイテッド プロセス制御システムのマルチサイト性能監視のためのシステムおよび方法
CN109597366A (zh) * 2017-10-02 2019-04-09 费希尔-罗斯蒙特系统公司 用于对过程控制系统的多站点性能监测的系统和方法
JP7287740B2 (ja) 2017-10-02 2023-06-06 フィッシャー-ローズマウント システムズ,インコーポレイテッド プロセス制御システムのマルチサイト性能監視のためのシステムおよび方法
JP2019121257A (ja) * 2018-01-10 2019-07-22 三菱電機株式会社 監視制御支援装置
JP2019153018A (ja) * 2018-03-01 2019-09-12 株式会社日立製作所 診断装置および診断方法
JP7180985B2 (ja) 2018-03-01 2022-11-30 株式会社日立製作所 診断装置および診断方法
WO2020027207A1 (ja) * 2018-08-03 2020-02-06 パナソニックIpマネジメント株式会社 異常検出方法、情報処理装置及び異常検出システム
US20200210144A1 (en) * 2018-12-27 2020-07-02 Mitsubishi Hitachi Power Systems, Ltd. Data sorting device and method, and monitoring and diagnosis device
US11886831B2 (en) * 2018-12-27 2024-01-30 Mitsubishi Heavy Industries, Ltd. Data sorting device and method, and monitoring and diagnosis device

Also Published As

Publication number Publication date
IN2012DN02779A (enExample) 2015-09-18
JP5199478B2 (ja) 2013-05-15
CN102576227A (zh) 2012-07-11
JPWO2011039823A1 (ja) 2013-02-21
CN102576227B (zh) 2014-06-25

Similar Documents

Publication Publication Date Title
JP5199478B2 (ja) プラント診断装置
JP5544418B2 (ja) プラントの診断装置、診断方法、及び診断プログラム
CN102713777B (zh) 诊断装置及诊断方法
JP5097739B2 (ja) プラントの異常診断装置及び異常診断方法
JP5484591B2 (ja) プラントの診断装置及びプラントの診断方法
JP7469991B2 (ja) 診断装置及びパラメータ調整方法
US10557719B2 (en) Gas turbine sensor failure detection utilizing a sparse coding methodology
JP5129725B2 (ja) 装置異常診断方法及びシステム
EP3477412B1 (en) System fault isolation and ambiguity resolution
JP5150590B2 (ja) 異常診断装置及び異常診断方法
JP6523815B2 (ja) プラント診断装置及びプラント診断方法
JPWO2018051568A1 (ja) プラント異常診断装置及びプラント異常診断システム
JP4430384B2 (ja) 設備の診断装置及び診断方法
US20110178963A1 (en) system for the detection of rare data situations in processes
JP6830414B2 (ja) 診断装置及び診断方法
JP6685124B2 (ja) 診断装置及び診断方法
CN109308484A (zh) 航空发动机多类故障最小风险诊断方法及装置
CN117009791A (zh) 一种航空发动机的故障识别方法及系统
CN119066514B (zh) 一种基于麻雀算法和层次聚类的航空发动机故障分类方法
WO2023156074A1 (en) Enhanced performance model matching, augmentation and prediction
CN121092601A (zh) 喘振边界预测系统及方法

Legal Events

Date Code Title Description
WWE Wipo information: entry into national phase

Ref document number: 200980161696.3

Country of ref document: CN

121 Ep: the epo has been informed by wipo that ep was designated in this application

Ref document number: 09850014

Country of ref document: EP

Kind code of ref document: A1

ENP Entry into the national phase

Ref document number: 2011533967

Country of ref document: JP

Kind code of ref document: A

WWE Wipo information: entry into national phase

Ref document number: 2779/DELNP/2012

Country of ref document: IN

NENP Non-entry into the national phase

Ref country code: DE

122 Ep: pct application non-entry in european phase

Ref document number: 09850014

Country of ref document: EP

Kind code of ref document: A1