WO2010150467A1 - Information processing apparatus, and control method of information processing apparatus, and program - Google Patents

Information processing apparatus, and control method of information processing apparatus, and program Download PDF

Info

Publication number
WO2010150467A1
WO2010150467A1 PCT/JP2010/003720 JP2010003720W WO2010150467A1 WO 2010150467 A1 WO2010150467 A1 WO 2010150467A1 JP 2010003720 W JP2010003720 W JP 2010003720W WO 2010150467 A1 WO2010150467 A1 WO 2010150467A1
Authority
WO
WIPO (PCT)
Prior art keywords
web server
request
session
web
web browser
Prior art date
Legal status (The legal status is an assumption and is not a legal conclusion. Google has not performed a legal analysis and makes no representation as to the accuracy of the status listed.)
Ceased
Application number
PCT/JP2010/003720
Other languages
English (en)
French (fr)
Inventor
Makiya Tamura
Current Assignee (The listed assignees may be inaccurate. Google has not performed a legal analysis and makes no representation or warranty as to the accuracy of the list.)
Canon Inc
Original Assignee
Canon Inc
Priority date (The priority date is an assumption and is not a legal conclusion. Google has not performed a legal analysis and makes no representation as to the accuracy of the date listed.)
Filing date
Publication date
Application filed by Canon Inc filed Critical Canon Inc
Priority to US12/863,310 priority Critical patent/US8275831B2/en
Publication of WO2010150467A1 publication Critical patent/WO2010150467A1/en
Anticipated expiration legal-status Critical
Priority to US13/585,732 priority patent/US8533262B2/en
Ceased legal-status Critical Current

Links

Images

Classifications

    • HELECTRICITY
    • H04ELECTRIC COMMUNICATION TECHNIQUE
    • H04NPICTORIAL COMMUNICATION, e.g. TELEVISION
    • H04N1/00Scanning, transmission or reproduction of documents or the like, e.g. facsimile transmission; Details thereof
    • H04N1/00127Connection or combination of a still picture apparatus with another apparatus, e.g. for storage, processing or transmission of still picture signals or of information associated with a still picture
    • H04N1/00204Connection or combination of a still picture apparatus with another apparatus, e.g. for storage, processing or transmission of still picture signals or of information associated with a still picture with a digital computer or a digital computer system, e.g. an internet server
    • H04N1/00209Transmitting or receiving image data, e.g. facsimile data, via a computer, e.g. using e-mail, a computer network, the internet, I-fax
    • H04N1/00222Transmitting or receiving image data, e.g. facsimile data, via a computer, e.g. using e-mail, a computer network, the internet, I-fax details of image data generation or reproduction, e.g. scan-to-email or network printing
    • HELECTRICITY
    • H04ELECTRIC COMMUNICATION TECHNIQUE
    • H04NPICTORIAL COMMUNICATION, e.g. TELEVISION
    • H04N1/00Scanning, transmission or reproduction of documents or the like, e.g. facsimile transmission; Details thereof
    • H04N1/00127Connection or combination of a still picture apparatus with another apparatus, e.g. for storage, processing or transmission of still picture signals or of information associated with a still picture
    • H04N1/00204Connection or combination of a still picture apparatus with another apparatus, e.g. for storage, processing or transmission of still picture signals or of information associated with a still picture with a digital computer or a digital computer system, e.g. an internet server
    • H04N1/00244Connection or combination of a still picture apparatus with another apparatus, e.g. for storage, processing or transmission of still picture signals or of information associated with a still picture with a digital computer or a digital computer system, e.g. an internet server with a server, e.g. an internet server
    • HELECTRICITY
    • H04ELECTRIC COMMUNICATION TECHNIQUE
    • H04NPICTORIAL COMMUNICATION, e.g. TELEVISION
    • H04N1/00Scanning, transmission or reproduction of documents or the like, e.g. facsimile transmission; Details thereof
    • H04N1/0035User-machine interface; Control console
    • H04N1/00405Output means
    • H04N1/00408Display of information to the user, e.g. menus
    • H04N1/00413Display of information to the user, e.g. menus using menus, i.e. presenting the user with a plurality of selectable options
    • HELECTRICITY
    • H04ELECTRIC COMMUNICATION TECHNIQUE
    • H04NPICTORIAL COMMUNICATION, e.g. TELEVISION
    • H04N2201/00Indexing scheme relating to scanning, transmission or reproduction of documents or the like, and to details thereof
    • H04N2201/32Circuits or arrangements for control or supervision between transmitter and receiver or between image input and image output device, e.g. between a still-image camera and its memory or between a still-image camera and a printer device
    • H04N2201/3201Display, printing, storage or transmission of additional information, e.g. ID code, date and time or title
    • H04N2201/3225Display, printing, storage or transmission of additional information, e.g. ID code, date and time or title of data relating to an image, a page or a document
    • H04N2201/3226Display, printing, storage or transmission of additional information, e.g. ID code, date and time or title of data relating to an image, a page or a document of identification information or the like, e.g. ID code, index, title, part of an image, reduced-size image
    • HELECTRICITY
    • H04ELECTRIC COMMUNICATION TECHNIQUE
    • H04NPICTORIAL COMMUNICATION, e.g. TELEVISION
    • H04N2201/00Indexing scheme relating to scanning, transmission or reproduction of documents or the like, and to details thereof
    • H04N2201/32Circuits or arrangements for control or supervision between transmitter and receiver or between image input and image output device, e.g. between a still-image camera and its memory or between a still-image camera and a printer device
    • H04N2201/3201Display, printing, storage or transmission of additional information, e.g. ID code, date and time or title
    • H04N2201/3274Storage or retrieval of prestored additional information
    • H04N2201/3276Storage or retrieval of prestored additional information of a customised additional information profile, e.g. a profile specific to a user ID

Definitions

  • the present invention relates to an information processing apparatus which is connected to a Web server and has a Web browser for displaying an operation screen provided by the Web server, a control method of the information processing apparatus, and a program for causing a computer to perform the control method.
  • an information processing apparatus such as a PC (personal computer) or the like is connected to a Web server located on a network and an operation screen provided by the Web server is displayed on a Web browser of the information processing apparatus.
  • the Web browser of the information processing apparatus requests the operation screen to the Web server, and then a Web application on the Web server returns to the information processing apparatus a response with an HTML (Hyper Text Markup Language) file for causing the Web browser to display the operation screen in response to a request from the information processing apparatus. Then, the Web browser of the information processing apparatus analyzes the received HTML file, and thus displays the operation screen based on descriptions of the HTML file.
  • HTML Hyper Text Markup Language
  • MFPs Multi Function Peripherals
  • MFPs Multi Function Peripherals
  • MFPs Multi Function Peripherals
  • these MPFs there are some kinds of MFPs each of which is equipped with such a Web browser as described above.
  • the MFP like this displays an operation screen provided by a Web server on the Web browser of the relevant MFP according to such a procedure as described above, and thus accepts various instructions from a user.
  • Patent Literature 1 a technique as disclosed in Patent Literature 1 has been thought. That is, according to the description in Patent Literature 1, a Web server provides an operation screen for inputting instructions to use respective functions provided in an MFP. Namely, a user of the MFP inputs the instruction to the MFP through the operation screen provided by the Web server and displayed on a Web browser. Then, the Web browser of the MFP notifies the Web server of the input instruction.
  • the Web server which received such a notification, requests the MFP to perform various processes according to the contents of the instructions input by the user. Then, the MFP, which accepted such a request, performs the requested process. Thus, it is unnecessary to hold, in the MFP, all menu data for operating the MFP. Further, it is possible to easily change the menu data on the Web server.
  • a new operation screen is displayed on the Web browser according to completion of the process by the Web application. That is, when the process by the Web application is completed, the Web server generates HTML data for the operation screen for notifying a user of the completion of the process or the operation screen for causing a user to perform a next operation. Then, the Web server transmits to the Web browser the generated HTML data as a response to the request transmitted from the Web browser.
  • the Web browser installed in the information processing apparatus such as a PC, a MFP or the like, a time limit (time out period) until reception of a response from the Web server after transmission of a request to the Web server has been set. Then, if there is no response from the Web server within the time out period, the Web server performs a time out process.
  • the time out process is a process to invalidate the transmitted request. Namely, if the transmitted request is invalidated, for example, it is possible to stop waiting for the response to the transmitted request. Thus, it is possible to set a state of enabling to transmit a new request. Also, at this time, there is a case where a process to discard a session itself to release resources of the Web browser.
  • Patent Literature 1 in the case where the MFP transmits the request to the Web server based on the operation performed by the user through the operation screen displayed on the Web browser of the MFP and then the Web server requests the MFP to perform the process based on the request transmitted from the MFP, such a problem as described below is conceivable.
  • the present invention has been completed in consideration of such a problem as described above, and aims to provide a mechanism of not invalidating, in a case where a process requested by a Web server is being performed, a request transmitted by a Web browser.
  • the present invention is characterized by providing an information processing apparatus, which is connected to a Web server and includes a Web browser for displaying an operation screen provided by the Web server, comprising: a transmission unit configured to transmit a request to the Web server on the basis of a user operation performed through the operation screen displayed on the Web browser; a processing unit configured to, in a case where it is requested by the Web server to perform a process on the basis of the request transmitted by the transmission unit, perform the requested process; and a control unit configured to, in a case where the processing unit is performing the process requested by the Web server, not invalidate the request transmitted by the transmission unit, and to, in a case where the processing unit does not perform the process requested by the Web server, invalidate the request transmitted by the transmission unit according to that there is no response from the Web server and a predetermined time out period elapses after the transmission unit transmits the request.
  • FIG. 1 is a diagram illustrating the whole of an information processing system according to embodiments of the present invention.
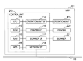
  • FIG. 2 is a block diagram illustrating a constitution of an MFP 101 according to the embodiments of the present invention.
  • FIG. 3 is a block diagram illustrating a constitution of a Web server 102 according to the embodiments of the present invention.
  • FIG. 4 is a block diagram illustrating a software configuration of the information processing system according to the embodiments of the present invention.
  • FIG. 5 is a diagram illustrating a session/service management unit 440 according to the embodiments of the present invention.
  • FIG. 6 is a sequence diagram for describing a series of processes to be performed by a Web browser 430, a Web server 102 and a service provider 450.
  • FIG. 7 is a flow chart for describing the operation of the Web browser 430 according to the embodiment of the present invention.
  • FIG. 8 is a flow chart for describing the operation of the service provider 450 according to the embodiment of the present invention.
  • FIG. 9 is a flow chart for describing the operation of the Web browser 430 according to the embodiment of the present invention.
  • FIG. 10 is a flow chart for describing the operation of the service provider 450 according to the embodiment of the present invention.
  • FIG. 11 is a flow chart for describing the operation of the Web browser 430 according to the embodiment of the present invention.
  • FIG. 1 is a diagram illustrating the whole of an information processing system according to the present embodiments.
  • An MFP 101 and a Web server 102 which can communicate with each other are connected with a LAN (Local Area Network) 110.
  • FIG. 2 is a block diagram illustrating a constitution of the MFP 101.
  • a control unit
  • the CPU 210 which includes a CPU 211 controls the operation of the whole MFP 101.
  • a ROM 212 reads out control programs stored in a ROM 212 to perform various controls such as a read control, a transmission control and the like.
  • a RAM 213 is used as a main memory of the CPU 211 and a temporary storage area such as a work area or the like.
  • An HDD (Hard Disk Drive) 214 stores image data, various programs or a various information table.
  • An operation unit VF 215 connects an operation unit 219 with the control unit 210.
  • a liquid crystal display unit having a touch panel function, keyboards and the like are provided in the operation unit 219.
  • a Web browser function to be described later is provided in the MFP 101, and a Web browser of the MFP 101 analyzes an HTML file received from the Web server 102 and displays an operation screen based on the description of the received HTML file on the liquid crystal display unit of the operation unit 219.
  • a printer I/F 216 connects a printer 220 with the control unit 210. Image data, which is to be printed at the printer 220, is transferred from the control unit 210 via the printer I/F 216 and is printed on a recording medium in the printer 220.
  • a scanner I/F 217 connects a scanner 221 with the control unit 210.
  • the scanner 221 reads an image on an original and generates image data, which is input to the control unit 210 via the scanner I/F 217.
  • a network I/F 218 connects the control unit 210 (MFP 101) with the LAN 110.
  • the network VF 218 transmits image data or information to an external apparatus (for example, the Web server 102) on the LAN 110 or receives various information from the external apparatus on the LAN 110.
  • an external apparatus for example, the Web server 102
  • FIG. 3 is a block diagram illustrating a constitution of the Web server 102.
  • a control unit 310 which includes a CPU 311 controls the operation of the whole Web server 102.
  • the CPU 311 reads out control programs stored in a ROM 312 to perform various control processes.
  • a RAM 313 is used as a main memory of the CPU 311 and a temporary storage area such as a work area or the like.
  • An HDD 314 stores image data, various programs or a various information table to be described later.
  • a network VF 315 connects the control unit 310 (Web server 102) with the LAN 110.
  • the network VF 315 transmits and receives various information between the network VF 315 and another apparatus on the LAN 110.
  • FIG. 4 is a diagram for describing a software configuration of the whole information processing system. Functions of respective functional sections illustrated in FIG. 4 are realized by a process that the CPU 211 and the CPU 311 respectively provided in the MFP 101 and the Web server 102 perform control programs.
  • the MFP 101 has a Web browser 430, a session/service management unit 440, a service provider 450 and a LOG recording unit 460. Respective functions of the Web browser 430, the session/service management unit 440, the service provider 450 and the LOG recording unit 460 are realized by a process that the CPU 211 included in the MFP 101 performs control programs.
  • the Web browser 430 has a communication section 431, an analysis section 432, a session management section 433 and a screen display section 434.
  • the communication section 431 communicates with a presentation section 411 of a Web application 410 in accordance with an HTTP (Hyper Text Transfer Protocol). More specifically, the communication section 431 transmits information to be input via an operation screen displayed with the Web browser 430 as a request for the Web application 410. In addition, the communication section 431 receives a response (a processed result) to be transmitted from the Web application 410.
  • HTTP Hyper Text Transfer Protocol
  • the analysis section 432 analyzes the response received from the Web application 410.
  • Management data such as a session ID or the like issued by the Web application 410 or HTML data is included in the response.
  • the description of indicating the content of an operation screen to be displayed on the Web browser 430 is included in the HTML data.
  • the session management section 433 judges whether or not the session ID acquired by the analysis of the analysis section 432 is a newly-issued session ID. And, if it is the newly-issued session ID, this session ID is registered in the session/service management unit 440 to be described later.
  • the screen display section 434 displays an operation screen on the operation unit 219 on the basis of the analysis result of the HTML data analyzed by the analysis section 432.
  • the session/service management unit 440 manages a session ID used for uniquely identifying a session to be established between the Web browser 430 and the Web server 102.
  • the session ID is issued by the Web server 102.
  • the session/ service management unit 440 manages a performing situation of a process requested from the Web server 102 to the service provider 450 on the basis of information transmitted from the Web browser 430 to the Web server 102 in each session. Incidentally, it is assumed that the performing situation of the process requested to the service provider 450 is called a service situation.
  • the service provider 450 has a communication section 451, a job generation section 452 and a service management section 453.
  • the communication section 451 accepts a processing request from a logic section 412 in the Web application 410 to be described later. Note that a session ID indicating a session between the Web browser 430 and the Web application 410 is included in this processing request.
  • the job generation section 452 receives the processing request accepted by the communication section 451 and generates a job for performing the requested process and then performs the job. Furthermore, the job generation section 452 records a performed result of the job in the LOG recording unit 460.
  • the service management section 453 updates the service situation to be managed in the session/service management unit 440 in accordance with the performing situation of the job performed by the job generation section 452. More specifically, when it is started to perform the job, a value of the service situation corresponding to the session ID included in the processing request to be managed in the session/service management unit 440 is set to "in performance". When the performance of the job ends, a value of the service situation corresponding to the session ID included in the processing request is set to "end”. As described above, a result of having performed the job or an execution LOG of application software functioning on the MFP 101 is recorded in the LOG recording unit 460.
  • the Web server 102 has the Web application 410 and a LOG recording unit 420. Re- spective functions of the Web application 410 and the LOG recording unit 420 are realized by a process that the CPU 311 included in the Web server 102 performs control programs.
  • the Web application 410 receives information to be transmitted from the Web browser 430 as a request and then performs a process on the basis of the received information. A processed result is transmitted from the Web application 410 to the Web browser 430 as a response.
  • the Web application 410 has the presentation section 411 and the logic section 412.
  • the presentation section 411 communicates with the communication section 431 and receives a request transmitted from the MFP 101. Next, the presentation section 411 notifies the received request to the logic section 412 and waits for a response to be sent from the logic section 412.
  • the presentation section 411 which received the response sent from the logic section 412, transmits HTML data corresponding to an operation screen to be displayed with the Web browser 430 of the MFP 101 as a response in accordance with the response content. Information which was input via the operation screen displayed on the Web browser 430 of the MFP 101 is transmitted from the communication section 431 as a request.
  • the logic section 412 performs various processes in accordance with the request notified from the presentation section 411 and requests to perform a process to the MFP 101. More specifically, the logic section 412 requests to perform a printing process to be performed by the printer 220 of the MFP 101, a reading process to be performed by the scanner 221 of the MFP 101 or a transmission process to be performed via the network I/F 218.
  • the logic section 412 In case of requesting to perform the process to the MFP 101, the logic section 412 communicates with the communication section 451 in the service provider 450 included in the MFP 101. Then, the logic section 412 receives a result of the process performed by the MFP 101 from the MFP 101 and records the result in the LOG recording unit 420.
  • the Web application 410 records results of various processes to be performed at the Web server 102 in the LOG recording unit 420.
  • FIG. 5 is a diagram for describing the session/service management unit 440.
  • the session/service management unit 440 has a data base of which the constituent sections are a column "session ID" 501 and a column "service situation” 502.
  • the session/ service management unit 440 manages a session between the Web browser 430 and the Web application 410 and a performing situation of a process to be performed at the MFP 101 by associating the session with the performing situation by the column "session ID" 501 and the column "service situation” 502. That is, plural sessions and the performing situations of processes corresponding to respective sessions are managed in the session/service management unit 440 by associating the plural sessions with the performing situations.
  • a session ID for identifying the session between the Web browser 430 and the Web application 410 is stored in the column "session ID" 501.
  • the session ID is issued by the Web application 410 when the Web browser 430 starts to communicate with the Web application 410.
  • the session management section 433 of the Web browser 430 registers a newly-issued session ID included in a response sent from the Web application 410 in the column "session ID" 501.
  • the column "service situation" 502 indicates the performing situation of a process, which is requested from the logic section 412 of the Web application 410, performed by the service provider 450.
  • the service management section 453 When it is started to perform the process to be requested from the logic section 412, the service management section 453 to be described later registers a value in the column "service situation” 502 as "in performance".
  • the service management section 453 registers the value in the column "service situation” 502 corresponding to the column "session ID” 501 in which the session ID included in the request sent from the logic section 412 is registered.
  • the service management section 453 to be described later updates the value of the column "service situation" 502 to "end".
  • FIG. 6 is a sequence diagram for describing an operation that the Web server 102 requests to perform the process to the service provider 450 on the basis of the request sent from the Web browser 430 and the service provider 450 performs the process.
  • a request 600 is transmitted from the Web browser 430 of the MFP 101 to the Web application 410 of the Web server 102.
  • the Web application 410 which received the request 600 from the Web browser 430, issues a session ID in order to uniquely identify a subsequent series of data transmission/reception operations performed with the Web browser 430.
  • this session ID is commonly used in communications (the request 600, a response 601, a request 602, a response 603, a request 604 and a response 607) between the Web browser 430 and the Web server 102 to be described later.
  • the Web application 410 transmits the processed result for the request together with the HTML data as the response 601 to the Web browser 430.
  • the session I/D issued by the Web application 410 is included in the response 601 transmitted to the Web browser 430.
  • the Web browser 430 acquires the session VO included in the received response 601 and registers the acquired session I/D in the column "session ID" 501 of the session/ service management unit 440. Furthermore, the Web browser 430 analyzes the HTML data included in the received response 601 in the analysis section 432, and the analyzed result is displayed by the screen display section 434.
  • the Web browser 430 transmits the next request 602 to the Web application 410 in accordance with a user operation performed on an operation screen to be displayed in the screen display section 434.
  • the Web application 410 performs a process for the received request 602 and transmits the processed result to the Web browser 430 together with the HTML data as the response 603.
  • the Web browser 430 and the Web application 410 repeat the foregoing communications performed by the requests and responses.
  • FIG. 6 is a diagram for describing a case that a parameter value, which is necessary to instruct to perform a process of "transmit a file upon scanning an original” and necessary to perform the process, is included in the request 604 to be transmitted from the Web browser 430 to the Web application 410.
  • a process to be performed by the service provider 450 in the MFP 101 is not limited to the process of "transmit a file upon scanning an original” but may be another process such as a printing process or the like.
  • the Web browser 430 transmits the next request 604 to the Web application 410 by a user operation performed on the operation screen to be displayed in the screen display section 434.
  • information such as the parameter value necessary to instruct to perform the process and necessary to perform the process is input by a user according to a user operation performed via the operation screen.
  • the parameter value necessary to perform the process is not always input by the user.
  • the parameter value which is previously held in the Web application 410 itself as a default set value, may be used.
  • the Web application 410 which received the request 604 acquires a parameter value, which is necessary to instruct to perform the process and necessary to perform the process, included in the request 604.
  • the Web application 410 transmits a request 605 to the service provider 450 of the MFP 101 on the basis of the acquired parameter value which is necessary to instruct to perform the process and necessary to perform the process.
  • a session VO (I/D for identifying the session used in communication between the Web browser 430 and the Web application 410) issued by the Web application 410 is included in the request 605.
  • the Web application 410 requests to perform the process of "transmit a file upon scanning an original" for the service provider 450.
  • the service provider 450 which received the request 605 starts to perform the process of "transmit a file upon scanning an original" in accordance with the requested content.
  • the service provider 450 acquires the session VD included in the request 605.
  • a value of the column "service situation" 502 corresponding to the column “session ID” 501, in which the acquired session I/D is stored, is updated to "in performance” by referring to the column "session ID” 501 of the session/service management unit 440.
  • the Web browser 430 calculates an elapsed time from after the request 604 is transmitted until a response sent from the Web application 410 is returned by using a timer.
  • the Web browser 430 resets the calculated time without performing a time out process. At this time, it is acceptable that the time out process is not only performed without resetting the calculated time.
  • the constitution that the time calculation by the timer is not performed during the service situation is in "in performance” and the time calculation is started in accordance with a condition that the service situation became "end” is also acceptable.
  • the service/session management unit 440 which received an inquiry about the service situation from the Web server 430, responds a value stored in the column "service situation" 502 corresponding to the column "session ID" 501 in which the inquired session ID is registered.
  • the service provider 450 updates a value of the column "service situation" 502 corresponding to the column "session ID” 501, in which the session ID acquired from the request 605 is registered, to "end” when a process requested in the request 605 ends. Then, the service provider 450 includes the processed result in a response 606, which is sent back to the Web server 102.
  • the Web application 410 which received the response 606, includes the processed result included in the response 606 in the response 607 as a result for the process required in the request 604, and the response 607 is sent back to the Web browser 430.
  • the Web browser 430 which received the response 607, analyzes HTML data included in the response 607 and displays an analyzed result screen in the screen display section 434.
  • FIG. 7 is a flow chart for describing a series of processes that the Web browser 430 of the MFP 101 registers the session ID issued by the Web application 410 in the session/service management unit 440. Respective operations (steps) indicated in the flow chart in FIG. 7 are realized by a process that the CPU 211 of the MFP 101 performs control programs stored in the HDD 214.
  • the communication section 431 of the Web browser 430 generates a request which includes values or the like input by a user via an operation screen displayed by the screen display section 434 and transmits the request to the Web application 410.
  • the communication section 431 of the Web browser 430 receives a response transmitted from the presentation section 411 of the Web application 410.
  • the analysis section 432 of the Web browser 430 analyzes the received response and the screen display section 434 of the Web browser 430 displays the analyzed result on a screen.
  • the session management section 433 of the Web browser 430 confirms whether or not a session ID acquired by the analysis performed by the analysis section
  • the session management section 433 judges that the session ID is not newly issued, and the flow advances to S705.
  • Web browser 430 judged that it is newly issued in the S703 is registered in the column "session ID” 501 of the session/service management unit 440.
  • a value of the column "service situation" 502 corresponding to the column "session ID” 501, in which the session ID was registered is set as "- -”.
  • FIG. 8 is a flow chart for describing a series of processes that the service provider 450 performs a process requested from the Web server 102. Respective operations (steps) indicated in the flow chart in FIG. 8 are realized by a process that the CPU 211 of the MFP 101 performs control programs stored in the HDD 214.
  • the communication section 451 of the service provider 450 receives a request (a processing request) from the logic section 412 of the Web application 410.
  • the communication section 451, which received the request transmits the request to the service management section 453 and the job generation section 452.
  • the job generation section 452 which received the request, confirms that the MFP 101 is in a state capable of performing the process requested by the request.
  • the job generation section 452 generates a job for performing the process requested by the request and starts to perform the job. Namely, the service is called. At this time, the job generation section 452 notifies a fact of starting to perform the job to the service management section 453.
  • the service management section 453 which received a notification that it was started to perform the job, updates the column "service situation" 502 corresponding to the column "session ID” 501, in which the acquired session ID is registered, to "in performance".
  • the service management section 453 updates the value of the column "service situation" 502 of the session/service management unit 440 updated in the S804 to "end" after ending the job. That is, it is judged in S806 whether or not the service ends.
  • the communication section 451 includes the performed result of job in the response for the request received in the S 801 and sends this response back to the logic section 412 of the Web application 410.
  • FIG. 9 is a flow chart for describing a series of processes of confirming a performing situation of the process requested from the Web server 102 in a case that the response is not returned even though a predetermined time out period has elapsed after the Web browser 430 transmits the request to the Web server 102.
  • Respective operations (steps) indicated in the flow chart in FIG. 9 are realized by a process that the CPU 211 of the MFP 101 performs control programs stored in the HDD 214.
  • the session management section 433 of the Web browser 430 judges whether or not the predetermined time out period has elapsed without the response for the transmitted request. When the time out period has elapsed, the flow advances to S902. When the time out period does not elapse, the process ends.
  • the session management section 433 confirms a value of the column
  • service situation 502 corresponding to the column "session ID” 501 in which the session ID of the time out generated session is registered.
  • the session management section 433 resets a time, when it is started to calculate a time period after transmitting the request to the Web server 102.
  • the Web browser 430 keeps not to perform a time out process of the Web browser 430 if the process at the MFP 101 side requested from the Web server 102 is in a performing state.
  • the session management section 433 performs the time out process. More specifically, by discarding the session established between the Web browser 430 and the Web server 102, thereafter, even if the Web browser 430 receives the response which has the same session ID as that of the discarded session, the Web browser 430 disregards (discards) the response as an ineffective response.
  • the screen display section 434 displays a message which indicates a fact that a time out error was generated.
  • the time out process is such a process of invalidating the transmitted request. Incidentally, as a process of invalidating the transmitted request, it is allowed that not only the session itself is discarded but also it is stopped to wait for the response for the transmitted request and a state capable of transmitting a new request is only set.
  • the second embodiment of the present invention will be described.
  • the constitution that the Web browser 430 is made to perform a time out process when the service provider 450 can not return the response (processed result) to the Web server is further added.
  • the same constitutions as those in the above- described first embodiment will be denoted by the same reference numerals and the detailed description thereof will be omitted.
  • FIG. 10 is a flow chart for describing a series of processes that the service provider 450 performs a process requested from the Web server 102. Respective operations (steps) indicated in the flow chart in FIG. 10 are realized by a process that the CPU 211 of the MFP 101 performs control programs stored in the HDD 214.
  • the communication section 451 of the service provider 450 confirms whether or not the transmission of response to the logic section 412 of the Web application 410 was resulted in success.
  • the process ends, and when the transmission of response is resulted in failure, the flow advances to the S 1002.
  • the time out process is instructed to the session management section 433 of the Web browser 430.
  • FIG. 11 is a flow chart for describing a series of processes of confirming a performing situation of a process requested from the Web server 102 in a case that the response is not returned even though a predetermined time out period has elapsed after the Web browser 430 transmits a request to the Web server 102.
  • Respective operations (steps) indicated in the flow chart in FIG. 11 are realized by a process that the CPU 211 of the MFP 101 performs control programs stored in the HDD 214.
  • the session management section 433 of the Web browser 430 judges whether or not a time out instruction is received from the service provider 450. When it is judged that the time out instruction was received, the flow advances to the S905, and when it is judged that the time out instruction is not received, the flow advances to the S901.
  • the session management section 433 performs the time out process.
  • the Web browser 430 disregards (discards) the response as an ineffective response.
  • the screen display section 434 displays a message which indicates a fact that a time out error was generated.
  • the time out process is such a process of invalidating the transmitted request.
  • it is allowed that not only the session itself is discarded but also it is stopped to wait for the response for the transmitted request and a state capable of transmitting a new request is only set.
  • aspects of the present invention can also be realized by a computer of a system or apparatus (or devices such as a CPU or an MPU) that reads out and executes a program recorded on a memory device to perform the functions of the above-described embodiments, and by a method, the steps of which are performed by a computer of a system or an apparatus by, for example, reading out and executing a program recorded on a memory device to perform the functions of the above-described embodiments.
  • the program is provided to the computer for example via a network or from a recording medium of various types serving as the memory device (e.g., a computer-readable medium).

Landscapes

  • Engineering & Computer Science (AREA)
  • General Engineering & Computer Science (AREA)
  • Multimedia (AREA)
  • Signal Processing (AREA)
  • Computing Systems (AREA)
  • Human Computer Interaction (AREA)
  • Computer And Data Communications (AREA)
  • Facsimiles In General (AREA)
  • Information Transfer Between Computers (AREA)
PCT/JP2010/003720 2009-06-25 2010-06-03 Information processing apparatus, and control method of information processing apparatus, and program Ceased WO2010150467A1 (en)

Priority Applications (2)

Application Number Priority Date Filing Date Title
US12/863,310 US8275831B2 (en) 2009-06-25 2010-06-03 Information processing apparatus, and control method of information processing apparatus, and program
US13/585,732 US8533262B2 (en) 2009-06-25 2012-08-14 Information processing apparatus, and control method of information processing apparatus, and program

Applications Claiming Priority (2)

Application Number Priority Date Filing Date Title
JP2009151480A JP5489555B2 (ja) 2009-06-25 2009-06-25 情報処理装置、情報処理装置の制御方法、及びプログラム
JP2009-151480 2009-06-25

Related Child Applications (2)

Application Number Title Priority Date Filing Date
US12/863,310 A-371-Of-International US8275831B2 (en) 2009-06-25 2010-06-03 Information processing apparatus, and control method of information processing apparatus, and program
US13/585,732 Continuation US8533262B2 (en) 2009-06-25 2012-08-14 Information processing apparatus, and control method of information processing apparatus, and program

Publications (1)

Publication Number Publication Date
WO2010150467A1 true WO2010150467A1 (en) 2010-12-29

Family

ID=43386257

Family Applications (1)

Application Number Title Priority Date Filing Date
PCT/JP2010/003720 Ceased WO2010150467A1 (en) 2009-06-25 2010-06-03 Information processing apparatus, and control method of information processing apparatus, and program

Country Status (3)

Country Link
US (2) US8275831B2 (enExample)
JP (1) JP5489555B2 (enExample)
WO (1) WO2010150467A1 (enExample)

Cited By (2)

* Cited by examiner, † Cited by third party
Publication number Priority date Publication date Assignee Title
WO2012144540A1 (en) 2011-04-20 2012-10-26 Canon Kabushiki Kaisha Information processing apparatus, information processing system, control method therefor, and storage medium
US9087206B2 (en) 2011-04-20 2015-07-21 Canon Kabushiki Kaisha Information processing apparatus, system, method, and storage medium for executing control operation and indicating completion

Families Citing this family (10)

* Cited by examiner, † Cited by third party
Publication number Priority date Publication date Assignee Title
JP5743671B2 (ja) * 2011-04-19 2015-07-01 キヤノン株式会社 情報処理装置およびその制御方法
JP5397419B2 (ja) * 2011-06-16 2014-01-22 コニカミノルタ株式会社 端末装置、ウェブページ表示方法、およびコンピュータプログラム
JP5500128B2 (ja) * 2011-07-14 2014-05-21 コニカミノルタ株式会社 アプリ連携システムおよびアプリ連携方法
JP2013123212A (ja) 2011-11-10 2013-06-20 Canon Inc 通信装置、制御方法、およびプログラム
JP5891140B2 (ja) * 2012-07-20 2016-03-22 株式会社富士通マーケティング 接続状態管理装置およびそのプログラム
JP6195357B2 (ja) * 2013-07-08 2017-09-13 キヤノン株式会社 画像処理装置、その制御方法、及びプログラム
US10116814B2 (en) * 2014-10-10 2018-10-30 Seiko Epson Corporation Electronic apparatus and display control method for electronic apparatus
JP6727742B2 (ja) * 2017-05-12 2020-07-22 三菱電機株式会社 制御装置、通信管理方法及びプログラム
JP7059544B2 (ja) * 2017-09-20 2022-04-26 富士フイルムビジネスイノベーション株式会社 情報処理装置及びプログラム
JP7170453B2 (ja) * 2018-08-06 2022-11-14 キヤノン株式会社 システム、印刷装置、システムの制御方法

Citations (4)

* Cited by examiner, † Cited by third party
Publication number Priority date Publication date Assignee Title
JP2000235437A (ja) * 1999-02-17 2000-08-29 Fujitsu Ltd 電子機器の省電力化装置および電子機器の省電力化方法
JP2005167988A (ja) * 2003-11-13 2005-06-23 Canon Inc 画像処理システムおよび制御方法およびコンピュータが読み取り可能なプログラムを格納した記憶媒体およびプログラム
JP2008065650A (ja) * 2006-09-08 2008-03-21 Kyocera Mita Corp 通信装置、プログラム及び通信方法
WO2008139545A1 (ja) * 2007-05-01 2008-11-20 Fujitsu Limited ストレージシステム、ストレージ装置、リモートコピー方法

Family Cites Families (4)

* Cited by examiner, † Cited by third party
Publication number Priority date Publication date Assignee Title
US8018610B2 (en) 2004-10-08 2011-09-13 Sharp Laboratories Of America, Inc. Methods and systems for imaging device remote application interaction
JP2006205509A (ja) * 2005-01-27 2006-08-10 Canon Inc 印刷装置と印刷制御プログラム
JP5349778B2 (ja) 2007-09-20 2013-11-20 キヤノン株式会社 情報処理装置、情報処理方法、ならびにそのプログラムおよび記憶媒体
WO2009066394A1 (ja) * 2007-11-22 2009-05-28 Fujitsu Limited 送信情報の連携システム

Patent Citations (4)

* Cited by examiner, † Cited by third party
Publication number Priority date Publication date Assignee Title
JP2000235437A (ja) * 1999-02-17 2000-08-29 Fujitsu Ltd 電子機器の省電力化装置および電子機器の省電力化方法
JP2005167988A (ja) * 2003-11-13 2005-06-23 Canon Inc 画像処理システムおよび制御方法およびコンピュータが読み取り可能なプログラムを格納した記憶媒体およびプログラム
JP2008065650A (ja) * 2006-09-08 2008-03-21 Kyocera Mita Corp 通信装置、プログラム及び通信方法
WO2008139545A1 (ja) * 2007-05-01 2008-11-20 Fujitsu Limited ストレージシステム、ストレージ装置、リモートコピー方法

Cited By (3)

* Cited by examiner, † Cited by third party
Publication number Priority date Publication date Assignee Title
WO2012144540A1 (en) 2011-04-20 2012-10-26 Canon Kabushiki Kaisha Information processing apparatus, information processing system, control method therefor, and storage medium
EP2700034A4 (en) * 2011-04-20 2015-02-25 Canon Kk INFORMATION PROCESSING DEVICE, INFORMATION PROCESSING SYSTEM, CONTROL PROCEDURES AND STORAGE MEDIUM
US9087206B2 (en) 2011-04-20 2015-07-21 Canon Kabushiki Kaisha Information processing apparatus, system, method, and storage medium for executing control operation and indicating completion

Also Published As

Publication number Publication date
US8533262B2 (en) 2013-09-10
JP2011008542A (ja) 2011-01-13
US8275831B2 (en) 2012-09-25
US20110119333A1 (en) 2011-05-19
US20120311028A1 (en) 2012-12-06
JP5489555B2 (ja) 2014-05-14

Similar Documents

Publication Publication Date Title
WO2010150467A1 (en) Information processing apparatus, and control method of information processing apparatus, and program
US10509606B2 (en) Image forming apparatus retrieving error screen from web server
KR101238364B1 (ko) 화상 형성 장치의 커스터마이즈 방법 및 시스템
EP2184901A1 (en) Information processing system, information processing apparatus and information processing method
JP5950758B2 (ja) 画像形成装置、画像形成装置の制御方法およびプログラム
JP2011039682A (ja) 情報処理システム及びその制御方法、並びにプログラム
JP7240246B2 (ja) 画像形成装置、その制御方法と画像形成システム、およびプログラム
JP5711518B2 (ja) 情報処理装置、その制御方法、及びプログラム
KR101395488B1 (ko) 화상 처리 장치, 그 제어 방법 및 그 프로그램 저장용 저장 매체
US20130132599A1 (en) Information processing apparatus, method for controlling information processing apparatus, and storage medium
US10291815B2 (en) Information processing apparatus capable of communicating with any of one or more servers according to a first protocol and a second protocol, information processing system including the information processing apparatus, and a method performed by the information processing apparatus
US20120268768A1 (en) Information processing apparatus, information processing system, control method therefor, and storage medium
JP2012064091A (ja) 情報処理システム、情報処理装置、及びプログラム
JP6711618B2 (ja) 情報処理装置、情報処理システム、情報処理サーバ、情報処理方法、及びプログラム
JP5767454B2 (ja) 画像処理装置、その制御方法、及びプログラム
JP5669510B2 (ja) 情報処理装置及びその制御方法、プログラム
JP6417907B2 (ja) プリントシステム、画像形成装置、サーバ、端末装置、情報提示方法、およびコンピュータプログラム
JP4787655B2 (ja) 情報処理装置、表示制御装置、情報処理システム、情報処理方法、表示制御方法、情報処理プログラム及び表示制御プログラム
JP5930602B2 (ja) 情報処理システム、情報処理装置、及びそれらの制御方法
JP5800934B2 (ja) 情報処理装置、情報処理装置の制御方法、及びプログラム
JP2012181586A (ja) 印刷クライアント、印刷方法、およびコンピュータプログラム
JP2018165917A (ja) 画像処理システム、画像処理装置、コンテンツサーバー及びプログラム
JP2016099676A (ja) 印刷システム、印刷装置およびプログラム

Legal Events

Date Code Title Description
WWE Wipo information: entry into national phase

Ref document number: 12863310

Country of ref document: US

121 Ep: the epo has been informed by wipo that ep was designated in this application

Ref document number: 10791793

Country of ref document: EP

Kind code of ref document: A1

NENP Non-entry into the national phase

Ref country code: DE

122 Ep: pct application non-entry in european phase

Ref document number: 10791793

Country of ref document: EP

Kind code of ref document: A1