WO2009116452A1 - 半導体磁器組成物の製造方法及び半導体磁器組成物を用いたヒータ - Google Patents

半導体磁器組成物の製造方法及び半導体磁器組成物を用いたヒータ Download PDF

Info

Publication number
WO2009116452A1
WO2009116452A1 PCT/JP2009/054809 JP2009054809W WO2009116452A1 WO 2009116452 A1 WO2009116452 A1 WO 2009116452A1 JP 2009054809 W JP2009054809 W JP 2009054809W WO 2009116452 A1 WO2009116452 A1 WO 2009116452A1
Authority
WO
WIPO (PCT)
Prior art keywords
ceramic composition
semiconductor ceramic
tio
calcined powder
heat treatment
Prior art date
Legal status (The legal status is an assumption and is not a legal conclusion. Google has not performed a legal analysis and makes no representation as to the accuracy of the status listed.)
Ceased
Application number
PCT/JP2009/054809
Other languages
English (en)
French (fr)
Japanese (ja)
Inventor
武司 島田
健太郎 猪野
年紀 木田
Current Assignee (The listed assignees may be inaccurate. Google has not performed a legal analysis and makes no representation or warranty as to the accuracy of the list.)
Proterial Ltd
Original Assignee
Hitachi Metals Ltd
Priority date (The priority date is an assumption and is not a legal conclusion. Google has not performed a legal analysis and makes no representation as to the accuracy of the date listed.)
Filing date
Publication date
Application filed by Hitachi Metals Ltd filed Critical Hitachi Metals Ltd
Priority to EP09723025.4A priority Critical patent/EP2253602A4/en
Priority to CN2009801071730A priority patent/CN101959829A/zh
Priority to US12/920,366 priority patent/US8766145B2/en
Publication of WO2009116452A1 publication Critical patent/WO2009116452A1/ja
Anticipated expiration legal-status Critical
Ceased legal-status Critical Current

Links

Images

Classifications

    • HELECTRICITY
    • H01ELECTRIC ELEMENTS
    • H01CRESISTORS
    • H01C7/00Non-adjustable resistors formed as one or more layers or coatings; Non-adjustable resistors made from powdered conducting material or powdered semi-conducting material with or without insulating material
    • H01C7/02Non-adjustable resistors formed as one or more layers or coatings; Non-adjustable resistors made from powdered conducting material or powdered semi-conducting material with or without insulating material having positive temperature coefficient
    • H01C7/022Non-adjustable resistors formed as one or more layers or coatings; Non-adjustable resistors made from powdered conducting material or powdered semi-conducting material with or without insulating material having positive temperature coefficient mainly consisting of non-metallic substances
    • H01C7/023Non-adjustable resistors formed as one or more layers or coatings; Non-adjustable resistors made from powdered conducting material or powdered semi-conducting material with or without insulating material having positive temperature coefficient mainly consisting of non-metallic substances containing oxides or oxidic compounds, e.g. ferrites
    • H01C7/025Perovskites, e.g. titanates
    • CCHEMISTRY; METALLURGY
    • C04CEMENTS; CONCRETE; ARTIFICIAL STONE; CERAMICS; REFRACTORIES
    • C04BLIME, MAGNESIA; SLAG; CEMENTS; COMPOSITIONS THEREOF, e.g. MORTARS, CONCRETE OR LIKE BUILDING MATERIALS; ARTIFICIAL STONE; CERAMICS; REFRACTORIES; TREATMENT OF NATURAL STONE
    • C04B35/00Shaped ceramic products characterised by their composition; Ceramics compositions; Processing powders of inorganic compounds preparatory to the manufacturing of ceramic products
    • C04B35/01Shaped ceramic products characterised by their composition; Ceramics compositions; Processing powders of inorganic compounds preparatory to the manufacturing of ceramic products based on oxide ceramics
    • C04B35/46Shaped ceramic products characterised by their composition; Ceramics compositions; Processing powders of inorganic compounds preparatory to the manufacturing of ceramic products based on oxide ceramics based on titanium oxides or titanates
    • CCHEMISTRY; METALLURGY
    • C04CEMENTS; CONCRETE; ARTIFICIAL STONE; CERAMICS; REFRACTORIES
    • C04BLIME, MAGNESIA; SLAG; CEMENTS; COMPOSITIONS THEREOF, e.g. MORTARS, CONCRETE OR LIKE BUILDING MATERIALS; ARTIFICIAL STONE; CERAMICS; REFRACTORIES; TREATMENT OF NATURAL STONE
    • C04B35/00Shaped ceramic products characterised by their composition; Ceramics compositions; Processing powders of inorganic compounds preparatory to the manufacturing of ceramic products
    • C04B35/01Shaped ceramic products characterised by their composition; Ceramics compositions; Processing powders of inorganic compounds preparatory to the manufacturing of ceramic products based on oxide ceramics
    • C04B35/46Shaped ceramic products characterised by their composition; Ceramics compositions; Processing powders of inorganic compounds preparatory to the manufacturing of ceramic products based on oxide ceramics based on titanium oxides or titanates
    • C04B35/462Shaped ceramic products characterised by their composition; Ceramics compositions; Processing powders of inorganic compounds preparatory to the manufacturing of ceramic products based on oxide ceramics based on titanium oxides or titanates based on titanates
    • C04B35/465Shaped ceramic products characterised by their composition; Ceramics compositions; Processing powders of inorganic compounds preparatory to the manufacturing of ceramic products based on oxide ceramics based on titanium oxides or titanates based on titanates based on alkaline earth metal titanates
    • C04B35/468Shaped ceramic products characterised by their composition; Ceramics compositions; Processing powders of inorganic compounds preparatory to the manufacturing of ceramic products based on oxide ceramics based on titanium oxides or titanates based on titanates based on alkaline earth metal titanates based on barium titanates
    • C04B35/4682Shaped ceramic products characterised by their composition; Ceramics compositions; Processing powders of inorganic compounds preparatory to the manufacturing of ceramic products based on oxide ceramics based on titanium oxides or titanates based on titanates based on alkaline earth metal titanates based on barium titanates based on BaTiO3 perovskite phase
    • HELECTRICITY
    • H01ELECTRIC ELEMENTS
    • H01CRESISTORS
    • H01C17/00Apparatus or processes specially adapted for manufacturing resistors
    • H01C17/06Apparatus or processes specially adapted for manufacturing resistors adapted for coating resistive material on a base
    • H01C17/065Apparatus or processes specially adapted for manufacturing resistors adapted for coating resistive material on a base by thick film techniques, e.g. serigraphy
    • H01C17/06506Precursor compositions therefor, e.g. pastes, inks, glass frits or green body
    • H01C17/06513Precursor compositions therefor, e.g. pastes, inks, glass frits or green body characterised by the resistive component
    • H01C17/06533Precursor compositions therefor, e.g. pastes, inks, glass frits or green body characterised by the resistive component composed of oxides
    • CCHEMISTRY; METALLURGY
    • C04CEMENTS; CONCRETE; ARTIFICIAL STONE; CERAMICS; REFRACTORIES
    • C04BLIME, MAGNESIA; SLAG; CEMENTS; COMPOSITIONS THEREOF, e.g. MORTARS, CONCRETE OR LIKE BUILDING MATERIALS; ARTIFICIAL STONE; CERAMICS; REFRACTORIES; TREATMENT OF NATURAL STONE
    • C04B2235/00Aspects relating to ceramic starting mixtures or sintered ceramic products
    • C04B2235/02Composition of constituents of the starting material or of secondary phases of the final product
    • C04B2235/30Constituents and secondary phases not being of a fibrous nature
    • C04B2235/32Metal oxides, mixed metal oxides, or oxide-forming salts thereof, e.g. carbonates, nitrates, (oxy)hydroxides, chlorides
    • C04B2235/3201Alkali metal oxides or oxide-forming salts thereof
    • CCHEMISTRY; METALLURGY
    • C04CEMENTS; CONCRETE; ARTIFICIAL STONE; CERAMICS; REFRACTORIES
    • C04BLIME, MAGNESIA; SLAG; CEMENTS; COMPOSITIONS THEREOF, e.g. MORTARS, CONCRETE OR LIKE BUILDING MATERIALS; ARTIFICIAL STONE; CERAMICS; REFRACTORIES; TREATMENT OF NATURAL STONE
    • C04B2235/00Aspects relating to ceramic starting mixtures or sintered ceramic products
    • C04B2235/02Composition of constituents of the starting material or of secondary phases of the final product
    • C04B2235/30Constituents and secondary phases not being of a fibrous nature
    • C04B2235/32Metal oxides, mixed metal oxides, or oxide-forming salts thereof, e.g. carbonates, nitrates, (oxy)hydroxides, chlorides
    • C04B2235/3205Alkaline earth oxides or oxide forming salts thereof, e.g. beryllium oxide
    • C04B2235/3208Calcium oxide or oxide-forming salts thereof, e.g. lime
    • CCHEMISTRY; METALLURGY
    • C04CEMENTS; CONCRETE; ARTIFICIAL STONE; CERAMICS; REFRACTORIES
    • C04BLIME, MAGNESIA; SLAG; CEMENTS; COMPOSITIONS THEREOF, e.g. MORTARS, CONCRETE OR LIKE BUILDING MATERIALS; ARTIFICIAL STONE; CERAMICS; REFRACTORIES; TREATMENT OF NATURAL STONE
    • C04B2235/00Aspects relating to ceramic starting mixtures or sintered ceramic products
    • C04B2235/02Composition of constituents of the starting material or of secondary phases of the final product
    • C04B2235/30Constituents and secondary phases not being of a fibrous nature
    • C04B2235/32Metal oxides, mixed metal oxides, or oxide-forming salts thereof, e.g. carbonates, nitrates, (oxy)hydroxides, chlorides
    • C04B2235/3224Rare earth oxide or oxide forming salts thereof, e.g. scandium oxide
    • C04B2235/3227Lanthanum oxide or oxide-forming salts thereof
    • CCHEMISTRY; METALLURGY
    • C04CEMENTS; CONCRETE; ARTIFICIAL STONE; CERAMICS; REFRACTORIES
    • C04BLIME, MAGNESIA; SLAG; CEMENTS; COMPOSITIONS THEREOF, e.g. MORTARS, CONCRETE OR LIKE BUILDING MATERIALS; ARTIFICIAL STONE; CERAMICS; REFRACTORIES; TREATMENT OF NATURAL STONE
    • C04B2235/00Aspects relating to ceramic starting mixtures or sintered ceramic products
    • C04B2235/02Composition of constituents of the starting material or of secondary phases of the final product
    • C04B2235/30Constituents and secondary phases not being of a fibrous nature
    • C04B2235/32Metal oxides, mixed metal oxides, or oxide-forming salts thereof, e.g. carbonates, nitrates, (oxy)hydroxides, chlorides
    • C04B2235/3298Bismuth oxides, bismuthates or oxide forming salts thereof, e.g. zinc bismuthate
    • CCHEMISTRY; METALLURGY
    • C04CEMENTS; CONCRETE; ARTIFICIAL STONE; CERAMICS; REFRACTORIES
    • C04BLIME, MAGNESIA; SLAG; CEMENTS; COMPOSITIONS THEREOF, e.g. MORTARS, CONCRETE OR LIKE BUILDING MATERIALS; ARTIFICIAL STONE; CERAMICS; REFRACTORIES; TREATMENT OF NATURAL STONE
    • C04B2235/00Aspects relating to ceramic starting mixtures or sintered ceramic products
    • C04B2235/02Composition of constituents of the starting material or of secondary phases of the final product
    • C04B2235/30Constituents and secondary phases not being of a fibrous nature
    • C04B2235/34Non-metal oxides, non-metal mixed oxides, or salts thereof that form the non-metal oxides upon heating, e.g. carbonates, nitrates, (oxy)hydroxides, chlorides
    • C04B2235/3418Silicon oxide, silicic acids or oxide forming salts thereof, e.g. silica sol, fused silica, silica fume, cristobalite, quartz or flint
    • CCHEMISTRY; METALLURGY
    • C04CEMENTS; CONCRETE; ARTIFICIAL STONE; CERAMICS; REFRACTORIES
    • C04BLIME, MAGNESIA; SLAG; CEMENTS; COMPOSITIONS THEREOF, e.g. MORTARS, CONCRETE OR LIKE BUILDING MATERIALS; ARTIFICIAL STONE; CERAMICS; REFRACTORIES; TREATMENT OF NATURAL STONE
    • C04B2235/00Aspects relating to ceramic starting mixtures or sintered ceramic products
    • C04B2235/02Composition of constituents of the starting material or of secondary phases of the final product
    • C04B2235/50Constituents or additives of the starting mixture chosen for their shape or used because of their shape or their physical appearance
    • C04B2235/54Particle size related information
    • C04B2235/5418Particle size related information expressed by the size of the particles or aggregates thereof
    • C04B2235/5445Particle size related information expressed by the size of the particles or aggregates thereof submicron sized, i.e. from 0,1 to 1 micron
    • CCHEMISTRY; METALLURGY
    • C04CEMENTS; CONCRETE; ARTIFICIAL STONE; CERAMICS; REFRACTORIES
    • C04BLIME, MAGNESIA; SLAG; CEMENTS; COMPOSITIONS THEREOF, e.g. MORTARS, CONCRETE OR LIKE BUILDING MATERIALS; ARTIFICIAL STONE; CERAMICS; REFRACTORIES; TREATMENT OF NATURAL STONE
    • C04B2235/00Aspects relating to ceramic starting mixtures or sintered ceramic products
    • C04B2235/65Aspects relating to heat treatments of ceramic bodies such as green ceramics or pre-sintered ceramics, e.g. burning, sintering or melting processes
    • C04B2235/658Atmosphere during thermal treatment
    • C04B2235/6583Oxygen containing atmosphere, e.g. with changing oxygen pressures
    • CCHEMISTRY; METALLURGY
    • C04CEMENTS; CONCRETE; ARTIFICIAL STONE; CERAMICS; REFRACTORIES
    • C04BLIME, MAGNESIA; SLAG; CEMENTS; COMPOSITIONS THEREOF, e.g. MORTARS, CONCRETE OR LIKE BUILDING MATERIALS; ARTIFICIAL STONE; CERAMICS; REFRACTORIES; TREATMENT OF NATURAL STONE
    • C04B2235/00Aspects relating to ceramic starting mixtures or sintered ceramic products
    • C04B2235/65Aspects relating to heat treatments of ceramic bodies such as green ceramics or pre-sintered ceramics, e.g. burning, sintering or melting processes
    • C04B2235/66Specific sintering techniques, e.g. centrifugal sintering
    • C04B2235/661Multi-step sintering
    • C04B2235/662Annealing after sintering
    • C04B2235/663Oxidative annealing

Definitions

  • the present invention relates to a method for producing a semiconductor porcelain composition having a positive temperature coefficient of resistance (PTC) and a heater using the semiconductor porcelain composition.
  • PTC positive temperature coefficient of resistance
  • a BaTiO 3 -based semiconductor ceramic composition is known as a material exhibiting positive resistance temperature characteristics.
  • SrTiO 3 or PbTiO 3 is added to the BaTiO 3 based semiconductor ceramic composition, the Curie temperature can be shifted, but the only additive material that can be shifted in the positive direction is PbTiO 3 .
  • PbTiO 3 contains an element that causes environmental pollution, a material that does not use PbTiO 3 as an additive material is desired. Therefore, a semiconductor ceramic composition in which a part of Ba of BaTiO 3 is substituted with Bi—Na has been proposed (see Patent Document 1).
  • the present invention has been made in view of the above circumstances, BaTiO 3 - (Bi 1/2 Na 1/2) semiconductors a part of Ba of BaTiO 3 of TiO 3 based material comprising substituted with Bi-Na It aims at improving the jump characteristic of a porcelain composition.
  • the jump characteristic of the BaTiO 3 based material containing Pb depends on the amount of oxygen at the grain boundary, it is necessary to introduce oxygen into the grain boundary after reducing oxygen defects generated during sintering. For this reason, practical jump characteristics cannot be obtained unless heat treatment is performed at 800 ° C. or higher at which oxygen defects are recovered.
  • the BaTiO 3- (Bi 1/2 Na 1/2 ) TiO 3 system material not only the grain boundary oxygen amount but also the material component distribution affects the jump characteristics. For this reason, it is possible to improve jump characteristics simply by introducing oxygen into the grain boundary without recovering oxygen defects. For this reason, it has been found that jump characteristics can be improved even if heat treatment is performed at 600 ° C. or lower.
  • the present invention improves the jump characteristics by heat-treating a semiconductor ceramic composition in which a part of Ba is substituted with Bi-Na at 600 ° C. or lower.
  • the heat treatment may be performed in the air, but is preferably performed in an atmosphere containing oxygen, and more preferably heat treatment in an oxygen atmosphere.
  • the present invention improves jump characteristics by forming an electrode on a semiconductor ceramic composition in which a part of Ba is substituted with Bi-Na and then heat-treating it in the atmosphere at 600 ° C. or lower.
  • heat treatment in the atmosphere is preferable to avoid electrode deterioration.
  • the semiconductor ceramic composition manufactured according to the present invention is manufactured according to the present invention because it has a jump characteristic not found in the conventional semiconductor ceramic composition in which part of BaTiO 3 is replaced with Bi-Na.
  • a heater using a heating element made of a semiconductor ceramic composition is suitable for use in a higher temperature environment.
  • a BaTiO 3 — (Bi 1/2 Na 1/2 ) TiO 3 material obtained by substituting a part of Ba with Bi—Na is heat-treated at 600 ° C. or less.
  • the temperature exceeds 600 ° C. the BaTiO 3 — (Bi 1/2 Na 1/2 ) TiO 3 -based material gradually exhibits insulating properties and becomes an insulator at 1280 ° C.
  • the upper limit of the heat treatment temperature was set to 600 ° C., which is a practically acceptable range.
  • the processing time is preferably about 12 hours because the jump characteristic is saturated even if it is too long. Note that the effect can be obtained if heat treatment is performed for a long time even near room temperature. Also, heat treatment in nitrogen is not preferable because it reduces the jump characteristics.
  • the step of preparing (BaQ) TiO 3 calcined powder (Q is a semiconducting element) is first performed by using raw material powders of BaCO 3 , TiO 2 and a semiconducting element, such as La 2 O 3 or Nb 2 O. 5 is mixed and a raw material powder is produced and calcined.
  • the calcination temperature is preferably in the range of 600 ° C. to 1000 ° C., and the calcination time is preferably 0.5 hours or more. When the calcining temperature is less than 600 ° C.
  • the step of preparing the (BiNa) TiO 3 calcined powder first comprises dry mixing the raw material powder Na 2 CO 3 , Bi 2 O 3 and TiO 2 to produce a mixed raw material powder and calcining it.
  • the calcination temperature is preferably in the range of 700 ° C. to 950 ° C., and the calcination time is preferably 0.5 hours to 10 hours.
  • the calcination temperature is less than 700 ° C. or the calcination time is less than 0.5 hour, unreacted NaO reacts with the solvent in the atmosphere or wet mixing, which is not preferable because the composition shifts and the characteristics vary.
  • the calcining temperature exceeds 950 ° C. or the calcining time exceeds 10 hours, the volatilization of Bi proceeds, the composition shifts, and the generation of the secondary phase is promoted.
  • the step of mixing (BaQ) TiO 3 calcined powder and (BiNa) TiO 3 calcined powder is performed after blending each calcined powder in a predetermined amount.
  • Mixing may be either wet mixing using pure water or ethanol, or dry mixing. However, it is preferable to perform dry mixing because the compositional deviation can be further prevented.
  • the particle size of the calcined powder after mixing, pulverization or mixing and pulverization may be performed simultaneously.
  • the average particle size of the mixed calcined powder after mixing and pulverization is preferably 0.6 ⁇ m to 1.5 ⁇ m.
  • Si oxide when Si oxide is added in an amount of 3.0 mol% or less and Ca carbonate or Ca oxide is added in an amount of 4.0 mol% or less, Si oxide suppresses abnormal growth of crystal grains and easily controls the resistivity.
  • Ca carbonate or Ca oxide is preferable because it can improve the sinterability at low temperatures. In any case, adding more than the above-mentioned limited amount is not preferable because the composition does not show semiconducting properties. The addition is preferably performed before mixing in each step.
  • the step of molding and sintering the calcined powder obtained by mixing the (BaQ) TiO 3 calcined powder and the (BiNa) TiO 3 calcined powder first forms the mixed calcined powder by a desired molding means. .
  • the compact density after molding is preferably 2 to 3 g / cm 3 .
  • Sintering can be performed in the air, in a reducing atmosphere, or in an inert gas atmosphere having a low oxygen concentration, with a sintering temperature of 1200 ° C. to 1400 ° C. and a sintering time of 2 hours to 6 hours.
  • the sintered body is processed into a plate shape to produce a test piece, and then an ohmic electrode is formed on the surface.
  • the ohmic electrode Ti, Cr, Ni, Al, Fe, Cu, Ag—Zn, or the like can be selected.
  • the ohmic electrode may be formed on the test piece by sputtering or vapor deposition.
  • the electrode is preferably covered with a cover electrode such as Ag, Al, Au, or Pt.
  • Example 1 A raw material powder of BaCO 3 as a main material and La 2 O 3 as a TiO 2 semiconducting element is prepared, blended so as to be (Ba 0.994 La 0.006 ) TiO 3, and further, if necessary, a sintering aid And CaCO 3 and SiO 2 were added and mixed in ethanol. The obtained mixed raw material powder was calcined in the atmosphere at 900 ° C. for 4 hours to prepare (BaLa) TiO 3 calcined powder.
  • the (BaLa) TiO 3 calcined powder and (BiNa) TiO 3 calcined powder are combined with [(Bi 0.5 Na 0.5 ) 0.1 (Ba 0.994 La 0.006 ) 0.9 ] TiO 3 .
  • the mixture was mixed and pulverized with a pot mill using pure water as a medium until the mixed calcined powder became 1.0 ⁇ m to 2.0 ⁇ m, and then dried.
  • PVA was added to and mixed with the pulverized powder of the mixed calcined powder, and then granulated by a granulator.
  • the obtained granulated powder was molded with a uniaxial press machine, and the molded body was debindered at 700 ° C.
  • (BaLa) TiO 3 calcining temperature is 900 ° C. or lower, BaCO 3 and TiO 2 can remain in the calcined powder, or (BaLa) TiO 3 calcining temperature is 1000 ° C. or higher and 1200 ° C. or lower.
  • the properties can be stabilized by adding BaCO 3 and TiO 2 to the calcined powder.
  • the obtained sintered body is processed into a 10 mm ⁇ 10 mm ⁇ 1 mm plate to create a test piece, and an ohmic electrode composed of Ag—Zn and a cover electrode containing Ag as a main component are simultaneously baked thereon.
  • the temperature change of the specific resistance value was measured with a resistance meter in the range from room temperature to 270 ° C., and the PTC was specified as room temperature specific resistance, Curie temperature, resistance temperature coefficient ((lnR 1 -lnR c ) ⁇ 100 / (T 1 -T c ), R 1 : maximum resistance ratio, R c : specific resistance at T c , T 1 : temperature showing R 1 , T c : Curie temperature).
  • the electrode was removed and heat treatment was performed from room temperature to 800 ° C. After the heat treatment, an electrode was formed again on the material, and the PTC characteristics were evaluated.
  • Table 1 shows PTC characteristics when heat treatment is performed at 20 ° C. to 600 ° C. in an oxygen atmosphere
  • Table 2 shows PTC characteristics when heat treatment is performed at 20 ° C. to 800 ° C. in air, and resistance temperature coefficient. It was confirmed that both the samples subjected to the heat treatment in the atmosphere and the air showed higher values than the resistance temperature coefficient before the heat treatment.
  • Example 2 PTC characteristics were measured in the same manner as in Example 1. After the measurement, heat treatment was performed from room temperature to 800 ° C. without removing the electrode. When heat treatment was performed in an oxygen atmosphere with the electrode formed, the electrode deteriorated, and even if the treatment was performed in nitrogen, there was no effect, so the heat treatment was performed in the atmosphere. After the heat treatment, the PTC characteristics were evaluated.
  • Table 3 shows the PTC characteristics when heat treatment is performed at 20 ° C. to 800 ° C. in the atmosphere. Focusing on the temperature coefficient of resistance, it was confirmed that all samples subjected to heat treatment in the atmosphere showed higher values than the temperature coefficient of resistance before heat treatment up to 600 ° C. However, it was confirmed that a value lower than the temperature coefficient of resistance before heat treatment was exhibited at 800 ° C.
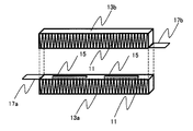
  • FIG. 1 shows the configuration of the heater element, and the heater element 15 is sandwiched between a pair of casings 13 (13 a, 13 b) provided with heat radiation fins 11.
  • the heater element 15 can generate heat by applying a voltage to the heater element 15 via the power supply terminal 17a provided on one casing 13a and the power supply terminal 17b provided on the other casing 13b.
  • the prepared heater element was placed in a thermostatic chamber, and after raising the temperature to a predetermined temperature, a voltage of 13 volts was applied to the power feeding element, and changes in voltage and current with respect to temperature were observed (see Table 4).
  • FIG. 2 is a graph showing changes in voltage and current (vertical axis) with respect to temperature (horizontal axis). The characteristics of the case with heat treatment ((b) in the figure) are higher than those without heat treatment ((a) in the figure). On the side, the current value is extremely low, and it can be seen that the safety at high temperature is improved.
  • the semiconductor ceramic composition according to the present invention has jump characteristics that are not found in the conventional semiconductor ceramic composition in which part of BaTiO 3 is replaced with Bi—Na.
  • a heater using a heating element made of this semiconductor ceramic composition is suitable for use in a higher temperature environment.

Landscapes

  • Engineering & Computer Science (AREA)
  • Chemical & Material Sciences (AREA)
  • Ceramic Engineering (AREA)
  • Materials Engineering (AREA)
  • Manufacturing & Machinery (AREA)
  • Microelectronics & Electronic Packaging (AREA)
  • Structural Engineering (AREA)
  • Organic Chemistry (AREA)
  • Physics & Mathematics (AREA)
  • Electromagnetism (AREA)
  • Compositions Of Oxide Ceramics (AREA)
  • Thermistors And Varistors (AREA)
PCT/JP2009/054809 2008-03-19 2009-03-12 半導体磁器組成物の製造方法及び半導体磁器組成物を用いたヒータ Ceased WO2009116452A1 (ja)

Priority Applications (3)

Application Number Priority Date Filing Date Title
EP09723025.4A EP2253602A4 (en) 2008-03-19 2009-03-12 METHOD FOR PRODUCING A SEMICONDUCTOR PORCELAIN COMPOSITION AND HEATER WITH SEMICONDUCTOR PORCELAIN COMPOSITION
CN2009801071730A CN101959829A (zh) 2008-03-19 2009-03-12 制造半导体陶瓷组成物的工艺以及采用半导体陶瓷组成物的加热器
US12/920,366 US8766145B2 (en) 2008-03-19 2009-03-12 Process for producing semiconductive porcelain composition and heater employing semiconductive porcelain composition

Applications Claiming Priority (2)

Application Number Priority Date Filing Date Title
JP2008-071353 2008-03-19
JP2008071353A JP5844507B2 (ja) 2008-03-19 2008-03-19 半導体磁器組成物の製造方法及び半導体磁器組成物を用いたヒータ

Publications (1)

Publication Number Publication Date
WO2009116452A1 true WO2009116452A1 (ja) 2009-09-24

Family

ID=41090856

Family Applications (1)

Application Number Title Priority Date Filing Date
PCT/JP2009/054809 Ceased WO2009116452A1 (ja) 2008-03-19 2009-03-12 半導体磁器組成物の製造方法及び半導体磁器組成物を用いたヒータ

Country Status (7)

Country Link
US (1) US8766145B2 (enExample)
EP (1) EP2253602A4 (enExample)
JP (1) JP5844507B2 (enExample)
KR (1) KR101545763B1 (enExample)
CN (1) CN101959829A (enExample)
TW (1) TWI485122B (enExample)
WO (1) WO2009116452A1 (enExample)

Families Citing this family (5)

* Cited by examiner, † Cited by third party
Publication number Priority date Publication date Assignee Title
US20120175361A1 (en) * 2009-10-06 2012-07-12 Kentaro Ino Semiconductor ceramic composition, method for producing same, ptc element and heat generating module
JP6337689B2 (ja) 2013-10-03 2018-06-06 Tdk株式会社 半導体磁器組成物およびptcサーミスタ
CN104860677A (zh) * 2015-04-20 2015-08-26 河南师范大学 一种掺杂锆钛酸钡基铁电陶瓷材料及其制备方法
CN109761602B (zh) * 2019-02-28 2020-11-24 华中科技大学 一种低阻热敏陶瓷材料及其制备方法与应用
TWI844017B (zh) * 2022-05-10 2024-06-01 鈞成金屬股份有限公司 一體式車肩座結構改良

Citations (5)

* Cited by examiner, † Cited by third party
Publication number Priority date Publication date Assignee Title
JPS56169301A (en) 1980-06-02 1981-12-26 Tohoku Metal Ind Ltd Method of producing barium titanate semiconductor porcelain
WO2006106910A1 (ja) 2005-03-31 2006-10-12 Hitachi Metals, Ltd. 半導体磁器組成物の製造方法
WO2006118274A1 (ja) * 2005-04-28 2006-11-09 Hitachi Metals, Ltd. 半導体磁器組成物とその製造方法
WO2007023512A1 (ja) * 2005-08-11 2007-03-01 Hitachi Metals, Ltd. 半導体磁器組成物
WO2007097462A1 (ja) * 2006-02-27 2007-08-30 Hitachi Metals, Ltd. 半導体磁器組成物

Family Cites Families (11)

* Cited by examiner, † Cited by third party
Publication number Priority date Publication date Assignee Title
JPS6186467A (ja) * 1984-10-02 1986-05-01 科学技術庁無機材質研究所長 高性能チタン酸バリウム系ポジスタ−の製造方法
JPH08153604A (ja) * 1994-06-24 1996-06-11 Teika Corp 積層型半導体セラミック素子の製造方法
EP0982782B1 (en) * 1998-08-21 2005-02-09 TDK Corporation Piezoelectric ceramics
TW487742B (en) * 1999-05-10 2002-05-21 Matsushita Electric Industrial Co Ltd Electrode for PTC thermistor, manufacture thereof, and PTC thermistor
US6514427B2 (en) * 1999-10-18 2003-02-04 Matsushita Electric Industrial Co., Ltd. Piezoelectric ceramic composition and piezoelectric element containing the same
JP2001130957A (ja) * 1999-11-02 2001-05-15 Murata Mfg Co Ltd 半導体磁器、半導体磁器の製造方法およびサーミスタ
JP4211510B2 (ja) * 2002-08-13 2009-01-21 株式会社村田製作所 積層型ptcサーミスタの製造方法
JP2006179692A (ja) * 2004-12-22 2006-07-06 Komatsu Electronics Inc サーミスタの製造方法
JP4780306B2 (ja) * 2006-03-15 2011-09-28 Tdk株式会社 積層型サーミスタ及びその製造方法
EP2077257A4 (en) 2006-10-27 2011-05-18 Hitachi Metals Ltd SEMICONDUCTOR CERAMIC COMPOSITION AND MANUFACTURING METHOD THEREFOR
US7993547B2 (en) * 2006-11-01 2011-08-09 Hitachi Metals, Ltd. Semiconductor ceramic composition and process for producing the same

Patent Citations (5)

* Cited by examiner, † Cited by third party
Publication number Priority date Publication date Assignee Title
JPS56169301A (en) 1980-06-02 1981-12-26 Tohoku Metal Ind Ltd Method of producing barium titanate semiconductor porcelain
WO2006106910A1 (ja) 2005-03-31 2006-10-12 Hitachi Metals, Ltd. 半導体磁器組成物の製造方法
WO2006118274A1 (ja) * 2005-04-28 2006-11-09 Hitachi Metals, Ltd. 半導体磁器組成物とその製造方法
WO2007023512A1 (ja) * 2005-08-11 2007-03-01 Hitachi Metals, Ltd. 半導体磁器組成物
WO2007097462A1 (ja) * 2006-02-27 2007-08-30 Hitachi Metals, Ltd. 半導体磁器組成物

Non-Patent Citations (1)

* Cited by examiner, † Cited by third party
Title
See also references of EP2253602A4

Also Published As

Publication number Publication date
US20110011848A1 (en) 2011-01-20
US8766145B2 (en) 2014-07-01
KR20110009653A (ko) 2011-01-28
EP2253602A1 (en) 2010-11-24
EP2253602A4 (en) 2015-03-25
JP2009227477A (ja) 2009-10-08
TW200940475A (en) 2009-10-01
JP5844507B2 (ja) 2016-01-20
CN101959829A (zh) 2011-01-26
TWI485122B (zh) 2015-05-21
KR101545763B1 (ko) 2015-08-19

Similar Documents

Publication Publication Date Title
JP5218042B2 (ja) 半導体磁器組成物
JP5228915B2 (ja) 半導体磁器組成物とその製造方法
JP5151477B2 (ja) 半導体磁器組成物とその製造方法
JP4765258B2 (ja) 半導体磁器組成物
JP5228916B2 (ja) 半導体磁器組成物とその製造方法
JP5251119B2 (ja) 半導体磁器組成物
JPWO2008053813A1 (ja) 半導体磁器組成物とその製造方法
JP5228917B2 (ja) 半導体磁器組成物とその製造方法
KR20170016805A (ko) 반도체 자기 조성물 및 ptc 서미스터
JP5844507B2 (ja) 半導体磁器組成物の製造方法及び半導体磁器組成物を用いたヒータ
JPWO2006106910A1 (ja) 半導体磁器組成物の製造方法
JP5590494B2 (ja) 半導体磁器組成物−電極接合体の製造方法
CN101528632B (zh) 半导体陶瓷组合物及其制备方法
TWI406304B (zh) Semiconductor porcelain composition and method of manufacturing the same
JP2010168265A (ja) 半導体磁器組成物の製造方法
TWI406303B (zh) Semiconductor porcelain composition and method of manufacturing the same

Legal Events

Date Code Title Description
WWE Wipo information: entry into national phase

Ref document number: 200980107173.0

Country of ref document: CN

121 Ep: the epo has been informed by wipo that ep was designated in this application

Ref document number: 09723025

Country of ref document: EP

Kind code of ref document: A1

ENP Entry into the national phase

Ref document number: 20107019261

Country of ref document: KR

Kind code of ref document: A

WWE Wipo information: entry into national phase

Ref document number: 6144/DELNP/2010

Country of ref document: IN

REEP Request for entry into the european phase

Ref document number: 2009723025

Country of ref document: EP

WWE Wipo information: entry into national phase

Ref document number: 12920366

Country of ref document: US

Ref document number: 2009723025

Country of ref document: EP

NENP Non-entry into the national phase

Ref country code: DE