RU45472U1 - Система питания дизельного двигателя - Google Patents
Система питания дизельного двигателя Download PDFInfo
- Publication number
- RU45472U1 RU45472U1 RU2004131758/22U RU2004131758U RU45472U1 RU 45472 U1 RU45472 U1 RU 45472U1 RU 2004131758/22 U RU2004131758/22 U RU 2004131758/22U RU 2004131758 U RU2004131758 U RU 2004131758U RU 45472 U1 RU45472 U1 RU 45472U1
- Authority
- RU
- Russia
- Prior art keywords
- fuel
- engine
- pressure pump
- high pressure
- diesel engine
- Prior art date
Links
- 239000000446 fuel Substances 0.000 claims abstract description 48
- 235000015112 vegetable and seed oil Nutrition 0.000 claims abstract description 15
- 239000008158 vegetable oil Substances 0.000 claims abstract description 15
- 238000010438 heat treatment Methods 0.000 claims abstract description 11
- 239000002828 fuel tank Substances 0.000 claims abstract description 9
- 230000037452 priming Effects 0.000 claims abstract description 6
- 238000002485 combustion reaction Methods 0.000 abstract description 5
- 235000004977 Brassica sinapistrum Nutrition 0.000 abstract description 2
- 238000004642 transportation engineering Methods 0.000 abstract description 2
- 244000188595 Brassica sinapistrum Species 0.000 abstract 1
- 235000013311 vegetables Nutrition 0.000 abstract 1
- 230000015572 biosynthetic process Effects 0.000 description 4
- 238000000034 method Methods 0.000 description 4
- 239000000203 mixture Substances 0.000 description 4
- CURLTUGMZLYLDI-UHFFFAOYSA-N Carbon dioxide Chemical compound O=C=O CURLTUGMZLYLDI-UHFFFAOYSA-N 0.000 description 2
- 238000001816 cooling Methods 0.000 description 2
- 230000007423 decrease Effects 0.000 description 2
- 239000002283 diesel fuel Substances 0.000 description 2
- 238000005485 electric heating Methods 0.000 description 2
- 239000007789 gas Substances 0.000 description 2
- 239000007924 injection Substances 0.000 description 2
- 238000002347 injection Methods 0.000 description 2
- 239000000126 substance Substances 0.000 description 2
- 241001133760 Acoelorraphe Species 0.000 description 1
- 240000002791 Brassica napus Species 0.000 description 1
- 244000068988 Glycine max Species 0.000 description 1
- 235000010469 Glycine max Nutrition 0.000 description 1
- 244000020551 Helianthus annuus Species 0.000 description 1
- 235000003222 Helianthus annuus Nutrition 0.000 description 1
- 230000002411 adverse Effects 0.000 description 1
- 229910002092 carbon dioxide Inorganic materials 0.000 description 1
- 239000001569 carbon dioxide Substances 0.000 description 1
- 238000006243 chemical reaction Methods 0.000 description 1
- 239000002826 coolant Substances 0.000 description 1
- 238000010586 diagram Methods 0.000 description 1
- 230000007613 environmental effect Effects 0.000 description 1
- 239000000295 fuel oil Substances 0.000 description 1
- 230000008092 positive effect Effects 0.000 description 1
- 238000011045 prefiltration Methods 0.000 description 1
- 239000000243 solution Substances 0.000 description 1
- 230000001988 toxicity Effects 0.000 description 1
- 231100000419 toxicity Toxicity 0.000 description 1
- 238000010792 warming Methods 0.000 description 1
Landscapes
- Output Control And Ontrol Of Special Type Engine (AREA)
Abstract
Полезная модель относится к двигателям внутреннего сгорания, а именно к дизельным двигателям, работающим на различных видах топлива и может быть использована в транспортном машиностроении. Система питания дизельного двигателя содержит топливный бак, фильтры грубой и тонкой очистки топлива, топливоподкачивающий насос, насос высокого давления, форсунки, размещенные в цилиндрах двигателя, подающий и сливной трубопроводы. Новым в системе питания является то, что, она снабжена системой запуска двигателя и подогрева топлива на основе растительных масел. Эта система включает свечи накаливания с реле их подогрева, установленные в цилиндрах двигателя, фильтр с электроподогревом и теплообменник, размещенные в дополнительном трубопроводе, который связывает топливный бак с насосом высокого давления. Система снабжена переключателем вида топлива, расположенным в подающем трубопроводе. Технический результат от использования полезной модели заключается в том, что в качестве основного в дизельном двигателе может быть применено более дешевое и экологически безвредное топливо на основе растительных масел (рапсового, растительного и т.д.).
Description
Полезная модель относится к двигателям внутреннего сгорания, а именно к дизельным двигателям, работающим на различных видах топлива, и может быть использована в транспортном машиностроении.
Известна система питания дизельного двигателя КамАз, содержащая штатную топливную аппаратуру, включающую топливный бак, фильтры грубой и тонкой очистки топлива, топливоподкачивающий насос, насос высокого давления, форсунки, размещенные в цилиндрах двигателя и подающий и сливной трубопроводы (см.книгу «Автомобиль», авторы B.C.Калисский, А.И.Манзон, Г.Е.Нагула, Москва, изд. «Транспорт», 1984 г., стр.88).
При эксплуатации дизельного двигателя с подобной системой питания используется дешевое топливо, что определяет его экономичность.
Однако, ужесточение норм выбросов вредных веществ с отработавшими газами, ограничение эмиссии диоксида углерода заставляют искать пути уменьшения опасности воздействия дизельных двигателей на окружающую среду. С этой целью, в настоящее время, во всем мире активно ведутся работы по переводу дизелей на альтернативное топливо на основе растительных масел (рапсового, соевого, подсолнечного, пальмового).
Поэтому технической задачей полезной модели является создание системы питания, обеспечивающей работу дизельного двигателя, как на традиционном топливе, так и на топливе на основе растительных масел, что позволит значительно улучшить эксплуатационные качества двигателя.
Экспериментальное исследование основных физико-химических показателей топлива на основе растительных масел показало некоторые их
отличия от показателей дизельного топлива. Изучение процессов впрыскивания и смесеобразования выявило, что средний диаметр капель при использовании топлива на основе растительных масел увеличивается, а угол раскрытия струи - уменьшается, соответственно дальнобойность струи увеличивается. Изменение этих показателей привело к тому, что до 79% топлива попадает на стенки камеры сгорания, что уменьшает долю объемного смесеобразования и отрицательно сказывается на процессах смесеобразования и сгорания. Это ведет к снижению эффективности показателей двигателя, в частности увеличивается расход топлива. Расчетные исследования позволяют сделать выводы, что для обеспечения технико-экономических показателей при применении топлива на основе растительного масел необходима интенсификация процессов впрыскивания, смесеобразования и сгорания. Положительное влияние на эти процессы оказывает разогрев двигателя при запуске и подогрев топлива до 50°-70°С во время работы двигателя.
Для этого система питания дизельного двигателя, содержащая штатную топливную аппаратуру, включающую топливный бак, фильтры грубой и тонкой очистки топлива, топливоподкачивающий насос, насос высокого давления, форсунки, размещенные в цилиндрах двигателя, подающий и сливной трубопроводы, снабжена системой запуска двигателя и подогрева топлива на основе растительного масла, содержащей свечи накаливания с реле их нагрева, установленные в цилиндрах двигателя, фильтр с электроподогревом и теплообменник, размещенные в дополнительном трубопроводе, который связывает топливный бак с насосом высокого давления и оснащена переключателем вида топлива, расположенном в подающем трубопроводе.
Подогрев топлива в фильтре с электроподогревом, а также наличие в системе свечей накаливания с реле их нагрева, позволяющих за несколько секунд нагреть воздух в цилиндрах двигателя до SOO°-900°C, обеспечивает быстрый запуск дизеля, работающего на растительном топливе. Наличие же
теплообменника, связанного с системой охлаждения двигателя, обеспечивает постоянный подогрев топлива на основе растительного масла до 50°С при работе двигателя. Размещение фильтра с подогревом и теплообменника в дополнительном трубопроводе, который связывает топливный бак с насосом высокого давления, а также оснащение системы питания переключателем вида топлива, обеспечивают работу двигателя, как на дизельном топливе, так и на топливе на основа растительного масла.
Из анализа научно-технической и патентной литературы заявляемой совокупности конструктивных признаков не выявлено. Что позволяет сделать вывод о соответствии технического решения критерию «новизна».
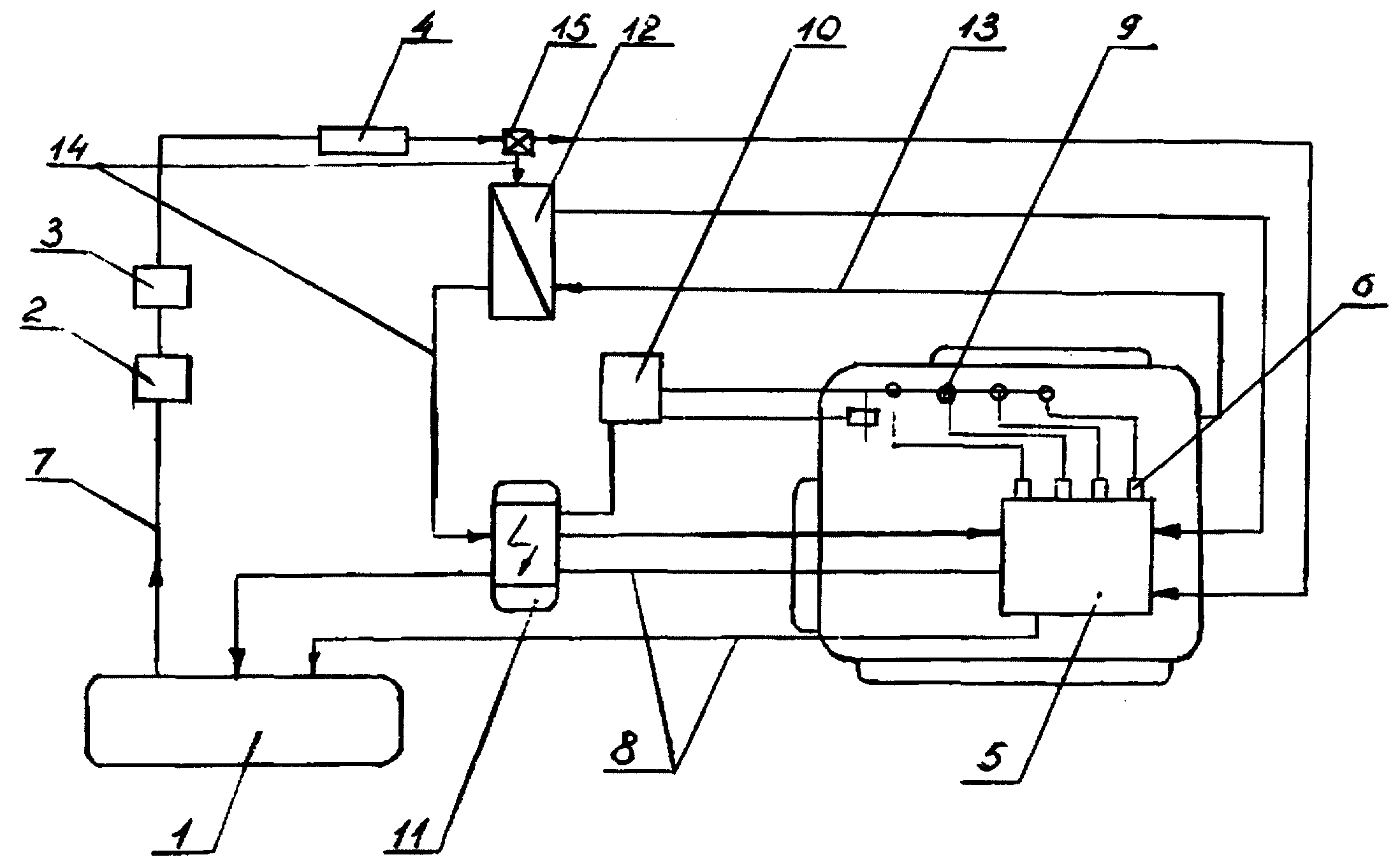
На фигуре изображена схема системы питания дизельного двигателя.
Система питания дизельного двигателя включает топливный бак 1, фильтр грубой очистки топлива 2 и фильтр тонкой очистки топлива 3, топливоподкачивающий насос 4, насос высокого давления 5, форсунки 6, установленные в цилиндрах двигателя (на фиг. не показано), подающий трубопровод 7, сливной трубопровод 8. Система снабжена системой запуска двигателя и подогрева топлива на основе растительного масла содержащей свечи накаливания 9 с реле их нагрева 10, размещенные в цилиндрах двигателя, фильтр с электроподогревом 11 и теплообменник 12, связанный с системой охлаждения двигателя (на фиг.не показано). Фильтр 11 и теплообменник 12 установлены в дополнительных трубопроводах 13, 14. Система питания оснащена переключателем вида топлива 15, размещенным в подающем трубопроводе 7.
При работе двигателя, дизельное топливо из бака 1 при помощи топливоподкачивающего насоса 4, по подающему трубопроводу 7, через фильтры 2 и 3 подается в насос высокого давления 5. Далее, через форсунки 6 в мелкораспыленном виде топливо впрыскивается в цилиндры в соответствии с порядком работы двигателя. Излишнее топливо от насоса
высокого давления 5 и форсунок 6 возвращается по сливному трубопроводу 8 в бак 1.
Запуск двигателя, при использовании топлива на основе растительного масла, осуществляется следующим образом: подается электропитание на свечи накаливания 9. Свечи 9 за несколько секунд нагреваются до 800°-900°С, о чем водителю с помощью реле 10 сигнализирует контрольная лампочка. Двигатель готов к запуску. Электропитание со свечей 9 снимается автоматически. Срабатывает переключатель вида топлива 15. Топливо на основе растительного масла из бака 1 по дополнительному трубопроводу 13 поступает в фильтр с электроподогревом 11, где оно подогревается и через насос высокого давления 5, форсунки 6 поступает в цилиндры двигателя. Двигатель начинает работать. При дальнейшей работе двигателя топливо по дополнительному трубопроводу 14 поступает в теплообменник 12, связанный с охлаждающей жидкостью двигателя, и нагреваясь до 50°С поступает в насос высокого давления 5.
Предлагаемая система питания позволит в качестве основного использовать более дешевое топливо на основе растительного масла, улучшить работу дизельного двигателя, снизить токсичность отработавших газов.
Claims (1)
- Система питания дизельного двигателя, содержащая штатную топливную аппаратуру, включающую топливный бак, фильтры грубой и тонкой очистки топлива, топливоподкачивающий насос, насос высокого давления, форсунки, установленные в цилиндрах двигателя, подающий и сливной трубопроводы, отличающаяся тем, что она снабжена системой запуска двигателя и подогрева топлива на основе растительного масла, содержащей свечи накаливания с реле их нагревав, установленные в цилиндрах двигателя, фильтр с электроподогревом и теплообменник, размещенные в дополнительном трубопроводе, который связывает топливный бак с насосом высокого давления, и оснащена переключателем вида топлива, расположенным в подающем трубопроводе.
Priority Applications (1)
| Application Number | Priority Date | Filing Date | Title |
|---|---|---|---|
| RU2004131758/22U RU45472U1 (ru) | 2004-11-03 | 2004-11-03 | Система питания дизельного двигателя |
Applications Claiming Priority (1)
| Application Number | Priority Date | Filing Date | Title |
|---|---|---|---|
| RU2004131758/22U RU45472U1 (ru) | 2004-11-03 | 2004-11-03 | Система питания дизельного двигателя |
Publications (1)
| Publication Number | Publication Date |
|---|---|
| RU45472U1 true RU45472U1 (ru) | 2005-05-10 |
Family
ID=35747621
Family Applications (1)
| Application Number | Title | Priority Date | Filing Date |
|---|---|---|---|
| RU2004131758/22U RU45472U1 (ru) | 2004-11-03 | 2004-11-03 | Система питания дизельного двигателя |
Country Status (1)
| Country | Link |
|---|---|
| RU (1) | RU45472U1 (ru) |
Cited By (6)
| Publication number | Priority date | Publication date | Assignee | Title |
|---|---|---|---|---|
| RU2327054C1 (ru) * | 2006-12-07 | 2008-06-20 | Государственное образовательное учреждение высшего профессионального образования Марийский государственный университет | Система приготовления топливовоздушной смеси для двигателя внутреннего сгорания с принудительным воспламенением |
| RU2334118C1 (ru) * | 2007-01-09 | 2008-09-20 | Государственное образовательное учреждение высшего профессионального образования Марийский государственный технический университет | Система приготовления топливовоздушной смеси для двигателя внутреннего сгорания с принудительным воспламенением |
| RU2339837C2 (ru) * | 2006-11-27 | 2008-11-27 | Государственное образовательное учреждение высшего профессионального образования Марийский государственный технический университет | Система приготовления топливно-воздушной смеси для двигателя внутреннего сгорания с принудительным воспламенением |
| RU2432488C2 (ru) * | 2010-01-11 | 2011-10-27 | Общество С Ограниченной Ответственностью Производственно-Коммерческий Центр "Формат" | Способ выбора и подачи различных видов топлива в двигатель внутреннего сгорания |
| RU2433298C2 (ru) * | 2009-12-24 | 2011-11-10 | Открытое Акционерное Общество "Российские Железные Дороги" | Система питания тепловозного двигателя |
| RU2442016C2 (ru) * | 2007-08-20 | 2012-02-10 | Роберт Бош Гмбх | Способ и устройство впрыска топлива в камеру сгорания двигателя внутреннего сгорания |
-
2004
- 2004-11-03 RU RU2004131758/22U patent/RU45472U1/ru not_active IP Right Cessation
Cited By (6)
| Publication number | Priority date | Publication date | Assignee | Title |
|---|---|---|---|---|
| RU2339837C2 (ru) * | 2006-11-27 | 2008-11-27 | Государственное образовательное учреждение высшего профессионального образования Марийский государственный технический университет | Система приготовления топливно-воздушной смеси для двигателя внутреннего сгорания с принудительным воспламенением |
| RU2327054C1 (ru) * | 2006-12-07 | 2008-06-20 | Государственное образовательное учреждение высшего профессионального образования Марийский государственный университет | Система приготовления топливовоздушной смеси для двигателя внутреннего сгорания с принудительным воспламенением |
| RU2334118C1 (ru) * | 2007-01-09 | 2008-09-20 | Государственное образовательное учреждение высшего профессионального образования Марийский государственный технический университет | Система приготовления топливовоздушной смеси для двигателя внутреннего сгорания с принудительным воспламенением |
| RU2442016C2 (ru) * | 2007-08-20 | 2012-02-10 | Роберт Бош Гмбх | Способ и устройство впрыска топлива в камеру сгорания двигателя внутреннего сгорания |
| RU2433298C2 (ru) * | 2009-12-24 | 2011-11-10 | Открытое Акционерное Общество "Российские Железные Дороги" | Система питания тепловозного двигателя |
| RU2432488C2 (ru) * | 2010-01-11 | 2011-10-27 | Общество С Ограниченной Ответственностью Производственно-Коммерческий Центр "Формат" | Способ выбора и подачи различных видов топлива в двигатель внутреннего сгорания |
Similar Documents
| Publication | Publication Date | Title |
|---|---|---|
| RU2674168C2 (ru) | Двигатель внутреннего сгорания, использующий в качестве топлива смесь на основе воды, и способ его работы | |
| US8590505B2 (en) | Method of operating a compression ignition internal combustion engine | |
| CN101135280A (zh) | 4冲程汽油机缸内喷水装置 | |
| CN102378859B (zh) | 二冲程内燃发动机 | |
| CN104929767A (zh) | 一种电控直喷多燃料两冲程发动机 | |
| RU45472U1 (ru) | Система питания дизельного двигателя | |
| RU199249U1 (ru) | Система питания топливом подогревателя воздуха на впуске дизеля | |
| CN104005887A (zh) | 发动机雾化供油改汽化供油法 | |
| WO2018069360A1 (en) | A combustion engine | |
| CN102777247A (zh) | 储热燃烧式发动机 | |
| CN213870068U (zh) | 一种两冲程燃烧控制系统及具有其的车辆 | |
| CN1814997A (zh) | 喷水增压内燃机 | |
| CN106224087B (zh) | 一种应用高压低燃值气体燃料的发动机 | |
| CN209671120U (zh) | 发动机的复合喷射系统 | |
| CN116006317A (zh) | 一种燃料与纯氧燃烧内燃发动机及其使用方法 | |
| RU2239705C1 (ru) | Четырехтактный двигатель внутреннего сгорания | |
| CN1201865A (zh) | 一种内燃蒸气发动机 | |
| CN110273787A (zh) | 一种油水混合动力内燃机 | |
| CN204357587U (zh) | 一种汽油气化装置 | |
| CN2260175Y (zh) | 一种内燃蒸气发动机 | |
| CN103573484A (zh) | 内燃机燃料气化装置 | |
| CN201176896Y (zh) | 活塞式燃气内燃机上的点燃装置 | |
| CN1821567A (zh) | 发动机回热式复合喷燃系统 | |
| WO2016066069A1 (zh) | 一种电控汽油气化装置 | |
| CN201180593Y (zh) | 汽车节能环保装置 |
Legal Events
| Date | Code | Title | Description |
|---|---|---|---|
| MM1K | Utility model has become invalid (non-payment of fees) |
Effective date: 20051104 |
