RU2444103C2 - Устройство мониторинга зарядки - Google Patents
Устройство мониторинга зарядки Download PDFInfo
- Publication number
- RU2444103C2 RU2444103C2 RU2010106114/07A RU2010106114A RU2444103C2 RU 2444103 C2 RU2444103 C2 RU 2444103C2 RU 2010106114/07 A RU2010106114/07 A RU 2010106114/07A RU 2010106114 A RU2010106114 A RU 2010106114A RU 2444103 C2 RU2444103 C2 RU 2444103C2
- Authority
- RU
- Russia
- Prior art keywords
- circuit
- current
- lines
- voltage
- detection
- Prior art date
Links
Images
Landscapes
- Charge And Discharge Circuits For Batteries Or The Like (AREA)
- Testing Of Short-Circuits, Discontinuities, Leakage, Or Incorrect Line Connections (AREA)
Abstract
Устройство мониторинга зарядки содержит переключатель, расположенный между секцией нагрузки, включающей в себя аккумулятор, и внешним источником питания переменного тока, подающим ток на секцию нагрузки через множество линий, и прерывающий подачу тока на секцию нагрузки из внешнего источника питания переменного тока; схему детектирования тока, которая выводит сигнал детектирования, соответствующий разности в уровнях между токами, протекающими через линии; схему подавления, которая подавляет составляющую постоянного тока, содержащуюся в сигнале детектирования; схему фильтра, которая фильтрует множество частотных составляющих, содержащихся в сигнале детектирования, таким образом, чтобы по мере увеличения частоты затухание усиливалось; сглаживающую схему выпрямителя, которая выпрямляет и сглаживает выходной сигнал, полученный при прохождении сигнала детектирования через схему фильтра и схему подавления; и схему определения утечки тока, которая детектирует утечку тока и выключает переключатель, когда уровень сигнала, сглаженного посредством сглаживающей схемы выпрямителя, превышает предварительно установленный опорный уровень. Технический результат - повышение точности детектирования тока утечки. 2 н. и 11 з.п. ф-лы, 7 ил.
Description
Область техники
Настоящее изобретение относится к устройству мониторинга зарядки, которое устанавливается между секцией нагрузки, включающей в себя аккумулятор, и внешним источником питания переменного тока, и которое содержит схему детектирования утечки тока и переключатель, предназначенный для отсоединения секции нагрузки от внешнего источника питания переменного тока, когда схема детектирования утечки тока определяет возникновение утечки тока.
Предшествующий уровень техники
Известны система вспомогательного электроснабжения, которая при необходимости способна использовать электроэнергию, накопленную в аккумуляторе, или электрическое транспортное средство, которое приводится в движение за счет электроэнергии из аккумулятора. Аккумулятор, предусмотренный в таких устройствах, заряжается главным образом посредством промышленного или бытового внешнего источника питания переменного тока. В этом случае во время зарядки может возникнуть утечка тока из-за плохого соединения между линией зарядки и устройством или из-за дефекта изоляции аккумулятора устройства. Желательно, чтобы подобная утечка тока детектировалась на более ранней стадии, чтобы избежать поражения электрическим током, отказа устройства или понижения эффективности зарядки. Более того, в структуре, где устройство изолировано от земли, электрический заряд, обусловленный утечкой тока во время зарядки, проходит в землю через тело человека, вызывая дискомфортные ощущения.
В публикации Японской патентной заявки Н11-205909 (патентный документ 1) раскрыта схема зарядки, содержащая выключатель утечки на землю, который детектирует утечку во время зарядки, и настенная розетка. Этот выключатель утечки на землю, предусмотренный между внешним источником питания и реле зарядки электрического транспортного средства, содержит элемент Холла, реле утечки на землю и схему детектирования. Элемент Холла выводит электрический сигнал, когда схема зарядки замыкается накоротко, и схема детектирования переводит реле утечки на землю из замкнутого состояния в разомкнутое состояние, чтобы разъединить схему зарядки в ответ на сигнал напряжения от элемента Холла. Тем не менее, согласно патентному документу 1, схема детектирования не предназначена для детектирования малых утечек на землю, а только для детектирования наличия/отсутствия короткого замыкания в схеме зарядки.
В качестве устройства для детектирования малых утечек на землю обычно используется устройство мониторинга утечки на землю, которое содержит трансформатор нулевой последовательности на каждой из двух линий переменного тока от внешнего источника питания переменного тока и которое детектирует разность между токами, протекающими через эти линии, чтобы детектировать утечку тока.
В связи с этим, в качестве схемы управления зарядкой для зарядки аккумулятора, в общем случае, применяют либо схему для зарядки переменным током от внешнего источника питания переменного тока, либо схему инвертора с высокочастотной переключающей схемой или т.п. для преобразования напряжения и последующей зарядки. При выполнении зарядки посредством этих двух типов схем управления зарядкой избыточный ток временно протекает через конденсатор подавления помех, чтобы поглотить и сбалансировать разность напряжения между внешним источником питания переменного тока и аккумулятором, когда внешний источник питания переменного тока и аккумулятор соединяются друг с другом или когда начинается зарядка. В результате имеет место риск неправильного срабатывания устройства мониторинга утечки на землю. В предшествующем уровне техники меры для решения этой проблемы не применялись, и, следовательно, точность детектирования утечки на землю имеет определенные ограничения в отношении предотвращения неправильного срабатывания. Схожая проблема также может возникнуть в бытовой, коммерческой или промышленной сферах, где зарядка аккумулятора используется не для зарядки аккумулятора в транспортных средствах, а для других целей.
Краткое изложение существа изобретения
Задачей настоящего изобретения является создание устройства мониторинга зарядки, которое способно предотвращать ложное детектирование, вызываемое временным избыточным током на стороне нагрузки, который генерируется при запуске зарядки, когда батарея заряжается как секция нагрузки от внешнего источника питания переменного тока, так что могут быть детектированы малые утечки тока.
Согласно одному аспекту настоящего изобретения устройство мониторинга зарядки содержит: переключатель, который размещен между секцией нагрузки, включающей в себя аккумулятор, и внешним источником питания переменного тока, подающим ток на секцию нагрузки через множество линий, и который прерывает подачу тока на секцию нагрузки от внешнего источника питания переменного тока; схему детектирования тока, которая выводит сигнал детектирования, соответствующий разности в уровнях между токами, протекающими через линии; схему подавления, которая подавляет составляющую постоянного тока в сигнале детектирования; схему фильтра, которая фильтрует множество частотных составляющих, содержащихся в сигнале детектирования таким образом, чтобы по мере увеличения частоты затухание усиливалось; сглаживающую схему выпрямителя, которая выпрямляет и сглаживает выходной сигнал, полученный при прохождении сигнала детектирования через схему фильтра и схему подавления; и схему определения утечки тока, которая детектирует утечку тока и выключает переключатель, когда уровень сигнала, сглаженного посредством сглаживающей схемы выпрямителя, превышает предварительно установленный опорный уровень.
Согласно этой конфигурации, когда выполняется зарядка, устройство для мониторинга зарядки размещено между секцией нагрузки, включающей в себя аккумулятор, и внешним источником питания. Если во время зарядки схема определения утечки тока определяет, что во время зарядки возникла утечка тока, то переключатель разъединяет секцию нагрузки от внешнего источника питания переменного тока, в результате чего зарядка прекращается. Схема детектирования тока выводит сигнал детектирования напряжения, соответствующий разности в уровне между токами, протекающими через линии внешнего источника питания переменного тока. Этот сигнал детектирования выводится как сигнал, имеющий ту же фазу, что и переменный ток, протекающий через каждую линию. Схема подавления подавляет составляющую постоянного тока, содержащуюся в этом сигнале детектирования. Кроме того, схема фильтра фильтрует множество частотных составляющих, содержащихся в сигнале детектирования, таким образом, чтобы по мере увеличения частоты затухание усиливалось. Иначе говоря, схема фильтра выполняет фильтрацию таким образом, чтобы множество частотных составляющих ориентировочно соответствовало минимально ощутимому току. Сглаживающая схема выпрямителя выпрямляет и сглаживает выходной сигнал, проходящий через схему фильтра и схему подавления, и выводит выпрямленный и сглаженный выходной сигнал в схему определения утечки тока. Схема определения утечки тока генерирует и выводит сигнал выключения для выключения переключателя, когда уровень выходного сигнала сглаживающей схемы выпрямителя превышает предварительно заданный опорный уровень. В частности, если утечка тока отсутствует, то даже когда разность увеличивается с нуля посредством избыточного тока, который временно протекает через линии переменного тока после запуска зарядки, чтобы сбалансировать разность потенциалов между внешним источником питания переменного тока и схемой стороны нагрузки, составляющая постоянного тока в сигнале для этой разности подавляется. Следовательно, уровень постоянного тока в сигнале детектирования для разности подавляется, и дополнительно предотвращается ложное детектирование. Соответственно, наличие/отсутствие утечки тока может быть детектировано корректным образом.
Краткое описание чертежей
В дальнейшем изобретение поясняется описанием предпочтительных вариантов воплощения со ссылками на сопроводительные чертежи, на которых:
фиг.1 изображает структурную схему, иллюстрирующую вариант осуществления для случая, когда устройство мониторинга зарядки согласно настоящему изобретению применяется к устройству зарядки, содержащему аккумулятор;
фиг.2 изображает структурную схему, подробно иллюстрирующую пример схемы детектирования утечки тока, показанной на фиг.1;
фиг.3 изображает принципиальную схему, иллюстрирующую пример фильтра низких частот, показанного на фиг.2;
фиг.4 изображает диаграмму, иллюстрирующую пример частотной характеристики фильтра низких частот, в которой уровень тока, содержащего множество частот, ассоциируется с порогом восприятия (током срабатывания);
фиг.5 изображает структурную схему, подробно иллюстрирующую устройство мониторинга напряжения, показанное на фиг.1;
фиг.6 изображает принципиальную схему, иллюстрирующую пример конфигурации схемы мониторинга напряжения, показанной на фиг.5;
фиг.7 изображает структурную схему еще одного варианта осуществления устройства мониторинга напряжения, показанного на фиг.1.
Описание предпочтительных вариантов осуществления изобретения
Фиг.1 представляет собой структурную схему, иллюстрирующую вариант осуществления для случая, когда устройство мониторинга зарядки согласно настоящему изобретению применяется к зарядному устройству, содержащему аккумулятор. Как показано на фиг.1, устройство 1 мониторинга зарядки имеет штекер P1, соединенный с внешним источником питания переменного тока, штекер (разъем) P2, соединенный с аккумулятором зарядного устройства (секцией нагрузки), и расположенный между штекерами P1 и P2 блок 2 схемы для мониторинга зарядки аккумулятора. Между штекерами P1 и P2 предусмотрены линии L1, L2 переменного тока (Фаза, Ноль), линия земли (GND) и управляющая сигнальная линия между устройством 1 мониторинга зарядки и секцией нагрузки.
Блок 2 схемы для мониторинга зарядки аккумулятора содержит переключатель 11, служащий в качестве электромагнитного реле (выключателя) между линиями L1, L2 переменного тока, трансформатор 12 нулевой последовательности (ТНП), служащий как схема детектирования тока, расположенная между линиями L1, L2 переменного тока на стороне внешнего источника питания переменного тока, и электромагнитное реле 13, используемое для тестирования. Следует отметить, что вместо электромагнитного реле 13 может быть использован полупроводниковый переключающий элемент, такой как фотореле со структурой металл-оксид-полупроводник и т.п.
Переключатель 11 содержит релейные контакты 111, 112, замыкающие линии L1, L2 переменного тока соответственно. Электромагнитное реле 13 включено между линиями L1, L2 переменного тока, с обеих сторон ТНП 12. Иначе говоря, на одной стороне ТНП 12 одна из линий L1, L2 переменного тока соединяется с другой из линий L1, L2 переменного тока на другой стороне ТНП 12 через последовательную схему резистора R13 и электромагнитного реле 13 по наружной стороне ТНП 12.
Блок 2 схем содержит схему 21 источника питания, схему 22 управления, схему 23 детектирования утечки тока, устройство 24 мониторинга заземления, устройство 25 мониторинга напряжения (детектор состояния контакта) и схему 26 тестирования (часть средства детектирования состояния контакта, часть определения спайки). Схема 21 источника питания соединена с линиями L1, L2 переменного тока на внутренней стороне штекера P1 и с внешним источником питания переменного тока, и она генерирует напряжение питания определенного уровня, которое требуется для каждой части схемы.
Схема 22 управления посредством схемы 51 управления зарядкой (фиг.2) осуществляет связь для проверки соединения с аккумулятором 53, выполняет операцию тестирования и разрешает запуск зарядки. Схема 23 детектирования утечки тока детектирует утечку на основании выходного сигнала ТНП 12.
Устройство 25 мониторинга напряжения соединено с линями L1, L2 переменного тока на внутренней стороне штекера P2, и оно детектирует напряжение между линиями L1, L2 переменного тока. Дополнительно, линии S-GND субземли, которые отделяются от линии GND земли, вводятся в устройство 25 мониторинга напряжения через ТНП 12 (как первичная сторона). Схема 26 тестирования выполняет операцию тестирования переключателя 11 и уведомляет схему 22 управления о результате этого тестирования.
Катушка 230 возбуждения, предусмотренная на выходной стороне схемы 23 детектирования утечки тока, представляет собой катушку возбуждения переключателя 11. Когда схема 23 детектирования утечки тока детектирует утечку, подача тока прекращается и контакты 111, 112 реле переключателя 11 переводятся в разомкнутое состояние. Дополнительно, при запуске зарядки ток протекает к катушке 230 возбуждения и контакты 111, 112 реле переводятся в замкнутое состояние.
Схема 22 управления активируется сразу после поступления питания из схемы 21 источника питания, после чего схема 22 управления, например, осуществляет связь для проверки соединения со схемой 51 управления зарядкой секции 50 нагрузки и после проверки соединения подает команду схеме 26 тестирования для выполнения тестирования. Когда на основании операции тестирования определяется, что секция 50 нагрузки работает в нормальном режиме, схема 22 управления разрешает начать зарядку.
Схема 26 тестирования переводит электромагнитное реле 13 в замкнутое состояние и создает на предварительно определенное время короткозамкнутую цепь между линиями L1, L2 переменного тока посредством резистора R13. На основании этой короткозамкнутой цепи в схеме 23 детектирования утечки тока детектируется возникновение аномалии (утечки тока), и переключатель 11 переводится в разомкнутое состояние. Когда, исходя из этого переключения, устройство 25 мониторинга напряжения детектирует, что напряжение между линиями L1, L2 переменного тока отсутствует, схема 26 тестирования выводит этот результат детектирования в схему 22 управления на основании того факта, что схема 23 детектирования утечки тока и переключатель 11 работают нормально.
Когда устройство 25 мониторинга напряжения детектирует аномалию, заключающуюся в отсутствии изменения напряжения, схема 26 тестирования выводит в схему 22 управления сигнал, указывающий наличие аномалии во время тестирования. Следует отметить, что проверка, выполняемая устройством 25 мониторинга напряжения, включает в себя проверку наличия/отсутствия спайки контактов 111, 112 переключателя 11. На фиг.5 показано устройство 25 мониторинга напряжения.
Когда из схемы 26 тестирования принимается сигнал, указывающий нормальное состояние секции 50 нагрузки, схема 22 управления подает команду секции 50 нагрузки начать зарядку. Когда принимается сигнал, указывающий аномальное состояние секции 50 нагрузки, схема 22 управления запрещает зарядку секции 50 нагрузки. Схема 23 детектирования утечки тока детектирует наличие/отсутствие аномалии в течение операции зарядки. Подробная иллюстрация схемы 23 детектирования утечки тока приведена на фиг.2.
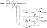
На фиг.5 показана структурная схема устройства 25 мониторинга напряжения, показанного на фиг.1. ТНП 12 сконфигурирован посредством вторичной обмотки (катушки), которая намотана вокруг круглого сердечника из, например, пермаллоя или другого электромагнитного материала, причем линии L1, L2 переменного тока и линия S-GND субземли вставлены в круглый сердечник. Линия S-GND субземли отделяется между штекером P1 и ТНП 12 в середине линии GND заземления и используется как общая линия (земля) устройства 25 мониторинга напряжения, как описано ниже.
Устройство 25 мониторинга напряжения сконфигурировано посредством первой и второй схем 251, 252 мониторинга напряжения, которые имеют, по существу, одинаковую конфигурацию. Первая схема 251 мониторинга напряжения сконфигурирована путем соединения схем в следующем порядке: схема 2511 отсечения постоянного тока (схема прерывания составляющей постоянного тока), которая предназначена для прерывания составляющей постоянного тока из входного сигнала и которая сконфигурирована посредством, например, конденсатора, схема 2512 выпрямления, которая предназначена для выпрямления входного сигнала переменного тока в сигнал постоянного тока, схема 2513 детектирования напряжения, которая предназначена для детектирования уровня выпрямленного сигнала напряжения, и схема 2514 определения, которая предназначена для детектирования или определения, превышает ли детектированный уровень напряжения предварительно определенную заданную величину. Аналогично, вторая схема 252 мониторинга напряжения сконфигурирована путем соединения схем в следующем порядке: схема 2521 отсечения постоянного тока (схема прерывания составляющей постоянного тока), схема 2522 выпрямления, схема 2523 детектирования напряжения и схема 2524 определения.
В первой схеме 251 мониторинга напряжения схема 2511 отсечения постоянного тока соединена с линией L1 переменного тока в позиции A через ТНП 12 и переключатель 11 на виде со стороны штекера P1. Общие стороны схемы 2511 отсечения постоянного тока, схемы 2512 выпрямления, схемы 2513 детектирования напряжения и схемы 2514 определения соединены с линией S-GND субземли. Во второй схеме 252 мониторинга напряжения схема 2521 отсечения постоянного тока соединена с линией L2 переменного тока в позиции B через ТНП 12 и переключатель 11 на виде со стороны штекера P1. Общие стороны схемы 2521 отсечения постоянного тока, схемы 2522 выпрямления, схемы 2523 детектирования напряжения и схемы 2524 определения соединены с линией S-GND субземли.
На фиг.6 показана принципиальная схема, иллюстрирующая пример конфигурации первой схемы 251 мониторинга напряжения и второй схемы 252 мониторинга напряжения. В первой схеме 251 мониторинга напряжения позиция A линии L1 переменного тока соединена с одним из входных зажимов компаратора CMP (схемы детектирования напряжения) через конденсатор Cm1 (третий конденсатор), резистор Rm1 (третий резистор) и диод D1. Точка соединения между резистором Rm1 и диодом D1 соединена с линией S-GND субземли через резистор Rm2 (четвертый резистор). Точка соединения между диодом D1 и компаратором CMP соединена с линией S-GND субземли через конденсатор Cm2 (четвертый конденсатор).
Источник E опорного напряжения, который генерирует предварительно установленное опорное напряжение, соединен с другим входным зажимом компаратора CMP. В этом случае конденсатор Cm1 совпадает, например, с конденсатором схемы 2511 отсечения постоянного тока, диод D1 совпадает, например, с диодом схемы 2512 выпрямления, а компаратор CMP совпадает с компаратором схемы 2513 детектирования напряжения и схемой 2514 определения.
Схема 252 мониторинга напряжения имеет такую же конфигурацию, что и схема 251 мониторинга напряжения, за исключением того, что вместо позиции A с конденсатором Cm1 соединена позиция B линии L2 переменного тока. Соответственно, описание конфигурации схемы 252 мониторинга напряжения опущено.
Ниже описана операция детектирования состояния спайки переключателя 11, выполняемая устройством 25 мониторинга напряжения. Во-первых, схема 26 тестирования выводит сигнал инструкции для изменения состояния переключателя 11 на разомкнутое состояние. В частности, прекращается подача тока возбуждения на катушку 230 возбуждения. Когда каждый из релейных контактов 111, 112 работает нормально (то есть при отсутствии спайки), оба этих контакта переходят в разомкнутое состояние. В противном случае, по меньшей мере, один из аномальных (спаянных) релейных контактов 111, 112 остается в замкнутом состоянии.
Затем схема 26 выводит в первую и вторую схемы 251, 252 мониторинга напряжения инструкцию для выполнения операции детектирования. В ответ на эту инструкцию первая и вторая схемы 251, 252 мониторинга напряжения начинают операцию детектирования и выводят в схему 26 тестирования результат определения согласно детектированному уровню напряжения.
Когда оба контакта 111, 112 реле переключателя 11 работают нормально, разделенные линии L11, L21 разрываются и в результате напряжение не подается в устройство 25 мониторинга напряжения. Соответственно, напряжение также не подается в схемы 2511, 2521 отсечения постоянного тока. Тем не менее, постоянный ток, соответствующий накопительному заряду, может протекать от любого из конденсаторов C50, C51 и C52 поглощения разности потенциалов внутри секции 50 нагрузки (фиг.2), имеющей штекер TL, к схемам 251, 252 мониторинга напряжения, при этом конденсаторы поглощения разности потенциалов были описаны ранее.
Однако, поскольку схемы 251, 252 мониторинга напряжения снабжены схемами 2511, 2521 отсечения постоянного тока, постоянный ток, протекающий от любого из конденсаторов C50, C51 и C52, прерывается и не протекает к схемам 2512, 2522 выпрямления. Соответственно, в схемах 2513, 2523 детектирования напряжения предотвращается ложное детектирование напряжения от постоянного тока, протекающего от какого-либо из конденсаторов C50, C51 и C52. Путем предотвращения ложного детектирования напряжения в описанных выше схемах 2513, 2523 детектирования напряжения риск ложного детектирования аномалии в переключателе 11 в схемах 2514 и 2524 определения из-за постоянного тока, поступающего из конденсаторов C50, C51 и C52, снижается. Следовательно, даже в этом случае детектирование состояния спайки в переключателе 11 выполняется нормально.
В этой связи, когда выполняется детектирование спайки в электромагнитном реле, расположенном между внешним источником питания переменного тока и аккумулятором, как описано в патентном документе 1, если в конденсаторе в секции нагрузки накапливается заряд, то так называемая часть электропитания существует на обеих сторонах электромагнитного реле, и уровень детектируемого тока зависит от аккумулятора, как в вышеупомянутых конденсаторах C50, C51 и C52, и, соответственно, точное выполнение детектирования спайки не представляется возможным. Кроме того, когда линия земли внешнего источника питания переменного тока плавает относительно заземления, между двумя сторонами возникают емкостные соединения, которые влияют на величину детектируемого тока, и, соответственно, точное выполнение детектирования спайки не представляется возможным.
Тем не менее, согласно устройству 1 мониторинга зарядки, показанному на фиг.1, поскольку устройство 25 мониторинга напряжения содержит схемы 2511, 2521 отсечения постоянного тока (схемы прерывания составляющей постоянного тока), можно предусмотреть устройство мониторинга зарядки, которое устраняет влияние паразитных токов из другой секции и точно детектирует наличие/отсутствие переменного тока из внешнего источника питания переменного тока, так что может быть выполнено точное детектирование спайки контактов переключателя.
Так, когда один из релейных контактов 111, 112 переключателя, например релейный контакт 111, спаивается, напряжение прилагается к схеме 2511 отсечения постоянного тока только из-за входного сигнала переменного тока через линию L1 переменного тока. Генерируемое напряжение выпрямляется посредством схемы 2512 выпрямления, и уровень напряжения детектируется посредством схемы 2513 детектирования напряжения. Когда уровень напряжения превышает предопределенный заданный уровень, схема 2514 определения определяет, что присутствует аномалия. Следовательно, спайка релейного контакта 111 может быть детектирована.
Аналогично, когда спаиваются оба релейных контакта 111, 112, обе схемы 2514, 2524 определения определяют, что имеет место аномалия. Следовательно, в любом случае детектирование состояния спайки каждого из релейных контактов переключателя 11 выполняется корректно.
Следует отметить, что каждая из схем 251, 252 мониторинга напряжения сконфигурирована так, чтобы прерывать составляющую постоянного тока, которая вводится в схемы 2511, 2521 отсечения постоянного тока, и чтобы допускать прохождение только всех составляющих переменного тока к линии S-GND субземли. Следовательно, как описано ниже, по сравнению с конфигурацией, где составляющие переменного тока возвращаются в линию GND земли, в данной конфигурации количество сцепленных магнитных потоков первичной линии ТНП 12 может быть сбалансировано. В результате, независимо от наличия схем 251, 252 мониторинга напряжения, может быть обеспечен нормальный режим работы схемы 23 детектирования утечки тока. Следует отметить, что схемы 2513, 2523 детектирования напряжения могут обрабатываться цифровым образом. Так, схемы 2514, 2524 определения могут быть сконфигурированы путем выполнения процесса определения посредством программного обеспечения с использованием микрокомпьютера.
На фиг.2 показана структурная схема, подробно иллюстрирующая пример схемы 23 детектирования утечки тока. Как показано, секция 50 нагрузки имеет штекер TL, соединенный со штекером P2, причем линии L1, L2 переменного тока, линия GND земли и сигнальная линия управления могут быть соединены с секцией 50 нагрузки через этот штекер TL. Секция 50 нагрузки содержит хорошо известную схему 51 управления зарядкой инверторного типа, реле 52 и заряжаемый/перезаряжаемый аккумулятор 53. Следует отметить, что иллюстрация выходной стороны аккумулятора 53 опущена. Кроме того, в качестве схемы 51 управления зарядкой могут быть использованы различные системы. Например, напряжение каждой из линий L1, L2 переменного тока может быть переключено на высокой частоте, преобразовано в предварительно заданное напряжение постоянного тока и использовано для зарядки аккумулятора 53 через реле 52 посредством, например, тока величиной более десяти ампер. Реле 52 предназначено для остановки операции зарядки, когда аккумулятор 53 полностью заряжен.
Конденсатор C50 подключен между линиями L1, L2 переменного тока, конденсатор C51 подключен между линией L1 переменного тока и линией GND земли, конденсатор C52 подключен между линией L2 переменного тока и линией GND земли. Когда штекер P2 и штекер TL соединяются и начинается операция зарядки, эти конденсаторы C50, C51 и C52 могут генерировать разность потенциалов между линиями L1, L2 переменного тока из-за наложения избыточного тока, временно генерируемого для поглощения разности уровней напряжений между уровнем напряжения преобразования в схеме 51 управления зарядкой и уровнем напряжения линий L1, L2 переменного тока. Из-за выполнения операции переключения в схеме 51 управления зарядкой на высокой частоте ток высокочастотной помехи протекает через линии L1, L2 переменного тока, генерируя аналогичным образом разность потенциалов, в результате чего ток помехи на каждом уровне протекает к, по меньшей мере, одному из конденсаторов.
Указанный ток, протекающий к конденсаторам C50, C51, C52, генерирует разность в уровне тока между линиями L1, L2 переменного тока устройства 1 мониторинга зарядки. Разность в уровне тока между линиями L1, L2 переменного тока схожим образом генерируется из-за тока утечки, который вызывается из-за ухудшения изоляции вокруг линии системы питания, каждого соединительного штекера и аккумулятора 53, либо из-за короткозамкнутой цепи между землей и секцией с другим напряжением.
ТНП 12 детектирует подобную разность в уровне тока. ТНП 12 сконфигурирован посредством вторичной обмотки (катушки), которая намотана вокруг круглого сердечника, например, из пермаллоя или другого электромагнитного материала, причем линии L1, L2 переменного тока и линия земли вставлены в упомянутый круглый сердечник. Согласно этой конфигурации на обоих концах катушки индуцируется напряжение, соответствующее разности между количествами сцепленных магнитных потоков, которые генерируются посредством токов, обычно, с частотой 60 Гц, протекающих в противоположных друг другу направлениях по линиям L1, L2 переменного тока и линии земли (тем не менее, это не нужно учитывать в варианте осуществления с однофазным напряжением 200 В, поскольку линия земли соединена с землей). Следовательно, когда нормальный переменный ток протекает по линиям L1, L2 переменного тока, количества сцепленных магнитных потоков в противоположных друг другу направлениях становятся равны друг другу и разность становится равной нулю. Как результат, поскольку из ТНП 12 нет выхода, электрический ток утечки протекает к какой-либо одной из линий переменного тока, или уровень тока между линиями L1, L2 переменного тока меняется, когда накладывается ток из другой части. Следовательно, на каждом конце катушки ТНП 12 генерируется разностное напряжение.
Как описано со ссылкой на фиг.5, составляющая переменного тока, протекающего из линий L1, L2 переменного тока к устройству 25 мониторинга напряжения, возвращается в ТНП 12 через линию S-GND субземли благодаря схемам 2511, 2521 отсечения постоянного тока на входных ступенях схем 251, 252 мониторинга напряжения. Следовательно, даже когда разность генерируется в токе, протекающем к линиям L1, L2 переменного тока, из-за тока, протекающего в устройство 25 мониторинга напряжения в течение зарядки аккумулятора, разность в потоках, которая возникает в линиях L1, L2 переменного тока, смещается током, который возвращается в линию S-GND субземли. Таким образом, предотвращается ложное детектирование утечки тока благодаря устройству 25 мониторинга напряжения.
Упомянутый ток возвращается из устройства 25 мониторинга напряжения в линию S-GND субземли через резистор Rm2 и конденсатор Cm2, которые показаны на фиг.6.
Как указано выше при описании предшествующего уровня техники, во время зарядки может возникнуть утечка тока из-за плохого соединения между линией зарядки и устройством или из-за дефекта изоляции аккумулятора. Желательно, чтобы подобная утечка тока детектировалась как можно раньше, чтобы избежать поражения электрическим током, отказа устройства и понижения эффективности зарядки. Кроме того, в структуре, где устройство изолировано от земли, электрический заряд, обусловленный утечкой тока во время зарядки, протекает на землю через тело человека, вызывая дискомфортное ощущение.
Следовательно, как описано в патентном документе 1, зарядка выполняется в состоянии, когда зарядное устройство имеет реле, расположенное между внешним источником питания переменного тока и аккумулятором. Это реле представляет собой электромагнитное реле, которое имеет релейный контакт на двух линиях переменного тока, проходящих от внешнего источника питания переменного тока. Как описано в патентном документе 1, когда схема детектирования тока утечки подтверждает наличие тока утечки, состояние обоих релейных контактов электромагнитного реле одновременно переключается в разомкнутое состояние, для отсоединения внешнего источника питания переменного тока от стороны аккумулятора.
Поскольку аккумулятор подобного устройства заряжается током относительной большой величины (более десяти ампер), релейные контакты в электромагнитном реле многократно незначительно оплавляются из-за переходных пусковых токов, вызываемых многократными включениями и выключениями электромагнитного реле, и в некоторых случаях релейные контакты могут быть спаяны с фиксированным контактом. По этой причине применялось известное устройство, которое в составе устройства мониторинга зарядки имело схему для детектирования спайки электромагнитного реле. Эта схема детектирования спайки детектирует наличие/отсутствие напряжения между двумя линиями переменного тока, когда есть соединение с внешним источником питания переменного тока, и обеспечивает сигнал для приведения электромагнитного реле в разомкнутое состояние. Когда детектируется напряжение, детектируется наличие спайки.
Более того, для детектирования спайки между релейным контактом и фиксированной точкой, согласно публикации японской патентной заявки № 2006-310219, устройство детектирования спайки располагается между двумя питающими линиями, соединяющими аккумулятор с инвертором в электрическом транспортном средстве. Это устройство детектирования спайки сконфигурировано так, чтобы иметь возможность детектирования наличия/отсутствия спайки каждого из главных реле R1, R2, расположенных в двух питающих линиях, причем детектирование наличия/отсутствия спайки каждого главного реле позволяет детектировать аномалию реле на максимально ранней стадии, до спайки обоих релейных контактов.
Тем не менее, в устройстве детектирования спайки, описанном в публикации японского патента № 2006-310219, главные реле R1, R2 представляют собой тип отдельных реле, которые могут быть включены/выключены независимо друг от друга, причем операция детектирования выполняется последовательно, с приложением сигнала приведения в действие последовательно к каждому реле, и главные реле R1, R2 отличаются от электромагнитного реле, в котором релейные контакты включаются/выключаются синхронно. В качестве конфигурации схемы для индивидуального детектирования наличия/отсутствия спайки каждого релейного контакта рассматривается пара схем, которая детектирует наличие/отсутствие напряжения между каждой линией переменного тока и линией земли, когда передается инструкция для переключения электромагнитного реле в разомкнутое состояние.
С другой стороны, в отличие от патентного документа 1, в качестве обычно используемого устройства, способного детектировать малую утечку тока, рассматривается устройство мониторинга утечки тока, которое снабжено трансформатором нулевой последовательности с вставленными в него двумя линиями переменного тока в качестве первичной обмотки. Малый ток утечки может быть детектирован путем детектирования разности в уровне токов, протекающих по обеим линиям переменного тока. В этой конфигурации для детектирования разности в уровне токов, протекающих к обеим линиям переменного тока, как описано выше, когда пара схем для детектирования наличия/отсутствия напряжения между каждой линией переменного тока и линией земли используется как схема детектирования спайки, токи, протекающие через обе линии переменного тока, становятся несбалансированными из-за тока, который протекает между одной линией переменного тока и линией земли через схему детектирования спайки, в результате чего разность тока детектируется трансформатором нулевой последовательности, что приводит к неправильному срабатыванию схемы детектирования утечки тока.
Тем не менее, в устройстве 1 мониторинга зарядки, показанном на фиг.1, переменный ток, который протекает из линий L1, L2 переменного тока к устройству 25 мониторинга напряжения, возвращается в ТНП 12 через линию S-GND субземли. Следовательно, представляется возможным создать устройство мониторинга утечки тока, которое снабжено конфигурацией схем для индивидуального детектирования наличия/отсутствия спайки релейных контактов линий переменного тока путем детектирования напряжения между каждой линией переменного тока и линией земли, причем это устройство способно избегать ложного детектирования утечки тока малого уровня путем предотвращения влияния на точность детектирования утечки тока с использованием трансформатора нулевой последовательности.
В схеме 231 заземления нейтрали, действующей как схема подавления напряжения, последовательная схема, сконфигурированная из двух резисторов R1, R2 с одинаковой величиной сопротивления, и последовательная схема, сконфигурированная из двух конденсаторов C1, C2 с одинаковой величиной емкости, соединены параллельно с обоими концами катушки ТНП 12, и средняя точка между каждым из резисторов R1, R2 и средняя точка между каждым из конденсаторов C1, C2 заземлены. Детектированное напряжение катушки вводится в схему 232 дифференциального усилителя через схему 231 заземления нейтрали. В конфигурации, где оба зажима катушки ТНП 12 вводятся напрямую в дифференциальный усилитель, в дифференциальном усилителе напряжение разности временно генерируется как сигнал постоянного тока из катушки, когда избыточный ток налагается на одну из линий L1, L2 переменного тока при запуске зарядки. Тем не менее, путем использования схемы 231 заземления нейтрали временное протекание тока, имеющего составляющую постоянного тока, не приводит к смещению выходного сигнала к одной из полярностей, поскольку средняя точка выхода совпадает с землей. Соответственно, уровень составляющей постоянного тока подавляется. Следовательно, представляется возможным предотвратить ложное детектирование наличия тока утечки из-за наложения избыточного тока в линиях L1, L2 переменного тока, когда избыточный ток временно генерируется при начале зарядки.
Схема 232 дифференциального усилителя сконфигурирована из двух операционных усилителей, причем зажим катушки ТНП 12 соединен с одним из входных зажимов каждого операционного усилителя, тогда как земля соединена с другим входным зажимом. Разность между первым входным зажимом и последним входным зажимом усиливается и выводится, и получается разность между выводами двух операционных усилителей. В одном аспекте, где один операционный усилитель используется для усиления и вывода разности, напряжение смещения усилителя влияет на разность напряжения, и, следовательно, может возникнуть соответствующая ложная разность. Тем не менее, путем размещения двух операционных усилителей параллельно оба напряжения смещения смещаются, и усиливается разность входного напряжения и нулевого потенциала, в результате чего обеспечивается высокая точность.
Фильтр 233 низких частот (схема фильтра) представляет собой фильтр с частотной характеристикой тока утечки. Например, для случая, когда частота помехи и частота промышленного источника питания налагаются на ток утечки, пример схемы показан на фиг.3 на основании фильтра, приспособленного для случая, когда электрический ток утечки содержит множество частот (многочастотность).
Фильтр низких частот, показанный на фиг.3, имитирует отношение между частотой тока и величиной тока, которая воспринимается человеком (кривая безопасного тока). На фиг.3 фильтр 233 низких частот содержит первый входной зажим Ti1, второй входной зажим Ti2, первый выходной зажим To1 и второй выходной зажим To2.
Первый входной зажим Ti1 соединен с первым выходным зажимом To1 через резистор Rf1 (первый резистор). Последовательная схема, состоящая из конденсатора Cf1 (первый конденсатор) и резистора Rf2 (второй резистор), подключена между вторым выходным зажимом To2, соединенным с первым входным зажимом Ti1, и первым выходным зажимом To1. Конденсатор Cf2 (второй конденсатор) подключен параллельно к этой последовательной схеме.
Следовательно, сигнал, который выводится схемой 232 дифференциального усилителя между первым входным зажимом Ti1 и вторым входным зажимом Ti2, фильтруется посредством фильтра 233 низких частот и далее выводится между первым выходным зажимом To1 и вторым выходным зажимом To2, после чего сигнал выводится в фильтр 234 отсечения постоянного тока.
Кроме того, величина сопротивления резистора Rf1 составляет, например, 10 кОм, а величина сопротивления резистора Rf2 составляет, например, 20 кОм. Емкость конденсатора Cf1 составляет, например, 0,0062 мкФ, а емкость конденсатора Cf2 составляет, например, 0,0091 мкФ.
В настоящем устройстве желательно обеспечить частотную характеристику, соответствующую кривой безопасного тока для всей схемы 23 детектирования утечки тока, и желательно, чтобы фильтр 233 низких частот был предусмотрен с частотной характеристикой для обеспечения частотной характеристики, соответствующей кривой безопасного тока для всей схемы 23 утечки тока. В качестве фильтра 233 низких частот с заданной частотной характеристикой может использоваться фильтр 233 низких частот, показанный на фиг.3, который не имеет конденсатора Cf2 и в котором величина сопротивления резистора Rf1 задана равной 10 кОм, величина сопротивления резистора Rf2 равна 5,1 кОм, а емкость конденсатора Cf1 задана равной 390 пФ.
На фиг.4 показан пример частотной характеристики фильтра 233 низких частот, в котором уровень тока, содержащего множество частот, связан с порогом восприятия (током срабатывания) ("Threshold of Perception Current" by Dalziel. C. F, Proceedings of AIEE, часть III-B, стр. 990-996, 1954 г.).
Как показано на фиг.4, диаграмма, представленная сплошной линией, представляет ограничивающую величину тока, которая воспринимается человеком и прерывает утечку тока (ток срабатывания). Диаграмма, представленная пунктирной линией, представляет уровень определения тока утечки, который получается путем соответствующей установки опорного уровня в схеме 236 определения, описанной ниже, с использованием вышеупомянутого фильтра 233 низких частот.
Как показано на фиг.4, ток срабатывания равен приблизительно 5 мА, когда частота равна 50 Гц или 60 Гц, и уровень тока срабатывания увеличивается по мере увеличения частоты, причем частота и характеристика затухания сигнала регулируются согласно порогу восприятия. Следовательно, в фильтре 233 низких частот частотная характеристика задается таким образом, что затухание увеличивается по мере увеличения частоты, когда ток протекает через тело человека, при этом частотная характеристика задается таким образом, чтобы соответствовать отношению (кривой безопасного тока) между частотой тока и величиной тока, воспринимаемой человеком.
Когда в схеме детектирования утечки тока используется фильтр для промышленной частоты переменного тока, который пропускает 60 Гц, и когда ток помехи с частотой 1 кГц и величиной 5 мА накладывается на ток с частотой 60 Гц и величиной 3 мА, то в результате получается ток 8 мА. В результате, несмотря на то, что утечка тока должна быть прервана (выключена), ток помехи 1 кГц прерывается в схеме фильтра, и утечка тока не может быть детектирована или прервана.
Тем не менее, в устройстве 1 мониторинга зарядки частотная характеристика фильтра 233 низких частот задается таким образом, чтобы соответствовать отношению между частотой тока и величиной тока, воспринимаемой человеком (кривая безопасного тока). Даже в высокочастотной области, где предельная величина тока имеет высокое значение, прохождение частоты допускается при увеличении затухания согласно кривой безопасного тока, так что утечка тока может быть должным образом детектирована для тока утечки, в котором множество частот накладываются друг на друга.
Фильтр 234 отсечения постоянного тока прерывает составляющую постоянного тока из дифференциального напряжения, которое накладывается на линии L1, L2 переменного тока и детектируется на основании переходного тока, который временно генерируется при запуске зарядки. Фильтр 234 отсечения постоянного тока, как правило, конфигурируется из конденсатора отсечения постоянного тока. Поскольку составляющая постоянного тока прерывается этим фильтром 234 отсечения постоянного тока, обеспечивается возможность предотвратить ложное детектирование, которое подтверждает присутствие тока утечки, который вызван сигналом детектирования из-за наложения переходного тока, временно генерируемого при запуске зарядки. Следует отметить, что хотя схема 231 заземления нейтрали и фильтр 234 отсечения постоянного тока формируют схему подавления, они могут быть не только снабжены этими схемами, но также могут принять одну из этих схем.
Сглаживающая схема 235 выпрямителя выпрямляет, сглаживает и выводит выходной сигнал фильтра 234 отсечения постоянного тока. Операция выпрямления схемы 235 выпрямления и сглаживания может быть получена как конфигурация схемы двухполупериодного выпрямления, поскольку составляющая постоянного тока отсекается фильтром 234 отсечения постоянного тока. Кроме того, путем выполнения двухполупериодного выпрямления чувствительность и отклик детектирования утечки тока могут быть улучшены после подавления составляющей постоянного тока. Схема 236 определения (схема определения утечки тока) сконфигурирована как схема сравнения для сравнивания уровня входного сигнала с предустановленным опорным уровнем, причем когда уровень входного сигнала превышает опорный уровень, определяется, что генерируется утечка тока, подача тока на катушку 230 возбуждения прекращается, и замкнутое состояние переключателя 11, получаемое в течение зарядки, переключается в разомкнутое состояние, получаемое во время возникновения аномалии.
Следует отметить, что схема 236 определения может преобразовать входной сигнал в цифровой сигнал и выполнить процесс сравнительного определения посредством программного обеспечения с использованием микрокомпьютера. Более того, схема 236 определения может не содержать линию S-GND субземли.
В настоящем варианте осуществления, путем применения линии S-GND субземли в устройстве 25 мониторинга напряжения, высокоточная работа схемы 23 детектирования утечки тока гарантируется независимо от наличия устройства 25 мониторинга напряжения. Тем не менее, после операции тестирования, выполняемой до зарядки (в течение операции тестирования зарядки), например, предоставляется переключатель для электрического или механического разъединения устройства 25 мониторинга напряжения от линий L1, L2 переменного тока, так что влияние устройства 25 мониторинга напряжения может быть исключено. Альтернативно, могут быть предоставлены различные другие способы, чтобы подавить влияние наличия устройства 25 мониторинга напряжения на точность детектирования утечки тока. В этом случае другие варианты осуществления могут быть приняты в качестве устройства 25 мониторинга напряжения и, соответственно, линия S-GND субземли становится ненужной.
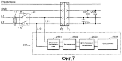
На фиг.7 представлена структурная схема еще одного варианта осуществления устройства мониторинга напряжения, показанного на фиг.1. Схема 250 мониторинга напряжения имеет ту же конфигурацию, что и схема 251 (252) мониторинга напряжения, показанная на фиг.5, и, следовательно, предусматривается со схемой 2501 отсечения постоянного тока, схемой 2502 выпрямления, схемой 2503 детектирования напряжения и схемой 2504 определения. Следует отметить, что схема 2501 отсечения постоянного тока на входной ступени схемы 250 мониторинга напряжения соединена с отделенными линиями L11, L21, полученными из линий L1, L2 переменного тока.
В этом варианте осуществления детектирование спайки не выполняется для отдельных релейных контактов 111, 112 переключателя 11, но спайка может быть детектирована, по меньшей мере, на одном из релейных контактов 111, 112. Согласно подобной конфигурации схемы может быть подавлена составляющая постоянного тока паразитного тока, возникающего из-за накопительных зарядов конденсаторов C50, C51 и C52 в секции 50 нагрузки, и может быть предотвращено ложное детектирование состояния спайки, в результате чего обеспечивается высокая точность детектирования.
Кроме того, согласно настоящему изобретению вместо аспекта, где общая сторона каждой схемы 251, 252 мониторинга напряжения соединяется с линией S-GND субземли, аспект, где общая сторона соединяется с линией GND земли, может быть принят в качестве варианта осуществления устройства 25 мониторинга напряжения, показанного на фиг.5. В этом случае влияние на схему 23 детектирования утечки тока также может быть подавлено, обеспечивая при этом точное детектирование спайки посредством той же процедуры, что и на фиг.7.
Более того, несмотря на то что настоящий вариант осуществления описан как пример, в котором применяется однофазный переменный ток напряжением 200 В и частотой 60 Гц, настоящее изобретение может быть применено к различным внешним источникам переменного тока (напряжениям, частотам). Настоящее изобретение также может быть применено к системе зарядки для зарядки аккумулятора электрического транспортного средства или автомобиля с двумя источниками приведения в движение, такими как двигатель внутреннего сгорания и электродвигатель, к системе накопления для бытового аккумулятора или аккумулятора для оборудования с электрическим питанием и к системе накопления для фотоэлектрической генерации или ветряной генерации.
В частности, устройство мониторинга зарядки согласно одному аспекту настоящего изобретения содержит: переключатель, который располагается между секцией нагрузки, включающей в себя аккумулятор, и внешним источником питания переменного тока, подающим ток на секцию нагрузки через множество линий, и который прерывает подачу тока на секцию нагрузки от внешнего источника питания переменного тока; схему детектирования тока, которая выводит сигнал детектирования, соответствующий разности в уровнях между токами, протекающими через линии; схему подавления, которая подавляет составляющую постоянного тока в сигнале детектирования; схему фильтра, которая фильтрует множество частотных составляющих, содержащихся в сигнале детектирования, таким образом, чтобы по мере увеличения частоты затухание усиливалось; сглаживающую схему выпрямителя, которая выпрямляет и сглаживает выходной сигнал, полученный после прохождения сигнала детектирования через схему фильтра и схему подавления; и схему определения утечки тока, которая детектирует утечку тока и выключает переключатель, когда уровень сигнала, сглаженного посредством сглаживающей схемы выпрямителя, превышает предварительно установленный опорный уровень.
Согласно этой конфигурации, когда выполняется зарядка, устройство мониторинга зарядки располагается между секцией нагрузки, включающей в себя аккумулятор, и внешним источником питания. Если во время зарядки схема определения утечки тока определяет, что возникла утечка тока, то переключатель разъединяет секцию нагрузки от внешнего источника питания переменного тока, в результате чего операция зарядки прекращается. Схема детектирования тока выводит сигнал детектирования напряжения, соответствующий разности в уровне между токами, протекающими через линии внешнего источника питания переменного тока. Этот сигнал детектирования выводится как сигнал, имеющий ту же фазу, что и переменный ток, протекающий через каждую линию. Схема подавления подавляет составляющую постоянного тока, содержащуюся в этом сигнале детектирования. Кроме того, схема фильтра фильтрует множество частотных составляющих, содержащихся в сигнале детектирования, чтобы по мере увеличения частоты затухание усиливалось. Иначе говоря, схема фильтра выполняет фильтрацию таким образом, чтобы множество частотных составляющих ориентировочно соответствовало воспринимаемому току. Сглаживающая схема выпрямителя выпрямляет и сглаживает выходной сигнал, проходящий через схему фильтра и схему подавления, и выводит выпрямленный и сглаженный сигнал в схему определения утечки тока. Схема определения утечки тока генерирует и выводит сигнал выключения для переключателя, когда уровень выходного сигнала из сглаживающей схемы выпрямителя превышает заданный опорный уровень. В частности, если утечка тока отсутствует, то даже когда разность увеличивается с нуля на величину переходного тока, который временно протекает через линии переменного тока после запуска зарядки, чтобы поглотить разность потенциалов между внешним источником питания переменного тока и схемой стороны нагрузки, составляющая постоянного тока в сигнале для этой разности подавляется. Следовательно, уровень постоянного тока в сигнале детектирования для упомянутой разности подавляется, и дополнительно предотвращается ложное детектирование. Соответственно, наличие/отсутствие утечки тока может быть детектировано более точно.
Предпочтительно, чтобы в схеме фильтра частотная характеристика задавалась таким образом, чтобы частотная характеристика соответствовала отношению между частотой тока, протекающего через человека, и величиной тока, воспринимаемой человеком.
Согласно этой конфигурации сигнал детектирования ослабляется согласно ослаблению, соответствующему степени восприятия человеком относительно каждой частоты, и далее выводится в следующую схему. Следовательно, даже когда в токе утечки содержится множество частотных составляющих, уровень детектируемого тока утечки может быть легко задан.
Предпочтительно в схеме фильтра первый входной зажим соединяется с первым выходным зажимом через первый резистор, последовательная схема, состоящая из первого конденсатора и второго резистора, подключена между вторым выходным зажимом, соединенным с первым входным зажимом, и первым выходным зажимом, отфильтрованный сигнал выводится между первым и вторым выходными зажимами, и схема детектирования тока выводит сигнал детектирования между первым и вторым входными зажимами.
Согласно этой конфигурации частотная характеристика схемы фильтра может быть легко задана таким образом, чтобы затухание увеличивалось по мере повышения частоты, или таким образом, чтобы частотная характеристика соответствовала отношению между частотой тока и величиной тока, воспринимаемой человеком.
Дополнительно предпочтительно, чтобы частотная характеристика схемы фильтра могла быть задана таким образом, чтобы частотная характеристика всего пути протекания, который достигает схемы определения утечки тока через схему фильтра, схему подавления и сглаживающую схему выпрямителя, соответствовала отношению между частотой тока, протекающего через человека, и величиной тока, воспринимаемой человеком.
Согласно этой конфигурации схема определения утечки тока может детектировать утечку тока, так что частотная характеристика соответствует отношению между частотой тока и величиной тока, воспринимаемой человеком.
В добавление, предпочтительно, чтобы схема подавления представляла собой схему отсечения составляющей постоянного тока, которая прерывает составляющую постоянного тока.
Согласно этой конфигурации составляющая постоянного тока, которая содержится в разности, вызванной временно генерируемым переходным током, прерывается.
Также предпочтительно, чтобы схема детектирования тока представляла собой трансформатор нулевой последовательности, который содержит катушку детектирования, намотанную вокруг круглого сердечника.
Эта конфигурация подходит в качестве конфигурации схемы детектирования тока.
Также предпочтительно, чтобы схема подавления представляла собой схему, в которой каждый зажим катушки детектирования был соединен с землей через резистор.
В обычной системе разность генерируется как напряжение постоянного тока между зажимами катушки детектирования, однако в принятой схеме с вышеупомянутой конфигурацией, где каждый зажим катушки детектирования соединен с землей через резистор, временное протекание тока, содержащего составляющую постоянного тока, не приводит к смещению полярности, поскольку средняя точка вывода совпадает с опорным напряжением земли. В результате подавляется детектированный уровень. Следовательно, составляющая постоянного тока, содержащаяся в разности, вызванной временно генерируемым переходным током, подавляется.
Сверх того предпочтительно, чтобы устройство мониторинга зарядки дополнительно было снабжено схемой дифференциального усилителя, которая усиливает разность напряжений между каждым зажимом катушки детектирования и землей.
Согласно этой конфигурации, когда соединение между обоими зажимами катушки детектирования направляется в схему дифференциального усилителя, напряжение смещения схемы усилителя включается в усиление разности и становится сложным гарантировать точность усиления отдельной разности. Тем не менее, путем принятия конфигурации, где разность напряжения между каждым зажимом катушки детектирования и землей усиливается, напряжения смещения обоих схем усилителя смещаются, в результате предотвращается ошибка усиления и точность может быть повышена.
Множество линий включают в себя одну линию земли и две линии переменного тока. Переключатель имеет релейный контакт, который размыкает/замыкает каждую из двух линий переменного тока. В круглом сердечнике схемы детектирования тока линия субземли, отделенная от линии земли, и две линии переменного тока вставляются в секцию, расположенную ближе к внешнему источнику питания переменного тока, чем переключатель. Устройство мониторинга зарядки дополнительно имеет детектор состояния контакта, который при отправке инструкции размыкания переключателя детектирует напряжение между каждой из линий переменного тока, расположенных ближе к стороне аккумулятора, чем переключатель, и линией субземли, вставленной в сердечник, причем детектор состояния контакта предпочтительно возвращает ток, протекающий из каждой линии переменного тока от линии субземли в линию земли, через сердечник.
Согласно этой конфигурации переключатель, который вставляется между внешним источником питания переменного тока и аккумулятором, который заряжается посредством линии земли и двух линий переменного тока от внешнего источника питания переменного тока, имеет релейный контакт, который размыкает/замыкает каждую из двух линий переменного тока. Следовательно, в упомянутом переключателе оба или один из релейных контактов спаиваются. При передаче инструкции для приведения переключателя в разомкнутое состояние детектор состояния контакта детектирует возникновение напряжения между каждой линией переменного тока, расположенной ближе к аккумулятору, чем переключатель, и линией субземли, отделенной от линии земли. Когда возникновение напряжения детектируется на, по меньшей мере, одной из сторон, это означает, что релейные контакты спаялись на другой стороне. Когда возникновение напряжения не детектируется ни на одной из сторон, это означает, что каждый из релейных контактов не спаян. Кроме того, разность в уровне между токами, протекающими к двум линиям переменного тока, расположенным ближе к внешнему источнику питания переменного тока, чем переключатель, и к линии субземли, детектируется как напряжение посредством трансформатора нулевой последовательности. Когда детектируется это напряжение разности, это означает, что имеет место утечка тока. В противном случае утечка тока отсутствует. В этом случае часть переменного тока протекает по контуру линии субземли от каждой линии переменного тока через детектор состояния контакта. Путем конфигурирования линии субземли как первичной стороны трансформатора нулевой последовательности количество сцепленных магнитных потоков обеих линий переменного тока и линии субземли смещается. В результате из-за наличия детектора состояния контакта предотвращается неправильное срабатывание средства детектирования утечки тока и может быть детектирована утечка тока малого уровня.
Более того, предпочтительно, чтобы детектор состояния контакта имел на своей входной ступени схему прерывания составляющей постоянного тока, которая предназначена для прерывания составляющей постоянного тока каждой из линий переменного тока.
Согласно этой конфигурации, даже когда детектируется состояние спайки при соединенном аккумуляторе, все постоянные токи, протекающие со стороны аккумулятора, отсекаются. Следовательно, при детектировании состояния спайки влияние аккумулятора устраняется. Следует отметить, что в этой конфигурации ток протекает обратно от линий переменного тока к линии субземли, но поскольку линия субземли сконфигурирована как первичная сторона трансформатора нулевой последовательности, ее влияние может быть устранено, как описано выше.
Предпочтительно детектор состояния контакта включает в себя две схемы мониторинга напряжения, каждая из которых детектирует напряжение между каждой линией переменного тока и линией субземли, вставленных в сердечник, причем в каждой схеме мониторинга напряжения каждая линия переменного тока соединена со схемой детектирования напряжения через третий конденсатор, третий резистор и диод, точка соединения между третьим резистором и диодом соединена с линией субземли через четвертый резистор, а точка соединения между диодом и схемой детектирования напряжения соединена с линией субземли через четвертый конденсатор.
Согласно этой конфигурации составляющая переменного тока, протекающая из каждой линии переменного тока к детектору состояния контакта, может быть возвращена от линии субземли в линию земли через сердечник посредством четвертого резистора и четвертого конденсатора.
Предпочтительно, чтобы множество линий включали в себя две линии переменного тока, чтобы устройство мониторинга зарядки дополнительно содержало детектор состояния контакта, который детектирует напряжение между линиями переменного тока, расположенными ближе к аккумулятору, чем переключатель, когда отправляется инструкция для переведения переключателя в разомкнутое состояние, и чтобы детектор состояния контакта имел на своей входной ступени схему прерывания составляющей постоянного тока для прерывания составляющей постоянного тока.
Согласно этой конфигурации переключатель включается между внешним источником питания переменного тока и аккумулятором, заряжаемым посредством линий переменного тока, проходящих от внешнего источника питания переменного тока, и операция замыкания/размыкания релейных контактов замыкает/размыкает соединение между внешним источником питания и аккумулятором. Детектор состояния контакта детектирует напряжение между линиями переменного тока, расположенными ближе к стороне аккумулятора, чем переключатель, в состоянии, когда передается инструкция для переведения переключателя в разомкнутое состояние (время, в течение которого предоставляется инструкция). В частности, наличие/отсутствие спайки релейных контактов детектируется в зависимости от того, детектируется ли посредством переключателя переменный ток от внешнего источника питания переменного тока. Кроме того, поскольку входная ступень детектора состояния контакта имеет схему прерывания составляющей постоянного тока, составляющая паразитного постоянного тока со стороны аккумулятора или паразитный постоянный ток, получаемый с емкостных соединений между землей внешнего источника питания переменного тока и потенциалом земли, прерываются. Следовательно, детектор состояния контакта может с точностью детектировать только наличие/отсутствие переменного тока из внешнего источника питания переменного тока.
Предпочтительно, чтобы переключатель имел релейные контакты для индивидуального замыкания/размыкания двух линий переменного тока, причем детектор состояния контакта содержит схему для детектирования напряжения между линией переменного тока и линией земли.
Согласно этой конфигурации детектор состояния контакта индивидуально детектирует наличие/отсутствие переменного тока, который протекает от внешнего источника питания переменного тока между одной из линий переменного тока и линией земли, а также между другой линией переменного тока и линией земли. Таким образом, может быть детектирована спайка релейных контактов, предусмотренных в линиях переменного тока, соответственно.
Также предпочтительно, чтобы устройство мониторинга зарядки дополнительно содержало часть определения спайки, которая детектирует наличие/отсутствие спайки каждого из релейных контактов на основании напряжения, детектируемого детектором состояния контакта, и схему управления, которая запрещает зарядку аккумулятора в секции нагрузки, если часть определения спайки детектирует спайку какого-либо релейного контакта.
Согласно этой конфигурации, когда часть определения спайки детектирует спайку какого-либо одного релейного контакта, зарядка аккумулятора в секции нагрузки может быть запрещена, в результате чего безопасность зарядки аккумулятора может быть повышена.
Claims (13)
1. Устройство мониторинга зарядки, содержащее:
переключатель, расположенный между секцией нагрузки, включающей в себя аккумулятор, и внешним источником питания переменного тока, подающим ток на секцию нагрузки через множество линий, и прерывающий подачу тока на секцию нагрузки от внешнего источника питания переменного тока;
схему детектирования тока, которая выводит сигнал детектирования, соответствующий разности в уровнях между токами, протекающими через линии;
схему подавления, которая подавляет составляющую постоянного тока в сигнале детектирования;
схему фильтра, которая фильтрует множество частотных составляющих, содержащихся в сигнале детектирования, таким образом, чтобы по мере увеличения частоты затухание усиливалось;
сглаживающую схему выпрямителя, которая выпрямляет и сглаживает выходной сигнал, полученный при прохождении сигнала детектирования через схему фильтра и схему подавления; и
схему определения утечки тока, которая детектирует утечку тока и выключает переключатель, когда уровень сигнала, сглаженного посредством сглаживающей схемы выпрямителя, превышает предварительно установленный опорный уровень;
в котором схема детектирования тока представляет собой трансформатор нулевой последовательности, который имеет катушку детектирования, намотанную вокруг круглого сердечника;
причем множество линий включает в себя одну линию земли и две линии переменного тока,
переключатель имеет релейные контакты для индивидуального размыкания/замыкания двух линий переменного тока,
линия субземли, выделенная от линии земли, и две линии переменного тока вставляются в круглый сердечник схемы детектирования тока со стороны, которая ближе к внешнему источнику питания переменного тока, чем переключатель,
устройство мониторинга зарядки дополнительно имеет детектор состояния контакта, который детектирует напряжение между каждой из линий переменного тока и линией субземли, вставленных в сердечник со стороны, которая ближе к аккумулятору, чем переключатель, в разомкнутом состоянии переключателя, и
детектор состояния контакта возвращает составляющую переменного тока, протекающего по каждой линии переменного тока от линии субземли к линии земли, через сердечник.
переключатель, расположенный между секцией нагрузки, включающей в себя аккумулятор, и внешним источником питания переменного тока, подающим ток на секцию нагрузки через множество линий, и прерывающий подачу тока на секцию нагрузки от внешнего источника питания переменного тока;
схему детектирования тока, которая выводит сигнал детектирования, соответствующий разности в уровнях между токами, протекающими через линии;
схему подавления, которая подавляет составляющую постоянного тока в сигнале детектирования;
схему фильтра, которая фильтрует множество частотных составляющих, содержащихся в сигнале детектирования, таким образом, чтобы по мере увеличения частоты затухание усиливалось;
сглаживающую схему выпрямителя, которая выпрямляет и сглаживает выходной сигнал, полученный при прохождении сигнала детектирования через схему фильтра и схему подавления; и
схему определения утечки тока, которая детектирует утечку тока и выключает переключатель, когда уровень сигнала, сглаженного посредством сглаживающей схемы выпрямителя, превышает предварительно установленный опорный уровень;
в котором схема детектирования тока представляет собой трансформатор нулевой последовательности, который имеет катушку детектирования, намотанную вокруг круглого сердечника;
причем множество линий включает в себя одну линию земли и две линии переменного тока,
переключатель имеет релейные контакты для индивидуального размыкания/замыкания двух линий переменного тока,
линия субземли, выделенная от линии земли, и две линии переменного тока вставляются в круглый сердечник схемы детектирования тока со стороны, которая ближе к внешнему источнику питания переменного тока, чем переключатель,
устройство мониторинга зарядки дополнительно имеет детектор состояния контакта, который детектирует напряжение между каждой из линий переменного тока и линией субземли, вставленных в сердечник со стороны, которая ближе к аккумулятору, чем переключатель, в разомкнутом состоянии переключателя, и
детектор состояния контакта возвращает составляющую переменного тока, протекающего по каждой линии переменного тока от линии субземли к линии земли, через сердечник.
2. Устройство мониторинга зарядки по п.1, в котором
частотная характеристика схемы фильтра задается таким образом, чтобы соответствовать отношению между частотой тока, протекающего через тело человека, и величиной тока, воспринимаемой человеком.
частотная характеристика схемы фильтра задается таким образом, чтобы соответствовать отношению между частотой тока, протекающего через тело человека, и величиной тока, воспринимаемой человеком.
3. Устройство мониторинга зарядки по п.1 или 2, в котором
в схеме фильтра
первый входной зажим соединен с первым выходным зажимом через первый резистор,
последовательная схема, состоящая из первого конденсатора и второго резистора, подключена между вторым выходным зажимом, соединенным со вторым входным зажимом и первым выходным зажимом, фильтрованный сигнал выводится схемой фильтра между первым и вторым выходными зажимами, и
схема детектирования тока выводит сигнал детектирования между первым и вторым входными зажимами.
в схеме фильтра
первый входной зажим соединен с первым выходным зажимом через первый резистор,
последовательная схема, состоящая из первого конденсатора и второго резистора, подключена между вторым выходным зажимом, соединенным со вторым входным зажимом и первым выходным зажимом, фильтрованный сигнал выводится схемой фильтра между первым и вторым выходными зажимами, и
схема детектирования тока выводит сигнал детектирования между первым и вторым входными зажимами.
4. Устройство мониторинга зарядки по п.3, в котором частотная характеристика схемы фильтра задается таким образом, чтобы частотная характеристика всего пути протекания, который достигает схемы определения утечки тока через схему фильтра, схему подавления и сглаживающую схему выпрямителя, соответствовала отношению между частотой тока, протекающего через человека, и величиной тока, воспринимаемой человеком.
5. Устройство мониторинга зарядки по п.1 или 2, в котором схема подавления представляет собой схему отсечения составляющей постоянного тока для прерывания составляющей постоянного тока.
6. Устройство мониторинга по п.1, в котором схема подавления представляет собой схему, в которой оба зажима катушки детектирования заземлены через резисторы соответственно.
7. Устройство мониторинга зарядки по п.1, дополнительно содержащее схему дифференциального усилителя, которая усиливает разность напряжения между каждым зажимом катушки детектирования и землей.
8. Устройство мониторинга зарядки по п.1, в котором детектор состояния контакта имеет на своей входной ступени схему прерывания составляющей постоянного тока, которая прерывает составляющую постоянного тока каждой из линий переменного тока.
9. Устройство мониторинга зарядки по п.8, в котором
детектор состояния контакта имеет две схемы мониторинга напряжения, каждая из которых детектирует напряжение между каждой из линий переменного тока и линией субземли, вставленных в сердечник,
в каждой схеме мониторинга напряжения каждая линия переменного тока соединена со схемой детектирования напряжения через третий конденсатор, третий резистор и диод, при этом точка соединения между третьим резистором и диодом соединена с линией субземли через четвертый резистор, и точка соединения между диодом и схемой детектирования напряжения соединена с линией субземли через четвертый конденсатор.
детектор состояния контакта имеет две схемы мониторинга напряжения, каждая из которых детектирует напряжение между каждой из линий переменного тока и линией субземли, вставленных в сердечник,
в каждой схеме мониторинга напряжения каждая линия переменного тока соединена со схемой детектирования напряжения через третий конденсатор, третий резистор и диод, при этом точка соединения между третьим резистором и диодом соединена с линией субземли через четвертый резистор, и точка соединения между диодом и схемой детектирования напряжения соединена с линией субземли через четвертый конденсатор.
10. Устройство мониторинга зарядки по любому из пп.1, 8, 9, дополнительно содержащее:
часть определения спайки, которая детектирует наличие/отсутствие спайки на каждом из релейных контактов на основании напряжения, детектируемого детектором состояния контакта, и
схему управления, которая запрещает выполнять зарядку аккумулятора в секции нагрузки, когда часть определения спайки детектирует спайку на каком-либо релейном контакте.
часть определения спайки, которая детектирует наличие/отсутствие спайки на каждом из релейных контактов на основании напряжения, детектируемого детектором состояния контакта, и
схему управления, которая запрещает выполнять зарядку аккумулятора в секции нагрузки, когда часть определения спайки детектирует спайку на каком-либо релейном контакте.
11. Устройство мониторинга, содержащее:
переключатель, расположенный между секцией нагрузки, включающей в себя аккумулятор, и внешним источником питания переменного тока, подающим ток на секцию нагрузки через множество линий, и прерывающий подачу тока на секцию нагрузки от внешнего источника питания переменного тока;
схему детектирования тока, которая выводит сигнал детектирования, соответствующий разности в уровнях между токами, протекающими через линии;
схему подавления, которая подавляет составляющую постоянного тока в сигнале детектирования;
схему фильтра, которая фильтрует множество частотных составляющих, содержащихся в сигнале детектирования, таким образом, чтобы по мере увеличения частоты затухание усиливалось;
сглаживающую схему выпрямителя, которая выпрямляет и сглаживает выходной сигнал, полученный при прохождении сигнала детектирования через схему фильтра и схему подавления; и
схему определения утечки тока, которая детектирует утечку тока и выключает переключатель, когда уровень сигнала, сглаженного посредством сглаживающей схемы выпрямителя, превышает предварительно установленный опорный уровень;
в котором множество линий включает в себя две линии переменного тока, причем устройство мониторинга зарядки дополнительно содержит детектор состояния контакта, который детектирует напряжение между линиями переменного тока, которые ближе к аккумулятору, чем переключатель, при передаче инструкции для перевода переключателя в разомкнутое состояние, и детектор состояния контакта на своей входной ступени имеет схему прерывания составляющей постоянного тока для прерывания составляющей постоянного тока.
переключатель, расположенный между секцией нагрузки, включающей в себя аккумулятор, и внешним источником питания переменного тока, подающим ток на секцию нагрузки через множество линий, и прерывающий подачу тока на секцию нагрузки от внешнего источника питания переменного тока;
схему детектирования тока, которая выводит сигнал детектирования, соответствующий разности в уровнях между токами, протекающими через линии;
схему подавления, которая подавляет составляющую постоянного тока в сигнале детектирования;
схему фильтра, которая фильтрует множество частотных составляющих, содержащихся в сигнале детектирования, таким образом, чтобы по мере увеличения частоты затухание усиливалось;
сглаживающую схему выпрямителя, которая выпрямляет и сглаживает выходной сигнал, полученный при прохождении сигнала детектирования через схему фильтра и схему подавления; и
схему определения утечки тока, которая детектирует утечку тока и выключает переключатель, когда уровень сигнала, сглаженного посредством сглаживающей схемы выпрямителя, превышает предварительно установленный опорный уровень;
в котором множество линий включает в себя две линии переменного тока, причем устройство мониторинга зарядки дополнительно содержит детектор состояния контакта, который детектирует напряжение между линиями переменного тока, которые ближе к аккумулятору, чем переключатель, при передаче инструкции для перевода переключателя в разомкнутое состояние, и детектор состояния контакта на своей входной ступени имеет схему прерывания составляющей постоянного тока для прерывания составляющей постоянного тока.
12. Устройство мониторинга зарядки по п.11, в котором
переключатель имеет релейные контакты, которые индивидуально размыкают/замыкают две линии переменного тока, и
детектор состояния контакта содержит схему, которая детектирует напряжение между каждой линией переменного тока и линией земли.
переключатель имеет релейные контакты, которые индивидуально размыкают/замыкают две линии переменного тока, и
детектор состояния контакта содержит схему, которая детектирует напряжение между каждой линией переменного тока и линией земли.
13. Устройство мониторинга зарядки по 12, дополнительно содержащее:
часть определения спайки, которая детектирует наличие/отсутствие спайки на каждом из релейных контактов на основании напряжения, детектируемого детектором состояния контакта, и
схему управления, которая запрещает выполнять зарядку аккумулятора в секции нагрузки, когда часть определения спайки детектирует спайку на каком-либо релейном контакте.
часть определения спайки, которая детектирует наличие/отсутствие спайки на каждом из релейных контактов на основании напряжения, детектируемого детектором состояния контакта, и
схему управления, которая запрещает выполнять зарядку аккумулятора в секции нагрузки, когда часть определения спайки детектирует спайку на каком-либо релейном контакте.
Applications Claiming Priority (5)
| Application Number | Priority Date | Filing Date | Title |
|---|---|---|---|
| JP2007192245A JP2009033789A (ja) | 2007-07-24 | 2007-07-24 | 充電監視装置 |
| JP2007192246A JP5015685B2 (ja) | 2007-07-24 | 2007-07-24 | 充電監視装置 |
| JP2007-192246 | 2007-07-24 | ||
| JP2007-192245 | 2007-07-24 | ||
| JP2007-192247 | 2007-07-24 |
Publications (2)
| Publication Number | Publication Date |
|---|---|
| RU2010106114A RU2010106114A (ru) | 2011-08-27 |
| RU2444103C2 true RU2444103C2 (ru) | 2012-02-27 |
Family
ID=44756293
Family Applications (1)
| Application Number | Title | Priority Date | Filing Date |
|---|---|---|---|
| RU2010106114/07A RU2444103C2 (ru) | 2007-07-24 | 2008-07-23 | Устройство мониторинга зарядки |
Country Status (1)
| Country | Link |
|---|---|
| RU (1) | RU2444103C2 (ru) |
Families Citing this family (1)
| Publication number | Priority date | Publication date | Assignee | Title |
|---|---|---|---|---|
| CN111391699A (zh) * | 2020-05-18 | 2020-07-10 | 广汽丰田汽车有限公司 | 电动汽车的充电控制电路、充电控制方法和存储介质 |
Citations (3)
| Publication number | Priority date | Publication date | Assignee | Title |
|---|---|---|---|---|
| SU748589A1 (ru) * | 1978-06-02 | 1980-07-15 | Предприятие П/Я А-7797 | Устройство дл защиты аккумул тора от переразр да и перезар да |
| DE3230557A1 (de) * | 1982-08-17 | 1984-02-23 | Siemens AG, 1000 Berlin und 8000 München | Fehlerstromschutzschalter |
| JP2004227809A (ja) * | 2003-01-20 | 2004-08-12 | Fuji Electric Fa Components & Systems Co Ltd | 漏電遮断器の漏電検出回路 |
-
2008
- 2008-07-23 RU RU2010106114/07A patent/RU2444103C2/ru active
Patent Citations (3)
| Publication number | Priority date | Publication date | Assignee | Title |
|---|---|---|---|---|
| SU748589A1 (ru) * | 1978-06-02 | 1980-07-15 | Предприятие П/Я А-7797 | Устройство дл защиты аккумул тора от переразр да и перезар да |
| DE3230557A1 (de) * | 1982-08-17 | 1984-02-23 | Siemens AG, 1000 Berlin und 8000 München | Fehlerstromschutzschalter |
| JP2004227809A (ja) * | 2003-01-20 | 2004-08-12 | Fuji Electric Fa Components & Systems Co Ltd | 漏電遮断器の漏電検出回路 |
Also Published As
| Publication number | Publication date |
|---|---|
| RU2010106114A (ru) | 2011-08-27 |
Similar Documents
| Publication | Publication Date | Title |
|---|---|---|
| US8278882B2 (en) | Charging monitor | |
| US9733291B2 (en) | Detection of a leakage current comprising a continuous component in a vehicle | |
| JP6697746B2 (ja) | 漏電検出装置 | |
| JP5015686B2 (ja) | 充電監視装置 | |
| KR101710776B1 (ko) | 누전 차단기 | |
| EP3148029A1 (en) | Fault protection devices and methods for power systems | |
| CN110871695A (zh) | 用于控制车辆外部的充电设备的方法和充电设备 | |
| KR20170121217A (ko) | Dc-ac 전력 변환 시스템을 사용하는 에너지 저장 및/또는 발생 시스템에서의 지락을 검출하는 시스템 | |
| JP2009033789A (ja) | 充電監視装置 | |
| CN109188278B (zh) | 三相不平衡检测电路以及系统 | |
| US5768077A (en) | Earthing wire disconnection detection apparatus and leakage detection apparatus having an earthing wire disconnection detection function conductor | |
| US8975890B2 (en) | DC and AC current detection circuit | |
| JP5015685B2 (ja) | 充電監視装置 | |
| TWI679434B (zh) | 漏電檢測裝置及漏電斷路器 | |
| CN107110904B (zh) | 车辆用接地检测装置 | |
| CZ206295A3 (en) | Cyclized power supply unit | |
| RU2444103C2 (ru) | Устройство мониторинга зарядки | |
| JP3910357B2 (ja) | 電気車制御装置 | |
| KR100460906B1 (ko) | 전기 차량용 충전 시스템 제어장치 | |
| JP2021004855A (ja) | 地絡検出方法および装置 | |
| KR101636479B1 (ko) | 사고 전류를 차단하기 위한 차단장치 및 그 방법 | |
| KR20210119637A (ko) | 누전 및 감전보호 기능을 구비한 콘센트 | |
| JPH10260216A (ja) | 漏洩電流検出装置 | |
| JPH05290685A (ja) | 欠相保護機能付遮断器 | |
| JPS5879428A (ja) | 地絡継電装置 |