RU2249305C2 - Эмуляция информационного потока - Google Patents
Эмуляция информационного потока Download PDFInfo
- Publication number
- RU2249305C2 RU2249305C2 RU2002124604/09A RU2002124604A RU2249305C2 RU 2249305 C2 RU2249305 C2 RU 2249305C2 RU 2002124604/09 A RU2002124604/09 A RU 2002124604/09A RU 2002124604 A RU2002124604 A RU 2002124604A RU 2249305 C2 RU2249305 C2 RU 2249305C2
- Authority
- RU
- Russia
- Prior art keywords
- network element
- packet
- packets
- network
- transmitted
- Prior art date
Links
Images
Classifications
-
- H—ELECTRICITY
- H04—ELECTRIC COMMUNICATION TECHNIQUE
- H04L—TRANSMISSION OF DIGITAL INFORMATION, e.g. TELEGRAPHIC COMMUNICATION
- H04L69/00—Network arrangements, protocols or services independent of the application payload and not provided for in the other groups of this subclass
- H04L69/16—Implementation or adaptation of Internet protocol [IP], of transmission control protocol [TCP] or of user datagram protocol [UDP]
- H04L69/164—Adaptation or special uses of UDP protocol
-
- H—ELECTRICITY
- H04—ELECTRIC COMMUNICATION TECHNIQUE
- H04L—TRANSMISSION OF DIGITAL INFORMATION, e.g. TELEGRAPHIC COMMUNICATION
- H04L43/00—Arrangements for monitoring or testing data switching networks
- H04L43/50—Testing arrangements
-
- H—ELECTRICITY
- H04—ELECTRIC COMMUNICATION TECHNIQUE
- H04L—TRANSMISSION OF DIGITAL INFORMATION, e.g. TELEGRAPHIC COMMUNICATION
- H04L69/00—Network arrangements, protocols or services independent of the application payload and not provided for in the other groups of this subclass
- H04L69/16—Implementation or adaptation of Internet protocol [IP], of transmission control protocol [TCP] or of user datagram protocol [UDP]
-
- H—ELECTRICITY
- H04—ELECTRIC COMMUNICATION TECHNIQUE
- H04L—TRANSMISSION OF DIGITAL INFORMATION, e.g. TELEGRAPHIC COMMUNICATION
- H04L69/00—Network arrangements, protocols or services independent of the application payload and not provided for in the other groups of this subclass
- H04L69/16—Implementation or adaptation of Internet protocol [IP], of transmission control protocol [TCP] or of user datagram protocol [UDP]
- H04L69/163—In-band adaptation of TCP data exchange; In-band control procedures
-
- H—ELECTRICITY
- H04—ELECTRIC COMMUNICATION TECHNIQUE
- H04L—TRANSMISSION OF DIGITAL INFORMATION, e.g. TELEGRAPHIC COMMUNICATION
- H04L9/00—Cryptographic mechanisms or cryptographic arrangements for secret or secure communications; Network security protocols
- H04L9/40—Network security protocols
-
- H—ELECTRICITY
- H04—ELECTRIC COMMUNICATION TECHNIQUE
- H04L—TRANSMISSION OF DIGITAL INFORMATION, e.g. TELEGRAPHIC COMMUNICATION
- H04L1/00—Arrangements for detecting or preventing errors in the information received
- H04L1/12—Arrangements for detecting or preventing errors in the information received by using return channel
- H04L1/16—Arrangements for detecting or preventing errors in the information received by using return channel in which the return channel carries supervisory signals, e.g. repetition request signals
- H04L1/18—Automatic repetition systems, e.g. Van Duuren systems
Landscapes
- Engineering & Computer Science (AREA)
- Computer Networks & Wireless Communication (AREA)
- Signal Processing (AREA)
- Computer Security & Cryptography (AREA)
- Data Exchanges In Wide-Area Networks (AREA)
- Debugging And Monitoring (AREA)
Abstract
Заявленное изобретение относится к способу для эмуляции двухстороннего потока информации в реальном применении в системе, которая содержит первый сетевой элемент (101) и второй сетевой элемент (102), а также сеть (103) с коммутацией пакетов между первым сетевым элементом и вторым сетевым элементом. Технический результат такого способа заключается в том, что передают группы пакетов от первого сетевого элемента (101) по сети (103) с коммутацией пакетов во второй сетевой элемент (102), при этом во втором сетевом элементе принимают по меньшей мере часть передаваемых пакетов. Принятые пакеты передают от второго сетевого элемента по сети с коммутацией пакетов назад в первый сетевой элемент при реагировании на прием пакетов во втором сетевом элементе. Это достигается тем, что при указанной возвратной передаче пакет, поступивший во второй сетевой элемент, передают назад в первый сетевой элемент только после задержки приема пакета во втором сетевом элементе. Задача данного изобретения также заключается в создании системы, сетевого элемента и компьютерной программы, реализующих указанный способ. 3 с. и 13 з.п. ф-лы, 6 ил.
Description
Данное изобретение относится к эмуляции двухстороннего информационного потока реального применения. В частности, но не обязательно, изобретение относится к эмуляции информационного потока вызова речь по Интернет-протоколу (РИП) для определения качества обслуживания (КО) уровня применения РИП.
Обычно речевой вызов по телефону посылают по сетям с коммутацией каналов, таким как коммутируемая телефонная сеть общего пользования (PSTN, КТСОП). При телефонном вызове по цифровой сети с коммутацией каналов для каждого вызова устанавливают постоянное соединения 64 кб/с. Эта стандартная полоса соединения, 64 кб/с, объясняется скоростью передачи данных в битах, требуемой для дискретизации аналоговой речи при использовании 8-битовой импульсно-кодовой модуляции (ИКМ) при частоте дискретизации 8 кГц, в результате чего обеспечивают возможность передачи аналоговой речи с частотой 300-3400 Гц в цифровом формате.
Но упоминаемая выше широко используемая в данное время цифровая телефонная сеть очень неэффективна и, поэтому, забирает значительный объем сетевых ресурсов. В телефонной сети полосу для соединения также резервируют, когда соединение не используют активно, т.е. ни одна из сторон соединения не пересылает информацию, такую как речь или данные, по этому соединению. Этот тип использования статической полосы забирает значительный объем ресурсов передачи данных, и поэтому по мере роста числа пользователей необходимо делать капиталовложения для обеспечения дополнительной пропускной способности. Неэффективность описываемого выше вида вызывает затруднения, особенно в межконтинентальных вызовах, когда повышение пропускной способности по передаче данных затруднено в еще большей степени по сравнению с другими случаями. Эта проблема также проявляется в расценках за вызовы: дополнительные капиталовложения для увеличения пропускной способности должны покрываться повышением абонентской платы.
Для компенсирования и дополнения вызовов, которые используют резервирование статической полосы в телефонной сети, на рынок стали поступать так называемые РИП-вызовы, т.е. вызовы ИП. Обычно информацию, передаваемую в вызове ИП, такую как речь, речь и/или видеоизображение, сначала преобразуют из аналогового формата в цифровой формат, затем сжимают и преобразуют в пакеты ИП, которые передают по сети с коммутацией пакетов на основе ИП, такой как сеть Интернет, с совместным использованием полосы вместе с другим трафиком ИП. В вызовах ИП полосу можно использовать в значительной степени более эффективно, чем в вызовах, которые резервируют статическую полосу, и это обстоятельство также отражается на ценах. Помимо этого, можно использовать также более эффективные схемы кодирования, такие как, например, кодирование G.723.1.
Время поступления передаваемых пакетов ИП к получателю неизвестно до прибытия пакетов. И поскольку ИП маршрутизирует информационный поток попакетно, поэтому время распространения пакетов от отправителя к получателю может значительно варьироваться, и порядок пакетов может изменяться. Помимо этого, пакеты могут теряться, например, в результате переполнения поступающих данных, происходящего в буферах маршрутизаторов. За счет применения надежного протокола ИП потери пакетов можно выявлять автоматически на уровне протокола, и потерянные пакеты можно передавать повторно. Одним из таких протоколов является протокол управления передачей данных (TCP, ПУПД).
Но такие повторные передачи могут обусловить дополнительную изменяющуюся задержку передачи информации по сети ИП. И поскольку несколько применений, используемых при повторении речи и/или изображения, пересылаемых в реальном времени, безупречно не функционируют, если, например, в передаче информации происходит слишком большая задержка, поэтому ПУПД не является удовлетворительным для использования в качестве протокола, применяемого согласно ИП в вызовах ИП. Поэтому в вызовах ИП обычно используют протокол дейтаграмм пользователя (ПДП), когда повторные передачи отсутствуют. Вместо этого, при установлении вызова рекомендуют применение ПУПД, чтобы установление вызова происходило как можно надежнее.
Например, только по той причине, что применения, используемые при повторении информации в реальном времени, передаваемой по сети ИП, должны отвечать высоким требованиям с точки зрения реального времени, чтобы функционировать безотказно, поэтому необходимы некоторые меры для гарантирования качества обслуживания (КО) для данного вызова ИП. Как таковой, ИП не обеспечивает КО в том виде, в котором он предоставит гарантированное качество обслуживания. Тем не менее, имеется несколько разных методов, с помощью которых в сети ИП можно обеспечить гарантированное КО. Это, помимо прочих, методы дифференцированных услуг (ДиффУсл) и интегрированных услуг (ИнтУсл). Независимо от применяемой методики КО, важно, чтобы КО можно было измерять, чтобы определить реальную возможность обеспечения гарантированного КО для каждого вызова ИП.
Обычно для описания КО требуются несколько параметров КО. Так, целесообразно измерять значения для группы разных параметров КО, которые в совокупности с РИП являются, например, следующими: сквозная задержка, колебание сквозной задержки, потери пакетов и корреляция потери пакетов. В их числе сквозная задержка означает время, необходимое для прохождения пакета ИП по сети ИП от отправителя до получателя. Сквозную задержку можно также измерять как двойное прохождение сигнала в прямом и обратном направлениях, когда измеряют время, необходимое для прохождения пакета ИП от отправителя к получателю и обратно. Колебание сквозной задержки можно обозначить как, например, среднеквадратическое отклонение или дисперсию. Потери пакетов - это число передаваемых пакетов ИП, которые не получены получателем, т.е. число пакетов ИП, потерянных в пути. С точки зрения рабочих показателей системы очень важно, исчезают ли или теряются пакеты здесь и там (отсутствие корреляции потери пакетов), или теряются несколько следующих друг за другом пакетов (высокая корреляция потери пакетов).
Фиг.1 иллюстрирует принцип измерения КО согласно известному уровню техники. Поток пакетов ИП передают от первого узла 101 сети по сети 103 ИП во второй узел сети. До передачи первый узел 101 сети вводит первую информацию в каждый передаваемый пакет ИП. Поток пакетов ИП, передаваемый первым узлом 101 сети, принимают на втором узле 102 сети, который вводит вторую информацию в пакеты ИП и возвращает их по сети 103 ИП назад в первый узел 101 сети, который вводит третью информацию в принимаемые пакеты ИП.
Фиг.2 иллюстрирует структуру пакета ИП, использование которого хорошо известно в структуре измерения КО, иллюстрируемой на Фиг.1. Пакет 200 ИП содержит разные типы полей для запоминания информации, введенной узлами сети в пакет ИП. Например, в полях 201 и 202 первый узел 101 сети, непосредственно перед передачей пакета ИП, запоминает данные TS1 отметки времени и данные SEQ1 порядкового номера пакета, соответственно, в качестве первой информации. В полях 203 и 204 второй узел 102 сети запоминает в качестве второй информации при приеме пакета ИП данные TS2 временной отметки и данные SEQ2 порядкового номера пакета соответственно. По получении пакета ИП: второй узел 102 сети возвращает пакет ИП немедленно назад в первый узел 101 сети, который запоминает в поле 205 в качестве третьей информации данные ТS3 отметки времени при приеме пакета ИП. Теперь параметры КО, например сквозную задержку drt, можно определить по следующему уравнению:
drt=TS3-TS1
Помимо полей 201-205 пакет 200 ИП в Фиг.2 содержит фиктивную длину 206. Фиктивная длина 206 является частью данных определенной длины, с помощью которой длину пакета ИП можно согласовать с размером пакетов реалистичного кодека, такого как G.711. Если пакеты 200 ИП все же передают в виде типичного единообразного потока пакетов ИП, формируемого реалистичным кодеком, то реальный вызов ИП и его измерения КО можно эмулировать с помощью упоминаемой выше структуры.
Но описываемая выше структура, известная из уровня техники, имеет свои трудности. Предположим, что пакеты 200 ИП направляют от первого узла 101 сети по сети 103 ИП во второй узел 102 сети и что передача пакетов ИП от первого узла сети во второй происходит равномерно. В идеальном случае время передачи всех пакетов ИП (сквозная задержка) от первого узла сети во второй узел сети одинаково: пакеты ИП, отправленные от первого узла сети, также прибывают во второй узел сети равномерно. Но в реальности обычно, например по причине изменяющейся нагрузки сети ИП, пакеты ИП не прибывают во второй узел сети равномерно, а пачками. Это означает, что поток пакетов ИП, прибывающих во второй узел сети, содержит уплотнения (скопления пакетов ИП) и разрывы (наличие очень длительной паузы между пакетами ИП) вместо устойчивого потока.
Теперь, когда второй узел сети возвращает каждый принятый им пакет ИП в первый узел сети, то поток возвращаемых пакетов ИП, уже уходя из второго узла сети, имеет выбросы и не является равномерным, как это было бы в случае реалистичного вызова ИП. В этом случае КО, присутствующее в отрывистом с выбросами потоке пакетов ИП, возвращающихся от второго узла сети в первый узел, обычно хуже, чем КО потока пакетов ИП, передаваемых равномерно от первого узла сети во второй узел сети. Эта асимметрия не характерна для реального вызова ИП, и она искажает измерения значений параметров КО. При этом, если пакеты ИП, отправляемые первым узлом сети, имеют потери по пути во второй узел сети, то поток пакетов ИП, возвращающийся из второго узла сети в первый узел сети, имеет меньше пакетов ИП, чем в первоначальном потоке пакетов ИП, отправленных от первого узла сети во второй. В этом случае в потоке пакетов ИП, возвращающихся от второго узла сети в первый, автоматически создается больше дополнительных разрывов, и это обстоятельство также повышает асимметрию.
Измерительная структура согласно упоминаемому выше уровню техники не является наиболее целесообразной для измерений КО вызова ИП. Предлагается новое решение, которое целесообразно для выполнения измерений КО в вызове ИП. В соответствии с первым аспектом данного изобретения реализуют способ эмуляции двухстороннего информационного потока реального применения в системе, которая содержит первый сетевой элемент и второй сетевой элемент, и также сеть с коммутацией пакетов между первым сетевым элементом и вторым сетевым элементом, заключающийся в том, что
передают группу пакетов от первого сетевого элемента по сети с коммутацией пакетов во второй сетевой элемент,
принимают по меньшей мере часть переданных пакетов во втором сетевом элементе,
передают принятые пакеты от второго сетевого элемента по сети с коммутацией пакетов назад в первый сетевой элемент при реагировании на прием пакетов во втором сетевом элементе.
Способ отличается тем, что передают пакет, поступивший во второй сетевой элемент, назад в первый сетевой элемент, только после задержки приема пакета во втором сетевом элементе.
Согласно второму аспекту данного изобретения реализуют систему для эмуляции двухстороннего информационного потока реального применения, содержащую первый сетевой элемент и второй сетевой элемент, а также сеть с коммутацией пакетов между первым сетевым элементом и вторым сетевым элементом, при этом первый сетевой элемент содержит средство для передачи группы пакетов от первого сетевого элемента по сети с коммутацией пакетов во второй сетевой элемент, а второй сетевой элемент содержит средство для приема по меньшей мере части передаваемых пакетов во втором сетевом элементе, средство для передачи принятых пакетов от второго сетевого элемента по сети с коммутацией пакетов назад в первый сетевой элемент при реагировании на прием пакетов во втором сетевом элементе.
Система отличается тем, что второй сетевой элемент дополнительно содержит средство для передачи пакета, поступившего во второй сетевой элемент, назад в первый сетевой элемент только после задержки приема пакета во втором сетевом элементе.
Согласно третьему аспекту данного изобретения реализуют сетевой элемент для эмуляции двухстороннего информационного потока реального применения в системе, которая помимо указанного сетевого элемента содержит определенный первый сетевой элемент и сеть с коммутацией пакетов между сетевым элементом и указанным первым сетевым элементом, содержащий
средство для приема пакетов, передаваемых от указанного первого сетевого элемента по сети с коммутацией пакетов,
средство для передачи принятых пакетов по сети с коммутацией пакетов назад в первый сетевой элемент при реагировании на прием пакетов в сетевом элементе.
Указанный сетевой элемент отличается тем, что дополнительно содержит средство для передачи пакета, поступившего в сетевой элемент, назад в первый сетевой элемент только после задержки приема пакета в сетевом элементе.
Согласно четвертому аспекту данного изобретения реализуют компьютерную программу, выполняемую в сетевом элементе, для эмуляции информационного потока реального применения в системе, которая помимо указанного сетевого элемента содержит определенный первый сетевой элемент и сеть с коммутацией пакетов между сетевым элементом и указанным первым сетевым элементом, содержащую программный код
для приема в сетевом элементе пакетов, передаваемых от первого сетевого элемента по сети с коммутацией пакетов,
для передачи принятых пакетов по сети с коммутацией пакетов назад в первый сетевой элемент при реагировании на прием пакетов в сетевом элементе.
Компьютерная программа отличается тем, что содержит программный код для передачи пакета, поступившего в сетевой элемент, назад в первый сетевой элемент только после задержки приема пакета в сетевом элементе.
В предпочтительном варианте осуществления данного изобретения указанными сетевыми элементами являются компьютеры, такие как персональные компьютеры (ПК), компьютеры автоматизированного рабочего места или компьютеры сервера сети, а указанными пакетами являются пакеты связи, такие как пакеты ИП. Данное изобретение обеспечивает возможность улучшения эмуляции двухстороннего информационного потока реального применения, такого как информационный поток вызова ИП, на уровне применения с равномерными потоками пакетов ИП, и улучшенную по сравнению с известным уровнем техники передачу сигналов, и поэтому выполнение более надежных, по сравнению с известными решениями, измерений КО. Данное изобретение можно применять, помимо прочего, для проектирования сетей и для проверки рабочих показателей сети с точки зрения РИП.
Термин “сеть ИП” означает в этом описании, помимо сетей на основе ИП, таких как сеть Интернет и сеть Интранет, также другие аналогичные пакетные сети, такие как сети Х.25. Термин “вызов ИП” означает вызов, в котором информацию, предпочтительно речевую, видео- или мультимедийную информацию, обычно передают по этому виду сети для осуществления обслуживания в реальном времени. Поэтому это изобретение можно также использовать для эмуляции видеоконференции.
Ниже данное изобретение описывается более подробно со ссылкой на прилагаемые чертежи, на которых:
Фиг.1 иллюстрирует принцип одного измерения КО согласно известному уровню техники;
Фиг.2 иллюстрирует структуру пакета ИП, используемого в одном измерении КО согласно известному уровню техники;
Фиг.3 иллюстрирует структуру пакета ИП, целесообразную для реализации одного варианта осуществления данного изобретения;
Фиг.4 иллюстрирует пример пояснения одного варианта осуществления данного изобретения;
Фиг.5 - схематическое представление временной области, иллюстрирующей пример, изображаемый на Фиг.4; и
Фиг.6 иллюстрирует аппаратуру для реализации данного изобретения.
Фиг.1 и 2 уже пояснялись выше в связи с описанием известного уровня техники. Далее поясняется предпочтительный вариант осуществления данного изобретения, при котором эмулируют вызов ИП между первым узлом сети и вторым узлом сети, и выполняют измерения КО. Фиг.1 также схематически иллюстрирует структуру выполнения измерения согласно данному изобретению. Согласно предпочтительному варианту осуществления данного изобретения первый узел 101 сети передает по сети 103 ИП на второй узел 102 сети аналогичный равномерный поток пакетов ИП, который формируют реалистичным кодеком, таким как G.711, при этом размеры пакетов ИП соответствуют размеру пакетов, формируемых реальным кодеком. Пакеты ИП предпочтительно передают с помощью ПДП в дополнение к ИП. Фиг.3 иллюстрирует структуру пакета ИП, который используют в предпочтительном варианте осуществления данного изобретения. Пакет 300 ИП содержит различные типы полей для запоминания информации, вводимой узлами сети в каждый пакет ИП в определенные моменты времени. В полях 301 и 302 каждого пакета ИП первый узел 101 сети непосредственно перед передачей каждого пакета 300 ИП запоминает в качестве первой информации данные TS1 отметки времени и данные SEQ1 порядкового номера пакета, соответственно. Например, при передаче первого пакета ИП первый узел сети запоминает в качестве данных TS1 отметки времени пакета ИП время передачи данного пакета ИП, а номер 1 - в качестве данных SEQ1 порядкового номера. Соответственно, в качестве данных TS1 отметки времени второго пакета ИП запоминают время передачи второго пакета ИП, а номер 2 - в качестве SEQ1 порядкового номера, и так далее.
При поступлении потока пакетов ИП во второй узел 102 сети: второй узел сети запоминает в полях 303 и 304 каждого пакета ИП данные TS2 отметки времени и данные SEQ2 порядкового номера пакетов, соответственно, в качестве второй информации. Когда первый пакет ИП (который не обязательно должен быть пакетом ИП, который был первым передан первым узлом сети) потока пакетов ИП прибывает во второй узел сети, второй узел сети затем запоминает время прибытия данного пакета ИП во втором узле сети как данные TS2 отметки времени данного пакета ИП, а номер 1 - в качестве данных SEQ2 порядкового номера. Соответственно, время прибытия второго пакета ИП во второй узел сети запоминают в качестве данных TS2 отметки времени данного пакета ИП, а номер 2 - в качестве порядкового номера SEQ2, и так далее.
Но согласно данному изобретению пакеты ИП, поступающие во второй узел сети, не возвращаются немедленно в первый узел сети, а направляются (или их данные) в буфер во втором узле сети, откуда их затем передают в порядке прибытия назад в первый узел сети как аналогичный равномерный поток пакетов ИП по мере его формирования реалистичным кодеком, используемом в вызове ИП. Таким образом, асимметрию можно устранить путем передачи пакетов ИП лучшим образом, чем в решениях известного уровня техники. При передаче каждого буферизованного пакета ИП назад в первый узел сети второй узел сети запоминает в поле 305 каждого пакета ИП в качестве третьей информации данные ТS3 отметки времени. Время передачи каждого пакета ИП запоминают в качестве данных ТS3 отметки времени.
При поступлении пакетов ИП потока пакетов ИП, вернувшихся из второго узла сети в первый узел сети, первый узел сети запоминает в поле 306 каждого пакета ИП данные TS4 отметки времени в качестве четвертой информации. Время поступления каждого пакета ИП в первый узел сети запоминают как данные TS4 отметки времени. Для указания последовательности, в которой пакеты ИП возвращаются в первый узел сети, новый индикатор номера последовательности (например, SEQ3) предпочтительно не требуется, если принятые пакеты ИП (или данные, содержащиеся в них) запоминают в той же последовательности, в какой они поступили в первый узел сети. Разумеется, также возможно использование индикатора SEQ3 порядкового номера в связи с данным изобретением.
Помимо полей 301-306 пакет 300 ИП согласно Фиг.3 содержит фиктивную длину 307. Фиктивная длина 307 является частью данных определенной длины, которая необязательно имеет какое-либо другое значение, кроме того, с которым длину пакета ИП можно согласовать с размером пакетов реалистичного кодека, такого как G.711. Помимо полей, изображаемых на Фиг. 3, пакет 300 ИП обычно содержит заголовки ИП и ПДП, помимо прочего, для адресной информации и номеров портов отправителя и получателя. Содержание полей 301-307 можно назвать “полезной нагрузкой”.
В числе параметров КО сквозную задержку drt двойного прохождения сигнала в прямом и обратном направлениях можно определить уравнением drt.new=TS4-TS1-(ТS3-TS2). Если генераторы синхроимпульсов первого и второго узлов сети синхронизированы, то сквозные задержки одинарного прохождения сигнала можно вычислить по уравнению dow.1=ТS2-TS1 (прохождение от второго узла сети к первому) и dow.2=TS4-ТS3 (обратное прохождение от второго узла сети к первому). При синхронизировании узлов сети можно использовать например, глобальную спутниковую систему определения местоположения абонента (GPS, ГССТ).
Материал для вычисления колебания сквозной задержки можно получить, например, путем подсчета разностей между отметками времени TS2 последовательных пакетов ИП, поступающих во второй узел сети. На основе этих разностей затем можно вычислить, например, среднеквадратическое отклонение и/или дисперсию колебания сквозной задержки (от первого узла сети во второй узел сети).
Затем можно выявить потери пакетов, если известно число передаваемых пакетов ИП. В этом случае, например, если поток пакетов ИП прошел дважды в прямом и обратном направлениях между первым и вторым узлами сети, то число пакетов, потерянных во время первой части, можно выявить вычитанием числа пакетов ИП, поступивших во второй узел сети, из числа переданных пакетов.
Корреляцию потери пакетов (здесь от первого узла сети во второй узел сети) можно определить рассмотрением порядковых номеров SEQ1 пакетов ИП, принятых во втором узле сети, и за счет определения отсутствующих порядковых номеров.
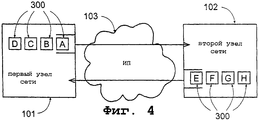
Далее реализация предпочтительного варианта осуществления данного изобретения рассматривается более подробно с помощью приводимого в качестве примера случая со ссылкой на Фиг.4 и 5, причем Фиг.4 изображает основную структуру приводимого в качестве примера случая, а Фиг.5 схематически изображает временную область для иллюстрирования приводимого в качестве примера случая. На Фиг.5 левая ось времени изображает время согласно генератору синхроимпульсов первого узла сети, а правая ось времени изображает время согласно генератору синхроимпульсов второго узла сети. Генераторы синхроимпульсов первого и второго узлов сети можно синхронизировать друг с другом.
Предположим, что число передаваемых пакетов N=4. При передаче пакетов ИП эмулируют интервал передачи пакетов ИП, сформированных реалистичным кодеком - Δ tti. До измерений КО сообщение отправляют из первого узла сети во второй узел сети, при этом значения параметров N, Δ tti и буферную задержку Δ tbuf указывают второму узлу сети. Необходимо отметить, что хотя для упрощения число передаваемых пакетов N=4, практически число передаваемых пакетов ИП можно значительно увеличить, например, до нескольких сотен или тысяч.
Передают поток ИП пакетов от первого узла сети 101 во второй узел сети 102, при этом в первом пакете ИП (пакет А) порядковый номер SEQ1=1, отметку TS1 времени запоминают непосредственно перед передачей данного пакета ИП в момент t1; во втором пакете ИП (пакет В) порядковый номер SEQ1=2 и отметку TS1 времени запоминают в момент t2; в третьем пакете ИП (пакет С) порядковый номер SEQ1=3 и отметку TS1 времени запоминают в момент t3; и в четвертом пакете ИП (пакет D) порядковый номер SEQ1=4 и отметку TS1 времени запоминают в момент t4. Пакеты ИП передают в интервалах Δ tti и поэтому t2-t1=Δ tti, t3-t2=Δ tti; t4-t3=Δ tti. Указанные моменты t1, t2, t3 и t4 даны согласно генератору синхроимпульсов первого узла сети.
После приема сообщения от первого узла сети, в котором указывается число “четыре” количества передаваемых N пакетов ИП, второй узел сети запоминает в специальном (передающем) буфере четыре пакета ИП, порядковые номера которых: SEQ2=-1 (первый пакет ИП, передаваемый из буфера (пакет Е)); SEQ2=-2 (второй пакет (пакет F)); SEQ2=-3 (третий пакет (пакет G)); SEQ2=-4 (четвертый пакет (пакет Н));
После приема, в момент t5, первого из пакетов ИП, переданного первым узлом сети, который является пакетом ИП (пакетом А), также переданным первым (это не всегда так, например, если первый пакет ИП по пути потерян), второй узел сети запоминает в данном пакете ИП (пакет А) отметку TS2 времени и запоминает порядковый номер SEQ2=1. После этого второй узел сети копирует отметку времени и данные порядкового номера (TS1, SEQ1=1, TS2 и SEQ2=1) данного пакета ИП (пакет А) в пакете ИП (пакет Е), который в буфере является по очереди первым на передачу, после чего, помимо прочего, в пакете ИП, который в буфере является по очереди первым на передачу, порядковый номер (пакет Е) SEQ2=-1 заменяют на номер 1. Пакет Е теперь передают от второго узла сети в первый узел сети после буферной задержки Δ tbuf в момент t11=t5+Δ tbuf. Непосредственно перед передачей второй узел сети запоминает, в пакете Е, отметку TS3 времени. Это происходит приблизительно в момент t11.
Когда начат поток возвращаемых пакетов ИП, другие три пакета ИП (пакеты F, G и Н), ожидают свою передачу в буфере второго узла сети в интервалах Δ tbuf в моменты времени t12; (пакет F), t13 (пакет G) и t14 (пакет Н), при этом, если для пакетов Е, F,G и Н используют номера индексов j=1, 2, 3, 4, соответственно, то время t1j передачи каждого пакета согласно генератору синхроимпульсов второго узла сети получают из уравнения t1j=t5+Δ tbuf+(j-1)Δ tti.
Соответственно, при приеме некоторого другого (отличного от упоминаемого выше пакета А) пакета ИП, относящегося к потоку пакетов ИП, отправленных от первого узла сети во второй узел сети, второй узел сети запоминает в принятом пакете отметку ТS2 времени и порядковый номер SEO2, после чего второй узел сети копирует данные принятого пакета ИП в таком пакете ИП в передающем буфере второго узла сети, который является следующим по очереди на его передачу, причем данные некоторых прибывших пакетов ИП еще не скопированы. Перед передачей каждого пакета ИП второй узел сети еще хранит в каждом подлежащем передаче пакете отметку ТS3 времени. Таким образом, в ситуации, иллюстрируемой на Фиг.4 и 5 после приема пакета В - второй узел сети запоминает в нем отметку TS2 времени в момент t6 и порядковый номер SEQ2=2, поскольку пакет В является вторым пакетом ИП, который прибывает во второй узел сети. Данные пакета В копируют в пакете F, ожидающем своей передачи в буфере, причем, помимо прочего, порядковый номер пакета F SEQ2=-2 заменяют на номер 2. Пакет F передают в момент t12. Непосредственно перед передачей отметку TS2 времени запоминают в пакете F.
Ситуация, при которой происходит потеря пакетов, рассматривается далее на примере, иллюстрируемом на Фиг.4 и 5. Предположим, что пакет С пропадает и не поступает во второй узел сети. Поскольку буферная задержка Δ tbuf в этом случае настолько длительная, что передаваемый следующим пакет (пакет D), тем не менее, все же прибывает во второй узел сети в момент t8 - до времени передачи пакета G t13=t5+Δ tbuf+2Δ tti (пакет G является пакетом, в котором для обратной передачи необходимо копировать данные пакета С), вместо потерянного пакета С в пакете G копируют данные пакета D (TS1, SEQ1=4, ТS2 и SEQ2=3), при этом, помимо прочего, порядковый номер пакета G SEQ2=-3 заменяют на номер 3. Пакет G передают в момент t13. Непосредственно перед передачей отметку ТS3 времени запоминают в пакете G.
Поскольку пакет С не поступил во второй узел сети, то нет пакета ИП, который поступил бы во второй узел сети и из которого данные уже были бы скопированы в некотором пакете, при этом копировать в пакете Н нечего. Для обеспечения равномерного потока пакетов ИП пакет Н, тем не менее, передают как т.н. фиктивный пакет (заполняющий пакет) в момент t14 передачи, хотя он в данное время не содержит значений, основанных на отметке реального времени и данных порядкового номера для TS1, SEQ1 и TS2. Перед передачей отметку TS3 времени запоминают в пакете Н. Поскольку новый порядковый номер SEQ2 не был скопирован и в пакете Н, то отрицательный порядковый номер SEQ2=-4 остается как порядковый номер пакета Н.
Когда пакеты Е, F, G и Н поступают в первый узел сети в моменты t15, t16, t17 и t18, соответственно, первый узел сети запоминает в них отметки TS4 времени. Для параметров КО значения теперь можно определить согласно излагаемому выше порядку. Если порядковый номер SEQ2 некоторого полученного пакета ИП отрицательный, то первый узел сети определит его как фиктивный пакет и при этом не будет учитывать информацию, которая, возможно, будет находиться в полях 301 (TS1), 302 (SEQ1) и/или 303 (TS2) фиктивного пакета, поскольку эта информация не основана на отметке реального времени или данных порядкового номера. Наличие фиктивных пакетов в возвращаемом потоке пакетов ИП обычно означает, что по меньшей мере один из пакетов ИП, первоначально переданный от первого узла сети на второй узел сети, не поступил на второй узел или поступил туда слишком поздно. В данном изобретении ошибочные ситуации, подобные этой, учитываются излагаемым выше образом (например, путем использования фиктивных пакетов), и эмуляция реалистичного вызова ИП и измерения КО будут удаваться, даже если произошли потери пакетов.
В вызове ИП, когда передают речь в реальном времени, обычно происходят периоды интенсивного разговора и периоды молчания (паузы). Это объясняется тем, что когда одна сторона вызова ИП говорит, другая сторона обычно молчит. Для некоторых оконечных устройств РИП (оконечные устройства радиосвязи, телефоны) разработаны детекторы обнаружения речевой активности (ОРА), которые работают по следующему принципу: когда уровень речевого сигнала, поступающего в детектор ОРА, снижается ниже определенного уровня (говорящий молчит), пакеты ИП более не будут передаваться в сторону приема. В этом случае экономится полоса передачи данных.
Далее следует описание порядка эмуляции вызова ИП, согласно данному изобретению, для выполнения измерений КО, при этом стороны имеют в своих оконечных устройствах РИП функцию ОРА. Пакеты ИП передают от первого узла сети во второй узел сети по-прежнему в интервалах Δ tti, но после передачи Nts пакетов ИП делают паузу в передаче пакетов ИП, которая длится период Nsp Δ tti. После этого для Nts выделяют новое значение, и пакеты ИП передают в течение периода NtsΔ tti. Затем новое значение выделяют для Nsp, и снова делают паузу в передаче пакетов ИП на период NspΔ tti, и т.д. Фигуры Nts, Nsp выделяют из случайной функции распределения Р(Nts), Р(Nsp), соответственно, из числа которых P(Nts) эмулирует распределение длительностей интенсивного разговора, а P(Nsp) - распределение длительностей периодов молчания в реальном вызове ИП. Материал для формирования распределений Р(Nts), Р(Nsp) получают, например, путем измерения длительностей интенсивного разговора и пауз в реальных вызовах ИП.
На практике, значения Nts, Nsp можно выделить для каждого из периодов интенсивного разговора и периода молчания независимо друг от друга в первом и втором узлах сети. И поскольку информация о числе N передаваемых пакетов уже до начала измерений КО доставлена от первого узла сети во второй, то общее число пакетов ИП, передаваемых в обоих направлениях, будет равным. Либо значения Nts, Nsp можно выделить только в первом узле сети, и в этом случае передачу пакетов ИП, возвращаемых вторым узлом сети в первый узел сети, можно будет хронировать на тот период времени, когда пакеты ИП не поступают во второй узел сети. Поэтому в этом случае второй узел сети “слушает”, поступают ли пакеты ИП, и если не поступают, то второй узел сети начинает возвращение пакетов ИП, находящихся в буфере, в первый узел сети. На практике “слушание” можно реализовать, например, таким образом, что если пакеты ИП не поступили во второй узел сети в течение определенного срока (например, буферная задержка составляет Δ tbuf), то второй узел сети делает вывод о том, что в первом узле сети идет период молчания, и после этого он начинает возвращение пакетов ИП в первый узел сети.
Данное описание сосредоточено на описании эмуляции вызова ИП и выполнении измерений КО вызова ИП. Поскольку в реальном вызове ИП ПДП используют, когда какие-либо повторные передачи и подтверждения отсутствуют, поэтому в данном описании они не упоминаются. Но при установлении вызова ИП необходимо использовать надежный протокол, и поэтому повторные передачи и подтверждения пакетов имеют значение. Хорошо известными протоколами РИП передачи сигналов являются помимо прочих, Н.323 и протокол инициирования сеанса (ПИС). Протоколы передачи сигналов обеспечивают возможность, например, во время установления вызова ИП, того, что оконечное устройство РИП (первый узел сети), которое делает вызов ИП, и оконечное устройство РИП (второй узел сети), которое отвечает на вызов РИП, могут сообщать друг другу тип кодека, используемого каждой стороной. Например, в Н.323 передача сигналов, используемая во время установления вызова, большей частью происходит с помощью надежного протокола, ПУПД. Согласно данному изобретению установление вызова ИП эмулируют путем отправки одного или нескольких пакетов ИП от первого узла сети во второй узел сети в зависимости от эмулируемого протокола передачи сигналов. Указанный пакет ИП, используемый для эмуляции установления вызова, в других отношениях аналогичен описываемому выше пакету 300 ИП, но вместо заголовка ПДП он содержит заголовок ПУПД. Таким образом, во время эмуляции установления вызова пакеты ИП предпочтительно передают с помощью ПУПД по ИП. Заголовок ПУП обычно содержит, помимо прочего, информацию, которую можно использовать при передаче потерянных пакетов ИП.
При эмуляции установления вызова всегда после приема пакета ИП, переданного первым узлом сети, второй узел сети немедленно передает этот же пакет назад в первый узел сети. Теперь можно измерить время установления вызова, которое является временем, истекшим с момента передачи первого пакета ИП до приема последнего пакета ИП на первом узле сети. Либо можно передать от первого узла сети только один пакет ИП и ждать его возвращения из второго узла сети. Когда вернувшийся пакет ИП будет принят в первом узле сети, тогда время установления вызова можно будет приблизительно определить путем умножения времени, истекшего между передачей пакета ИП и приемом вернувшегося пакета ИП, например, на некоторое соответствующее число. При определении времени установления вызова отметки TS2, ТS3 времени совсем не обязательны, поскольку пакет ИП передают назад сразу после прибытия во второй узел сети. Время между передачей пакета ИП и приемом вернувшегося пакета ИП определяют вычитанием отметки TS1 из отметки TS4 времени.
Разумеется, фактическая эмуляция вызова ИП и измерений КО вызова ИП начнется только после завершения эмуляции передачи сигналов, относящихся к установлению вызова.
Фиг.6 иллюстрирует аппаратуру, подходящую для реализации данного изобретения. Аппаратура содержит первый узел 101 сети и второй узел 102 сети и также сеть 103 ИП между узлами. Основными узлами могут быть, например ПК, подключенные к сети 103 ИП с помощью карты доступа к сети (здесь не изображена). Первый и второй узлы содержат главный бок управления (ГБУ), управляющий узлом сети, и также запоминающее устройство (ЗУ). ГБУом может быть, например, микропроцессор. Блоки 701-709 являются функциональными блоками, причем ГБУ выполнен с возможностью выполнения определенных действий на основе программы, содержащейся в ЗУ узла сети. В блоке 701 данные TS1 отметки времени запоминают в передаваемых пакетах ИП в соответствии с генератором синхроимпульсов (ГСИ) первого узла сети непосредственно перед передачей и данные SEQ1 порядкового номера. В блоке 702 пакеты ИП передают во второй узел 102 сети по сети 103 ИП. В блоке 705 второй узел 102 сети принимает пакеты ИП, передаваемые первым узлом 101 сети, при этом в блоке 706 данные TS2 отметки времени запоминают согласно генератору синхроимпульсов ГСИ системы и данным SEQ2 порядкового номера. В блоке 707 данные отметки времени и порядкового номера принятых пакетов ИП-TS1, SEQ1 TS2, SEQ2 копируют в пакетах ИП, ожидающих своей передачи в буфере. В блоке 708 данные ТS3 отметки времени запоминают в пакетах ИП, передаваемых в первый узел сети согласно генератору синхроимпульсов ГСИ второго узла сети непосредственно перед передачей. В блоке 709 пакеты ИП передают в первый узел 101 сети по сети 103 ИП. В блоке 703 первый узел сети принимает пакеты ИП, переданные вторым узлом 102 сети, при этом в блоке 704 данные TS4 отметки времени запоминают согласно генератору синхроимпульсов ГСИ первого узла сети.
В запоминающем устройстве ЗУ узлов сети имеется область памяти, в которой ГБУ обычно запоминает содержание каждого передаваемого пакета ИП (данные отметки времени и порядкового номера). Таким образом, при передаче пакета ИП именно это содержание области памяти посылают стороне приема. Указанная область памяти означает, например, буфер в указанном втором узле сети, в котором пакеты ИП ожидают своей передачи в первый узел сети. На стороне приема ГБУ запоминает данные принимаемых пакетов ИП в своем запоминающем устройстве в файле для последующего анализа, например для вычисления параметров КО.
Таким образом, существенные части данного изобретения можно реализовать средствами программного обеспечения. Соответствующие компьютерные программы, хранящиеся в запоминающих устройствах ЗУ узлов сети, можно программировать соответствующим для этих целей языком программирования, таким как язык программирования С.
Поскольку данное изобретение предлагает средство для более точной эмуляции реалистичного вызова ИП на уровне применения с сигналопередающими и симметричными равномерными потоками пакетов ИП по сравнению с известными решениями уровня техники, данное изобретение обеспечивает возможность выполнения измерений КО вызова ИП более надежным образом, чем известные решения. В устройстве согласно данному изобретению ошибочные ситуации сети ИП также предусмотрены, согласно данному изобретению можно также выполнять надежные измерения КО, когда пакеты ИП вызова ИП теряются по пути или когда поступают к получателю слишком поздно.
Несмотря на то, что в данном описании описывается устройство, содержащее два узла сети и сеть с коммутацией пакетов между ними, в практических случаях может присутствовать большее число узлов. Так, от первого узла сети поток пакетов ИП можно передать в два или более вторых узла сети, которые все будут возвращать пакеты ИП, переданные первым узлом сети. Например, таким образом возможно эмулировать групповой вызов ИП, который выполняют из одного оконечного устройства РИП, в два, или более оконечных устройств РИП, и также можно сделать соответствующие измерения КО. Также согласно данному изобретению обеспечивают возможность эмуляции более одного вызова ИП одновременно или неодновременно, и, таким образом возможность выполнения измерения КО с помощью нескольких разных пар узлов сети.
Данное описание представляет реализацию и варианты осуществления данного изобретения с помощью иллюстрируемых примеров. Для специалиста в данной области техники будет очевидно, что данное изобретение не ограничивается подробностями излагаемых выше вариантов осуществления и что данное изобретение можно также реализовать в другом виде в рамках признаков изобретения. Описываемые выше варианты осуществления следует рассматривать как иллюстративные, а не ограничивающие. Поэтому возможности реализации и использования данного изобретения ограничиваются только прилагаемой формулой изобретения. Следовательно, различные варианты реализации изобретения, определяемого формулой изобретения, включая эквивалентные реализации, также относятся к объему данного изобретения.
Claims (16)
1. Способ эмуляции двухстороннего потока информации реального применения в системе, которая содержит первый сетевой элемент (101) и второй сетевой элемент (102) и также сеть (103) с коммутацией пакетов между первым сетевым элементом и вторым сетевым элементом, заключающийся в том, что передают группу пакетов (300) от первого сетевого элемента по сети с коммутацией пакетов во второй сетевой элемент, принимают по меньшей мере часть переданных пакетов во втором сетевом элементе, передают принятые пакеты от второго сетевого элемента по сети с коммутацией пакетов назад в первый сетевой элемент в ответ на прием пакетов во втором сетевом элементе, отличающийся тем, что пакет, поступивший во второй сетевой элемент, передают назад в первый сетевой элемент только после задержки от приема пакета во втором сетевом элементе.
2. Способ по п.1, отличающийся тем, что передают указанную группу пакетов от первого сетевого элемента по сети с коммутацией пакетов во второй сетевой элемент в виде равномерного потока пакетов и в ответ на прием пакетов во втором сетевом элементе передают принятые пакеты в первый сетевой элемент в виде равномерного потока пакетов, эмулирующего реальный вызов согласно интернет-протоколу (ИП) на уровне применения, для определения качества обслуживания (КО).
3. Способ по п.1, отличающийся тем, что передаваемыми пакетами являются пакеты ИП, которые по размеру соответствуют пакетам ИП, передаваемым в реальном вызове ИП.
4. Способ по п.1, отличающийся тем, что во время передачи пакета (300) применяют протокол дейтаграмм пользователя (ПДП) в добавление к ИП.
5. Способ по п.1, отличающийся тем, что указанными сетевыми элементами (101, 102) являются компьютеры.
6. Способ по п.1, отличающийся тем, что для эмуляции группового вызова передают с первого сетевого элемента по сети с коммутацией пакетов группу пакетов в группу вторых сетевых элементов, которые в ответ на прием пакетов возвращают принятые пакеты назад в первый сетевой элемент.
7. Способ по п.1, отличающийся тем, что используют более одной пары сетевых элементов, образованной первым и вторым сетевыми элементами, для эмуляции более одного вызова ИП.
8. Способ по п.1, отличающийся тем, что осуществляют эмуляцию установления вызова для вызова ИП путем передачи, до передачи указанной группы пакетов, по меньшей мере одного пакета от первого сетевого элемента по сети с коммутацией пакетов во второй сетевой элемент и путем возвращения указанного по меньшей мере одного пакета назад в первый сетевой элемент непосредственно после его поступления во второй сетевой элемент.
9. Способ по п.8, отличающийся тем, что при передаче указанного по меньшей мере одного пакета используют протокол управления передачей данных (ПУПД) в добавление к ИП.
10. Способ по п.1, отличающийся тем, что когда второй сетевой элемент собирается возвратить пакеты, которые он принял от первого сетевого элемента, в случае, когда второй сетевой элемент не имеет подлежащего возврату пакета, передают заполняющий пакет от второго сетевого элемента в первый сетевой элемент, чтобы обеспечивать равномерный поток пакетов.
11. Способ по п.1, отличающийся тем, что передают первую группу пакетов от первого сетевого элемента через сеть с коммутацией пакетов во второй сетевой элемент, после чего делают паузу определенной длительности (Nsp Δ tti) в передаче пакетов, и после этой паузы передают вторую группу пакетов от первого сетевого элемента по сети с коммутацией пакетов во второй сетевой элемент для эмуляции периодов интенсивного разговора и молчания в вызове ИП.
12. Способ по п.1, отличающийся тем, что запоминают в пакете, передаваемом от первого сетевого элемента, в связи с передачей пакета, первую информацию (ТS1) времени и первые данные (SEQ1) порядкового номера, запоминают в пакете, принимаемом во втором сетевом элементе, в связи с приемом пакета, вторую информацию (ТS2) времени и вторые данные (SEQ2) порядкового номера, запоминают во втором сетевом элементе в пакете, возвращаемом в первый сетевой элемент, в связи с возвращаемой передачей пакета, третью информацию (ТS3) времени, запоминают в первом сетевом элементе в пакете, возвращаемом в первый сетевой элемент, в связи с приемом пакета, четвертую информацию (ТS4) времени, на основе указанной информации (ТS1–TS4) времени и данных (SEQ1–SEQ2) порядкового номера определяют значения для группы параметров, описывающих качество обслуживания, для определения качества обслуживания (КО).
13. Система для эмуляции двухстороннего потока информации реального применения, содержащая первый сетевой элемент (101) и второй сетевой элемент (102) и также сеть (103) с коммутацией пакетов между первым сетевым элементом и вторым сетевым элементом, при этом первый сетевой элемент (101) содержит средство для передачи группы пакетов (300) от первого сетевого элемента (101) по сети (103) с коммутацией пакетов во второй сетевой элемент (102), а второй сетевой элемент содержит средство для приема по меньшей мере части передаваемых пакетов (300) во втором сетевом элементе (102), средство для передачи принятых пакетов (300) от второго сетевого элемента (102) по сети (103) с коммутацией пакетов назад в первый сетевой элемент (101) в ответ на прием пакетов во втором сетевом элементе, отличающаяся тем, что второй сетевой элемент (102) дополнительно содержит средство для передачи пакета (300), поступившего во второй сетевой элемент (102), назад в первый сетевой элемент (101) только после задержки (Δtbuf) от приема пакета во втором сетевом элементе.
14. Система по п.13, отличающаяся тем, что выполнена с возможностью эмуляции двухстороннего потока информации вызова интернет-протокола (ИП) для определения качества обслуживания (КО).
15. Сетевой элемент (102) для эмуляции двухстороннего потока информации реального применения в системе, которая помимо указанного сетевого элемента содержит определенный первый сетевой элемент (101) и сеть (103) с коммутацией пакетов между сетевым элементом (102) и указанным первым сетевым элементом (101), содержащий средство для приема пакетов (300), передаваемых от первого сетевого элемента (101) по сети (103) с коммутацией пакетов, средство для передачи принятых пакетов (300) по сети с коммутацией пакетов назад в первый сетевой элемент (101) в ответ на прием пакетов в сетевом элементе (102), отличающийся тем, что дополнительно содержит средство для передачи пакета (300), поступившего в сетевой элемент (102), назад в первый сетевой элемент (101) только после задержки (Δtbuf) от приема пакета в сетевом элементе (102).
16. Сетевой элемент по п.15, отличающийся тем, что выполнен с возможностью эмуляции потока информации вызова интернет-протокола (ИП) для определения качества обслуживания КО.
Applications Claiming Priority (2)
| Application Number | Priority Date | Filing Date | Title |
|---|---|---|---|
| FI20000316A FI20000316A7 (fi) | 2000-02-14 | 2000-02-14 | Informaatiovirran jäljittely |
| FI20000316 | 2000-02-14 |
Publications (2)
| Publication Number | Publication Date |
|---|---|
| RU2002124604A RU2002124604A (ru) | 2004-02-10 |
| RU2249305C2 true RU2249305C2 (ru) | 2005-03-27 |
Family
ID=8557492
Family Applications (1)
| Application Number | Title | Priority Date | Filing Date |
|---|---|---|---|
| RU2002124604/09A RU2249305C2 (ru) | 2000-02-14 | 2001-01-15 | Эмуляция информационного потока |
Country Status (15)
| Country | Link |
|---|---|
| US (1) | US7274714B2 (ru) |
| EP (1) | EP1256200B1 (ru) |
| JP (1) | JP2003523132A (ru) |
| KR (1) | KR100448280B1 (ru) |
| CN (1) | CN1240199C (ru) |
| AT (1) | ATE349827T1 (ru) |
| AU (1) | AU2853501A (ru) |
| BR (1) | BR0108329A (ru) |
| CA (1) | CA2399056A1 (ru) |
| DE (1) | DE60125512T2 (ru) |
| ES (1) | ES2278760T3 (ru) |
| FI (1) | FI20000316A7 (ru) |
| MX (1) | MXPA02007832A (ru) |
| RU (1) | RU2249305C2 (ru) |
| WO (1) | WO2001059981A1 (ru) |
Families Citing this family (21)
| Publication number | Priority date | Publication date | Assignee | Title |
|---|---|---|---|---|
| DE19983761B9 (de) * | 1998-11-24 | 2014-12-31 | Niksun, Inc. | Vorrichtung und Verfahren zum Sammeln und Analysieren von Kommunikationsdaten |
| FI20001578L (fi) | 2000-06-30 | 2001-12-31 | Nokia Networks Oy | QoS-arkkitehtuuri |
| US8218555B2 (en) * | 2001-04-24 | 2012-07-10 | Nvidia Corporation | Gigabit ethernet adapter |
| US7535913B2 (en) | 2002-03-06 | 2009-05-19 | Nvidia Corporation | Gigabit ethernet adapter supporting the iSCSI and IPSEC protocols |
| US20070253430A1 (en) * | 2002-04-23 | 2007-11-01 | Minami John S | Gigabit Ethernet Adapter |
| US7437463B1 (en) * | 2002-06-21 | 2008-10-14 | Polycom, Inc. | Method and means for providing scheduling for a videoconferencing network in a manner to ensure bandwidth |
| US8176545B1 (en) | 2003-12-19 | 2012-05-08 | Nvidia Corporation | Integrated policy checking system and method |
| US8442506B2 (en) * | 2004-07-23 | 2013-05-14 | Gregory Peacock | System and method for communications in a multi-platform environment |
| US8036123B1 (en) | 2005-01-07 | 2011-10-11 | Marvell International Ltd. | Integrated circuit for network stress testing |
| US8054826B2 (en) * | 2005-07-29 | 2011-11-08 | Alcatel Lucent | Controlling service quality of voice over Internet Protocol on a downlink channel in high-speed wireless data networks |
| US8797870B2 (en) * | 2006-01-05 | 2014-08-05 | Cisco Technology, Inc. | Method and system for calculation of QOV metrics |
| US8472371B1 (en) | 2007-02-21 | 2013-06-25 | At&T Mobility Ii Llc | Roaming support for wireless access subscriber over fixed IP access networks |
| CN101330700B (zh) * | 2007-06-19 | 2012-02-29 | 中兴通讯股份有限公司 | 一种实现上行ip承载话音业务调度的方法 |
| JP2010074227A (ja) * | 2008-09-16 | 2010-04-02 | Fuji Xerox Co Ltd | 情報処理システム、通信制御装置及びプログラム |
| US8578020B2 (en) * | 2009-12-24 | 2013-11-05 | Empire Technology Development Llc | Dynamic mobile application quality-of-service monitoring and reporting |
| US9191696B2 (en) * | 2012-06-15 | 2015-11-17 | Samsung Electronics Co., Ltd. | Reception device and program for reception device |
| US9602383B2 (en) | 2012-10-11 | 2017-03-21 | Telefonaktiebolaget Lm Ericsson (Publ) | General packet radio service tunnel performance monitoring |
| US9338678B2 (en) * | 2012-10-11 | 2016-05-10 | Telefonaktiebolaget Lm Ericsson (Publ) | Performance monitoring of control and provisioning of wireless access points (CAPWAP) control channels |
| CN103532931B (zh) * | 2013-09-24 | 2017-01-25 | 北京星网锐捷网络技术有限公司 | 数据流传输性能的测试方法、服务器及测试系统 |
| US9300565B2 (en) * | 2014-04-17 | 2016-03-29 | Accedian Networks Inc. | System and method for out-of-line real-time in-service performance measurement |
| US11494101B2 (en) * | 2020-10-14 | 2022-11-08 | Western Digital Technologies, Inc. | Storage system and method for time-duration-based efficient block management and memory access |
Citations (6)
| Publication number | Priority date | Publication date | Assignee | Title |
|---|---|---|---|---|
| US4454601A (en) * | 1982-02-11 | 1984-06-12 | General Signal Corporation | Method and apparatus for communication of information and error checking |
| DE4017494A1 (de) * | 1989-06-01 | 1990-12-06 | Mitsubishi Electric Corp | Fehlerdetektor fuer eine fernmeldeschaltung |
| US5168500A (en) * | 1989-07-04 | 1992-12-01 | Fujitsu Limited | Method for automatically discriminating low-speed interface units installed in an optical data transmission apparatus together with automatically confirming the installation |
| DE19638424C1 (de) * | 1996-09-19 | 1998-01-22 | Siemens Ag | Verfahren zur getakteten seriellen Datenübertragung von Datenblöcken gleicher Blocklänge |
| RU2121770C1 (ru) * | 1994-02-22 | 1998-11-10 | Квэлкомм Инкорпорейтед | Формирование звуковой обратной связи по цифровому сигналу |
| EP0910194A2 (en) * | 1997-09-24 | 1999-04-21 | At&T Wireless Services, Inc. | Network test system |
Family Cites Families (8)
| Publication number | Priority date | Publication date | Assignee | Title |
|---|---|---|---|---|
| US5450394A (en) * | 1994-03-10 | 1995-09-12 | Northern Telecom Limited | Delay monitoring of telecommunication networks |
| WO1997003508A1 (en) * | 1995-07-13 | 1997-01-30 | Sony Corporation | Data transmission method, data transmission apparatus and data transmission system |
| EP1919117B1 (en) * | 1998-11-30 | 2014-10-15 | Panasonic Corporation | Packet retransmission control using priority information |
| EP1075129A1 (en) | 1999-08-06 | 2001-02-07 | BRITISH TELECOMMUNICATIONS public limited company | Test method for computer telephony |
| US6577648B1 (en) * | 1999-10-04 | 2003-06-10 | Nokia Corporation | Method and apparatus for determining VoIP QoS characteristics of a network using multiple streams of packets and synchronizing measurements of the streams |
| US6731649B1 (en) * | 2000-07-26 | 2004-05-04 | Rad Data Communication Ltd. | TDM over IP (IP circuit emulation service) |
| US7016340B1 (en) * | 2001-10-26 | 2006-03-21 | General Bandwidth Inc. | System and method for testing a voice gateway |
| US7010595B2 (en) * | 2001-12-14 | 2006-03-07 | D-Link Corp. | Apparatus for multi-level loopback test in a community network system and method therefor |
-
2000
- 2000-02-14 FI FI20000316A patent/FI20000316A7/fi unknown
-
2001
- 2001-01-15 KR KR10-2002-7010635A patent/KR100448280B1/ko not_active Expired - Fee Related
- 2001-01-15 JP JP2001559189A patent/JP2003523132A/ja not_active Abandoned
- 2001-01-15 RU RU2002124604/09A patent/RU2249305C2/ru not_active IP Right Cessation
- 2001-01-15 WO PCT/FI2001/000033 patent/WO2001059981A1/en not_active Ceased
- 2001-01-15 EP EP01951195A patent/EP1256200B1/en not_active Expired - Lifetime
- 2001-01-15 ES ES01951195T patent/ES2278760T3/es not_active Expired - Lifetime
- 2001-01-15 AU AU28535/01A patent/AU2853501A/en not_active Abandoned
- 2001-01-15 DE DE60125512T patent/DE60125512T2/de not_active Expired - Fee Related
- 2001-01-15 AT AT01951195T patent/ATE349827T1/de not_active IP Right Cessation
- 2001-01-15 BR BR0108329-5A patent/BR0108329A/pt not_active IP Right Cessation
- 2001-01-15 CA CA002399056A patent/CA2399056A1/en not_active Abandoned
- 2001-01-15 CN CNB018049435A patent/CN1240199C/zh not_active Expired - Fee Related
- 2001-01-15 US US10/204,107 patent/US7274714B2/en not_active Expired - Fee Related
- 2001-01-15 MX MXPA02007832A patent/MXPA02007832A/es not_active Application Discontinuation
Patent Citations (6)
| Publication number | Priority date | Publication date | Assignee | Title |
|---|---|---|---|---|
| US4454601A (en) * | 1982-02-11 | 1984-06-12 | General Signal Corporation | Method and apparatus for communication of information and error checking |
| DE4017494A1 (de) * | 1989-06-01 | 1990-12-06 | Mitsubishi Electric Corp | Fehlerdetektor fuer eine fernmeldeschaltung |
| US5168500A (en) * | 1989-07-04 | 1992-12-01 | Fujitsu Limited | Method for automatically discriminating low-speed interface units installed in an optical data transmission apparatus together with automatically confirming the installation |
| RU2121770C1 (ru) * | 1994-02-22 | 1998-11-10 | Квэлкомм Инкорпорейтед | Формирование звуковой обратной связи по цифровому сигналу |
| DE19638424C1 (de) * | 1996-09-19 | 1998-01-22 | Siemens Ag | Verfahren zur getakteten seriellen Datenübertragung von Datenblöcken gleicher Blocklänge |
| EP0910194A2 (en) * | 1997-09-24 | 1999-04-21 | At&T Wireless Services, Inc. | Network test system |
Also Published As
| Publication number | Publication date |
|---|---|
| FI20000316A0 (fi) | 2000-02-14 |
| JP2003523132A (ja) | 2003-07-29 |
| FI20000316L (fi) | 2001-08-15 |
| KR100448280B1 (ko) | 2004-09-10 |
| ATE349827T1 (de) | 2007-01-15 |
| CN1240199C (zh) | 2006-02-01 |
| BR0108329A (pt) | 2003-03-11 |
| WO2001059981A1 (en) | 2001-08-16 |
| EP1256200A1 (en) | 2002-11-13 |
| CN1401170A (zh) | 2003-03-05 |
| DE60125512D1 (de) | 2007-02-08 |
| US20030108033A1 (en) | 2003-06-12 |
| MXPA02007832A (es) | 2002-10-23 |
| US7274714B2 (en) | 2007-09-25 |
| FI20000316A7 (fi) | 2001-08-15 |
| CA2399056A1 (en) | 2001-08-16 |
| ES2278760T3 (es) | 2007-08-16 |
| AU2853501A (en) | 2001-08-20 |
| EP1256200B1 (en) | 2006-12-27 |
| RU2002124604A (ru) | 2004-02-10 |
| KR20020077460A (ko) | 2002-10-11 |
| DE60125512T2 (de) | 2007-08-02 |
Similar Documents
| Publication | Publication Date | Title |
|---|---|---|
| RU2249305C2 (ru) | Эмуляция информационного потока | |
| Bolot | Characterizing end-to-end packet delay and loss in the internet | |
| US6360271B1 (en) | System for dynamic jitter buffer management based on synchronized clocks | |
| US8593975B2 (en) | Non-intrusive monitoring of quality levels for voice communications over a packet-based network | |
| US20050094628A1 (en) | Optimizing packetization for minimal end-to-end delay in VoIP networks | |
| Jha et al. | Engineering Internet QoS | |
| US6868094B1 (en) | Method and apparatus for measuring network data packet delay, jitter and loss | |
| KR100716153B1 (ko) | 비동기 패킷 전송망에서의 단대단 지연 측정 방법, 비동기패킷 송신기 및 수신기 | |
| EP1113645A2 (en) | A method and device for timing the processing of data packets | |
| GB2398703A (en) | Call routing in voip based on MOS prediction value | |
| CN101099350B (zh) | 中继方法、中继装置、通信系统 | |
| KR100499673B1 (ko) | 초고속 인터넷 서비스에서의 웹기반 단대단모의VoIP품질측정방법 | |
| US7050465B2 (en) | Response time measurement for adaptive playout algorithms | |
| US6791987B1 (en) | Maintaining synchronization over asynchronous interface | |
| US20050174947A1 (en) | Method and process for video over IP network management | |
| Yletyinen | The quality of voice over ip | |
| Xu | Packet Voice Over Non-QoS Networks | |
| Bernardo et al. | Formal performance modeling and evaluation of an adaptive mechanism for packetized audio over the internet | |
| Walker et al. | Evaluating Data Networks for Voice Readiness | |
| Gao | Real-time Transmission Over Internet | |
| Park | Performance Evaluation for VoIP with Codec, QoS, and OPNET | |
| Al-Rawi | Detecting network Quality of Service on a hop-by-hop basis for on-line multimedia application connections | |
| Knezevic et al. | ANALYSIS OF SOME QUALITY OF SERVICE PARAMETERS'IMPACT ON END-TO-END DELAY MEASUREMENTS IN VOIP NETWORK | |
| SECTOR et al. | CAUTION! PREPUBLISHED RECOMMENDATION | |
| Çelikadam | Design and development of an internet telephony test device |
Legal Events
| Date | Code | Title | Description |
|---|---|---|---|
| MM4A | The patent is invalid due to non-payment of fees |
Effective date: 20100116 |