RU2213187C2 - Предварительно напряженная железобетонная балка с регулируемой силой натяжения - Google Patents
Предварительно напряженная железобетонная балка с регулируемой силой натяженияInfo
- Publication number
- RU2213187C2 RU2213187C2 RU2001115699/03A RU2001115699A RU2213187C2 RU 2213187 C2 RU2213187 C2 RU 2213187C2 RU 2001115699/03 A RU2001115699/03 A RU 2001115699/03A RU 2001115699 A RU2001115699 A RU 2001115699A RU 2213187 C2 RU2213187 C2 RU 2213187C2
- Authority
- RU
- Russia
- Prior art keywords
- steel cables
- bridge
- unstretched
- reinforced concrete
- building
- Prior art date
Links
- 239000011150 reinforced concrete Substances 0.000 title claims abstract description 18
- 229910000831 Steel Inorganic materials 0.000 claims abstract description 82
- 239000010959 steel Substances 0.000 claims abstract description 82
- 238000010276 construction Methods 0.000 claims description 17
- 230000001105 regulatory effect Effects 0.000 claims description 5
- 238000005266 casting Methods 0.000 claims description 4
- 239000011513 prestressed concrete Substances 0.000 claims 1
- 239000000126 substance Substances 0.000 abstract 1
- 238000000034 method Methods 0.000 description 5
- 239000004567 concrete Substances 0.000 description 4
- 238000005516 engineering process Methods 0.000 description 4
- 238000005452 bending Methods 0.000 description 2
- 230000007774 longterm Effects 0.000 description 2
- 238000012986 modification Methods 0.000 description 2
- 230000004048 modification Effects 0.000 description 2
- 230000002787 reinforcement Effects 0.000 description 2
- 230000003014 reinforcing effect Effects 0.000 description 2
- 230000003321 amplification Effects 0.000 description 1
- 230000015572 biosynthetic process Effects 0.000 description 1
- 239000011372 high-strength concrete Substances 0.000 description 1
- 238000004519 manufacturing process Methods 0.000 description 1
- 238000003199 nucleic acid amplification method Methods 0.000 description 1
- 230000002035 prolonged effect Effects 0.000 description 1
- 230000035939 shock Effects 0.000 description 1
Images
Classifications
-
- E—FIXED CONSTRUCTIONS
- E04—BUILDING
- E04C—STRUCTURAL ELEMENTS; BUILDING MATERIALS
- E04C3/00—Structural elongated elements designed for load-supporting
- E04C3/02—Joists; Girders, trusses, or trusslike structures, e.g. prefabricated; Lintels; Transoms; Braces
- E04C3/20—Joists; Girders, trusses, or trusslike structures, e.g. prefabricated; Lintels; Transoms; Braces of concrete or other stone-like material, e.g. with reinforcements or tensioning members
- E04C3/26—Joists; Girders, trusses, or trusslike structures, e.g. prefabricated; Lintels; Transoms; Braces of concrete or other stone-like material, e.g. with reinforcements or tensioning members prestressed
-
- E—FIXED CONSTRUCTIONS
- E01—CONSTRUCTION OF ROADS, RAILWAYS, OR BRIDGES
- E01D—CONSTRUCTION OF BRIDGES, ELEVATED ROADWAYS OR VIADUCTS; ASSEMBLY OF BRIDGES
- E01D22/00—Methods or apparatus for repairing or strengthening existing bridges ; Methods or apparatus for dismantling bridges
Landscapes
- Engineering & Computer Science (AREA)
- Architecture (AREA)
- Civil Engineering (AREA)
- Structural Engineering (AREA)
- Bridges Or Land Bridges (AREA)
- Rod-Shaped Construction Members (AREA)
- Adhesives Or Adhesive Processes (AREA)
- Polyurethanes Or Polyureas (AREA)
Abstract
Изобретение относится к области строительства, в частности к предварительно напряженным железобетонным балкам для зданий или мостов. Технический результат изобретения заключается в повышении несущей способности конструкции и эксплуатационной надежности. Предварительно напряженная железобетонная балка с регулируемой силой натяжения для регулирования силы сопротивления нагрузке состоит из верхнего фланца, поддерживающего верхний настил моста или здания, смонтированный на нем, корпусной части и нижнего фланца, которая включает стальные тросы, предусмотренные в продольном направлении балки и натягиваемые для уравновешивания указанной силы сопротивления нагрузке, и по меньшей мере один или более не натянутых стальных тросов, предусмотренных в продольном направлении балки, так что сила сопротивления нагрузке моста или здания может быть увеличена путем натяжения не натянутых стальных тросов. 5 з.п.ф-лы, 9 ил.
Description
Область техники, к которой относится изобретение
Изобретение относится к балке, и в частности предварительно напряженной железобетонной балке с регулируемой силой натяжения, которая может компенсировать прогиб и трещины балки, возникающие из-за долговременной нагрузки, и способна регулировать силу натяжения посредством увеличения, при необходимости, силы сопротивления нагрузке моста или здания после их возведения.
Изобретение относится к балке, и в частности предварительно напряженной железобетонной балке с регулируемой силой натяжения, которая может компенсировать прогиб и трещины балки, возникающие из-за долговременной нагрузки, и способна регулировать силу натяжения посредством увеличения, при необходимости, силы сопротивления нагрузке моста или здания после их возведения.
Уровень техники
Обычно, когда балки, установленные на опоры железобетонного моста, становятся морально устаревшими с течением времени или при прохождении тяжелых транспортных средств, превосходящих по весу первоначальный допустимый вес для моста, в течение длительного периода времени, мостовая балка может быть повреждена, и в железобетонных балках может возникать чрезмерный прогиб. Одновременно возникают трещины от изгиба/напряжения и, если эти повреждения продолжаются непрерывно, то в конце концов мост может обрушиться. Таким образом, необходимо выполнять соответствующий ремонт и повторное усиление моста.
Обычно, когда балки, установленные на опоры железобетонного моста, становятся морально устаревшими с течением времени или при прохождении тяжелых транспортных средств, превосходящих по весу первоначальный допустимый вес для моста, в течение длительного периода времени, мостовая балка может быть повреждена, и в железобетонных балках может возникать чрезмерный прогиб. Одновременно возникают трещины от изгиба/напряжения и, если эти повреждения продолжаются непрерывно, то в конце концов мост может обрушиться. Таким образом, необходимо выполнять соответствующий ремонт и повторное усиление моста.
В настоящее время предварительно напряженный железобетонный мост ремонтируют и повторно усиливают с помощью способа усиления конструкции наружными стальными тросами. В соответствии с указанным выше способом усиления конструкции необходимо закрепить соответствующим образом установленный снаружи стальной трос на концевой части железобетонной балки.
Однако трудно установить закрепляющее трос устройство на концевой части железобетонной балки и трудно обеспечить надежность силы сопротивления нагрузке закрепляющего трос устройства. Таким образом, хотя были предложены и применялись другие способы, однако до настоящего времени еще не разработаны эффективные устройства. То есть, когда в предварительно напряженном железобетонном мосте возникают трещины и прогиб, то очень сложно ремонтировать и усиливать мост.
Кроме того, по мере постоянного увеличения объема перевозок и развития технологии производства автомобилей увеличивается вес транспортных средств. По мере увеличения веса транспортных средств необходимо модифицировать технические характеристики, являющиеся стандартными при конструировании моста. Модификация технических характеристик неизбежно приводит к несбалансированному состоянию сопротивления нагрузке, т.е. силы сопротивления нагрузке существующих мостов являются несбалансированными. Другими словами, когда существуют и дороги, обеспечивающие прохождение тяжелых транспортных средств, и дороги, не обеспечивающие прохождение тяжелых транспортных средств, эффективность системы транспортных сетей в целом значительно понижается. Таким образом, для уравновешивания несбалансированных сил сопротивления нагрузке таких мостов срочно необходимо найти экономически выгодный способ для модернизации уровня моста с 2 до 1.
По мере увеличения ширины дорог вследствие увеличения количества полос движения продолжаются разработки широкопролетных балок для строительства путепроводов или эстакад, пересекающих широкие дороги. Хотя была разработана предварительно изогнутая балка и применялась для указанных выше целей, транспортировка балки является неудобной из-за ее большой длины и высокой стоимости.
В настоящее время используют высокопрочный бетон для балки длиной менее 30 м, которая не является балкой с большим пролетом.
Однако, поскольку к балке прикладывают большую силу натяжения, то становится большой величина ползучести. При увеличении ползучести увеличивается прогиб балки, что непосредственно влияет на продольное выравнивание дороги. При ухудшении продольного выравнивания дороги увеличивается коэффициент ударной нагрузки от проходящего транспорта. Таким образом, в случае высокопрочной балки или балки с большим пролетом при использовании балки в течение длительного времени необходим соответствующий способ конструирования для компенсации прогиба балки.
Высота балки, имеющей большой пролет, также относительно велика, так что сама балка имеет высоту 2.00-3.00 м. Этот факт приводит к увеличению высоты верхнего настила эстакады, так что для обеспечения продольного выравнивания эстакады, соответствующей проектной скорости транспортных средств, длина эстакады становится больше, что увеличивает стоимость строительства. В случае пересечения мостом реки уменьшение высоты балки насколько это возможно неизбежно необходимо для улучшения ее полезности и экономической ценности балки.
На фиг.1 показана конструкция обычного моста. Как показано на фиг.1, на опоре 10 моста установлено множество I-образных балок 12. Плита верхнего настила (не изображена) установлена на балки 12 моста.
На фиг.2 показан разрез балки, в которой стальные тросы расположены согласно обычной технологии. Как показано на фиг.2, балка 20 состоит из корпусной части 22, верхнего фланца 28 и нижнего фланца 24. Множество стальных тросов 26 встроено в корпусную часть 22 в продольном направлении. Верхний настил моста устанавливают на верхний фланец 28, а нижняя поверхность нижнего фланца 24 поддерживается опорой 10.
После установки I-образной балки 20, изготовленной согласно обычной технологии, в случае повреждения моста, т.е. образования прогиба и трещин вследствие увеличения объема транспортного потока, проходящего по мосту, или же когда необходимо увеличить допустимую расчетную нагрузку в соответствии с пересмотром технических характеристик, необходимо выполнить усиление моста.
Однако для этого не существует применимых экономичных и надежных способов усиления.
Наиболее близким техническим решением по совокупности существенных признаков и достигаемому техническому результату является предварительно напряженная железобетонная балка с регулируемой силой натяжения для регулирования силы сопротивления нагрузке, состоящая из верхнего фланца, поддерживающего плиту верхнего настила моста или здания, смонтированную на нем, корпусной части и нижнего фланца, при этом указанная предварительно напряженная железобетонная балка содержит натянутые стальные тросы, предусмотренные в продольном направлении указанной балки и натягиваемые для компенсации силы сопротивления нагрузке, известная из SU 1744172 A1 (кл. E 01 D 22/00, 1992 - 4с.).
Сущность изобретения
Задачей данного изобретения является создание предварительно напряженной железобетонной балки, силу натяжения которой можно регулировать посредством регулирования силы натяжения стального троса, предусмотренного в корпусной части или в нижнем фланце балки, для простого увеличения силы сопротивления нагрузке моста или здания, когда возникают чрезмерный прогиб или трещины в балке вследствие долговременного использования или когда необходимо увеличить силу сопротивления нагрузке моста или здания без повреждения моста или здания.
Задачей данного изобретения является создание предварительно напряженной железобетонной балки, силу натяжения которой можно регулировать посредством регулирования силы натяжения стального троса, предусмотренного в корпусной части или в нижнем фланце балки, для простого увеличения силы сопротивления нагрузке моста или здания, когда возникают чрезмерный прогиб или трещины в балке вследствие долговременного использования или когда необходимо увеличить силу сопротивления нагрузке моста или здания без повреждения моста или здания.
Для выполнения этой задачи, согласно изобретению, создана предварительно напряженная железобетонная балка с регулируемой силой натяжения для регулирования силы сопротивления нагрузке, которая состоит из верхнего фланца, поддерживающего верхний настил моста, смонтированный на нем, корпусной части и нижнего фланца, которая включает натянутые стальные тросы, предусмотренные в продольном направлении балки и натягиваемые для компенсации силы сопротивления нагрузке, и по меньшей мере один или более не натянутых стальных тросов, предусмотренных в продольном направлении балки, так что силу сопротивления нагрузке моста можно увеличить посредством натяжения не натянутых стальных тросов.
Предварительно напряженная железобетонная балка с регулируемой силой натяжения, согласно изобретению, предпочтительно, дополнительно содержит открытую вырезанную часть в заданной части в продольном направлении балки, и в открытой вырезанной части установлен соединительный элемент для закрепления одних концов стальных тросов, другие концы которых закреплены в одной из концевых частей балки.
Согласно другому предпочтительному варианту выполнения данного изобретения, создана предварительно напряженная железобетонная балка с регулируемой силой натяжения для регулирования силы сопротивления нагрузке, которая состоит из верхнего фланца, поддерживающего верхний настил моста, смонтированный на нем, корпусной части и нижнего фланца, которая включает натянутые стальные тросы, предусмотренные в продольном направлении балки и натягиваемые для компенсации силы сопротивления нагрузке, и один или более не натянутых стальных тросов, предусмотренных в продольном направлении балки, так что силу сопротивления нагрузке моста можно увеличивать посредством натяжения не натянутых стальных тросов во время сооружения балки и/или после ее сооружения.
Хотя данное изобретение можно применять к любому типу балки независимо от поперечного сечения балки, таким как I-образная балка или утолщенная Т-образная балка, в приведенном ниже предпочтительном варианте выполнения описана I-образная балка.
Краткое описание чертежей
Фиг.1 - конструкция обычного моста в изометрической проекции;
фиг.2 - разрез, показывающий расположение стальных тросов в балке, согласно обычной технологии;
фиг. 3А - разрез, показывающий расположение стальных тросов в средней части балки, согласно данному изобретению;
фиг. 3В - разрез, показывающий расположение стальных тросов, согласно другому предпочтительному варианту выполнения данного изобретения;
фиг. 4А - разрез, показывающий расположение стальных тросов в концевой части балки, согласно фиг.3А;
фиг. 4В - разрез, показывающий расположение стальных тросов в концевой части балки, согласно фиг.3В;
фиг. 5 - открытая вырезанная часть, расположенная в средней части балки, и расположение стальных тросов в балке;
фиг. 6 - пример выполнения стального троса, закрепленного в концевой части балки, на виде сбоку; и
фиг.7 - пример выполнения стальных тросов в открытой вырезанной части, в изометрической проекции.
Фиг.1 - конструкция обычного моста в изометрической проекции;
фиг.2 - разрез, показывающий расположение стальных тросов в балке, согласно обычной технологии;
фиг. 3А - разрез, показывающий расположение стальных тросов в средней части балки, согласно данному изобретению;
фиг. 3В - разрез, показывающий расположение стальных тросов, согласно другому предпочтительному варианту выполнения данного изобретения;
фиг. 4А - разрез, показывающий расположение стальных тросов в концевой части балки, согласно фиг.3А;
фиг. 4В - разрез, показывающий расположение стальных тросов в концевой части балки, согласно фиг.3В;
фиг. 5 - открытая вырезанная часть, расположенная в средней части балки, и расположение стальных тросов в балке;
фиг. 6 - пример выполнения стального троса, закрепленного в концевой части балки, на виде сбоку; и
фиг.7 - пример выполнения стальных тросов в открытой вырезанной части, в изометрической проекции.
Предпочтительный вариант выполнения изобретения
Как показано на фиг. 3А, балка 40 включает верхний фланец 28, нижний фланец 24 и корпусную часть 22. Один или более натянутых стальных тросов 26 и не натянутых стальных тросов 27 встроены в поперечное сечение нижней части корпусной части 22 и нижнего фланца 24 балки 40 в продольном направлении балки 40.
Как показано на фиг. 3А, балка 40 включает верхний фланец 28, нижний фланец 24 и корпусную часть 22. Один или более натянутых стальных тросов 26 и не натянутых стальных тросов 27 встроены в поперечное сечение нижней части корпусной части 22 и нижнего фланца 24 балки 40 в продольном направлении балки 40.
Не натянутые стальные тросы 27 предпочтительно встроены в нижний фланец 24 горизонтально, параллельно друг другу, как показано на фиг.3А. Верхний фланец 28 предусмотрен над корпусной частью 22 в продольном направлении балки 40, и на верхний фланец 28 устанавливается верхний настил моста. Нижний фланец 24 предусмотрен ниже корпусной части 22 в продольном направлении балки 40, и его нижняя поверхность поддерживается опорой (не изображена).
На фиг. 3В показан стальной трос, согласно другому предпочтительному варианту выполнения данного изобретения. Как показано на фиг.3В, предусмотрено несколько не натянутых стальных тросов 27а в продольном направлении балки 40 снаружи нижней части корпусной части 22. Не натянутые стальные тросы 27а имеют ту же функцию, что и не натянутые стальные тросы 27, предусмотренные в нижнем фланце 24, как показано на фиг.3А. То есть, после строительства моста прогиб балки 40 компенсируется посредством натяжения не натянутых стальных тросов 27а. Не натянутые стальные тросы 27 также намного проще устанавливать по сравнению с установкой внутри нижнего фланца 24.
На фиг.4А показано расположение стальных тросов, встроенных в балку, согласно фиг.3А. Как показано на фиг. 4А, натянутые стальные тросы 26 и не натянутые стальные тросы 27, сконцентрированные в нижней части балки 40, распределены по всему поперечному сечению балки 40. То есть, стальные тросы равномерно распределены симметрично в верхней и нижней, левой и правой сторонах балки 40, так что сила натяжения, создаваемая натянутыми стальными тросами 26 и не натянутыми стальными тросами 27, может быть равномерно распределена по всей части балки 40.
На фиг.4В показано расположение стальных тросов в концевой части балки, показанной на фиг. 3В. Как показано на фиг.4В, натянутые стальные тросы 26 или не натянутые стальные тросы 27 и 27а, сконцентрированные в нижней части балки, как показано на фиг.3В, равномерно распределены симметрично в верхней и нижней, левой и правой сторонах, так что сила натяжения, создаваемая натянутыми или не натянутыми стальными тросами 26, 27 или 27а, равномерно распределена по всей части балки 40.
На фиг.5 показано расположение стальных тросов в продольном направлении в балке, согласно фиг.3А, и открытая вырезанная часть, расположенная в середине балки. Натянутые стальные тросы 26 и не натянутые стальные тросы 27, предусмотренные внутри балки 40, сконцентрированы в нижней части средней части балки 40 и равномерно распределены по всему поперечному сечению балки 40 в обеих концевых частях балки 40. Натянутые и не натянутые стальные тросы 26 и 27 закреплены на обоих концах балки 40 с помощью фиксирующего средства 32, которое является якорным устройством. Фиксирующее средство 32 закрывают бетоном (не изображен) после сооружения балки 40.
В данном случае, когда балки установлены с интервалом между ними, или когда часть конца балки отрезана, как показано на чертеже, между смежными балками образуется пространство. Таким образом, работу по натяжению можно выполнять в пространстве, когда в последующем необходимо снова натянуть натянутые и не натянутые стальные тросы 26 и 27. Однако, в этом случае концевая часть балки 40 не должна быть покрыта бетоном. В этом случае один конец стальных тросов 26 и 27 выходит наружу в любой из концевых частей балки 40 для приложения силы натяжения.
В предпочтительном варианте выполнения балка также снабжена открытой вырезанной частью 36 для регулирования силы натяжения не натянутых стальных тросов 27 в средней части балки или в другом подходящем положении. Открытая вырезанная часть 36 используется как пространство для размещения соединительного элемента не натянутых стальных тросов 27. То есть, открытое вырезанное пространство используется в последующем в качестве рабочего пространства для регулирования силы натяжения не натянутых стальных тросов 27.
Когда в балке 40, согласно данному изобретению, образуются трещины 34 или чрезмерный прогиб 35, обозначенный пунктирными линиями, как показано на фиг. 5, один или более не натянутых стальных тросов 27 и 27а, установленных внутри или снаружи балки 40, дополнительно натягивают для усиления. В данном случае дополнительную работу по натяжению не натянутых стальных тросов 27 и 27а выполняют с использованием гидравлического домкрата. Силы натяжения не натянутых стальных тросов 27 и 27а также регулируют во время или после отливки плиты и после строительства, а также регулируют силу натяжения во время эксплуатации моста. То есть, в случае многопролетного моста неразрезной системы повторное натяжение может быть выполнено перед отливкой плиты. Однако, согласно данному изобретению, повторное натяжение выполняется через короткое время после отливки плиты, пока не затвердел бетон плиты, для предотвращения приложения силы натяжения к плите.
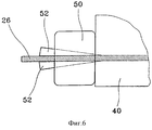
На фиг.6 показан предпочтительный вариант выполнения закрепления стального троса в концевой части балки. Стальной трос 26 закреплен с использованием опорного элемента 50 в качестве анкерного устройства. Например, стальной трос 26 вставлен в отверстие, образованное в центре опорного элемента 50 на одном конце балки 40. Между стальным тросом 26 и опорным элементом 50 вставлено множество клиньев 52. В данном случае стальной трос 26 натянут с помощью гидравлического домкрата и натянутый стальной трос 26 закреплен клиньями 52.
На фиг.7 показаны стальные тросы, соединенные соединительным элементом в качестве предпочтительного варианта выполнения соединения стальных тросов в открытой вырезанной части. Как показано на чертеже, открытая вырезанная часть 36 образована в середине нижней поверхности балки 40 в продольном направлении. Стальные тросы 26, закрепленные на обоих концах балки 40, соединены с соединительным элементом 62, так что прикладываются силы в различных направлениях. В данном случае, натянутый стальной трос 26, подлежащий соединению с соединительным элементом 62, соединен с использованием опорного элемента 50 и клиньев 52.
Таким образом, не натянутые стальные тросы 27, соединенные друг с другом с помощью соединительного элемента 62, натягиваются и закрепляются с помощью клиньев 52, так что можно сохранять силу натяжения, создаваемую натянутым стальным тросом 26. Посредством приложения силы натяжения к не натянутым стальным тросам 27 и 27а, предусмотренным на левой и правой сторонах балки 40, можно компенсировать изгиб балки 40 влево или вправо.
В соответствии с расположением стальных тросов и соединительного устройства, согласно данному изобретению, при строительстве моста или на первоначальной стадии строительства, стальные тросы 26 и 27 соединяют с соединительным элементом 62 с возможностью небольшого перемещения, в то время как стальные тросы, установленные снаружи балки 40, совсем не натянуты или натянуты с небольшой силой натяжения для увеличения силы натяжения стальных тросов в последующем.
Хотя в качестве примера описан мост в предпочтительном варианте выполнения, регулируемую силу натяжения для предварительного напряжения, согласно данному изобретению, можно применять для других бетонных конструкций, таких как здание, в качестве другого предпочтительного варианта выполнения.
Следует отметить, что данное изобретение не ограничено описанным выше предпочтительным вариантом выполнения и что возможны очевидные для специалистов в данной области техники вариации и модификации внутри идеи и объема данного изобретения, определяемых прилагаемой формулой изобретения.
Промышленная применимость
Как указывалось выше, согласно данному изобретению, можно исправлять трещины и прогиб моста, создаваемые вследствие продолжительного разрушения, ползучести или перегрузки, с помощью дополнительного натяжения стальных тросов, установленных внутри или снаружи балки моста. Таким образом, упрощается ремонт и усиление моста, за счет чего можно простым образом увеличить силу сопротивления нагрузке моста. При постепенном регулировании силы натяжения можно экономически выгодно изготавливать балку или можно уменьшить высоту балки.
Как указывалось выше, согласно данному изобретению, можно исправлять трещины и прогиб моста, создаваемые вследствие продолжительного разрушения, ползучести или перегрузки, с помощью дополнительного натяжения стальных тросов, установленных внутри или снаружи балки моста. Таким образом, упрощается ремонт и усиление моста, за счет чего можно простым образом увеличить силу сопротивления нагрузке моста. При постепенном регулировании силы натяжения можно экономически выгодно изготавливать балку или можно уменьшить высоту балки.
Claims (6)
1. Предварительно напряженная железобетонная балка с регулируемой силой натяжения для регулирования силы сопротивления нагрузке, состоящая из верхнего фланца, поддерживающего плиту верхнего настила моста или здания, смонтированную на нем, корпусной части и нижнего фланца, при этом указанная предварительно напряженная железобетонная балка содержит натянутые стальные тросы, предусмотренные в продольном направлении указанной балки и натягиваемые для компенсации силы сопротивления нагрузке, отличающаяся тем, что она содержит, по меньшей мере, один или более не натянутых стальных тросов, выполненных с возможностью натяжения для увеличения силы сопротивления нагрузке указанного моста или здания.
2. Балка по п. 1, отличающаяся тем, что дополнительно содержит открытую вырезанную часть в заданной части в продольном направлении указанной балки и соединительный элемент, установленный в указанной открытой вырезанной части для закрепления одних концов указанных стальных тросов, другие концы которых закреплены в концевой части указанной балки.
3. Балка по п. 2, отличающаяся тем, что указанный соединительный элемент содержит опорный элемент, имеющий отверстия, образованные в нем, через которые проходят одни концы указанных стальных тросов, другие концы которых закреплены в концевой части указанной балки, и клинья, вставленные между указанным стальным тросом и указанным опорным элементом.
4. Балка по п. 1, отличающаяся тем, что один конец указанного не натянутого стального троса выходит наружу в одной из концевых частей указанной балки для приложения силы натяжения.
5. Балка по п. 1, отличающаяся тем, что сила сопротивления нагрузке указанного моста или здания может быть увеличена посредством натяжения указанных не натянутых стальных тросов во время сооружения указанной балки и/или после ее сооружения.
6. Балка по п. 5, отличающаяся тем, что во время сооружения регулируется сила натяжения указанных не натянутых стальных тросов во время или после отливки плиты и после сооружения сила натяжения указанных не натянутых стальных тросов регулируется во время эксплуатации указанных моста или здания.
Applications Claiming Priority (2)
| Application Number | Priority Date | Filing Date | Title |
|---|---|---|---|
| KR1019980047661A KR100301431B1 (ko) | 1998-11-07 | 1998-11-07 | 긴장력조정이가능한프리스트레스트콘크리트거더 |
| KR1998/47661 | 1998-11-07 |
Publications (2)
| Publication Number | Publication Date |
|---|---|
| RU2001115699A RU2001115699A (ru) | 2003-05-27 |
| RU2213187C2 true RU2213187C2 (ru) | 2003-09-27 |
Family
ID=19557479
Family Applications (1)
| Application Number | Title | Priority Date | Filing Date |
|---|---|---|---|
| RU2001115699/03A RU2213187C2 (ru) | 1998-11-07 | 1999-09-20 | Предварительно напряженная железобетонная балка с регулируемой силой натяжения |
Country Status (15)
| Country | Link |
|---|---|
| EP (1) | EP1129263B1 (ru) |
| JP (1) | JP2003501568A (ru) |
| KR (1) | KR100301431B1 (ru) |
| CN (1) | CN1115451C (ru) |
| AT (1) | ATE259020T1 (ru) |
| AU (1) | AU750126B2 (ru) |
| BR (1) | BR9915041A (ru) |
| CA (1) | CA2349855C (ru) |
| DE (1) | DE69914621T2 (ru) |
| ES (1) | ES2217805T3 (ru) |
| RU (1) | RU2213187C2 (ru) |
| TR (1) | TR200101267T2 (ru) |
| UA (1) | UA70968C2 (ru) |
| WO (1) | WO2000028168A1 (ru) |
| ZA (1) | ZA200103608B (ru) |
Cited By (1)
| Publication number | Priority date | Publication date | Assignee | Title |
|---|---|---|---|---|
| RU2669595C1 (ru) * | 2017-11-27 | 2018-10-12 | Общество с ограниченной ответственностью "НПП СК МОСТ" | Способ усиления пролетного строения мостового сооружения с изменением поперечного сечения |
Families Citing this family (16)
| Publication number | Priority date | Publication date | Assignee | Title |
|---|---|---|---|---|
| KR20010036486A (ko) * | 1999-10-08 | 2001-05-07 | 박상일 | 다단계 긴장식 프리스트레스트 거더의 설계 방법 및 거더의 제조방법 |
| KR20020071611A (ko) * | 2001-03-07 | 2002-09-13 | 박재만 | 피에스에스 빔 |
| KR100427405B1 (ko) * | 2001-03-07 | 2004-04-17 | 박재만 | 피에스에스씨 합성거더 |
| KR100466429B1 (ko) * | 2001-09-28 | 2005-01-13 | 허진구 | 외부긴장이 가능한 psc거더 |
| KR20040049590A (ko) * | 2002-12-06 | 2004-06-12 | 한국과학기술원 | 다단 타설 긴장식 프리스트레스트 거더 |
| WO2006007659A1 (en) | 2004-07-21 | 2006-01-26 | S2 Holdings Pty Limited | Building methods |
| US20080092481A1 (en) * | 2004-07-21 | 2008-04-24 | Murray Ellen | Building Methods |
| KR100950027B1 (ko) | 2009-12-04 | 2010-03-29 | 영창중공업 주식회사 | 교량용 합성거더 |
| KR101263305B1 (ko) | 2011-10-25 | 2013-05-10 | 김상운 | 교량 상판의 보정구조 |
| KR101265544B1 (ko) | 2012-05-15 | 2013-05-20 | 주식회사 장헌산업 | 디본딩 방식을 적용한 프리텐션 피에스씨 i형 거더 |
| CN103147537B (zh) * | 2013-03-05 | 2016-08-03 | 哈尔滨工程大学 | 一种弯曲承载钢梁 |
| CH706630B1 (de) * | 2013-05-14 | 2013-12-31 | S & P Clever Reinforcement Company Ag | Verfahren zum Vorspannen eines Stahlbauwerkes sowie damit vorgespanntes Stahlbauwerk. |
| KR101682923B1 (ko) | 2016-06-15 | 2016-12-06 | 주식회사 노빌테크 | 채널형 프리스트레스트 거더의 제작방법 및 이에 의해 제작된 거더를 이용한 교량의 시공방법 |
| CN106758873A (zh) * | 2016-11-11 | 2017-05-31 | 太原理工大学 | 一种穿心式预应力加强横隔板与主梁连接的方法 |
| RU2677188C1 (ru) * | 2018-02-26 | 2019-01-15 | Федеральное государственное бюджетное образовательное учреждение высшего образования "Петербургский государственный университет путей сообщения Императора Александра I" | Предварительно напряженная сталебетонная балка |
| CN113324848B (zh) * | 2021-05-20 | 2022-07-15 | 山东大学 | 一种沥青混合料小梁试件低温弯曲应变试验方法 |
Citations (4)
| Publication number | Priority date | Publication date | Assignee | Title |
|---|---|---|---|---|
| US4831800A (en) * | 1987-06-24 | 1989-05-23 | Nedelcu Lucian I | Beam with an external reinforcement system |
| SU1744172A1 (ru) * | 1990-10-29 | 1992-06-30 | Казанский инженерно-строительный институт | Усиленна балка железобетонного пролетного строени |
| US5313749A (en) * | 1992-04-28 | 1994-05-24 | Conner Mitchel A | Reinforced steel beam and girder |
| US5671572A (en) * | 1994-02-11 | 1997-09-30 | Siller-Franco; Jose Luis | Method for externally reinforcing girders |
Family Cites Families (2)
| Publication number | Priority date | Publication date | Assignee | Title |
|---|---|---|---|---|
| US4604003A (en) * | 1983-02-22 | 1986-08-05 | Francoeur Ronald A | Method and apparatus for retensioning prestressed concrete members |
| KR100261556B1 (ko) * | 1997-12-31 | 2000-07-15 | 박재만 | 프리스트레스 구조물의 재긴장장치 |
-
1998
- 1998-11-07 KR KR1019980047661A patent/KR100301431B1/ko not_active Expired - Fee Related
-
1999
- 1999-09-20 CN CN99813000A patent/CN1115451C/zh not_active Expired - Fee Related
- 1999-09-20 DE DE69914621T patent/DE69914621T2/de not_active Expired - Fee Related
- 1999-09-20 JP JP2000581321A patent/JP2003501568A/ja active Pending
- 1999-09-20 RU RU2001115699/03A patent/RU2213187C2/ru not_active IP Right Cessation
- 1999-09-20 CA CA002349855A patent/CA2349855C/en not_active Expired - Fee Related
- 1999-09-20 BR BR9915041-7A patent/BR9915041A/pt not_active IP Right Cessation
- 1999-09-20 WO PCT/KR1999/000567 patent/WO2000028168A1/en not_active Ceased
- 1999-09-20 AT AT99944909T patent/ATE259020T1/de not_active IP Right Cessation
- 1999-09-20 UA UA2001042935A patent/UA70968C2/ru unknown
- 1999-09-20 TR TR2001/01267T patent/TR200101267T2/xx unknown
- 1999-09-20 ES ES99944909T patent/ES2217805T3/es not_active Expired - Lifetime
- 1999-09-20 AU AU57633/99A patent/AU750126B2/en not_active Ceased
- 1999-09-20 EP EP99944909A patent/EP1129263B1/en not_active Expired - Lifetime
-
2001
- 2001-05-04 ZA ZA200103608A patent/ZA200103608B/en unknown
Patent Citations (4)
| Publication number | Priority date | Publication date | Assignee | Title |
|---|---|---|---|---|
| US4831800A (en) * | 1987-06-24 | 1989-05-23 | Nedelcu Lucian I | Beam with an external reinforcement system |
| SU1744172A1 (ru) * | 1990-10-29 | 1992-06-30 | Казанский инженерно-строительный институт | Усиленна балка железобетонного пролетного строени |
| US5313749A (en) * | 1992-04-28 | 1994-05-24 | Conner Mitchel A | Reinforced steel beam and girder |
| US5671572A (en) * | 1994-02-11 | 1997-09-30 | Siller-Franco; Jose Luis | Method for externally reinforcing girders |
Cited By (1)
| Publication number | Priority date | Publication date | Assignee | Title |
|---|---|---|---|---|
| RU2669595C1 (ru) * | 2017-11-27 | 2018-10-12 | Общество с ограниченной ответственностью "НПП СК МОСТ" | Способ усиления пролетного строения мостового сооружения с изменением поперечного сечения |
Also Published As
| Publication number | Publication date |
|---|---|
| DE69914621T2 (de) | 2004-09-23 |
| KR19990078494A (ko) | 1999-11-05 |
| EP1129263A1 (en) | 2001-09-05 |
| UA70968C2 (ru) | 2004-11-15 |
| DE69914621D1 (de) | 2004-03-11 |
| ZA200103608B (en) | 2002-08-15 |
| AU5763399A (en) | 2000-05-29 |
| CN1115451C (zh) | 2003-07-23 |
| TR200101267T2 (tr) | 2002-03-21 |
| ES2217805T3 (es) | 2004-11-01 |
| KR100301431B1 (ko) | 2001-10-29 |
| BR9915041A (pt) | 2002-06-04 |
| ATE259020T1 (de) | 2004-02-15 |
| CN1331773A (zh) | 2002-01-16 |
| AU750126B2 (en) | 2002-07-11 |
| CA2349855A1 (en) | 2000-05-18 |
| WO2000028168A1 (en) | 2000-05-18 |
| JP2003501568A (ja) | 2003-01-14 |
| EP1129263B1 (en) | 2004-02-04 |
| CA2349855C (en) | 2004-12-14 |
Similar Documents
| Publication | Publication Date | Title |
|---|---|---|
| RU2213187C2 (ru) | Предварительно напряженная железобетонная балка с регулируемой силой натяжения | |
| KR100988074B1 (ko) | 교대 벽체와 일체화 시공되는 피에스씨 거더교 및 그 시공방법 | |
| KR100592196B1 (ko) | 다수개의 지지장치가 설치된 브라켓을 이용하여 교량을지지할 수 있도록 설치된 다중지점 지지브라켓 및 이의설치방법 | |
| JP3847604B2 (ja) | 床版の打替工法 | |
| KR20040091350A (ko) | 피에스에스 거더 | |
| KR100696646B1 (ko) | 조립식 가로보에 정착 및 지지된 긴장재에 의한 ps 콘크리트 합성거더 교량의 외부긴장 공법 | |
| JPH09235705A (ja) | ゲルバー橋ヒンジ部の補強構造及び補強方法 | |
| KR100558089B1 (ko) | 박스형 콘크리트 구조물 내부면에 박스형 단면을 증설한 보수보강장치 및 이의 시공방법 | |
| KR200278091Y1 (ko) | 사장 외부케이블을 이용한 손상된 교량에서의 보수보강장치 | |
| KR100254056B1 (ko) | 교량 주형의 보수 보강 방법 및 장치 | |
| KR200333780Y1 (ko) | 다수개의 지지장치가 설치된 브라켓을 이용하여 교량을지지할 수 있도록 설치된 다중지점 지지브라켓 | |
| JP2003064621A (ja) | 吊床版橋及び吊床版の補強方法 | |
| KR20010068055A (ko) | 정착구 설치용 슬리브가 구비된 psc 거더 및 그 거더의보강방법 | |
| KR100442969B1 (ko) | 사장 외부케이블을 이용한 손상된 교량에서의 보수보강방법 및 그 장치 | |
| KR100724739B1 (ko) | 긴장력 조절이 가능한 정착구를 이용한 피에스씨 거더교량의 시공방법 | |
| KR100691848B1 (ko) | 지점바닥판에 정착되는 추가긴장재에 의한 연속 ps 콘크리트 합성거더 보강공법 | |
| KR100475585B1 (ko) | 교량의 피에스시 빔 보강 방법 및 장치 | |
| KR100462311B1 (ko) | 강재빔과 브라켓을 이용한 구조물 내하력 증진 보강구조및 그 공법 | |
| KR200263282Y1 (ko) | 교량의 강상자형 주형보 보강구조 | |
| KR200332722Y1 (ko) | 강재빔과 브라켓을 이용한 구조물 내하력 증진 보강구조 | |
| KR100509453B1 (ko) | 강연선을 이용한 연속 슬래브교의 내하력 보강장치 및이를 이용한 보강방법 | |
| KR200340006Y1 (ko) | 박스형 콘크리트 구조물의 내부면에 설치되어 콘크리트구조물의 단면을 증설하여 박스형 콘크리트 구조물을보수보강하는 박스형 콘크리트 구조물 보수보강장치 | |
| KR100372808B1 (ko) | 연속 슬래브교 보강구조 및 방법 | |
| KR200291579Y1 (ko) | 교량의 피에스시 빔 보강 장치 | |
| MXPA01004608A (en) | Tension force adjustable prestressed girder |
Legal Events
| Date | Code | Title | Description |
|---|---|---|---|
| MM4A | The patent is invalid due to non-payment of fees |
Effective date: 20100921 |