KR20180098699A - 성형장치 - Google Patents

성형장치 Download PDF

Info

Publication number
KR20180098699A
KR20180098699A KR1020187024620A KR20187024620A KR20180098699A KR 20180098699 A KR20180098699 A KR 20180098699A KR 1020187024620 A KR1020187024620 A KR 1020187024620A KR 20187024620 A KR20187024620 A KR 20187024620A KR 20180098699 A KR20180098699 A KR 20180098699A
Authority
KR
South Korea
Prior art keywords
metal pipe
mold
pipe material
molding
slide
Prior art date
Legal status (The legal status is an assumption and is not a legal conclusion. Google has not performed a legal analysis and makes no representation as to the accuracy of the status listed.)
Ceased
Application number
KR1020187024620A
Other languages
English (en)
Inventor
노리에다 우에노
마사유키 이시즈카
마사유키 사이카
타카시 코마쯔
Original Assignee
스미도모쥬기가이고교 가부시키가이샤
린츠 리서치 엔지니어링 가부시키가이샤
Priority date (The priority date is an assumption and is not a legal conclusion. Google has not performed a legal analysis and makes no representation as to the accuracy of the date listed.)
Filing date
Publication date
Application filed by 스미도모쥬기가이고교 가부시키가이샤, 린츠 리서치 엔지니어링 가부시키가이샤 filed Critical 스미도모쥬기가이고교 가부시키가이샤
Publication of KR20180098699A publication Critical patent/KR20180098699A/ko
Ceased legal-status Critical Current

Links

Images

Classifications

    • HELECTRICITY
    • H05ELECTRIC TECHNIQUES NOT OTHERWISE PROVIDED FOR
    • H05BELECTRIC HEATING; ELECTRIC LIGHT SOURCES NOT OTHERWISE PROVIDED FOR; CIRCUIT ARRANGEMENTS FOR ELECTRIC LIGHT SOURCES, IN GENERAL
    • H05B3/00Ohmic-resistance heating
    • H05B3/0004Devices wherein the heating current flows through the material to be heated
    • BPERFORMING OPERATIONS; TRANSPORTING
    • B21MECHANICAL METAL-WORKING WITHOUT ESSENTIALLY REMOVING MATERIAL; PUNCHING METAL
    • B21DWORKING OR PROCESSING OF SHEET METAL OR METAL TUBES, RODS OR PROFILES WITHOUT ESSENTIALLY REMOVING MATERIAL; PUNCHING METAL
    • B21D26/00Shaping without cutting otherwise than using rigid devices or tools or yieldable or resilient pads, i.e. applying fluid pressure or magnetic forces
    • B21D26/02Shaping without cutting otherwise than using rigid devices or tools or yieldable or resilient pads, i.e. applying fluid pressure or magnetic forces by applying fluid pressure
    • B21D26/033Deforming tubular bodies
    • B21D26/039Means for controlling the clamping or opening of the moulds
    • BPERFORMING OPERATIONS; TRANSPORTING
    • B21MECHANICAL METAL-WORKING WITHOUT ESSENTIALLY REMOVING MATERIAL; PUNCHING METAL
    • B21DWORKING OR PROCESSING OF SHEET METAL OR METAL TUBES, RODS OR PROFILES WITHOUT ESSENTIALLY REMOVING MATERIAL; PUNCHING METAL
    • B21D26/00Shaping without cutting otherwise than using rigid devices or tools or yieldable or resilient pads, i.e. applying fluid pressure or magnetic forces
    • B21D26/02Shaping without cutting otherwise than using rigid devices or tools or yieldable or resilient pads, i.e. applying fluid pressure or magnetic forces by applying fluid pressure
    • B21D26/033Deforming tubular bodies
    • B21D26/041Means for controlling fluid parameters, e.g. pressure or temperature
    • CCHEMISTRY; METALLURGY
    • C21METALLURGY OF IRON
    • C21DMODIFYING THE PHYSICAL STRUCTURE OF FERROUS METALS; GENERAL DEVICES FOR HEAT TREATMENT OF FERROUS OR NON-FERROUS METALS OR ALLOYS; MAKING METAL MALLEABLE, e.g. BY DECARBURISATION OR TEMPERING
    • C21D1/00General methods or devices for heat treatment, e.g. annealing, hardening, quenching or tempering
    • C21D1/56General methods or devices for heat treatment, e.g. annealing, hardening, quenching or tempering characterised by the quenching agents
    • C21D1/60Aqueous agents
    • CCHEMISTRY; METALLURGY
    • C21METALLURGY OF IRON
    • C21DMODIFYING THE PHYSICAL STRUCTURE OF FERROUS METALS; GENERAL DEVICES FOR HEAT TREATMENT OF FERROUS OR NON-FERROUS METALS OR ALLOYS; MAKING METAL MALLEABLE, e.g. BY DECARBURISATION OR TEMPERING
    • C21D1/00General methods or devices for heat treatment, e.g. annealing, hardening, quenching or tempering
    • C21D1/62Quenching devices
    • C21D1/673Quenching devices for die quenching
    • CCHEMISTRY; METALLURGY
    • C21METALLURGY OF IRON
    • C21DMODIFYING THE PHYSICAL STRUCTURE OF FERROUS METALS; GENERAL DEVICES FOR HEAT TREATMENT OF FERROUS OR NON-FERROUS METALS OR ALLOYS; MAKING METAL MALLEABLE, e.g. BY DECARBURISATION OR TEMPERING
    • C21D7/00Modifying the physical properties of iron or steel by deformation
    • C21D7/13Modifying the physical properties of iron or steel by deformation by hot working
    • CCHEMISTRY; METALLURGY
    • C21METALLURGY OF IRON
    • C21DMODIFYING THE PHYSICAL STRUCTURE OF FERROUS METALS; GENERAL DEVICES FOR HEAT TREATMENT OF FERROUS OR NON-FERROUS METALS OR ALLOYS; MAKING METAL MALLEABLE, e.g. BY DECARBURISATION OR TEMPERING
    • C21D9/00Heat treatment, e.g. annealing, hardening, quenching or tempering, adapted for particular articles; Furnaces therefor
    • C21D9/0062Heat-treating apparatus with a cooling or quenching zone
    • CCHEMISTRY; METALLURGY
    • C21METALLURGY OF IRON
    • C21DMODIFYING THE PHYSICAL STRUCTURE OF FERROUS METALS; GENERAL DEVICES FOR HEAT TREATMENT OF FERROUS OR NON-FERROUS METALS OR ALLOYS; MAKING METAL MALLEABLE, e.g. BY DECARBURISATION OR TEMPERING
    • C21D9/00Heat treatment, e.g. annealing, hardening, quenching or tempering, adapted for particular articles; Furnaces therefor
    • C21D9/08Heat treatment, e.g. annealing, hardening, quenching or tempering, adapted for particular articles; Furnaces therefor for tubular bodies or pipes
    • HELECTRICITY
    • H05ELECTRIC TECHNIQUES NOT OTHERWISE PROVIDED FOR
    • H05BELECTRIC HEATING; ELECTRIC LIGHT SOURCES NOT OTHERWISE PROVIDED FOR; CIRCUIT ARRANGEMENTS FOR ELECTRIC LIGHT SOURCES, IN GENERAL
    • H05B3/00Ohmic-resistance heating
    • H05B3/02Details
    • HELECTRICITY
    • H05ELECTRIC TECHNIQUES NOT OTHERWISE PROVIDED FOR
    • H05BELECTRIC HEATING; ELECTRIC LIGHT SOURCES NOT OTHERWISE PROVIDED FOR; CIRCUIT ARRANGEMENTS FOR ELECTRIC LIGHT SOURCES, IN GENERAL
    • H05B3/00Ohmic-resistance heating
    • H05B3/02Details
    • H05B3/03Electrodes

Landscapes

  • Chemical & Material Sciences (AREA)
  • Engineering & Computer Science (AREA)
  • Mechanical Engineering (AREA)
  • Physics & Mathematics (AREA)
  • Crystallography & Structural Chemistry (AREA)
  • Materials Engineering (AREA)
  • Metallurgy (AREA)
  • Organic Chemistry (AREA)
  • Thermal Sciences (AREA)
  • Fluid Mechanics (AREA)
  • Shaping Metal By Deep-Drawing, Or The Like (AREA)
  • Control Of Presses (AREA)
  • Blow-Moulding Or Thermoforming Of Plastics Or The Like (AREA)

Abstract

성형품의 품질을 향상시킬 수 있는 성형장치를 제공한다. 제어부(70)는, 파이프유지기구(30)에 의하여 상형(12)과 하형(11)의 사이에서 유지된 금속파이프 재료(14) 내에 기체를 공급함으로써, 금속파이프 재료(14)를 팽창 성형하도록 블로기구(60)를 제어한다. 제어부(70)는, 팽창된 금속파이프 재료(14)의 제2 성형부분(14b)을 상형(12) 및 하형(11)의 사이의 서브캐비티부(SC)에서 눌러 밀려나오게 함으로써 플랜지부(80b)를 성형하도록 구동부(81)를 제어한다. 성형장치(10)에서는, 제어부(70)는, 서보모터(83)를 제어함으로써, 플랜지부(80b)의 성형 중에 슬라이드(82)의 이동속도를 변화시킨다. 따라서, 플랜지부(80b)의 형상 등에 맞춘 적절한 이동속도로 프레스의 동작을 제어하는 것이 가능해진다. 따라서, 성형품의 품질을 향상시킬 수 있다.

Description

성형장치{Molding Apparatus}
본 발명은, 플랜지를 갖는 금속파이프를 성형하는 성형장치에 관한 것이다.
종래, 가열한 금속파이프 재료 내에 기체를 공급함으로써 금속파이프를 팽창시켜 성형을 행하는 성형장치가 알려져 있다. 예를 들면, 특허문헌 1에 나타내는 성형장치는, 서로 쌍을 이루는 상형 및 하형과, 상형과 하형의 사이에서 금속파이프 재료를 유지하는 유지부와, 유지부에 의하여 유지된 금속파이프 재료 내에 기체를 공급하는 기체공급부를 구비하고 있다. 이 성형장치에서는, 상형과 하형의 사이에서 유지된 상태의 금속파이프 재료 내에 기체를 공급함으로써, 금속파이프 재료를 팽창시켜 금형의 형상에 대응하는 형상으로 성형시킬 수 있다.
특허문헌 1: 일본 공개특허공보 2003-154415호
여기에서, 금속파이프에 플랜지를 성형하는 것이 요구되고 있었다. 상술과 같은 성형장치에 의하여 플랜지를 갖는 금속파이프를 성형하는 경우, 플랜지 성형용의 용적이 작은 캐비티를 금형에 형성해 두고, 금속파이프를 팽창 성형하여, 플랜지 성형용의 캐비티에서 금속파이프 재료의 일부를 눌러 밀려나오게 함으로써 플랜지를 성형시킬 수 있다. 이와 같은 경우, 단지 금속파이프 재료의 일부를 눌러 밀려나오게 함으로써 플랜지부를 성형하는 경우, 플랜지부에 느슨함이나 비틀림 등이 발생할 가능성이 있어, 성형품의 품질을 더 향상시킬 것이 요구되고 있었다.
본 발명은, 상술과 같은 과제를 해결하기 위하여 이루어진 것이며, 성형품의 품질을 향상시킬 수 있는 성형장치를 제공하는 것을 목적으로 한다.
본 발명의 일 양태에 따르면, 플랜지를 갖는 금속파이프를 성형하는 성형장치로서, 서로 쌍을 이루는 제1 금형 및 제2 금형과, 제1 금형 및 제2 금형 중 적어도 일방을 이동시키는 슬라이드와, 슬라이드를 이동시키기 위한 구동력을 발생시키는 서보모터를 구비하는 구동부와, 제1 금형과 제2 금형의 사이에서 금속파이프 재료를 유지하는 유지부와, 유지부에 의하여 유지된 금속파이프 재료 내에 기체를 공급하는 기체공급부와, 구동부, 유지부 및 기체공급부를 제어하는 제어부를 구비하고, 제어부는, 유지부에 의하여 제1 금형과 제2 금형의 사이에서 유지된 금속파이프 재료 내에 기체를 공급함으로써, 금속파이프 재료를 팽창 성형하도록 기체공급부를 제어하며, 팽창된 금속파이프 재료의 일부를 제1 금형 및 제2 금형에 의하여 눌러 밀려나오게 함으로써 플랜지부를 성형하도록 구동부를 제어하고, 서보모터를 제어함으로써, 플랜지부의 성형 중에 슬라이드의 이동속도를 변화시킨다.
본 발명의 상기 양태에 따른 성형장치에 있어서, 제어부는, 유지부에 의하여 제1 금형과 제2 금형의 사이에서 유지된 금속파이프 재료 내에 기체를 공급함으로써, 금속파이프 재료를 팽창 성형하도록 기체공급부를 제어한다. 이로써, 금속파이프 재료는 제1 금형 및 제2 금형에 대응하는 형상으로 팽창 성형된다. 또, 제어부는, 팽창된 금속파이프 재료의 일부를 제1 금형 및 제2 금형에 의하여 눌러 밀려나오게 함으로써 플랜지부를 성형하도록 구동부를 제어한다. 여기에서, 제어부는, 서보모터를 제어함으로써, 플랜지부의 성형 중에 슬라이드의 이동속도를 변화시킨다. 따라서, 플랜지부의 형상 등에 맞춘 적절한 이동속도로 프레스의 동작을 제어하는 것이 가능해진다. 따라서, 성형품의 품질을 향상시킬 수 있다.
본 발명의 상기 양태에 따른 성형장치에 있어서, 제어부는, 플랜지부의 성형 중에, 슬라이드의 소정 시간마다의 이동량을 단계적으로 변화시켜도 된다. 이로써, 플랜지부의 균열을 발생시키기 어렵게 할 수 있고, 플랜지부의 변형량을 증가시켜, 성형성을 향상시킬 수 있다.
본 발명의 상기 양태에 따른 성형장치에 있어서, 제어부는, 플랜지부의 성형 중에, 슬라이드의 이동위치를 곡선적으로 변화시켜도 된다. 이로써, 굽힘위치의 치수 정밀도의 안정성을 향상시키고, 내충격·내피로파괴 성능을 향상시킬 수 있다.
본 발명의 상기 양태에 따른 성형장치에 있어서, 제어부는, 플랜지부의 성형 시에 있어서, 성형 초기에 비하여 성형 후기에 있어서의 슬라이드의 소정 시간마다의 이동량을 증가시켜도 된다. 이로써, 성형 초기에는 슬라이드의 소정 시간마다의 이동량을 감소시킴으로써, 금속파이프 재료를 급격하게 변형시키지 않도록 조금씩 금속파이프 재료를 눌러 밀려나오게 할 수 있다. 한편, 어느 정도 금속파이프 재료를 변형시킨 성형 후기에는, 슬라이드의 소정 시간마다의 이동량을 증가시킴으로써, 신속하게 플랜지부의 최종 형상을 성형시킬 수 있다.
본 발명에 의하면, 성형품의 품질을 향상시킬 수 있다.
도 1은 본 발명의 실시형태에 관한 성형장치의 개략구성도이다.
도 2는 도 1에 나타내는 II-II선을 따른 단면도로서, 블로(blow)성형금형의 개략단면도이다.
도 3은 성형장치에 의한 제조공정을 나타내는 도로서, (a)는 금형 내에 금속파이프 재료가 세팅된 상태를 나타내는 도, (b)는 금속파이프 재료가 전극에 의하여 유지된 상태를 나타내는 도이다.
도 4는 성형장치에 의한 블로성형공정과 그 후의 흐름을 나타내는 도이다.
도 5는 전극 주변의 확대도로서, (a)는 전극이 금속파이프 재료를 유지한 상태를 나타내는 도이며, (b)는 전극에 블로기구가 맞닿은 상태를 나타내는 도이고, (c)는 전극의 정면도이다.
도 6은 블로성형금형의 동작과 금속파이프 재료의 형상의 변화를 나타내는 도이며, (a)는 금속파이프 재료를 블로성형금형에 세팅한 시점의 상태를 나타내는 도이고, (b)는 블로성형 시의 상태를 나타내는 도이며, (c)는 프레스에 의하여 플랜지부가 성형된 상태를 나타내는 도이다.
도 7은 제어부에 의한 슬라이드의 속도 제어의 양태의 일례를 나타내는 그래프이다.
도 8은 제어부에 의한 슬라이드의 속도 제어의 양태의 일례를 나타내는 그래프이다.
<성형장치의 구성>
도 1에 나타내는 바와 같이, 플랜지를 갖는 금속파이프를 성형하는 성형장치(10)는, 상형(제1 금형)(12) 및 하형(제2 금형)(11)으로 이루어지는 블로성형금형(13)과, 상형(12) 및 하형(11) 중 적어도 일방을 이동시키는 슬라이드(82)와, 슬라이드(82)를 이동시키기 위한 구동력을 발생시키는 구동부(81)와, 상형(12)과 하형(11)의 사이에서 금속파이프 재료(14)를 수평으로 유지하는 파이프유지기구(유지부)(30)와, 이 파이프유지기구(30)에 의하여 유지되어 있는 금속파이프 재료(14)에 통전하여 가열하는 가열기구(50)와, 가열된 금속파이프 재료(14)에 고압가스를 불어넣는 블로기구(기체공급부)(60)와, 구동부(81), 파이프유지기구(30), 가열기구(50) 및 블로기구(60)를 제어하는 제어부(70)와, 블로성형금형(13)을 강제적으로 수랭하는 물순환기구(72)를 구비하여 구성되어 있다. 제어부(70)는, 금속파이프 재료(14)가 ?칭온도(AC3 변태점온도 이상)로 가열되었을 때에 블로성형금형(13)을 폐쇄함과 함께 가열된 금속파이프 재료(14)에 고압가스를 불어넣는 등의 일련의 제어를 행한다. 또한, 이하의 설명에서는, 완성품에 관한 파이프를 금속파이프(80)(도 4(b) 참조)라고 칭하고, 완성에 이르는 도중의 단계의 파이프를 금속파이프 재료(14)라고 칭하는 것으로 한다.
하형(11)은, 큰 베이스(15)에 고정되어 있다. 또 하형(11)은, 큰 강철제 블록으로 구성되고, 그 상면에 캐비티(오목부)(16)를 구비한다. 또한, 하형(11)의 좌우단(도 1에 있어서 좌우단) 근방에는 전극수납스페이스(11a)가 마련되고, 당해 스페이스(11a) 내에 액추에이터(도시하지 않음)에 의하여 상하로 진퇴 가능하게 구성된 제1 전극(17)과 제2 전극(18)을 구비하고 있다. 이들 제1, 제2 전극(17, 18)의 상면에는, 금속파이프 재료(14)의 하측 외주면에 대응한 반원호형상의 오목홈(17a, 18a)이 형성되어 있고(도 5(c) 참조), 당해 오목홈(17a, 18a)의 부분에 정확히 금속파이프 재료(14)가 끼워 넣어지도록 재치 가능하게 되어 있다. 또, 제1, 제2 전극(17, 18)의 정면(금형의 외측방향의 면)은 오목홈(17a, 18a)을 향하여 주위가 테이퍼형상으로 경사져 패인 테이퍼오목면(17b, 18b)이 형성되어 있다. 또한, 하형(11)에는 냉각수통로(19)가 형성되고, 대략 중앙에 아래로부터 삽입된 열전대(21)를 구비하고 있다. 이 열전대(21)는 스프링(22)에 의하여 상하 이동 가능하게 지지되어 있다.
또한, 하형(11)측에 위치하는 한쌍의 제1, 제2 전극(17, 18)은 파이프유지기구(30)를 겸하고 있고, 금속파이프 재료(14)를, 상형(12)과 하형(11)의 사이에서 승강 가능하게 수평으로 지지할 수 있다. 또, 열전대(21)는 측온수단의 일례를 나타내는 것에 지나지 않고, 방사온도계나 광온도계와 같은 비접촉형 온도센서여도 된다. 또한, 통전시간과 온도의 상관관계가 얻어진다면, 측온수단은 생략하고 구성하는 것도 충분히 가능하다.
상형(12)은, 하면에 캐비티(오목부)(24)를 구비하고, 냉각수통로(25)를 내장한 큰 강철제 블록이다. 상형(12)은, 상단부가 슬라이드(82)에 고정되어 있다. 그리고, 상형(12)이 고정된 슬라이드(82)는, 가압실린더(26)에 매달려, 가이드실린더(27)에 의하여 좌우로 요동하지 않도록 가이드된다. 본 실시형태에 관한 구동부(81)는, 슬라이드(82)를 이동시키기 위한 구동력을 발생시키는 서보모터(83)를 구비하고 있다. 구동부(81)는, 가압실린더(26)를 구동시키는 유체(가압실린더(26)로서 유압실린더를 채용하는 경우는, 작동유)를 당해 가압실린더(26)에 공급하는 유체공급부에 의하여 구성되어 있다. 제어부(70)는, 구동부(81)의 서보모터(83)를 제어함으로써, 가압실린더(26)에 공급하는 유체의 양을 제어하는 것에 의하여, 슬라이드(82)의 이동을 제어할 수 있다. 또한, 구동부(81)는, 상술과 같이 가압실린더(26)를 통하여 슬라이드(82)에 구동력을 부여하는 것에 한정되지 않고, 예를 들면 슬라이드(82)에 구동부를 기계적으로 접속시켜 서보모터(83)가 발생시키는 구동력을 직접적 또는 간접적으로 슬라이드(82)에 부여하는 것이어도 된다. 또한, 본 실시형태에서는, 상형(12)만 이동하는 것이지만, 상형(12)에 더하여, 또는 상형(12) 대신에 하형(11)이 이동하는 것이어도 된다.
또 상형(12)의 좌우단(도 1에 있어서 좌우단) 근방에 마련된 전극수납스페이스(12a) 내에는, 하형(11)과 마찬가지로, 액추에이터(도시하지 않음)에 의하여 상하로 진퇴 가능하게 구성된 제1 전극(17)과 제2 전극(18)을 구비하고 있다. 이들 제1, 제2 전극(17, 18)의 하면에는, 금속파이프 재료(14)의 상측 외주면에 대응한 반원호형상의 오목홈(17a, 18a)이 형성되어 있고(도 5(c) 참조), 당해 오목홈(17a, 18a)에 정확히 금속파이프 재료(14)가 끼워맞춤 가능하게 되어 있다. 또, 제1, 제2 전극(17, 18)의 정면(금형의 외측방향의 면)은 오목홈(17a, 18a)을 향하여 주위가 테이퍼형상으로 경사져 패인 테이퍼오목면(17b, 18b)이 형성되어 있다. 즉, 상하 한쌍의 제1, 제2 전극(17, 18)에 의하여 금속파이프 재료(14)를 상하 방향으로부터 협지하면, 정확히 금속파이프 재료(14)의 외주를 전체 둘레에 걸쳐 밀착하여 둘러쌀 수 있도록 구성되어 있다.
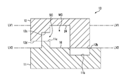
다음으로, 블로성형금형(13)을 측면방향으로부터 본 개략단면을 도 2에 나타내고 있다. 이는 도 1에 있어서의 화살표방향에서 볼 때의 II-II선을 따르는 블로성형금형(13)의 단면도이며, 블로성형 시의 금형위치의 상태를 나타내고 있다. 측면에서 본 경우, 상형(12)과 하형(11)은 모두 그 표면에 복잡한 단차가 형성되어 있다.
상형(12)의 표면에는, 상형(12)의 캐비티(24) 표면을 기준라인(LV1)으로 하면, 제1 돌기(12b), 제2 돌기(12c), 제3 돌기(12d)가 형성되어 있다. 캐비티(24)의 우측(도 2에 있어서 우측)에 가장 돌출된 제1 돌기(12b)가 형성되고, 캐비티(24)의 좌측(도 2에 있어서 좌측)에 계단형상으로 제2 돌기(12c) 및 제3 돌기(12d)가 형성되어 있다. 한편, 하형(11)의 표면은, 하형(11)의 캐비티(16) 표면을 기준라인(LV2)으로 하면, 캐비티(16)의 우측(도 2에 있어서 우측)에 제1 오목부(11b), 캐비티(16)의 좌측(도 2에 있어서 좌측)에 제1 돌기(11c)가 형성되어 있다. 또, 상형(12)의 제1 돌기(12b)는 정확히 하형(11)의 제1 오목부(11b)와 끼워맞춤 가능하게 되어 있다. 또 상형(12)의 제2 돌기(12c)와 제3 돌기(12d)의 단차 부분에, 하형(11)의 제1 돌기(11c)가 끼워맞춤 가능하게 되어 있다. 이와 같이 구성되어 있는 결과로서, 도 2에 나타내고 있는 바와 같이, 블로성형 시의 금형위치에 있어서는, 메인캐비티부(MC)의 옆에 용적이 작은 서브캐비티부(SC)가 형성되는 구성으로 되어 있다. 메인캐비티부(MC)는 금속파이프(80)에 있어서의 파이프부(80a)를 성형하는 부분이며, 서브캐비티부(SC)는 금속파이프(80)에 있어서의 플랜지부(80b)를 성형하는 부분이다.
가열기구(50)는, 전원(51)과, 이 전원(51)으로부터 뻗어 제1 전극(17)과 제2 전극(18)에 접속되어 있는 도선(52)과, 이 도선(52)에 삽입된 스위치(53)를 가져 이루어진다.
블로기구(60)는, 고압가스원(61)과, 이 고압가스원(61)으로부터 공급된 고압가스를 저장하는 어큐뮬레이터(62)와, 이 어큐뮬레이터(62)로부터 실린더유닛(42)까지 뻗어 있는 제1 튜브(63)와, 이 제1 튜브(63)에 삽입되어 있는 압력제어밸브(64) 및 전환밸브(65)와, 어큐뮬레이터(62)로부터 시일부재(44) 내에 형성된 가스통로(46)까지 뻗어 있는 제2 튜브(67)와, 이 제2 튜브(67)에 삽입되어 있는 온오프밸브(68) 및 체크밸브(69)로 이루어진다. 또한, 시일부재(44)의 선단은 테이퍼 형상이 되도록 테이퍼면(45)이 형성되어 있고, 제1, 제2 전극의 테이퍼오목면(17b, 18b)에 정확히 끼워맞춰져 맞닿을 수 있는 형상으로 구성되어 있다(도 5 참조). 또한, 시일부재(44)는, 실린더로드(43)를 통하여 실린더유닛(42)에 연결되어 있어, 실린더유닛(42)의 작동에 맞추어 진퇴하는 것이 가능하게 되어 있다. 또, 실린더유닛(42)은 블록(41)을 통하여 베이스(15) 상에 재치 고정되어 있다.
압력제어밸브(64)는, 시일부재(44)측으로부터 요구되는 압력에 적응된 작동압력의 고압가스를 실린더유닛(42)에 공급하는 역할을 한다. 체크밸브(69)는, 제2 튜브(67) 내에서 고압가스가 역류하는 것을 방지하는 역할을 한다. 제어부(70)는, (A)로부터 (A’)로 정보가 전달됨으로써, 열전대(21)로부터 온도정보를 취득하고, 가압실린더(26), 스위치(53), 전환밸브(65) 및 온오프밸브(68) 등을 제어한다.
물순환기구(72)는, 물을 저장하는 수조(73)와, 이 수조(73)에 저장된 물을 퍼 올리고, 가압하여 하형(11)의 냉각수통로(19)나 상형(12)의 냉각수통로(25)에 보내는 물펌프(74)와, 배관(75)으로 이루어진다. 생략했지만, 수온을 낮추는 쿨링타워나 물을 정화시키는 여과기를 배관(75)에 삽입해도 된다.
<성형장치의 동작>
다음으로, 성형장치(10)의 동작에 대하여 설명한다. 도 3은 재료로서의 금속파이프 재료(14)를 투입하는 파이프투입공정부터, 금속파이프 재료(14)에 통전하여 가열하는 통전가열공정까지를 나타내고 있다. 도 3(a)에 나타내는 바와 같이, ?칭 가능한 강종의 금속파이프 재료(14)를 준비하고, 이 금속파이프 재료(14)를, 로봇암 등(도시하지 않음)에 의하여, 하형(11)측에 구비되는 제1, 제2 전극(17, 18) 상에 재치한다. 제1, 제2 전극(17, 18)에는 오목홈(17a, 18a)이 형성되어 있으므로, 당해 오목홈(17a, 18a)에 의하여 금속파이프 재료(14)가 위치 결정된다. 다음으로, 제어부(70)(도 1 참조)는, 파이프유지기구(30)를 제어함으로써, 당해 파이프유지기구(30)에 금속파이프 재료(14)를 유지시킨다. 구체적으로는, 도 3(b)와 같이, 각 전극(17, 18)을 진퇴 가능하게 하는 액추에이터(도시하지 않음)를 작동시키고, 각 상하측에 위치하는 제1, 제2 전극(17, 18)을 접근시키고 맞닿게 한다. 이 맞닿음에 의하여, 금속파이프 재료(14)의 양단부는, 상하로부터 제1, 제2 전극(17, 18)에 의하여 협지된다. 또 이 협지는, 제1, 제2 전극(17, 18)에 형성되는 오목홈(17a, 18a)의 존재에 의하여, 금속파이프 재료(14)의 전체 둘레에 걸쳐 밀착되는 양태로 이루어진다. 단, 금속파이프 재료(14)의 전체 둘레에 걸쳐 밀착되는 구성에 한정되지 않고, 금속파이프 재료(14)의 둘레방향에 있어서의 일부에 제1, 제2 전극(17, 18)이 맞닿는 구성이어도 된다.
이어서, 제어부(70)는, 가열기구(50)를 제어함으로써, 금속파이프 재료(14)를 가열한다. 구체적으로는, 제어부(70)는, 가열기구(50)의 스위치(53)를 ON으로 한다. 그렇게 하면, 전원(51)으로부터 전력이 금속파이프 재료(14)에 공급되고, 금속파이프 재료(14)에 존재하는 저항에 의하여, 금속파이프 재료(14) 자체가 발열한다(줄열(Joule heat)). 이때, 열전대(21)의 측정값이 항상 감시되고, 이 결과에 근거하여 통전이 제어된다.
도 4는, 블로성형 후에 금속파이프 재료(14)에 대하여 프레스에 의하여 플랜지를 성형함으로써, (파이프부(80a)에 플랜지부(80b)가 형성된)플랜지를 갖는 금속파이프(80)를 완성품으로서 얻는 흐름을 나타내고 있다. 제어부(70)는, 파이프유지기구(30)에 의하여 상형(12)과 하형(11)의 사이에서 유지된 금속파이프 재료(14) 내에 기체를 공급하도록 블로기구(60)를 제어하여, 금속파이프 재료(14)를 팽창 성형한다. 또, 제어부(70)는, 팽창 성형된 금속파이프 재료(14)의 일부를 상형(12) 및 하형(11)의 사이의 서브캐비티부(SC)에서 눌러 밀려나오게 하도록 구동부(81)를 제어하여, 플랜지부(80b)를 성형한다. 구체적으로는, 도 4(a)에 나타내는 바와 같이, 가열 후의 금속파이프 재료(14)에 대하여 블로성형금형(13)을 폐쇄하고, 금속파이프 재료(14)를 당해 블로성형금형(13)의 캐비티 내에 배치하여 밀봉한다. 그 후, 실린더유닛(42)을 작동시켜 블로기구(60)의 일부인 시일부재(44)에 의하여 금속파이프 재료(14)의 양단을 시일한다(도 5도 함께 참조). 또한, 이 시일은, 시일부재(44)가 직접 금속파이프 재료(14)의 양단면에 맞닿아 시일하는 것이 아니라, 제1, 제2 전극(17, 18)에 형성된 테이퍼오목면(17b, 18b)을 통하여 간접적으로 행해진다. 이렇게 함으로써, 넓은 면적으로 시일할 수 있는 점에서 시일성능을 향상시킬 수 있고, 반복되는 시일동작에 의한 시일부재의 마모를 방지하고, 또한 금속파이프 재료(14) 양단면의 찌그러짐 등을 효과적으로 방지하고 있다. 시일 완료 후, 고압가스를 금속파이프 재료(14) 내에 불어넣어, 가열에 의하여 연화된 금속파이프 재료(14)를 캐비티의 형상을 따르도록 변형시킨다. 그 후, 블로성형 후의 금속파이프 재료(14)에 대하여 플랜지부(80b)를 형성하기 위한 프레스동작을 행하고(이 점에 대하여, 상세는 별도 후술함), 형개방을 행하면, 도 4(b)에 나타내는 바와 같이, 완성품으로서의 파이프부(80a) 및 플랜지부(80b)를 갖는 금속파이프(80)가 완성된다.
금속파이프 재료(14)는 고온(950℃ 전후)으로 가열되어 연화되어 있어, 비교적 저압으로 블로성형시킬 수 있다. 구체적으로는, 고압가스로서, 4MPa의 압력으로 상온(25℃)의 압축공기를 채용한 경우, 이 압축공기는, 밀봉된 금속파이프 재료(14) 내에서 결과적으로 950℃ 부근까지 가열된다. 압축공기는 열팽창하고, 보일-샤를의 법칙에 근거하여, 약 16~17MPa의 압력까지 도달한다. 즉, 950℃의 금속파이프 재료(14)를 용이하게 블로성형시킬 수 있다.
그리고, 블로성형되어 팽창된 금속파이프 재료(14)의 외주면이 하형(11)의 캐비티(16)에 접촉하여 급랭됨과 동시에, 상형(12)의 캐비티(24)에 접촉하여 급랭(상형(12)과 하형(11)은 열용량이 크고 또한 저온으로 관리되고 있기 때문에, 금속파이프 재료(14)가 접촉되면 파이프표면의 열이 바로 금형측으로 옮겨감)되어 ?칭이 행해진다. 이와 같은 냉각법은, 금형접촉냉각 또는 금형냉각이라고 불린다. 급랭된 직후에는 오스테나이트가 마텐자이트로 변태한다. 냉각의 후반에는 냉각속도가 감소되기 때문에, 재열에 의하여 마텐자이트가 다른 조직(트루스타이트, 소바이트 등)으로 변태한다. 따라서, 별도로 템퍼링처리를 행할 필요가 없다.
다음으로, 도 6을 참조하여, 상형(12) 및 하형(11)에 의한 성형의 모습에 대하여 상세하게 설명한다. 또한, 이하의 설명에 있어서는, 성형 도중의 금속파이프 재료(14) 중, 완성품에 관한 금속파이프(80)의 파이프부(80a)에 대응하는 부분을 “제1 성형부분(14a)”이라고 칭하고, 플랜지부(80b)에 대응하는 부분을 “제2 성형부분(14b)”이라고 칭한다. 도 6(a), (b)에 나타내는 바와 같이, 본 발명에 따른 성형장치(10)에 있어서, 블로성형은 상형(12)과 하형(11)이 완전히 폐쇄된(클램프된) 상태에서 행해지고 있는 것은 아니다. 즉 일정한 이간 상태가 유지되고 있는 것에 의하여, 메인캐비티부(MC)의 옆에 서브캐비티부(SC)가 형성되어 있는 상태에서 블로성형이 행해진다. 당해 상태에서는, 캐비티(24)의 기준라인(LV1)에 있어서의 표면과 캐비티(16)의 기준라인(LV2)에 있어서의 표면의 사이에 메인캐비티부(MC)가 형성된다. 또, 상형(12)의 제2 돌기(12c)의 표면과 하형(11)의 제1 돌기(11c)의 표면의 사이에 서브캐비티부(SC)가 형성된다. 메인캐비티부(MC)와 서브캐비티부(SC)는 서로 연통된 상태로 되어 있다. 그 결과, 도 6(b)에 나타내는 바와 같이, 가열에 의하여 연화되고 또한 고압가스가 주입된 금속파이프 재료(14)는, 메인캐비티부(MC)뿐만 아니라 서브캐비티부(SC)의 부분까지 들어가 팽창된다. 도 6에 나타내는 예에서는, 메인캐비티부(MC)는 단면직사각형상으로 구성되어 있기 때문에, 금속파이프 재료(14)는 당해 형상에 맞추어 블로성형됨으로써, 단면직사각형상으로 성형된다. 또한, 당해 부분이, 파이프부(80a)가 되는 제1 성형부분(14a)에 대응한다. 단, 메인캐비티부(MC)의 형상은 특별히 한정되지 않고, 원하는 형상에 맞추어 원형, 타원형, 다각형 등 어떠한 형상을 채용해도 된다. 또, 메인캐비티부(MC)와 서브캐비티부(SC)가 서로 연통되어 있기 때문에, 금속파이프 재료(14)의 일부는, 서브캐비티부(SC)에 들어간다. 당해 부분이, 눌러 밀려나옴으로써 플랜지부(80b)가 되는 제2 성형부분(14b)에 해당한다.
도 6(c)에 나타내는 바와 같이, 블로성형 후 혹은 블로성형의 도중 단계에, 이간하고 있는 상형(12)과 하형(11)을 접근시킨다. 이 동작에 의하여, 서브캐비티부(SC)의 용적이 작아져, 제2 성형부분(14b)의 내부공간이 소멸되어, 접힌 상태가 된다. 즉, 당해 상형(12)과 하형(11)의 접근에 의하여, 서브캐비티부(SC) 내에 들어가 있는 금속파이프 재료(14)의 제2 성형부분(14b)이 프레스되어 눌러 밀려나온다. 그 결과, 금속파이프 재료(14)의 외주면에, 당해 금속파이프 재료(14)의 길이방향을 따라 눌러 밀려나온 제2 성형부분(14b)(당해 상태에서는, 금속파이프 재료(14)는, 완성품으로서의 금속파이프(80)와 동일한 형상이 됨)이 성형된다. 또한, 이들 블로성형부터 플랜지부(80b)의 프레스성형 완료에 이를 때까지의 시간은, 금속파이프 재료(14)의 종류에 따라 다르지만 대체로 1~2초 정도에 완료된다. 또한, 도 6에 나타내는 예에서는, 상형(12)의 제1 돌기(12b)의 표면이 하형(11)의 제1 오목부(11b)의 바닥면과 맞닿아, 상형(12)과 하형(11)이 그 이상 근접할 수 없는 상태가 된다.
다음으로, 도 7 및 도 8을 참조하여, 슬라이드(82)의 이동속도(즉 상형(12)의 이동속도)의 제어에 대하여 설명한다. 본 실시형태에 관한 성형장치(10)는, 구동부(81)에 서보모터(83)를 구비하고 있기 때문에, 서보프레스를 행할 수 있다. 제어부(70)는, 서보모터(83)를 제어함으로써, 플랜지부(80b)의 성형 중에 슬라이드(82)의 이동속도를 변화시킨다. 또한, 도 6(b)에 나타내는 바와 같이, 서브캐비티부(SC)를 향하여 팽창된 제2 성형부분(14b)을 눌러 밀려나오게 하기 위하여 상형(12)의 강하를 개시한 시점을 플랜지부(80b)의 성형의 개시시점(T1)으로 하고, 도 6(c)에 나타내는 바와 같이, 상형(12)을 하사점까지 강하시켜 제2 성형부분(14b)을 플랜지부(80b)의 형상으로 한 시점을 플랜지부(80b)의 성형의 완료시점(T2)으로 한다. 도 7 및 도 8에 나타내는 그래프에서는, 플랜지부(80b)를 성형하고 있는 시간영역을 플랜지부 성형영역(E2)으로 하고 있다. 또한, 플랜지부(80b)를 성형한 후에는, 상형(12)을 하사점에 있어서 소정의 압력으로 유지하고, 냉각을 행함으로써 금속파이프(80) 전체의 성형을 행한다. 도 8에 나타내는 그래프에서는, 금속파이프(80) 전체의 성형을 행하는 시간영역을 전체 성형영역(E3)으로 하고 있다. 또, 플랜지부 성형영역(E2)과 전체 성형영역(E3)을 합친 시간영역을 성형영역(E1)으로 하고 있다.
도 7(a)에 나타내는 바와 같이, 제어부(70)는, 플랜지부(80b)의 성형 중에, 슬라이드(82)의 소정 시간마다의 이동량을 단계적으로 변화시켜도 된다. 즉, 제어부(70)는, 플랜지부 성형영역(E2)에 있어서, 상형(12)의 소정 시간마다의 이동량을 단계적으로 변화시켜도 된다. 도 7(a)에 나타내는 예에서는, 제어부(70)는, 상형(12)(즉 슬라이드(82))의 이동위치와 시간의 관계를 나타내는 그래프가 계단형상을 그리도록 제어함으로써, 소정 시간마다의 이동량을 단계적으로 변화시키고 있다. 상형(12)은, 소정 시간만큼 동일한 위치로 유지된 후, 소정의 이동량만 급격하게 강하하고, 그 후 소정 시간만큼 동일한 위치로 유지된다. 또한, 도면에 있어서는 상형(12)을 강하시킬 때의 그래프는 대략 수직으로 변화하고 있지만, 비스듬히 하방으로 경사지는 직선을 그리도록 변화해도 된다. 또, 상형(12)을 동일한 위치로 유지하는 시간의 길이나 간격도 적절히 변화시켜도 된다. 이와 같이, 상형(12)(즉 슬라이드(82))의 이동량을 소정 시간마다 단계적으로 변화시킴으로써, 플랜지부(80b)의 균열을 발생시키기 어렵게 할 수 있고, 플랜지부(80b)의 변형량을 증가시켜, 성형성을 향상시킬 수 있다.
도 7(b)에 나타내는 바와 같이, 제어부(70)는, 플랜지부(80b)의 성형 중에, 슬라이드(82)의 이동위치를 곡선적으로 변화시켜도 된다. 즉, 제어부(70)는, 플랜지부 성형영역(E2)에 있어서, 상형(12)의 이동위치를 곡선적으로 변화시켜도 된다. 제어부(70)는, 슬라이드(82)의 이동속도를 서서히 변화시키면서 상형(12)을 강하시킴으로써, 도 7(b)에 나타내는 바와 같이 상형(12)의 이동위치와 시간의 관계를 나타내는 그래프가 곡선을 그리도록 제어한다. 이와 같이, 상형(12)(즉 슬라이드(82))의 이동위치를 곡선적으로 변화시킴으로써, 굽힘위치의 치수 정밀도의 안정성을 향상시키고, 내충격·내피로파괴 성능을 향상시킬 수 있다.
또, 제어부(70)는, 플랜지부(80b)의 성형 시에 있어서, 성형 초기에 비하여 성형 후기에 있어서의 슬라이드(82)의 소정 시간마다의 이동량을 감소시켜도 된다. 또한, 성형 초기란, 플랜지부 성형영역(E2) 중, 중간시점보다 개시시점(T1)측에 가까운 시간영역이다. 또, 성형 후기란, 플랜지부 성형영역(E2) 중, 중간시점보다 완료시점(T2)측에 가까운 시간영역이다. 구체적으로는, 도 7(a)의 그래프(L1)에 나타내는 바와 같이, 제어부(70)는, 성형 초기에는, 슬라이드(82)의 이동량을 증가시켜 상형(12)을 크게 강하시키는 한편, 시간의 경과와 함께 당해 이동량을 감소시킴으로써, 성형 후기에는, 슬라이드(82)의 이동량을 감소시킨다. 또, 도 7(b)에 나타내는 바와 같이, 제어부(70)는, 상형(12)의 이동위치가, 하방으로 볼록하게 되도록 만곡하는 곡선의 그래프(L3)를 그리도록 슬라이드(82)를 제어한다. 이상과 같이, 성형 초기에는 슬라이드(82)의 소정 시간마다의 이동량을 증가시킴으로써, 플랜지부(80b)의 대략적인 형상을 성형하고, 성형 후기에는 슬라이드(82)의 소정 시간마다의 이동량을 감소시킴으로써, 플랜지부(80b)의 세세한 형상을 양호한 정밀도로 성형할 수 있다.
또, 제어부(70)는, 플랜지부(80b)의 성형 시에 있어서, 성형 초기에 비하여 성형 후기에 있어서의 슬라이드(82)의 소정 시간마다의 이동량을 증가시켜도 된다. 구체적으로는, 도 7(a)의 그래프(L2)에 나타내는 바와 같이, 제어부(70)는, 성형 초기에는, 슬라이드(82)의 이동량을 감소시켜 상형(12)을 작게 강하시키는 한편, 시간의 경과와 함께 당해 이동량을 증가시킴으로써, 성형 후기에는, 슬라이드(82)의 이동량을 크게 한다. 또, 도 7(b)에 나타내는 바와 같이, 제어부(70)는, 상형(12)의 이동위치가, 상방으로 볼록하게 되도록 만곡하는 곡선의 그래프(L4)를 그리도록 슬라이드(82)를 제어한다. 이상과 같이, 성형 초기에는 슬라이드(82)의 소정 시간마다의 이동량을 감소시킴으로써, 금속파이프 재료(14)를 급격하게 변형시키지 않도록 조금씩 금속파이프 재료(14)를 눌러 밀려나오게 할 수 있다. 예를 들면, 금속파이프 재료(14)의 재질의 특성상, 급격하게 변형시키는 경우는 반력이 커져 변형 등이 발생할 가능성이 있지만, 조금씩 눌러 밀려나오게 함으로써 정확히 변형시킬 수 있다. 한편, 어느 정도 금속파이프 재료(14)를 변형시킨 성형 후기에는, 슬라이드(82)의 소정 시간마다의 이동량을 증가시킴으로써, 신속하게 플랜지부(80b)의 최종 형상을 성형할 수 있다.
또, 제어부(70)는, 도 7에 나타내는 그래프에 한정되지 않고, 다양한 양태로 슬라이드(82)의 이동속도를 변화시켜 제어해도 된다. 예를 들면, 도 8(a), 8(b)에 나타내는 바와 같이, 제어부(70)는, 상형(12)(즉 슬라이드(82))의 이동위치를 계단형상으로 변화시킴으로써, 소정 시간마다의 이동량을 단계적으로 변화시킬 시에, 비스듬히 하방으로 경사지는 직선을 그리도록 상형(12)의 이동위치를 변화시켜도 된다. 또, 도 8(c)에 나타내는 바와 같이, 상형(12)의 이동위치를 일정시간 유지하는 영역을 마련하지 않고, 비스듬히 하방으로 경사지는 직선을 그리도록 상형(12)의 이동위치를 변화시킨 후, 경사각도가 상이한 직선을 그리도록 상형의 이동위치를 변화시켜도 된다. 이와 같은 제어도, 상형(12)(즉 슬라이드(82))의 이동위치를 계단형상으로 변화시키는 것에 해당한다.
또, 도 8(d), 8(e), 8(f)에 나타내는 바와 같이, 성형영역(E1)에 있어서의 어느 타이밍에 진동압력을 부가해도 된다. 또한, “진동압력을 부가한다”란, 금속파이프 재료(14)를 상형(12) 및 하형(11)에 의하여 프레스하고 있는 상태에 있어서, 상형(12)을 진동(상하로 약간 이동하는 패턴을 반복)시킴으로써, 금속파이프 재료(14)에 대하여, 미소하게 변화하는 압력을 부여하는 것이다. 예를 들면, 도 8(d)에 나타내는 바와 같이, 제어부(70)는, 전체 성형영역(E3)에 있어서, 금속파이프 재료(14)에 진동압력을 부여해도 된다. 또, 도 8(e)에 나타내는 바와 같이, 플랜지부 성형영역(E2)과 전체 성형영역(E3)에 있어서, 금속파이프 재료(14)에 진동압력을 부여해도 된다. 또한, 플랜지부 성형영역(E2)에 있어서는, 상형(12)의 이동위치를 일정시간 유지하는 영역에 있어서 진동압력을 부여하고 있다. 또, 도 8(f)에 나타내는 바와 같이, 제어부(70)는, 플랜지부 성형영역(E2)에 있어서, 금속파이프 재료(14)에 진동압력을 부여해도 된다. 또한, 플랜지부 성형영역(E2)에 있어서는, 상형(12)을 강하시키면서 진동압력을 부가하고 있다. 이상과 같이, 금속파이프 재료(14)에 진동압력을 부여함으로써, 성형면의 평탄도의 양호화 및 스프링백의 억제라는 효과가 나타난다.
다음으로, 본 실시형태에 관한 성형장치(10)의 작용과 효과에 대하여 설명한다.
본 실시형태에 관한 성형장치(10)에서는, 제어부(70)는, 파이프유지기구(30)에 의하여 상형(12)과 하형(11)의 사이에서 유지된 금속파이프 재료(14) 내에 기체를 공급함으로써, 금속파이프 재료(14)를 팽창 성형하도록 블로기구(60)를 제어한다. 이로써, 금속파이프 재료(14) 중 완성품의 파이프부(80a)에 대응하는 부분(즉 제1 성형부분(14a))은, 메인캐비티부(MC)에 대응하는 형상으로 팽창 성형됨과 함께, 완성품의 플랜지부(80b)에 대응하는 부분(즉 제2 성형부분(14b))은, 서브캐비티부(SC)를 향하여 팽창된다. 또, 제어부(70)는, 팽창된 금속파이프 재료(14)의 제2 성형부분(14b)을 상형(12) 및 하형(11)의 사이의 서브캐비티부(SC)에서 눌러 밀려나오게 함으로써 플랜지부(80b)를 성형하도록 구동부(81)를 제어한다. 여기에서, 비교예에 관한 성형장치로서, 서브캐비티부(SC)를 향하여, 팽창된 제2 성형부분(14b)을 눌러 밀려나오게 할 시에, 서보모터(83)에 의하여 속도 제어를 행하지 않고 플랜지부(80b)를 성형하는 것을 들 수 있다. 이와 같은 경우, 플랜지부(80b)에 느슨함이나 비틀림 등이 발생할 가능성이 있다.
한편, 본 실시형태에 관한 성형장치(10)에서는, 제어부(70)는, 서보모터(83)를 제어함으로써, 플랜지부(80b)의 성형 중에 슬라이드(82)의 이동속도를 변화시킨다. 따라서, 플랜지부(80b)의 형상 등에 맞춘 적절한 이동속도로 프레스의 동작을 제어하는 것이 가능해진다. 따라서, 성형품의 품질을 향상시킬 수 있다. 여기에서, 본 실시형태에 관한 성형방식으로는, 금속파이프 재료(14) 내에 고압가스가 충전된 상태이고, 내압이 금속파이프 재료(14)의 변형저항을 상회하면, 블로성형금형(13)의 형상에 맞추어 금속파이프 재료(14)가 변형된다. 이때, 플랜지부(80b)를 팽창하고 성형하는 공정에 있어서는, 상형(12)이 하사점 부근에서 강하 중이다. 이때, 내압에 대한 형상성형에 있어서의 적절한 조건에 근거하여 서보프레스의 동작을 제어함으로써, 정밀도 높은 형상을 성형하는 것이 가능해진다.
본 발명은 상술의 실시형태에 한정되는 것은 아니다.
상기 성형장치(10)에서는, 상하금형의 사이에서 가열처리할 수 있는 가열기구(50)를 구비하여, 통전에 의한 줄열을 이용하여 금속파이프 재료(14)를 가열했지만, 본 발명은 이들에 한정되는 것은 아니다. 예를 들면, 가열처리가 상하금형의 사이 이외의 장소에서 행해지고, 가열 후의 금속제 파이프를 금형 사이의 영역으로 이동시켜도 된다. 또, 통전에 의한 줄열을 이용하는 것 이외에도, 히터 등의 복사열을 이용해도 되고, 고주파유도전류를 이용하여 가열하는 것도 가능하다.
고압가스로서는, 질소가스, 아르곤가스 등의 비산화성 가스나 불활성 가스를 주로 채용할 수 있는데, 이들은 금속파이프 내에 산화스케일을 발생시키기 어렵게 할 수 있지만, 고가이다. 이 점에 대하여, 압축공기라면, 산화스케일의 발생에 의하여 큰 문제를 발생시키기 않는 한, 저가이며, 대기 중에 누출되어도 실제 피해는 없고, 취급이 매우 용이하다. 따라서, 블로공정을 원활하게 실행시킬 수 있다.
블로성형금형은 무수랭금형과 수랭금형 중 어느 것이어도 된다. 단, 무수랭금형은, 블로성형 종료 후에 금형의 온도를 상온 부근까지 낮출 때, 장시간을 필요로 한다. 이 점에 대하여, 수랭금형이라면, 단시간에 냉각이 완료된다. 따라서, 생산성 향상의 관점에서는, 수랭금형이 바람직하다.
산업상 이용가능성
본 발명의 실시형태에 관한 성형장치에 의하면, 성형품의 품질을 향상시킬 수 있다.
10…성형장치
11…하형(제2 금형)
12…상형(제1 금형)
14…금속파이프 재료
30…파이프유지기구(유지부)
60…블로기구(기체공급부)
70…제어부
81…구동부
82…슬라이드
83…서보모터
MC…메인캐비티부
SC…서브캐비티부

Claims (4)

  1. 플랜지를 갖는 금속파이프를 성형하는 성형장치로서,
    서로 쌍을 이루는 제1 금형 및 제2 금형과,
    상기 제1 금형 및 상기 제2 금형 중 적어도 일방을 이동시키는 슬라이드와,
    상기 슬라이드를 이동시키기 위한 구동력을 발생시키는 서보모터를 구비하는 구동부와,
    상기 제1 금형과 상기 제2 금형의 사이에서 금속파이프 재료를 유지하는 유지부와,
    상기 유지부에 의하여 유지된 상기 금속파이프 재료 내에 기체를 공급하는 기체공급부와,
    상기 구동부, 상기 유지부 및 상기 기체공급부를 제어하는 제어부를 구비하고,
    상기 제어부는,
    상기 유지부에 의하여 상기 제1 금형과 상기 제2 금형의 사이에서 유지된 상기 금속파이프 재료 내에 기체를 공급함으로써, 상기 금속파이프 재료를 팽창 성형하도록 상기 기체공급부를 제어하며,
    팽창된 상기 금속파이프 재료의 일부를 상기 제1 금형 및 상기 제2 금형에 의하여 눌러 밀려나오게 함으로써 플랜지부를 성형하도록 상기 구동부를 제어하고,
    상기 서보모터를 제어함으로써, 상기 플랜지부의 성형 중에 상기 슬라이드의 이동속도를 감소시키는 성형장치.
  2. 제 1 항에 있어서,
    상기 제어부는, 상기 플랜지부의 성형 시에, 성형 초기에 비해 성형 후기에서 상기 슬라이드의 소정 시간 당 이동량을 작게 하도록 상기 구동부를 제어하는 것을 특징으로 하는 성형장치.
  3. 제 2 항에 있어서,
    상기 제어부는, 상기 플랜지부의 성형 시에, 시간이 지남에 따라 상기 슬라이드의 소정 시간 당 이동량을 감소시키도록 상기 구동부를 제어하는 것을 특징으로 하는 성형장치.
  4. 제 2 항에 있어서,
    상기 제어부는, 상기 플랜지부의 성형 시에, 가로축을 시간으로 세로축을 상기 슬라이드의 위치로 한 그래프에서, 아래로 볼록한 곡선을 그리도록 상기 구동부를 제어하는 것을 특징으로 하는 성형장치.
KR1020187024620A 2014-04-21 2014-04-21 성형장치 Ceased KR20180098699A (ko)

Applications Claiming Priority (1)

Application Number Priority Date Filing Date Title
PCT/IB2014/001822 WO2015162448A1 (en) 2014-04-21 2014-04-21 Molding apparatus

Related Parent Applications (1)

Application Number Title Priority Date Filing Date
KR1020167029780A Division KR20160141774A (ko) 2014-04-21 2014-04-21 성형장치

Publications (1)

Publication Number Publication Date
KR20180098699A true KR20180098699A (ko) 2018-09-04

Family

ID=51894162

Family Applications (2)

Application Number Title Priority Date Filing Date
KR1020167029780A Ceased KR20160141774A (ko) 2014-04-21 2014-04-21 성형장치
KR1020187024620A Ceased KR20180098699A (ko) 2014-04-21 2014-04-21 성형장치

Family Applications Before (1)

Application Number Title Priority Date Filing Date
KR1020167029780A Ceased KR20160141774A (ko) 2014-04-21 2014-04-21 성형장치

Country Status (7)

Country Link
US (1) US10531520B2 (ko)
EP (1) EP3134217B1 (ko)
JP (1) JP6475753B2 (ko)
KR (2) KR20160141774A (ko)
CN (1) CN106457345B (ko)
CA (1) CA2946088C (ko)
WO (1) WO2015162448A1 (ko)

Families Citing this family (12)

* Cited by examiner, † Cited by third party
Publication number Priority date Publication date Assignee Title
JP6771271B2 (ja) * 2015-03-31 2020-10-21 住友重機械工業株式会社 成形装置
KR101936478B1 (ko) * 2016-12-15 2019-01-08 현대자동차주식회사 입체냉각방식 핫 스템핑 공법과 핫 스템핑 시스템
CN109304388B (zh) * 2017-07-28 2020-06-12 上海宝钢高新技术零部件有限公司 一种液压成形四弯零件模内压弯装置和方法
DE112019001169T5 (de) * 2018-03-06 2020-12-10 Sumitomo Heavy Industries, Ltd. Elektrische heizvorrichtung
CN109404371A (zh) * 2018-06-28 2019-03-01 吉林省正轩车架有限公司 一种能缩短内高压成型工艺周期的液压系统
DE102018124985B4 (de) * 2018-10-10 2022-05-05 Stego-Holding Gmbh Temperiervorrichtung und System
JP6685363B2 (ja) * 2018-10-16 2020-04-22 住友重機械工業株式会社 成形装置
JP7668802B2 (ja) * 2020-08-11 2025-04-25 住友重機械工業株式会社 成形装置
TWI731814B (zh) * 2020-11-10 2021-06-21 財團法人金屬工業研究發展中心 用於熱沖壓模具的溫度感測裝置及方法
JP7514741B2 (ja) * 2020-11-17 2024-07-11 株式会社アミノ バルブ機能を備えた金型及び管材成形品の製造方法
JP7543099B2 (ja) * 2020-11-17 2024-09-02 株式会社アミノ ハイドロフォーミングシステム
CN112494173B (zh) * 2020-11-19 2022-07-19 东莞市镁安医疗器械有限公司 一种血管支架结构加工装置及方法

Citations (1)

* Cited by examiner, † Cited by third party
Publication number Priority date Publication date Assignee Title
JP2003154415A (ja) 2001-09-04 2003-05-27 Aisin Takaoka Ltd 金属部材成形方法、金属部材及び金属部材成形装置

Family Cites Families (12)

* Cited by examiner, † Cited by third party
Publication number Priority date Publication date Assignee Title
JPS6082229A (ja) * 1983-10-08 1985-05-10 Mori Tekko Kk バルジ加工方法
JP3509217B2 (ja) * 1994-09-20 2004-03-22 株式会社日立製作所 異形断面管の成形方法並びに成形装置
EP1197274B1 (en) * 1997-04-16 2004-12-29 Cosma International Inc. High pressure hydroforming press
WO1998046382A1 (en) 1997-04-16 1998-10-22 Cosma International Inc. High pressure hydroforming press
US6237382B1 (en) * 1997-08-06 2001-05-29 Sumitomo Metal Industries, Ltd. Method and apparatus for hydroforming metallic tube
JP4647753B2 (ja) * 2000-06-27 2011-03-09 日本発條株式会社 金属ベローズの製造装置
US6912884B2 (en) * 2001-06-25 2005-07-05 Mohamed T. Gharib Hydroforming process and apparatus for the same
JP2004249309A (ja) * 2003-02-19 2004-09-09 Aida Eng Ltd ハイドロフォーミング装置
JP2007069241A (ja) 2005-09-07 2007-03-22 Toyo Seikan Kaisha Ltd ロータリー式ブロー成形装置及びロータリー式ブロー成形方法
JP2009220141A (ja) * 2008-03-14 2009-10-01 Marujun Co Ltd パイプ製品の製造方法及び同製造装置
JP4920772B2 (ja) * 2010-06-18 2012-04-18 リンツリサーチエンジニアリング株式会社 フランジ付金属製パイプ製造装置及びその製造方法並びにブロー成形金型
CN103464562B (zh) * 2013-09-14 2016-03-30 中国第一汽车股份有限公司 腔体件低内压成形方法

Patent Citations (1)

* Cited by examiner, † Cited by third party
Publication number Priority date Publication date Assignee Title
JP2003154415A (ja) 2001-09-04 2003-05-27 Aisin Takaoka Ltd 金属部材成形方法、金属部材及び金属部材成形装置

Also Published As

Publication number Publication date
KR20160141774A (ko) 2016-12-09
US20170048931A1 (en) 2017-02-16
JP6475753B2 (ja) 2019-02-27
CN106457345A (zh) 2017-02-22
WO2015162448A1 (en) 2015-10-29
CN106457345B (zh) 2020-06-16
CA2946088C (en) 2018-06-26
JP2017515681A (ja) 2017-06-15
CA2946088A1 (en) 2015-10-29
WO2015162448A8 (en) 2016-12-08
EP3134217A1 (en) 2017-03-01
US10531520B2 (en) 2020-01-07
EP3134217B1 (en) 2021-11-17

Similar Documents

Publication Publication Date Title
KR20180098699A (ko) 성형장치
US10173254B2 (en) Molding apparatus
JP4920772B2 (ja) フランジ付金属製パイプ製造装置及びその製造方法並びにブロー成形金型
US10646912B2 (en) Forming apparatus and forming method
JP6210939B2 (ja) 成形システム
JP6401953B2 (ja) 成形装置及び成形方法
JP6670543B2 (ja) 成形装置及び成形方法
JP6463008B2 (ja) 成形装置
JPWO2017034025A1 (ja) 成形装置及び成形方法
KR101734933B1 (ko) 성형시스템
JP6704982B2 (ja) 成形装置
JP6173261B2 (ja) 成形システム
JP6685363B2 (ja) 成形装置
JP2018001210A (ja) 成形装置

Legal Events

Date Code Title Description
A107 Divisional application of patent
PA0104 Divisional application for international application

Comment text: Divisional Application for International Patent

Patent event code: PA01041R01D

Patent event date: 20180827

Application number text: 1020167029780

Filing date: 20161025

PG1501 Laying open of application
A201 Request for examination
PA0201 Request for examination

Patent event code: PA02012R01D

Patent event date: 20181016

Comment text: Request for Examination of Application

E902 Notification of reason for refusal
PE0902 Notice of grounds for rejection

Comment text: Notification of reason for refusal

Patent event date: 20181126

Patent event code: PE09021S01D

E601 Decision to refuse application
PE0601 Decision on rejection of patent

Patent event date: 20190530

Comment text: Decision to Refuse Application

Patent event code: PE06012S01D

Patent event date: 20181126

Comment text: Notification of reason for refusal

Patent event code: PE06011S01I

J201 Request for trial against refusal decision
PJ0201 Trial against decision of rejection

Patent event date: 20190625

Comment text: Request for Trial against Decision on Refusal

Patent event code: PJ02012R01D

Patent event date: 20190530

Comment text: Decision to Refuse Application

Patent event code: PJ02011S01I

Appeal kind category: Appeal against decision to decline refusal

Appeal identifier: 2019101002114

Request date: 20190625

J301 Trial decision

Free format text: TRIAL NUMBER: 2019101002114; TRIAL DECISION FOR APPEAL AGAINST DECISION TO DECLINE REFUSAL REQUESTED 20190625

Effective date: 20200831

PJ1301 Trial decision

Patent event code: PJ13011S01D

Patent event date: 20200831

Comment text: Trial Decision on Objection to Decision on Refusal

Appeal kind category: Appeal against decision to decline refusal

Request date: 20190625

Decision date: 20200831

Appeal identifier: 2019101002114