KR20180098626A - 임프린트 장치 및 물품의 제조 방법 - Google Patents
임프린트 장치 및 물품의 제조 방법 Download PDFInfo
- Publication number
- KR20180098626A KR20180098626A KR1020187021645A KR20187021645A KR20180098626A KR 20180098626 A KR20180098626 A KR 20180098626A KR 1020187021645 A KR1020187021645 A KR 1020187021645A KR 20187021645 A KR20187021645 A KR 20187021645A KR 20180098626 A KR20180098626 A KR 20180098626A
- Authority
- KR
- South Korea
- Prior art keywords
- substrate
- mold
- imprint
- gas
- stage
- Prior art date
- Legal status (The legal status is an assumption and is not a legal conclusion. Google has not performed a legal analysis and makes no representation as to the accuracy of the status listed.)
- Abandoned
Links
Images
Classifications
-
- G—PHYSICS
- G03—PHOTOGRAPHY; CINEMATOGRAPHY; ANALOGOUS TECHNIQUES USING WAVES OTHER THAN OPTICAL WAVES; ELECTROGRAPHY; HOLOGRAPHY
- G03F—PHOTOMECHANICAL PRODUCTION OF TEXTURED OR PATTERNED SURFACES, e.g. FOR PRINTING, FOR PROCESSING OF SEMICONDUCTOR DEVICES; MATERIALS THEREFOR; ORIGINALS THEREFOR; APPARATUS SPECIALLY ADAPTED THEREFOR
- G03F7/00—Photomechanical, e.g. photolithographic, production of textured or patterned surfaces, e.g. printing surfaces; Materials therefor, e.g. comprising photoresists; Apparatus specially adapted therefor
- G03F7/0002—Lithographic processes using patterning methods other than those involving the exposure to radiation, e.g. by stamping
-
- B—PERFORMING OPERATIONS; TRANSPORTING
- B29—WORKING OF PLASTICS; WORKING OF SUBSTANCES IN A PLASTIC STATE IN GENERAL
- B29C—SHAPING OR JOINING OF PLASTICS; SHAPING OF MATERIAL IN A PLASTIC STATE, NOT OTHERWISE PROVIDED FOR; AFTER-TREATMENT OF THE SHAPED PRODUCTS, e.g. REPAIRING
- B29C59/00—Surface shaping of articles, e.g. embossing; Apparatus therefor
- B29C59/02—Surface shaping of articles, e.g. embossing; Apparatus therefor by mechanical means, e.g. pressing
- B29C59/04—Surface shaping of articles, e.g. embossing; Apparatus therefor by mechanical means, e.g. pressing using rollers or endless belts
-
- G—PHYSICS
- G03—PHOTOGRAPHY; CINEMATOGRAPHY; ANALOGOUS TECHNIQUES USING WAVES OTHER THAN OPTICAL WAVES; ELECTROGRAPHY; HOLOGRAPHY
- G03F—PHOTOMECHANICAL PRODUCTION OF TEXTURED OR PATTERNED SURFACES, e.g. FOR PRINTING, FOR PROCESSING OF SEMICONDUCTOR DEVICES; MATERIALS THEREFOR; ORIGINALS THEREFOR; APPARATUS SPECIALLY ADAPTED THEREFOR
- G03F7/00—Photomechanical, e.g. photolithographic, production of textured or patterned surfaces, e.g. printing surfaces; Materials therefor, e.g. comprising photoresists; Apparatus specially adapted therefor
- G03F7/70—Microphotolithographic exposure; Apparatus therefor
- G03F7/70691—Handling of masks or workpieces
- G03F7/707—Chucks, e.g. chucking or un-chucking operations or structural details
- G03F7/70708—Chucks, e.g. chucking or un-chucking operations or structural details being electrostatic; Electrostatically deformable vacuum chucks
-
- G—PHYSICS
- G03—PHOTOGRAPHY; CINEMATOGRAPHY; ANALOGOUS TECHNIQUES USING WAVES OTHER THAN OPTICAL WAVES; ELECTROGRAPHY; HOLOGRAPHY
- G03F—PHOTOMECHANICAL PRODUCTION OF TEXTURED OR PATTERNED SURFACES, e.g. FOR PRINTING, FOR PROCESSING OF SEMICONDUCTOR DEVICES; MATERIALS THEREFOR; ORIGINALS THEREFOR; APPARATUS SPECIALLY ADAPTED THEREFOR
- G03F7/00—Photomechanical, e.g. photolithographic, production of textured or patterned surfaces, e.g. printing surfaces; Materials therefor, e.g. comprising photoresists; Apparatus specially adapted therefor
- G03F7/70—Microphotolithographic exposure; Apparatus therefor
- G03F7/708—Construction of apparatus, e.g. environment aspects, hygiene aspects or materials
- G03F7/70808—Construction details, e.g. housing, load-lock, seals or windows for passing light in or out of apparatus
- G03F7/70825—Mounting of individual elements, e.g. mounts, holders or supports
-
- H—ELECTRICITY
- H01—ELECTRIC ELEMENTS
- H01L—SEMICONDUCTOR DEVICES NOT COVERED BY CLASS H10
- H01L21/00—Processes or apparatus adapted for the manufacture or treatment of semiconductor or solid state devices or of parts thereof
- H01L21/02—Manufacture or treatment of semiconductor devices or of parts thereof
- H01L21/027—Making masks on semiconductor bodies for further photolithographic processing not provided for in group H01L21/18 or H01L21/34
Landscapes
- Engineering & Computer Science (AREA)
- Physics & Mathematics (AREA)
- General Physics & Mathematics (AREA)
- Mechanical Engineering (AREA)
- Manufacturing & Machinery (AREA)
- Computer Hardware Design (AREA)
- Microelectronics & Electronic Packaging (AREA)
- Power Engineering (AREA)
- Health & Medical Sciences (AREA)
- Environmental & Geological Engineering (AREA)
- Epidemiology (AREA)
- Public Health (AREA)
- Condensed Matter Physics & Semiconductors (AREA)
- Shaping Of Tube Ends By Bending Or Straightening (AREA)
- Manufacturing Of Magnetic Record Carriers (AREA)
- Exposure Of Semiconductors, Excluding Electron Or Ion Beam Exposure (AREA)
Abstract
형을 이용하여 기판(5)에 패턴을 형성하는 임프린트 장치(1)는, 기판(5)을 보유 지지하여 이동 가능한 기판 스테이지(6)와, 기판 스테이지(6) 위의 기판(5)을 보유 지지하는 영역의 외주부에 배치되고, 구멍을 갖는 판 부재인 다공판(10)과, 기판 스테이지(6)의 상면 근방의 이물(90)이 임프린트 공간에 진입하는 것을 방지하기 위하여 구멍을 통하여 기판 스테이지(6) 상의 공간의 기체를 흡인 또는 기판 스테이지(6) 상의 공간에 대한 기체의 방출을 제어하는 제어부를 갖는다.
Description
본 발명은 임프린트 장치 및 물품의 제조 방법에 관한 것이다.
임프린트 기술은, 나노 스케일의 미세 패턴의 전사를 가능하게 하는 기술이며, 자기 기록 매체나 반도체 디바이스의 양산을 위한 나노 리소그래피 기술 중의 하나로서 주목받고 있다. 임프린트 기술에서는, 패턴이 형성된 몰드(형)와 기판 위의 임프린트재(수지)를 접촉(압인)시킨 상태에서 임프린트재를 경화시키고, 경화시킨 임프린트재로부터 몰드를 박리(이형)함으로써 기판 위에 패턴을 전사한다.
임프린트 장치에 있어서 발생하는 패턴 결함 중 하나로, 외부로부터의 파티클이 몰드와 기판 사이에 끼어든 상태에서 압인함으로써 발생되는 결함이 있다. 파티클이 몰드의 패턴 내에 부착되어 버리면, 그 이후에 압인한 모든 패턴의 동일 장소에 결함이 발생하여, 수율이 저하되는 요인이 된다. 또한, 파티클이 끼어듦으로써 몰드가 파손될 가능성이 높아진다. 임프린트 프로세스에서는, 몰드의 제조 비용이 비교적 높기 때문에, 몰드의 파손은 제품의 비용 상승의 큰 요인이 된다. 특허문헌 1에는, 몰드의 외주부로부터 기판을 향하여 커튼형의 기류(에어 커튼)를 형성하고, 외부로부터의 파티클이 몰드와 기판 사이에 들어가기 어렵게 하는 기술이 개시되어 있다.
그러나, 기판 스테이지가 몰드에 의해 임프린트재에 패턴이 압인되는 압인 위치로 이동을 개시하면, 기판과 기판 스테이지 표면 근방의 기체도 기판 스테이지와 함께 이동한다. 따라서, 특허문헌 1에서는, 기판 스테이지가 이동함으로써 방사 방향의 기류 일부에 몰드의 중심 방향을 향하는 역류가 발생하고, 역류 부분으로부터 파티클이 들어가기 쉬워진다. 이에 따라, 형과 임프린트재를 접촉시켰을 때 사이에 파티클이 있음으로써 패턴 결함이 발생될 가능성이 높아진다.
본 발명은, 예를 들어 패턴 결함을 저감시킨 임프린트 장치를 제공하는 것을 목적으로 한다.
상기 과제를 해결하기 위하여, 본 발명은 형을 이용하여 기판에 패턴을 형성하는 임프린트 장치이며, 상기 기판을 보유 지지하여 이동 가능한 스테이지와, 상기 스테이지 위의 상기 기판을 보유 지지하는 부분의 외주부에 배치되고, 구멍을 갖는 판 부재와, 상기 구멍을 통하여 상기 스테이지 상의 공간의 기체를 흡인 또는 상기 스테이지 상의 공간에 대한 기체의 방출을 제어하는 제어부를 갖는 임프린트 장치를 제공한다.
본 발명에 따르면, 예를 들어 패턴 결함을 저감시킨 임프린트 장치를 제공할 수 있다.
도 1은 실시예 1에 있어서의 임프린트 장치의 모식도이다.
도 2는 파티클에 의한 패턴부 파손을 설명하는 모식도이다.
도 3은 종래의 임프린트 장치의 일례를 나타내는 도면이다.
도 4는 몰드 및 몰드 보유 지지부의 하면도이다.
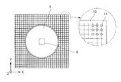
도 5는 실시예 1에 있어서의 기판 및 다공판의 상면도이다.
도 6은 실시예 1에 있어서의 기판 및 슬릿형의 다공판의 상면도이다.
도 7은 실시예 1에 있어서의 다른 양태의 임프린트 장치의 모식도이다.
도 8은 유로의 전환을 설명하는 도면이다.
도 9는 실시예 2에 있어서의 임프린트 장치의 모식도이다.
도 10은 실시예 2에 있어서의 다른 양태의 임프린트 장치의 모식도이다.
도 11은 실시예 2에 있어서의 기판 및 다공판의 상면도이다.
도 12는 실시예 3에 있어서의 임프린트 장치의 모식도이다.
도 13은 실시예 3에 있어서의 패턴부에 부착된 파티클의 제거를 설명하는 도면이다.
도 14는 실시예 4에 있어서의 임프린트 장치의 모식도이다.
도 15는 실시예 4에 있어서의 판재에 부착된 파티클의 제거를 설명하는 도면이다.
도 16은 물품의 제조 방법을 나타내는 도면이다.
도 2는 파티클에 의한 패턴부 파손을 설명하는 모식도이다.
도 3은 종래의 임프린트 장치의 일례를 나타내는 도면이다.
도 4는 몰드 및 몰드 보유 지지부의 하면도이다.
도 5는 실시예 1에 있어서의 기판 및 다공판의 상면도이다.
도 6은 실시예 1에 있어서의 기판 및 슬릿형의 다공판의 상면도이다.
도 7은 실시예 1에 있어서의 다른 양태의 임프린트 장치의 모식도이다.
도 8은 유로의 전환을 설명하는 도면이다.
도 9는 실시예 2에 있어서의 임프린트 장치의 모식도이다.
도 10은 실시예 2에 있어서의 다른 양태의 임프린트 장치의 모식도이다.
도 11은 실시예 2에 있어서의 기판 및 다공판의 상면도이다.
도 12는 실시예 3에 있어서의 임프린트 장치의 모식도이다.
도 13은 실시예 3에 있어서의 패턴부에 부착된 파티클의 제거를 설명하는 도면이다.
도 14는 실시예 4에 있어서의 임프린트 장치의 모식도이다.
도 15는 실시예 4에 있어서의 판재에 부착된 파티클의 제거를 설명하는 도면이다.
도 16은 물품의 제조 방법을 나타내는 도면이다.
(실시예 1)
도 1은, 실시예 1에서의 임프린트 장치(1)의 개략 구성을 나타내는 도면이다. 이 임프린트 장치(1)는, 반도체 디바이스 등의 디바이스의 제조에 사용되어, 피처리 기판 위의 임프린트재(미경화 수지)를 형(몰드)으로 성형하고, 기판 위에 임프린트재의 패턴을 형성하는 장치이다. 여기에서는 임프린트재를 경화하는 방법으로서 광 경화법을 채용한 임프린트 장치로 하지만, 이에 한정되는 것은 아니다. 이하의 도면에서는, 기판 위의 임프린트재에 대해 자외선을 조사하는 조명계의 광축과 평행으로 Z축을 취하고, Z축에 수직인 평면 내에 있어서 서로 직교하는 X축 및 Y축을 취한다. 임프린트 장치(1)는, 조사부(100)와, 형 보유 지지부(4)와, 기판 스테이지(6)와, 공급부(7)를 구비한다.
조사부(100)는, 임프린트 처리 시에, 임프린트재(8)에 대해 자외선(101)을 조사한다. 이 조사부(100)는, 도시되지 않지만, 노광 광원과, 이 노광 광원으로부터 조사된 자외선(101)을 임프린트에 적절한 광으로 조정하는 광학 소자로 구성된다. 임프린트재에는, 경화용 에너지가 부여됨으로써 경화되는 경화성 조성물(미경화 상태의 수지라 부르는 경우도 있음)이 사용된다. 경화용 에너지로는, 전자파, 열 등이 사용된다. 전자파로는, 예를 들어 그 파장이 10㎚ 이상 1㎜ 이하인 범위로부터 선택되는, 적외선, 가시광선, 자외선 등의 광이다.
경화성 조성물은, 광의 조사에 의해, 혹은, 가열에 의해 경화되는 조성물이다. 이 중, 광에 의해 경화되는 광 경화성 조성물은, 중합성 화합물과 광중합 개시제를 적어도 함유하고, 필요에 따라 비중합성 화합물 또는 용제를 함유해도 된다. 비중합성 화합물은, 증감제, 수소 공여체, 내첨형 이형제, 계면 활성제, 산화 방지제, 중합체 성분 등의 군에서 선택되는 적어도 1종이다. 임프린트재는, 스핀 코터나 슬릿 코터에 의해 기판 위에 막 형상으로 부여된다. 혹은 액체 분사 헤드에 의해, 액적 형상, 혹은 복수의 액적이 연결되어 형성된 섬 형상 또는 막 형상으로 되어 기판 위에 부여되어도 된다. 임프린트재의 점도(25℃에서의 점도)는, 예를 들어 1mPa·s 이상 100mPa·s 이하이다.
형(2)은, 외주 형상이 각형이며, 기판(5)에 대향하는 면은, 예를 들어 회로 패턴 등의 전사해야 할 요철 패턴이 3차원형으로 형성된 패턴부(3)를 포함한다. 형(2)의 재질은, 자외선(101)을 투과시키기가 가능한 재질이며, 본 실시예에서는 일례로서 석영으로 한다. 또한, 형(2)은, Z 방향의 변형을 용이하게 하기 위하여, 자외선(101)이 조사되는 면에, 어느 정도의 깊이를 갖는 캐비티(오목부)(9)가 형성된 형상으로 해도 된다.
형 보유 지지부(4)는, 형(2)을 보유 지지하면서, 형(2)을 이동시키는 구동 기구를 갖는다. 형 보유 지지부(4)는, 형(2)에 있어서의 자외선(101)의 조사면의 외주 영역을 진공 흡착력이나 정전기의 힘에 의해 끌어 당김으로써 형(2)의 보유 지지가 가능하다. 예를 들어, 형 보유 지지부(4)가 진공 흡착력에 의해 형(2)을 보유 지지하는 경우에는, 형 보유 지지부(4)는, 외부에 설치된 도시되지 않은 진공 펌프에 접속되고, 이 진공 펌프의 ON/OFF에 의해 형(2)의 탈착이 전환된다. 형 보유 지지부(4)는, 형(2)과 기판(5) 위의 임프린트재(8)의 압박, 또는 분리를 행하도록 형(2)을 각 축 방향으로 이동시킨다. 이 형 보유 지지부(4)의 구동 기구로서 채용 가능한 액추에이터로서는, 예를 들어 리니어 모터 또는 에어 실린더가 있다. 또한, 이 구동 기구는, 형(2)의 고정밀도인 위치 결정에 대응하기 위하여, 조동 구동계나 미동 구동계 등의 복수의 구동계로 구성되어 있어도 된다. 또한, Z축 방향뿐만 아니라, X축 방향이나 Y축 방향 또는 θ 방향의 위치 조정 기능(회전 기구)이나, 형(2)의 기울기를 보정하기 위한 틸트 기능 등을 갖는 구성도 있을 수 있다. 또한, 임프린트 장치(1)에 있어서의 압박 및 분리 동작은, 형(2)을 Z축 방향으로 이동시킴으로써 실현해도 되지만, 기판 스테이지(6)를 Z축 방향으로 이동시킴으로써 실현해도 되거나 또는 그 양쪽을 상대적으로 이동시켜도 된다.
기판(5)은, 유리, 세라믹스, 금속, 반도체, 수지 등이 사용되며, 필요에 따라, 그 표면에 기판과는 다른 재료를 포함하는 부재가 형성되어 있어도 된다. 기판(5)으로는, 구체적으로, 실리콘 웨이퍼, 화합물 반도체 웨이퍼, 석영 유리 등이다. 이 피처리면에는, 형(2)에 형성된 패턴부(3)에 의해 패턴 성형되는 자외선 경화형의 임프린트재(8)가 공급된다. 기판 스테이지(6)는, 기판(5)을 보유 지지하고, 형(2)과 기판(5) 위의 임프린트재(8)의 접촉 동작 시에 형(2)과 임프린트재(8)의 위치 정렬을 실시한다. 또한 기판 스테이지(6)는, 각 축방향으로 이동 가능하게 하는 스테이지 구동 기구(도시되지 않음)를 갖는다. 이 스테이지 구동 기구에 채용 가능한 액추에이터로서는, 예를 들어 리니어 모터나 평면 모터가 있다. 스테이지 구동 기구는, X축 및 Y축의 각 방향에 대해, 조동 구동계나 미동 구동계 등의 복수의 구동계로 구성되어 있어도 된다. 또한, Z축 방향의 위치 조정을 위한 구동계나, 기판(5)의 θ 방향의 위치 조정 기능(회전 기구) 또는 기판(5)의 기울기를 보정하기 위한 틸트 기능 등을 갖는 구성도 있을 수 있다.
공급부(7)는, 형 보유 지지부(4)의 근방에 설치되어, 기판(5) 위에 임프린트재(8)를 공급한다. 여기서, 이 임프린트재(8)는, 자외선(101)을 수광함으로써 경화하는 성질을 갖는 광 경화성 수지이며, 반도체 디바이스 제조 공정 등의 각종 조건에 의해 적절히 선택된다. 또한, 공급부(7)로부터 토출되는 임프린트재(8)의 양도, 기판(5) 위에 형성되는 임프린트재(8)가 원하는 두께나, 형성되는 패턴의 밀도 등에 의해 적절히 결정된다.
기판(5)에 임프린트재(8)가 공급되고, 형(2)과 기판(5)이 소정의 위치 관계에 위치 결정된 후, 형 보유 지지부(4)를 -Z 방향으로 이동하고, 패턴부(3)를 임프린트재(8)에 압박하여 기판(5) 위에 패턴을 형성한다. 여기서 도 2의 (A), 도 2의 (B)에 나타내는 바와 같이, 파티클(90)이 기판(5) 위의 압인 영역 내나 패턴부(3)에 부착된 상태에서, 패턴부(3)를 임프린트재(8)에 접촉시켜 버리면, 도 2의 (C)에 나타내는 바와 같이, 패턴부(3)가 파손될 가능성이 있다. 임프린트 장치는 반도체 디바이스를 제조하기 위한 청정한 환경 내에 놓이지만, 파티클의 발생을 없앤다는 것은 매우 곤란하다. 본 명세서에 있어서, 「파티클」이란, 패턴 형성에 관여하는 것을 목적으로 하지 않는 물질이다. 예를 들어, 공급부(7)로부터 토출된 임프린트재(8)가 떠돌아 건조된 고형물, 임프린트 장치(1)를 구성하는 부재로부터 발생되는 미립자, 외부로부터 진입하여 임프린트 장치(1) 내에 존재하는 티끌 등이다. 패턴 결함의 발생의 용이함은, 패턴부(3)의 패턴 치수나 패턴 깊이에 따라 상이하지만, 하프 피치 치수 이상의 크기의 파티클이 있으면 패턴 결함이 발생되기 쉬워진다.
일단, 패턴부(3)가 파손되어 버리면 도 2의 (D)에 도시된 바와 같이, 그 이후, 기판(5) 위에 형성되는 모든 패턴(91)의 동일 장소에 결함이 발생되어 버려, 반도체 디바이스 제조의 수율이 현저하게 저하되어 버린다. 또한, 형(2)은 비교적 제조 비용이 높고, 반도체 디바이스의 비용 상승의 원인이 되어 버린다. 따라서, 임프린트 장치에서는, 파티클이 임프린트 공간에 끼어 들어, 기판(5)이나 패턴부(3)에 부착되는 것을 방지해야 한다. 또한, 이하의 설명에서, 임프린트 공간이란, 형(2)과 기판(5)이 대향했을 때에 형(2)과 기판(5) 사이에 생기는 공간을 의미한다. 종래의 임프린트 장치에서는, 도 3의 (A)에 나타내는 바와 같이, 기류 형성부(기류 형성 수단)인 기체 공급원(14)을 접속한 노즐(16)로부터 기판(5)을 향하여 기체(15)를 분사함으로써, 임프린트 장치의 외측으로 향하는 기류를 형성하고 있다. 즉, 스테이지(6)(기판(5))가 형(2)에 대향하고 있는 상태에서 기판(5)의 외주측을 따르는 방향으로 기류를 발생시킨다. 이에 따라, 파티클(90)이 임프린트 공간에 들어가는 것을 방지하고 있다. 노즐(16)은, 형(2)의 주위를 둘러싸도록 형 보유 지지부(4)에 설치된다. 노즐(16)로부터 기판(5)에 분사된 기체(15)는, 형(2)과 기판(5)에 끼워진 공간으로부터 임프린트 공간의 외부를 향하여, 하겐 포아젤· 흐름(Hagen-Poiseuille flow)이 되는 유속 분포(92)를 형성한다.
그러나, 도 3의 (B)에 나타내는 바와 같이 기판 스테이지(6)가 이동할 때에는, 기판 스테이지(6)의 진행 방향의 전방에서는 유속 분포(93), 후방에서는 유속 분포(94)와 같이 변화된다. 유속 분포(94)의 기판 스테이지(6)의 표면 근방에서는, 외부로부터 임프린트 공간을 향하는 역류가 일부에 형성된다. 이것은, 일반적으로 기체를 포함하는 점성 유체에서는 벽면에 있어서 유속이 제로가 되기 때문에, 기판 스테이지(6)가 이동하면, 기판 스테이지(6)의 표면 근방의 기체도 기판 스테이지(6)와 함께 이동하고, 쿠에트 흐름(Couette flow)을 형성하기 때문이다. 외부로부터 임프린트 공간을 향하는 역류가 발생되면, 기판 스테이지(6)의 표면 근방에 존재하는 파티클(90)은 기판 스테이지(6)가 왕복 운동을 반복하는 동안에 임프린트 공간 속에 들어갈 가능성이 높아진다.
그래서, 도 1에 나타내는 실시예 1의 임프린트 장치에서는, 기판 스테이지(6)의 표면 근방의 파티클이 임프린트 공간에 진입하는 것을 방지하기 위한 다공판(10) 및 제어부(50)를 설치한다. 다수의 구멍(11)을 갖는 다공판(10)(판 부재)은, 기판 스테이지(6)의 기판(5)을 보유 지지하는 부분의 외주에 있는 외주부에 설치되어 있다. 다공판(10)에 접속된 진공원(흡인 수단)(12)이, 구멍(11)을 통하여 기판 스테이지 상의 공간의 기체(13)의 흡인을 행하고, 주변에 있는 파티클이 임프린트 공간에 진입하는 것을 방지한다. 다공판(10)에 형성된 다수의 구멍(11)은 기체의 흡인구 또는 방출구가 되는 구멍이다. 제어부(50)는, 공급부(7), 기판 스테이지(6), 조사부(100), 다공판(10)에 접속된 진공원(12)에 접속되어 있고, 이들을 제어하여 임프린트 처리를 실행한다. 제어부(50)는, 임프린트 처리에 관한 프로그램을 실행하는 CPU, 및 프로그램이나 각종 계측값 등을 기억하는 메모리를 포함한다. 도 4는, 형(2) 및 형 보유 지지부(4)를 -Z 방향으로부터 본 도면이다. 노즐(16)은, 형(2)을 둘러싸도록 환형으로 배치된다. 본 실시예에 있어서 노즐(16)은 1열이지만, 복수의 노즐(16)의 열이 동심원형으로 배치되어 있어도 된다. 또한, 1개의 노즐(16)의 형상이 원형이 아니고 슬릿형이어도 된다. 또한, 노즐(16)은, 이산적으로 형(2)의 주변에 배치되어 있어도 된다. 도 5는, 기판(5) 및 다공판(10)을 +Z 방향으로부터 본 도면이다. 본 실시예에 있어서 다공판(10)은, 기판(5)이 탑재되어 있는 부분을 제외한 기판 스테이지(6)의 상면 전체를 차지하고 있다. 다공판(10)은, 구멍(11)이 거의 균일하게 분포되어 있는 부재이다. 구멍(11)의 형상은 둥근 구멍에 한정되지 않고, 균일하게 흡인할 수 있는 형상이면 된다. 예를 들어, 도 6에 나타내는 바와 같이 기판(5)을 둘러싸는 슬릿(18)과 같은 형상이어도 된다. 다공판(10)의 재질은, 반도체 프로세스에 영향을 주지 않는 플라스틱, 세라믹스나 그것들의 다공질체가 적합하다.
노즐(16)로부터 분출하는 기체(15)의 유량은 적절히 결정되지만, 임프린트 공간으로부터 외측으로 흐르는 평균 유속이 기판 스테이지(6)의 이동 속도의 최댓값보다도 큰 것이 바람직하다. 예를 들어, 형 보유 지지부(4)의 외주의 크기가 φ 320㎜, 임프린트 공간의 높이가 1㎜, 기판 스테이지(6)의 최대의 속도가 1m/s일 때, 기체(15)의 유량은 60L/min 이상이 바람직하다. 다공판(10)으로부터 흡인하는 기체(13)의 유량도 적절히 결정되지만, 기판 스테이지(6)의 외부에 부유하는 파티클(90)이, 역류를 타도 기판(5)에 도달하기 전에 다공판(10)으로부터 배출되는 유속으로 설정하면 된다. 상기한 예에서는, 역류 영역의 Z 방향 높이를 약170㎛, 기판(5)의 단으로부터 기판 스테이지(6)의 단까지 100㎜라 하면, 다공판(10)으로부터 흡인하는 기체(13)의 평균 유속은 1.7㎜/s 이상으로 하면 된다. 다공판(10)으로부터 흡인하는 기체(13)의 유량은, 다공판(10)과 진공원(12) 사이에 설치되고, 제어부(50)에 접속된, 도시되지 않은 유량 조정 수단에 의해 조정하면 된다.
제어부(50)는, 도 7에 나타내는 바와 같이, 다공판(10)에 접속된 가압원(방출 수단)(19)과 접속되어도 된다. 이 경우, 다공판(10)이 임프린트 공간의 외부에 있을 때에 다공판(10)으로부터 기판 스테이지 상의 공간에 대해 기체(17)를 방출함으로써, 역류 영역에 들어온 파티클(90)은, 임프린트 공간으로부터 임프린트 공간의 외부로 배출된다.
또한, 실시예 1의 임프린트 장치의 제어부(50)는, 도 8에 나타내는 바와 같이, 진공원(12)과 가압원(19) 양쪽의 전환을 행하는 전환 장치(전환부)(27)에 접속되어 있어도 된다. 전환 장치(27)는, 제어부(50)로부터의 지시에 기초하여, 기판 스테이지(6)의 위치 정보에 따라, 구멍(11)이 접속되는 선부를 진공원(11)과 가압원(12)으로 전환한다. 기체(13)의 흡인과 기체(17)의 방출을 전환할 수 있다. 흡인과 방출의 전환은, 예를 들어 다공판(10)의 접속처를, 기체를 흡인하는 경우는 진공원(12)으로 한다. 혹은, 다공판(10)의 접속처를, 기체를 방출하는 경우는 가압원(19)으로 한다. 예를 들어, 임프린트재(8)를 기판(5)에 공급하고, 패턴부(3)를 임프린트재(8)에 압박하는 동작을 반복하는 임프린트 공정의 사이는, 도 8의 (A)에 나타내는 바와 같이 진공원(12)에 접속하여, 기체(13)를 흡인한다. 한편, 기판 스테이지(6)가 형 보유 지지부(4) 하부로부터 어긋나서 기판(5)의 교환을 행하는 공정의 사이 등, 다공판(10)이 형과 대향하지 않은 상태에서, 도 8의 (B)에 나타내는 바와 같이 가압원(19)에 접속하고, 기체(17)를 방출한다. 이와 같이 구성함으로써, 기판 스테이지(6)가 형 보유 지지부(4) 하부로부터 어긋난 때에, 공기 중에 부유하는 파티클이 기판(5)에 부착되는 것을 억제하며, 또한, 임프린트 공정 중에 있어서도 파티클이 임프린트 공간에 들어가는 것을 억제할 수 있다. 기체(13)의 흡인과 기체(17)의 방출 유량은, 제어부(50)와 접속된 도시되지 않은 조정 수단에 의해 조정할 수 있다. 이상 설명한 대로 본 실시예 1에 의하면, 기판 스테이지(6) 표면 근방에 존재하는 파티클(90)이 기판 스테이지(6)의 이동에 수반하는 역류를 탔다고 해도, 임프린트 공간에 진입하는 파티클(90)의 수를 저감시킬 수 있다. 이에 의해, 패턴 결함 및 형(2)의 파손을 발생시키기 어렵게 할 수 있다.
(실시예 2)
실시예 2의 임프린트 장치는, 임프린트 공간의 공기를 펜타플루오로프로판(PFP)이나 헬륨 가스 등의 치환 가스로 치환하는 기구를 갖는다. 이에 따라, 형의 요철 부분에의 임프린트재의 충전성이나, 이형의 용이함(임프린트재와 형의 분리하기 쉬움)을 향상시킬 수 있다. 본 실시예에서는, 외부에 부유하는 파티클(90)이 임프린트 공간에 들어가는 것을 억제하면서, 임프린트 공간의 치환 가스 농도를 충분히 유지하는 것이 가능한 임프린트 장치에 대해 설명한다.
도 9는, 실시예 2에 있어서의 임프린트 장치(1)의 개략도이다. 치환 가스 공급원(21)은 치환 가스 공급부이며, 공급 노즐(22)로부터 임프린트 공간으로 치환 가스를 공급한다. 그리고, 임프린트 공간의 치환 가스는, 회수 노즐(24)을 통하여 치환 가스 회수부인 치환 가스 회수기(23)에 회수된다. 기판(5)을 보유 지지하는 영역을 제외한 기판 스테이지(6)의 상면에는, 기체의 흡인구 또한 방출구인 구멍을 갖는 판 부재가 설치된다. 본 실시예의 판 부재에는, 기판(5)에 인접하는 제1 영역에 다공판(25)이 설치되고, 다공판(25)의 기판(5)과 인접하지 않는 측의 제2 영역에 다공판(10)이 설치된다. 다공판(10, 25)은 각각 제어부(50)에 접속된 진공원(12)에 접속되어 있다. 진공원(12)으로부터 다공판(10, 25)까지의 기체의 유로에는, 다공판(10, 25)의 각각으로부터 흡인하는 기체의 흡인량을 제어 가능한 제어 밸브(20)가 설치되어 있다. 예를 들어, 제어부(50)는 제어 밸브(20)에도 접속되어 있고, 다공판(25)으로부터 흡인되는 기체의 유량을 제어할 수 있다.
기판(5)의 주변부에 임프린트재(8)를 공급하여 패턴을 형성할 경우, 임프린트 공간이 기판(5)과 다공판(25)의 양쪽을 포함하는 위치 관계가 되는 경우가 있다. 이 때, 다공판(25)으로부터 기체를 흡인하고 있으면, 치환 가스의 공급 회수의 균형이 깨지고, 파티클을 억제하기 위한 기체(15)를 임프린트 공간으로 유도되어 버린다. 이에 의해, 파티클 억제 효과가 저감될 뿐만 아니라, 임프린트 공간의 치환 가스 농도가 저하될 가능성이 있다. 따라서, 실시예 2의 임프린트 장치(1)에서는, 임프린트 공간이 기판(5)과 다공판(25)의 양쪽을 포함하는 위치 관계가 되는 경우에, 다공판(25)으로부터 기체의 흡인을 정지한다. 이에 의해, 파티클 억제 효과를 저감시키지 않고, 또한, 임프린트 공간의 치환 가스 농도를 높게 유지하는 것이 가능하다. 또한, 도 10에 도시하는 바와 같이, 제1 영역의 다공판(25) 부분을 구멍이 없는 단순한 판재(26)로 치환하여, 기체를 흡인하지 않도록 할 수도 있다. 이 경우, 파티클 억제 효과가 약간 저감되지만, 구성이 단순해지기 때문에 장치 비용을 저감시킬 수 있다.
상기 예에서는, 임프린트 공간이 기판(5)과 제1 영역의 양쪽을 포함하는 위치 관계가 되는 경우에 다공판(25) 또는 판재(26)를 통하여 기체의 흡인을 행하지 않는다. 그 때문에, 역류를 탄 파티클(90)을 회수하는 영역이 작아져, 파티클(90)이 임프린트 공간에 들어갈 가능성이 높아진다. 이에 반하여, 본 실시예 2의 다른 양태로서, 제1 영역을 또한 복수 영역으로 분할하고, 각각의 영역을 독립적으로 흡인할 수 있도록 구성한다. 도 11은, 제1 영역을 영역(251) 내지 영역(254)으로 4 분할한 예를 나타내고 있다. 제어 밸브(30)는, 영역(251) 내지 영역(254)으로부터의 기체의 흡인량(기체의 유량)을 개별로 제어하기 위한 제어 밸브이다. 도 11에서는, 임프린트재(8)가 기판(5)의 -X측 단부면에 공급된 상태에서 패턴을 형성하는 경우를 나타내고 있다. 이 때, 임프린트 공간은 기판(5)과 영역(251)을 포함한 위치 관계로 되기 때문에, 제어 밸브(30)를 조작하여 영역(251)으로부터의 기체의 흡인만을 정지한다. 이와 같이 상기 제1 영역을 분할한 각각의 영역으로부터의 기체의 흡인을 개별로 행하도록 함으로써, 역류를 탄 파티클(90)을 회수하는 영역의 축소를 최소한으로 억제할 수 있고, 파티클(90)이 임프린트 공간에 들어갈 가능성을 낮게 유지할 수 있다. 이에 따라, 임프린트 공간에 진입하는 파티클(90)의 수를 저감시켜, 패턴 결함 및 형(2)의 파손을 발생시키기 어렵게 할 수 있다.
(실시예 3)
임프린트 장치(1)에서는, 형(2)과 경화된 임프린트재(8)를 분리했을 때 패턴부(3)가 대전되기 쉬워지는 것이 알려져 있다. 또한, 패턴부(3)가 대전함으로써 주위의 파티클을 끌어 모으기 쉬워져 버린다. 예를 들어 도 8의 (B)에 나타내는 바와 같이 기판 스테이지(6)가 형(2)으로부터 이격되어 있는 상태라 해도, 부유하고 있는 파티클이 형(2)의 패턴부(3)에 끌어 모아져, 부착될 가능성이 있다.
실시예 3에 관한 임프린트 장치(1)는, 형(2)의 패턴부(3)에 부착된 파티클을 제거, 혹은 임프린트 공간의 내외를 부유하는 파티클을 포착하는 포착 수단을 갖는다. 도 12는, 실시예 3에 있어서의 임프린트 장치(1)의 구성을 나타내는 도면이다. 본 실시 형태의 임프린트 장치(1)의 구성은, 실시예 1에 관한 임프린트 장치(1)의 구성과 다공판(10) 이외의 구성은 동일하고, 이미 설명한 구성의 상세한 설명은 생략한다. 다공판(34)은, 전술한 다공판(10)과 동일하게 복수의 구멍(11)을 가지며, 또한 형(2)과 대향 가능한 면이 도전성의 재질로 구성되어 있다. 다공판(34)은 전원(35)과 접속되어 있음으로써, 전극부로서 기능한다. 다공판(34)은, 전체가 전극부로서 기능해도 되고, 일부가 전극부로서 기능해도 된다. 또한, 다공판(34)의 표면은 도시되지 않은 절연 피막에 의해 보호되어도 된다. 다공판(34)은 전원(35)에 접속되고, 전원(35)의 다른 쪽은 접지되어 있다.
전원(35)의 다공판(34)측의 극성은 도 12에 있어서는 플러스로 되어 있지만, 패턴부(3)의 대전 극성에 따라서는 마이너스로 해도 된다. 또한 전원(35)은, 직류 전압을 인가하는 직류 전원에 한정되지 않고 교류 전압을 인가하는 교류 전원으로 해도 된다. 또는 직류 전압과 교류 전압이 전환되는 전원이어도 된다. 제어부(50)가 전원(35)을 제어함으로써, 다공판(34)의 표면 전위를 제어할 수 있다.
또한, 실시예 3에 관한 임프린트 장치(1)는, 형(2)을 제전하기 위한 제전 장치(도시되지 않음)를 갖는 것이 바람직하다. 제전 장치로서는, 코로나 방전식 또는 연X선이나 α선 등의 전리 방사선식이 채용된다. 제전 장치에 의해, 형(2)을 제전함으로써, 비교적 작은 값까지 패턴부(3)의 전위를 낮출 수 있다.
도 13은, 파티클(90)이 부착된 형의 패턴부(3)에 다공판(34)을 근접하여 대향시킨 부분의 확대도이다. 패턴부(3)는 제전 장치에 의해 제전되어 있으므로, 파티클(90)과 패턴부(3)의 부착력은 비교적 작게(반데르발스힘 정도) 되어 있다. 다공판(34)을 형(2)과 같은 극성으로 해 둠으로써, 파티클(90)은 비교적 작은 외력으로 패턴부(3)로부터 분리할 수 있다. 패턴부(4)로부터 분리된 파티클(90)은, 다공판(34)에 끌어 모아진다. 끌어 모아진 후는 주위의 기체를 흡인하고 있는 구멍(11)을 통하여 진공원(12)으로 회수되거나, 또는 다공판(34)의 표면에 포착된다.
또한, 대전된 다공판(34)은, 전하를 띤 파티클뿐만 아니라, 전하를 갖지 않는 파티클도 끌어 모아진다. 다공판(34)이 형성하는 전계의 비균일성에서 유래하는 전계 구배력에 의해 파티클(90)이 패턴부(3)로부터 이격되기 때문이다.
이에 의해, 본 실시 형태의 임프린트 장치(1)는, 실시예 1의 경우보다도 더욱 파티클(90)을 강하게 끌어 모을 수 있다. 패턴부(3)에 부착된 파티클도 회수할 수 있다. 이에 따라, 패턴 결함 및 패턴부(3)에의 끼임에 의한 형(2)의 파손을 발생시키기 어렵게 할 수 있다.
또한, 본 실시 형태의 임프린트 장치(1)는, 패턴부(3)의 전위를 계측하는 전위계(도시되지 않음)를 갖고 있어도 된다. 이에 따라, 정기적으로 전위를 계측한 결과에 기초하여, 제어부(50)가, 다공판(34)에 부여하는 전압의 극성이나 크기를 제어해도 된다.
(실시예 4)
다공판(10)의 구멍(11)이 형성되지 않은 부분에 파티클이 부착된 경우, 형(2)의 근처를 통과했을 때 다공판(10)으로부터 패턴부에 파티클이 끌어 모아질 가능성이 있다. 예를 들어, 도 10에 나타내는 바와 같은 형(2)과 기판 스테이지(6)의 위치 관계보다 더욱 기판 스테이지(6)가 노즐(16) 하부로부터 이격되어, 기체(15)가 판재(26) 위를 흐르지 않게 되면, 공간에 부유하고 있는 파티클이 판재(26)에 부착될 가능성이 있다. 판재(26)는, 스루풋의 관점에서 빈번히 교환하는 것이 아니기 때문에, 파티클이 부착되어 있을 가능성이 비교적 높다. 판재(26)의 표면에 일단 파티클이 부착되면, 판재(26)의 표면은 기체(15)의 흐름이 거의 0이 되기 때문에, 기체(15)에 의해 판재(26) 표면으로부터 파티클을 제거하기가 곤란해진다. 본 발명의 실시예 4에서는, 판재(26)에 부착된 파티클을 제거하기 위한 제거 수단을 갖는다.
도 14는, 실시예 4에 관한 임프린트 장치(1)의 구성을 나타내는 도면이다. 임프린트 장치(1)는, 기판 스테이지(6)에는, 전기적으로 접지된 도전성의 판재(31)를 갖는다. 판재(31)는, 다공판(10)보다도 기판(5)이 배치되는 부분에 가까운 측에 배치되어 있는 것이 바람직하다. 이와 같이 구성함으로써, 후술하는 구성에 의해 판재(31)로부터 이탈하고, 노즐(16)로부터의 기체의 흐름을 타고 운반된 파티클(90)을, 다공판(10)에 의해 회수하기 쉽게 할 수 있다. 또한, 판재(31)의 표면은 도시되지 않은 절연 피막에 의해 보호되어도 된다.
한편, 형(2)의 노즐(16)보다도 형(2)에 대해 외측에는 전원(33)에 접속된 도전성의 전극(32)이 설치되어 있다. 전원(33)의, 전극(32)과 접속되지 않은 쪽의 단자는 전기적으로 접지되어 있다. 전원(33)은, 정현파, 구형파, 삼각파, 톱니파 등 시간적으로 변화하는 교류 성분을 포함하는 전압을 전극(32)에 부여하기 위한 전원이다. 전극(32)과 판재(31)가 대향하면, 시간적으로 크기가 변동하는 전계가 형성된다. 또한, 전극(32)에 의해 형성되는 전계는, 그 방향이 시간적으로 역전하는 전계여도 되고, 일정한 방향으로 크기만이 변동하는 전계여도 된다. 전계의 방향은, 형(2)의 전위에 따른 전계의 방향과 동일한 방향으로 해도 된다. 형(2)의 전위는, 실시예 3과 동일하게 전위계(도시되지 않음)에 의해 계측될 수 있다.
다음에, 판재(31)에 부착된 파티클(90)의 제거 방법에 대해 설명한다. 도 15는, 패턴부(3)와 임프린트재(8)를 분리한 직후의 모습을 나타내고 있다. 도 15에 나타내는 패턴부(3) 및 임프린트재(8)의 극성은, 패턴부(3) 및 임프린트재(8)의 재질에 따라 변화할 수 있다. 패턴부(3)의 대전 전위(Vp)는 도시되지 않은 전위계로 그때마다 계측하거나, 미리 실험하여 전위 계측한 결과에 의해 기지로 한다.
도 15에 나타내는 상태 후에, 다음 패턴을 형성할 위치에 공급부(7)로부터 임프린트재(8)를 부여하기 위하여, 기판 스테이지(6)는 X 방향으로 이동한다. 기판 스테이지(6)의 이동에 의해 전극(32)과 판재(31)가 적어도 대향하고 있는 기간에, 전원(33)은 전극(32)에 패턴부(3)의 대전 극성과 동극으로, 또한 패턴부(3)의 대전 전위(Vp)의 절댓값보다 큰 전위(Ve)를 인가한다. 즉, |Ve|>|Vp|가 되는 전위를 전극(32)과 판재(31)가 대향하고 있는 동안에 전극(32)에 적어도 1회 이상 인가한다. 이에 의해, 판재(31) 위에 부착되어 있는 파티클(90) 중, 이탈되기 쉬운 파티클(90)은, 전극(32)과 판재(31) 사이에 형성된 전계로부터 힘을 받아서 판재(31) 위로부터 이격된다. 판재(31)로부터 이격된 파티클(90)은 기체(15)의 흐름에 운반되고, 주위의 기체를 흡인하고 있는 다공판(10)을 통하여 진공원(12)에 회수된다.
한편, 판재(31)에 부착된 채로 있는 파티클(90)은, 미리 |Ve|>|Vp|가 되는 전위를 부여해도 판재(31)로부터 이격되지 않은 것이다. 따라서, 기판 스테이지(6)의 이동에 의해 패턴부(3) 하부를 통과해도, 파티클(90)이 판재(31)로부터 이격되어 패턴부(3)에 부착될 가능성은 낮다.
이와 같이, 전원(33)을 사용하여 전극(32)에 교류 성분을 포함하는 전압을 인가함으로써, 판재(31)에 부착된 비교적 이탈하기 쉬운 파티클을 판재(31) 상으로부터 제거할 수 있다. 이에 의해, 판재(31)로부터 의도하지 않은 타이밍에 이격된 파티클(90)이 패턴부(3)에 부착되기 어렵게 할 수 있다. 따라서, 임프린트 처리 시의 패턴 결함의 발생이나 형(2)의 파손 발생을 억제할 수 있다.
전극(32)은, 형 보유 지지부(4)를 -Z 방향으로부터 보았을 때, 환형으로 배치되어 있어도 되고, 이산적으로 배치되어 있어도 된다. 형 보유 지지부(4) 중, 공급부(7)로부터 먼 측의 적어도 일부에 설치되어 있는 것이 바람직하다. 당해 적어도 일부는, 기판 스테이지(6)가 공급부(7) 하부로 향할 때에 판재(31)에 반드시 대향하는 부분이며, 판재(31)에 부착된 파티클이 형(2)에 가까이 가기 전에 이탈시키는 것이 바람직하기 때문이다.
(물품의 제조 방법에 관한 실시예)
임프린트 장치를 사용하여 형성된 경화물의 패턴은, 각종 물품의 적어도 일부에 영구적으로, 혹은 각종 물품을 제조할 때에 일시적으로, 사용될 수 있다. 물품이란, 전기 회로 소자, 광학 소자, MEMS, 기록 소자, 센서, 혹은, 형 등이다. 전기 회로 소자로서는, DRAM, SRAM, 플래시 메모리, MRAM과 같은, 휘발성 혹은 불휘발성 반도체 메모리나, LSI, CCD, 이미지 센서, FPGA와 같은 반도체 소자 등을 들 수 있다. 형으로는, 임프린트용 몰드 등을 들 수 있다.
경화물의 패턴은, 상기 물품의 적어도 일부의 구성 부재로서, 그대로 사용되거나, 혹은, 레지스트 마스크로서 일시적으로 사용된다. 기판의 가공 공정에서 에칭 또는 이온 주입 등이 행해진 후, 레지스트 마스크는 제거된다.
이어서, 물품의 구체적인 제조 방법에 대해 설명한다. 도 16의 (A)에 나타내는 바와 같이, 절연체 등의 피가공재(5z)가 표면에 형성된 실리콘 웨이퍼 등의 기판(5)을 준비하고, 계속해서, 잉크젯법 등에 의해, 피가공재(5z)의 표면에 임프린트재(8)를 부여한다. 여기에서는, 복수의 액적 형상으로 된 임프린트재(8)가 기판 위에 부여된 모습을 나타내고 있다.
도 16의 (B)에 나타내는 바와 같이, 임프린트용의 형(2)을, 그 요철 패턴이 형성된 측을 기판 위의 임프린트재(8)를 향해, 대향시킨다. 도 16의 (C)에 나타내는 바와 같이, 임프린트재(8)가 부여된 기판(1)과 형(2)을 접촉시켜서, 압력을 가한다. 임프린트재(8)는 형(2)과 피가공재(5z)의 간극에 충전된다. 이 상태에서 경화용 에너지로서 광을 형(2)을 투과하여 조사하면, 임프린트재(8)는 경화된다.
도 16의 (D)에 나타내는 바와 같이, 임프린트재(8)를 경화시킨 후, 형(2)과 기판(5)을 분리하면, 기판(5) 위에 임프린트재(8)의 경화물 패턴이 형성된다. 이 경화물의 패턴은, 형의 오목부가 경화물의 볼록부에, 형의 오목부가 경화물의 볼록부에 대응한 형상으로 되어 있고, 즉, 임프린트재(8)에 형(2)의 요철 패턴이 전사되게 된다.
도 16의 (E)에 나타내는 바와 같이, 경화물의 패턴을 내에칭 마스크로 하여 에칭을 행하면, 피가공재(5z)의 표면 중, 경화물이 없거나 혹은 얇게 잔존한 부분이 제거되어, 홈(5z)으로 된다. 도 16의 (F)에 나타내는 바와 같이, 경화물의 패턴을 제거하면, 피가공재(5z)의 표면에 홈(5z)이 형성된 물품을 얻을 수 있다. 여기에서는 경화물의 패턴을 제거했지만, 가공 후에도 제거하지 않고, 예를 들어 반도체 소자 등에 포함되는 층간 절연용의 막, 즉, 물품의 구성 부재로서 이용해도 된다.
이상, 본 발명의 바람직한 실시예에 대해 설명했지만, 본 발명은 이들 실시예에 한정되지 않고, 그 요지의 범위 내에서 다양한 변형 및 변경이 가능하다.
1: 임프린트 장치
2: 형
4: 형 보유 지지부
5: 기판
6: 스테이지
8: 임프린트재
10: 다공판
12: 진공원
2: 형
4: 형 보유 지지부
5: 기판
6: 스테이지
8: 임프린트재
10: 다공판
12: 진공원
Claims (15)
- 형을 이용하여 기판에 임프린트재의 패턴을 형성하는 임프린트 장치이며,
상기 기판을 보유 지지하여 이동 가능한 스테이지와,
상기 스테이지 위의 상기 기판을 보유 지지하는 부분의 외주부에 배치되고, 구멍을 갖는 판 부재와,
상기 구멍을 통하여 상기 스테이지 상의 공간의 기체를 흡인하는 흡인 수단과,
상기 구멍을 통하여 상기 스테이지 상의 공간에 기체를 방출하는 방출 수단과,
상기 구멍의 접속처를 상기 흡인 수단 또는 상기 방출 수단으로 전환하는 전환부를 갖는
것을 특징으로 하는 임프린트 장치. - 제1항에 있어서, 상기 전환부를 제어하는 제어부를 가지며,
상기 제어부는, 상기 스테이지의 위치 정보에 기초하여 상기 구멍의 접속처를 전환하는 것을 특징으로 하는 임프린트 장치. - 제1항에 있어서, 상기 방출 수단은, 상기 판 부재가 상기 형과 대향하지 않은 상태에서 상기 기체의 방출을 행하는 것을 특징으로 하는 임프린트 장치.
- 제1항에 있어서, 상기 형의 주위로부터 기체를 분출하고, 상기 기판이 상기 형에 대향하고 있는 상태에서 상기 기판의 외주측을 따르는 방향으로 기류를 발생시키는 기류 형성 수단을 갖고,
상기 기류 형성 수단은, 상기 방출 수단으로부터 방출된 기체를 상기 기판의 외주측을 따르는 방향으로 흘리는 것을 특징으로 하는 임프린트 장치. - 제1항에 있어서, 상기 구멍은 상기 기판을 둘러싸도록 배치되어 있는 것을 특징으로 하는 임프린트 장치.
- 제1항에 있어서, 상기 흡인 수단이 흡인하는 기체의 유량 및 타이밍의 적어도 한쪽을 제어하는 흡인 제어부를 가지며,
상기 흡인 수단은, 상기 판 부재의 제1 영역의 상기 구멍으로부터 상기 기체를 흡인하는 제1 흡인부와, 상기 판 부재의 제2 영역의 상기 구멍으로부터 상기 기체를 흡인하는 제2 흡인부를 포함하고,
상기 흡인 제어부는, 상기 제1 흡인부와 상기 제2 흡인부와 각각이 흡인하는 기체의 유량 및 타이밍의 적어도 한쪽을 제어하는 것을 특징으로 하는 임프린트 장치. - 제1항에 있어서, 상기 방출 수단이 방출하는 기체의 유량 및 타이밍의 적어도 한쪽을 제어하는 방출 제어부를 가지며,
상기 방출 수단은, 상기 판 부재의 제1 영역의 상기 구멍으로부터 상기 기체를 방출하는 제1 방출부와, 상기 판 부재의 제2 영역의 상기 구멍으로부터 상기 기체를 방출하는 제2 방출부를 포함하고,
상기 방출 제어부는, 상기 제1 방출부와 상기 제2 방출부의 각각이 흡인하는 기체의 유량 및 타이밍의 적어도 한쪽을 제어하는 것을 특징으로 하는 임프린트 장치. - 제1항에 있어서, 상기 스테이지 위에 설치된 전극부와,
상기 전극부에 직류 전압을 인가하는 전원을 갖고,
상기 직류 전압을 사용하여 상기 전극은 상기 스테이지 상의 파티클을 끌어 모으는 것을 특징으로 하는 임프린트 장치. - 제8항에 있어서, 상기 전극부는 상기 판재의 적어도 일부인 것을 특징으로 하는 임프린트 장치.
- 제8항에 있어서, 상기 전원은, 상기 전극부의 표면에 상기 형의 전위와 같은 극성의 전위를 부여하는 것을 특징으로 하는 임프린트 장치.
- 제1항에 있어서, 상기 형 보유 지지부의, 상기 스테이지와의 대향 가능한 부분에 설치된 제1 전극부와,
상기 스테이지 위에 설치된 제2 전극부와,
상기 제1 전극부와 상기 제2 전극부 사이에 교류 성분을 포함하는 전압을 인가하는 전원을 포함하고,
상기 전원을 사용하여 상기 제1 전극부에서 파티클을 이탈시켜,
상기 흡인 수단은, 상기 이탈시킨 파티클을 상기 기체와 함께 상기 구멍을 통하여 흡인하는 것을 특징으로 하는, 임프린트 장치. - 제11항에 있어서, 상기 판 부재는, 상기 제2 전극부보다도 상기 스테이지의 외주측에 설치되는 것을 특징으로 하는 임프린트 장치.
- 제11항에 있어서, 상기 전원은, 상기 제1 전극부와 상기 제2 전극부가 대향했을 때 형성되는 전계의 방향이 일정해지도록 상기 교류 성분을 포함하는 전압을 인가하는 것을 특징으로 하는 임프린트 장치.
- 제11항에 있어서, 상기 전원은, 상기 제1 전극부와 상기 제2 전극부가 대향했을 때 형성되는 전계의 방향이, 상기 형의 전위에 따른 전계의 방향과 동일 방향이 되도록 상기 교류 성분을 포함하는 전압을 인가하는 것을 특징으로 하는 임프린트 장치.
- 형을 이용하여 기판에 패턴을 형성하는 임프린트 장치를 사용하여 상기 패턴을 상기 기판 위에 형성하는 공정과,
상기 공정에서 상기 패턴이 형성된 상기 기판을 처리하는 공정을 갖고,
상기 임프린트 장치는,
상기 기판을 보유 지지하여 이동 가능한 스테이지와,
상기 스테이지 위의 상기 기판을 보유 지지하는 부분의 외주부에 배치되고, 구멍을 갖는 판 부재와,
상기 구멍을 통하여 상기 스테이지 상의 공간의 기체를 흡인하는 흡인 수단과,
상기 구멍을 통하여 상기 스테이지 상의 공간에 기체를 방출하는 방출 수단과,
상기 구멍의 접속처를 상기 흡인 수단 또는 상기 방출 수단으로 전환하는 전환부
를 갖는 것을 특징으로 하는 물품의 제조 방법.
Applications Claiming Priority (5)
| Application Number | Priority Date | Filing Date | Title |
|---|---|---|---|
| JPJP-P-2016-018746 | 2016-02-03 | ||
| JP2016018746 | 2016-02-03 | ||
| JP2016240689A JP2017139452A (ja) | 2016-02-03 | 2016-12-12 | インプリント装置および物品の製造方法 |
| JPJP-P-2016-240689 | 2016-12-12 | ||
| PCT/JP2017/000578 WO2017134989A1 (ja) | 2016-02-03 | 2017-01-11 | インプリント装置および物品の製造方法 |
Publications (1)
| Publication Number | Publication Date |
|---|---|
| KR20180098626A true KR20180098626A (ko) | 2018-09-04 |
Family
ID=59565103
Family Applications (1)
| Application Number | Title | Priority Date | Filing Date |
|---|---|---|---|
| KR1020187021645A Abandoned KR20180098626A (ko) | 2016-02-03 | 2017-01-11 | 임프린트 장치 및 물품의 제조 방법 |
Country Status (3)
| Country | Link |
|---|---|
| JP (1) | JP2017139452A (ko) |
| KR (1) | KR20180098626A (ko) |
| TW (1) | TWI618116B (ko) |
Cited By (1)
| Publication number | Priority date | Publication date | Assignee | Title |
|---|---|---|---|---|
| KR20210032907A (ko) * | 2019-09-17 | 2021-03-25 | 캐논 가부시끼가이샤 | 임프린트 장치 및 물품 제조 방법 |
Families Citing this family (4)
| Publication number | Priority date | Publication date | Assignee | Title |
|---|---|---|---|---|
| JP7064310B2 (ja) * | 2017-10-24 | 2022-05-10 | キヤノン株式会社 | インプリント装置、および物品製造方法 |
| JP7077754B2 (ja) * | 2018-05-08 | 2022-05-31 | 大日本印刷株式会社 | インプリントモールド用基板、インプリントモールド及びそれらの製造方法 |
| JP7495814B2 (ja) * | 2020-05-13 | 2024-06-05 | キヤノン株式会社 | インプリント装置、および物品の製造方法 |
| JP7579092B2 (ja) * | 2020-09-11 | 2024-11-07 | キヤノン株式会社 | 異物除去装置、リソグラフィ装置、および物品製造方法 |
Citations (1)
| Publication number | Priority date | Publication date | Assignee | Title |
|---|---|---|---|---|
| JP2014056854A (ja) | 2012-09-11 | 2014-03-27 | Dainippon Printing Co Ltd | インプリント方法およびそれを実施するためのインプリント装置 |
Family Cites Families (3)
| Publication number | Priority date | Publication date | Assignee | Title |
|---|---|---|---|---|
| JP2731950B2 (ja) * | 1989-07-13 | 1998-03-25 | キヤノン株式会社 | 露光方法 |
| JP2002069634A (ja) * | 2000-08-29 | 2002-03-08 | Canon Inc | 薄膜作製方法および薄膜作製装置 |
| JP6399839B2 (ja) * | 2014-07-15 | 2018-10-03 | キヤノン株式会社 | インプリント装置、および物品の製造方法 |
-
2016
- 2016-12-12 JP JP2016240689A patent/JP2017139452A/ja active Pending
-
2017
- 2017-01-11 KR KR1020187021645A patent/KR20180098626A/ko not_active Abandoned
- 2017-01-19 TW TW106101896A patent/TWI618116B/zh not_active IP Right Cessation
Patent Citations (1)
| Publication number | Priority date | Publication date | Assignee | Title |
|---|---|---|---|---|
| JP2014056854A (ja) | 2012-09-11 | 2014-03-27 | Dainippon Printing Co Ltd | インプリント方法およびそれを実施するためのインプリント装置 |
Cited By (1)
| Publication number | Priority date | Publication date | Assignee | Title |
|---|---|---|---|---|
| KR20210032907A (ko) * | 2019-09-17 | 2021-03-25 | 캐논 가부시끼가이샤 | 임프린트 장치 및 물품 제조 방법 |
Also Published As
| Publication number | Publication date |
|---|---|
| TWI618116B (zh) | 2018-03-11 |
| TW201729251A (zh) | 2017-08-16 |
| JP2017139452A (ja) | 2017-08-10 |
Similar Documents
| Publication | Publication Date | Title |
|---|---|---|
| JP6661397B2 (ja) | インプリント装置、インプリント方法、および物品の製造方法 | |
| KR20180098626A (ko) | 임프린트 장치 및 물품의 제조 방법 | |
| JP6603678B2 (ja) | インプリント装置およびその動作方法ならびに物品製造方法 | |
| JP6725046B2 (ja) | インプリント装置、インプリント方法およびインプリント装置の制御方法 | |
| KR20150143321A (ko) | 임프린트 방법, 임프린트 장치 및 물품의 제조 방법 | |
| WO2016170729A1 (en) | Imprint apparatus, method of imprinting, and method of manufacturing article | |
| KR102383372B1 (ko) | 리소그래피 장치 및 물품의 제조 방법 | |
| JP6789772B2 (ja) | インプリント装置、インプリント方法および物品製造方法 | |
| KR20150143320A (ko) | 임프린트 장치, 임프린트 방법, 물품의 제조 방법, 및 공급 장치 | |
| KR102206846B1 (ko) | 임프린트 장치 및 물품 제조 방법 | |
| US10777443B2 (en) | Imprint apparatus, imprinting method, and method for manufacturing article | |
| JP6921690B2 (ja) | 集塵装置、基板処理システム、および物品の製造方法 | |
| KR20180138166A (ko) | 임프린트 장치, 및 물품 제조 방법 | |
| JP2019067916A (ja) | リソグラフィ装置、および物品の製造方法 | |
| WO2016052345A1 (ja) | インプリント装置、インプリント方法およびインプリント装置の制御方法 | |
| JP7089420B2 (ja) | 基板処理装置、および物品製造方法 | |
| KR20170054455A (ko) | 임프린트 장치, 임프린트 방법, 및 물품 제조 방법 | |
| WO2017145924A1 (ja) | インプリント装置およびその動作方法ならびに物品製造方法 | |
| WO2017134989A1 (ja) | インプリント装置および物品の製造方法 | |
| JP7495814B2 (ja) | インプリント装置、および物品の製造方法 | |
| KR20190018391A (ko) | 임프린트 장치 및 물품 제조 방법 | |
| JP7059046B2 (ja) | 型を用いて基板上の組成物を成形する成形装置、および物品の製造方法 | |
| KR20230122983A (ko) | 임프린트 장치, 이물 제거 방법 및 물품 제조 방법 | |
| KR20250093186A (ko) | 평탄화 장치 및 물품 제조 방법 |
Legal Events
| Date | Code | Title | Description |
|---|---|---|---|
| A201 | Request for examination | ||
| PA0105 | International application |
Patent event date: 20180726 Patent event code: PA01051R01D Comment text: International Patent Application |
|
| PA0201 | Request for examination | ||
| PG1501 | Laying open of application | ||
| E902 | Notification of reason for refusal | ||
| PE0902 | Notice of grounds for rejection |
Comment text: Notification of reason for refusal Patent event date: 20190708 Patent event code: PE09021S01D |
|
| E701 | Decision to grant or registration of patent right | ||
| PE0701 | Decision of registration |
Patent event code: PE07011S01D Comment text: Decision to Grant Registration Patent event date: 20191227 |
|
| PC1904 | Unpaid initial registration fee |