KR20180098579A - 망간-함유 막 형성 조성물, 이의 합성, 및 막 증착에서의 용도 - Google Patents
망간-함유 막 형성 조성물, 이의 합성, 및 막 증착에서의 용도 Download PDFInfo
- Publication number
- KR20180098579A KR20180098579A KR1020187020025A KR20187020025A KR20180098579A KR 20180098579 A KR20180098579 A KR 20180098579A KR 1020187020025 A KR1020187020025 A KR 1020187020025A KR 20187020025 A KR20187020025 A KR 20187020025A KR 20180098579 A KR20180098579 A KR 20180098579A
- Authority
- KR
- South Korea
- Prior art keywords
- sime
- forming composition
- containing film
- film forming
- precursor
- Prior art date
- Legal status (The legal status is an assumption and is not a legal conclusion. Google has not performed a legal analysis and makes no representation as to the accuracy of the status listed.)
- Granted
Links
- 239000011572 manganese Substances 0.000 title claims abstract description 335
- 239000000203 mixture Substances 0.000 title claims abstract description 180
- PWHULOQIROXLJO-UHFFFAOYSA-N Manganese Chemical compound [Mn] PWHULOQIROXLJO-UHFFFAOYSA-N 0.000 title claims abstract description 38
- 229910052748 manganese Inorganic materials 0.000 title claims abstract description 37
- 230000008021 deposition Effects 0.000 title description 10
- 230000015572 biosynthetic process Effects 0.000 title description 9
- 238000003786 synthesis reaction Methods 0.000 title description 7
- 239000002243 precursor Substances 0.000 claims abstract description 102
- FZHAPNGMFPVSLP-UHFFFAOYSA-N silanamine Chemical compound [SiH3]N FZHAPNGMFPVSLP-UHFFFAOYSA-N 0.000 claims abstract description 56
- 238000007740 vapor deposition Methods 0.000 claims abstract description 9
- 238000000034 method Methods 0.000 claims description 59
- 239000000758 substrate Substances 0.000 claims description 54
- RWRDLPDLKQPQOW-UHFFFAOYSA-N tetrahydropyrrole Natural products C1CCNC1 RWRDLPDLKQPQOW-UHFFFAOYSA-N 0.000 claims description 24
- 238000000151 deposition Methods 0.000 claims description 22
- 239000007788 liquid Substances 0.000 claims description 17
- 238000002411 thermogravimetry Methods 0.000 claims description 16
- 238000005019 vapor deposition process Methods 0.000 claims description 14
- 238000010438 heat treatment Methods 0.000 claims description 11
- 101100242814 Caenorhabditis elegans parg-1 gene Proteins 0.000 claims description 6
- 229910004298 SiO 2 Inorganic materials 0.000 claims description 5
- 238000002360 preparation method Methods 0.000 abstract description 2
- 239000010408 film Substances 0.000 description 156
- 238000006243 chemical reaction Methods 0.000 description 46
- WYURNTSHIVDZCO-UHFFFAOYSA-N Tetrahydrofuran Chemical compound C1CCOC1 WYURNTSHIVDZCO-UHFFFAOYSA-N 0.000 description 37
- 229910052710 silicon Inorganic materials 0.000 description 36
- 239000000376 reactant Substances 0.000 description 32
- 239000010703 silicon Substances 0.000 description 30
- XUIMIQQOPSSXEZ-UHFFFAOYSA-N Silicon Chemical compound [Si] XUIMIQQOPSSXEZ-UHFFFAOYSA-N 0.000 description 28
- 230000008569 process Effects 0.000 description 28
- 229910052760 oxygen Inorganic materials 0.000 description 27
- 238000000231 atomic layer deposition Methods 0.000 description 25
- 239000007787 solid Substances 0.000 description 25
- 239000000463 material Substances 0.000 description 20
- VLKZOEOYAKHREP-UHFFFAOYSA-N n-Hexane Chemical compound CCCCCC VLKZOEOYAKHREP-UHFFFAOYSA-N 0.000 description 20
- 239000001301 oxygen Substances 0.000 description 20
- QVGXLLKOCUKJST-UHFFFAOYSA-N atomic oxygen Chemical compound [O] QVGXLLKOCUKJST-UHFFFAOYSA-N 0.000 description 19
- 239000007789 gas Substances 0.000 description 19
- OFBQJSOFQDEBGM-UHFFFAOYSA-N Pentane Chemical compound CCCCC OFBQJSOFQDEBGM-UHFFFAOYSA-N 0.000 description 18
- YLQBMQCUIZJEEH-UHFFFAOYSA-N tetrahydrofuran Natural products C=1C=COC=1 YLQBMQCUIZJEEH-UHFFFAOYSA-N 0.000 description 18
- 238000005229 chemical vapour deposition Methods 0.000 description 17
- 229910052751 metal Inorganic materials 0.000 description 16
- 239000002184 metal Substances 0.000 description 16
- -1 oxides Chemical class 0.000 description 15
- 229910052739 hydrogen Inorganic materials 0.000 description 14
- 125000000999 tert-butyl group Chemical group [H]C([H])([H])C(*)(C([H])([H])[H])C([H])([H])[H] 0.000 description 14
- VYPSYNLAJGMNEJ-UHFFFAOYSA-N Silicium dioxide Chemical compound O=[Si]=O VYPSYNLAJGMNEJ-UHFFFAOYSA-N 0.000 description 13
- 235000012431 wafers Nutrition 0.000 description 13
- IJGRMHOSHXDMSA-UHFFFAOYSA-N Atomic nitrogen Chemical compound N#N IJGRMHOSHXDMSA-UHFFFAOYSA-N 0.000 description 12
- YXFVVABEGXRONW-UHFFFAOYSA-N Toluene Chemical compound CC1=CC=CC=C1 YXFVVABEGXRONW-UHFFFAOYSA-N 0.000 description 12
- 230000004888 barrier function Effects 0.000 description 11
- 239000012159 carrier gas Substances 0.000 description 11
- 239000010949 copper Substances 0.000 description 10
- AMWRITDGCCNYAT-UHFFFAOYSA-L hydroxy(oxo)manganese;manganese Chemical group [Mn].O[Mn]=O.O[Mn]=O AMWRITDGCCNYAT-UHFFFAOYSA-L 0.000 description 10
- 239000012535 impurity Substances 0.000 description 10
- 229910052757 nitrogen Inorganic materials 0.000 description 10
- 150000003254 radicals Chemical class 0.000 description 10
- JUJWROOIHBZHMG-UHFFFAOYSA-N Pyridine Chemical compound C1=CC=NC=C1 JUJWROOIHBZHMG-UHFFFAOYSA-N 0.000 description 9
- 238000000137 annealing Methods 0.000 description 9
- 125000004108 n-butyl group Chemical group [H]C([H])([H])C([H])([H])C([H])([H])C([H])([H])* 0.000 description 9
- 239000003039 volatile agent Substances 0.000 description 9
- IMNFDUFMRHMDMM-UHFFFAOYSA-N N-Heptane Chemical compound CCCCCCC IMNFDUFMRHMDMM-UHFFFAOYSA-N 0.000 description 8
- 238000007789 sealing Methods 0.000 description 8
- 239000004065 semiconductor Substances 0.000 description 8
- 239000002904 solvent Substances 0.000 description 8
- 238000010926 purge Methods 0.000 description 7
- 229910052814 silicon oxide Inorganic materials 0.000 description 7
- QTBSBXVTEAMEQO-UHFFFAOYSA-N Acetic acid Chemical compound CC(O)=O QTBSBXVTEAMEQO-UHFFFAOYSA-N 0.000 description 6
- XKRFYHLGVUSROY-UHFFFAOYSA-N Argon Chemical compound [Ar] XKRFYHLGVUSROY-UHFFFAOYSA-N 0.000 description 6
- RYGMFSIKBFXOCR-UHFFFAOYSA-N Copper Chemical group [Cu] RYGMFSIKBFXOCR-UHFFFAOYSA-N 0.000 description 6
- RTZKZFJDLAIYFH-UHFFFAOYSA-N Diethyl ether Chemical compound CCOCC RTZKZFJDLAIYFH-UHFFFAOYSA-N 0.000 description 6
- 125000000217 alkyl group Chemical group 0.000 description 6
- 229910052782 aluminium Inorganic materials 0.000 description 6
- 229910052802 copper Inorganic materials 0.000 description 6
- 238000001914 filtration Methods 0.000 description 6
- 229910052735 hafnium Inorganic materials 0.000 description 6
- 239000011261 inert gas Substances 0.000 description 6
- PXHVJJICTQNCMI-UHFFFAOYSA-N nickel Substances [Ni] PXHVJJICTQNCMI-UHFFFAOYSA-N 0.000 description 6
- 238000012545 processing Methods 0.000 description 6
- 230000004580 weight loss Effects 0.000 description 6
- 229910052799 carbon Inorganic materials 0.000 description 5
- 238000005137 deposition process Methods 0.000 description 5
- 239000001257 hydrogen Substances 0.000 description 5
- 239000003921 oil Substances 0.000 description 5
- 239000011541 reaction mixture Substances 0.000 description 5
- 239000011734 sodium Substances 0.000 description 5
- 238000013112 stability test Methods 0.000 description 5
- 229910052712 strontium Inorganic materials 0.000 description 5
- 239000000725 suspension Substances 0.000 description 5
- 229910052715 tantalum Inorganic materials 0.000 description 5
- 239000010409 thin film Substances 0.000 description 5
- OKTJSMMVPCPJKN-UHFFFAOYSA-N Carbon Chemical compound [C] OKTJSMMVPCPJKN-UHFFFAOYSA-N 0.000 description 4
- XDTMQSROBMDMFD-UHFFFAOYSA-N Cyclohexane Chemical compound C1CCCCC1 XDTMQSROBMDMFD-UHFFFAOYSA-N 0.000 description 4
- WSFSSNUMVMOOMR-UHFFFAOYSA-N Formaldehyde Chemical compound O=C WSFSSNUMVMOOMR-UHFFFAOYSA-N 0.000 description 4
- OAKJQQAXSVQMHS-UHFFFAOYSA-N Hydrazine Chemical compound NN OAKJQQAXSVQMHS-UHFFFAOYSA-N 0.000 description 4
- XEEYBQQBJWHFJM-UHFFFAOYSA-N Iron Chemical compound [Fe] XEEYBQQBJWHFJM-UHFFFAOYSA-N 0.000 description 4
- 229910052786 argon Inorganic materials 0.000 description 4
- 229910052785 arsenic Inorganic materials 0.000 description 4
- 229910052791 calcium Inorganic materials 0.000 description 4
- 238000000354 decomposition reaction Methods 0.000 description 4
- 238000004821 distillation Methods 0.000 description 4
- 125000001495 ethyl group Chemical group [H]C([H])([H])C([H])([H])* 0.000 description 4
- FFUAGWLWBBFQJT-UHFFFAOYSA-N hexamethyldisilazane Chemical compound C[Si](C)(C)N[Si](C)(C)C FFUAGWLWBBFQJT-UHFFFAOYSA-N 0.000 description 4
- 125000001449 isopropyl group Chemical group [H]C([H])([H])C([H])(*)C([H])([H])[H] 0.000 description 4
- 229910052749 magnesium Inorganic materials 0.000 description 4
- 238000004519 manufacturing process Methods 0.000 description 4
- 125000002496 methyl group Chemical group [H]C([H])([H])* 0.000 description 4
- 229910052758 niobium Inorganic materials 0.000 description 4
- 239000000047 product Substances 0.000 description 4
- UMJSCPRVCHMLSP-UHFFFAOYSA-N pyridine Natural products COC1=CC=CN=C1 UMJSCPRVCHMLSP-UHFFFAOYSA-N 0.000 description 4
- 238000000859 sublimation Methods 0.000 description 4
- 230000008022 sublimation Effects 0.000 description 4
- 239000010936 titanium Substances 0.000 description 4
- 239000012808 vapor phase Substances 0.000 description 4
- UHOVQNZJYSORNB-UHFFFAOYSA-N Benzene Chemical compound C1=CC=CC=C1 UHOVQNZJYSORNB-UHFFFAOYSA-N 0.000 description 3
- 229910017028 MnSi Inorganic materials 0.000 description 3
- 150000001412 amines Chemical class 0.000 description 3
- 229910052787 antimony Inorganic materials 0.000 description 3
- 238000001505 atmospheric-pressure chemical vapour deposition Methods 0.000 description 3
- 229910052788 barium Inorganic materials 0.000 description 3
- 238000009835 boiling Methods 0.000 description 3
- 150000001735 carboxylic acids Chemical class 0.000 description 3
- SLLGVCUQYRMELA-UHFFFAOYSA-N chlorosilicon Chemical compound Cl[Si] SLLGVCUQYRMELA-UHFFFAOYSA-N 0.000 description 3
- 150000001875 compounds Chemical class 0.000 description 3
- 239000003989 dielectric material Substances 0.000 description 3
- 238000009792 diffusion process Methods 0.000 description 3
- 239000012530 fluid Substances 0.000 description 3
- 125000000524 functional group Chemical group 0.000 description 3
- 239000001307 helium Substances 0.000 description 3
- 229910052734 helium Inorganic materials 0.000 description 3
- SWQJXJOGLNCZEY-UHFFFAOYSA-N helium atom Chemical compound [He] SWQJXJOGLNCZEY-UHFFFAOYSA-N 0.000 description 3
- 125000000623 heterocyclic group Chemical group 0.000 description 3
- 229930195733 hydrocarbon Natural products 0.000 description 3
- 125000004435 hydrogen atom Chemical class [H]* 0.000 description 3
- 229910052747 lanthanoid Inorganic materials 0.000 description 3
- 150000002602 lanthanoids Chemical class 0.000 description 3
- 229910052745 lead Inorganic materials 0.000 description 3
- 229910052744 lithium Inorganic materials 0.000 description 3
- WPBNNNQJVZRUHP-UHFFFAOYSA-L manganese(2+);methyl n-[[2-(methoxycarbonylcarbamothioylamino)phenyl]carbamothioyl]carbamate;n-[2-(sulfidocarbothioylamino)ethyl]carbamodithioate Chemical compound [Mn+2].[S-]C(=S)NCCNC([S-])=S.COC(=O)NC(=S)NC1=CC=CC=C1NC(=S)NC(=O)OC WPBNNNQJVZRUHP-UHFFFAOYSA-L 0.000 description 3
- 125000004123 n-propyl group Chemical group [H]C([H])([H])C([H])([H])C([H])([H])* 0.000 description 3
- 150000004767 nitrides Chemical class 0.000 description 3
- 238000000623 plasma-assisted chemical vapour deposition Methods 0.000 description 3
- 229910052708 sodium Inorganic materials 0.000 description 3
- 229910052718 tin Inorganic materials 0.000 description 3
- 229910052727 yttrium Inorganic materials 0.000 description 3
- CSCPPACGZOOCGX-UHFFFAOYSA-N Acetone Chemical compound CC(C)=O CSCPPACGZOOCGX-UHFFFAOYSA-N 0.000 description 2
- 239000005046 Chlorosilane Substances 0.000 description 2
- YNQLUTRBYVCPMQ-UHFFFAOYSA-N Ethylbenzene Chemical compound CCC1=CC=CC=C1 YNQLUTRBYVCPMQ-UHFFFAOYSA-N 0.000 description 2
- UFHFLCQGNIYNRP-UHFFFAOYSA-N Hydrogen Chemical compound [H][H] UFHFLCQGNIYNRP-UHFFFAOYSA-N 0.000 description 2
- DGAQECJNVWCQMB-PUAWFVPOSA-M Ilexoside XXIX Chemical compound C[C@@H]1CC[C@@]2(CC[C@@]3(C(=CC[C@H]4[C@]3(CC[C@@H]5[C@@]4(CC[C@@H](C5(C)C)OS(=O)(=O)[O-])C)C)[C@@H]2[C@]1(C)O)C)C(=O)O[C@H]6[C@@H]([C@H]([C@@H]([C@H](O6)CO)O)O)O.[Na+] DGAQECJNVWCQMB-PUAWFVPOSA-M 0.000 description 2
- WHXSMMKQMYFTQS-UHFFFAOYSA-N Lithium Chemical compound [Li] WHXSMMKQMYFTQS-UHFFFAOYSA-N 0.000 description 2
- CBENFWSGALASAD-UHFFFAOYSA-N Ozone Chemical group [O-][O+]=O CBENFWSGALASAD-UHFFFAOYSA-N 0.000 description 2
- KDLHZDBZIXYQEI-UHFFFAOYSA-N Palladium Chemical compound [Pd] KDLHZDBZIXYQEI-UHFFFAOYSA-N 0.000 description 2
- 229930040373 Paraformaldehyde Natural products 0.000 description 2
- 229910052581 Si3N4 Inorganic materials 0.000 description 2
- BLRPTPMANUNPDV-UHFFFAOYSA-N Silane Chemical compound [SiH4] BLRPTPMANUNPDV-UHFFFAOYSA-N 0.000 description 2
- 229910052783 alkali metal Inorganic materials 0.000 description 2
- 150000001340 alkali metals Chemical class 0.000 description 2
- 239000002585 base Substances 0.000 description 2
- FHTCLMVMBMJAEE-UHFFFAOYSA-N bis($l^{2}-silanylidene)manganese Chemical compound [Si]=[Mn]=[Si] FHTCLMVMBMJAEE-UHFFFAOYSA-N 0.000 description 2
- 229910052797 bismuth Inorganic materials 0.000 description 2
- BGECDVWSWDRFSP-UHFFFAOYSA-N borazine Chemical compound B1NBNBN1 BGECDVWSWDRFSP-UHFFFAOYSA-N 0.000 description 2
- 125000000484 butyl group Chemical group [H]C([*])([H])C([H])([H])C([H])([H])C([H])([H])[H] 0.000 description 2
- 230000008859 change Effects 0.000 description 2
- KOPOQZFJUQMUML-UHFFFAOYSA-N chlorosilane Chemical class Cl[SiH3] KOPOQZFJUQMUML-UHFFFAOYSA-N 0.000 description 2
- 238000001816 cooling Methods 0.000 description 2
- 125000006165 cyclic alkyl group Chemical group 0.000 description 2
- 125000004122 cyclic group Chemical group 0.000 description 2
- HQWPLXHWEZZGKY-UHFFFAOYSA-N diethylzinc Chemical compound CC[Zn]CC HQWPLXHWEZZGKY-UHFFFAOYSA-N 0.000 description 2
- XBDQKXXYIPTUBI-UHFFFAOYSA-N dimethylselenoniopropionate Natural products CCC(O)=O XBDQKXXYIPTUBI-UHFFFAOYSA-N 0.000 description 2
- AXAZMDOAUQTMOW-UHFFFAOYSA-N dimethylzinc Chemical compound C[Zn]C AXAZMDOAUQTMOW-UHFFFAOYSA-N 0.000 description 2
- ASTZLJPZXLHCSM-UHFFFAOYSA-N dioxido(oxo)silane;manganese(2+) Chemical compound [Mn+2].[O-][Si]([O-])=O ASTZLJPZXLHCSM-UHFFFAOYSA-N 0.000 description 2
- SNRUBQQJIBEYMU-UHFFFAOYSA-N dodecane Chemical compound CCCCCCCCCCCC SNRUBQQJIBEYMU-UHFFFAOYSA-N 0.000 description 2
- 229910052732 germanium Inorganic materials 0.000 description 2
- 239000011521 glass Substances 0.000 description 2
- 150000004820 halides Chemical class 0.000 description 2
- 239000003446 ligand Substances 0.000 description 2
- 239000007791 liquid phase Substances 0.000 description 2
- DLEDOFVPSDKWEF-UHFFFAOYSA-N lithium butane Chemical compound [Li+].CCC[CH2-] DLEDOFVPSDKWEF-UHFFFAOYSA-N 0.000 description 2
- 238000011068 loading method Methods 0.000 description 2
- 238000004518 low pressure chemical vapour deposition Methods 0.000 description 2
- 239000012528 membrane Substances 0.000 description 2
- 229910052752 metalloid Inorganic materials 0.000 description 2
- 150000002738 metalloids Chemical class 0.000 description 2
- 150000002739 metals Chemical class 0.000 description 2
- BDAGIHXWWSANSR-UHFFFAOYSA-N methanoic acid Natural products OC=O BDAGIHXWWSANSR-UHFFFAOYSA-N 0.000 description 2
- MZRVEZGGRBJDDB-UHFFFAOYSA-N n-Butyllithium Substances [Li]CCCC MZRVEZGGRBJDDB-UHFFFAOYSA-N 0.000 description 2
- 229910052759 nickel Inorganic materials 0.000 description 2
- BASFCYQUMIYNBI-UHFFFAOYSA-N platinum Chemical compound [Pt] BASFCYQUMIYNBI-UHFFFAOYSA-N 0.000 description 2
- 229910052700 potassium Inorganic materials 0.000 description 2
- 239000011591 potassium Substances 0.000 description 2
- 125000001436 propyl group Chemical group [H]C([*])([H])C([H])([H])C([H])([H])[H] 0.000 description 2
- DNXIASIHZYFFRO-UHFFFAOYSA-N pyrazoline Chemical compound C1CN=NC1 DNXIASIHZYFFRO-UHFFFAOYSA-N 0.000 description 2
- 238000001953 recrystallisation Methods 0.000 description 2
- 229910052707 ruthenium Inorganic materials 0.000 description 2
- 229910000077 silane Inorganic materials 0.000 description 2
- 150000004756 silanes Chemical class 0.000 description 2
- 229910021332 silicide Inorganic materials 0.000 description 2
- HQVNEWCFYHHQES-UHFFFAOYSA-N silicon nitride Chemical compound N12[Si]34N5[Si]62N3[Si]51N64 HQVNEWCFYHHQES-UHFFFAOYSA-N 0.000 description 2
- 238000012360 testing method Methods 0.000 description 2
- 229910052719 titanium Inorganic materials 0.000 description 2
- 229910052723 transition metal Inorganic materials 0.000 description 2
- 150000003624 transition metals Chemical class 0.000 description 2
- VOITXYVAKOUIBA-UHFFFAOYSA-N triethylaluminium Chemical compound CC[Al](CC)CC VOITXYVAKOUIBA-UHFFFAOYSA-N 0.000 description 2
- LALRXNPLTWZJIJ-UHFFFAOYSA-N triethylborane Chemical compound CCB(CC)CC LALRXNPLTWZJIJ-UHFFFAOYSA-N 0.000 description 2
- JLTRXTDYQLMHGR-UHFFFAOYSA-N trimethylaluminium Chemical compound C[Al](C)C JLTRXTDYQLMHGR-UHFFFAOYSA-N 0.000 description 2
- WXRGABKACDFXMG-UHFFFAOYSA-N trimethylborane Chemical compound CB(C)C WXRGABKACDFXMG-UHFFFAOYSA-N 0.000 description 2
- 238000005292 vacuum distillation Methods 0.000 description 2
- 229910052726 zirconium Inorganic materials 0.000 description 2
- RYHBNJHYFVUHQT-UHFFFAOYSA-N 1,4-Dioxane Chemical compound C1COCCO1 RYHBNJHYFVUHQT-UHFFFAOYSA-N 0.000 description 1
- AVFZOVWCLRSYKC-UHFFFAOYSA-N 1-methylpyrrolidine Chemical class CN1CCCC1 AVFZOVWCLRSYKC-UHFFFAOYSA-N 0.000 description 1
- 238000005160 1H NMR spectroscopy Methods 0.000 description 1
- GVHIREZHTRULPT-UHFFFAOYSA-N 2-methyl-n-trimethylsilylpropan-2-amine Chemical compound CC(C)(C)N[Si](C)(C)C GVHIREZHTRULPT-UHFFFAOYSA-N 0.000 description 1
- ZSLUVFAKFWKJRC-IGMARMGPSA-N 232Th Chemical compound [232Th] ZSLUVFAKFWKJRC-IGMARMGPSA-N 0.000 description 1
- FTZIQBGFCYJWKA-UHFFFAOYSA-N 3-(4,5-dimethylthiazol-2-yl)-2,5-diphenyltetrazolium Chemical compound S1C(C)=C(C)N=C1[N+]1=NC(C=2C=CC=CC=2)=NN1C1=CC=CC=C1 FTZIQBGFCYJWKA-UHFFFAOYSA-N 0.000 description 1
- 239000010963 304 stainless steel Substances 0.000 description 1
- OSWFIVFLDKOXQC-UHFFFAOYSA-N 4-(3-methoxyphenyl)aniline Chemical compound COC1=CC=CC(C=2C=CC(N)=CC=2)=C1 OSWFIVFLDKOXQC-UHFFFAOYSA-N 0.000 description 1
- 235000001674 Agaricus brunnescens Nutrition 0.000 description 1
- 229910018072 Al 2 O 3 Inorganic materials 0.000 description 1
- 239000004215 Carbon black (E152) Substances 0.000 description 1
- GYHNNYVSQQEPJS-UHFFFAOYSA-N Gallium Chemical compound [Ga] GYHNNYVSQQEPJS-UHFFFAOYSA-N 0.000 description 1
- 229910001218 Gallium arsenide Inorganic materials 0.000 description 1
- AHVYPIQETPWLSZ-UHFFFAOYSA-N N-methyl-pyrrolidine Chemical class CN1CC=CC1 AHVYPIQETPWLSZ-UHFFFAOYSA-N 0.000 description 1
- CTQNGGLPUBDAKN-UHFFFAOYSA-N O-Xylene Chemical compound CC1=CC=CC=C1C CTQNGGLPUBDAKN-UHFFFAOYSA-N 0.000 description 1
- 229920000144 PEDOT:PSS Polymers 0.000 description 1
- 229920001609 Poly(3,4-ethylenedioxythiophene) Polymers 0.000 description 1
- ZLMJMSJWJFRBEC-UHFFFAOYSA-N Potassium Chemical compound [K] ZLMJMSJWJFRBEC-UHFFFAOYSA-N 0.000 description 1
- KJTLSVCANCCWHF-UHFFFAOYSA-N Ruthenium Chemical compound [Ru] KJTLSVCANCCWHF-UHFFFAOYSA-N 0.000 description 1
- 229910000589 SAE 304 stainless steel Inorganic materials 0.000 description 1
- 229910052776 Thorium Inorganic materials 0.000 description 1
- 229910010413 TiO 2 Inorganic materials 0.000 description 1
- ATJFFYVFTNAWJD-UHFFFAOYSA-N Tin Chemical compound [Sn] ATJFFYVFTNAWJD-UHFFFAOYSA-N 0.000 description 1
- RTAQQCXQSZGOHL-UHFFFAOYSA-N Titanium Chemical compound [Ti] RTAQQCXQSZGOHL-UHFFFAOYSA-N 0.000 description 1
- 238000003848 UV Light-Curing Methods 0.000 description 1
- 229910052770 Uranium Inorganic materials 0.000 description 1
- 238000002441 X-ray diffraction Methods 0.000 description 1
- JFWLFXVBLPDVDZ-UHFFFAOYSA-N [Ru]=O.[Sr] Chemical compound [Ru]=O.[Sr] JFWLFXVBLPDVDZ-UHFFFAOYSA-N 0.000 description 1
- 235000011054 acetic acid Nutrition 0.000 description 1
- 239000003463 adsorbent Substances 0.000 description 1
- 239000000443 aerosol Substances 0.000 description 1
- 150000001335 aliphatic alkanes Chemical class 0.000 description 1
- 150000003973 alkyl amines Chemical class 0.000 description 1
- 229910045601 alloy Inorganic materials 0.000 description 1
- 239000000956 alloy Substances 0.000 description 1
- XAGFODPZIPBFFR-UHFFFAOYSA-N aluminium Chemical compound [Al] XAGFODPZIPBFFR-UHFFFAOYSA-N 0.000 description 1
- 239000003708 ampul Substances 0.000 description 1
- 125000004429 atom Chemical group 0.000 description 1
- RRZKHZBOZDIQJG-UHFFFAOYSA-N azane;manganese Chemical group N.[Mn] RRZKHZBOZDIQJG-UHFFFAOYSA-N 0.000 description 1
- 238000000998 batch distillation Methods 0.000 description 1
- 230000008901 benefit Effects 0.000 description 1
- 230000005587 bubbling Effects 0.000 description 1
- 239000006227 byproduct Substances 0.000 description 1
- 229910052793 cadmium Inorganic materials 0.000 description 1
- 150000001721 carbon Chemical class 0.000 description 1
- 125000004432 carbon atom Chemical group C* 0.000 description 1
- 230000015556 catabolic process Effects 0.000 description 1
- 239000007795 chemical reaction product Substances 0.000 description 1
- 229910052804 chromium Inorganic materials 0.000 description 1
- 229910017052 cobalt Inorganic materials 0.000 description 1
- 239000010941 cobalt Substances 0.000 description 1
- GUTLYIVDDKVIGB-UHFFFAOYSA-N cobalt atom Chemical compound [Co] GUTLYIVDDKVIGB-UHFFFAOYSA-N 0.000 description 1
- 230000000052 comparative effect Effects 0.000 description 1
- 230000003750 conditioning effect Effects 0.000 description 1
- 239000000356 contaminant Substances 0.000 description 1
- 238000011109 contamination Methods 0.000 description 1
- 239000012043 crude product Substances 0.000 description 1
- 239000013078 crystal Substances 0.000 description 1
- 229910021419 crystalline silicon Inorganic materials 0.000 description 1
- 150000001923 cyclic compounds Chemical class 0.000 description 1
- RUSXXJKVMARGOF-UHFFFAOYSA-N cyclohexane;heptane Chemical compound C1CCCCC1.CCCCCCC RUSXXJKVMARGOF-UHFFFAOYSA-N 0.000 description 1
- 125000000113 cyclohexyl group Chemical group [H]C1([H])C([H])([H])C([H])([H])C([H])(*)C([H])([H])C1([H])[H] 0.000 description 1
- 125000000058 cyclopentadienyl group Chemical group C1(=CC=CC1)* 0.000 description 1
- 125000001511 cyclopentyl group Chemical group [H]C1([H])C([H])([H])C([H])([H])C([H])(*)C1([H])[H] 0.000 description 1
- 125000001559 cyclopropyl group Chemical group [H]C1([H])C([H])([H])C1([H])* 0.000 description 1
- DIOQZVSQGTUSAI-NJFSPNSNSA-N decane Chemical compound CCCCCCCCC[14CH3] DIOQZVSQGTUSAI-NJFSPNSNSA-N 0.000 description 1
- 238000006731 degradation reaction Methods 0.000 description 1
- 238000011161 development Methods 0.000 description 1
- 239000010432 diamond Substances 0.000 description 1
- 239000002019 doping agent Substances 0.000 description 1
- 238000001227 electron beam curing Methods 0.000 description 1
- 238000000921 elemental analysis Methods 0.000 description 1
- 238000001704 evaporation Methods 0.000 description 1
- 230000008020 evaporation Effects 0.000 description 1
- 230000009969 flowable effect Effects 0.000 description 1
- 235000019253 formic acid Nutrition 0.000 description 1
- 229910052733 gallium Inorganic materials 0.000 description 1
- 238000004817 gas chromatography Methods 0.000 description 1
- GNPVGFCGXDBREM-UHFFFAOYSA-N germanium atom Chemical compound [Ge] GNPVGFCGXDBREM-UHFFFAOYSA-N 0.000 description 1
- PCHJSUWPFVWCPO-UHFFFAOYSA-N gold Chemical compound [Au] PCHJSUWPFVWCPO-UHFFFAOYSA-N 0.000 description 1
- 229910052737 gold Inorganic materials 0.000 description 1
- 239000010931 gold Substances 0.000 description 1
- VBJZVLUMGGDVMO-UHFFFAOYSA-N hafnium atom Chemical compound [Hf] VBJZVLUMGGDVMO-UHFFFAOYSA-N 0.000 description 1
- 238000004050 hot filament vapor deposition Methods 0.000 description 1
- 150000002430 hydrocarbons Chemical class 0.000 description 1
- 229910052738 indium Inorganic materials 0.000 description 1
- APFVFJFRJDLVQX-UHFFFAOYSA-N indium atom Chemical compound [In] APFVFJFRJDLVQX-UHFFFAOYSA-N 0.000 description 1
- 229910052742 iron Inorganic materials 0.000 description 1
- 125000000959 isobutyl group Chemical group [H]C([H])([H])C([H])(C([H])([H])[H])C([H])([H])* 0.000 description 1
- 238000002955 isolation Methods 0.000 description 1
- 150000002576 ketones Chemical class 0.000 description 1
- 238000004811 liquid chromatography Methods 0.000 description 1
- AFRJJFRNGGLMDW-UHFFFAOYSA-N lithium amide Chemical compound [Li+].[NH2-] AFRJJFRNGGLMDW-UHFFFAOYSA-N 0.000 description 1
- 238000004949 mass spectrometry Methods 0.000 description 1
- 230000008018 melting Effects 0.000 description 1
- 238000002844 melting Methods 0.000 description 1
- AUHZEENZYGFFBQ-UHFFFAOYSA-N mesitylene Substances CC1=CC(C)=CC(C)=C1 AUHZEENZYGFFBQ-UHFFFAOYSA-N 0.000 description 1
- 125000001827 mesitylenyl group Chemical group [H]C1=C(C(*)=C(C([H])=C1C([H])([H])[H])C([H])([H])[H])C([H])([H])[H] 0.000 description 1
- 150000002736 metal compounds Chemical class 0.000 description 1
- 229910001092 metal group alloy Inorganic materials 0.000 description 1
- 238000001465 metallisation Methods 0.000 description 1
- 238000004377 microelectronic Methods 0.000 description 1
- 239000002808 molecular sieve Substances 0.000 description 1
- DIOQZVSQGTUSAI-UHFFFAOYSA-N n-butylhexane Natural products CCCCCCCCCC DIOQZVSQGTUSAI-UHFFFAOYSA-N 0.000 description 1
- 230000007935 neutral effect Effects 0.000 description 1
- 229910000510 noble metal Inorganic materials 0.000 description 1
- TVMXDCGIABBOFY-UHFFFAOYSA-N octane Chemical compound CCCCCCCC TVMXDCGIABBOFY-UHFFFAOYSA-N 0.000 description 1
- 230000003647 oxidation Effects 0.000 description 1
- 238000007254 oxidation reaction Methods 0.000 description 1
- 230000001590 oxidative effect Effects 0.000 description 1
- 229910052763 palladium Inorganic materials 0.000 description 1
- 239000002245 particle Substances 0.000 description 1
- 238000002161 passivation Methods 0.000 description 1
- 230000000737 periodic effect Effects 0.000 description 1
- 229910052698 phosphorus Inorganic materials 0.000 description 1
- 229920002120 photoresistant polymer Polymers 0.000 description 1
- 229920003023 plastic Polymers 0.000 description 1
- 229910052697 platinum Inorganic materials 0.000 description 1
- 229920001467 poly(styrenesulfonates) Polymers 0.000 description 1
- 229910021420 polycrystalline silicon Inorganic materials 0.000 description 1
- 229920005591 polysilicon Polymers 0.000 description 1
- 239000000843 powder Substances 0.000 description 1
- 235000019260 propionic acid Nutrition 0.000 description 1
- 239000010453 quartz Substances 0.000 description 1
- IUVKMZGDUIUOCP-BTNSXGMBSA-N quinbolone Chemical compound O([C@H]1CC[C@H]2[C@H]3[C@@H]([C@]4(C=CC(=O)C=C4CC3)C)CC[C@@]21C)C1=CCCC1 IUVKMZGDUIUOCP-BTNSXGMBSA-N 0.000 description 1
- 238000004151 rapid thermal annealing Methods 0.000 description 1
- 229910001404 rare earth metal oxide Inorganic materials 0.000 description 1
- 239000011819 refractory material Substances 0.000 description 1
- 229910052703 rhodium Inorganic materials 0.000 description 1
- 239000010948 rhodium Substances 0.000 description 1
- MHOVAHRLVXNVSD-UHFFFAOYSA-N rhodium atom Chemical compound [Rh] MHOVAHRLVXNVSD-UHFFFAOYSA-N 0.000 description 1
- 150000003839 salts Chemical class 0.000 description 1
- 238000005070 sampling Methods 0.000 description 1
- 229920006395 saturated elastomer Polymers 0.000 description 1
- VSZWPYCFIRKVQL-UHFFFAOYSA-N selanylidenegallium;selenium Chemical compound [Se].[Se]=[Ga].[Se]=[Ga] VSZWPYCFIRKVQL-UHFFFAOYSA-N 0.000 description 1
- 238000000926 separation method Methods 0.000 description 1
- FVBUAEGBCNSCDD-UHFFFAOYSA-N silicide(4-) Chemical compound [Si-4] FVBUAEGBCNSCDD-UHFFFAOYSA-N 0.000 description 1
- 239000000377 silicon dioxide Substances 0.000 description 1
- URGAHOPLAPQHLN-UHFFFAOYSA-N sodium aluminosilicate Chemical compound [Na+].[Al+3].[O-][Si]([O-])=O.[O-][Si]([O-])=O URGAHOPLAPQHLN-UHFFFAOYSA-N 0.000 description 1
- 239000011343 solid material Substances 0.000 description 1
- 239000007790 solid phase Substances 0.000 description 1
- 238000012430 stability testing Methods 0.000 description 1
- 229910001220 stainless steel Inorganic materials 0.000 description 1
- 239000010935 stainless steel Substances 0.000 description 1
- CIOAGBVUUVVLOB-UHFFFAOYSA-N strontium atom Chemical compound [Sr] CIOAGBVUUVVLOB-UHFFFAOYSA-N 0.000 description 1
- 239000000126 substance Substances 0.000 description 1
- JBQYATWDVHIOAR-UHFFFAOYSA-N tellanylidenegermanium Chemical compound [Te]=[Ge] JBQYATWDVHIOAR-UHFFFAOYSA-N 0.000 description 1
- 150000003512 tertiary amines Chemical class 0.000 description 1
- 238000002076 thermal analysis method Methods 0.000 description 1
- 238000002230 thermal chemical vapour deposition Methods 0.000 description 1
- 230000008646 thermal stress Effects 0.000 description 1
- 238000000427 thin-film deposition Methods 0.000 description 1
- 231100000331 toxic Toxicity 0.000 description 1
- 230000002588 toxic effect Effects 0.000 description 1
- 238000012546 transfer Methods 0.000 description 1
- 229910021350 transition metal silicide Inorganic materials 0.000 description 1
- WFKWXMTUELFFGS-UHFFFAOYSA-N tungsten Chemical compound [W] WFKWXMTUELFFGS-UHFFFAOYSA-N 0.000 description 1
- 229910052721 tungsten Inorganic materials 0.000 description 1
- 239000010937 tungsten Substances 0.000 description 1
- 238000009827 uniform distribution Methods 0.000 description 1
- DNYWZCXLKNTFFI-UHFFFAOYSA-N uranium Chemical compound [U][U][U][U][U][U][U][U][U][U][U][U][U][U][U][U][U][U][U][U][U][U][U][U][U][U][U][U][U][U][U][U][U][U][U][U][U][U][U][U][U][U][U][U][U][U][U][U][U][U][U][U][U][U][U][U][U][U][U][U][U][U][U][U][U][U][U][U][U][U][U][U][U][U][U][U][U][U][U][U][U][U][U][U][U][U][U][U][U][U][U][U][U][U][U][U][U][U][U][U][U][U][U][U][U][U][U][U][U][U][U][U][U][U] DNYWZCXLKNTFFI-UHFFFAOYSA-N 0.000 description 1
- 238000009834 vaporization Methods 0.000 description 1
- 230000008016 vaporization Effects 0.000 description 1
- 239000006200 vaporizer Substances 0.000 description 1
- XLYOFNOQVPJJNP-UHFFFAOYSA-N water Substances O XLYOFNOQVPJJNP-UHFFFAOYSA-N 0.000 description 1
- 238000005303 weighing Methods 0.000 description 1
- 239000008096 xylene Substances 0.000 description 1
- 239000011701 zinc Substances 0.000 description 1
Images
Classifications
-
- C—CHEMISTRY; METALLURGY
- C23—COATING METALLIC MATERIAL; COATING MATERIAL WITH METALLIC MATERIAL; CHEMICAL SURFACE TREATMENT; DIFFUSION TREATMENT OF METALLIC MATERIAL; COATING BY VACUUM EVAPORATION, BY SPUTTERING, BY ION IMPLANTATION OR BY CHEMICAL VAPOUR DEPOSITION, IN GENERAL; INHIBITING CORROSION OF METALLIC MATERIAL OR INCRUSTATION IN GENERAL
- C23C—COATING METALLIC MATERIAL; COATING MATERIAL WITH METALLIC MATERIAL; SURFACE TREATMENT OF METALLIC MATERIAL BY DIFFUSION INTO THE SURFACE, BY CHEMICAL CONVERSION OR SUBSTITUTION; COATING BY VACUUM EVAPORATION, BY SPUTTERING, BY ION IMPLANTATION OR BY CHEMICAL VAPOUR DEPOSITION, IN GENERAL
- C23C16/00—Chemical coating by decomposition of gaseous compounds, without leaving reaction products of surface material in the coating, i.e. chemical vapour deposition [CVD] processes
- C23C16/22—Chemical coating by decomposition of gaseous compounds, without leaving reaction products of surface material in the coating, i.e. chemical vapour deposition [CVD] processes characterised by the deposition of inorganic material, other than metallic material
- C23C16/30—Deposition of compounds, mixtures or solid solutions, e.g. borides, carbides, nitrides
- C23C16/42—Silicides
-
- C—CHEMISTRY; METALLURGY
- C23—COATING METALLIC MATERIAL; COATING MATERIAL WITH METALLIC MATERIAL; CHEMICAL SURFACE TREATMENT; DIFFUSION TREATMENT OF METALLIC MATERIAL; COATING BY VACUUM EVAPORATION, BY SPUTTERING, BY ION IMPLANTATION OR BY CHEMICAL VAPOUR DEPOSITION, IN GENERAL; INHIBITING CORROSION OF METALLIC MATERIAL OR INCRUSTATION IN GENERAL
- C23C—COATING METALLIC MATERIAL; COATING MATERIAL WITH METALLIC MATERIAL; SURFACE TREATMENT OF METALLIC MATERIAL BY DIFFUSION INTO THE SURFACE, BY CHEMICAL CONVERSION OR SUBSTITUTION; COATING BY VACUUM EVAPORATION, BY SPUTTERING, BY ION IMPLANTATION OR BY CHEMICAL VAPOUR DEPOSITION, IN GENERAL
- C23C16/00—Chemical coating by decomposition of gaseous compounds, without leaving reaction products of surface material in the coating, i.e. chemical vapour deposition [CVD] processes
- C23C16/06—Chemical coating by decomposition of gaseous compounds, without leaving reaction products of surface material in the coating, i.e. chemical vapour deposition [CVD] processes characterised by the deposition of metallic material
-
- C—CHEMISTRY; METALLURGY
- C23—COATING METALLIC MATERIAL; COATING MATERIAL WITH METALLIC MATERIAL; CHEMICAL SURFACE TREATMENT; DIFFUSION TREATMENT OF METALLIC MATERIAL; COATING BY VACUUM EVAPORATION, BY SPUTTERING, BY ION IMPLANTATION OR BY CHEMICAL VAPOUR DEPOSITION, IN GENERAL; INHIBITING CORROSION OF METALLIC MATERIAL OR INCRUSTATION IN GENERAL
- C23C—COATING METALLIC MATERIAL; COATING MATERIAL WITH METALLIC MATERIAL; SURFACE TREATMENT OF METALLIC MATERIAL BY DIFFUSION INTO THE SURFACE, BY CHEMICAL CONVERSION OR SUBSTITUTION; COATING BY VACUUM EVAPORATION, BY SPUTTERING, BY ION IMPLANTATION OR BY CHEMICAL VAPOUR DEPOSITION, IN GENERAL
- C23C16/00—Chemical coating by decomposition of gaseous compounds, without leaving reaction products of surface material in the coating, i.e. chemical vapour deposition [CVD] processes
- C23C16/06—Chemical coating by decomposition of gaseous compounds, without leaving reaction products of surface material in the coating, i.e. chemical vapour deposition [CVD] processes characterised by the deposition of metallic material
- C23C16/18—Chemical coating by decomposition of gaseous compounds, without leaving reaction products of surface material in the coating, i.e. chemical vapour deposition [CVD] processes characterised by the deposition of metallic material from metallo-organic compounds
-
- C—CHEMISTRY; METALLURGY
- C23—COATING METALLIC MATERIAL; COATING MATERIAL WITH METALLIC MATERIAL; CHEMICAL SURFACE TREATMENT; DIFFUSION TREATMENT OF METALLIC MATERIAL; COATING BY VACUUM EVAPORATION, BY SPUTTERING, BY ION IMPLANTATION OR BY CHEMICAL VAPOUR DEPOSITION, IN GENERAL; INHIBITING CORROSION OF METALLIC MATERIAL OR INCRUSTATION IN GENERAL
- C23C—COATING METALLIC MATERIAL; COATING MATERIAL WITH METALLIC MATERIAL; SURFACE TREATMENT OF METALLIC MATERIAL BY DIFFUSION INTO THE SURFACE, BY CHEMICAL CONVERSION OR SUBSTITUTION; COATING BY VACUUM EVAPORATION, BY SPUTTERING, BY ION IMPLANTATION OR BY CHEMICAL VAPOUR DEPOSITION, IN GENERAL
- C23C16/00—Chemical coating by decomposition of gaseous compounds, without leaving reaction products of surface material in the coating, i.e. chemical vapour deposition [CVD] processes
- C23C16/22—Chemical coating by decomposition of gaseous compounds, without leaving reaction products of surface material in the coating, i.e. chemical vapour deposition [CVD] processes characterised by the deposition of inorganic material, other than metallic material
- C23C16/30—Deposition of compounds, mixtures or solid solutions, e.g. borides, carbides, nitrides
-
- C—CHEMISTRY; METALLURGY
- C23—COATING METALLIC MATERIAL; COATING MATERIAL WITH METALLIC MATERIAL; CHEMICAL SURFACE TREATMENT; DIFFUSION TREATMENT OF METALLIC MATERIAL; COATING BY VACUUM EVAPORATION, BY SPUTTERING, BY ION IMPLANTATION OR BY CHEMICAL VAPOUR DEPOSITION, IN GENERAL; INHIBITING CORROSION OF METALLIC MATERIAL OR INCRUSTATION IN GENERAL
- C23C—COATING METALLIC MATERIAL; COATING MATERIAL WITH METALLIC MATERIAL; SURFACE TREATMENT OF METALLIC MATERIAL BY DIFFUSION INTO THE SURFACE, BY CHEMICAL CONVERSION OR SUBSTITUTION; COATING BY VACUUM EVAPORATION, BY SPUTTERING, BY ION IMPLANTATION OR BY CHEMICAL VAPOUR DEPOSITION, IN GENERAL
- C23C16/00—Chemical coating by decomposition of gaseous compounds, without leaving reaction products of surface material in the coating, i.e. chemical vapour deposition [CVD] processes
- C23C16/22—Chemical coating by decomposition of gaseous compounds, without leaving reaction products of surface material in the coating, i.e. chemical vapour deposition [CVD] processes characterised by the deposition of inorganic material, other than metallic material
- C23C16/30—Deposition of compounds, mixtures or solid solutions, e.g. borides, carbides, nitrides
- C23C16/34—Nitrides
-
- C—CHEMISTRY; METALLURGY
- C23—COATING METALLIC MATERIAL; COATING MATERIAL WITH METALLIC MATERIAL; CHEMICAL SURFACE TREATMENT; DIFFUSION TREATMENT OF METALLIC MATERIAL; COATING BY VACUUM EVAPORATION, BY SPUTTERING, BY ION IMPLANTATION OR BY CHEMICAL VAPOUR DEPOSITION, IN GENERAL; INHIBITING CORROSION OF METALLIC MATERIAL OR INCRUSTATION IN GENERAL
- C23C—COATING METALLIC MATERIAL; COATING MATERIAL WITH METALLIC MATERIAL; SURFACE TREATMENT OF METALLIC MATERIAL BY DIFFUSION INTO THE SURFACE, BY CHEMICAL CONVERSION OR SUBSTITUTION; COATING BY VACUUM EVAPORATION, BY SPUTTERING, BY ION IMPLANTATION OR BY CHEMICAL VAPOUR DEPOSITION, IN GENERAL
- C23C16/00—Chemical coating by decomposition of gaseous compounds, without leaving reaction products of surface material in the coating, i.e. chemical vapour deposition [CVD] processes
- C23C16/22—Chemical coating by decomposition of gaseous compounds, without leaving reaction products of surface material in the coating, i.e. chemical vapour deposition [CVD] processes characterised by the deposition of inorganic material, other than metallic material
- C23C16/30—Deposition of compounds, mixtures or solid solutions, e.g. borides, carbides, nitrides
- C23C16/36—Carbonitrides
-
- C—CHEMISTRY; METALLURGY
- C23—COATING METALLIC MATERIAL; COATING MATERIAL WITH METALLIC MATERIAL; CHEMICAL SURFACE TREATMENT; DIFFUSION TREATMENT OF METALLIC MATERIAL; COATING BY VACUUM EVAPORATION, BY SPUTTERING, BY ION IMPLANTATION OR BY CHEMICAL VAPOUR DEPOSITION, IN GENERAL; INHIBITING CORROSION OF METALLIC MATERIAL OR INCRUSTATION IN GENERAL
- C23C—COATING METALLIC MATERIAL; COATING MATERIAL WITH METALLIC MATERIAL; SURFACE TREATMENT OF METALLIC MATERIAL BY DIFFUSION INTO THE SURFACE, BY CHEMICAL CONVERSION OR SUBSTITUTION; COATING BY VACUUM EVAPORATION, BY SPUTTERING, BY ION IMPLANTATION OR BY CHEMICAL VAPOUR DEPOSITION, IN GENERAL
- C23C16/00—Chemical coating by decomposition of gaseous compounds, without leaving reaction products of surface material in the coating, i.e. chemical vapour deposition [CVD] processes
- C23C16/44—Chemical coating by decomposition of gaseous compounds, without leaving reaction products of surface material in the coating, i.e. chemical vapour deposition [CVD] processes characterised by the method of coating
- C23C16/455—Chemical coating by decomposition of gaseous compounds, without leaving reaction products of surface material in the coating, i.e. chemical vapour deposition [CVD] processes characterised by the method of coating characterised by the method used for introducing gases into reaction chamber or for modifying gas flows in reaction chamber
- C23C16/45523—Pulsed gas flow or change of composition over time
- C23C16/45525—Atomic layer deposition [ALD]
- C23C16/45553—Atomic layer deposition [ALD] characterized by the use of precursors specially adapted for ALD
Landscapes
- Chemical & Material Sciences (AREA)
- General Chemical & Material Sciences (AREA)
- Chemical Kinetics & Catalysis (AREA)
- Engineering & Computer Science (AREA)
- Materials Engineering (AREA)
- Mechanical Engineering (AREA)
- Metallurgy (AREA)
- Organic Chemistry (AREA)
- Inorganic Chemistry (AREA)
- Chemical Vapour Deposition (AREA)
Abstract
Description
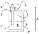
도 1은 Mn-함유 막 형성 조성물 전달 장치(1)의 일 구현예의 측단면도이다.
도 2는 Mn-함유 막 형성 조성물 전달 장치(1)의 제2 구현예의 측단면도이다.
도 3은 고체 Mn-함유 막 형성 조성물을 승화시키기 위한 고체 전구체 승화기(100)의 예시적 구현예의 측단면도이다.
도 4는 {Mn[N(SiMe3)2]2}2, {Mn[N(SiMe2Et)2]2}2, {Mn[N(SiMe3)(tBu)2]2}2, 및 {Mn[N(SiMe2nBu)2]2}2의 온도 증가에 따른 중량 손실의 백분율을 나타낸, 1010 mbar 하에서의 비교 개방 컵 열중량 측정 분석(TGA) 그래프이다.
도 5는 안정성 시험 전 및 120℃에서 1주 및 2주, 및 1개월, 2개월 및 3개월 후에, {Mn[N(SiMe2Et)2]2}2의 온도 증가에 따른 중량 손실의 백분율을 나타낸 TGA 그래프이다.
도 6은 안정성 시험 전 및 90℃에서 1주 및 2주 후에, {Mn[N(SiMe3)(tBu)]2}2의 온도 증가에 따른 중량 손실의 백분율을 나타낸 TGA 그래프이다.
도 7은 안정성 시험 전 및 70℃에서 8주 및 3개월 후에, {Mn[N(SiMe3)2]2}2의 온도 증가에 따른 중량 손실의 백분율을 나타낸 TGA 그래프이다.
도 8은 안정성 시험 전 및 90℃에서 2주 및 4주 및 2개월 및 3개월 후에, {Mn[N(SiMe3)2]2}2의 온도 증가에 따른 중량 손실의 백분율을 나타낸 TGA 그래프이다.
Claims (16)
- 기판 상에 Mn-함유 층을 증착시키는 방법으로서,
Mn-함유 막 형성 조성물의 증기를 그 안에 배치된 기판을 갖는 반응기내로 도입하는 단계로서, Mn-함유 막 형성 조성물은 {Mn[N(SiMe2Et)2]2}2; {Mn[N(SiMe2H)2]2}2; {Mn[N(SiMe3)(tBu)]2}2; {Mn[N(SiMe2nBu)2]2}2; Mn[N(SiMe3)2]2(py); Mn[N(SiMe3)2]2(Me3N); Mn[N(SiMe3)2]2(Et3N); Mn[N(SiMe3)2]2(Me2EtN); Mn[N(SiMe3)2]2(MeEt2N); Mn[N(SiMe3)2]2(1-Me-피롤리딘); Mn[N(SiMe3)2]2(PMe3); {Mn[N(SiMe3)2]2}2; {Mn[N(SiMe2Et)2]2}2; Mn[N(SiMe2Et)2]2(py); Mn[N(SiMe2Et)2]2(Me3N); Mn[N(SiMe2Et)2]2(Et3N); Mn[N(SiMe2Et)2]2(Me2EtN); Mn[N(SiMe2Et)2]2(MeEt2N); Mn[N(SiMe2Et)2]2(1-Me-피롤리딘); Mn[N(SiMe2Et)2]2(PMe3), 및 이들의 조합으로 이루어진 군으로부터 선택된 실릴아미드-함유 전구체를 포함하는 단계; 및
증기 증착 방법을 이용하여 Mn-함유 층을 형성하기 위해 실릴아미드-함유 전구체의 적어도 일부를 기판 상에 증착하는 단계를 포함하는 방법. - 제1항에 있어서, 실릴아미드-함유 전구체가 {Mn[N(SiMe2Et)2]2}2인 방법.
- 제1항에 있어서, 실릴아미드-함유 전구체가 Mn[N(SiMe3)2]2(NMeEt2)인 방법.
- 제1항 내지 제3항 중 어느 한 항에 있어서, Mn-함유 층이 Mn인 방법.
- 제1항 내지 제3항 중 어느 한 항에 있어서, Mn-함유 층이 MnOSi인 방법.
- 제1항 내지 제3항 중 어느 한 항에 있어서, Mn-함유 층이 MnN인 방법.
- 제4항 내지 제6항 중 어느 한 항에 있어서, 기판이 SiO2인 방법.
- 기판 상에 Mn-함유 층을 증착시키는 방법으로서,
Mn-함유 막 형성 조성물을 포함하는 Mn-함유 막 형성 조성물 전달 장치를 증기 증착 챔버에 유동적으로 연결하는 단계로서, Mn-함유 막 형성 조성물은 {Mn[N(SiMe2Et)2]2}2; {Mn[N(SiMe2H)2]2}2; {Mn[N(SiMe3)(tBu)]2}2; {Mn[N(SiMe2nBu)2]2}2; Mn[N(SiMe3)2]2(py); Mn[N(SiMe3)2]2(Me3N); Mn[N(SiMe3)2]2(Et3N); Mn[N(SiMe3)2]2(Me2EtN); Mn[N(SiMe3)2]2(MeEt2N); Mn[N(SiMe3)2]2(1-Me-피롤리딘); Mn[N(SiMe3)2]2(PMe3); {Mn[N(SiMe3)2]2}2; {Mn[N(SiMeEt2)2]2}2; Mn[N(SiMe2Et)2]2(py); Mn[N(SiMe2Et)2]2(Me3N); Mn[N(SiMe2Et)2]2(Et3N); Mn[N(SiMe2Et)2]2(Me2EtN); Mn[N(SiMe2Et)2]2(MeEt2N); Mn[N(SiMe2Et)2]2(1-Me-피롤리딘); Mn[N(SiMe2Et)2]2(PMe3), 및 이들의 조합으로 이루어진 군으로부터 선택된 실릴아미드-함유 전구체를 포함하는 단계;
Mn-함유 막 형성 조성물 전달 장치를 대략 0.2 Torr(대략 27 파스칼) 내지 대략 1.5 Torr(대략 200 파스칼)의 증기압의 Mn-함유 막 형성 조성물을 생성시키는 온도까지 가열하는 단계;
Mn-함유 막 형성 조성물의 증기를 그 안에 배치된 기판을 갖는 증기 증착 챔버내로 전달하는 단계; 및
증기 증착 방법을 이용하여 Mn-함유 층을 형성하기 위해 실릴아미드-함유 전구체의 적어도 일부를 기판 상에 증착하는 단계를 포함하는 방법. - 제8항에 있어서, Mn-함유 막 형성 조성물 전달 장치를 그러한 온도에서 2주 내지 12개월 범위의 시간 동안 유지시키는 것을 추가로 포함하는 방법.
- 제9항에 있어서, 실릴아미드-함유 전구체가 {Mn[N(SiMe2Et)2]2}2인 방법.
- {Mn[N(SiMe2Et)2]2}2; {Mn[N(SiMe2H)2]2}2; {Mn[N(SiMe3)(tBu)]2}2; {Mn[N(SiMe2nBu)2]2}2; Mn[N(SiMe3)2]2(py); Mn[N(SiMe3)2]2(Me3N); Mn[N(SiMe3)2]2(Et3N); Mn[N(SiMe3)2]2(Me2EtN); Mn[N(SiMe3)2]2(MeEt2N); Mn[N(SiMe3)2]2(1-Me-피롤리딘); Mn[N(SiMe3)2]2(PMe3); {Mn[N(SiMeEt2)2]2}2; Mn[N(SiMe2Et)2]2(py); Mn[N(SiMe2Et)2]2(Me3N); Mn[N(SiMe2Et)2]2(Et3N); Mn[N(SiMe2Et)2]2(Me2EtN); Mn[N(SiMe2Et)2]2(MeEt2N); Mn[N(SiMe2Et)2]2(1-Me-피롤리딘); Mn[N(SiMe2Et)2]2(PMe3), 및 이들의 조합으로 이루어진 군으로부터 선택된 실릴아미드-함유 전구체를 포함하고 80℃에서 2주 후 5% 미만의 잔류 질량의 열중량 측정 분석에 의해 입증된 열적 안정성을 갖는, 망간-함유 막 형성 조성물.
- 제11항에 있어서, 실릴아미드-함유 전구체가 {Mn[N(SiMe2Et)2]2}2이고, 90℃에서 2개월 후 5% 미만의 잔류 질량의 열중량 측정 분석에 의해 입증된 열적 안정성을 갖는, 망간-함유 막 형성 조성물.
- 제11항에 있어서, Mn-함유 막 형성 조성물이 본질적으로 {Mn[N(SiMe2Et)2]2}2로 이루어진, 망간-함유 막 형성 조성물.
- 제11항에 있어서, Mn-함유 막 형성 조성물이 본질적으로 Mn[N(SiMe3)2]2(NMe2Et)로 이루어진, 망간-함유 막 형성 조성물.
Applications Claiming Priority (3)
| Application Number | Priority Date | Filing Date | Title |
|---|---|---|---|
| US14/986,313 US10011903B2 (en) | 2015-12-31 | 2015-12-31 | Manganese-containing film forming compositions, their synthesis, and use in film deposition |
| US14/986,313 | 2015-12-31 | ||
| PCT/US2016/066120 WO2017116665A1 (en) | 2015-12-31 | 2016-12-12 | Manganese-containing film forming compositions, their synthesis, and use in film deposition |
Publications (2)
| Publication Number | Publication Date |
|---|---|
| KR20180098579A true KR20180098579A (ko) | 2018-09-04 |
| KR102653070B1 KR102653070B1 (ko) | 2024-03-29 |
Family
ID=56286180
Family Applications (1)
| Application Number | Title | Priority Date | Filing Date |
|---|---|---|---|
| KR1020187020025A Active KR102653070B1 (ko) | 2015-12-31 | 2016-12-12 | 망간-함유 막 형성 조성물, 이의 합성, 및 막 증착에서의 용도 |
Country Status (6)
| Country | Link |
|---|---|
| US (1) | US10011903B2 (ko) |
| EP (1) | EP3397789B1 (ko) |
| JP (1) | JP6941610B2 (ko) |
| KR (1) | KR102653070B1 (ko) |
| CN (1) | CN108474113A (ko) |
| WO (1) | WO2017116665A1 (ko) |
Cited By (1)
| Publication number | Priority date | Publication date | Assignee | Title |
|---|---|---|---|---|
| KR20180098578A (ko) * | 2015-12-31 | 2018-09-04 | 레르 리키드 쏘시에떼 아노님 뿌르 레?드 에렉스뿔라따시옹 데 프로세데 조르즈 클로드 | 코발트-함유 막 형성 조성물, 이의 합성, 및 막 증착에서의 용도 |
Families Citing this family (3)
| Publication number | Priority date | Publication date | Assignee | Title |
|---|---|---|---|---|
| EP3282037B1 (en) * | 2016-08-09 | 2022-12-07 | IMEC vzw | Formation of a transition metal nitride |
| CN111748794A (zh) * | 2019-03-26 | 2020-10-09 | 江苏迈纳德微纳技术有限公司 | 一种二氧化锰纳米复合薄膜材料及其制备方法 |
| US12152300B2 (en) * | 2019-06-17 | 2024-11-26 | Tanaka Kikinzoku Kogyo K.K. | Chemical vapor deposition method using an organomanganese compound as a starting material |
Citations (5)
| Publication number | Priority date | Publication date | Assignee | Title |
|---|---|---|---|---|
| US6984591B1 (en) * | 2000-04-20 | 2006-01-10 | International Business Machines Corporation | Precursor source mixtures |
| KR20100017170A (ko) * | 2007-05-21 | 2010-02-16 | 레르 리키드 쏘시에떼 아노님 뿌르 레드 에렉스뿔라따시옹 데 프로세데 조르즈 클로드 | 반도체 적용을 위한 신규 금속 전구체 |
| KR20100017171A (ko) * | 2007-05-21 | 2010-02-16 | 레르 리키드 쏘시에떼 아노님 뿌르 레드 에렉스뿔라따시옹 데 프로세데 조르즈 클로드 | 반도체 적용을 위한 신규 코발트 전구체 |
| KR20140016322A (ko) * | 2011-03-11 | 2014-02-07 | 우베 고산 가부시키가이샤 | 폴리이미드 전구체 및 폴리이미드 |
| KR20150122659A (ko) * | 2013-02-28 | 2015-11-02 | 어플라이드 머티어리얼스, 인코포레이티드 | 금속 아미드 증착 전구체 및 불활성 앰플 라이너에 의한 이들의 안정화 |
Family Cites Families (7)
| Publication number | Priority date | Publication date | Assignee | Title |
|---|---|---|---|---|
| EP1327010B1 (en) | 2000-09-28 | 2013-12-04 | President and Fellows of Harvard College | Vapor deposition of silicates |
| US9051641B2 (en) | 2001-07-25 | 2015-06-09 | Applied Materials, Inc. | Cobalt deposition on barrier surfaces |
| US7033560B2 (en) * | 2002-08-30 | 2006-04-25 | Air Products And Chemicals, Inc. | Single source mixtures of metal siloxides |
| US20090087561A1 (en) * | 2007-09-28 | 2009-04-02 | Advanced Technology Materials, Inc. | Metal and metalloid silylamides, ketimates, tetraalkylguanidinates and dianionic guanidinates useful for cvd/ald of thin films |
| US9005704B2 (en) | 2013-03-06 | 2015-04-14 | Applied Materials, Inc. | Methods for depositing films comprising cobalt and cobalt nitrides |
| US9362228B2 (en) | 2013-10-22 | 2016-06-07 | Globalfoundries Inc. | Electro-migration enhancing method for self-forming barrier process in copper metalization |
| SG11201803553UA (en) * | 2015-12-02 | 2018-06-28 | Basf Se | Process for the generation of thin inorganic films |
-
2015
- 2015-12-31 US US14/986,313 patent/US10011903B2/en active Active
-
2016
- 2016-12-12 CN CN201680076757.6A patent/CN108474113A/zh active Pending
- 2016-12-12 WO PCT/US2016/066120 patent/WO2017116665A1/en not_active Ceased
- 2016-12-12 JP JP2018530084A patent/JP6941610B2/ja active Active
- 2016-12-12 EP EP16882292.2A patent/EP3397789B1/en active Active
- 2016-12-12 KR KR1020187020025A patent/KR102653070B1/ko active Active
Patent Citations (5)
| Publication number | Priority date | Publication date | Assignee | Title |
|---|---|---|---|---|
| US6984591B1 (en) * | 2000-04-20 | 2006-01-10 | International Business Machines Corporation | Precursor source mixtures |
| KR20100017170A (ko) * | 2007-05-21 | 2010-02-16 | 레르 리키드 쏘시에떼 아노님 뿌르 레드 에렉스뿔라따시옹 데 프로세데 조르즈 클로드 | 반도체 적용을 위한 신규 금속 전구체 |
| KR20100017171A (ko) * | 2007-05-21 | 2010-02-16 | 레르 리키드 쏘시에떼 아노님 뿌르 레드 에렉스뿔라따시옹 데 프로세데 조르즈 클로드 | 반도체 적용을 위한 신규 코발트 전구체 |
| KR20140016322A (ko) * | 2011-03-11 | 2014-02-07 | 우베 고산 가부시키가이샤 | 폴리이미드 전구체 및 폴리이미드 |
| KR20150122659A (ko) * | 2013-02-28 | 2015-11-02 | 어플라이드 머티어리얼스, 인코포레이티드 | 금속 아미드 증착 전구체 및 불활성 앰플 라이너에 의한 이들의 안정화 |
Cited By (1)
| Publication number | Priority date | Publication date | Assignee | Title |
|---|---|---|---|---|
| KR20180098578A (ko) * | 2015-12-31 | 2018-09-04 | 레르 리키드 쏘시에떼 아노님 뿌르 레?드 에렉스뿔라따시옹 데 프로세데 조르즈 클로드 | 코발트-함유 막 형성 조성물, 이의 합성, 및 막 증착에서의 용도 |
Also Published As
| Publication number | Publication date |
|---|---|
| EP3397789A4 (en) | 2019-08-14 |
| CN108474113A (zh) | 2018-08-31 |
| JP2019500497A (ja) | 2019-01-10 |
| KR102653070B1 (ko) | 2024-03-29 |
| EP3397789A1 (en) | 2018-11-07 |
| US10011903B2 (en) | 2018-07-03 |
| US20160194755A1 (en) | 2016-07-07 |
| EP3397789B1 (en) | 2020-09-02 |
| JP6941610B2 (ja) | 2021-09-29 |
| WO2017116665A1 (en) | 2017-07-06 |
Similar Documents
| Publication | Publication Date | Title |
|---|---|---|
| US11168099B2 (en) | Titanium-containing film forming compositions for vapor deposition of titanium-containing films | |
| TW201638098A (zh) | 用於形成含矽及含氧薄膜之氣相沉積方法 | |
| CN110073474B (zh) | 锆前体、铪前体、钛前体及使用其沉积含第4族的膜 | |
| US10584039B2 (en) | Titanium-containing film forming compositions for vapor deposition of titanium-containing films | |
| US10023462B2 (en) | Niobium-Nitride film forming compositions and vapor deposition of Niobium-Nitride films | |
| KR102514164B1 (ko) | 지르코늄, 하프늄, 티타늄 전구체 및 이를 이용한 4족 함유막의 증착 | |
| KR102653070B1 (ko) | 망간-함유 막 형성 조성물, 이의 합성, 및 막 증착에서의 용도 | |
| KR102653603B1 (ko) | 코발트-함유 막 형성 조성물, 이의 합성, 및 막 증착에서의 용도 | |
| US20160083405A1 (en) | Tantalum- or vanadium-containing film forming compositions and vapor deposition of tantalum- or vanadium-containing films | |
| US20210221830A1 (en) | Methods for vapor deposition of group 4 transition metal-containing films using group 4 transition metal-containing films forming compositions | |
| US9790591B2 (en) | Titanium-containing film forming compositions for vapor deposition of titanium-containing films | |
| US9738971B2 (en) | Vapor deposition methods to form group 8-containing films |
Legal Events
| Date | Code | Title | Description |
|---|---|---|---|
| PA0105 | International application |
Patent event date: 20180712 Patent event code: PA01051R01D Comment text: International Patent Application |
|
| PG1501 | Laying open of application | ||
| A201 | Request for examination | ||
| PA0201 | Request for examination |
Patent event code: PA02012R01D Patent event date: 20211124 Comment text: Request for Examination of Application |
|
| E902 | Notification of reason for refusal | ||
| PE0902 | Notice of grounds for rejection |
Comment text: Notification of reason for refusal Patent event date: 20230720 Patent event code: PE09021S01D |
|
| E701 | Decision to grant or registration of patent right | ||
| PE0701 | Decision of registration |
Patent event code: PE07011S01D Comment text: Decision to Grant Registration Patent event date: 20240126 |
|
| GRNT | Written decision to grant | ||
| PR0701 | Registration of establishment |
Comment text: Registration of Establishment Patent event date: 20240327 Patent event code: PR07011E01D |
|
| PR1002 | Payment of registration fee |
Payment date: 20240327 End annual number: 3 Start annual number: 1 |
|
| PG1601 | Publication of registration |






