KR20180098247A - 가향된 니코틴 분말 - Google Patents

가향된 니코틴 분말 Download PDF

Info

Publication number
KR20180098247A
KR20180098247A KR1020187016365A KR20187016365A KR20180098247A KR 20180098247 A KR20180098247 A KR 20180098247A KR 1020187016365 A KR1020187016365 A KR 1020187016365A KR 20187016365 A KR20187016365 A KR 20187016365A KR 20180098247 A KR20180098247 A KR 20180098247A
Authority
KR
South Korea
Prior art keywords
nicotine
particles
powder
flavor
powder system
Prior art date
Legal status (The legal status is an assumption and is not a legal conclusion. Google has not performed a legal analysis and makes no representation as to the accuracy of the status listed.)
Ceased
Application number
KR1020187016365A
Other languages
English (en)
Inventor
제라드 주버
Original Assignee
필립모리스 프로덕츠 에스.에이.
Priority date (The priority date is an assumption and is not a legal conclusion. Google has not performed a legal analysis and makes no representation as to the accuracy of the date listed.)
Filing date
Publication date
Application filed by 필립모리스 프로덕츠 에스.에이. filed Critical 필립모리스 프로덕츠 에스.에이.
Priority to KR1020257012414A priority Critical patent/KR20250058060A/ko
Publication of KR20180098247A publication Critical patent/KR20180098247A/ko
Ceased legal-status Critical Current

Links

Images

Classifications

    • AHUMAN NECESSITIES
    • A61MEDICAL OR VETERINARY SCIENCE; HYGIENE
    • A61KPREPARATIONS FOR MEDICAL, DENTAL OR TOILETRY PURPOSES
    • A61K9/00Medicinal preparations characterised by special physical form
    • AHUMAN NECESSITIES
    • A61MEDICAL OR VETERINARY SCIENCE; HYGIENE
    • A61KPREPARATIONS FOR MEDICAL, DENTAL OR TOILETRY PURPOSES
    • A61K31/00Medicinal preparations containing organic active ingredients
    • A61K31/33Heterocyclic compounds
    • A61K31/395Heterocyclic compounds having nitrogen as a ring hetero atom, e.g. guanethidine or rifamycins
    • A61K31/435Heterocyclic compounds having nitrogen as a ring hetero atom, e.g. guanethidine or rifamycins having six-membered rings with one nitrogen as the only ring hetero atom
    • A61K31/465Nicotine; Derivatives thereof
    • AHUMAN NECESSITIES
    • A61MEDICAL OR VETERINARY SCIENCE; HYGIENE
    • A61KPREPARATIONS FOR MEDICAL, DENTAL OR TOILETRY PURPOSES
    • A61K47/00Medicinal preparations characterised by the non-active ingredients used, e.g. carriers or inert additives; Targeting or modifying agents chemically bound to the active ingredient
    • A61K47/06Organic compounds, e.g. natural or synthetic hydrocarbons, polyolefins, mineral oil, petrolatum or ozokerite
    • A61K47/08Organic compounds, e.g. natural or synthetic hydrocarbons, polyolefins, mineral oil, petrolatum or ozokerite containing oxygen, e.g. ethers, acetals, ketones, quinones, aldehydes, peroxides
    • A61K47/12Carboxylic acids; Salts or anhydrides thereof
    • AHUMAN NECESSITIES
    • A61MEDICAL OR VETERINARY SCIENCE; HYGIENE
    • A61KPREPARATIONS FOR MEDICAL, DENTAL OR TOILETRY PURPOSES
    • A61K47/00Medicinal preparations characterised by the non-active ingredients used, e.g. carriers or inert additives; Targeting or modifying agents chemically bound to the active ingredient
    • A61K47/06Organic compounds, e.g. natural or synthetic hydrocarbons, polyolefins, mineral oil, petrolatum or ozokerite
    • A61K47/16Organic compounds, e.g. natural or synthetic hydrocarbons, polyolefins, mineral oil, petrolatum or ozokerite containing nitrogen, e.g. nitro-, nitroso-, azo-compounds, nitriles, cyanates
    • A61K47/18Amines; Amides; Ureas; Quaternary ammonium compounds; Amino acids; Oligopeptides having up to five amino acids
    • AHUMAN NECESSITIES
    • A61MEDICAL OR VETERINARY SCIENCE; HYGIENE
    • A61KPREPARATIONS FOR MEDICAL, DENTAL OR TOILETRY PURPOSES
    • A61K47/00Medicinal preparations characterised by the non-active ingredients used, e.g. carriers or inert additives; Targeting or modifying agents chemically bound to the active ingredient
    • A61K47/06Organic compounds, e.g. natural or synthetic hydrocarbons, polyolefins, mineral oil, petrolatum or ozokerite
    • A61K47/16Organic compounds, e.g. natural or synthetic hydrocarbons, polyolefins, mineral oil, petrolatum or ozokerite containing nitrogen, e.g. nitro-, nitroso-, azo-compounds, nitriles, cyanates
    • A61K47/18Amines; Amides; Ureas; Quaternary ammonium compounds; Amino acids; Oligopeptides having up to five amino acids
    • A61K47/183Amino acids, e.g. glycine, EDTA or aspartame
    • AHUMAN NECESSITIES
    • A61MEDICAL OR VETERINARY SCIENCE; HYGIENE
    • A61KPREPARATIONS FOR MEDICAL, DENTAL OR TOILETRY PURPOSES
    • A61K9/00Medicinal preparations characterised by special physical form
    • A61K9/0012Galenical forms characterised by the site of application
    • A61K9/007Pulmonary tract; Aromatherapy
    • A61K9/0073Sprays or powders for inhalation; Aerolised or nebulised preparations generated by other means than thermal energy
    • A61K9/0075Sprays or powders for inhalation; Aerolised or nebulised preparations generated by other means than thermal energy for inhalation via a dry powder inhaler [DPI], e.g. comprising micronized drug mixed with lactose carrier particles
    • AHUMAN NECESSITIES
    • A61MEDICAL OR VETERINARY SCIENCE; HYGIENE
    • A61KPREPARATIONS FOR MEDICAL, DENTAL OR TOILETRY PURPOSES
    • A61K9/00Medicinal preparations characterised by special physical form
    • A61K9/14Particulate form, e.g. powders, Processes for size reducing of pure drugs or the resulting products, Pure drug nanoparticles
    • AHUMAN NECESSITIES
    • A61MEDICAL OR VETERINARY SCIENCE; HYGIENE
    • A61KPREPARATIONS FOR MEDICAL, DENTAL OR TOILETRY PURPOSES
    • A61K9/00Medicinal preparations characterised by special physical form
    • A61K9/14Particulate form, e.g. powders, Processes for size reducing of pure drugs or the resulting products, Pure drug nanoparticles
    • A61K9/141Intimate drug-carrier mixtures characterised by the carrier, e.g. ordered mixtures, adsorbates, solid solutions, eutectica, co-dried, co-solubilised, co-kneaded, co-milled, co-ground products, co-precipitates, co-evaporates, co-extrudates, co-melts; Drug nanoparticles with adsorbed surface modifiers
    • A61K9/145Intimate drug-carrier mixtures characterised by the carrier, e.g. ordered mixtures, adsorbates, solid solutions, eutectica, co-dried, co-solubilised, co-kneaded, co-milled, co-ground products, co-precipitates, co-evaporates, co-extrudates, co-melts; Drug nanoparticles with adsorbed surface modifiers with organic compounds
    • AHUMAN NECESSITIES
    • A61MEDICAL OR VETERINARY SCIENCE; HYGIENE
    • A61KPREPARATIONS FOR MEDICAL, DENTAL OR TOILETRY PURPOSES
    • A61K9/00Medicinal preparations characterised by special physical form
    • A61K9/48Preparations in capsules, e.g. of gelatin, of chocolate
    • A61K9/50Microcapsules having a gas, liquid or semi-solid filling; Solid microparticles or pellets surrounded by a distinct coating layer, e.g. coated microspheres, coated drug crystals
    • A61K9/5005Wall or coating material
    • A61K9/5015Organic compounds, e.g. fats, sugars
    • AHUMAN NECESSITIES
    • A61MEDICAL OR VETERINARY SCIENCE; HYGIENE
    • A61MDEVICES FOR INTRODUCING MEDIA INTO, OR ONTO, THE BODY; DEVICES FOR TRANSDUCING BODY MEDIA OR FOR TAKING MEDIA FROM THE BODY; DEVICES FOR PRODUCING OR ENDING SLEEP OR STUPOR
    • A61M15/00Inhalators
    • A61M15/0001Details of inhalators; Constructional features thereof
    • A61M15/0011Details of inhalators; Constructional features thereof with microcapsules, e.g. several in one dose
    • AHUMAN NECESSITIES
    • A61MEDICAL OR VETERINARY SCIENCE; HYGIENE
    • A61MDEVICES FOR INTRODUCING MEDIA INTO, OR ONTO, THE BODY; DEVICES FOR TRANSDUCING BODY MEDIA OR FOR TAKING MEDIA FROM THE BODY; DEVICES FOR PRODUCING OR ENDING SLEEP OR STUPOR
    • A61M15/00Inhalators
    • A61M15/0001Details of inhalators; Constructional features thereof
    • A61M15/002Details of inhalators; Constructional features thereof with air flow regulating means
    • AHUMAN NECESSITIES
    • A61MEDICAL OR VETERINARY SCIENCE; HYGIENE
    • A61MDEVICES FOR INTRODUCING MEDIA INTO, OR ONTO, THE BODY; DEVICES FOR TRANSDUCING BODY MEDIA OR FOR TAKING MEDIA FROM THE BODY; DEVICES FOR PRODUCING OR ENDING SLEEP OR STUPOR
    • A61M15/00Inhalators
    • A61M15/0001Details of inhalators; Constructional features thereof
    • A61M15/0021Mouthpieces therefor
    • AHUMAN NECESSITIES
    • A61MEDICAL OR VETERINARY SCIENCE; HYGIENE
    • A61MDEVICES FOR INTRODUCING MEDIA INTO, OR ONTO, THE BODY; DEVICES FOR TRANSDUCING BODY MEDIA OR FOR TAKING MEDIA FROM THE BODY; DEVICES FOR PRODUCING OR ENDING SLEEP OR STUPOR
    • A61M15/00Inhalators
    • A61M15/0028Inhalators using prepacked dosages, one for each application, e.g. capsules to be perforated or broken-up
    • A61M15/003Inhalators using prepacked dosages, one for each application, e.g. capsules to be perforated or broken-up using capsules, e.g. to be perforated or broken-up
    • AHUMAN NECESSITIES
    • A61MEDICAL OR VETERINARY SCIENCE; HYGIENE
    • A61MDEVICES FOR INTRODUCING MEDIA INTO, OR ONTO, THE BODY; DEVICES FOR TRANSDUCING BODY MEDIA OR FOR TAKING MEDIA FROM THE BODY; DEVICES FOR PRODUCING OR ENDING SLEEP OR STUPOR
    • A61M15/00Inhalators
    • A61M15/0028Inhalators using prepacked dosages, one for each application, e.g. capsules to be perforated or broken-up
    • A61M15/003Inhalators using prepacked dosages, one for each application, e.g. capsules to be perforated or broken-up using capsules, e.g. to be perforated or broken-up
    • A61M15/0033Details of the piercing or cutting means
    • A61M15/0035Piercing means
    • AHUMAN NECESSITIES
    • A61MEDICAL OR VETERINARY SCIENCE; HYGIENE
    • A61MDEVICES FOR INTRODUCING MEDIA INTO, OR ONTO, THE BODY; DEVICES FOR TRANSDUCING BODY MEDIA OR FOR TAKING MEDIA FROM THE BODY; DEVICES FOR PRODUCING OR ENDING SLEEP OR STUPOR
    • A61M15/00Inhalators
    • A61M15/0028Inhalators using prepacked dosages, one for each application, e.g. capsules to be perforated or broken-up
    • A61M15/0063Storages for pre-packed dosages
    • AHUMAN NECESSITIES
    • A61MEDICAL OR VETERINARY SCIENCE; HYGIENE
    • A61MDEVICES FOR INTRODUCING MEDIA INTO, OR ONTO, THE BODY; DEVICES FOR TRANSDUCING BODY MEDIA OR FOR TAKING MEDIA FROM THE BODY; DEVICES FOR PRODUCING OR ENDING SLEEP OR STUPOR
    • A61M15/00Inhalators
    • A61M15/06Inhaling appliances shaped like cigars, cigarettes or pipes
    • AHUMAN NECESSITIES
    • A61MEDICAL OR VETERINARY SCIENCE; HYGIENE
    • A61MDEVICES FOR INTRODUCING MEDIA INTO, OR ONTO, THE BODY; DEVICES FOR TRANSDUCING BODY MEDIA OR FOR TAKING MEDIA FROM THE BODY; DEVICES FOR PRODUCING OR ENDING SLEEP OR STUPOR
    • A61M2202/00Special media to be introduced, removed or treated
    • A61M2202/06Solids
    • A61M2202/064Powder
    • AHUMAN NECESSITIES
    • A61MEDICAL OR VETERINARY SCIENCE; HYGIENE
    • A61MDEVICES FOR INTRODUCING MEDIA INTO, OR ONTO, THE BODY; DEVICES FOR TRANSDUCING BODY MEDIA OR FOR TAKING MEDIA FROM THE BODY; DEVICES FOR PRODUCING OR ENDING SLEEP OR STUPOR
    • A61M2205/00General characteristics of the apparatus
    • A61M2205/33Controlling, regulating or measuring
    • A61M2205/3331Pressure; Flow
    • AHUMAN NECESSITIES
    • A61MEDICAL OR VETERINARY SCIENCE; HYGIENE
    • A61MDEVICES FOR INTRODUCING MEDIA INTO, OR ONTO, THE BODY; DEVICES FOR TRANSDUCING BODY MEDIA OR FOR TAKING MEDIA FROM THE BODY; DEVICES FOR PRODUCING OR ENDING SLEEP OR STUPOR
    • A61M2210/00Anatomical parts of the body
    • A61M2210/10Trunk
    • A61M2210/1025Respiratory system
    • A61M2210/1039Lungs

Landscapes

  • Health & Medical Sciences (AREA)
  • Engineering & Computer Science (AREA)
  • Life Sciences & Earth Sciences (AREA)
  • Veterinary Medicine (AREA)
  • General Health & Medical Sciences (AREA)
  • Public Health (AREA)
  • Animal Behavior & Ethology (AREA)
  • Chemical & Material Sciences (AREA)
  • Bioinformatics & Cheminformatics (AREA)
  • Medicinal Chemistry (AREA)
  • Pharmacology & Pharmacy (AREA)
  • Epidemiology (AREA)
  • Pulmonology (AREA)
  • Anesthesiology (AREA)
  • Biomedical Technology (AREA)
  • Heart & Thoracic Surgery (AREA)
  • Hematology (AREA)
  • Oil, Petroleum & Natural Gas (AREA)
  • General Chemical & Material Sciences (AREA)
  • Chemical Kinetics & Catalysis (AREA)
  • Proteomics, Peptides & Aminoacids (AREA)
  • Otolaryngology (AREA)
  • Pharmaceuticals Containing Other Organic And Inorganic Compounds (AREA)
  • Medicinal Preparation (AREA)
  • Acyclic And Carbocyclic Compounds In Medicinal Compositions (AREA)
  • Saccharide Compounds (AREA)
  • Plural Heterocyclic Compounds (AREA)
  • Seasonings (AREA)
  • Manufacture Of Tobacco Products (AREA)

Abstract

니코틴 분말 흡입기(10)는 마우스피스부(12)와 원위 단부(14) 사이에서 연장되는 바디부, 마우스피스부와 원위 단부 사이에서 연장되는 기류 채널(15), 기류 채널을 따라 배치된 니코틴 분말 수용부(20), 및 니코틴 분말 수용부 내에 배치된 분말 시스템을 포함한다. 분말 시스템은, 약 10㎛ 이하의 입자 크기를 갖고 니코틴을 포함하는 제1 복수의 입자 및 약 20㎛ 이상의 입자 크기를 갖고 향미를 포함하는 제2 복수의 입자를 포함한다. 제1 복수의 입자는 니코틴 피루빈산염, 니코틴 모노-피루빈산염, 니코틴 아스파르트산염 및 니코틴 젖산염으로 이루어지는 군에서 선택된 아미노산 또는 니코틴을 포함한다.

Description

가향된 니코틴 분말
본 개시는 니코틴을 포함하는 입자 및 향미를 포함하는 입자를 포함하는 분말 시스템에 관한 것으로, 여기서 향미 입자는 니코틴 입자보다 크다.
건조 분말 흡입기(DPI; dry powder inhalers)가 공지되어 있고, 약제를 포함하는 건조 분말을 에어로졸 형태로 환자의 기도에 흡입시켜 전달함으로써 호흡기 질환을 치료하는데 사용된다. 폐 속에 전달하기 위해서는 1㎛ 내지 5㎛ 범위의 입자가 바람직하다. 약제학적 건조 분말에서, 활성 약학 성분(API; active pharmaceutical ingredient)은 락토오스(lactose)와 같은 큰 담체 입자의 표면 상에서 덩어리질 수 있다. DPI는 API가 폐에 흡입되기 전에 이러한 덩어리를 분산, 분열 또는 분해되게 하는 복잡한 메커니즘으로 작동한다. 담체로서, 락토오스를 함유하는 약제약적 건조 분말은 20㎛ 내지 100㎛ 범위에 있을 수 있다.
DPI는 환자의 흡입력에 의존해 장치로부터 분말을 비말동반한 뒤 폐에 들어갈 정도로 작은 입자로 분말을 분해한다. 분말이 정확히 투여되고 완전히 분해되도록 하기 위해 충분히 높은 흡입 속도가 요구된다. 일반적으로, 분말의 불완전한 분해로 인해 다량의 API가 담체의 표면에 부착된 채로 남아 상부 기도에 침착된다. 기존의 DPI의 흡입 속도는 일반적으로 20~100리터/분(L/분)의 범위에 있다. 따라서, 기존의 DPI는 흡연 물품과 연관된 흡입 속도와 상이한 방식으로 사용자에게 건조 분말을 전달하는 데에만 적합하다.
니코틴 입자를 사용자의 폐에 공급하고 향미 입자를 바람직하게는 사용자의 입속이나 구강에 공급하는 안정적인 분말 시스템을 제공하는 것이 바람직할 것이다. 니코틴과 향미의 상대적인 입자 크기는 이들이 서로 조합되었을 때도 안정적으로 유지되는 것이 바람직하다. 이러한 안정적인 분말 시스템을 종래의 흡연 시스템의 흡입 속도나 기류 속도 이하의 흡입 속도 또는 기류 속도로 사용자에게 전달하는 것이 바람직하다.
분말 시스템은, 약 10㎛ 이하의 입자 크기를 갖는 제1 복수의 입자 및 약 20㎛ 이상의 입자 크기를 갖고 향미를 포함하는 제2 복수의 입자를 포함한다. 제1 복수의 입자는 니코틴 피루빈산염, 니코틴 모노-피루빈산염, 니코틴 아스파르트산염 및 니코틴 젖산염으로 이루어지는 군에서 선택된 아미노산 또는 니코틴을 포함한다. 분말 시스템의 입자는 바람직하게는 자유 유동한다.
상기 분말 시스템은 약 10㎛ 이하의 입자 크기를 갖는 입자에 포함된 분말 시스템의 니코틴을 약 40wt% 이상으로 가질 수 있다. 상기 분말 시스템은 약 10㎛ 이하의 입자 크기를 갖는 입자에 포함된 분말 시스템의 니코틴을 60wt% 이상으로 가질 수 있다. 상기 분말 시스템은 약 10㎛ 이하의 입자 크기를 갖는 입자에 포함된 분말 시스템의 니코틴을 약 80wt% 이상으로 가질 수 있다. 상기 분말 시스템은 약 10㎛ 이하의 입자 크기를 갖는 입자에 포함된 분말 시스템의 니코틴을 약 90wt% 이상으로 가질 수 있다.
상기 분말 시스템은 약 5㎛ 이하의 입자 크기를 갖는 입자에 포함된 분말 시스템의 니코틴을 약 40wt% 이상으로 가질 수 있다. 상기 분말 시스템은 약 5㎛ 이하의 입자 크기를 갖는 입자에 포함된 분말 시스템의 니코틴을 약 60wt% 이상으로 가질 수 있다. 상기 분말 시스템은 약 5㎛ 이하의 입자 크기를 갖는 입자에 포함된 분말 시스템의 니코틴을 약 80wt% 이상으로 가질 수 있다. 상기 분말 시스템은 약 5㎛ 이하의 입자 크기를 갖는 입자에 포함된 분말 시스템의 니코틴을 약 90wt% 이상으로 가질 수 있다.
상기 분말 시스템은 약 1㎛ 내지 약 3㎛ 이하의 입자 크기를 갖는 입자에 포함된 분말 시스템의 니코틴을 약 40wt% 이상으로 가질 수 있다. 상기 분말 시스템은 약 1㎛ 내지 약 3㎛ 이하의 입자 크기를 갖는 입자에 포함된 분말 시스템의 니코틴을 약 60wt% 이상으로 가질 수 있다. 상기 분말 시스템은 약 1㎛ 내지 약 3㎛ 이하의 입자 크기를 갖는 입자에 포함된 분말 시스템의 니코틴을 약 80wt% 이상으로 가질 수 있다. 상기 분말 시스템은 약 1㎛ 내지 약 3㎛ 이하의 입자 크기를 갖는 입자에 포함된 분말 시스템의 니코틴을 약 90wt% 이상으로 가질 수 있다.
상기 분말 시스템은 약 20㎛ 이하의 입자 크기를 갖는 입자에 포함된 분말 시스템의 향미를 약 60wt% 이상 또는 80wt% 이상으로 가질 수 있다. 상기 분말 시스템은 약 50㎛ 이상의 입자 크기를 갖는 입자에 포함된 분말 시스템의 향미를 약 60wt% 이상 또는 80wt% 이상으로 가질 수 있다. 상기 분말 시스템은 약 150㎛ 이하의 입자 크기를 갖는 입자에 포함된 분말 시스템의 향미를 약 60wt% 이상 또는 80wt% 이상으로 가질 수 있다.
상기 분말 시스템은 제1 복수의 입자의 약 50wt% 내지 약 99wt%를 포함할 수 있다. 상기 분말 시스템은 제1 복수의 입자의 약 1wt% 내지 약 50wt%를 포함할 수 있다.
본원에 명시된 입자의 크기는 바람직하게는 입자의 공기 역학적 직경을 지칭한다. 분말 시스템의 공기역학적 직경은 바람직하게는 캐스케이드 임팩터(cascade impactor)로 측정된다.
유리하게는, 본원에 기술된 분말 시스템은 사용자의 폐에 선택적으로 니코틴을 전달하고 사용자의 입에 선택적으로 향미를 전달하는 안정적이고 자유 유동하는 분말 시스템을 제공한다. 유리하게는, 본원에 기술된 분말 시스템은 바람직하게는 니코틴 입자들과 향미 입자들이 조합되었을 때에도 각각의 분말 성분의 안정적인 상대 입자 크기를 가진다. 유리하게는, 이러한 분말 시스템을 사용하는 흡입기는 분말 입자의 크기를 감소시킬 필요가 없을 수 있고, 통상의 흡연 시스템의 흡입 속도 또는 기류 속도 이하인 흡입 속도 또는 기류 속도로 분말 시스템을 전달할 수 있다.
용어 "니코틴"은 유리 염기(free-base) 니코틴, 니코틴 염 등과 같은 니코틴 및 니코틴 유도체를 지칭한다.
용어 "향미제" 또는 "향미"는 니코틴이 소비되거나 흡입되는 동안 니코틴의 맛이나 향 특성을 변형시키고 변형시키도록 의도된 감각 자극성(organoleptic) 화합물, 조성물, 또는 재료를 지칭한다. 용어 "향미제" 또는 "향미"는 바람직하게는 미국 향료 협회(Flavor & Extract Manufacturers Association, FEMA)의 향미 성분 라이브러리(Flavor Ingredient Library) 및, 특히 GRAS 향미 물질(Flavoring Substances) 문헌 3 내지 27에 개시된 화합물을 의미한다. 이들 FEMA 향미 성분 라이브러리 문헌은 다음을 포함한다: GRAS Flavoring Substances 3, Hall, R.L. & Oser, B.L., Food Technology, February 1965 pg 151~197; GRAS Flavoring Substances 4, Hall, R.L. & Oser, B.L., Food Technology, Vol. 24, No. 5 pg 25~34; GRAS Substances 5, Hall, R.L. & Oser, B.L., Food Technology, 1972 pg 25~37; GRAS Substances 6, Oser, B.L. & R.A. Ford, Food Technology, Vol. 27, No. 1, 1973 pg 64~67; GRAS Substances 7, Oser, B.L. & R.A. Ford, Food Technology, Vol. 27, No. 11, 1973 pg 56~57; GRAS Substances 8, Oser, B.L. & R.A. Ford, Food Technology, September 1974 pg 76~80; GRAS Substances 9, Oser, B.L. & R.A. Ford, Food Technology, August 1975 pg 70~72; GRAS Substances 10, Oser, B.L. & R.A. Ford, Food Technology, January 1977 pg 65~74; GRAS Substances 11, Oser, B.L. & R.A. Ford, Food Technology, February 1978 pg 60~70; GRAS Substances 12, Oser, B.L. & R.A. Ford, Food Technology, July 1979 pg 65-73; GRAS Substances 13, Oser, B.L., 외., Food Technology, October 1984 pg 66~89; GRAS Substances 14, Oser, B.L., 외., Food Technology, November 1985 pg 108~117; GRAS Substances 15, Oser, B.L., 외., Food Technology, February 1990 pg 78~86; GRAS Substances 16, Smith, R.L. & Ford, R.A., Food Technology, June 1993 pg 104~117; GRAS Flavoring Substances 17, Smith, 외., Food Technology, October 1996 pg 72~81; GRAS Flavoring Substances 18, Newberne, P., 외., Food Technology, Vol. 52, No. 9, September 1998 pg 68~92; GRAS Flavoring Substances 19, Newberne, P., 외., Food Technology, Vol. 54, No. 6, June 2000 pg 66~84; GRAS Flavoring Substances 20, Smith, R.L., 외., Food Technology, Vol. 55, No. 12, December 2001 pg 34~55; GRAS Flavoring Substances 21, Smith, R.L., 외., Food Technology, Vol. 57, No. 5, May 2003 pg 46~59; GRAS Flavoring Substances 22, Smith, R.L., 외., Food Technology, August 2005 pg 24~62; GRAS Flavoring Substances 23, Waddell, W.J., 외., Food Technology, August 2007 pg 22~48; GRAS Flavoring Substances 24, Smith, R.L., 외., Food Technology, June 2009 pg 46~105; GRAS Flavoring Substances 25, Smith, R.L., 외., Food Technology, July 2011 pg 44~75; GRAS Flavoring Substances 26, Marnett, S.M., 외., Food Technology, August 2013 pg 38~56; and GRAS flavoring substances 27 S.M. Cohen 외., Food Technology Aug. 2015 pg. 40~59. 본 개시의 목적을 위해, 니코틴은 향미제 또는 향미로서 간주되지 않는다.
본 개시는 니코틴 및 향미를 포함하는 입자를 포함하는 입자를 포함하는 분말 시스템에 관한 것이다. 분말 시스템은 사용자의 폐에 우선적으로 니코틴 입자를 공급하고 사용자의 입속이나 구강에 향미 입자를 우선적으로 공급한다. 니코틴을 포함하는 입자는 니코틴 피루빈산염, 니코틴 모노-피루빈산염, 니코틴 아스파르트산염 및 니코틴 젖산염으로 이루어지는 군에서 선택된 아미노산 또는 니코틴을 더 포함한다. 니코틴을 포함하는 입자 및 향미를 포함하는 입자의 상대 입자 크기는 이들이 서로 조합된 때에도 안정적으로 유지된다.
니코틴을 포함하는 입자는 사용자의 폐 속에 우선적으로 흡입 전달되기 위한 임의의 유용한 크기 분포를 가질 수 있다. 분말 시스템은 약 10㎛ 이하의 입자 크기를 갖는 입자에 포함된 분말 시스템의 니코틴을 약 40wt% 이상, 60wt% 이상, 또는 약 80wt% 이상으로 가질 수 있다. 분말 시스템은 약 5㎛ 이하의 입자 크기를 갖는 입자에 포함된 분말 시스템의 니코틴을 약 40wt% 이상, 60wt% 이상, 또는 약 80wt% 이상으로 가질 수 있다. 분말 시스템은 약 1㎛ 내지 약 3㎛ 범위의 입자 크기를 갖는 입자에 포함된 분말 시스템의 니코틴을 약 40wt% 이상, 60wt% 이상, 또는 약 80wt% 이상으로 가질 수 있다.
바람직하게는, 니코틴은 약학적으로 허용 가능한 유리 염기 니코틴, 니코틴 염 또는 니코틴 염 수화물일 수 있다. 유용한 니코틴 염 또는 니코틴 염 수화물은, 예를 들어, 니코틴 피루빈산염, 니코틴 시트르산염, 니코틴 아스파르트산염, 니코틴 젖산염, 니코틴 중주석산염(nicotine bitartrate), 니코틴 살리실산염(nicotine salicylate), 니코틴 푸마르산염(nicotine fumarate), 니코틴 모노-피루빈산염(nicotine mono-pyruvate), 니코틴 글루탐산염(nicotine glutamate) 또는 니코틴 염산염(nicotine hydrochloride)을 포함한다. 바람직한 니코틴 염 또는 니코틴 염 수화물은 니코틴 피루빈산염, 니코틴 모노-피루빈산염, 니코틴 아스파르트산염 또는 니코틴 젖산염을 포함한다.
니코틴과 결합되어 염 또는 염 수화물을 형성하는 화합물은 예상 약리학적 효과에 기초하여 선택될 수 있다. 예를 들어: 니코틴 살리실산염은 항염제 또는 진통제로서 발열 완화를 위해 투여될 수 있으며; 니코틴 푸마르산염은 다발성 경화증을 치료하기 위해 투여될 수 있으며; 니코틴 모노-피루빈산염은 만성 폐쇄성 폐질환 (COPD)을 치료하거나 체중 감량를 위해 투여될 수 있다.
니코틴을 포함하는 입자는 아미노산을 포함할 수 있다. 아미노산은 니코틴 상에 배치되거나 니코틴을 포함하는 입자의 적어도 일부에 코팅될 수 있다. 바람직하게는, 아미노산은 L-류신과 같은 류신일 수 있다. L-류신과 같은 아미노산에 니코틴을 포함하는 입자를 제공하면, 특히 아미노산으로 니코틴을 코팅하면 니코틴을 포함하는 입자의 점착력을 감소시킬 수 있고, 니코틴 입자들간의 인력(attraction)을 감소시킬 수 있으므로 니코틴 입자의 덩어리짐을 감소시킬 수 있다. 마찬가지로, 향미를 포함하는 입자의 점착력 또한 감소될 수 있으므로 니코틴 입자가 향미 입자와 덩어리지는 것이 또한 감소된다. 본원에 기술된 분말 시스템은 자유 유동 재료일 수 있고, 니코틴 입자들과 향미 입자들이 조합되었을 때에도 각각의 분말 성분의 안정적인 상대 입자 크기를 가질 수 있다.
바람직하게는, 니코틴은 니코틴 염 입자가 코팅된 입자인 표면 개질된 니코틴 염일 수 있다. 바람직한 코팅 재료는 L-류신이다. 니코틴을 포함하는 특히 유용한 입자는 L-류신 코팅된 니코틴 중주석산염 또는 L-류신 코팅된 니코틴 피루빈산염 또는 L-류신 코팅된 니코틴 모노-피루빈산염 또는 L-류신 코팅된 니코틴 아스파르트산염 또는 L-류신 코팅된 니코틴 젖산염 중 하나 이상이다.
약 10㎛ 이하의 입자 크기를 갖는 입자는 니코틴의 적어도 약 20wt%, 니코틴의 적어도 약 30wt%, 니코틴의 적어도 약 40wt%, 또는 니코틴의 적어도 약 50wt%를 가질 수 있다. 약 10㎛ 이하의 입자 크기를 갖는 입자는 니코틴을 니코틴의 약 20wt% 내지 약 100wt% 범위, 또는 약 30wt% 내지 약 90wt% 범위로 포함할 수 있다.
약 5㎛ 이하의 입자 크기를 갖는 입자는 니코틴을 적어도 약 20wt%, 적어도 약 30wt%, 적어도 약 40wt%, 또는 적어도 약 50wt%로 가질 수 있다. 약 5㎛ 이하의 입자 크기를 갖는 입자는 니코틴을 니코틴의 약 20wt% 내지 약 100wt% 범위, 또는 약 30wt% 내지 약 90wt% 범위로 포함할 수 있다.
향미를 포함하는 입자는 사용자의 입속이나 구강에 우선적으로 흡입 전달되기 위한 임의의 유용한 크기 분포를 가질 수 있다.
분말 시스템은 약 20㎛ 이상의 입자 크기를 갖는 입자에 포함된 분말 시스템의 향미의 적어도 약 40wt%, 적어도 약 60wt%, 또는 적어도 약 80wt%를 가질 수 있다. 분말 시스템은 약 50㎛ 이상의 입자 크기를 갖는 입자에 포함된 분말 시스템의 향미의 적어도 약 40wt%, 적어도 약 60wt%, 또는 적어도 약 80wt%를 가질 수 있다. 분말 시스템은 약 50㎛ 내지 약 150㎛ 범위의 입자 크기를 갖는 입자에 포함된 분말 시스템의 향미의 적어도 약 40wt%, 적어도 약 60wt%, 또는 적어도 약 80wt%를 가질 수 있다.
향미제 또는 향미는 (약 22℃의 실온 및 1기압에서) 고체 향미로서 제공될 수 있고, 향미 제제, 향미 함유 재료 및 향미 전구체를 포함할 수 있다. 향미제는 하나 이상의 천연 향미제, 하나 이상의 합성 향미제, 또는 천연과 합성 향미제의 조합을 포함할 수 있다. 본원에 기술된 향미제는 니코틴이 소비되거나 흡입되는 동안 니코틴의 맛이나 향 특성을 변화시키도록 선택되어 사용되거나 변화시키도록 의도된 감각 자극성 화합물, 조성물, 또는 재료이다.
향미제 또는 향미는 천연 또는 합성 유래의 다양한 향미 재료를 지칭한다. 이들은 단일 화합물 및 혼합물을 포함한다. 바람직하게는, 향미 또는 향미제는 니코틴이 소모되는 동안 니코틴에 대한 경험을 향상시키는 향 특성을 갖는다. 향미는 가연성 흡연 물품을 흡연함으로써 얻는 것과 유사한 경험을 제공하도록 선택될 수 있다. 예를 들어, 향미 또는 향미제는 복잡성 및 입 속 충만함과 같은 향미 특성을 향상시킬 수 있다. 복잡성은 단일 감각 속성을 지배하지 않고 더 풍부한 향미의 전체적인 균형으로서 일반적으로 알려져 있다. 입 속 충만함은 소비자의 입과 목구멍에서의 풍부함과 부피에 대한 지각으로서 설명된다.
적절한 향미는 담배, 연기, (페퍼민트 및 스피어민트와 같은) 멘톨, 민트, 초콜릿, 감초, 시트러스 및 다른 과일 향미, 감마 옥타락톤(gamma octalactone), 바닐린, 에틸 바닐린, 구강 청정제 향미, 시나몬과 같은 향신료 향미, 살리실산메틸(methyl salicylate), 리날롤(linalool), 베르가못 오일(bergamot oil), 제라늄 오일(geranium oil), 레몬 오일, 및 생강 오일 등을 포함하되 이들로 한정되지 않는다.
다른 적절한 향미는 산, 알코올, 에스테르, 알데히드, 케톤, 피라진, 이들의 조합 또는 블렌드 등으로 이루어지는 군에서 선택된 향미 화합물을 포함할 수 있다. 적절한 향미 화합물은, 예를 들어, 페닐아세트산, 솔라논(solanone), 메가스티그마트리에논(megastigmatrienone), 2-헵타논(2-heptanone), 벤질알코올, 시스-3-헥세닐 아세테이트(cis-3-hexenyl acetate), 발레르산, 발레르 알데히드, 에스테르, 테르펜(terpene), 세스퀴테르펜(sesquiterpene), 누트카톤(nootkatone), 말톨(maltol), 다마스케논(damascenone), 피라진, 락톤, 아네톨, 이소-에스 발레르산(iso-s valeric acid), 이들의 조합 등으로 이루어지는 군에서 선택될 수 있다.
향미에 대한 추가적인 특정 실시예들은 현 문헌에서 찾을 수 있고, 냄새 또는 맛을 제품에 부여하는 향미 분야의 당업자에게 공지되어 있다.
향미제는 높은 효능의 향미제일 수 있고, 흡입 기류 내에서 200ppm 미만의 레벨로 검출되도록 사용될 수 있다. 이러한 향미제에 대한 실시예는 주 담배 아로마 화합물, 예컨대 베타-다마스세논(beta-damascenone), 2-에틸-3,5-디메틸피라진(2-ethyl-3,5-dimethylpyrazine), 페닐아세트알데히드(phenylacetaldehyde), 구아야콜(guaiacol), 및 퓨라네올(furaneol)이다. 다른 향미제는 보다 높은 농도 수준에서만 인간에 의해서 감지될 수 있다. 본원에서 더 낮은 효능의 향미제로 지칭되는 이러한 향미제는 흡입 기류 내로 방출되는 향미제의 양보다 훨씬 더 많은 수준으로 일반적으로 사용된다. 적절한 더 낮은 효능의 향미제의 예는 천연 또는 합성 멘톨, 페퍼민트, 스피어민트, 커피, 차, (계피, 정향, 생강과 같은) 향신료, 코코아, 바닐라, 과일 향, 초콜릿, 유칼립투스, 제라늄, 유제놀 및 리날로올을 포함하되 이들로 한정되지 않는다.
향미를 포함하는 입자는 점착력이나 표면 에너지 및 덩어리짐을 감소시키기 위한 화합물을 포함할 수 있다. 향미 입자는 점착 감소 화합물로 표면 개질되어 코팅된 향미 입자를 형성할 수 있다. 하나의 바람직한 점착 감소 화합물은 스테아린산 마그네슘일 수 있다. 스테아린산 마그네슘과 같은 점착 감소 화합물에 향미 입자를 제공하면, 특히 향미 화합물을 코팅하면, 향미를 포함하는 입자의 점착력을 감소시킬 수 있고 향미 입자들간의 인력을 감소시킴으로써 향미 입자의 덩어리짐을 감소킬 수 있다. 따라서, 향미 입자가 니코틴 입자와 덩어리지는 것 또한 감소될 수 있다. 따라서, 본원에 기술된 분말 시스템은 니코틴 입자들과 향미 입자들이 조합되었을 때에도 니코틴을 포함하는 입자 및 향미를 포함하는 입자의 안정적인 상대 입자 크기를 가질 수 있다. 분말 시스템은 바람직하게는 자유 유동한다.
향미 입자는 향미의 적어도 약 10wt%, 또는 향미의 적어도 약 20wt%, 또는 향미의 적어도 약 30wt%, 또는 향미의 적어도 약 40wt%를 가질 수 있다. 향미 입자는 향미의 약 10wt% 내지 약 100wt% 범위, 또는 약 30wt% 내지 약 90wt% 범위로 향미를 포함할 수 있다.
건조 분말 흡입을 위한 종래의 제형은 일반적으로 활성 입자의 유체화를 증가시키는 역할을 하는 담체 입자를 함유하는데, 이는 활성 입자가 흡입기를 통한 단순한 기류에 영향을 받기에는 너무 작을 수 있기 때문이다. 이러한 담체 입자들은 일반적으로 약 50㎛보다 큰 입자 크기를 갖는 락토오스나 만니톨과 같은 당류이다. 담체 입자는 제형 내에서 희석제나 증량제로서 작용하여 투여량 균일성을 개선하는데 사용된다. 락토오스나 마니톨과 같은 담체 입자는 본 개시에서 향미제 또는 향미 재료로서 간주되지 않는다.
본원에 기술된 분말 시스템은 담체가 없거나 락토오스나 만니톨과 같은 당류가 실질적으로 없을 수 있다. 담체가 없거나 락토오스나 만니톨과 같은 당류가 실질적으로 없으면 일반적인 흡연 시스템의 흡입 속도 또는 기류 속도와 유사한 흡입 속도 또는 기류 속도로 니코틴이 흡입되어 사용자의 폐에 전달되도록 할 수 있다. 또한, 니코틴에는 담체가 없거나 락토오스나 만니톨과 같은 당류가 실질적으로 없으므로, 흡입기의 기류 경로는 간단한 기하학적 구조 또는 간단한 구성을 가질 수 있다.
분말 시스템은 니코틴을 포함하는 입자 및 향미를 포함하는 입자를 포함한다. 니코틴 입자 및 향미 입자는 하나의 캡슐 내에서 조합될 수 있다. 전술한 바와 같이, 니코틴 입자 및 향미 입자는 각각 감소된 점착력을 가질 수 있어, 니코틴 입자와 향미 입자가 조합되었을 때 이들의 입자 크기가 실질적으로 변하지 않는 안정적인 분말 제제가 된다. 분말 시스템은 바람직하게는 자유 유동한다.
대안적으로, 분말 시스템은 니코틴 캡슐 또는 제1 캡슐에 담긴 니코틴을 포함하는 입자 및 향미 캡슐 또는 제2 캡슐에 담긴 향미를 포함하는 입자를 포함할 수 있다. 니코틴 캡슐과 별도의 향미 캡슐은 기류 중에 병렬 배치 또는 병렬 유체 연결되거나, 기류 중에 직렬 배치 또는 직렬 유체 연결될 수 있다.
니코틴을 포함하는 입자 및 향미를 포함하는 입자는, 향미가 니코틴과 함께 소비될 때 사용자에 의해 향미가 검출하도록 임의의 유용한 상대적인 양으로 조합될 수 있다. 니코틴을 포함하는 제1 복수의 입자는 분말 시스템 총 중량의 약 50wt% 내지 약 99wt%일 수 있고, 향미를 포함하는 제2 복수의 입자는 분말 시스템 총 중량의 약 50wt% 내지 약 1wt%일 수 있다. 바람직하게는, 니코틴 입자 및 향미 입자는 분말 시스템 총 중량의 적어도 약 90wt%, 또는 적어도 약 95wt%, 또는 적어도 약 99wt%, 또는 100wt%를 형성한다.
흡입기의 바디부를 통하는 기류 경로 또는 기류 채널은 단순한 경로 또는 채널일 수 있다. 바람직하게는, 흡입기 바디부를 통하는 기류 경로 또는 기류 채널은 흡입기의 길이 방향 축에 평행할 수 있고, 흡입기 바디부의 전체 길이를 따라 선형으로 연장될 수 있다. 흡입기는 하나의 캡슐 수용부가 내부에 배치된 단 하나의 주 기류 채널을 가질 수 있다. 대안적으로, 흡입기는 동일 선상에 있거나 평행한 2개 또는 3개의 기류 채널을 포함할 수 있다. 기류 채널 중 1개, 2개 또는 3개 모두가 내부에 배치된 캡슐 수용부를 포함할 수 있다. 흡입기는 니코틴 입자와 향미 입자를 동시에 전달하도록 구성될 수 있다.
바람직하게는, 니코틴을 포함하는 입자 및 향미를 포함하는 입자는 서로 혼합되어 하나의 캡슐 내에 있는 건조 분말일 수 있다. 대안적으로, 향미를 포함하는 입자는 흡입되기 전에 또는 흡입기의 기류 채널을 통해 전달되기 전에 니코틴을 포함하는 입자로부터 분리될 수 있다. 니코틴을 포함하는 입자 및 향미를 포함하는 입자는 기류 중에 직렬로 배치되어 단일 기류 채널 내에 배치될 수 있고, 향미를 포함하는 입자는 니코틴을 포함하는 입자의 상류 또는 하류에 있을 수 있다. 대안적으로, 니코틴을 포함하는 입자 및 향미를 포함하는 입자는 기류 중에 병렬로 배치될 수 있고, 니코틴을 포함하는 입자와 향미를 포함하는 입자가 조합되어 니코틴 수용부 및 향미 수용부 모두의 하류에 혼합물을 형성하는 한 쌍의 기류 채널 내에 배치될 수 있다.
니코틴 수용부는 니코틴 및 (캡슐 내에서 조합될 때) 선택적으로 향미가 담겨있는 캡슐을 수용할 수 있다. 캡슐에는 니코틴 및 선택적으로 향미의 소정의 양 또는 투여량이 담길 수 있다. 캡슐에는 니코틴을 적어도 2회 흡입 또는 "퍼핑"할 수 있게 하거나, 니코틴을 적어도 약 5회 흡입 또는 "퍼핑"할 수 있게 하거나, 니코틴을 적어도 약 10회 흡입 또는 "퍼핑"할 수 있게 하는 충분한 니코틴이 담길 수 있다. 바람직하게는, 캡슐에는 니코틴을 약 5회 내지 50회 흡입 또는 "퍼핑"할 수 있게 하거나, 니코틴을 약 10회 내지 30회 흡입 또는 "퍼핑"할 수 있게 하는 충분한 니코틴이 담길 수 있다. 니코틴을 흡입 또는 "퍼핑"할 때마다 니코틴을 포함하는 입자의 약 0.1mg 내지 약 3mg이 사용자의 폐에 전달되거나, 약 0.2mg 내지 약 2mg의 니코틴이 사용자의 폐에 전달되거나, 약 1mg의 니코틴이 사용자의 폐에 전달될 수 있다. 바람직하게는, 약 50㎍ 내지 약 150㎍의 니코틴이 "퍼핑"할 때마다 사용자의 폐에 전달된다.
캡슐에는 적어도 약 5mg의 니코틴 또는 적어도 약 10mg의 니코틴이 유지되거나 담길 수 있다. 캡슐에는 약 30mg 미만의 니코틴 또는 약 25mg 미만의 니코틴, 또는 20mg 미만의 니코틴이 유지되거나 담길 수 있다. 바람직하게는, 캡슐에는 약 5mg 내지 약 30mg의 니코틴 또는 약 10mg 내지 약 20mg의 니코틴이 유지되거나 담긴다.
향미를 포함하는 입자가 니코틴을 포함하는 입자와 캡슐 내에서 블렌딩되거나 조합될 때, 향미는 사용자에게 전달되는 각각의 흡입 또는 "퍼핑"마다 원하는 향미를 제공하는 제공하는 양으로 존재한다.
캡슐은 흡입기에 의해 피어싱되거나 천공될 수 있는 기밀한 재료로 형성될 수 있다. 캡슐은 캡슐로부터 오염물을 제거하는 역할을 하지만, 사용하는 동안 흡입기에 의해 피어싱되거나 천공될 수 있는 금속 재료 또는 중합체 재료로 형성될 수 있다.
니코틴 분말 흡입기는 마우스피스와 원위 단부 사이에서 연장되는 바디부 및 마우스피스부와 원위 단부 사이에서 연장되는 기류 채널을 포함한다. 니코틴 분말 수용부는 기류 채널을 따라 배치되고, 본원에 기술된 분말 시스템은 니코틴 분말 수용부 내에 배치된다.
분말 시스템은 간단한 흡입기 구조를 통해 통상적인 흡연 시스템의 흡입 속도 또는 기류 속도 이하인 흡입 속도 또는 기류 속도로 전달될 수 있다.
니코틴을 사용자의 폐에 흡입시키는 방법은 본원에 기술된 니코틴 분말 흡입기를 통해 분당 2리터 미만의 유속으로 공기를 흡입하여 니코틴을 사용자의 폐에 전달하는 단계를 포함한다. 향미는 사용자의 폐에 전달되지 않을 수 있다.
흡입기는 캡슐을 천공하도록 구성된 천공 요소 또는 한 쌍의 대향 천공 요소를 포함할 수 있다. 천공 요소 또는 한 쌍의 대향 천공 요소는 향미 분말 캡슐을 니코틴 분말 수용부에 로딩하거나 흡입기 바디부 상의 작동기의 요구에 따라 니코틴 분말의 캡슐과 결합될 수 있다.
향미를 포함하는 입자는 니코틴을 포함하는 입자로부터 분리될 수 있고, 향미를 포함하는 입자는 별도의 캡슐에 담길 수 있다. 캡슐은 흡입기에 의해 천공되거나 뚫릴 수 있는 기밀한 재료로 형성될 수 있다. 캡슐은 캡슐로부터 오염물을 제거하는 역할을 하지만, 사용하는 동안 흡입기에 의해 천공되거나 뚫릴 수 있는 금속 재료 또는 중합체 재료로 형성될 수 있다.
본 발명에 따른 니코틴 흡입기는 약 5L/분 미만 또는 약 3L/분 미만 또는 약 2L/분 미만 또는 약 1.6L/분 미만의 유속을 사용해 작동될 수 있다. 바람직하게는, 유속은 약 1L/분 내지 약 3L/분, 또는 약 1.5L/분 내지 약 2.5L/분 범위이다. 더 바람직하게는, 흡입 속도 또는 유속은 캐나다 보건국 흡연 체제(Health Canada smoking regime)와 유사한 약 1.6L/분이다. 반대로, 종래의 DPI는 약 20~100L/분 이상의 유속으로 작동하며, 기류를 촉진하여 이러한 기류 속도를 달성하기 위해 에너지 공급원 또는 추진체를 종종 필요로 한다.
본원에서 설명된 니코틴 흡입기는 종래의 궐련을 흡연하거나 전자 담배를 베이핑하듯이 소비자에 의해 사용될 수 있다. 이러한 흡연 또는 베이핑은 두 단계를 특징으로 한다: 소비자가 원하는 니코틴의 총량이 담긴 작은 부피가 구강 내로 흡인되는 동안인 제1 단계, 및 니코틴을 포함하는 이러한 작은 부피가 신선한 공기에 의해 더 희석되고 폐 속 더 깊숙이 흡인되는 동안인 제2 단계가 이어진다. 모든 단계는 소비자에 의해 제어된다. 제1 흡입 단계 동안 소비자는 흡입할 니코틴의 양을 결정할 수 있다. 제2 단계 동안, 소비자는 폐속 깊숙히 흡인될 제1 부피를 희석하기 위한 부피를 결정하여, 기도 상피 표면에 전달되는 활성제의 농도를 극대화할 수 있다. 이러한 흡연 메커니즘은 때때로 "퍼핑-흡입-배출"으로 불린다.
본원에서 사용되는 모든 과학적 및 기술적 용어는 달리 특정되지 않는 한 당업계에서 공통적으로 사용되는 의미를 갖는다. 본원에서 제공된 정의는 본원에서 빈번하게 사용되는 특정 용어의 이해를 용이하게 하기 위한 것이다.
용어 "상류" 및 "하류"는 흡입 기류가 흡입기의 바디부를 통해 원위 단부로부터 마우스피스부에 흡인될 때 흡입 기류의 방향과 관련하여 설명된 흡입기 요소들의 상대적인 위치를 지칭한다.
본원에서 사용되는 바와 같이, 단수 형태("a", "an", 및 "the")는 그 내용을 명확하게 달리 기술하지 않는 한, 복수의 대상물을 갖는 구현예를 포함한다.
본원에서 사용되는 바와 같이, "또는"은 그 내용을 명확하게 달리 기술하지 않는 한 일반적으로 "및/또는"을 포함하는 의미로 사용된다. 용어 "및/또는"은 열거된 요소들 중 하나 또는 전부, 또는 열거된 요소들 중 임의의 2개 이상의 조합을 의미한다.
본원에서 사용되는 바와 같이, "갖는(have, having)", "포함하는(include, including, comprise, comprising)" 등은 개방형의 의미로 사용되며, 일반적으로 "포함하되 이에 한정되지 않는" 것을 의미한다. "~로 본질적으로 이루어지는", "~로 이루어지는" 등은 "포함하는" 등에 포함된다는 것을 이해할 것이다.
단어 "바람직한" 및 "바람직하게"는 특정한 상황 하에서 특정한 이점을 제공할 수 있는 본 발명의 구현예를 지칭한다. 그러나, 동일하거나 다른 상황 하에서는 다른 구현예도 바람직할 수 있다. 또한, 하나 이상의 바람직한 구현예의 설명은 다른 구현예가 유용하지 않음을 암시하는 것이 아니며, 청구항을 포함하는 본 개시의 범위로부터 다른 구현예를 배제하도록 의도되지 않는다.
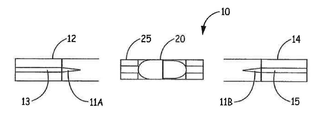
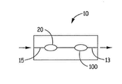
도1 내지 도 5는 예시적인 니코틴 분말 흡입기(10)의 개략도이다. 개략도는 축적에 반드시 일치하지는 않으며, 제한이 아닌 예시의 목적으로 제공된다. 도면은 본 개시 내용에 기술되는 하나 이상의 양태를 도시한다. 그러나, 도면에 도시되지 않은 다른 양태들이 본 발명의 범주 및 사상에 속한다는 것을 이해할 것이다.
이제 도 1 및 도 2를 참조하면, 니코틴 분말 흡입기(10)는 마우스피스부(12) 및 원위 단부(14) 및 그 사이에 배치된 니코틴 캡슐(20)을 포함한다. 천공 요소(11a 및 11b)는 캡슐(20)을 천공하여 마우스피스부(12)의 기류 채널(13)을 원위 단부(14)의 기류 채널(15)과 유체 연결시키도록 구성된다. 기류 채널은 니코틴 분말 흡입기(10)의 길이를 따라 선형으로 연장된다. 도 2는 재사용할 수 있는 수용부(25) 내의 캡슐(20)을 더 도시하고 있다.
도 3 내지 도 5는 흡입기(10)의 개략도를 도시한다. 도 3은 니코틴 입자와 향미 입자 모두가 담긴 하나의 캡슐(120) 및 하나의 기류 경로를 갖는 니코틴 흡입기(10)를 도시한다. 기류 경로는 상류부(15)와 하류부(13)를 포함한다.
도 4는 단일 기류 경로를 갖는 니코틴 흡입기(10), 및 향미 입자가 담긴 향미제 캡슐(100)과 기류 내에서 직렬로 배치된 니코틴 입자가 담긴 니코틴 캡슐(20)을 도시한다. 향미제 캡슐(100)은 니코틴 캡슐(20)에 대해 전술한 바와 같이 천공될 수 있다. 기류 경로는 상류부(15)와 하류부(13)를 포함한다.
도 5는 평행한 기류 경로를 갖는 니코틴 흡입기(10), 및 향미 입자가 담긴 향미제 캡슐(100)과 기류 내에서 병렬로 배치된 니코틴 입자가 담긴 니코틴 캡슐(20)을 도시한다. 향미제 캡슐(100)은 니코틴 캡슐(20)에 대해 전술한 바와 같이 천공될 수 있다. 기류 경로는 상류부(15)와 하류부(13)를 포함한다.

Claims (18)

  1. 분말 시스템으로서,
    약 10㎛ 이하의 입자 크기를 가지고 니코틴 및 아미노산을 포함하는 제1 복수의 입자; 및
    약 20㎛ 이상의 입자 크기를 가지고 향미를 포함하는 제2 복수의 입자를 포함하는 분말 시스템.
  2. 분말 시스템으로서,
    약 10㎛ 이하의 입자 크기를 가지고 니코틴 피루빈산염, 니코틴 모노-피루빈산염, 니코틴 아스파르트산염 및 니코틴 젖산염으로 이루어지는 군에서 선택된 니코틴을 포함하는 제1 복수의 입자; 및
    약 20㎛ 이상의 입자 크기를 가지고 향미를 포함하는 제2 복수의 입자를 포함하는 분말 시스템.
  3. 제1항 또는 제2항에 있어서, 상기 분말 시스템의 상기 니코틴의 적어도 약 60wt%는 약 10㎛ 이하의 입자 크기를 가지는 입자에 포함되는, 분말 시스템.
  4. 제1항 내지 제3항 중 어느 한 항에 있어서, 상기 분말 시스템의 상기 향미의 적어도 약 60wt%는 약 20㎛ 이상의 입자 크기를 가지는 입자에 포함되는, 분말 시스템.
  5. 제1항 내지 제4항 중 어느 한 항에 있어서, 상기 제1 복수의 입자는 약 5㎛ 이하, 약 3㎛ 이하, 또는 약 1㎛ 내지 약 3㎛ 범위의 질량 중앙 공기역학적 직경을 가지고, 상기 제2 복수의 입자는 약 50㎛ 이상, 또는 약 50㎛ 내지 약 150㎛ 범위의 질량 중앙 공기역학적 직경을 가지는 분말 시스템.
  6. 제1항 내지 제5항 중 어느 한 항에 있어서, 상기 니코틴은 니코틴 염 또는 니코틴 염 수화물을 포함하는 분말 시스템.
  7. 제1항 및 제3항 내지 제6항 중 어느 한 항에 있어서, 상기 아미노산은 니코틴 상에 배치되는 분말 시스템.
  8. 제1항 및 제3항 내지 제7항 중 어느 한 항에 있어서, 상기 아미노산은 류신을 포함하는 분말 시스템.
  9. 제1항 내지 제8항 중 어느 한 항에 있어서, 상기 제1 복수의 입자 및 상기 제2 복수의 입자는 단일 캡슐에 담기는 분말 시스템.
  10. 제1항 내지 제8항 중 어느 한 항에 있어서, 상기 제1 복수의 입자는 제1 캡슐에 담기고, 상기 제2 복수의 입자는 제2 캡슐에 담기는 분말 시스템.
  11. 제1항 내지 제10항 중 어느 한 항에 있어서, 상기 제1 복수의 입자는 상기 분말 시스템 총 중량의 약 50wt% 내지 약 99wt%이고, 상기 제2 복수의 입자는 상기 분말 시스템 총 중량의 약 50wt% 내지 약 1wt%인 분말 시스템.
  12. 제1항 내지 제11항 중 어느 한 항에 있어서, 상기 제2 복수의 입자는 스테아린산 마그네슘(magnesium stearate)을 포함하는 분말 시스템.
  13. 니코틴 분말 흡입기로서,
    마우스피스부와 원위 단부 사이에서 연장되는 바디부;
    상기 마우스피스부와 상기 원위 단부 사이에서 연장되는 기류 채널; 및
    상기 기류 채널을 따라 배치된 니코틴 분말 수용부 및 상기 니코틴 분말 수용부 내에 배치된 제1항 내지 제12항 중 어느 한 항의 상기 분말 시스템을 포함하는 니코틴 분말 흡입기.
  14. 제13항에 있어서, 상기 제1 복수의 입자 및 상기 제2 복수의 입자는 단일 캡슐 내에 담기고, 상기 캡슐은 상기 니코틴 분말 수용부 내에 배치되며, 상기 제1 복수의 입자 및 상기 제2 복수의 입자는 상기 단일 캡슐로부터 상기 기류 채널 내에 방출되는 니코틴 분말 흡입기.
  15. 제13항에 있어서, 상기 제1 복수의 입자는 제1 캡슐 내에 담기고, 상기 제2 복수의 입자는 제2 캡슐 내에 담기며, 상기 제2 캡슐은 상기 제1 캡슐의 상류 또는 하류에 있으며 상기 기류 채널 내에 있는 니코틴 분말 흡입기.
  16. 제13항에 있어서, 상기 니코틴 분말 수용부와 평행한 기류 관계에 있는 제2 기류 채널을 더 포함하되, 상기 제1 복수의 입자는 상기 니코틴 분말 수용부 내의 제1 캡슐에 담기고, 상기 제2 복수의 입자는 상기 제2 기류 채널 내의 제2 캡슐에 담기는 니코틴 분말 흡입기.
  17. 제13항 내지 제16항 중 어느 한 항에 있어서, 상기 제1 복수의 입자는 분당 약 5리터 미만의 흡입 속도로 사용자에 폐에 흡입되는 니코틴 분말 흡입기.
  18. 니코틴을 사용자의 폐에 흡입시키는 방법으로서,
    상기 제1 복수의 입자를 사용자의 폐에 전달하기 위해 제12항 내지 제17항 중 어느 한 항의 상기 니코틴 분말 흡입기를 통해 분당 약 2리터 미만의 유속으로 공기를 흡입하는 단계를 포함하되, 상기 제2 복수의 입자는 상기 사용자의 폐에 전달되지 않는 방법.
KR1020187016365A 2015-12-24 2016-12-08 가향된 니코틴 분말 Ceased KR20180098247A (ko)

Priority Applications (1)

Application Number Priority Date Filing Date Title
KR1020257012414A KR20250058060A (ko) 2015-12-24 2016-12-08 가향된 니코틴 분말

Applications Claiming Priority (3)

Application Number Priority Date Filing Date Title
EP15202728 2015-12-24
EP15202728.0 2015-12-24
PCT/IB2016/057452 WO2017109625A1 (en) 2015-12-24 2016-12-08 Flavoured nicotine powder

Related Child Applications (1)

Application Number Title Priority Date Filing Date
KR1020257012414A Division KR20250058060A (ko) 2015-12-24 2016-12-08 가향된 니코틴 분말

Publications (1)

Publication Number Publication Date
KR20180098247A true KR20180098247A (ko) 2018-09-03

Family

ID=55066404

Family Applications (2)

Application Number Title Priority Date Filing Date
KR1020187016365A Ceased KR20180098247A (ko) 2015-12-24 2016-12-08 가향된 니코틴 분말
KR1020257012414A Pending KR20250058060A (ko) 2015-12-24 2016-12-08 가향된 니코틴 분말

Family Applications After (1)

Application Number Title Priority Date Filing Date
KR1020257012414A Pending KR20250058060A (ko) 2015-12-24 2016-12-08 가향된 니코틴 분말

Country Status (19)

Country Link
US (2) US10751336B2 (ko)
EP (1) EP3393451B1 (ko)
JP (3) JP2019505479A (ko)
KR (2) KR20180098247A (ko)
CN (2) CN117695207A (ko)
AU (1) AU2016376027B2 (ko)
CA (1) CA3008208A1 (ko)
ES (1) ES2952674T3 (ko)
HU (1) HUE063028T2 (ko)
IL (1) IL259936B2 (ko)
MX (1) MX386252B (ko)
MY (1) MY186270A (ko)
PH (1) PH12018501142A1 (ko)
PL (1) PL3393451T3 (ko)
RU (1) RU2762084C2 (ko)
SG (1) SG11201804598RA (ko)
UA (1) UA122699C2 (ko)
WO (1) WO2017109625A1 (ko)
ZA (1) ZA201803584B (ko)

Cited By (1)

* Cited by examiner, † Cited by third party
Publication number Priority date Publication date Assignee Title
WO2024090890A1 (ko) * 2022-10-27 2024-05-02 주식회사 케이티앤지 흡입용 저용량 니코틴 건조 분말 조성물

Families Citing this family (7)

* Cited by examiner, † Cited by third party
Publication number Priority date Publication date Assignee Title
PL3393451T3 (pl) 2015-12-24 2023-12-27 Philip Morris Products S.A. Aromatyzowany proszek nikotynowy
KR20200023285A (ko) * 2017-06-28 2020-03-04 필립모리스 프로덕츠 에스.에이. 흡입기와 함께 사용하기 위한 입자를 가진 컨테이너
ES2965397T3 (es) * 2019-11-14 2024-04-15 Philip Morris Products Sa Formulación mejorada de polvo seco con sabor a tabaco
USD1081739S1 (en) 2021-04-06 2025-07-01 Altria Client Services Llc Die for gum forming
WO2023138670A1 (en) * 2022-01-21 2023-07-27 The University Of Hong Kong Dual targeting powder formulation of antiviral agent for nasal and lung deposition through single intranasal administration
US12295412B2 (en) 2022-01-28 2025-05-13 Altria Client Services Llc Oral pouch product
WO2025052299A1 (en) * 2023-09-08 2025-03-13 Philip Morris Products S.A. Hybrid aerosol and powder generating consumable article and system

Family Cites Families (24)

* Cited by examiner, † Cited by third party
Publication number Priority date Publication date Assignee Title
US4655229A (en) * 1984-01-30 1987-04-07 R. J. Reynolds Tobacco Company Flavor delivery system
US4735217A (en) 1986-08-21 1988-04-05 The Procter & Gamble Company Dosing device to provide vaporized medicament to the lungs as a fine aerosol
NO168921C (no) 1989-07-31 1992-04-22 Svein Knudsen Roekfri sigaretterstatning til bruk ved roekavvenning ellertil bruk i roekfrie miljoeer
US5441060A (en) * 1993-02-08 1995-08-15 Duke University Dry powder delivery system
US6102036A (en) * 1994-04-12 2000-08-15 Smoke-Stop Breath activated inhaler
GB9515182D0 (en) * 1995-07-24 1995-09-20 Co Ordinated Drug Dev Improvements in and relating to powders for use in dry powder inhalers
MXPA02005666A (es) 2000-10-12 2002-11-29 Boehringer Ingelheim Pharma Nuevos polvos para anhalacion que contienen tiotropio.
CA2538997A1 (en) 2003-09-15 2005-03-24 Vectura Limited Pharmaceutical compositions for treating premature ejaculation by pulmonary inhalation
GB0426301D0 (en) 2004-11-30 2004-12-29 Vectura Ltd Pharmaceutical formulations
GB2461008B (en) 2006-12-08 2011-08-10 Exchange Supplies Ltd Nicotine inhalation device
EP2708256A3 (en) 2007-03-30 2014-04-02 Philip Morris Products S.A. Device and method for delivery of a medicament
GB0712308D0 (en) 2007-06-25 2007-08-01 Kind Group Ltd An inhalable composition
RU2011138941A (ru) * 2009-02-23 2013-11-20 Джапан Тобакко Инк. Ненагреваемое устройство для всасывания табачного аромата
GB0905840D0 (en) * 2009-04-06 2009-05-20 Sagentia Ltd Apparatus and methods
US20110268809A1 (en) * 2010-04-28 2011-11-03 Paul Andrew Brinkley Nicotine-Containing Pharmaceutical Compositions
EP2648788B1 (en) 2010-12-07 2017-08-09 Respira Therapeutics, Inc. Dry powder inhaler
US20150136160A1 (en) 2012-06-08 2015-05-21 Foundation Brands, Llc Oral Stimulatory Product
US20140088045A1 (en) 2012-09-21 2014-03-27 Basil Rigas Product comprising a nicotine-containing material and an anti-cancer agent
US20140261488A1 (en) * 2013-03-15 2014-09-18 Altria Client Services Inc. Electronic smoking article
US20150283070A1 (en) 2014-04-08 2015-10-08 Sansa Corporation (Barbados) Inc. Nicotine Formulations and Methods of Making the Same
EP3136895B1 (en) 2014-04-28 2023-06-21 Philip Morris Products S.A. Flavoured nicotine powder inhaler
WO2015166344A1 (en) 2014-04-28 2015-11-05 Philip Morris Products S.A. Nicotine powder inhaler
SG11201610498PA (en) 2014-06-20 2017-01-27 Philip Morris Products Sa Nicotine powder delivery system with airflow management means
PL3393451T3 (pl) 2015-12-24 2023-12-27 Philip Morris Products S.A. Aromatyzowany proszek nikotynowy

Cited By (1)

* Cited by examiner, † Cited by third party
Publication number Priority date Publication date Assignee Title
WO2024090890A1 (ko) * 2022-10-27 2024-05-02 주식회사 케이티앤지 흡입용 저용량 니코틴 건조 분말 조성물

Also Published As

Publication number Publication date
ZA201803584B (en) 2019-04-24
ES2952674T3 (es) 2023-11-03
MX386252B (es) 2025-03-18
UA122699C2 (uk) 2020-12-28
SG11201804598RA (en) 2018-07-30
MX2018007507A (es) 2018-08-01
JP2025126285A (ja) 2025-08-28
US12414946B2 (en) 2025-09-16
CN108289841A (zh) 2018-07-17
RU2018126872A (ru) 2020-01-24
RU2018126872A3 (ko) 2020-03-20
EP3393451A1 (en) 2018-10-31
JP2023113755A (ja) 2023-08-16
AU2016376027A1 (en) 2018-06-21
AU2016376027B2 (en) 2022-06-30
CN117695207A (zh) 2024-03-15
JP2019505479A (ja) 2019-02-28
HUE063028T2 (hu) 2023-12-28
WO2017109625A1 (en) 2017-06-29
BR112018010685A8 (pt) 2019-02-26
IL259936A (en) 2018-07-31
US20200375972A1 (en) 2020-12-03
IL259936B (en) 2022-10-01
MY186270A (en) 2021-07-01
EP3393451B1 (en) 2023-07-19
PL3393451T3 (pl) 2023-12-27
US20180369225A1 (en) 2018-12-27
IL259936B2 (en) 2023-02-01
KR20250058060A (ko) 2025-04-29
US10751336B2 (en) 2020-08-25
CA3008208A1 (en) 2017-06-29
BR112018010685A2 (pt) 2018-11-13
PH12018501142A1 (en) 2019-01-21
RU2762084C2 (ru) 2021-12-15

Similar Documents

Publication Publication Date Title
US12233204B2 (en) Nicotine powder delivery system
US12478580B2 (en) Flavoured nicotine powder inhaler
US12414946B2 (en) Flavored nicotine powder
KR20190026656A (ko) 니코틴 입자 전달 소모품
RU2824230C2 (ru) Система доставки никотинового порошка
HK1261338A1 (en) Flavoured nicotine powder
HK1261338B (en) Flavoured nicotine powder
HK40029937A (en) Nicotine powder delivery system

Legal Events

Date Code Title Description
PA0105 International application

St.27 status event code: A-0-1-A10-A15-nap-PA0105

R17-X000 Change to representative recorded

St.27 status event code: A-3-3-R10-R17-oth-X000

PG1501 Laying open of application

St.27 status event code: A-1-1-Q10-Q12-nap-PG1501

R17-X000 Change to representative recorded

St.27 status event code: A-3-3-R10-R17-oth-X000

R17-X000 Change to representative recorded

St.27 status event code: A-3-3-R10-R17-oth-X000

A201 Request for examination
PA0201 Request for examination

St.27 status event code: A-1-2-D10-D11-exm-PA0201

E902 Notification of reason for refusal
PE0902 Notice of grounds for rejection

St.27 status event code: A-1-2-D10-D21-exm-PE0902

E13-X000 Pre-grant limitation requested

St.27 status event code: A-2-3-E10-E13-lim-X000

P11-X000 Amendment of application requested

St.27 status event code: A-2-2-P10-P11-nap-X000

P13-X000 Application amended

St.27 status event code: A-2-2-P10-P13-nap-X000

R18-X000 Changes to party contact information recorded

St.27 status event code: A-3-3-R10-R18-oth-X000

PE0601 Decision on rejection of patent

St.27 status event code: N-2-6-B10-B15-exm-PE0601

E13-X000 Pre-grant limitation requested

St.27 status event code: A-2-3-E10-E13-lim-X000

P11-X000 Amendment of application requested

St.27 status event code: A-2-2-P10-P11-nap-X000

PX0601 Decision of rejection after re-examination

St.27 status event code: N-2-6-B10-B17-rex-PX0601

X601 Decision of rejection after re-examination
PA0104 Divisional application for international application

St.27 status event code: A-0-1-A10-A16-div-PA0104