KR20160140179A - Assembly device for lower arm - Google Patents

Assembly device for lower arm Download PDF

Info

Publication number
KR20160140179A
KR20160140179A KR1020150076469A KR20150076469A KR20160140179A KR 20160140179 A KR20160140179 A KR 20160140179A KR 1020150076469 A KR1020150076469 A KR 1020150076469A KR 20150076469 A KR20150076469 A KR 20150076469A KR 20160140179 A KR20160140179 A KR 20160140179A
Authority
KR
South Korea
Prior art keywords
support
lower arm
cam bolt
fixing
hole
Prior art date
Legal status (The legal status is an assumption and is not a legal conclusion. Google has not performed a legal analysis and makes no representation as to the accuracy of the status listed.)
Granted
Application number
KR1020150076469A
Other languages
Korean (ko)
Other versions
KR101710372B1 (en
Inventor
최강희
Original Assignee
주식회사화신
Priority date (The priority date is an assumption and is not a legal conclusion. Google has not performed a legal analysis and makes no representation as to the accuracy of the date listed.)
Filing date
Publication date
Application filed by 주식회사화신 filed Critical 주식회사화신
Priority to KR1020150076469A priority Critical patent/KR101710372B1/en
Publication of KR20160140179A publication Critical patent/KR20160140179A/en
Application granted granted Critical
Publication of KR101710372B1 publication Critical patent/KR101710372B1/en
Active legal-status Critical Current
Anticipated expiration legal-status Critical

Links

Images

Classifications

    • BPERFORMING OPERATIONS; TRANSPORTING
    • B60VEHICLES IN GENERAL
    • B60GVEHICLE SUSPENSION ARRANGEMENTS
    • B60G7/00Pivoted suspension arms; Accessories thereof
    • B60G7/02Attaching arms to sprung part of vehicle
    • BPERFORMING OPERATIONS; TRANSPORTING
    • B62LAND VEHICLES FOR TRAVELLING OTHERWISE THAN ON RAILS
    • B62DMOTOR VEHICLES; TRAILERS
    • B62D65/00Designing, manufacturing, e.g. assembling, facilitating disassembly, or structurally modifying motor vehicles or trailers, not otherwise provided for
    • B62D65/02Joining sub-units or components to, or positioning sub-units or components with respect to, body shell or other sub-units or components
    • B62D65/12Joining sub-units or components to, or positioning sub-units or components with respect to, body shell or other sub-units or components the sub-units or components being suspensions, brakes or wheel units
    • BPERFORMING OPERATIONS; TRANSPORTING
    • B60VEHICLES IN GENERAL
    • B60GVEHICLE SUSPENSION ARRANGEMENTS
    • B60G2204/00Indexing codes related to suspensions per se or to auxiliary parts
    • B60G2204/40Auxiliary suspension parts; Adjustment of suspensions
    • B60G2204/42Joints with cam surfaces

Landscapes

  • Engineering & Computer Science (AREA)
  • Mechanical Engineering (AREA)
  • Manufacturing & Machinery (AREA)
  • Chemical & Material Sciences (AREA)
  • Combustion & Propulsion (AREA)
  • Transportation (AREA)
  • Automobile Manufacture Line, Endless Track Vehicle, Trailer (AREA)

Abstract

본 발명은 로워암 조립장치에 관한 것으로서, 차체에 결합되는 멤버부와, 멤버부에 결합되는 고정부와, 멤버부에 결합되고 고정부와 마주보도록 배치되는 지지부와, 고정부와 지지부 사이에 배치되는 로워암을 고정시키는 캠볼트부를 포함하고, 지지부는 캠볼트부의 설치위치를 유도하여 조립성을 개선할 수 있다.The present invention relates to a lower arm assembling apparatus, which comprises a member coupled to a vehicle body, a fixed portion coupled to the member, a support portion coupled to the member and disposed to face the fixed portion, And the support portion guides the installation position of the cam bolt portion to improve the assembling property.

Description

로워암 조립장치{ASSEMBLY DEVICE FOR LOWER ARM}[0001] ASSEMBLY DEVICE FOR LOWER ARM [0002]

본 발명은 로워암 조립장치에 관한 것으로서, 보다 상세하게는 조립 부품수를 줄여주어 제조단가를 절감하고, 조립성을 개선하는 로워암 조립장치에 관한 것이다.BACKGROUND OF THE INVENTION 1. Field of the Invention [0001] The present invention relates to a lower arm assembling apparatus, and more particularly, to a lower arm assembling apparatus that reduces manufacturing cost by reducing the number of assembled parts and improves assembling performance.

일반적으로 현가장치는 차량의 승차감 및 주행 안정성을 도모하기 위한 장치로서, 차체를 차륜으로부터 안정적으로 지지하면서 차륜으로부터 제공되는 진동을 억제 및 신속히 감소시킨다.Generally, a suspension device is an apparatus for improving ride comfort and driving stability of a vehicle, which suppresses and rapidly reduces the vibration provided from the wheel while stably supporting the vehicle body from the wheel.

차륜을 차체에 연결하여 지지하도록 로워암이 사용되는바, 로워암에는 제1부쉬, 제2부쉬 및 볼조인트가 장착된다. 제1부쉬와 제2부쉬는 차체에 결합되고, 볼조인트는 차륜의 너클과 연결되어 어퍼암과 함께 차륜을 지지한다.A lower arm is used to connect and support the wheel to the vehicle body. The lower arm is equipped with a first bush, a second bush and a ball joint. The first and second bushes are coupled to the vehicle body, and the ball joint is connected to the knuckle of the wheel to support the wheel together with the upper arm.

종래에는 차량에 장착되는 멤버에 로워암의 부쉬가 조립되는데, 멤버와 로워암 간의 조립시 캠볼트의 장착이 원활하게 이루어지지 못하는 문제점이 있다. 따라서, 이를 개선할 필요성이 요청된다.Conventionally, a bush of a lower arm is assembled to a member mounted on a vehicle. However, there is a problem that the cam bolt can not be smoothly mounted when the member is assembled with the lower arm. Therefore, there is a need to improve this.

본 발명의 배경기술은 대한민국 공개특허공보 제2011-0098376호(2011.09.01 공개, 발명의 명칭 : 로워암 조립 장치)에 개시되어 있다.BACKGROUND ART [0002] The background art of the present invention is disclosed in Korean Patent Laid-Open Publication No. 2011-0098376 (published on Sep. 1, 2011, entitled Low Arm Assembly Device).

본 발명은 상기와 같은 문제점을 개선하기 위해 안출된 것으로서, 조립 부품수를 줄여주어 제조단가를 절감하고, 조립성을 개선하는 로워암 조립장치를 제공하는데 그 목적이 있다.It is an object of the present invention to provide a lower arm assembling apparatus which reduces manufacturing cost by reducing the number of assembled parts and improves assembling performance.

본 발명에 따른 로워암 조립장치는: 차체에 결합되는 멤버부; 상기 멤버부에 결합되는 고정부; 상기 멤버부에 결합되고, 상기 고정부와 마주보도록 배치되는 지지부; 및 상기 고정부와 상기 지지부 사이에 배치되는 로워암을 고정시키는 캠볼트부를 포함하고, 상기 지지부는 상기 캠볼트부의 설치위치를 유도하는 것을 특징으로 한다.A lower arm assembling apparatus according to the present invention comprises: a member coupled to a vehicle body; A fixing portion coupled to the member portion; A support portion coupled to the member portion and disposed to face the fixing portion; And a cam bolt portion for fixing a lower arm disposed between the fixed portion and the support portion, wherein the support portion guides the installation position of the cam bolt portion.

상기 지지부는: 상기 캠볼트부가 관통되는 관통홀부가 형성되고, 상기 멤버부에 양단부가 결합되는 지지몸체부; 및 상기 지지몸체부에서 돌출되고, 상기 관통홀부의 양측방향으로 각각 배치되어 상기 캠볼트부를 안내하는 지지돌출부를 포함하는 것을 특징으로 한다.Wherein the support portion includes: a support body portion having a through hole portion through which the cam bolt portion penetrates, the both end portions of the support body portion being coupled to the member portion; And a support protrusion protruding from the support body portion and disposed in both side directions of the through hole portion and guiding the cam bolt portion.

상기 지지부는: 상기 관통홀부와 상기 지지돌출부 사이에 배치되고, 상기 지지몸체부의 전면에서 함몰되어 상기 캠볼트부와 상기 지지돌출부 간의 간섭을 방지하는 지지함몰부를 더 포함하는 것을 특징으로 한다.The support portion may further include a support depression disposed between the through hole portion and the support protrusion and recessed from the front surface of the support body to prevent interference between the cam bolt portion and the support protrusion.

상기 지지함몰부는: 상기 관통홀부와 상기 지지돌출부 사이에 배치되는 함몰직선부; 및 상기 함몰직선부의 단부에서 상기 지지돌출부 방향으로 경사를 갖도록 형성되는 함몰경사부를 포함하는 것을 특징으로 한다.The support depression includes: a recessed straight portion disposed between the through hole portion and the support projection; And a depression inclined portion formed at an end of the depression rectilinear portion so as to have an inclination in the direction of the support projection.

상기 지지부는: 상기 지지몸체부의 배면 방향으로 돌출되어 상기 로워암을 안내하는 지지가이드부를 더 포함하는 것을 특징으로 한다.The support portion may further include: a support guide portion protruding toward the back surface of the support body portion and guiding the lower arm.

상기 캠볼트부는: 상기 지지돌출부 사이에 삽입되어 상기 지지몸체부에 밀착되는 고정판부; 상기 고정판부의 중심에서 치우쳐 연장되고, 상기 관통홀부를 관통하는 고정막대부; 상기 고정판부의 중심에서 치우쳐 연장되는 고정머리부; 및 상기 고정막대부에 체결되는 고정너트부를 포함하는 것을 특징으로 한다.The cam bolt portion includes: a fixing plate portion inserted between the supporting protrusions and closely contacting the supporting body portion; A fixing rod portion biased from the center of the fixing plate portion and penetrating the through hole portion; A fixed head portion biased from the center of the fixed plate portion; And a fixing nut portion fastened to the fixing bar portion.

본 발명에 따른 로워암 조립장치는 지지부가 캠볼트부의 설치위치를 유도하여 조립성을 개선할 수 있다.The lower arm assembling apparatus according to the present invention can improve the assembling performance by guiding the mounting position of the cam bolt portion.

본 발명에 따른 로워암 조립장치는 한 쌍의 지지돌출부 사이로 캠볼트부가 삽입되어 캠볼트부의 좌우 유동을 제한할 수 있다.The lower arm assembling apparatus according to the present invention can limit the lateral movement of the cam bolt portion by inserting the cam bolt portion between the pair of support protrusions.

본 발명에 따른 로워암 조립장치는 관통홀부와 지지돌출부 사이에 지지함몰부가 형성되어 캠볼트부와 지지돌출부 간의 간섭을 방지할 수 있다.The lower arm assembling apparatus according to the present invention is capable of preventing interference between the cam bolt portion and the support protrusion by forming a support depression between the through hole and the support protrusion.

본 발명에 따른 로워암 조립장치는 지지함몰부가 지지몸체부의 전면에서 함몰되도록 형성되어 지지몸체부의 강성을 보강할 수 있다.In the lower arm assembling apparatus according to the present invention, the support depression part is formed to be recessed from the front surface of the support body part to reinforce the rigidity of the support body part.

본 발명에 따른 로워암 조립장치는 지지가이드부가 로워암을 안내하여 조립성을 개선할 수 있다.The lower arm assembling device according to the present invention can improve the assembling property by guiding the lower arm to the support guide portion.

도 1은 본 발명의 일 실시예에 따른 로워암 조립장치를 개략적으로 나타내는 도면이다.
도 2는 본 발명의 일 실시예에 따른 로워암 조립장치에서 로워암이 조립된 상태를 개략적으로 나타내는 도면이다.
도 3은 본 발명의 일 실시예에 따른 로워암 조립장치에서 지지부를 개략적으로 나타내는 도면이다.
도 4는 도 2의 A-A 단면도이다.
도 5는 도 2의 B-B 단면도이다.
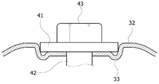
도 6은 본 발명의 일 실시예에 따른 로워암 조립장치에서 캠볼트부를 개략적으로 나타내는 도면이다.
1 is a view schematically showing a lower arm assembling apparatus according to an embodiment of the present invention.
FIG. 2 is a view schematically showing a state in which a lower arm is assembled in a lower arm assembling apparatus according to an embodiment of the present invention. FIG.
3 is a view schematically showing a support part in a lower arm assembling apparatus according to an embodiment of the present invention.
4 is a sectional view taken along the line AA in Fig.
5 is a sectional view taken along line BB of Fig.
6 is a view schematically showing a cam bolt in a lower arm assembling apparatus according to an embodiment of the present invention.

이하, 첨부된 도면들을 참조하여 본 발명에 따른 로워암 조립장치의 실시예를 설명한다. 이러한 과정에서 도면에 도시된 선들의 두께나 구성요소의 크기 등은 설명의 명료성과 편의상 과장되게 도시되어 있을 수 있다. 또한, 후술되는 용어들은 본 발명에서의 기능을 고려하여 정의된 용어들로서, 이는 사용자, 운용자의 의도 또는 관례에 따라 달라질 수 있다. 그러므로, 이러한 용어들에 대한 정의는 본 명세서 전반에 걸친 내용을 토대로 내려져야 할 것이다.Hereinafter, an embodiment of a lower arm assembling apparatus according to the present invention will be described with reference to the accompanying drawings. In this process, the thicknesses of the lines and the sizes of the components shown in the drawings may be exaggerated for clarity and convenience of explanation. Further, terms to be described below are terms defined in consideration of functions in the present invention, which may vary depending on the intention or custom of the user, the operator. Therefore, definitions of these terms should be made based on the contents throughout this specification.

도 1은 본 발명의 일 실시예에 따른 로워암 조립장치를 개략적으로 나타내는 도면이고, 도 2는 본 발명의 일 실시예에 따른 로워암 조립장치에서 로워암이 조립된 상태를 개략적으로 나타내는 도면이다. 도 1과 도 2를 참조하면, 본 발명의 일 실시예에 따른 로워암 조립장치(1)는 멤버부(10)와, 고정부(20)와, 지지부(30)와, 캠볼트부(40)를 포함한다.FIG. 1 is a view schematically showing a lower arm assembling apparatus according to an embodiment of the present invention, and FIG. 2 is a view schematically showing a state in which a lower arm is assembled in a lower arm assembling apparatus according to an embodiment of the present invention . 1 and 2, a lower arm assembling apparatus 1 according to an embodiment of the present invention includes a member 10, a fixing portion 20, a supporting portion 30, a cam bolt portion 40 ).

멤버부(10)는 차체에 결합된다. 일 예로, 멤버부(10)는 멤버메인부(11)와, 멤버메인부(11)에 각각 일단부가 결합되어 마주보도록 배치되는 한 쌍의 멤버연장부(12)를 포함할 수 있다.The member portion 10 is coupled to the vehicle body. The member section 10 may include a member main section 11 and a pair of member extensions 12 each having one end joined to the member main section 11 and arranged to face each other.

고정부(20)는 멤버부(10)에 결합된다. 일 예로, 고정부(20)는 멤버연장부(12) 사이에 배치되고, 양단부가 멤버연장부(12)에 결합될 수 있다.The fixing portion 20 is joined to the member portion 10. In one example, the securement portion 20 is disposed between the member extensions 12, and both ends can be coupled to the member extensions 12.

지지부(30)는 멤버부(10)에 결합되고, 고정부(20)와 마주보도록 배치된다. 일 예로, 지지부(30)는 멤버연장부(12) 사이에 배치되고, 양단부가 멤버연장부(12)에 결합될 수 있다. 지지부(30)는 고정부(20)의 전방에 배치될 수 있다.The support portion 30 is coupled to the member portion 10 and is arranged to face the fixing portion 20. [ In one example, the support portion 30 is disposed between the member extensions 12, and both ends can be coupled to the member extensions 12. The support portion (30) can be disposed in front of the fixing portion (20).

캠볼트부(40)는 고정부(20)와 지지부(30) 사이에 배치되는 로워암(100)을 고정시킨다. 이때, 지지부(30)는 캠볼트부(40)의 설치위치를 유도한다.The cam bolt portion 40 fixes the lower arm 100 disposed between the fixing portion 20 and the supporting portion 30. [ At this time, the support portion 30 guides the installation position of the cam bolt portion 40.

도 3은 본 발명의 일 실시예에 따른 로워암 조립장치에서 지지부를 개략적으로 나타내는 도면이고, 도 4는 도 2의 A-A 단면도이며, 도 5는 도 2의 B-B 단면도이다. 도 3 내지 도 5를 참조하면, 본 발명의 일 실시예에 따른 지지부(30)는 지지몸체부(31)와 지지돌출부(32)를 포함한다.FIG. 3 is a view schematically showing a supporting part in a lower arm assembling apparatus according to an embodiment of the present invention, FIG. 4 is a sectional view taken along the line A-A in FIG. 2, and FIG. 5 is a sectional view taken along line B-B in FIG. 3 to 5, a support 30 according to an embodiment of the present invention includes a support body 31 and a support protrusion 32. As shown in FIG.

지지몸체부(31)는 멤버부(10)에 양단부가 결합되고, 캠볼트부(40)가 관통되기 위한 관통홀부(311)가 형성된다. 일 예로, 지지몸체부(31)의 양단부는 멤버연장부(12)에 결합될 수 있다. 관통홀부(311)는 지지몸체부(31)의 길이방향으로 길이를 갖는 장방홀이 형성될 수 있다.The supporting body portion 31 is formed with a through hole portion 311 through which both ends of the supporting body portion 31 are coupled to the member portion 10 and the cam bolt portion 40 is penetrated. In one example, both ends of the support body portion 31 can be coupled to the member extension 12. The through hole 311 may have a rectangular hole having a length in the longitudinal direction of the support body 31.

지지돌출부(32)는 지지몸체부(31)에서 돌출되고, 관통홀부(311)의 양측방향으로 각각 배치되어 캠볼트부(40)를 안내한다. 일 예로, 지지몸체부(31)의 배면에 대한 프레스 가공으로, 지지돌출부(32)가 지지몸체부(31)의 전면방향으로 돌출될 수 있다. 이때, 관통홀부(311)에 관통되는 캠볼트부(40)는 한 쌍의 지지돌출부(32) 사이에 배치될 수 있다. 지지돌출부(32)는 지지몸체부(31)에 일체로 형성되어 캠볼트부(40)를 안내하므로, 별물의 가이드물을 지지몸체부(31)에 결합하는 과정이 삭제되어 제조단가를 낮출 수 있다.The support protrusions 32 protrude from the support body 31 and are respectively disposed on both sides of the through hole 311 to guide the cam bolt 40. [ The support protrusion 32 may protrude in the front direction of the support body portion 31 by pressing the back surface of the support body portion 31. [ At this time, the cam bolt portion 40 passing through the through hole 311 may be disposed between the pair of support protrusions 32. Since the support protrusion 32 is formed integrally with the support body 31 to guide the cam bolt 40, the process of joining the guide of the star to the support body 31 is eliminated, have.

본 발명의 일 실시예에 따른 지지부(30)는 지지함몰부(33)를 더 포함할 수 있다. 지지함몰부(33)는 관통홀부(311)와 지지돌출부(32) 사이에 배치되고, 지지몸체부(31)의 전면에서 함몰되어 캠볼트부(40)와 지지돌출부(32) 간의 간섭을 방지한다. 즉, 지지몸체부(31) 자체 내구성이 저하되면, 지지돌출부(32)의 형상이 변경되어 캠볼트부(40)와 간섭될 수 있다. 그러나, 관통홀부(311)와 지지돌출부(32) 사이에 지지함몰부(33)가 배치되면, 지지돌출부(32)의 형상이 유지되어 캠볼트부(40)와의 간섭을 방지할 수 있다. 지지함몰부(33)는 지지돌출부(32)와 인접하도록 배치될 수 있다.The support 30 according to an embodiment of the present invention may further include a support depression 33. The support depression part 33 is disposed between the through hole part 311 and the support projection part 32 and is recessed from the front surface of the support body part 31 to prevent interference between the cam bolt part 40 and the support projection part 32 do. That is, when the durability of the support body 31 itself is lowered, the shape of the support protrusion 32 may be changed and interfere with the cam bolt 40. [ However, when the support depressed portion 33 is disposed between the through hole portion 311 and the support projection 32, the shape of the support projection 32 is maintained and interference with the cam bolt portion 40 can be prevented. The support depression (33) may be disposed adjacent the support protrusion (32).

지지함몰부(33)는 함몰직선부(331)와 함몰경사부(332)를 포함한다. 함몰직선부(331)는 관통홀부(311)와 지지돌출부(32) 사이에 배치된다. 일 예로, 함몰직선부(331)는 지지몸체부(31)의 상하방향으로 길이를 갖도록 형성될 수 있다. 함몰경사부(332)는 함몰직선부(331)의 단부에서 지지돌출부(32) 방향으로 경사를 갖도록 형성된다. 일 예로, 함몰경사부(332)는 함몰직선부(331)의 양단부에서 각각 연장되어 형성될 수 있다. 함몰직선부(331)는 지지몸체부(31)의 상하방향으로 작용되는 하중에 대한 강성을 증대시킬 수 있다. 함몰경사부(332)는 지지몸체부(31)의 경사 방향으로 작용되는 하중에 대한 강성을 증대시킬 수 있다.The support depression (33) includes a recessed straight portion (331) and a depression inclined portion (332). The recessed straight line portion 331 is disposed between the through hole portion 311 and the support projection 32. For example, the recessed straight line portion 331 may be formed to have a length in the vertical direction of the support body portion 31. The recessed inclined portion 332 is formed to have an inclination in the direction of the support projection 32 at the end of the recessed straight portion 331. [ For example, the depression inclined portion 332 may be formed at both ends of the recessed straight portion 331, respectively. The depression rectilinear section 331 can increase the rigidity of the support body 31 with respect to the load acting in the vertical direction. The inclined inclined portion 332 can increase the rigidity of the support body 31 with respect to the load applied in the oblique direction.

본 발명의 일 실시예에 따른 지지부(30)는 지지가이드부(34)를 더 포함할 수 있다. 지지가이드부(34)는 지지몸체부(31)의 배면 방향으로 돌출되어 로워암(100)을 안내한다. 일 예로, 지지가이드부(34)는 지지몸체부(31)의 전면에서 함몰되고, 지지몸체부(31)의 길이방향으로 길이를 갖도록 형성될 수 있다. 지지가이드부(34)의 양단부는 지지함몰부(33)의 하단부와 연결될 수 있다. 로워암(100)의 하단부는 지지가이드부(34)에 걸려 조립 위치가 안내될 수 있다. 지지가이드부(34)는 지지몸체부(31)의 좌우방향으로 작용되는 하중에 대한 강성을 증대시킬 수 있다.The support portion 30 according to an embodiment of the present invention may further include a support guide portion 34. [ The support guide portion 34 protrudes toward the back surface of the support body portion 31 to guide the lower arm 100. For example, the support guide portion 34 may be recessed from the front surface of the support body 31 and have a length in the longitudinal direction of the support body 31. Both end portions of the support guide portion 34 can be connected to the lower end portions of the support depressed portion 33. The lower end of the lower arm 100 is hooked on the support guide portion 34 so that the assembled position can be guided. The support guide portion 34 can increase the rigidity of the support body 31 with respect to the load acting in the lateral direction.

도 6은 본 발명의 일 실시예에 따른 로워암 조립장치에서 캠볼트부를 개략적으로 나타내는 도면이다. 도 6을 참조하면, 본 발명의 일 실시예에 따른 캠볼트부(40)는 고정판부(41)와, 고정막대부(42)와, 고정머리부(43)와, 고정너트부(44)를 포함한다.6 is a view schematically showing a cam bolt in a lower arm assembling apparatus according to an embodiment of the present invention. 6, the cam bolt portion 40 according to the embodiment of the present invention includes a fixed plate portion 41, a fixed rod portion 42, a fixed head portion 43, a fixed nut portion 44, .

고정판부(41)는 지지돌출부(32) 사이에 삽입되어 지지몸체부(31)에 밀착된다. 일 예로, 고정판부(41)는 원판 형상을 하고, 지지몸체부(31)의 전면에 밀착되며, 양측이 지지돌출부(32)에 밀착되어 좌우 유동이 제한될 수 있다. 고정판부(41)의 원주면을 따라 눈금(411)이 형성되고, 지지몸체부(31)에는 기준선(312)이 형성될 수 있다. 고정판부(41)가 회전되면, 기준선(312)과 눈금(411)을 비교하여, 고정판부(41)의 회전각을 산출할 수 있다.The fixing plate portion 41 is inserted between the support protrusions 32 and is brought into close contact with the support body portion 31. For example, the fixing plate 41 has a disk shape, is in close contact with the front surface of the supporting body 31, and the both sides are closely attached to the supporting protrusion 32 so that the left and right flow can be restricted. A scale 411 may be formed along the circumferential surface of the fixing plate 41 and a reference line 312 may be formed on the supporting body 31. When the fixing plate portion 41 is rotated, the rotation angle of the fixing plate portion 41 can be calculated by comparing the reference line 312 with the scale 411.

고정막대부(42)는 고정판부(41)의 중심에서 치우쳐 관통홀부(311) 방향으로 연장되고, 관통홀부(311)를 관통한다. 일 예로, 고정막대부(42)는 관통홀부(311)와, 로워암(100)과, 고정부(20)를 관통할 수 있다.The fixing bar portion 42 is biased from the center of the fixing plate portion 41 and extends in the direction of the through hole portion 311 and penetrates the through hole portion 311. For example, the fixing rod portion 42 can penetrate the through hole portion 311, the lower arm 100, and the fixing portion 20.

고정머리부(43)는 고정판부(41)의 중심에서 치우쳐 고정막대부(42)의 반대방향으로 연장된다. 고정머리부(43)는 각진 형상을 하여 도구와 맞물릴 수 있으며, 고정막대부(42)와 동일선상에 배치될 수 있다.The fixed head part (43) is biased from the center of the fixed plate part (41) and extends in the direction opposite to the fixed bar part (42). The fixed head portion 43 can be angled to engage with the tool, and can be arranged on the same line as the fixed bar portion 42.

고정너트부(44)는 고정막대부(42)에 체결된다. 일 예로, 고정너트부(44)는 고정부(20)의 배면에서 고정막대부(42)에 체결되어 고정막대부(42)를 고정시킬 수 있다. 고정부(20)의 배면과 고정너트부(44) 사이에는 고정와셔부(45)가 배치될 수 있다.The fixing nut portion (44) is fastened to the fixing rod portion (42). For example, the fixing nut portion 44 may be fastened to the fixing rod portion 42 at the back surface of the fixing portion 20 to fix the fixing rod portion 42. The stationary washer portion 45 may be disposed between the back surface of the fixing portion 20 and the fixing nut portion 44.

상기와 같은 구조를 갖는 본 발명의 일 실시예에 따른 로워암 조립장치의 성형과정 및 조립과정을 설명하면 다음과 같다.The forming process and the assembling process of the lower arm assembling apparatus according to one embodiment of the present invention having the above structure will be described as follows.

홀가공을 통해 지지몸체부(31)에 관통홀부(311)가 형성되고, 관통홀부(311)를 사이에 두고 한 쌍의 지지돌출부(32)가 지지몸체부(31)의 전방으로 돌출되도록 가공된다. 그리고, 지지몸체부(31)와 관통홀부(311)의 사이에 위치되는 지지함몰부(33)가 지지몸체부(31)의 전방에서 함몰되도록 가공된다. 또한, 이격된 지지함몰부(33)와 연결되는 지지가이드부(34)가 지지몸체부(31)의 전방에서 함몰되도록 가공된다.The through hole 311 is formed in the support body 31 through the hole and the pair of support protrusions 32 protrude forward of the support body 31 with the through hole 311 interposed therebetween do. The support depression (33) positioned between the support body (31) and the through hole (311) is machined to be recessed in front of the support body (31). In addition, the support guide portion 34 connected to the spaced apart support depression 33 is machined to be recessed from the front of the support body portion 31.

가공 완료된 지지몸체부(31)는 멤버연장부(12)에 결합되고, 지지몸체부(31)의 후방에 고정부(20)가 결합된다.The finished support body portion 31 is engaged with the member extension portion 12 and the fixing portion 20 is coupled to the rear of the support body portion 31. [

상기한 상태에서, 지지몸체부(31)와 고정부(20) 사이에 로워암(100)을 배치시키고, 캠볼트부(40)를 사용하여 로워암(100)을 지지몸체부(31)와 고정부(20) 사이에 고정시킨다. 이때, 로워암(100)은 지지몸체부(31)의 배면방향으로 돌출된 지지가이드부(34)에 의해 관통홀부(311)로 안내된다.The lower arm 100 is disposed between the support body 31 and the fixing part 20 and the lower arm 100 is fixed to the support body 31 and the support body 31 using the cam bolt 40. [ And fixed between the fixing portions 20. At this time, the lower arm 100 is guided to the through hole portion 311 by the support guide portion 34 protruding in the back surface direction of the support body portion 31.

캠볼트부(40)의 고정판부(41)는 지지돌출부(32) 사이에 배치되며, 지지돌출부(32)와 인접된 지지함몰부(33)에 의해 지지돌출부(32)의 형상이 유지되어, 고정판부(41)와 지지돌출부(32) 간의 간섭이 방지된다.The fixing plate portion 41 of the cam bolt portion 40 is disposed between the support protrusions 32 and the shape of the support protrusions 32 is maintained by the support recesses 33 adjacent to the support protrusions 32, Interference between the fixing plate portion 41 and the support projection 32 is prevented.

실차 조립시 휠얼라이먼트를 확인하면서 고정판부(41)를 회전시킬 수 있다. 이때, 작업자는 고정판부(41)에 형성되는 눈금(411)과 기준선(312)을 비교하여 고정판부(41)를 조작할 수 있다.The fixing plate portion 41 can be rotated while confirming the wheel alignment when assembling the actual vehicle. At this time, the operator can operate the fixing plate 41 by comparing the scale 411 formed on the fixing plate 41 with the reference line 312.

본 발명의 일 실시예에 따른 로워암 조립장치(1)는 지지부(30)가 캠볼트부(40)의 설치위치를 유도하여 조립성을 개선할 수 있다.The lower arm assembling apparatus 1 according to the embodiment of the present invention can improve the assemblability by guiding the mounting position of the cam bolt portion 40 by the support portion 30. [

본 발명의 일 실시예에 따른 로워암 조립장치(1)는 한 쌍의 지지돌출부(32) 사이로 캠볼트부(40)가 삽입되어 캠볼트부(40)의 좌우 유동을 제한할 수 있다.The lower arm assembling apparatus 1 according to the embodiment of the present invention can restrict the lateral movement of the cam bolt portion 40 by inserting the cam bolt portion 40 between the pair of support protrusions 32. [

본 발명의 일 실시예에 따른 로워암 조립장치(1)는 관통홀부(311)와 지지돌출부(32) 사이에 지지함몰부(33)가 형성되어 지지돌출부(32)의 형상이 유지됨으로써, 캠볼트부(40)의 고정판부(41)와 지지돌출부(32) 간의 간섭을 방지할 수 있다.The lower arm assembling apparatus 1 according to the embodiment of the present invention is characterized in that the supporting protrusion 32 is formed to have a depression 33 between the through hole 311 and the supporting protrusion 32, It is possible to prevent interference between the fixing plate portion 41 of the bolt portion 40 and the support projection 32. [

본 발명의 일 실시예에 따른 로워암 조립장치(1)는 지지함몰부(33)가 지지몸체부(31)의 전면에서 함몰되도록 형성됨으로써, 지지몸체부(31)의 강성을 보강할 수 있다.The lower arm assembling apparatus 1 according to the embodiment of the present invention is formed such that the support depressed portion 33 is recessed from the front surface of the support body portion 31 to reinforce the rigidity of the support body portion 31 .

본 발명의 일 실시예에 따른 로워암 조립장치(1)는 지지가이드부(34)가 로워암(100)을 안내하여 로워암(100)의 조립 위치 선정이 용이하다. 또한, 지지가이드부(34)가 지지몸체부(31)의 전면에서 함몰되도록 형성되어 지지몸체부(31)의 강성을 보강할 수 있다.The lower guide arm assembly 1 according to the embodiment of the present invention guides the lower arm 100 by the support guide portion 34 so that the assembly position of the lower arm 100 can be easily selected. Also, the support guide part 34 may be formed to be recessed from the front surface of the support body part 31 to reinforce the rigidity of the support body part 31.

본 발명은 도면에 도시된 실시예를 참고로 하여 설명되었으나, 이는 예시적인 것에 불과하며, 당해 기술이 속하는 분야에서 통상의 지식을 가진 자라면 이로부터 다양한 변형 및 균등한 타 실시예가 가능하다는 점을 이해할 것이다. 따라서, 본 발명의 진정한 기술적 보호범위는 아래의 특허청구범위에 의해서 정하여져야 할 것이다.While the present invention has been particularly shown and described with reference to exemplary embodiments thereof, it will be understood by those of ordinary skill in the art that various changes in form and details may be made therein without departing from the spirit and scope of the invention as defined by the appended claims. I will understand. Accordingly, the true scope of protection of the present invention should be defined by the following claims.

10 : 멤버부 11 : 멤버메인부
12 : 멤버연장부 20 : 고정부
30 : 지지부 31 : 지지몸체부
32 : 지지돌출부 33 : 지지함몰부
34 : 지지가이드부 40 : 캠볼트부
41 : 고정판부 42 : 고정막대부
43 : 고정머리부 44 : 고정너트부
45 : 고정와셔부 311 : 관통홀부
312 : 기준선 331 : 함몰직선부
332 : 함몰경사부 411 : 눈금
10: Member section 11: Member main section
12: Member extension part 20: Fixed part
30: Support part 31: Support body part
32: support protrusion 33: support depression
34: support guide part 40: cam bolt part
41: fixed plate part 42: fixed rod part
43: fixed head portion 44: fixed nut portion
45: Fixed washer 311: Through hole
312: Reference line 331:
332: depression inclined portion 411: scale

Claims (6)

차체에 결합되는 멤버부;
상기 멤버부에 결합되는 고정부;
상기 멤버부에 결합되고, 상기 고정부와 마주보도록 배치되는 지지부; 및
상기 고정부와 상기 지지부 사이에 배치되는 로워암을 고정시키는 캠볼트부를 포함하고,
상기 지지부는 상기 캠볼트부의 설치위치를 유도하는 것을 특징으로 하는 로워암 조립장치.
A member coupled to the vehicle body;
A fixing portion coupled to the member portion;
A support portion coupled to the member portion and disposed to face the fixing portion; And
And a cam bolt portion for fixing a lower arm disposed between the fixed portion and the support portion,
Wherein the support portion guides the installation position of the cam bolt portion.
제 1항에 있어서, 상기 지지부는
상기 캠볼트부가 관통되는 관통홀부가 형성되고, 상기 멤버부에 양단부가 결합되는 지지몸체부; 및
상기 지지몸체부에서 돌출되고, 상기 관통홀부의 양측방향으로 각각 배치되어 상기 캠볼트부를 안내하는 지지돌출부를 포함하는 것을 특징으로 하는 로워암 조립장치.
2. The apparatus of claim 1,
A support body portion having a through hole portion through which the cam bolt portion is inserted and to which both ends are coupled to the member portion; And
And a support protrusion protruding from the support body portion and disposed in both side directions of the through hole to guide the cam bolt portion.
제 2항에 있어서, 상기 지지부는
상기 관통홀부와 상기 지지돌출부 사이에 배치되고, 상기 지지몸체부의 전면에서 함몰되어 상기 캠볼트부와 상기 지지돌출부 간의 간섭을 방지하는 지지함몰부를 더 포함하는 것을 특징으로 하는 로워암 조립장치.
3. The apparatus of claim 2, wherein the support
Further comprising a support dimple disposed between the through hole and the support protrusion to prevent interference between the cam bolt and the support protrusion when the support body is recessed from the front surface of the support body.
제 3항에 있어서, 상기 지지함몰부는
상기 관통홀부와 상기 지지돌출부 사이에 배치되는 함몰직선부; 및
상기 함몰직선부의 단부에서 상기 지지돌출부 방향으로 경사를 갖도록 형성되는 함몰경사부를 포함하는 것을 특징으로 하는 로워암 조립장치.
4. The apparatus of claim 3, wherein the support depression
A recessed straight portion disposed between the through hole portion and the support projection; And
And a depression inclined portion formed at an end of the depression rectilinear portion so as to have an inclination in the direction of the support projection.
제 2항에 있어서, 상기 지지부는
상기 지지몸체부의 배면 방향으로 돌출되어 상기 로워암을 안내하는 지지가이드부를 더 포함하는 것을 특징으로 하는 로워암 조립장치.
3. The apparatus of claim 2, wherein the support
Further comprising: a support guide portion protruding toward the back surface of the support body portion and guiding the lower arm.
제 2항에 있어서, 상기 캠볼트부는
상기 지지돌출부 사이에 삽입되어 상기 지지몸체부에 밀착되는 고정판부;
상기 고정판부의 중심에서 치우쳐 연장되고, 상기 관통홀부를 관통하는 고정막대부;
상기 고정판부의 중심에서 치우쳐 연장되는 고정머리부; 및
상기 고정막대부에 체결되는 고정너트부를 포함하는 것을 특징으로 하는 로워암 조립장치.
3. The apparatus of claim 2, wherein the cam bolt portion
A fixing plate part inserted between the supporting protrusions and coming into close contact with the supporting body part;
A fixing rod portion biased from the center of the fixing plate portion and penetrating the through hole portion;
A fixed head portion biased from the center of the fixed plate portion; And
And a fastening nut portion fastened to the fastening rod portion.
KR1020150076469A 2015-05-29 2015-05-29 Assembly device for lower arm Active KR101710372B1 (en)

Priority Applications (1)

Application Number Priority Date Filing Date Title
KR1020150076469A KR101710372B1 (en) 2015-05-29 2015-05-29 Assembly device for lower arm

Applications Claiming Priority (1)

Application Number Priority Date Filing Date Title
KR1020150076469A KR101710372B1 (en) 2015-05-29 2015-05-29 Assembly device for lower arm

Publications (2)

Publication Number Publication Date
KR20160140179A true KR20160140179A (en) 2016-12-07
KR101710372B1 KR101710372B1 (en) 2017-03-06

Family

ID=57573914

Family Applications (1)

Application Number Title Priority Date Filing Date
KR1020150076469A Active KR101710372B1 (en) 2015-05-29 2015-05-29 Assembly device for lower arm

Country Status (1)

Country Link
KR (1) KR101710372B1 (en)

Cited By (4)

* Cited by examiner, † Cited by third party
Publication number Priority date Publication date Assignee Title
KR20180093658A (en) * 2017-02-14 2018-08-22 현대모비스 주식회사 Toe controlling device for vehicle
KR20200132472A (en) * 2019-05-17 2020-11-25 현대모비스 주식회사 Rear cross member for vehicle
CN116395031A (en) * 2023-05-12 2023-07-07 奇瑞汽车股份有限公司 Subframe assembly for vehicle and vehicle
EP4378718A1 (en) * 2022-11-30 2024-06-05 Benteler Automobiltechnik GmbH Chassis component and method for producing a chassis component

Families Citing this family (1)

* Cited by examiner, † Cited by third party
Publication number Priority date Publication date Assignee Title
US10899186B2 (en) * 2019-02-12 2021-01-26 Mahindra N.A. Tech Center Cam adjustment mechanism for vehicle suspension control arm mount

Citations (2)

* Cited by examiner, † Cited by third party
Publication number Priority date Publication date Assignee Title
CN201951198U (en) * 2010-12-27 2011-08-31 东风汽车公司 Automobile four-link rear suspension
KR20130065436A (en) * 2011-12-09 2013-06-19 현대자동차주식회사 Cross member assembly for vehicles

Patent Citations (2)

* Cited by examiner, † Cited by third party
Publication number Priority date Publication date Assignee Title
CN201951198U (en) * 2010-12-27 2011-08-31 东风汽车公司 Automobile four-link rear suspension
KR20130065436A (en) * 2011-12-09 2013-06-19 현대자동차주식회사 Cross member assembly for vehicles

Cited By (5)

* Cited by examiner, † Cited by third party
Publication number Priority date Publication date Assignee Title
KR20180093658A (en) * 2017-02-14 2018-08-22 현대모비스 주식회사 Toe controlling device for vehicle
KR20200132472A (en) * 2019-05-17 2020-11-25 현대모비스 주식회사 Rear cross member for vehicle
EP4378718A1 (en) * 2022-11-30 2024-06-05 Benteler Automobiltechnik GmbH Chassis component and method for producing a chassis component
US12434519B2 (en) 2022-11-30 2025-10-07 Benteler Automobiltechnik Gmbh Chassis component and method for producing a chassis component
CN116395031A (en) * 2023-05-12 2023-07-07 奇瑞汽车股份有限公司 Subframe assembly for vehicle and vehicle

Also Published As

Publication number Publication date
KR101710372B1 (en) 2017-03-06

Similar Documents

Publication Publication Date Title
KR101710372B1 (en) Assembly device for lower arm
JP2011168190A (en) Steering position adjusting device
KR101338966B1 (en) Suspension device for automobile
US9802637B2 (en) Steering device
JP4639248B2 (en) Body front structure
CN108407881A (en) Transfer
CN101778752A (en) Vehicular steering device
KR20160039087A (en) Lower arm for vehicle
KR102539426B1 (en) Rear cross member for vehicle
JP4511389B2 (en) Steering handle position adjustment device
KR101127802B1 (en) Suspension device for automobile and manufacturing method thereof
JP6805591B2 (en) Vehicle instrument panel
JP6061993B1 (en) Front subframe stay fastening structure and front subframe body assembly method
JP2002331860A (en) Locating structure for long slide rail
JP7122222B2 (en) Damper mount mounting structure
KR101415464B1 (en) sub-frame of automobile
KR101710373B1 (en) Lower arm assembly of vehicles
CN217530600U (en) Compact clamp
KR20150033479A (en) Bush device of lower arm
KR100568995B1 (en) Cowl Cross Bar Mounting Bracket
KR101829393B1 (en) A knuckle for a vechicle comprising a clamping surface and a knuckle assembly for a vechicle comprising the knuckle
KR20240105524A (en) Integral Trailing Arm Mount Bracket for Purpose-Based Vehicles
JP2019038468A (en) Propeller shaft guard
CN114401879B (en) Stop for absorbing lateral forces
KR100394732B1 (en) Crash pad having a fixing bracket

Legal Events

Date Code Title Description
PA0109 Patent application

Patent event code: PA01091R01D

Comment text: Patent Application

Patent event date: 20150529

PA0201 Request for examination
PE0902 Notice of grounds for rejection

Comment text: Notification of reason for refusal

Patent event date: 20160620

Patent event code: PE09021S01D

AMND Amendment
E601 Decision to refuse application
PE0601 Decision on rejection of patent

Patent event date: 20161018

Comment text: Decision to Refuse Application

Patent event code: PE06012S01D

Patent event date: 20160620

Comment text: Notification of reason for refusal

Patent event code: PE06011S01I

X091 Application refused [patent]
AMND Amendment
PX0901 Re-examination

Patent event code: PX09011S01I

Patent event date: 20161018

Comment text: Decision to Refuse Application

Patent event code: PX09012R01I

Patent event date: 20160819

Comment text: Amendment to Specification, etc.

PG1501 Laying open of application
PX0701 Decision of registration after re-examination

Patent event date: 20161208

Comment text: Decision to Grant Registration

Patent event code: PX07013S01D

Patent event date: 20161114

Comment text: Amendment to Specification, etc.

Patent event code: PX07012R01I

Patent event date: 20161018

Comment text: Decision to Refuse Application

Patent event code: PX07011S01I

Patent event date: 20160819

Comment text: Amendment to Specification, etc.

Patent event code: PX07012R01I

X701 Decision to grant (after re-examination)
PR0701 Registration of establishment

Comment text: Registration of Establishment

Patent event date: 20170228

Patent event code: PR07011E01D

PR1002 Payment of registration fee

Payment date: 20170221

End annual number: 3

Start annual number: 1

PG1601 Publication of registration
FPAY Annual fee payment

Payment date: 20200301

Year of fee payment: 4

PR1001 Payment of annual fee

Payment date: 20200301

Start annual number: 4

End annual number: 4

PR1001 Payment of annual fee

Payment date: 20210302

Start annual number: 5

End annual number: 5

PR1001 Payment of annual fee

Payment date: 20220210

Start annual number: 6

End annual number: 6

PR1001 Payment of annual fee

Payment date: 20230208

Start annual number: 7

End annual number: 7

PR1001 Payment of annual fee

Payment date: 20240219

Start annual number: 8

End annual number: 8