KR20140033345A - 샤워 헤드 - Google Patents
샤워 헤드 Download PDFInfo
- Publication number
- KR20140033345A KR20140033345A KR1020137024378A KR20137024378A KR20140033345A KR 20140033345 A KR20140033345 A KR 20140033345A KR 1020137024378 A KR1020137024378 A KR 1020137024378A KR 20137024378 A KR20137024378 A KR 20137024378A KR 20140033345 A KR20140033345 A KR 20140033345A
- Authority
- KR
- South Korea
- Prior art keywords
- venturi
- shower head
- air
- handle
- water
- Prior art date
- Legal status (The legal status is an assumption and is not a legal conclusion. Google has not performed a legal analysis and makes no representation as to the accuracy of the status listed.)
- Ceased
Links
- XLYOFNOQVPJJNP-UHFFFAOYSA-N water Substances O XLYOFNOQVPJJNP-UHFFFAOYSA-N 0.000 claims abstract description 69
- 238000009792 diffusion process Methods 0.000 claims abstract description 17
- 238000000034 method Methods 0.000 claims description 17
- 241000220317 Rosa Species 0.000 claims description 7
- 238000011144 upstream manufacturing Methods 0.000 claims description 2
- 238000005406 washing Methods 0.000 description 3
- 230000009471 action Effects 0.000 description 2
- 238000010586 diagram Methods 0.000 description 2
- 238000004519 manufacturing process Methods 0.000 description 2
- 230000004048 modification Effects 0.000 description 2
- 238000012986 modification Methods 0.000 description 2
- 210000002445 nipple Anatomy 0.000 description 2
- 230000033228 biological regulation Effects 0.000 description 1
- 230000008878 coupling Effects 0.000 description 1
- 238000010168 coupling process Methods 0.000 description 1
- 238000005859 coupling reaction Methods 0.000 description 1
- 230000007423 decrease Effects 0.000 description 1
- 238000001035 drying Methods 0.000 description 1
- 230000000694 effects Effects 0.000 description 1
- 238000005265 energy consumption Methods 0.000 description 1
- 238000005086 pumping Methods 0.000 description 1
- 239000010865 sewage Substances 0.000 description 1
- 230000007704 transition Effects 0.000 description 1
Images
Classifications
-
- B—PERFORMING OPERATIONS; TRANSPORTING
- B05—SPRAYING OR ATOMISING IN GENERAL; APPLYING FLUENT MATERIALS TO SURFACES, IN GENERAL
- B05B—SPRAYING APPARATUS; ATOMISING APPARATUS; NOZZLES
- B05B7/00—Spraying apparatus for discharge of liquids or other fluent materials from two or more sources, e.g. of liquid and air, of powder and gas
- B05B7/02—Spray pistols; Apparatus for discharge
- B05B7/04—Spray pistols; Apparatus for discharge with arrangements for mixing liquids or other fluent materials before discharge
- B05B7/0416—Spray pistols; Apparatus for discharge with arrangements for mixing liquids or other fluent materials before discharge with arrangements for mixing one gas and one liquid
-
- B—PERFORMING OPERATIONS; TRANSPORTING
- B05—SPRAYING OR ATOMISING IN GENERAL; APPLYING FLUENT MATERIALS TO SURFACES, IN GENERAL
- B05B—SPRAYING APPARATUS; ATOMISING APPARATUS; NOZZLES
- B05B1/00—Nozzles, spray heads or other outlets, with or without auxiliary devices such as valves, heating means
- B05B1/26—Nozzles, spray heads or other outlets, with or without auxiliary devices such as valves, heating means with means for mechanically breaking-up or deflecting the jet after discharge, e.g. with fixed deflectors; Breaking-up the discharged liquid or other fluent material by impinging jets
-
- A—HUMAN NECESSITIES
- A47—FURNITURE; DOMESTIC ARTICLES OR APPLIANCES; COFFEE MILLS; SPICE MILLS; SUCTION CLEANERS IN GENERAL
- A47K—SANITARY EQUIPMENT NOT OTHERWISE PROVIDED FOR; TOILET ACCESSORIES
- A47K3/00—Baths; Douches; Appurtenances therefor
- A47K3/28—Showers or bathing douches
-
- A—HUMAN NECESSITIES
- A61—MEDICAL OR VETERINARY SCIENCE; HYGIENE
- A61H—PHYSICAL THERAPY APPARATUS, e.g. DEVICES FOR LOCATING OR STIMULATING REFLEX POINTS IN THE BODY; ARTIFICIAL RESPIRATION; MASSAGE; BATHING DEVICES FOR SPECIAL THERAPEUTIC OR HYGIENIC PURPOSES OR SPECIFIC PARTS OF THE BODY
- A61H33/00—Bathing devices for special therapeutic or hygienic purposes
- A61H33/02—Bathing devices for use with gas-containing liquid, or liquid in which gas is led or generated, e.g. carbon dioxide baths
-
- A—HUMAN NECESSITIES
- A61—MEDICAL OR VETERINARY SCIENCE; HYGIENE
- A61H—PHYSICAL THERAPY APPARATUS, e.g. DEVICES FOR LOCATING OR STIMULATING REFLEX POINTS IN THE BODY; ARTIFICIAL RESPIRATION; MASSAGE; BATHING DEVICES FOR SPECIAL THERAPEUTIC OR HYGIENIC PURPOSES OR SPECIFIC PARTS OF THE BODY
- A61H33/00—Bathing devices for special therapeutic or hygienic purposes
- A61H33/60—Components specifically designed for the therapeutic baths of groups A61H33/00
- A61H33/601—Inlet to the bath
- A61H33/6021—Nozzles
- A61H33/6036—Hand-held connected to a supply hose
-
- A—HUMAN NECESSITIES
- A61—MEDICAL OR VETERINARY SCIENCE; HYGIENE
- A61H—PHYSICAL THERAPY APPARATUS, e.g. DEVICES FOR LOCATING OR STIMULATING REFLEX POINTS IN THE BODY; ARTIFICIAL RESPIRATION; MASSAGE; BATHING DEVICES FOR SPECIAL THERAPEUTIC OR HYGIENIC PURPOSES OR SPECIFIC PARTS OF THE BODY
- A61H33/00—Bathing devices for special therapeutic or hygienic purposes
- A61H33/60—Components specifically designed for the therapeutic baths of groups A61H33/00
- A61H33/601—Inlet to the bath
- A61H33/6021—Nozzles
- A61H33/6052—Having flow regulating means
-
- B—PERFORMING OPERATIONS; TRANSPORTING
- B05—SPRAYING OR ATOMISING IN GENERAL; APPLYING FLUENT MATERIALS TO SURFACES, IN GENERAL
- B05B—SPRAYING APPARATUS; ATOMISING APPARATUS; NOZZLES
- B05B1/00—Nozzles, spray heads or other outlets, with or without auxiliary devices such as valves, heating means
- B05B1/002—Nozzles, spray heads or other outlets, with or without auxiliary devices such as valves, heating means designed to reduce the generation or the transmission of noise or to produce a particular sound; associated with noise monitoring means
-
- B—PERFORMING OPERATIONS; TRANSPORTING
- B05—SPRAYING OR ATOMISING IN GENERAL; APPLYING FLUENT MATERIALS TO SURFACES, IN GENERAL
- B05B—SPRAYING APPARATUS; ATOMISING APPARATUS; NOZZLES
- B05B15/00—Details of spraying plant or spraying apparatus not otherwise provided for; Accessories
- B05B15/60—Arrangements for mounting, supporting or holding spraying apparatus
- B05B15/65—Mounting arrangements for fluid connection of the spraying apparatus or its outlets to flow conduits
-
- B—PERFORMING OPERATIONS; TRANSPORTING
- B05—SPRAYING OR ATOMISING IN GENERAL; APPLYING FLUENT MATERIALS TO SURFACES, IN GENERAL
- B05B—SPRAYING APPARATUS; ATOMISING APPARATUS; NOZZLES
- B05B7/00—Spraying apparatus for discharge of liquids or other fluent materials from two or more sources, e.g. of liquid and air, of powder and gas
- B05B7/02—Spray pistols; Apparatus for discharge
- B05B7/04—Spray pistols; Apparatus for discharge with arrangements for mixing liquids or other fluent materials before discharge
-
- B—PERFORMING OPERATIONS; TRANSPORTING
- B05—SPRAYING OR ATOMISING IN GENERAL; APPLYING FLUENT MATERIALS TO SURFACES, IN GENERAL
- B05B—SPRAYING APPARATUS; ATOMISING APPARATUS; NOZZLES
- B05B7/00—Spraying apparatus for discharge of liquids or other fluent materials from two or more sources, e.g. of liquid and air, of powder and gas
- B05B7/02—Spray pistols; Apparatus for discharge
- B05B7/04—Spray pistols; Apparatus for discharge with arrangements for mixing liquids or other fluent materials before discharge
- B05B7/0416—Spray pistols; Apparatus for discharge with arrangements for mixing liquids or other fluent materials before discharge with arrangements for mixing one gas and one liquid
- B05B7/0441—Spray pistols; Apparatus for discharge with arrangements for mixing liquids or other fluent materials before discharge with arrangements for mixing one gas and one liquid with one inner conduit of liquid surrounded by an external conduit of gas upstream the mixing chamber
- B05B7/045—Spray pistols; Apparatus for discharge with arrangements for mixing liquids or other fluent materials before discharge with arrangements for mixing one gas and one liquid with one inner conduit of liquid surrounded by an external conduit of gas upstream the mixing chamber the gas and liquid flows being parallel just upstream the mixing chamber
-
- B—PERFORMING OPERATIONS; TRANSPORTING
- B05—SPRAYING OR ATOMISING IN GENERAL; APPLYING FLUENT MATERIALS TO SURFACES, IN GENERAL
- B05B—SPRAYING APPARATUS; ATOMISING APPARATUS; NOZZLES
- B05B7/00—Spraying apparatus for discharge of liquids or other fluent materials from two or more sources, e.g. of liquid and air, of powder and gas
- B05B7/02—Spray pistols; Apparatus for discharge
- B05B7/06—Spray pistols; Apparatus for discharge with at least one outlet orifice surrounding another approximately in the same plane
- B05B7/062—Spray pistols; Apparatus for discharge with at least one outlet orifice surrounding another approximately in the same plane with only one liquid outlet and at least one gas outlet
-
- A—HUMAN NECESSITIES
- A61—MEDICAL OR VETERINARY SCIENCE; HYGIENE
- A61H—PHYSICAL THERAPY APPARATUS, e.g. DEVICES FOR LOCATING OR STIMULATING REFLEX POINTS IN THE BODY; ARTIFICIAL RESPIRATION; MASSAGE; BATHING DEVICES FOR SPECIAL THERAPEUTIC OR HYGIENIC PURPOSES OR SPECIFIC PARTS OF THE BODY
- A61H33/00—Bathing devices for special therapeutic or hygienic purposes
- A61H33/02—Bathing devices for use with gas-containing liquid, or liquid in which gas is led or generated, e.g. carbon dioxide baths
- A61H33/027—Gas-water mixing nozzles therefor
-
- B—PERFORMING OPERATIONS; TRANSPORTING
- B05—SPRAYING OR ATOMISING IN GENERAL; APPLYING FLUENT MATERIALS TO SURFACES, IN GENERAL
- B05B—SPRAYING APPARATUS; ATOMISING APPARATUS; NOZZLES
- B05B1/00—Nozzles, spray heads or other outlets, with or without auxiliary devices such as valves, heating means
- B05B1/14—Nozzles, spray heads or other outlets, with or without auxiliary devices such as valves, heating means with multiple outlet openings; with strainers in or outside the outlet opening
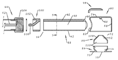
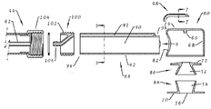
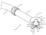
- B05B1/18—Roses; Shower heads
-
- B—PERFORMING OPERATIONS; TRANSPORTING
- B05—SPRAYING OR ATOMISING IN GENERAL; APPLYING FLUENT MATERIALS TO SURFACES, IN GENERAL
- B05B—SPRAYING APPARATUS; ATOMISING APPARATUS; NOZZLES
- B05B7/00—Spraying apparatus for discharge of liquids or other fluent materials from two or more sources, e.g. of liquid and air, of powder and gas
- B05B7/16—Spraying apparatus for discharge of liquids or other fluent materials from two or more sources, e.g. of liquid and air, of powder and gas incorporating means for heating or cooling the material to be sprayed
- B05B7/1606—Spraying apparatus for discharge of liquids or other fluent materials from two or more sources, e.g. of liquid and air, of powder and gas incorporating means for heating or cooling the material to be sprayed the spraying of the material involving the use of an atomising fluid, e.g. air
- B05B7/1613—Spraying apparatus for discharge of liquids or other fluent materials from two or more sources, e.g. of liquid and air, of powder and gas incorporating means for heating or cooling the material to be sprayed the spraying of the material involving the use of an atomising fluid, e.g. air comprising means for heating the atomising fluid before mixing with the material to be sprayed
- B05B7/162—Spraying apparatus for discharge of liquids or other fluent materials from two or more sources, e.g. of liquid and air, of powder and gas incorporating means for heating or cooling the material to be sprayed the spraying of the material involving the use of an atomising fluid, e.g. air comprising means for heating the atomising fluid before mixing with the material to be sprayed and heat being transferred from the atomising fluid to the material to be sprayed
- B05B7/1626—Spraying apparatus for discharge of liquids or other fluent materials from two or more sources, e.g. of liquid and air, of powder and gas incorporating means for heating or cooling the material to be sprayed the spraying of the material involving the use of an atomising fluid, e.g. air comprising means for heating the atomising fluid before mixing with the material to be sprayed and heat being transferred from the atomising fluid to the material to be sprayed at the moment of mixing
Landscapes
- Health & Medical Sciences (AREA)
- Public Health (AREA)
- Epidemiology (AREA)
- General Health & Medical Sciences (AREA)
- Pain & Pain Management (AREA)
- Physical Education & Sports Medicine (AREA)
- Rehabilitation Therapy (AREA)
- Life Sciences & Earth Sciences (AREA)
- Animal Behavior & Ethology (AREA)
- Veterinary Medicine (AREA)
- Nozzles (AREA)
- Bathtubs, Showers, And Their Attachments (AREA)
Applications Claiming Priority (3)
| Application Number | Priority Date | Filing Date | Title |
|---|---|---|---|
| GB1102766.1A GB2488144B (en) | 2011-02-17 | 2011-02-17 | Shower head |
| GB1102766.1 | 2011-02-17 | ||
| PCT/GB2012/050304 WO2012110790A1 (en) | 2011-02-17 | 2012-02-10 | Shower head |
Publications (1)
| Publication Number | Publication Date |
|---|---|
| KR20140033345A true KR20140033345A (ko) | 2014-03-18 |
Family
ID=43859558
Family Applications (1)
| Application Number | Title | Priority Date | Filing Date |
|---|---|---|---|
| KR1020137024378A Ceased KR20140033345A (ko) | 2011-02-17 | 2012-02-10 | 샤워 헤드 |
Country Status (14)
| Country | Link |
|---|---|
| US (1) | US9855569B2 (enExample) |
| EP (1) | EP2675568B1 (enExample) |
| JP (1) | JP6026435B2 (enExample) |
| KR (1) | KR20140033345A (enExample) |
| CN (1) | CN103379964B (enExample) |
| AU (1) | AU2012216911B2 (enExample) |
| BR (1) | BR112013020861A2 (enExample) |
| CA (1) | CA2826736A1 (enExample) |
| GB (1) | GB2488144B (enExample) |
| MX (1) | MX352860B (enExample) |
| MY (1) | MY170443A (enExample) |
| RU (1) | RU2013139690A (enExample) |
| WO (1) | WO2012110790A1 (enExample) |
| ZA (1) | ZA201306157B (enExample) |
Families Citing this family (8)
| Publication number | Priority date | Publication date | Assignee | Title |
|---|---|---|---|---|
| CN104759363A (zh) * | 2015-03-24 | 2015-07-08 | 安徽全盛机械有限公司 | 一种节能型离心机喷嘴 |
| GB2553110A (en) * | 2016-08-22 | 2018-02-28 | Kelda Showers Ltd | Shower head producing a suspension of water droplets in air |
| JP6423495B1 (ja) * | 2017-07-21 | 2018-11-14 | 株式会社メンテック | ノズルキャップ、それを備えたノズル装置及び薬液の散布方法 |
| CN109465122A (zh) * | 2019-01-10 | 2019-03-15 | 广东万家乐燃气具有限公司 | 一种富氧花洒及热水器 |
| GB202005441D0 (en) * | 2020-04-14 | 2020-05-27 | Kelda Showers Ltd | Shower head and method of operation to produce a suspension of water droplets in air |
| GB202103024D0 (en) | 2021-03-03 | 2021-04-14 | Kelda Showers Ltd | Water outlet fitting, e.g. tap or shower head, producing a combined flow of gas and water, and power connector therefor |
| GB2612790A (en) | 2021-11-10 | 2023-05-17 | Kelda Showers Ltd | Water outlet fitting, e.g. shower head or tap, producing water bubbles |
| GB2638259A (en) * | 2024-02-16 | 2025-08-20 | Cordon Tech Ltd | Pesticide sprayer and sprayer nozzle |
Family Cites Families (25)
| Publication number | Priority date | Publication date | Assignee | Title |
|---|---|---|---|---|
| FR683612A (fr) | 1929-01-28 | 1930-06-16 | Neu Sa | Pulvérisateur d'eau à air comprimé à basse pression permettant l'utilisation d'un ventilateur au lieu d'un compresseur |
| US2026743A (en) | 1934-11-26 | 1936-01-07 | Clinton J Kurtz | Spray nozzle |
| US3281864A (en) | 1963-07-29 | 1966-11-01 | Hildegarde B Linnehan | Portable bathing appliance for therapeutic use |
| US3568668A (en) | 1969-06-04 | 1971-03-09 | Harry B Neis | Automatic shower assembly |
| FR2259576A1 (en) | 1972-08-16 | 1975-08-29 | Baker Larry | Low water consumption washing apparatus such as shower - includes water source, pressurized gas source and device for carrying water droplets on gas flow to generate high pressure cleaning water jet |
| US4134547A (en) | 1976-12-14 | 1979-01-16 | O. Ditlev-Simonsen, Jr. | Jet pipe |
| US4341347A (en) * | 1980-05-05 | 1982-07-27 | S. C. Johnson & Son, Inc. | Electrostatic spraying of liquids |
| US4426040A (en) | 1981-06-04 | 1984-01-17 | Smith Lewis L | Adjustable aerating shower head |
| JP2830432B2 (ja) | 1990-09-11 | 1998-12-02 | 松下電器産業株式会社 | シャワー装置 |
| JPH09262512A (ja) | 1996-01-26 | 1997-10-07 | Mitsubishi Electric Corp | 気液噴射機およびその動作方法 |
| DE19813366C2 (de) | 1997-04-02 | 2002-12-05 | Hartmut Wolf | Brausekopf |
| JP2000237082A (ja) * | 1999-02-17 | 2000-09-05 | Toto Ltd | 空気混入シャワーヘッド |
| JP2001149252A (ja) | 1999-11-29 | 2001-06-05 | Takara Belmont Co Ltd | 発泡シャワー装置 |
| JP2002119435A (ja) * | 2000-10-13 | 2002-04-23 | Toto Ltd | 泡沫シャワー装置 |
| JP2002272805A (ja) * | 2001-03-15 | 2002-09-24 | Toto Ltd | 血行促進シャワー |
| JP2006116518A (ja) | 2004-10-25 | 2006-05-11 | Fujio Negoro | マイクロバブル発生シャワー |
| DE102005048489A1 (de) * | 2005-10-07 | 2007-04-19 | Dieter Prof. Dr.-Ing. Wurz | Zweistoffdüse mit Ringspaltzerstäubung |
| DE102006009147A1 (de) * | 2006-02-24 | 2007-08-30 | Wurz, Dieter, Prof. Dr.-Ing. | Zweistoffdüse mit Weitwinkelstrahl |
| WO2007124455A2 (en) | 2006-04-20 | 2007-11-01 | Water Pik, Inc. | Converging spray showerhead |
| JP2007326082A (ja) | 2006-06-09 | 2007-12-20 | Takara Belmont Co Ltd | シャワーヘッド |
| GB2454228B (en) * | 2007-11-01 | 2011-08-03 | Rapro Emulations Ltd | Shower head and shower apparatus |
| US20090202293A1 (en) * | 2008-02-12 | 2009-08-13 | Peter Kajuch | Air induction showerhead ball joint |
| CN201313083Y (zh) | 2008-08-07 | 2009-09-23 | 张藤予 | 气水混合式节水淋浴装置 |
| DE202011001711U1 (de) | 2011-01-19 | 2011-04-21 | Delvac Sanitär GmbH | Vorrichtung zum Austritt von Wasser unter Beimischung von Luft, sowie einer Brause oder Handbrause |
| CN202174022U (zh) * | 2011-07-11 | 2012-03-28 | 陶正年 | 低水压单孔防堵花洒 |
-
2011
- 2011-02-17 GB GB1102766.1A patent/GB2488144B/en not_active Expired - Fee Related
-
2012
- 2012-02-10 MY MYPI2013002892A patent/MY170443A/en unknown
- 2012-02-10 BR BR112013020861A patent/BR112013020861A2/pt not_active Application Discontinuation
- 2012-02-10 CA CA2826736A patent/CA2826736A1/en not_active Abandoned
- 2012-02-10 EP EP12705708.1A patent/EP2675568B1/en active Active
- 2012-02-10 KR KR1020137024378A patent/KR20140033345A/ko not_active Ceased
- 2012-02-10 JP JP2013554003A patent/JP6026435B2/ja not_active Expired - Fee Related
- 2012-02-10 WO PCT/GB2012/050304 patent/WO2012110790A1/en not_active Ceased
- 2012-02-10 MX MX2013009534A patent/MX352860B/es active IP Right Grant
- 2012-02-10 CN CN201280009000.7A patent/CN103379964B/zh active Active
- 2012-02-10 US US13/985,637 patent/US9855569B2/en not_active Expired - Fee Related
- 2012-02-10 RU RU2013139690/05A patent/RU2013139690A/ru not_active Application Discontinuation
- 2012-02-10 AU AU2012216911A patent/AU2012216911B2/en not_active Ceased
-
2013
- 2013-08-15 ZA ZA2013/06157A patent/ZA201306157B/en unknown
Also Published As
| Publication number | Publication date |
|---|---|
| MX352860B (es) | 2017-12-13 |
| CN103379964A (zh) | 2013-10-30 |
| EP2675568B1 (en) | 2020-04-08 |
| AU2012216911B2 (en) | 2017-04-13 |
| AU2012216911A1 (en) | 2013-08-22 |
| US20130320112A1 (en) | 2013-12-05 |
| CN103379964B (zh) | 2016-06-01 |
| GB201102766D0 (en) | 2011-03-30 |
| RU2013139690A (ru) | 2015-04-10 |
| GB2488144B (en) | 2014-01-15 |
| JP2014508592A (ja) | 2014-04-10 |
| CA2826736A1 (en) | 2012-08-23 |
| GB2488144A (en) | 2012-08-22 |
| US9855569B2 (en) | 2018-01-02 |
| ZA201306157B (en) | 2014-04-30 |
| HK1185580A1 (zh) | 2014-02-21 |
| WO2012110790A1 (en) | 2012-08-23 |
| BR112013020861A2 (pt) | 2016-09-27 |
| MX2013009534A (es) | 2014-04-25 |
| EP2675568A1 (en) | 2013-12-25 |
| MY170443A (en) | 2019-07-31 |
| JP6026435B2 (ja) | 2016-11-16 |
Similar Documents
| Publication | Publication Date | Title |
|---|---|---|
| KR20140033345A (ko) | 샤워 헤드 | |
| US9518681B2 (en) | Fixture for a sink | |
| US20100252658A1 (en) | Shower Arrangement | |
| US4422191A (en) | Hydrotherapy jet for tubs, spas or pools | |
| TW200940020A (en) | Air induction showerhead ball joint | |
| US20110108640A1 (en) | Shower head for a sanitary shower fitting | |
| CN102216535B (zh) | 节水栓 | |
| CN102817399A (zh) | 水槽的固定设备 | |
| CA2344185A1 (en) | Nozzle for fluid dispenser | |
| JP2012523511A (ja) | エアインダクター | |
| CA2959840A1 (en) | Power sprayer | |
| JPH11222890A (ja) | 水道用蛇口装置 | |
| US9974709B2 (en) | Nozzles | |
| KR200266540Y1 (ko) | 상수압을 이용한 기체 흡입 및 수중 혼합 장치를 구비한샤워헤드 | |
| HK1185580B (en) | Shower head | |
| KR200425310Y1 (ko) | 절수장치를 갖춘 샤워기 | |
| JP2024068604A (ja) | 水栓 | |
| HK1142288A (en) | Foam-generating device of a fire nozzle | |
| JP2020031783A (ja) | シャワーヘッド装置 | |
| JPH06225916A (ja) | バスタブ用ジェットノズル |
Legal Events
| Date | Code | Title | Description |
|---|---|---|---|
| PA0105 | International application |
Patent event date: 20130913 Patent event code: PA01051R01D Comment text: International Patent Application |
|
| PG1501 | Laying open of application | ||
| PA0201 | Request for examination |
Patent event code: PA02012R01D Patent event date: 20170103 Comment text: Request for Examination of Application |
|
| E902 | Notification of reason for refusal | ||
| PE0902 | Notice of grounds for rejection |
Comment text: Notification of reason for refusal Patent event date: 20180330 Patent event code: PE09021S01D |
|
| E601 | Decision to refuse application | ||
| PE0601 | Decision on rejection of patent |
Patent event date: 20181031 Comment text: Decision to Refuse Application Patent event code: PE06012S01D Patent event date: 20180330 Comment text: Notification of reason for refusal Patent event code: PE06011S01I |