KR20130000030A - 기능성 의자 - Google Patents

기능성 의자 Download PDF

Info

Publication number
KR20130000030A
KR20130000030A KR1020110060460A KR20110060460A KR20130000030A KR 20130000030 A KR20130000030 A KR 20130000030A KR 1020110060460 A KR1020110060460 A KR 1020110060460A KR 20110060460 A KR20110060460 A KR 20110060460A KR 20130000030 A KR20130000030 A KR 20130000030A
Authority
KR
South Korea
Prior art keywords
seat plate
support
user
functional chair
chair
Prior art date
Legal status (The legal status is an assumption and is not a legal conclusion. Google has not performed a legal analysis and makes no representation as to the accuracy of the status listed.)
Ceased
Application number
KR1020110060460A
Other languages
English (en)
Inventor
최광영
Original Assignee
최광영
Priority date (The priority date is an assumption and is not a legal conclusion. Google has not performed a legal analysis and makes no representation as to the accuracy of the date listed.)
Filing date
Publication date
Application filed by 최광영 filed Critical 최광영
Priority to KR1020110060460A priority Critical patent/KR20130000030A/ko
Publication of KR20130000030A publication Critical patent/KR20130000030A/ko
Ceased legal-status Critical Current

Links

Images

Classifications

    • AHUMAN NECESSITIES
    • A47FURNITURE; DOMESTIC ARTICLES OR APPLIANCES; COFFEE MILLS; SPICE MILLS; SUCTION CLEANERS IN GENERAL
    • A47CCHAIRS; SOFAS; BEDS
    • A47C3/00Chairs characterised by structural features; Chairs or stools with rotatable or vertically-adjustable seats
    • A47C3/16Chairs characterised by structural features; Chairs or stools with rotatable or vertically-adjustable seats of legless type, e.g. with seat directly resting on the floor; Hassocks; Pouffes
    • AHUMAN NECESSITIES
    • A47FURNITURE; DOMESTIC ARTICLES OR APPLIANCES; COFFEE MILLS; SPICE MILLS; SUCTION CLEANERS IN GENERAL
    • A47CCHAIRS; SOFAS; BEDS
    • A47C15/00Other seating furniture
    • A47C15/004Seating furniture for specified purposes not covered by main groups A47C1/00 or A47C9/00
    • AHUMAN NECESSITIES
    • A47FURNITURE; DOMESTIC ARTICLES OR APPLIANCES; COFFEE MILLS; SPICE MILLS; SUCTION CLEANERS IN GENERAL
    • A47CCHAIRS; SOFAS; BEDS
    • A47C3/00Chairs characterised by structural features; Chairs or stools with rotatable or vertically-adjustable seats
    • A47C3/02Rocking chairs
    • A47C3/029Rocking chairs with curved rocking members resting on the floor
    • AHUMAN NECESSITIES
    • A47FURNITURE; DOMESTIC ARTICLES OR APPLIANCES; COFFEE MILLS; SPICE MILLS; SUCTION CLEANERS IN GENERAL
    • A47CCHAIRS; SOFAS; BEDS
    • A47C9/00Stools for specified purposes
    • A47C9/10Camp, travelling, or sports stools

Landscapes

  • Chairs Characterized By Structure (AREA)

Abstract

본 발명은 기능성 의자에 관한 것으로서, 보다 구체적으로는 사용자의 자세 변화에 따라 적절히 형태가 변하여 모든 자세에서 척추 및 상체를 적절히 지지할 수 있는 기능성 의자에 관한 것이다. 특히, 좌식 의자로 사용될 수 있는 착석부와 착석부가 지면에 대하여 소정의 높이만큼 위치할 수 있도록 하는 지지부를 분리하여 필요에 맞게 용도를 변화할 수 있는 기능성 의자에 관한 것이다.

Description

기능성 의자{FUNCTIONAL CHAIR}
본 발명은 기능성 의자에 관한 것으로서, 보다 구체적으로는 사용자의 자세 변화에 따라 적절히 형태가 변하여 모든 자세에서 척추 및 상체를 적절히 지지할 수 있는 기능성 의자에 관한 것이다. 특히, 좌식 의자로 사용될 수 있는 착석부와 착석부가 지면에 대하여 소정의 높이만큼 위치할 수 있도록 하는 지지부를 분리하여 필요에 맞게 용도를 변화할 수 있는 기능성 의자에 관한 것이다.
기본적으로 바닥에 앉는 자세는 일반적으로 몸이 전방으로 과다하게 기울어져 하요추부의 후만이 심하게 증가되는데, 이로 인하여 고관절의 과굴곡, 양측 족근관절 외과 부위의 압박 등의 문제가 생기는데, 특히 하요추부의 후만은 일반 의자에 앉은 상태에 비하여 훨씬 심하다 할 수 있다. 도 1을 참조하면, 바닥에 앉은 상태에서 요추부를 포함한 전체 척추가 올바른 자세를 유지한다는 것은 매우 어려운 일이다.
의자를 사용하는 경우, 사용자는 일반적으로 두 가지의 특징적인 자세를 취하게 되는데, 후방으로 몸을 기대어 휴식을 하는 자세, 그리고 전방으로 몸을 숙여 작업을 하는 자세가 그러하다. 의자는 우리가 취하는 일반적인 이 두 가지의 특정 자세에 대하여 적절히 변형을 하여, 우리의 몸을 지지하여야 하는데, 기존의 의자는 사용자가 자세를 바꾸어도 형태의 변화가 매우 제한적이며, 특히 등판은 사용자가 몸을 앞으로 숙일 때 움직이지 않아 휴식 시의 요추부 지지효과가 작업할 때에는 지속되지 않는 문제가 있다.
도 2에 도시된 기존의 좌식의자들은 좌판 위에 사용자의 둔부 및 하지의 전체가 평면 위에 올라가게 되어 둔부와 하퇴부에 높이 차이가 없고, 등판이나 좌판의 움직임이 없어 사용자가 뒤로 기대어 휴식 시에만 편안함을 줄 뿐, 전방으로 몸을 숙여 작업시 고관절의 과굴곡, 양측 족근관절 외과의 심한 압박, 척추의 심한 후만을 거의 해결하지 못한다.
또한, 기존의 흔들의자들은 휴식시의 편안함만을 목적으로 하는데, 이외에도 작업 혹은 학습시의 요추부의 지지 및 보호 역할을 하는 의자가 요구되는 실정이다.
본 발명이 해결하려는 과제는 바닥 및 의자에 앉은 자세에서 발생하는 일반적인 문제를 해결하기 위한 것으로서, 기존의 좌식 의자들이 해결하지 못하는 척추의 지나친 후만에 의한 하요추부의 긴장 및 스트레스, 고관절의 100~130°에 이르는 과도한 굴곡, 족근관절에 발생하는 과도한 압박으로 요약할 수 있으며, 사용자의 자세 변화에 따라 적절히 형태가 변하여 모든 자세에서 척추 및 상체를 적절히 지지할 수 있는 기능성 의자를 제공하는 것을 목적으로 한다.
상기 과제를 해결하기 위하여, 본 발명은 사용자의 엉덩이 부위가 안착되는 좌판(12)과, 상기 좌판의 후방에서 연장형성되어 사용자의 등 부위를 지지할 수 있도록 제공되는 등판(11)과, 상기 좌판(12)의 양 측면에 제공되어, 상기 좌판(12)을 지지하는 한 쌍의 받침부(13)와, 상기 받침부(13)의 후방에서 연장 형성되어 상기 등판(11)이 뒤로 넘어가는 것을 방지하기 위한 돌출부(15)를 포함하고, 상기 받침부(13)는 전방으로 경사진 제1 만곡부(14)가 형성되어, 좌판이 소정의 각도만큼 전방으로 기울어질 수 있도록 제공되고, 상기 돌출부(15)는 후방으로 경사진 제2 만곡부(16)가 형성되어, 좌판이 소정의 각도만큼 후방으로 기울어질 수 있도록 제공되는 것을 특징으로 하는, 기능성 의자를 제공한다.
좌판을 기존의 좌판보다 짧은 20~30cm(이는 신장의 차이에 따라 다르지만, 착석시 사용자의 하퇴부가 자연스럽게 전방 하부에 놓이게 되는 길이이며, 신장 170cm 기준으로 좌판의 길이는 30cm정도가 적당하며, 좌판의 길이는 사용자의 편의에 따라 길이를 조절할 수 있는 구조를 가질 수도 있다)로 제작하는 경우, 둔부만 받혀주고 슬관절과 족근 관절보다 둔부가 높은 지점에 있는 자세가 가능하고, 좌판과 등판이 조화를 이루며 동시에 전방과 후방으로 기울 수 있어, 사용자의 자세에 따라 의자의 형태가 적절한 변형을 이루어 사용자의 자세에 가장 적합한 상태를 이루며 작업 및 휴식 시의 모든 경우에 사용자의 요추를 지지 및 보호할 수 있을 뿐 아니라, 양측 족근관절의 압박 감소, 고관절의 과굴곡 감소 효과로 인하여 하지의 무리한 긴장 및 통증이 줄어들며, 특히 척추의 후만 변형이 감소하여 신체 전체의 바른 자세 뿐만 아니라 요추부의 긴장이 감소하여 장시간 작업시 집중력을 향상시킬 수 있는 효과가 있다.
뿐만 아니라, 좌판의 후, 하면에 일정한 각을 이루며 돌출된 걸림 기둥은 사용자가 뒤로 등을 기대어 휴식시 넘어지는 안전사고를 예방할 뿐 아니라, 편안한 휴식을 제공할 수 있다.
도 1은 일반적인 평면에서의 착석 자세 및 둔부만 올려 놓는 받침에서의 요추 형상을 개략적으로 도시한 도면.
도 2는 종래의 일반적인 좌식 의자의 측면도.
도 3은 본 발명에 의한 기능성 의자의 사시도.
도 4는 본 발명에 의한 기능성 의자의 측면도.
도 5는 본 발명에 의한 기능성 의자의 동작 상태도.
도 6은 본 발명에 의한 기능성 의자의 다른 사용상태를 나타내는 사시도.
도 7은 본 발명에 의한 기능성 의자의 다른 사용상태를 나타내는 측면도.
도 8은 본 발명에 의한 기능성 의자의 다른 실시예의 측면도.
도 9는 본 발명에 의한 기능성 의자의 다른 실시예의 측면도.
도 10은 본 발명에 의한 기능성 의자의 다른 실시예의 측면도.
도 11은 본 발명에 의한 기능성 의자의 다른 실시예의 사시도.
이하 첨부된 도면을 참조하여 본 발명에 대해 구체적으로 살펴보기로 한다.
다만, 본 발명을 설명함에 있어, 관련된 공지 기능 또는 구성에 대한 구체적인 설명이 본 발명의 요지를 불필요하게 흐릴 수 있다고 판단되는 경우에는 그 상세한 설명을 생략한다. 용어가 동일하더라도 표시하는 부분이 상이하면 도면 부호가 일치하지 않음을 미리 말해두는 바이다.
그리고 후술되는 용어들은 본 발명에서의 기능을 고려하여 설정된 용어들로서 이는 실험자 및 측정자와 같은 사용자의 의도 또는 관례에 따라 달라질 수 있으므로 그 정의는 본 명세서 전반에 걸친 내용을 토대로 내려져야 할 것이다.
도 3 내지 도 4를 참조하면, 본 발명에 의한 기능성 의자의 주요 구성 부분은 4가지로 구분된다.
좌판(12)은 일반 의자의 좌판보다 전후면의 길이가 짧은 20~30cm로 구성되고, 3cm이상의 비교적 두꺼운 좌판을 사용한다. 또한, 약 10~25° 전방 경사가 가능하도록 구성된 좌판의 하부 전면의 사면, 다각형 혹은 곡면으로 형성된 만곡부(14), 좌판 후면의 상부 일측에서 하요추부를 지지하는 적절한 만곡의 등판(11), 약 10°이상의 후방 경사가 가능하며 의자가 후방으로 넘어지는 것을 방지하는 돌출부(15)이다.
도 5를 참조하면, 짧은 좌식 흔들의자의 사용방법은 다음과 같다.
사용자는 좌판위에 둔부만을 올리고 등을 등판에 기대고 앉는다. 이때 하퇴부와 족부는 좌판의 전면 밖에 약 3cm 이상의 좌판의 두께만큼 하방에 놓이게 된다.
이러한 자세로 인하여 고관절의 굴곡과 족근관절 부위의 압박은 기존의 의자에 비하여 감소하고, 둔부와 하퇴부의 높이 차이 및 등판의 지지에 의하여 요추는 바르고 편안한 자세를 취할 수 있다.
사용자가 전면으로 몸을 숙여 작업을 하고자 할 때, 사용자의 몸이 앞 쪽으로 기울게 되는데, 이때 일체의 좌판과 등판이 사용자의 몸이 기운 정도만큼 기울게 되고, 이는 좌판의 하부 전면의 곡면이 가지는 운동성 및 사용자의 무게 중심 변화에 의하여 자연스럽게 이루어진다.
이때, 좌판의 적절한 기울어짐에 의하여 고관절에는 더 이상의 과 굴곡이 발생하지 않으며, 요추의 후만도 심화되지 않는데, 이는 적절히 기울어진 좌판의 역할도 있지만, 전방으로 기울어진 자세에서도 지속적으로 하요추부에 밀착되어 있는 등판의 지지 효과가 존재하기 때문으로, 요추 근육의 긴장도의 증가는 매우 제한적이다.
또한 이때 가해지는 양측 족근관절 외과의 압박은 증가하기는 하나, 기존의 좌식 의자에 비하면 현저히 낮다 할 수 있다.
사용자가 후면으로 몸을 기대어 휴식 시 좌판 및 등판의 일체는 후방으로 약 5~10°정도의 경사를 이루게 되는데, 더 이상의 후면 경사는 좌판 하부의 후미에 존재하는 돌출부(15)에 의하여 제어된다. 또한 돌출부의 존재에 의하여 사용자가 의자와 함께 뒤로 넘어지는 안전사고도 아울러 예방될 수 있다.
이하 보다 구체적으로 본 발명에 의한 기능성 의자의 구성요소에 대해 설명하기로 한다.
본 발명에 의한 기능성 의자의 일실시예로서, 사용자의 엉덩이 부위가 안착되는 좌판(12)과, 상기 좌판의 후방에서 연장 형성되어 사용자의 등 부위를 지지할 수 있도록 제공되는 등판(11)과, 상기 좌판(12)의 양 측면에 제공되어, 상기 좌판(12)을 지지하는 한 쌍의 받침부(13)와, 상기 받침부(13)의 후방에서 연장 형성되어 상기 등판(11)이 뒤로 넘어가는 것을 방지하기 위한 돌출부(15)를 포함하는 기능성 의자를 제공한다.
좌판(12) 및 등판(11)은 일반적인 의자에서 제공되는 구성요소와 유사하다. 다만, 좌판(12)은 길이가 25 내지 30cm 정도로 하여 일반 좌식 의자의 경우보다 짧게 제공되고, 높이는 3cm 이상으로 높게 제공되는 것이 바람직하다. 이는 슬관절 이하 하퇴부 및 족근 관절을 둔부보다 아래에 위치시키기 위한 것으로, 이에 의하여 족근관절 외과의 압박, 고관절의 과굴곡, 척추의 후만이 감소되는 효과가 있다.
등판(11)은 일반적인 기존 의자처럼 등의 밀착과 적합한 만곡을 취하며, 좌판과 적절한 각도로 결합되어 있다. 또한, 결합 부위에서 적절한 유동성을 가질 수 있도록 하는 것이 바람직하다. 좌판(12)에 제공되는 만곡부(14)에 의하여 사용자가 몸을 숙여 작업할 때에도 사용자의 몸이 앞으로 기운만큼 같이 기울어지기 때문에 사용자의 등에 밀착된 상태를 유지하여 사용자의 요추를 항상 지지하게 된다.
받침부(13)는 전방으로 경사진 제1 만곡부(14)가 형성되어, 좌판이 소정의 각도만큼 전방으로 기울어질 수 있도록 제공된다. 이는 일정 형태의 원통, 사면, 다각형, 혹은 다양한 곡면의 일부 형태를 취할 수 있으며, 이로 인하여 좌판과 등판의 결합이 전방으로 15 내지 20° 정도 기울어지는 운동성을 가진다. 이에 의하여 사용자가 몸을 앞으로 숙여 작업을 수행하는 경우, 고관절의 과굴곡 및 척추 후만이 휴식시에 비하여 증가하지 않는다.
즉, 상기 제1 만곡부(14)는 상기 좌판(12)이 전방으로 최대 15 내지 20° 정도 기울어지도록 제공되는 것을 특징으로 한다.
돌출부(15)는 후방으로 경사진 제2 만곡부(16)가 형성되어, 좌판이 소정의 각도만큼 후방으로 기울어질 수 있도록 제공되는 것을 특징으로 한다. 돌출부(15)는 의자의 하부 후면에 직선 혹은 곡면의 형태로 5 내지 10° 정도 각도를 이루며, 5 내지 10cm 가량 돌출되어 있는 부위로 사용자가 뒤로 등을 기대어 휴식할 때 의자 전체와 함께 넘어지는 안전사고 예방 및 일정각도의 후방 경사가 가능하여 휴식의 편안함과 긴장 해소를 극대화하는 구성요소이다.
즉, 상기 제2 만곡부(16)는 상기 좌판(12)이 후방으로 최대 5 내지 10° 정도 기울어지도록 제공되는 것을 특징으로 한다.
이러한 실시예에서 한 쌍의 받침부(13) 사이의 공간은 채워져서 제공되는 것도 가능하다.
또한, 본 발명에 따른 기능성 의자의 다른 실시예로서 도 9 및 도 10의 예시를 들 수 있다. 이는 사용자의 엉덩이 부위가 안착되는 좌판(12)과, 상기 좌판의 후방에서 연장형성되어 사용자의 등 부위를 지지할 수 있도록 제공되는 등판(11)과, 상기 좌판(12)의 하부에 제공되어, 상기 좌판(12)을 지지하는 받침부(18, 19)와, 상기 좌판(12)의 후방에서 지면으로 연장 형성되는 제1 부재와, 상기 제1 부재의 끝단에서 상측으로 연장 형성되는 제2 부재를 포함하고, 상기 제1 부재 및 상기 제2 부재가 만나는 지점이 상기 좌판(12)을 지면에 대하여 지지하도록 제공되는 돌출부(15)를 포함하고, 상기 받침부(18, 19)는 지면과 선접촉하도록 제공되고, 상기 돌출부(15)는 후방으로 경사진 만곡부(16)가 형성되어, 좌판이 소정의 각도만큼 후방으로 기울어질 수 있도록 제공되는 것을 특징으로 한다.
이 경우, 받침부(18, 19)가 지면과 접촉하는 부분이 돌출부(15)가 지면과 접촉하는 부분보다 하측 혹은 같은 위치에 위치하도록 제공되는 것이 바람직하다. 받침부(18, 19)는 좌판(12)과 지면이 이루는 높이가 3cm 정도가 되거나 이보다 약간 크게 형성되는 것이 바람직하다. 또한, 받침부가 지면과 접촉하는 부분과 돌출부(15)가 지면과 접촉하는 부분이 이루는 각은 2 내지 5° 정도(후방으로 0 내지 5° 정도)가 되는 것이 바람직하다. 이는 앞에서 설명했던 실시예와 기능적 효과는 유사하므로 자세한 설명은 생략하기로 한다.
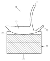
또한, 본 발명은 사용자가 착석하는 착석부(10)와, 상기 착석부(10)를 지면으로부터 소정의 높이만큼 유지시키는 지지부(20)를 포함하는 기능성 의자를 제공할 수 있다. 착석부(10)는 그 자체로서 사용하는 경우, 좌식 의자의 기능을 수행할 수 있고, 지지부(20)와 결합하여 사용하는 경우에는 일반 의자로서 사용할 수 있는 장점이 있다. 이에 대해서는 도 6 및 도 7에서 자세하게 도시되어 있다.
상기 착석부(10)는, 사용자의 엉덩이 부위가 안착되는 좌판(12)과, 상기 좌판의 후방에서 연장형성되어 사용자의 등 부위를 지지할 수 있도록 제공되는 등판(11)과, 상기 좌판(12)의 양 측면에 제공되어, 상기 좌판(12)을 지지하는 한 쌍의 받침부(13)와, 상기 받침부(13)의 후방에서 연장 형성되어 상기 등판(11)이 뒤로 넘어가는 것을 방지하기 위한 돌출부(15)를 포함한다. 이에 대한 설명은 앞에서 하였으므로 자세한 설명은 생략하기로 한다.
상기 지지부(20)는, 상기 받침부(13)가 위치하여 전후방으로 기울어질 수 있도록 안내하는 가이드홈(23)이 형성되어 있는 한 쌍의 지지부재(21)와, 상기 한 쌍의 지지부재(21)를 연결하는 연결부(22)를 포함한다.
상기 받침부(13)는 전방으로 경사진 제1 만곡부(14)가 형성되어, 좌판(14)이 소정의 각도만큼 전방으로 기울어질 수 있도록 제공되고, 상기 돌출부(15)는 후방으로 경사진 제2 만곡부(16)가 형성되어, 좌판(14)이 소정의 각도만큼 후방으로 기울어질 수 있도록 제공되는 것을 특징으로 한다. 이에 대해서도 앞에서 설명한 바와 대동소이하므로 자세한 설명은 생략하기로 한다.
또한, 도 11을 참조하면, 본 발명에 따른 다른 실시예는 좌판의 길이가 조절이 가능하도록 제공되는 것을 특징으로 한다.
이는 도 11에 도시된 바와 같이, 좌판의 전방부에는 공간이 형성되어 있고, 좌판의 후방부가 이에 끼워지는 형태가 될 수 있다. 즉, 좌판의 전방부가 후방부에 대한 상대적인 거리가 변화하면서 좌판의 전체적인 거리가 변화하는 구조이다. 이를 위해서는 좌판의 전방부에 이동에 따른 안내홈을 제공하고, 좌판의 후방부에는 이러한 안내홈을 따라 이동이 가능한 돌출부를 제공한다. 이러한 구조에 대해서는 종래의 가변적 길이 변화구조를 활용하는 것이므로 이에 대한 구체적인 설명은 생략하기로 한다.
좌판 위에는 쿠션 등의 부재를 별도로 설치하는 경우 안내홈 등에 따른 착석시 불편함을 최소화시킬 수 있는 장점이 있다.
본 발명은 상기와 같은 실시예에 의해 권리범위가 한정되는 것은 아니며, 본 발명의 기술적인 사상을 가지고 있다면 모두 본 발명의 권리범위에 해당된다고 볼 수 있으며, 본 발명은 특허청구범위에 의해 권리범위가 정해짐을 밝혀둔다.
10 : 착석부, 11 : 등판, 12 : 좌판, 13 : 받침부, 14 : 제1 만곡부, 15 : 돌출부, 16 : 제2 만곡부, 20 : 지지부, 21 : 지지부재, 22 : 연결부, 23 : 가이드홈

Claims (7)

  1. 사용자의 엉덩이 부위가 안착되는 좌판(12)과,
    상기 좌판의 후방에서 연장형성되어 사용자의 등 부위를 지지할 수 있도록 제공되는 등판(11)과,
    상기 좌판(12)의 양 측면에 제공되어, 상기 좌판(12)을 지지하는 한 쌍의 받침부(13)와,
    상기 받침부(13)의 후방에서 연장 형성되어 상기 등판(11)이 뒤로 넘어가는 것을 방지하기 위한 돌출부(15)를 포함하고,
    상기 받침부(13)는 전방으로 경사진 제1 만곡부(14)가 형성되어, 좌판이 소정의 각도만큼 전방으로 기울어질 수 있도록 제공되고,
    상기 돌출부(15)는 후방으로 경사진 제2 만곡부(16)가 형성되어, 좌판이 소정의 각도만큼 후방으로 기울어질 수 있도록 제공되는 것을 특징으로 하는,
    기능성 의자.
  2. 청구항 1에 있어서,
    상기 좌판(12)은 길이가 25cm 내지 30cm 이고, 평행한 상태에서 지면으로부터 3cm 이상의 높이를 가지도록 제공되는 것을 특징으로 하는,
    기능성 의자.
  3. 청구항 1에 있어서,
    상기 제1 만곡부(14)는 상기 좌판(12)이 전방으로 최대 15 내지 20°사이로 기울어지도록 제공되는,
    기능성 의자.
  4. 청구항 1에 있어서,
    상기 제2 만곡부(16)는 상기 좌판(12)이 후방으로 최대 5 내지 10°사이로 기울어지도록 제공되는,
    기능성 의자.
  5. 사용자의 엉덩이 부위가 안착되는 좌판(12)과,
    상기 좌판의 후방에서 연장형성되어 사용자의 등 부위를 지지할 수 있도록 제공되는 등판(11)과,
    상기 좌판(12)의 하부에 제공되어, 상기 좌판(12)을 지지하는 받침부(18, 19)와,
    상기 좌판(12)의 후방에서 지면으로 연장 형성되는 제1 부재와, 상기 제1 부재의 끝단에서 상측으로 연장 형성되는 제2 부재를 포함하고, 상기 제1 부재 및 상기 제2 부재가 만나는 지점이 상기 좌판(12)을 지면에 대하여 지지하도록 제공되는 돌출부(15)를 포함하고,
    상기 받침부(18, 19)는 지면과 선접촉 또는 면접촉 하도록 제공되고,
    상기 돌출부(15)는 후방으로 경사진 만곡부(16)가 형성되어, 좌판이 소정의 각도만큼 후방으로 기울어질 수 있도록 제공되는 것을 특징으로 하는,
    기능성 의자.
  6. 청구항 5에 있어서,
    상기 받침부(18, 19)가 지면과 접촉하는 부분이 상기 돌출부(15)가 지면과 접촉하는 부분보다 하측 또는 동일한 높이에 위치하도록 제공되는,
    기능성 의자.
  7. 사용자가 착석하는 착석부(10)와, 상기 착석부(10)를 지면으로부터 소정의 높이만큼 유지시키는 지지부(20)를 포함하는 기능성 의자에 있어서,
    상기 착석부(10)는,
    사용자의 엉덩이 부위가 안착되는 좌판(12)과,
    상기 좌판의 후방에서 연장형성되어 사용자의 등 부위를 지지할 수 있도록 제공되는 등판(11)과,
    상기 좌판(12)의 양 측면에 제공되어, 상기 좌판(12)을 지지하는 한 쌍의 받침부(13)와,
    상기 받침부(13)의 후방에서 연장 형성되어 상기 등판(11)이 뒤로 넘어가는 것을 방지하기 위한 돌출부(15)를 포함하고,
    상기 지지부(20)는,
    상기 받침부(13)가 위치하여 전후방으로 기울어질 수 있도록 안내하는 가이드홈(23)이 형성되어 있는 한 쌍의 지지부재(21)와,
    상기 한 쌍의 지지부재(21)를 연결하는 연결부(22)를 포함하고,
    상기 받침부(13)는 전방으로 경사진 제1 만곡부(14)가 형성되어, 좌판(14)이 소정의 각도만큼 전방으로 기울어질 수 있도록 제공되고,
    상기 돌출부(15)는 후방으로 경사진 제2 만곡부(16)가 형성되어, 좌판(14)이 소정의 각도만큼 후방으로 기울어질 수 있도록 제공되는 것을 특징으로 하는,
    기능성 의자.
KR1020110060460A 2011-06-22 2011-06-22 기능성 의자 Ceased KR20130000030A (ko)

Priority Applications (1)

Application Number Priority Date Filing Date Title
KR1020110060460A KR20130000030A (ko) 2011-06-22 2011-06-22 기능성 의자

Applications Claiming Priority (1)

Application Number Priority Date Filing Date Title
KR1020110060460A KR20130000030A (ko) 2011-06-22 2011-06-22 기능성 의자

Publications (1)

Publication Number Publication Date
KR20130000030A true KR20130000030A (ko) 2013-01-02

Family

ID=47833685

Family Applications (1)

Application Number Title Priority Date Filing Date
KR1020110060460A Ceased KR20130000030A (ko) 2011-06-22 2011-06-22 기능성 의자

Country Status (1)

Country Link
KR (1) KR20130000030A (ko)

Cited By (2)

* Cited by examiner, † Cited by third party
Publication number Priority date Publication date Assignee Title
KR20150134905A (ko) * 2014-05-23 2015-12-02 이동균 착석시 바른자세의 유도와 안락성을 기대할 수 있는 의자
KR102163201B1 (ko) * 2020-02-06 2020-10-08 주식회사 디에스앤 기능성 의자

Cited By (3)

* Cited by examiner, † Cited by third party
Publication number Priority date Publication date Assignee Title
KR20150134905A (ko) * 2014-05-23 2015-12-02 이동균 착석시 바른자세의 유도와 안락성을 기대할 수 있는 의자
KR102163201B1 (ko) * 2020-02-06 2020-10-08 주식회사 디에스앤 기능성 의자
WO2021158028A1 (ko) * 2020-02-06 2021-08-12 (주)바른지앤비 기능식 의자

Similar Documents

Publication Publication Date Title
JP4769327B1 (ja) 姿勢矯正装置
JP5129410B2 (ja) 骨盤矯正用座板
JP2025015834A (ja) 姿勢保持具
US10918213B2 (en) Ergonomic work station chair
KR20110117193A (ko) 자세를 역학적으로 교정하기 위한 방법 및 장치
JP2014525303A (ja) 脊椎・脊髄疾患を予防及び治療するための矯正椅子
US20070252419A1 (en) Seating Mechanism and Chair
KR101091283B1 (ko) 자세교정용 의자
JP6596764B2 (ja) 禅チェアー
KR20150047490A (ko) 척추 질환의 예방을 위한 좌석 장치
KR20190137991A (ko) 허리 및 골반 교정용 의자
KR20130000030A (ko) 기능성 의자
US20250024951A1 (en) Chair for facilitating cross-legged seating
CN102407792A (zh) 具有保持人的就座位置的功能的座椅装置
KR101647461B1 (ko) 안장형 척추 건강 의자
JP5635573B2 (ja) 椅子
CN210077162U (zh) 一种半站立式坐垫
TWM504517U (zh) 用於預防脊椎疾病的坐式裝置
JP2019042421A (ja) クッション
JP3245175U (ja) 椅子
CN212073794U (zh) 缓腰式坐垫
JP6680508B2 (ja) 腰痛対策椅子
JP2007000570A5 (ko)
KR200314743Y1 (ko) 의자용 좌판 및 이를 이용한 학생용 의자
SE1900200A1 (en) Ergonomic chair

Legal Events

Date Code Title Description
A201 Request for examination
PA0109 Patent application

Patent event code: PA01091R01D

Comment text: Patent Application

Patent event date: 20110622

PA0201 Request for examination
PG1501 Laying open of application
E902 Notification of reason for refusal
PE0902 Notice of grounds for rejection

Comment text: Notification of reason for refusal

Patent event date: 20130128

Patent event code: PE09021S01D

E601 Decision to refuse application
PE0601 Decision on rejection of patent

Patent event date: 20130726

Comment text: Decision to Refuse Application

Patent event code: PE06012S01D

Patent event date: 20130128

Comment text: Notification of reason for refusal

Patent event code: PE06011S01I