KR20120037529A - 핸드헬드 디바이스의 홀딩장치 - Google Patents

핸드헬드 디바이스의 홀딩장치 Download PDF

Info

Publication number
KR20120037529A
KR20120037529A KR1020100099036A KR20100099036A KR20120037529A KR 20120037529 A KR20120037529 A KR 20120037529A KR 1020100099036 A KR1020100099036 A KR 1020100099036A KR 20100099036 A KR20100099036 A KR 20100099036A KR 20120037529 A KR20120037529 A KR 20120037529A
Authority
KR
South Korea
Prior art keywords
tilting
handheld device
holding device
rotation axis
tension spring
Prior art date
Legal status (The legal status is an assumption and is not a legal conclusion. Google has not performed a legal analysis and makes no representation as to the accuracy of the status listed.)
Abandoned
Application number
KR1020100099036A
Other languages
English (en)
Inventor
최명훈
박정욱
최광훈
Original Assignee
주식회사 에이치앤글로벌
Priority date (The priority date is an assumption and is not a legal conclusion. Google has not performed a legal analysis and makes no representation as to the accuracy of the date listed.)
Filing date
Publication date
Application filed by 주식회사 에이치앤글로벌 filed Critical 주식회사 에이치앤글로벌
Priority to KR1020100099036A priority Critical patent/KR20120037529A/ko
Publication of KR20120037529A publication Critical patent/KR20120037529A/ko
Abandoned legal-status Critical Current

Links

Images

Classifications

    • GPHYSICS
    • G06COMPUTING OR CALCULATING; COUNTING
    • G06FELECTRIC DIGITAL DATA PROCESSING
    • G06F1/00Details not covered by groups G06F3/00 - G06F13/00 and G06F21/00
    • G06F1/16Constructional details or arrangements
    • G06F1/1613Constructional details or arrangements for portable computers
    • G06F1/1633Constructional details or arrangements of portable computers not specific to the type of enclosures covered by groups G06F1/1615 - G06F1/1626
    • G06F1/1656Details related to functional adaptations of the enclosure, e.g. to provide protection against EMI, shock, water, or to host detachable peripherals like a mouse or removable expansions units like PCMCIA cards, or to provide access to internal components for maintenance or to removable storage supports like CDs or DVDs, or to mechanically mount accessories
    • G06F1/166Details related to functional adaptations of the enclosure, e.g. to provide protection against EMI, shock, water, or to host detachable peripherals like a mouse or removable expansions units like PCMCIA cards, or to provide access to internal components for maintenance or to removable storage supports like CDs or DVDs, or to mechanically mount accessories related to integrated arrangements for adjusting the position of the main body with respect to the supporting surface, e.g. legs for adjusting the tilt angle
    • HELECTRICITY
    • H04ELECTRIC COMMUNICATION TECHNIQUE
    • H04MTELEPHONIC COMMUNICATION
    • H04M1/00Substation equipment, e.g. for use by subscribers
    • H04M1/02Constructional features of telephone sets
    • H04M1/04Supports for telephone transmitters or receivers

Landscapes

  • Engineering & Computer Science (AREA)
  • Computer Hardware Design (AREA)
  • General Engineering & Computer Science (AREA)
  • Theoretical Computer Science (AREA)
  • Human Computer Interaction (AREA)
  • Physics & Mathematics (AREA)
  • General Physics & Mathematics (AREA)
  • Signal Processing (AREA)
  • Telephone Set Structure (AREA)

Abstract

본 발명은 핸드헬드 디바이스의 손상없이 견고하게 고정하고 용이하게 해체가 가능한 핸드헬드 디바이스의 홀딩장치에 관한 것으로서, 핸드헬드 디바이스의 일측 끝단부를 지지하는 고정 가이드가 구비된 몸체, 상기 헨드헬드 디바이스의 타측 끝단부를 지지하여 상기 고정 가이드와 함께 상기 핸드헬드 디바이스를 고정시키는 틸팅 가이드가 구비되고, 틸팅 회전축을 중심으로 상기 몸체에 틸팅 회전이 가능하게 결합되며, 일측에 수용부가 구비된 틸팅부재 및 내부 회전축을 중심으로 상기 몸체 상에 회전 가능하고, 상기 수용부 측으로 탄성력이 작용하도록 탄성 지지되며, 상기 틸팅 회전축과 상기 내부 회전축을 직선으로 연결한 기준선의 상부측과 하부측 중 어느 한 측에 선택적으로 안착되는 걸림부가 구비된 걸림부재를 포함하여 구성된다.

Description

핸드헬드 디바이스의 홀딩장치{Holding Apparatus of Hand-held Device}
본 발명은 핸드헬드 디바이스(Hand-held Device)의 홀딩장치에 관한 것으로서, 보다 상세하게는 핸드헬드 디바이스의 손상없이 견고하게 고정할 수 있고 간단한 조작에 의해 착탈이 용이한 핸드헬드 디바이스의 홀딩장치에 관한 것이다.
최근 휴대폰이나 PDA, 테블릿 PC 등과 같은 다양한 핸드헬드 디바이스가 출시되고 있다. 이러한 핸드헬드 디바이스는 사용자가 손으로 들고 다니면서 이동하면서 사용할 수도 있지만, 거치대를 사용하여 특정 위치에 고정하여 사용할 수도 있다.
예를 들어, PDA나 휴대폰 등과 같은 핸드헬드 디바이스를 평상시에는 사용자가 휴대하고 다니다가 차량 내에서 네비게이션 기능을 사용하고자 할 때, 자동차의 전면 유리나 대쉬 보드 상에 핸드헬드 디바이스를 고정시키는 거치대 구조가 요구된다.
종래 일반적인 거치대는, 일측에 흡착패드가 형성되어 전면유리나 대쉬 보드에 고정되고, 타측에 해당 핸드헬드 디바이스의 외부 형상에 대응되게 테두리에 걸림 가이드가 형성되어 핸드헬드 디바이스를 착탈할 수 있게 구성된다.
하지만, 이와 같은 거치대의 거치구조는, 걸림 가이드의 변형에 의해 억지 끼움 방식으로 결합되기 때문에 핸드헬드 디바이스를 결합하거나 분리할 때 사용자의 물리적인 힘이 많이 요구되어 착탈이 용이하지 않고, 착탈하는 과정에서 핸드헬드 디바이스가 손상되는 등의 문제점을 가지고 있었다.
본 발명의 목적은 상기한 종래의 문제점을 해결하기 위한 것으로서, 핸드헬드 디바이스의 손상없이 견고하게 고정하고 용이하게 착탈이 가능한 핸드헬드 디바이스의 홀딩장치를 제공하기 위한 것이다.
상기한 과정을 해결하기 위한 본 발명의 홀딩장치는, 핸드헬드 디바이스의 일측 끝단부를 지지하는 고정 가이드가 구비된 몸체, 상기 헨드헬드 디바이스의 타측 끝단부를 지지하여 상기 고정 가이드와 함께 상기 핸드헬드 디바이스를 고정시키는 틸팅 가이드가 구비되고, 틸팅 회전축을 중심으로 상기 몸체에 틸팅 회전이 가능하게 결합되며, 일측에 수용부가 구비된 틸팅부재 및 내부 회전축을 중심으로 상기 몸체 상에 회전 가능하고, 상기 수용부 측으로 탄성력이 작용하도록 탄성 지지되며, 상기 틸팅 회전축과 상기 내부 회전축을 직선으로 연결한 기준선의 상부측과 하부측 중 어느 한 측에 선택적으로 안착되는 걸림부가 구비된 걸림부재를 포함하여 구성된다.
여기서, 상기 수용부는 상기 틸팅 회전축 방향을 따라 내측으로 함몰된 형태로 서로 인접한 복수 개의 모드 작동홈을 포함하여 구성될 수 있다. 이 경우, 상기 내부 회전축은, 상기 몸체 상에서 일정 구간 슬라이딩 가능하게 구비된 것이 바람직하다.
또한, 원활한 모드 전환을 위하여, 상기 모드 작동홈 각각의 외측에는 상기 모드 작동홈 측으로 기울어진 홈변환 돌출부가 형성되는 것이 바람직하다.
본 발명에 따른 홀딩장치는, 일측이 걸림부재의 스프링 고정부에 고정되고 타측이 틸팅 회전축에 고정된 인장스프링을 포함하여 구성할 수 있다. 여기서, 상기 인장스프링이 고정되는 상기 스프링 고정부는 상기 틸팅 회전축에 대하여 상기 내부 회전축보다 외측에 구비된 것이 모드 전환의 원활한 동작을 위해 바람직하다.
본 발명의 일 실시예로서, 상기 인장스프링은 상기 걸림부재 및 틸팅부재의 좌우 방향 중앙부에 구비되며, 상기 걸림부재 및 틸팅부재의 좌우 방향 중앙부에는 상기 인장 스프링이 간섭이 발생하지 않도록 수용공간이 형성될 수 있다.
한편, 사용자가 모드 전환을 할 수 있도록, 상기 틸팅부재의 외측에는, 상기 틸팅 축의 원형 궤도의 반지름 외측 방향으로 연장된 전환 작동부가 형성되는 것이 바람직하다.
또한, 본 발명의 홀딩장치에서, 핸드헬드 디바이스를 결합시킬 때 자동으로 틸팅부재가 닫힘 모드로 작동하기 위하여, 상기 틸팅부재는 상기 핸드헬드 디바이스의 배면과 접촉하는 받침부가 형성되고 받침부가 상기 몸체의 외측으로 노출되는 것이 바람직하다.
상기한 과제를 해결하기 위한 본 발명의 홀딩장치는 다음과 같은 효과가 있다.
첫째, 몸체와의 관계에서 틸팅부재의 열림 모드와 닫힘 모드로 손쉽게 변환할 수 있어, 핸드헬드 디바이스를 견고하게 홀딩장치에 고정할 수 있고 또한 간단한 조작에 의해 쉽게 분리할 수 있는 이점이 있다. 또한, 틸팅부재의 외측에는 전환 작동부가 별도로 구비되어 사용자의 모드 전환을 더욱 용이하게 할 수 있게 된다.
둘째, 틸팅부재에 복수 개의 모드 작동홈이 형성되고, 슬라이딩 가능한 걸림부재가 복수 개의 모드 작동홈 중 어느 하나에 안착되도록 구성함으로써, 모드 변환시의 동작성을 향상시키고 모드 변환 완료시 클릭 작동음이 발생하여 사용자가 모드 변환을 확인할 수 있는 이점이 있다.
또한, 틸팅부재에는 모드 작동홈 측으로 기울어진 홈변환 돌출부가 형성되어 모드 전환이 더욱 원활해 지게 된다.
셋째, 틸팅부재의 받침부가 열림모드에서 몸체의 외측으로 노출되어 있어 핸드헬드 디바이스의 결합시 자동으로 틸팅부재가 닫힘모드로 전환될 수 있는 이점이 있다.
본 발명의 효과들은 이상에서 언급한 효과들로 제한되지 않으며, 언급되지 않은 또 다른 효과들은 청구범위의 기재로부터 당업자에게 명확하게 이해될 수 있을 것이다.
도 1은 본 발명의 일 실시예에 따른 홀딩장치를 나타내는 전체 사시도;
도 2는 도 1의 주요 구성 부분을 나타내는 분해 사시도;
도 3은 도 1의 주요 구성 부분을 종방향으로 절단한 사시도;
도 4a는 닫힘 모드 상태를 나타내는 구성도;
도 4b는 열림 모드 상태를 나타내는 구성도;
도 5a는 닫힘 모드 상태를 나타내는 전체 사시도; 및
도 5b는 열림 모드 상태를 나타내는 전체 사시도이다.
이하 본 발명의 목적이 구체적으로 실현될 수 있는 본 발명의 바람직한 실시예를 첨부된 도면을 참조하여 설명한다. 본 실시예를 설명함에 있어서, 동일 구성에 대해서는 동일 명칭 및 동일 부호가 사용되며 이에 따른 부가적인 설명은 생략하기로 한다.
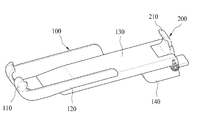
먼저, 도 1 내지 도 3을 참조하여, 본 발명의 일 실시예에 따른 홀딩장치의 구성을 설명하면 다음과 같다. 여기서, 도 1은 본 발명의 일 실시예에 따른 홀딩장치를 나타내는 전체 사시도, 도 2는 도 1의 주요 구성 부분을 나타내는 분해 사시도 및 도 3은 도 1의 주요 구성 부분을 종방향으로 절단한 사시도이다.
본 실시예에 따른 홀딩장치는, 크게 몸체(100), 틸팅부재(200), 걸림부재(300) 및 인장스프링(400)을 포함하여 구성된다.
상기 몸체(100)는 착탈 대상이 되는 핸드헬드 디바이스(이하, '디바이스'로 약칭함)의 크기에 대응되는 디바이스 지지부(130)를 가지며, 디바이스의 일측 끝단부를 지지하는 고정 가이드(110)와 디바이스의 측면부를 지지하는 측면 가이드(120)가 상기 디바이스 지지부(130)와 일체로 연장되어 형성된다.
본 실시예에서는 상기 고정 가이드(110)가 일정 간격을 두고 대칭된 형태로 한 쌍이 구비되고 한 쌍의 고정 가이드(110) 각각이 상기 측면 가이드(120)와 일체로 형성되어 있으나, 고정 가이드(110)나 측면 가이드(120)의 형상에는 제한이 없다.
상기 고정 가이드(110)는 후술하는 틸팅부재(200)의 틸팅 가이드(210)와 함께 디바이스를 견고하게 지지하는 역할을 수행하며, 측면 가이드(120)는 홀딩장치를 가로 방향으로 회전시킬 때 디바이스의 측면부를 보조적으로 지지하는 역할을 수행한다. 본 실시예에서는 디바이스의 원활한 착탈을 위해 측면 가이드(120)가 외측으로 개방된 형태로 형성되어 있다.
한편, 상기 몸체(100)에서 틸팅부재(200)와 인접한 부위에는 하우징(140)이 형성되어 있어, 후술하는 걸림부재(300)와 인장스프링(400)이 하우징(140)의 내부공간(149)에 수용될 수 있도록 한다.
상기 틸팅부재(200)는 틸팅 회전축을 중심으로 상기 몸체(100)에 대하여 틸팅 회전이 가능하게 결합되며, 상술한 몸체(100)의 고정 가이드(110)와 함께 디바이스를 견고하게 고정할 수 있는 틸팅 가이드(210)가 형성된다.
상기 틸팅부재(200)에는, 상기 몸체(100)의 디바이스 지지부(130)와 함께 디바이스의 배면과 접촉되는 받침부(240)가 형성된다.
한편, 상기 틸팅부재(200)에는 한 쌍의 모드 작동홈(222,224)으로 이루어진 수용부(220)가 형성되어 걸림부재(300)가 이 중 어느 하나의 작동홈(222,224)에 안착되도록 함으로써, 틸팅부재(200)의 열림 모드와 닫힘 모드가 구현되도록 한다. 이러한 작동 과정에 대한 상세한 설명은 도 4a 및 도 5b를 참고하여 후술하기로 한다.
상기 틸팅부재(200)의 외측에는 틸팅 회전축이 형성하는 원형 궤도의 외측 방향에 전환 작동부(250)가 형성된다.
상기 걸림부재(300)는 상기 몸체(100)의 하우징(140) 내부에서 내부 회전축을 중심으로 회전 가능하게 구비되며, 상기 걸림부재(300)의 좌우 양측에 형성된 회전돌기(345,347)가 상기 내부 회전축을 정의한다.
상기 몸체(100)의 하우징(140)의 내부에는 도 2에 도시된 바와 같이, 슬라이딩 홈(147)이 형성되어 있어 상기 걸림부재(300)의 양측 회전돌기(345,347)가 끼워질 수 있도록 구성되며, 슬라이딩 홈(147)을 따라 걸림부재(300)의 회전돌기(345,347)가 슬라이딩 가능하게 결합된다.
상기 인장스프링(400)은 걸림부재(300)의 회전 방향과 슬라이딩 방향으로 탄성력을 부여하기 위한 것으로서, 일측이 걸림부재(300)의 스프링 고정부(312)에 고정되고 타측이 틸팅 회전축에 고정된다.
구체적으로, 상기 인장스프링(400)은 상기 걸림부재(300) 및 틸팅부재(200)의 좌우 방향 중앙부에 구비되며, 상기 걸림부재(300) 및 틸팅부재(200)의 좌우 방향 중앙부에는 상기 인장스프링(400)이 간섭이 발생하지 않도록 수용공간(315,215)이 형성된다.
한편, 상기 몸체(100) 하우징(140)의 좌우 양측과 틸팅부재(200)에는, 체결 샤프트(150)가 관통할 수 있도록 횡방향으로 관통홀(141,143,241)이 형성되어 있다.
상기 홀딩장치는, 우선 걸림부재(300)의 스프링 고정부(312)에 인장스프링(400)을 고정한 상태로 상기 걸림부재(300)를 몸체(100) 하우징(140)의 슬라이딩 홈(147)에 끼워 하우징(140) 내부로 결합한 후, 틸팅부재(200)의 관통홀(141,143,241)과 몸체(100) 하우징(140)의 관통홀(141,143,241)이 맞도록 틸팅부재(200)의 위치를 잡은 상태로 체결 샤프트(150)를 관통홀(141,143,241)에 끼워넣은 과정에 의해 간단히 조립을 완료할 수 있다.
여기서, 틸팅부재(200)에 고정되지 않은 인장스프링(400)의 나머지 타측은, 체결 샤프트(150)를 관통홀(141,143,241)에 끼워 조립하는 과정에서 틸팅부재(200)의 수용공간으로 관통하는 체결 샤프트(150)에 고정된다.
이상과 같이, 본 실시예에 따른 홀딩장치는, 인장스프링(400)의 일측을 고정한 걸림부재(300)를 하우징(140) 내부로 삽입한 상태로, 각 부재들의 해당 위치를 맞추고 체결 샤프트(150)를 관통홀(141,143,241)에 끼우는 간단한 과정에 의해 조립을 완료할 수 있게 된다.
다음으로, 도 4a 내지 도 5b를 참조하여, 도 1 내지 도 3을 통해 상술한 홀딩장치의 작동과정을 설명하면 다음과 같다.
여기서, 도 4a와 도 5a는 닫힘 모드 상태에서의 구성도와 전체 사시도이고, 도 4b와 도 5b는 열림 모드 상태에서의 구성도와 전체 사시도이다.
도 4a에 도시된 바와 같이, 틸팅부재(200)에는 틸팅 회전축 방향으로 함몰된 수용부(220)가 형성되며, 상기 수용부(220)는 틸팅 회전축과 내부 회전축을 직선을 연결한 기준선(S)의 상부와 하부에 각각 열림 작동홈(224)과 닫힘 작동홈(222)이 서로 인접한 상태로 형성된다.
또한, 본 실시예는 원활한 모드 전환을 위하여, 상기 모드 작동홈(222,224) 각각의 외측에는 상기 모드 작동홈(222,224) 측으로 기울어진 홈변환 돌출부(232,234)가 형성된다.
상기 걸림부재(300)는 내부 회전축을 중심으로 일정 각도만큼 회전하면서, 끝단부에 있는 걸림부(320)가 상기 한 쌍의 모드 작동홈(222,224) 중 어느 하나에 안착되게 된다.
그리고, 상기 걸림부(320)가 안착된 모드 작동홈(222,224)에 따라 틸팅부재(200)의 열림 모드와 닫힘 모드가 결정된다.
이상의 구성을 통해, 닫힘 모드 상태에서 열림 모드 상태로 변환되는 과정을 설명하면 다음과 같다.
도 4a는 디바이스가 결합되는 닫힘 모드 상태를 나타내고 있으며, 걸림부(320)는 상기 모드 작동홈(222,224) 중 하부에 위치한 닫힘 작동홈(222)에 안착되어 있다.
이 상태에서, 사용자가 전환 작동부(250)를 하부로 밀게 되면, 틸팅부재(200)는 틸팅 회전축을 중심으로 회전하려고 할 것이며, 틸팅부재(200)의 닫힘 작동홈(222)과 홈변환 돌출부(232,234)가 걸림부(320)를 밀게 된다.
이에 따라, 상기 걸림부재(300)가 반시계방향으로 회전하면서(화살표 A), 상기 걸림부(320)는 수용부(220)와 접촉을 유지한 상태로 수용부(220)의 프로파일을 따라 상부 측으로 이동하게 된다.
이 때, 걸림부재(300)의 내부 회전축은 인장스프링(400)에서 작용하는 탄성력을 이기고 수용부(220)의 프로파일을 따라 슬라이드 홈(147) 방향(화살표 B)으로 슬라이딩하게 된다. 여기서, 인장스프링(400)은 일단이 걸림부재(300)와 고정되어 있어, 항상 틸팅 회전축 방향(화살표 C)으로 탄성력이 작용하도록 한다. 이 경우, 틸팅 회전축과 내부 회전축을 연결한 기준선(S)과 대비하여, 인장스프링(400)에 의한 탄성력이 작용하는 방향(연장선 E)은 음의 각도를 이루면서 걸림부(320)가 수용부(220) 하부의 닫힘 작동홈(222)에 안착된 상태를 견고하게 유지시킨다.
이상의 작동 과정을 거치면서, 걸림부재(300)는 도 4a의 점선으로 표시된 상태로 걸림부(320)가 한 쌍의 모드 작동홈(222,224) 사이를 경유하여, 도 4b와 같이 걸림부(320)가 열림 작동홈(224)으로 안착되는 일련의 과정을 거치게 된다.
걸림부재(300)가 도 4a의 점선으로 표시된 상태에서, 인장스프링(400)에 의한 탄성력이 작용하는 방향은 기준선(S)과 동일해지고, 인장스프링(400)의 변위가 최대가 되면서 이에 따른 탄성력도 최대가 된다. 따라서, 걸림부재(300)가 점선으로 표시된 상태를 넘어 걸림부(320)가 기준선(S)의 상부로 이동할 때 인장스프링(400)의 탄성력에 의해 걸림부(320)가 기준선(S) 상부의 열림 작동홈(224)으로 원활이 이동할 수 있게 된다.
이 경우, 틸팅 회전축과 내부 회전축을 연결한 기준선(S)과 대비하여, 인장스프링(400)에 의한 탄성력이 작용하는 방향(연장선 E)은 양의 각도를 이루면서 걸림부(320)가 수용부(220) 상부의 열림 작동홈(224)에 안착된 상태를 견고하게 유지시킨다.
걸림부(320)는 한 쌍의 모드 작동홈(222,224) 사이를 경유하여 상부로 이동하며(화살표 D), 도 4b에 도시된 바와 같이, 걸림부재(300)의 내부 회전축은 인장스프링(400)에서 작용하는 탄성력을 이기고 수용부(220)의 프로파일을 따라 슬라이드 홈(147) 방향(화살표 E)으로 슬라이딩하게 된다. 이 때에도, 인장스프링(400)은 일단이 걸림부재(300)와 고정되어 있어, 항상 틸팅 회전축 방향으로 탄성력이 작용하도록 한다(화살표 F).
이 경우, 틸팅 회전축과 내부 회전축을 연결한 기준선(S)과 대비하여, 인장스프링(400)에 의한 탄성력이 작용하는 방향은 양의 각도를 이루면서 걸림부(320)가 수용부(220) 상부의 열림 작동홈(224)에 안착된 상태를 견고하게 유지시킨다.
이상과 같은 일련의 과정을 통해 홀딩장치는 닫힘 모드 상태에서 열림 모드 상태로 변환되며, 반대로 열림 모드 상태에서 닫힘 모드 상태로 변환되는 과정은 상술한 과정의 반대로 이루어지게 된다.
도 5a 및 도 5b는 각각 도 4a와 도 4b에 대응되는 전체 사시도로서, 도 5a와 같은 닫힘 모드 상태에서, 틸팅부재(200)의 외측에 위치한 전환 작동부(250)를 화살표와 같이 하부로 이동시키게 되면, 상술한 바와 같은 걸림부재(300)의 슬라이딩 및 회전에 의해 걸림부(320)의 안착위치가 닫힘 작동홈(222)에서 열림 작동홈(224)으로 이동하면서 도 5b와 같은 열림 모드 상태로 변환된다.
또한, 도 5b에서와 같은 열림 모드 상태에서는 디바이스의 일측을 몸체(100)의 고정 가이드(110)에 지지한 상태로 홀딩장치 측으로 힘을 가하면, 틸팅부재(200)의 받침부(240)가 화살표와 같이 힘을 가하게 되면서, 상술한 바와 같은 걸림부재(300)의 슬라이딩 및 회전에 의해 걸림부(320)의 안착위치가 열림 작동홈(224)에서 닫힘 작동홈(222)으로 이동하면서 도 5b와 같은 열림 모드 상태로 변환된다.
이상과 같이 본 발명에 따른 바람직한 실시예를 살펴보았으며, 앞서 설명된 실시예 이외에도 본 발명이 그 취지나 범주에서 벗어남이 없이 다른 특정 형태로 구체화 될 수 있다는 사실은 해당 기술에 통상의 지식을 가진 이들에게는 자명한 것이다. 그러므로, 상술한 실시예는 제한적인 것이 아니라 예시적인 것으로 여겨져야 하고, 이에 따라 본 발명은 상술한 설명에 한정되지 않고 첨부된 청구항의 범주 및 그 동등 범위 내에서 변경될 수도 있다.
100: 몸체 110: 고정 가이드
200: 틸팅부재 210: 틸팅 가이드
220: 수용부 240: 받침부
250: 전환 작동부 300: 걸림부재
320: 걸림부 400: 인장스프링

Claims (10)

  1. 핸드헬드 디바이스의 일측 끝단부를 지지하는 고정 가이드가 구비된 몸체;
    상기 헨드헬드 디바이스의 타측 끝단부를 지지하여 상기 고정 가이드와 함께 상기 핸드헬드 디바이스를 고정시키는 틸팅 가이드가 구비되고, 틸팅 회전축을 중심으로 상기 몸체에 틸팅 회전이 가능하게 결합되며, 일측에 수용부가 구비된 틸팅부재; 및
    내부 회전축을 중심으로 상기 몸체 상에 회전 가능하고, 상기 수용부 측으로 탄성력이 작용하도록 탄성 지지되며, 상기 틸팅 회전축과 상기 내부 회전축을 직선으로 연결한 기준선의 상부측과 하부측 중 어느 한 측에 선택적으로 안착되는 걸림부가 구비된 걸림부재;
    를 포함하여 구성되는 핸드헬드 디바이스의 홀딩장치.
  2. 제1항에 있어서,
    상기 수용부는 상기 틸팅 회전축 방향을 따라 내측으로 함몰된 형태로 서로 인접한 복수 개의 모드 작동홈을 포함하는 것을 특징으로 하는 핸드헬드 디바이스의 홀딩장치.
  3. 제1항에 있어서,
    상기 내부 회전축은,
    상기 몸체 상에서 일정 구간 슬라이딩 가능하게 구비된 것을 특징으로 하는 핸드헬드 디바이스의 홀딩장치.
  4. 제2항에 있어서,
    상기 모드 작동홈 각각의 외측에는 상기 모드 작동홈 측으로 기울어진 홈변환 돌출부가 형성된 것을 특징으로 하는 핸드헬드 디바이스의 홀딩장치.
  5. 제1항에 있어서,
    일측은 걸림부재의 스프링 고정부에 고정되고 타측은 틸팅 회전축에 고정된 인장스프링을 더 포함하는 것을 특징으로 하는 핸드헬드 디바이스의 홀딩장치.
  6. 제5항에 있어서,
    상기 인장스프링이 고정되는 상기 스프링 고정부는 상기 틸팅 회전축에 대하여 상기 내부 회전축보다 외측에 구비된 것을 특징으로 하는 핸드헬드 디바이스의 홀딩장치.
  7. 제5항에 있어서,
    상기 인장스프링은 상기 걸림부재 및 틸팅부재의 좌우 방향 중앙부에 구비되며, 상기 걸림부재 및 틸팅부재의 좌우 방향 중앙부에는 상기 인장 스프링이 간섭이 발생하지 않도록 수용공간이 형성된 것을 특징으로 하는 핸드헬드 디바이스의 홀딩장치.
  8. 제1항에 있어서,
    상기 틸팅부재에는,
    상기 틸팅 축의 원형 궤도의 반지름 외측 방향으로 연장된 전환 작동부가 형성된 것을 특징으로 하는 핸드헬드 디바이스의 홀딩장치.
  9. 제1항에 있어서,
    상기 틸팅부재는 상기 핸드헬드 디바이스의 배면과 접촉하는 받침부가 형성된 것을 특징으로 하는 핸드헬드 디바이스의 홀딩장치.
  10. 제9항에 있어서,
    상기 걸림부가 상기 기준선의 어느 한 측에 안착된 상태에서 상기 받침부가 상기 몸체의 외측으로 노출되는 것을 특징으로 하는 핸드헬드 디바이스의 홀딩장치.
KR1020100099036A 2010-10-12 2010-10-12 핸드헬드 디바이스의 홀딩장치 Abandoned KR20120037529A (ko)

Priority Applications (1)

Application Number Priority Date Filing Date Title
KR1020100099036A KR20120037529A (ko) 2010-10-12 2010-10-12 핸드헬드 디바이스의 홀딩장치

Applications Claiming Priority (1)

Application Number Priority Date Filing Date Title
KR1020100099036A KR20120037529A (ko) 2010-10-12 2010-10-12 핸드헬드 디바이스의 홀딩장치

Publications (1)

Publication Number Publication Date
KR20120037529A true KR20120037529A (ko) 2012-04-20

Family

ID=46138596

Family Applications (1)

Application Number Title Priority Date Filing Date
KR1020100099036A Abandoned KR20120037529A (ko) 2010-10-12 2010-10-12 핸드헬드 디바이스의 홀딩장치

Country Status (1)

Country Link
KR (1) KR20120037529A (ko)

Similar Documents

Publication Publication Date Title
US10718466B2 (en) Support and selfie stick with support
US9416814B2 (en) Cradle for a portable device
KR20070038883A (ko) 세미모노코크 구조의 흡착판 및 컬럼을 구비한 장치 거치대
JPWO2017090545A1 (ja) 開閉体のロック装置
JP3224744U (ja) 扇風機
KR20100071800A (ko) 휴대통신단말기용 스탠드조립체
KR20100040639A (ko) 휴대용 전자기기의 스탠딩장치
KR101612962B1 (ko) 접이형 휴대 단말기의 프리 스톱 힌지 장치
KR101649647B1 (ko) 휴대기기 거치대
KR20100004747A (ko) 휴대 단말기용 스윙식 덮개 개폐장치
KR20120037529A (ko) 핸드헬드 디바이스의 홀딩장치
KR20140011842A (ko) 가변형 거치대
CN101737419A (zh) 枢纽器
KR20120065880A (ko) 단말기 거치대
US7916474B2 (en) Electronic device with selectable battery connection structure
KR101448883B1 (ko) 휴대폰 거치대
KR100630221B1 (ko) 반자동 회전구조를 가지는 배터리팩을 구비한 이동통신단말기
JP4917517B2 (ja) スライド回転取付ユニット及び携帯電話機
JP2006177481A (ja) ヒンジ装置及びヒンジ装置を用いた携帯電話機
US20130168424A1 (en) Apparatus for holding portable devices
KR20100016961A (ko) 이동통신단말기의 힌지조립체
KR100643603B1 (ko) 컵홀더 장치
KR100796945B1 (ko) 폴더형 휴대폰의 2클릭 힌지장치
JP5435816B2 (ja) 携帯端末
KR200394685Y1 (ko) 스윙힌지 모듈

Legal Events

Date Code Title Description
A201 Request for examination
PA0109 Patent application

Patent event code: PA01091R01D

Comment text: Patent Application

Patent event date: 20101012

PA0201 Request for examination
E701 Decision to grant or registration of patent right
PE0701 Decision of registration

Patent event code: PE07011S01D

Comment text: Decision to Grant Registration

Patent event date: 20111202

PG1501 Laying open of application
NORF Unpaid initial registration fee
PC1904 Unpaid initial registration fee