KR102055552B1 - Methodfor sorting waste from construction site - Google Patents
Methodfor sorting waste from construction site Download PDFInfo
- Publication number
- KR102055552B1 KR102055552B1 KR1020190090977A KR20190090977A KR102055552B1 KR 102055552 B1 KR102055552 B1 KR 102055552B1 KR 1020190090977 A KR1020190090977 A KR 1020190090977A KR 20190090977 A KR20190090977 A KR 20190090977A KR 102055552 B1 KR102055552 B1 KR 102055552B1
- Authority
- KR
- South Korea
- Prior art keywords
- reinforcement
- construction waste
- base block
- interlocking
- sorting
- Prior art date
- Legal status (The legal status is an assumption and is not a legal conclusion. Google has not performed a legal analysis and makes no representation as to the accuracy of the status listed.)
- Active
Links
Images
Classifications
-
- B—PERFORMING OPERATIONS; TRANSPORTING
- B02—CRUSHING, PULVERISING, OR DISINTEGRATING; PREPARATORY TREATMENT OF GRAIN FOR MILLING
- B02C—CRUSHING, PULVERISING, OR DISINTEGRATING IN GENERAL; MILLING GRAIN
- B02C23/00—Auxiliary methods or auxiliary devices or accessories specially adapted for crushing or disintegrating not provided for in preceding groups or not specially adapted to apparatus covered by a single preceding group
- B02C23/08—Separating or sorting of material, associated with crushing or disintegrating
- B02C23/14—Separating or sorting of material, associated with crushing or disintegrating with more than one separator
-
- B—PERFORMING OPERATIONS; TRANSPORTING
- B02—CRUSHING, PULVERISING, OR DISINTEGRATING; PREPARATORY TREATMENT OF GRAIN FOR MILLING
- B02C—CRUSHING, PULVERISING, OR DISINTEGRATING IN GENERAL; MILLING GRAIN
- B02C1/00—Crushing or disintegrating by reciprocating members
- B02C1/02—Jaw crushers or pulverisers
-
- B—PERFORMING OPERATIONS; TRANSPORTING
- B03—SEPARATION OF SOLID MATERIALS USING LIQUIDS OR USING PNEUMATIC TABLES OR JIGS; MAGNETIC OR ELECTROSTATIC SEPARATION OF SOLID MATERIALS FROM SOLID MATERIALS OR FLUIDS; SEPARATION BY HIGH-VOLTAGE ELECTRIC FIELDS
- B03C—MAGNETIC OR ELECTROSTATIC SEPARATION OF SOLID MATERIALS FROM SOLID MATERIALS OR FLUIDS; SEPARATION BY HIGH-VOLTAGE ELECTRIC FIELDS
- B03C1/00—Magnetic separation
- B03C1/02—Magnetic separation acting directly on the substance being separated
-
- B—PERFORMING OPERATIONS; TRANSPORTING
- B07—SEPARATING SOLIDS FROM SOLIDS; SORTING
- B07B—SEPARATING SOLIDS FROM SOLIDS BY SIEVING, SCREENING, SIFTING OR BY USING GAS CURRENTS; SEPARATING BY OTHER DRY METHODS APPLICABLE TO BULK MATERIAL, e.g. LOOSE ARTICLES FIT TO BE HANDLED LIKE BULK MATERIAL
- B07B1/00—Sieving, screening, sifting, or sorting solid materials using networks, gratings, grids, or the like
- B07B1/04—Stationary flat screens
-
- B—PERFORMING OPERATIONS; TRANSPORTING
- B02—CRUSHING, PULVERISING, OR DISINTEGRATING; PREPARATORY TREATMENT OF GRAIN FOR MILLING
- B02C—CRUSHING, PULVERISING, OR DISINTEGRATING IN GENERAL; MILLING GRAIN
- B02C2201/00—Codes relating to disintegrating devices adapted for specific materials
- B02C2201/06—Codes relating to disintegrating devices adapted for specific materials for garbage, waste or sewage
Landscapes
- Engineering & Computer Science (AREA)
- Food Science & Technology (AREA)
- Mechanical Engineering (AREA)
- Processing Of Solid Wastes (AREA)
Abstract
본 발명은, 건설폐기물 선별방법으로서, 건설폐기물 선별 시스템을 구비하는 단계; 건설폐기물 선별 시스템 상에 비산방지 수단을 설치하는 단계; 및 건설폐기물 선별 시스템을 이용하여 건설폐기물을 선별하는 단계를 포함하며, 상기 건설폐기물 선별 시스템은, 제1스크린; 건축폐기물을 파쇄하는 제1죠크러셔; 건축폐기물에 자력을 제공하여 금속 이물질을 거르는 제1자력선별기; 제2스크린; 상기 제2스크린을 통과하는 건설폐기물을 이동시키고, 건설폐기물에 포함되는 분진을 제거하고 수작업 선별이 이루어지는 제1컨베이어를 포함하며, 상기 비산방지 수단은, 베이스블록(92')이 지면에 안착되도록 구비되는 단계와, 복수 개의 지지파이프가 상기 베이스블록(92')으로부터 상측으로 연장되도록 구비되는 단계와, 급수관이 상기 베이스블록(92')에 연결되어 비산되는 물을 제공하는 단계를 포함하며, 상기 베이스블록(92')은, 넘어짐과 충격의 발생을 억제하기 위한 지지보강모듈이 구비되며, 상기 지지보강모듈은, 상기 베이스블록(92')의 하부에서 상기 베이스블록(92')을 적어도 일부 수용하는 소정 형상의 연동보강체(210)와, 상기 연동보강체(210)의 하부에 구비되어, 상기 연동보강체(210)와 연동 결속되는 중심보강체(230)가 구비되며, 상기 연동보강체(210)는, 홀딩수단이 구비되어 상기 베이스블록(92')을 상기 중심보강체(230)와 연동 결속시키는 건설폐기물 비산방지수단 설치방법을 제공한다.
따라서, 건설폐기물 선별을 수행함에 있어 비산을 방지하여 효율적인 건설폐기물 선별이 가능한 건설폐기물 선별방법을 제공할 수 있는 효과가 있다.The present invention provides a construction waste sorting method comprising the steps of: providing a construction waste sorting system; Installing shatterproof means on the construction waste sorting system; And sorting construction waste using a construction waste sorting system, wherein the construction waste sorting system comprises: a first screen; A first jaw crusher for crushing construction waste; A first magnetic separator providing magnetic force to building waste to filter metal foreign matter; Second screen; And a first conveyor for moving the construction waste passing through the second screen, removing dust contained in the construction waste, and performing manual sorting. The scattering prevention means includes a base block 92 'mounted on the ground. And providing a plurality of support pipes extending upward from the base block 92 ', and supplying water to the water supply pipe connected to the base block 92'. The base block 92 'is provided with a support reinforcement module for suppressing the occurrence of falls and impacts. The support reinforcement module includes at least the base block 92' at the bottom of the base block 92 '. The interlocking reinforcement 210 having a predetermined shape to accommodate a part, and the central reinforcement 230 provided in the lower portion of the interlocking reinforcement 210, the interlocking binding with the interlocking reinforcement 210 is provided, the interlock The rigid body 210, the holding means is provided to provide a construction waste scatter preventing means installed way of interlocking coupling to said base block (92 ') and said central reinforcing member 230.
Therefore, there is an effect that can provide a construction waste sorting method capable of efficient construction waste sorting by preventing scattering in performing the construction waste sorting.
Description
본 발명은 건설폐기물 선별방법에 관한 것으로서, 보다 상세하게는 건설폐기물 선별을 수행함에 있어 비산을 방지하여 효율적인 건설폐기물 선별이 가능한 건설폐기물 선별방법에 관한 것이다.The present invention relates to a construction waste sorting method, and more particularly, to a construction waste sorting method capable of efficient construction waste sorting by preventing scattering in performing the construction waste sorting.
건설폐기물의 대부분을 차지하는 건설폐재류는 파쇄 처리된 후 불순물이 제거된 상태에서 건설, 토목공사 현장의 성토재 등으로 재활용되고, 기타 합성수지류, 목재류 등의 가연물은 재활용되거나 소각 처리되고 있다. 건설폐기물에서 발생되는 폐목재가 절반을 차지하고 있지만, 건설폐기물에 함유된 폐목재와 플라스틱 등의 가연물을 연료화하기 위해서는 우선 건설폐기물 중 재활용을 위해 선별된 골재류 외에 플라스틱, 종이, 비닐, 목재 등 혼합 상태의 가연물을 연료화 대상물질로 분리하는 공정이 수행된다. 그러나, 이러한 건설 폐기물의 선별에 대한 부분에 집중하여 선별과정에서 발생되는 이물질의 비산되는 문제를 해결하기 위한 노력은 제대로 되오지 못하였다. 즉, 이물 자체의 비산을 방지하는 기술이 미흡한 것을 떠나 비산 방지 수단의 효율적이고 보다 안정적인 운용이 어려운 문제점이 있다.Construction wastes, which occupy most of construction wastes, are shredded and recycled as soils at construction and civil engineering sites with impurities removed. Other combustibles such as synthetic resins and wood are recycled or incinerated. Waste wood generated from construction waste accounts for half, but in order to fuel combustible materials such as waste wood and plastics contained in construction waste, first of all, waste materials including plastic, paper, vinyl, wood, etc. A process for separating the combustibles in the state into the fuel material is performed. However, efforts to solve the problem of scattering of foreign matters generated in the screening process have not been properly focused on the part of the screening of construction wastes. That is, apart from the insufficient technology for preventing the scattering of foreign matter itself, there is a problem that efficient and more stable operation of the scattering prevention means is difficult.
따라서, 건설폐기물의 친환경적인 선별이 용이하지 못한 단점이 있다.Therefore, there is a disadvantage that the environmentally friendly sorting of construction waste is not easy.
본 발명은 건설폐기물 선별을 수행함에 있어 비산을 방지하여 효율적인 건설폐기물 선별이 가능한 건설폐기물 선별방법을 제공하는 것을 목적으로 한다.It is an object of the present invention to provide a construction waste sorting method capable of efficient construction waste sorting by preventing scattering in performing construction waste sorting.
본 발명은, 건설폐기물 선별방법으로서, 건설폐기물 선별 시스템을 구비하는 단계; 건설폐기물 선별 시스템 상에 비산방지 수단을 설치하는 단계; 및 건설폐기물 선별 시스템을 이용하여 건설폐기물을 선별하는 단계를 포함하며, 상기 건설폐기물 선별 시스템은, 제1스크린; 건축폐기물을 파쇄하는 제1죠크러셔; 건축폐기물에 자력을 제공하여 금속 이물질을 거르는 제1자력선별기; 제2스크린; 상기 제2스크린을 통과하는 건설폐기물을 이동시키고, 건설폐기물에 포함되는 분진을 제거하고 수작업 선별이 이루어지는 제1컨베이어를 포함하며, 상기 비산방지 수단은, 베이스블록(92')이 지면에 안착되도록 구비되는 단계와, 복수 개의 지지파이프가 상기 베이스블록(92')으로부터 상측으로 연장되도록 구비되는 단계와, 급수관이 상기 베이스블록(92')에 연결되어 비산되는 물을 제공하는 단계를 포함하며, 상기 베이스블록(92')은, 넘어짐과 충격의 발생을 억제하기 위한 지지보강모듈이 구비되며, 상기 지지보강모듈은, 상기 베이스블록(92')의 하부에서 상기 베이스블록(92')을 적어도 일부 수용하는 소정 형상의 연동보강체(210)와, 상기 연동보강체(210)의 하부에 구비되어, 상기 연동보강체(210)와 연동 결속되는 중심보강체(230)가 구비되며, 상기 연동보강체(210)는, 홀딩수단이 구비되어 상기 베이스블록(92')을 상기 중심보강체(230)와 연동 결속시키는 건설폐기물 비산방지수단 설치방법을 제공한다.The present invention provides a construction waste sorting method comprising the steps of: providing a construction waste sorting system; Installing shatterproof means on the construction waste sorting system; And sorting construction waste using a construction waste sorting system, wherein the construction waste sorting system comprises: a first screen; A first jaw crusher for crushing construction waste; A first magnetic separator providing magnetic force to building waste to filter metal foreign matter; Second screen; And a first conveyor for moving the construction waste passing through the second screen, removing dust contained in the construction waste, and performing manual sorting. The scattering prevention means includes a base block 92 'mounted on the ground. And providing a plurality of support pipes extending upward from the base block 92 ', and supplying water to the water supply pipe connected to the base block 92'. The base block 92 'is provided with a support reinforcement module for suppressing the occurrence of falls and impacts. The support reinforcement module includes at least the base block 92' at the bottom of the base block 92 '. The interlocking
본 발명에 따르면 건설폐기물 선별을 수행함에 있어 비산을 방지하여 효율적인 건설폐기물 선별이 가능한 건설폐기물 선별방법을 제공할 수 있는 효과가 있다.According to the present invention there is an effect that can provide a construction waste sorting method capable of efficient construction waste sorting by preventing scattering in performing the construction waste sorting.
도 1은 본 발명의 일 실시예에 따른 이물질 비산방지 기능을 구비하는 건설폐기물 선별 시스템이 도시된 구성도이다.
도 2는 본 발명의 일 실시예에 따른 이물질 비산방지 기능을 구비하는 건설폐기물 선별 시스템의 비산방지부가 도시된 사시도이다.
도 3은 본 발명의 일 실시예에 따른 이물질 비산방지 기능을 구비하는 건설폐기물 선별 시스템의 비산방지부가 도시된 단면도이다.
도 4는 본 발명의 일 실시예에 따른 이물질 비산방지 기능을 구비하는 건설폐기물 선별 시스템의 착탈부가 도시된 단면도이다.
도 5는 본 발명의 일 실시예에 따른 이물질 비산방지 기능을 구비하는 건설폐기물 선별 시스템의 노즐 설치구조가 도시된 단면도이다.
도 6은 본 발명의 일 실시예에 따른 건설폐기물 선별 시스템의 죠크러셔가 도시된 구성도이다.
도 7은 본 발명의 일 실시예에 따른 건설폐기물 선별 시스템의 개패구동부, 선별가압부 및 연동부가 도시된 작동상태도이다.
도 8는 본 발명의 일 실시예에 따른 건설폐기물 비산방지수단 설치방법을 순차적으로 도시한 흐름도이다.
도 9 내지 도 13은 본 발명의 다른 실시예에 따른 이물질 비산방지 기능을 구비하는 건설폐기물 선별 시스템의 구성들을 도시한 도면들이다.
도 14 내지 도 18는 본 발명의 다른 실시예에 따른 이물질 비산방지 기능을 구비하는 건설폐기물 선별 시스템의 구성들의 변형예를 도시한 도면들이다.1 is a block diagram showing a construction waste sorting system having a foreign matter scattering prevention function according to an embodiment of the present invention.
2 is a perspective view showing the scattering prevention portion of the construction waste sorting system having a foreign matter scattering prevention function according to an embodiment of the present invention.
3 is a cross-sectional view showing the scattering prevention portion of the construction waste sorting system having a foreign matter scattering prevention function according to an embodiment of the present invention.
Figure 4 is a cross-sectional view showing the removable portion of the construction waste sorting system having a foreign matter scattering prevention function according to an embodiment of the present invention.
Figure 5 is a cross-sectional view showing a nozzle installation structure of the construction waste sorting system having a foreign matter scattering prevention function according to an embodiment of the present invention.
Figure 6 is a block diagram showing a jaw crusher of the construction waste sorting system according to an embodiment of the present invention.
7 is an operating state diagram showing the opening and closing drive unit, the sorting pressurizing unit and the linking unit of the construction waste sorting system according to an embodiment of the present invention.
8 is a flowchart sequentially showing a method of installing construction waste scattering prevention means according to an embodiment of the present invention.
9 to 13 are views showing the configuration of the construction waste sorting system having a foreign matter scattering prevention function according to another embodiment of the present invention.
14 to 18 are views showing a modification of the configuration of the construction waste sorting system having a foreign matter scattering prevention function according to another embodiment of the present invention.
이하, 첨부된 도면을 참조하여 본 발명의 바람직한 실시예를 상세히 설명하기로 한다.Hereinafter, exemplary embodiments of the present invention will be described in detail with reference to the accompanying drawings.
도 1은 본 발명의 일 실시예에 따른 이물질 비산방지 기능을 구비하는 건설폐기물 선별 시스템이 도시된 구성도이고, 도 2는 본 발명의 일 실시예에 따른 이물질 비산방지 기능을 구비하는 건설폐기물 선별 시스템의 비산방지부가 도시된 사시도이고, 도 3은 본 발명의 일 실시예에 따른 이물질 비산방지 기능을 구비하는 건설폐기물선별 시스템의 비산방지부가 도시된 단면도이다. 또한, 도 4는 본 발명의 일 실시예에 따른 이물질 비산방지 기능을 구비하는 건설폐기물 선별 시스템의 착탈부1 is a block diagram showing a construction waste sorting system having a foreign matter scattering prevention function according to an embodiment of the present invention, Figure 2 is a construction waste sorting having a foreign matter scattering prevention function according to an embodiment of the present invention 3 is a perspective view showing the scattering prevention portion of the system, Figure 3 is a cross-sectional view showing the scattering prevention portion of the construction waste sorting system having a foreign matter scattering prevention function according to an embodiment of the present invention. In addition, Figure 4 is detachable portion of the construction waste sorting system having a foreign matter scattering prevention function according to an embodiment of the present invention
가 도시된 단면도이고, 도 5는 본 발명의 일 실시예에 따른 이물질 비산방지 기능을 구비하는 건설폐기물 선별시스템의 노즐 설치구조가 도시된 단면도이고, 도 6은 본 발명의 일 실시예에 따른 건축폐기물 선별 시스템의 죠크러셔가 도시된 구성도이고, 도 7은 본 발명의 일 실시예에 따른 건축폐기물 선별 시스템의 개패구동부, 선별가압부 및 연동부가 도시된 작동상태도이다. 도 1 내지 도 7을 참조하면, 본 발명의 일 실시예에 따른 이물질 비산방지 기능을 구비하는 건설폐기물 선별 시5 is a cross-sectional view showing a nozzle installation structure of the construction waste sorting system having a foreign matter scattering prevention function according to an embodiment of the present invention, Figure 6 is a construction according to an embodiment of the present invention The jaw crusher of the waste sorting system is shown in the configuration, Figure 7 is a state diagram showing the opening and closing drive unit, the sorting pressurizing unit and the linkage of the building waste sorting system according to an embodiment of the present invention. 1 to 7, when selecting the construction waste having a foreign matter scattering prevention function according to an embodiment of the present invention
스템은, 호퍼(12')를 통해 투입되는 건축폐기물을 거르는 제1스크린(10')과, 제1스크린(10')을 통과하여 제공되는 건축폐기물을 파쇄하는 제1죠크러셔(14')와, 제1죠크러셔(14')에서 배출되는 건축폐기물에 자력을 제공하여 금속 이물질을 거르는 제1자력선별기(16')와, 제1자력선별기(16')를 통과한 건설폐기물을 거르는 제2스크린(18')과, 제2스크린(18')을 통과하는 건설폐기물을 이동시키고, 제1송풍기(34')가 일측에 설치되어 건설폐기물에 포함되는 분진을 제거할 수 있으며, 작업자의 수작업 선별이 이루어지는 제1컨베이어(32')와, 제1컨베이어(32')에 의해 이동되어 낙하되는 건설폐기물을 거르는 제3스크린(36')과, 제3스크린(36')을 통과하는 건설폐기물을 이동시키고, 제2송풍기(38a')가 일측에 설치되어 건설폐기물에 포함되는 분진을 제거할 수 있는 제2컨베이어(38')와, 제2컨베이어(38')에 의해 이동되어 낙하되는 건설폐기물을 분쇄하는 제2죠크러셔(50')와, 제2죠크러셔(50')에서 배출되는 건설폐기물을 이동시키고, 작업자의 수작업 선별이 이루어지는 제3컨베이어(72')와, 제3컨베이어(72')에서 낙하되는 건설폐기물 중에 포함되는 금속 이물질을 거르는 제2자력선별기(76')와, 제2자력선별기(76')를 통과하는 건설폐기물을 거르는 제4스크린(78')과, 제4스크린(78')을 통과하는 건설폐기물을 거르는 제5스크린(80')과, 제5스크린(80')에 의해 걸러지는 건설폐기물을 파쇄하는 롤크러셔(82')와, 롤크러셔(82')에서 파쇄되어 배출되는 건설폐기물을 순환골재와 제거모르타르로 분리하여 각각 배출시키는 드럼박리장치(84')와, 제5스크린(80')을 통과하는 건설폐기물을 이동시키고, 제3송풍기(88')가 일측에 설치되어 분진을 제거하여 석분을 제공하는 제4컨베이어(86')와, 제4스크린(78')에 의해 걸러지는 건설폐기물 중에 포함되는 금속 이물질을 거르는 제3자력선별기(82a')와, 제3자력선별기(82a')에 의해 걸러지는 건설폐기물을 분쇄하여 제3컨베이어(72')로 순환시키는 콘크러셔(74')와, 제1스크린(10') 내지 제5스크린(80') 중 어느 하나 또는 두 개 이상의 스크린 주변에 설치되거나, 제1죠크러셔(14'), 제2죠크러셔(50'), 롤크러셔(82') 또는 콘크러셔(74') 중 어느 하나 또는 두 개 이상의 크러셔 주변에 설치되거나, 제1송풍기(34') 내지 제3송풍기(88') 중 어느 하나 또는 두 개 이상의 송풍기 주변에 설치될 수 있고, 비산되는 이물질에 수막을 제공하여 이물질이 비산되는 것을 방지하는 비산방지부(90')를 포함한다. 따라서 차량 또는 중장비에 의해 건설폐기물이 호퍼(12')에 투입되면 호퍼(12')를 따라 하강하는 건설폐기물이 제1스크린(10')을 통과하면서 1차로 걸러지고, 제1스크린(10')을 통과하는 건설폐기물은 제1죠크러셔(14')에서 파쇄되어 배출된다.The stem includes a first screen 10 'that filters the construction waste introduced through the hopper 12' and a first jaw crusher 14 'that breaks the construction waste provided through the first screen 10'. And a first magnetic separator (16 ') that provides magnetic force to the construction waste discharged from the first jaw crusher (14') to filter metal foreign matter and a construction waste that passes through the first magnetic separator (16 '). The construction wastes passing through the second screen 18 'and the second screen 18' are moved, and the first blower 34 'is installed at one side to remove dust included in the construction waste, Construction that passes through the first conveyor 32 'where manual sorting is performed, the third screen 36' for filtering construction waste dropped and moved by the first conveyor 32 ', and the third screen 36'. A second conveyor capable of moving the waste and removing the dust contained in the construction waste by installing a
제1스크린(10')은 30mm 타공망으로 이루어지므로 30mm를 초과하는 크기의 건설폐기물은 걸러져 폐토사로 처리된다. 제1죠크러셔(14')에서 파쇄되는 건설폐기물은 제1자력선별기(16')를 통과하면서 1차로 금속 이물질이 걸러지고, 이후에, 40mm 고무망으로 이루어지는 제2스크린(18')을 통과하며 걸러지게 된다. 제2스크린(18')을 통과한 건설폐기물을 제3스크린(36')에 낙하되어 다시 걸러지게 되는데, 제2스크린(18')을 통과한 건설폐기물은 제1컨베이어(32')를 따라 이동한 후에 1송풍기(34')로부터 제공되는 바람에 의해 건설폐기물에 포함되는 분진 등의 이물질을 제거하고, 제1컨베이어(32') 일측에 위치하는 작업자들의 수작업에 의해 건설폐기물에 포함되는 비닐 등의 이물질을 제거하게 된다. 제2스크린(18')을 통과하지 못하고 배출되는 건설폐기물은 별도의 파쇄작업에 의해 건설폐기물의 크기를 감소시켜 제3스크린(36')에 공급하고, 별도의 파쇄작업을 진행하기 위해 제1죠크러셔(14')로 순환시킬 수 있다. 제1컨베이어(32')를 따라 이동되는 건설폐기물은 제3스크린(36')에 낙하되어 폐사토를 2차에 걸쳐 거르게 되는데, 제3스크린(36')은 13mm 크기의 홀부가 연속되게 형성되는 고무망으로 이루어진다. 제3스크린(36')을 통과한 건설폐기물은 제2컨베이어(38')에 안착되어 이동되고, 제2송풍기(38a')의 작동에 의해 분Since the first screen 10 'is made of a 30 mm perforated network, construction waste having a size larger than 30 mm is filtered out and treated as waste soil. The construction waste crushed by the first jaw crusher 14 'is first filtered through the first magnetic separator 16' and the foreign metal is filtered, and then passed through the second screen 18 'made of a 40 mm rubber net. Will be filtered out. The construction waste that has passed through the second screen 18 'falls to the third screen 36' and is filtered again. The construction waste that has passed through the second screen 18 'passes along the first conveyor 32'. After moving, the foreign material such as dust included in the construction wastes is removed by the wind provided from the first blower 34 ', and the plastics included in the construction wastes are manually operated by workers located at one side of the first conveyor 32'. Remove foreign substances such as. The construction waste that is not passed through the second screen 18 'is discharged to the third screen 36' by reducing the size of the construction waste by a separate shredding operation, and the first waste to carry out the separate shredding operation. The jaw crusher 14 'can be circulated. The construction waste moving along the first conveyor 32 'falls to the third screen 36' to filter waste soil over two times. The third screen 36 'has a 13 mm hole formed continuously. It is made of rubber net. The construction waste which has passed through the third screen 36 'is seated and moved to the second conveyor 38' and is separated by the operation of the
진, 비닐 등의 이물질을 재차 거르게 되고, 제2컨베이어(38')에서 낙하되는 건설폐기물은 제2죠크러셔(50')에 공급되어 골재로 이루어지는 건설폐기물에 함침되는 금속 이물질을 제거하게 된다. 제2죠크러셔(50')를 통과하면서 파쇄되는 건설폐기물은 제3컨베이어(72')에 안착되어 이동되고, 제2자력선별기(76')를 통과하면서 금속 이물질을 제거하게 된다. 제2자력선별기(76')를 통과하는 건설폐기물은 제4스크린(78')을 통과한 후에 제5스크린(80')을 통과하고, 제4컨베이어(86')에 안착되어 이동되면서 제3송풍기(88')에 의해 제공되는 바람에 의해 분진 등의 이물질이 제거된 후에낙하되어 석분으로 모아지게 된다. 제4스크린(78')을 통과하지 못한 건설폐기물은 제3자력선별기(82a')에 공급되어 금속 이물질을 제거한 후에 콘크The foreign substances such as gin and vinyl are filtered again, and the construction waste falling from the second conveyor 38 'is supplied to the second jaw crusher 50' to remove metal foreign substances impregnated in the construction waste made of aggregate. Construction waste that is crushed while passing through the second jaw crusher 50 'is seated and moved to the third conveyor 72', and removes metal foreign matter while passing through the second magnetic separator 76 '. The construction waste passing through the second magnetic separator 76 'passes through the fifth screen 80' after passing through the fourth screen 78 'and is seated and moved to the fourth conveyor 86'. After the foreign matter such as dust is removed by the wind provided by the blower 88 ', it is dropped and collected as stone powder. The construction waste that has not passed through the fourth screen 78 'is supplied to the third
러셔(74')에 공급되어 파쇄작업이 진행되고, 콘크러셔(74')에서 배출되는 건설폐기물은 제3컨베이어(72')로 순환되어 제2자력선별기(76')에 공급된다. 제5스크린(80')에서 걸러진 건설폐기물은 롤크러셔(82')에 공급되고, 롤크러셔(82')에서 파쇄된 건설폐기물은 드럼박리장치(84')에 통과하여 모르타르게 제거된 순환골재와, 제거 모르타르로 분리되어 배출된다. 따라서 건설 자재로 재활용되도록 입도가 9~20mm로 이루어지는 순환골재가 생산되고, 입도가 9mm 미만으로 이루어지는 석분을 생산할 수 있게 된다. The crusher 74 'is supplied with a crushing operation, and the construction waste discharged from the crusher 74' is circulated to the third conveyor 72 'and supplied to the second magnetic separator 76'. The construction waste filtered out of the fifth screen 80 'is supplied to the roll crusher 82', and the construction waste crushed in the roll crusher 82 'passes through the drum peeling device 84' and is removed mortarfully. And separated into discharged mortar and discharged. Therefore, recycled aggregates having a particle size of 9 to 20 mm are produced to be recycled as construction materials, and stone powder having a particle size of less than 9 mm can be produced.
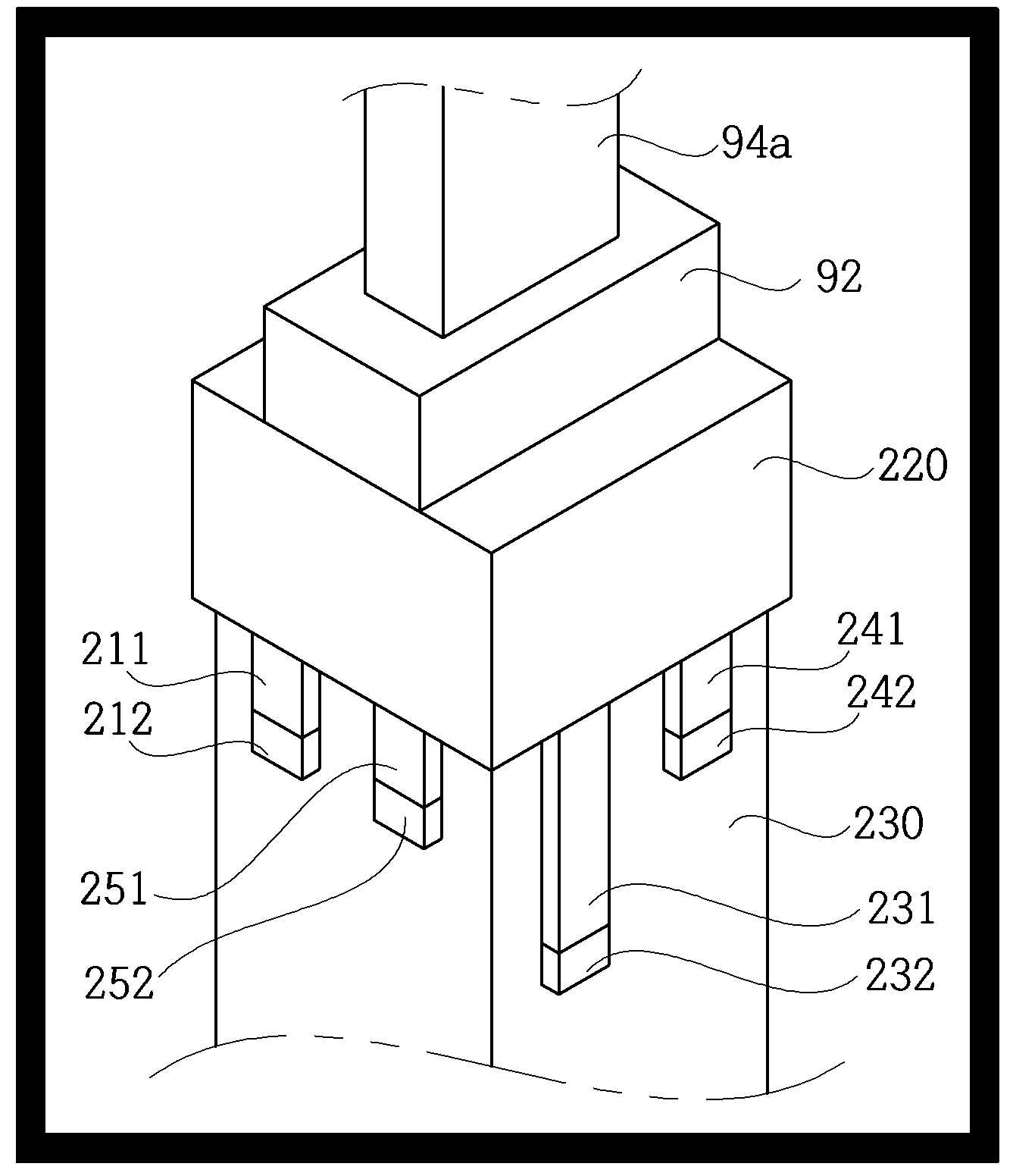
상기한 바와 같은 선별공정이 이루어지는 과정에서 발생되는 분진 등의 이물질이 대기 중으로 비산되어 주변 환경을 오염시킬 수 있는데, 본 실시예는, 스크린, 크러셔 또는 송풍기 주변에 설치되는 비산방지부(90')에 의해 이물질이 비산되지 않고 포집되므로 대시 중으로 이물질이 비산되면서 주변 환경을 오염시키는 것을 방지할 수 있게 된다. 본 실시예의 비산방지부(90')는, 지면에 안착되는 베이스블록(92')과, 베이스블록(92')으로부터 상측으로 연장되는 복수 개의 지지파이프(94')와, 베이스블록(92')에 연결되고, 비산되는 물을 제공하는 급수관(92a')과, 급수관(92a')에 연결되고, 베이스블록(92') 내부로 삽입되고, 지지파이프(94')를 따라 상측으로 연장되어 지지파이프(94')의 상단으로부터 물을 분사하도록 안내하는 급수호스(92b')와, 지지파이프(94')에 거치되어 이물질이 선별 시스템 주변으로 비산되는 것을 방지하는 천막과, 지지파이프(94') 상단에 설치되고 복수 개가 일정한 간격을 유지하며 배치되며, 급수호스(92b')와 연결되어 물을 분사하는 노즐(98')을 포함한다. 베이스블록(92')은 내부에 공간부가 형성되는 구조물로 이루어지고, 경계석과 동일하더나 유사한 모양의 직육면체로 이루어지며, 일측에 공급관이 연결되어 베이스블록(92') 내부에 배치되는 공급호스와 연결된다. 지지파이프(94')는, 베이스블록(92')의 상면으로부터 수직방향으로 한 쌍의 지지파이프(94')가 간격을 유지하도록 베이스블록(92')의 양단부에 설치되고, 한 쌍의 지지파이프(94') 사이의 간격에 천막이 설치되어 이물질이 천막에 의해 포집되도록 한다. 천막은 분진 등의 이물질이 쉽게 포집되는 섬유재질을 포함하여 이루어지고, 지지파이프(94')에 설치되는 걸림고리(96b')에 의해 천막의 테두리가 펼쳐지도록 거치되어 선별 시스템을 이루는 장치와 외부를 구획하며 이물질을 포집하게 된다. Foreign substances such as dust generated during the sorting process as described above may be scattered in the air to contaminate the surrounding environment. In this embodiment, the scattering prevention unit 90 'installed around the screen, the crusher or the blower is provided. The foreign matter is collected instead of being scattered by the dust, which prevents the contamination of the surrounding environment while the foreign matter is scattered in the dash. The scattering prevention portion 90 'of the present embodiment includes a base block 92' mounted on the ground, a plurality of support pipes 94 'extending upward from the base block 92', and a
지지파이프(94')는, 베이스블록(92')의 상면에 수직방향으로 슬라이딩 가능하게 설치되는 제1파이프(94a')와, 제1파이프(94a')로부터 수직방향으로 슬라이딩 가능하게 설치되는 제2파이프(94b')와, 제2파이프(94b')로 부터 수직방향으로 슬라이딩 가능하게 설치되는 제3파이프(94c')와, 서로 대향되게 배치되는 한 쌍의 제3파이프(94c') 상단을 연결하고, 제1파이프(94a'), 제2파이프(94b') 및 제3파이프(94c')를 통해 연장되는 급수호스(92b')가 삽입되고, 노즐(98')이 설치되는 제4파이프(94d')를 포함한다. 제1파이프(94a') 내지 제3파이프(94c')의 하단은 측 방향으로 굴곡되어 돌출부를 이루기 때문에 제1파이프(94a')가 베이스블록(92')으로부터 필요 이상으로 돌출되어 불리되는 것을 방지하고, 베이스블록(92')의 측면으로부터 삽입되는 고정핀(96a')에 의해 제1파이프(94a')가 돌출된 상태를 유지하게 된다. 또한, 제1파이프(94a') 내지 제3파이프(94c')의 둘레면에는 걸림고리(96b')가 삽입되어 제1파이프(94a') 내지 제3파이프(94c')의 하단에 형성되는 돌출부에 삽입되므로 제1파이프(94a') 내지 제3파이프(94c')가 돌출된 상태를 이루게 된다. 걸림고리(96b')의 외측 단부는 고리 모양으로 굴곡되게 형성되어 천막의 테두리에 형성되는 거치홀부에 삽입되어 천막의 테두리가 펼쳐진 상태로 척막을 거치할 수 있게 된다. 제4파이프(94d')는, 한 쌍의 제3파이프(94c') 상단을 연결하여 수평방향으로 배치되고, 제1파이프(94a') 내지 제3파이프(94c')를 따라 상측으로 연장되는 공급호스가 제4파이프(94d') 내부에 배치되어 수평방향으로 배치되고, 제4파이프(94d')에 설치되는 다수 개의 노즐(98')이 공급호스와 연결되어 물을 비산시킬 수 있게 된다. 여기서, 본 실시예의 노즐(98')은, 물을 넓게 비산시켜 수막을 형성하는 드렌처헤드(Drencher Head')를 포함하여 이루어지므로 천막에 의해 이물질이 포집됨과 동시에 드렌처헤드에서 비산되는 물에 의해 이물질이 2차로 포집되어 낙하되므로 선별 시스템 주변으로 이물질이 비산되어 오염되는 것을 효과적으로 방지할 수 있게 된다. 또한, 본 실시예는, 비산방지부(90')를 연속되게 연결하여 비산방지부(90')의 크기를 다양하게 가변시킬 수 있는 착탈부(100')를 더 포함하므로 선별 시스템이 설치되는 장소의 지형적 특징 등을 감안하여 다양한 크기의 비산방지부(90')를 제공할 수 있게 된다.The support pipe 94 'is slidably installed in a vertical direction from the
아울러, 이미 설치되어 있던 기존의 선별 시스템에 다양한 크기의 비산방지부(90')를 제공할 수 있게 되어 선별시스템이 설치되는 장소의 주변 환경이 오염되는 것을 효과적으로 방지할 수 있게 된다. 본 실시예의 착탈부(100')는, 베이스블록(92')의 일측면에 형성되는 연결홈부(102')와, 다른 베이스블록(92')의 연결홈부(102')에 삽입되어 다른 베이스블록(92')과 서로 연결될 수 있도록 베이스블록(92')의 타측면에 설치되는 연결후크(104')와, 연결홈부(102') 내측으로 출몰 가능하게 설치되고, 연결홈부(102') 내부로 연결후크(104')가 삽입되면 연결후크(104')와 걸림결합되어 서로 인접하게 배치되는 베이스블록(92')을 서로 연결하는 착탈후크(106')와, 착탈후크(106')가 연결홈부(102') 내측 방향으로 돌출된 상태를 유지시키는 탄성부재(107')와, 착탈후크(106')를 후진시켜 연결후크(104')와 걸림결합을 해제시키는 해제레버(108')와, 해제레버(108')와 착탈후크(106') 사이에 연결되어 해제레버(108')의 조작력을 착탈후크(106')의 후퇴운동으로 변환시켜 전달하는 와이어(109')를 포함한다.In addition, it is possible to provide a scattering prevention unit (90 ') of various sizes to the existing sorting system that is already installed it can effectively prevent the surrounding environment of the place where the sorting system is installed. The
따라서 한 쌍의 베이스블록(92')을 서로 연속되게 연결할 때에는, 베이스블록(92')의 일측면에 형성되는 연결홈부(102') 내부로 인접하게 배치되는 다른 베이스블록(92')의 연결후크(104')를 삽입하면 착탈후크(106')가 작동공간부 내측으로 가압되면서 탄성부재(107')를 압축시키고, 연결후크(104')가 연결홈부(102') 내측으로 완전히 삽입되면 탄성부재(107')의 복원력에 의해 착탈후크(106')가 연결홈부(102') 내측으로 돌출되면서 연결후크(104')와 걸림결합되어 한 쌍의 베이스블록(92')이 동일 직선상에 연속되게 밀착되며 배치된다.상기한 바와 같이 서로 연결된 베이스블록(92')의 개수를 다수 개로 연장시킬 수 있어 선별 시스템에서 요구되는 크기로 비산방지부(90')를 제공할 수 있게 된다. 본 실시예의 제2죠크러셔(50')는, 건설폐기물이 공급되고, 측면에 서로 대향되게 배치되는 한 쌍의 출몰홀부(50b')가 구비되는 투입부재(50a')와, 출몰홀부(50b')를 통해 삽입되고, 투입부재(50a')를 통과하여 낙하되는 건설폐기물을 타격하여 파쇄하는 한 쌍의 해머(52')와, 해머(52')를 출몰홀부(50b') 내측 또는 외측으로 출몰시키며 파쇄작업을 행하는 파쇄실린더(52a')와, 투입부재(50a') 하부에 설치되고, 스크린이 구비되는 선별도어(54a')가 회전가능하게 설치되며, 배출홀부(54b')가 형성되는 선별케이스(54')와, 선별도어(54a')를 통과하여 낙하되는 건설폐기물을 배출홀부(54b') 측으로 안내하는 경사면(54c')과, 선별도어(54a')를 회전시켜 경사지게 배치시키며 선별도어(54a')에 의해 걸러지는 건설폐기물을 컨베이어 측으로 배출시키는 개폐구동부(56')와, 선별도어(54a')가 경사지게 배치된 후에 선별도어(54a')에 잔존하는 건설폐기물을 외측 방향으로 가압하여 배출시키는 선별가압부(57')와, 개폐구동부(56')의 작동에 의해 선별도어(54a')가 개방되면 선별가압부(57')의 작동이 개시되도록 개폐구동부(56')의 회전운동을 변환시켜 선별가압부(57')에 조작력으로 전달하는 연동부(58')를 포함한다. Therefore, when the pair of base blocks 92 'are continuously connected to each other, the connection of the other base blocks 92' disposed adjacent to the connection groove 102 'formed on one side of the base block 92'. When the hook 104 'is inserted, the detachable hook 106' is pressed into the working space to compress the elastic member 107 ', and when the connecting hook 104' is completely inserted into the connecting groove 102 ', The detachable hook 106 'protrudes into the connecting groove 102' by the restoring force of the elastic member 107 'and is engaged with the connecting hook 104' so that the pair of base blocks 92 'are in the same straight shape. As described above, the number of base blocks 92 'connected to each other can be extended to a plurality, so that the scattering prevention unit 90' can be provided in a size required by the sorting system. In the second jaw crusher 50 'of the present embodiment, a construction waste is supplied, an
따라서 투입구를 통해 건설폐기물이 공급되면 실린더로부터 로드가 출몰되면서 한 쌍의 해머(52')가 출몰홀부(50b')를 통해 투입부재(50a') 내측으로 돌출되면서 한 쌍의 해머(52')가 충돌되면서 투입부재(50a')를 통과하는 건설폐기물을 타격하면서 철근과 같은 금속 이물질이 함침된 콘크리트 덩어리를 파쇄하면서 골재와 콘크리트 석분과 금속 이물질을 분리시키게 된다. 한 쌍의 해머(52')에 의해 분쇄되는 건설폐기물은 선별도어(54a') 상면에 낙하되고, 선별도어(54a')에 설치되는 스크린에 의해 석분 및 작은 알갱이의 골재는 스크린을 통과하여 선별케이스(54') 내부로 투입되어 경사면(54c')에 안착되고, 경사면(54c')을 따라 슬라이딩되어 배출홀부(54b')를 통해 외부로 배출된다. 본 실시예의 경사면(54c')은, 배출홀부(54b') 측으로 낮아지는 경사를 이루고, 경사면(54c')에는 건설폐기물에 진동을 전달하여 배출홀부(54b') 측으로 배출되게 하는 진동제공부(54d')가 설치되므로 경사면(54c')에 건설폐기물이 안착되면 진동제공부(54d')에 전원이 인가되어 경사면(54c')에 진동이 발생되어 경사면(54c')에 안착된 건설폐기물이 효과적으로 배출홀부(54b') 측으로 배출될 수 있게 된다.Therefore, when the construction waste is supplied through the inlet, a pair of hammers 52 'protrude into the
본 실시예의 개폐구동부(56')는, 선별도어(54a')의 회전축에 설치되는 피니언(56b')과, 피니언(56b')에 기어연결되고, 선별케이스(54')에 슬라이딩 가능하게 설치되는 랙부재(56a')와, 랙부재(56a')에 연결되고, 선별케이스(54')에 설치되며, 랙부재(56a')를 전진 또는 후퇴시키면서 피니언(56b')을 회전시켜 선별도어(54a')를 개폐시키는 개폐실린더(56c')를 포함한다. 선별도어(54a')는 선별케이스(54')의 상면에 회전축에 의해 회전 가능하게 설치되고, 선별도어(54a')의 회전축에는The opening / closing drive part 56 'of this embodiment is gear-connected to the
피니언(56b')이 설치되며, 랙부재(56a')가 선별케이스(54')에 슬라이딩 가능하게 설치되어 개폐실린더(56c')의 로드에 연결된다. 따라서 개폐실린더(56c')로부터 로드가 출몰되면 랙부재(56a')가 전진 또는 후진되면서 피니언(56b')을 회전시키게되므로 회전축이 회전되면서 선별도어(54a')를 개방 또는 폐쇄시키게 된다. 개폐실린더(56c') 내부로 로드가 삽입되어 랙부재(56a')가 후퇴되면 피니언(56b')의 시계방향으로 회전되면서 선별도어(54a')가 하강하면서 선별케이스(54') 내부로 삽입되어 선별도어(54a')가 컨베이어 측으로 경사지게 배치되면 서 선별도어(54a') 상면에 안착된 건설폐기물을 선별케이스(54') 외측으로 낙하시키게 된다. 이때, 진동제공부(54d')에서 제공되는 진동이 경사면(54c')에 접촉되게 배치되는 선별도어(54a')에 전달되면서 선별도어(54a') 상면에 안착되는 건설폐기물을 선별케이스(54') 외측 방향으로 배출시키게 된다. 상기한 바와 같이 금속 이물질은 선별케이스(54') 일측으로 배출되고, 선별도어(54a')를 통과하여 경사면(54c')을 따라 배출되는 석분 및 골재는 선별케이스(54')의 타측으로 배출되어 서로 다른 방향으로 선별되어 배출되어 건설폐기물로부터 철근과 같은 금속 이물질을 효과적으로 배출시킬 수 있게 된다. 본 실시예의 선별가압부(57')는, 선별도어(54a')의 일측에 설치되고, 고압의 공기를 분사시키는 복수 개의 노즐(57b')과, 복수 개의 노즐(57b')이 연결되고, 복수 개의 노즐(57b')에 고압의 공기의 균일하게 분배하여 제공하는 분배변(57c')과, 분배변(57c')에 공기를 제공하는 공급관(57a')을 포함한다. 따라서 공급관(57a')을 통해 제공되는 공기는 분배변(57c')에 충진되어 저장되고, 개폐실린더(56c') 내부로 로드가 삽입되어 선별도어(54a')가 회전되면 분배변(57c')이 개방되어 다수 개의 노즐(57b')에 동시에 고압의 공기를 제공하여 노즐(57b')로부터 분사되는 고압의 공기가 선별도어(54a')의 상면에 분사되면서 선별도어(54a') 상면에 안착되는 건설폐기물을 선별도어(54a') 외측으로 가압하여 배출시키게 된다. 상기한 바와 같이 선별도어(54a')의 상면에는 진동제공부(54d')에 의해 진동이 제공됨과 동시에 노즐(57b')로부터 분사되는 고압의 공기가 분사되면서 건설폐기물을 보다 더 효과적으로 배출시킬 수 있게 된다. 본 실시예는, 스크린이 설치되는 선별도어(54a')에 진동과 공기가 동시에 제공되므로 스크린 사이에 삽입된 골재가 진동에 의해 스크린으로부터 분리되어 고압의 공기에 의해 선별도어(54a') 외측으로 배출되어 스크린에 골재가 삽입되어 스크린이 막히는 오작동을 방지할 수 있게 된다. 또한, 본 실시예는, 연동부(58')가 구비되어 개폐구동부(56')가 작동되면 선별가압부(57')가 구동되므로 선별가압부(57')의 작동을 개시하기 위한 별도의 제어장치가 요구되지 않기 때문에 제2죠크러셔(50')의 부품수를 절감할수 있게 된다. 본 실시예의 연동부(58')는, 개폐실린더(56c')의 로드에 일단이 회전 가능하게 연결되고, 중앙부가 힌지(58b')에 의해 선별케이스(54')에 회전 가능하게 설치되는 연동막대(58a')와, 연동막대(58a')의 타측 단부에 설치되어 분배면의 스위치를 가압하는 가압부재(58c')를 포함한다. 따라서 개폐실린더(56c') 내부로 로드가 삽입되면 연동막대(58a')가 힌지(58b')를 중심으로 회전되면서 가압부재(58c')가 분배변(57c')의 스위치를 가압하면서 분배변(57c')을 개방하여 다수 개의 노즐(57b')을 통해 고압의 공기가 선별도어(54a') 상면으로 분사되게 하면서 건설폐기물을 선별도어(54a') 외측으로 배출시키게 된다.The
이로써, 건설폐기물을 파쇄하는 공정 및 고압의 공기를 분사하여 분진 등의 이물질을 제거하는 공정 중에 발생되는 이물질이 대기 중으로 비산되어 주변 환경을 오염시키는 것을 방지할 수 있고, 다양한 크기로 연결할 수 있어 기존의 선별 시스템에 용이하게 설치할 수 있는 이물질 비산방지 기능을 구비하는 건설폐기물 선별 시스템을 제공할 수 있게 된다. As a result, foreign matters generated during the process of crushing construction waste and the process of removing foreign matters such as dust by spraying high pressure air can be prevented from being scattered to the air and polluting the surrounding environment, and can be connected in various sizes. It is possible to provide a construction waste sorting system having a scattering prevention function of foreign matter that can be easily installed in the sorting system.
도 8는 본 발명의 일 실시예에 따른 건설폐기물 비산방지수단 설치방법을 순차적으로 도시한 흐름도이다. 도 8를 참조하면, 건설폐기물의 비산방지수단 설치방법(S100)은 S110에서 건설폐기물 선별 시스템을 구비하며, S120에서 건설폐기물 선별 시스템 상에 비산방지 수단을 설치한다. S130엣 건설폐기물 선별 시스템을 이용하여 건설폐기물을 선별한다.8 is a flowchart sequentially illustrating a method of installing construction waste scattering prevention means according to an embodiment of the present invention. Referring to FIG. 8, the method for installing scattering prevention means of construction waste (S100) includes a construction waste sorting system at S110, and installs scattering preventing means on a construction waste sorting system at S120. S130 is used to sort out construction waste using the construction waste sorting system.
도 9내지 도 13은 본 발명의 다른 실시예에 따른 이물질 비산방지 기능을 구비하는 건설폐기물 선별 시스템의 구성들을 도시한 도면들이다.9 to 13 are views showing the configuration of the construction waste sorting system having a foreign matter scattering prevention function according to another embodiment of the present invention.
상기 비산방지 수단은 베이스블록(92')이 지면에 안착되도록 구비되는 단계와, 복수 개의 지지파이프가 상기 베이스블록(92')으로부터 상측으로 연장되도록 구비되는 단계와, 급수관이 상기 베이스블록(92')에 연결되어 비산되는 물을 제공하는 단계를 포함한다. 상기 베이스블록(92')은, 넘어짐과 충격의 발생을 억제하기 위한 지지보강모듈이 구비되며, 상기 지지보강모듈은, 상기 베이스블록(92')의 하부에서 상기 베이스블록(92')을 적어도 일부 수용하는 소정 형상의 연동보강체(210)와, 상기 연동보강체(210)의 하부에 구비되어, 상기 연동보강체(210)와 연동 결속되는 중심보강체(230)가 구비된다. 상기 연동보강체(210)는 홀딩수단이 구비되어 상기 베이스블록(92')을 상기 중심보강체(230)와 연동 결속시킨다.The scattering preventing means is provided so that the base block 92 'is seated on the ground, a plurality of support pipes are provided to extend upward from the base block 92', and the water supply pipe is the base block 92 ') To provide water that is scattered. The base block 92 'is provided with a support reinforcement module for suppressing the occurrence of falls and impacts. The support reinforcement module includes at least the base block 92' at the bottom of the base block 92 '. The interlocking
상기 베이스블록(92')은 넘어짐과 충격의 발생을 억제하기 위한 지지보강모듈이 구비되며, 상기 지지보강모듈은, 상기 베이스블록(92')의 하부에서 상기 베이스블록(92')를 적어도 일부 수용하는 소정 형상의 연동보강체(210)와, 상기 연동보강체(210)의 하부에 구비되어, 상기 연동보강체(210)와 연동 결속되는 중심보강체(230)가 구비된다. 상기 연동보강체(210)는, 홀딩수단이 구비되어 상기 베이스블록(92')를 상기 중심보강체(230)와 연동 결속시킨다.The base block 92 'is provided with a support reinforcement module for suppressing the occurrence of the fall and impact, the support reinforcement module, at least a portion of the base block 92' at the bottom of the base block 92 ' The interlocking
상기 홀딩수단은, 상기 연동보강체(210)의 전면 하부측으로 돌출되어 상기 중심보강체(230)의 외측면으로 결속되는 제1 홀딩수단과 상기 연동보강체(210)의 후면 하부측으로 돌출되어 상기 중심보강체(230)의 외측면으로 결속되는 제2 홀딩수단을 포함한다. 상기 제1 홀딩수단은, 상기 중심보강체(230)측에 구비되는 제1 홀딩바(211)와, 상기 제1 홀딩바(211)의 단부에 구비되어 상기 중심보강체(230)의 외측면을 관통시키기 위한 드릴형태의 제1 관통체(213)가 구비되는 제1 접촉부(212)가 구비된다.The holding means protrudes toward the lower front side of the interlocking
상기 제2 홀딩수단은, 상기 중심보강체(230)측에 구비되는 제2 홀딩바(221)와, 상기 제2 홀딩바(221)의 단부에 구비되어 상기 중심보강체(230)의 외측면을 관통시키기 위한 드릴형태의 제2 관통체(223)가 구비되는 제2 접촉부(222)가 구비된다. 상기 홀딩수단은, 상기 연동보강체(210)의 일측면과 타측면 하부측으로 각각 돌출되어 상기 중심보강체(230)의 외측면으로 결속되는 제3 홀딩수단과 상기 연동보강체(210)의 일측면과 타측면 하부측으로 각각 돌출되어 상기 중심보강체(230)의 외측면으로 결속되는 제4 홀딩수단을 더 포함한다.The second holding means may include a
상기 제3 홀딩수단은, 상기 중심보강체(230)측에 구비되는 제3 홀딩바(231)와, 상기 제3 홀딩바(231)의 단부에 구비되어 상기 중심보강체(230)의 외측면을 관통시키기 위한 드릴형태의 제3 관통체(233)가 구비되는 제3 접촉부(232)가 구비된다. 상기 제4 홀딩수단은, 상기 중심보강체(230)측에 구비되는 제4 홀딩바(241)와, 상기 제4 홀딩바(241)의 단부에 구비되어 상기 중심보강체(230)의 외측면을 관통시키기 위한 드릴형태의 제4 관통체(243)가 구비되는 제4 접촉부(242)가 구비된다.The third holding means may include a
상기 제1 관통체(213) 및 상기 제2 관통체(223)가 상기 중심보강체(230)에 관통결속된 상태에서, 상기 제1 홀딩바(221)가 제1 방향으로 유동하여 제1 가압힘을 발생시키며, 상기 제2 홀딩바(221)가 상기 제1 방향과 대향되는 제2 방향으로 유동하여 제2 가압힘을 발생시키며, 상기 제1 가압힘과 상기 제2 가압힘에 의하여 상기 연동보강체(210)는 상기 중심보강체(230)와 결속력이 강화된다.In a state where the first through
상기 제3 관통체(233) 및 상기 제4 관통체(243)가 상기 중심보강체(230)에 관통결속된 상태에서, 상기 제3 홀딩바(231)가 제3 방향으로 유동하여 제3 가압힘을 발생시키며, 상기 제4 홀딩바(241)가 상기 제3 방향과 대향되는 제4 방향으로 유동하여 제4 가압힘을 발생시키며, 상기 제3 가압힘과 상기 제4 가압힘에 의하여 상기 연동보강체(210)는 상기 중심보강체(230)와 결속력이 강화된다.In a state in which the third through
도 14 내지 도 18는 본 발명의 다른 실시예에 따른 이물질 비산방지 기능을 구비하는 건설폐기물 선별 시스템의 구성들의 변형예를 도시한 도면들이다.14 to 18 are views showing a modification of the configuration of the construction waste sorting system having a foreign matter scattering prevention function according to another embodiment of the present invention.
상기 연동보강체(210)는, 제1 연동부(210a)와, 상기 제1 연동부(210a) 내부에 적어도 일부가 수용 가능하도록 전후진 유동되는 제2 연동부(210b)가 구비되며, 상기 베이스블록(92')은, 제1 영역이 상기 제1 연동부에 위치되며 제2 영역이 상기 제2 연동부에 위치되며, 상기 제1 연동부(210a)와 상기 제2 연동부(210b)의 의하여 가압 고정된다. 상기 제1 연동부(210a)측으로 전진되거나 상기 제1 연동부(210a)측에서 후진된 상기 제2 연동부(210b)를 정회전 또는 역회전 방식으로 일정반경 회전시키기 위한 회전구동부(210c)를 더 포함한다.The interlocking
상기 제2 연동부(210b)는 종단면 기준 형상이 원형 또는 타원형으로 구비되며 상기 베이스블록(92')은, 다각형상으로서 상기 제1 영역(L1)이 상기 제1 연동부(210a)에 고정되며, 회전 유동되는 상기 제2 연동부(210b)에 의하여 회전 고정된다. 상기 제1 홀딩바(211)는 길이방향 상에 제1 서브관통체(213s)가 구비되어, 상기 제1 관통체(213)와 대향하도록 구비되며, 상기 제2 홀딩바(221)는 길이방향 상에 제2 서브관통체(223s)가 구비되며, 상기 제2 관통체(223)와 대향하도록 구비되며, 상기 제3 홀딩바(231)는 길이방향 상에 제3 서브관통체(233s)가 구비되며, 상기 제3 관통체(233)와 대향하도록 구비되며, 상기 제4 홀딩바(241)는 길이방향 상에 제4 서브관통체(243s)가 구비되며, 상기 제4 관통체(243)와 대향하도록 구비된다.The
상기 제1 홀딩바(211) 내지 상기 제4 홀딩바(241)를 각각 가압하여 상기 제1 홀딩바(211) 내지 상기 제4 홀딩바(241)를 상기 중심보강체(230) 측으로 유동시키도록 하기 위한 푸싱모듈을 더 포함한다. 상기 푸싱모듈은, 상기 제1 관통체(213) 내지 상기 제4 관통체(243) 부위를 파지하여 각각 가압하는 다수의 푸싱부와, 상기 제1 관통체(213) 내지 상기 제4 관통체(243)에 대응되는 방향에 각각 구비되며, 상기 푸싱부를 구동시키기 위한 푸싱구동부(290)가 구비된다.Press the first holding
상기 홀딩수단은, 상기 제1 홀딩수단과 대응하여 이웃하도록 위치되며, 상기 연동보강체(210)의 전면 하부측으로 돌출되어 상기 중심보강체(230)의 외측면으로 결속되는 제5 홀딩수단과 상기 제2 홀딩수단과 대응하여 이웃하도록 위치되며, 상기 연동보강체(210)의 전면 하부측으로 돌출되어 상기 중심보강체(230)의 외측면으로 결속되는 제6 홀딩수단을 더 포함한다. 상기 제5 홀딩수단은, 상기 중심보강체(230)측에 구비되는 제5 홀딩바(251)와, 상기 제5 홀딩바(251)의 단부에 구비되어 상기 중심보강체(230)의 외측면을 관통시키기 위한 드릴형태의 제5 관통체(253)가 구비되는 제5 접촉부(252)가 구비된다.The holding means is located so as to be adjacent to the first holding means, the fifth holding means and protruding toward the front lower side of the interlocking
상기 제6 홀딩수단은, 상기 중심보강체(230)측에 구비되는 제6 홀딩바(261)와, 상기 제2 홀딩바(261)의 단부에 구비되어 상기 중심보강체(230)의 외측면을 관통시키기 위한 드릴형태의 제6 관통체(263)가 구비되는 제2 접촉부(222)가 구비된다. 상기 제5 홀딩바(251)는 길이방향 상에 제5 서브관통체(253s)가 구비되어, 상기 제5 관통체(253)와 대향하도록 구비되며, 상기 제6 홀딩바(261)는 길이방향 상에 제6 서브관통체(263s)가 구비되며, 상기 제6 관통체(263)와 대향하도록 구비되며, 상기 푸싱모듈은, 상기 제5 홀딩바(251) 내지 상기 제6 홀딩바(261)를 각각 가압하여 상기 제5 홀딩바(251) 내지 상기 제6 홀딩바(261)를 상기 중심보강체(230) 측으로 유동시키도록 한다.The sixth holding means is provided at the end of the sixth holding
상기 푸싱부는 제1 푸싱부(280)와 상기 제1 푸싱부(280)와 이웃하는 제2 푸싱부(280)로 구되며, 상기 제1 푸싱부(280)와 상기 제2 푸싱부(280)는, 전면의 상기 제1 홀딩바(211)와 상기 제5홀딩바(251)를 각기 가압하며, 후면의 상기 제2 홀딩바(221)와 상기 제6홀딩바(261)를 각기 가압하며, 일측면과 타측면의 상기 제3 홀딩바(231)와 상기 제4홀딩바(241)를 각기 가압한다.The pushing unit is formed of a first pushing
상기 제1 푸싱부(280)는, 상방의 제1-1 푸싱부(281)와 하방의 제1-2 푸싱부(282)가 구비되며, 상기 제2 푸싱부(270)는, 상방의 제2-1 푸싱부(271)와 하방의 제2-2 푸싱부(272)가 구비되며, 상기 제1-2 푸싱부(282)와 상기 제2-2 푸싱부(272)는, 각각 상기 제1 관통체(213) 내지 상기 제6 관통체(216)의 후면부를 가압하며, 상기 제1-1 푸싱부(281)와 상기 제2-1 푸싱부(271)는, 각각 상기 제1 서브관통체(213s) 내지 상기 제6 서브관통체(263s)의 후면부를 가압하도록 구비된다.The first pushing
본 발명은 도면에 도시된 실시예를 참고로 설명되었으나 이는 예시적인 것에 불과하며, 본 기술 분야의 통상의 지식을 가진 자라면 이로부터 다양한 변형 및 균등한 다른 실시예가 가능하다는 점을 이해할 것이다. 따라서, 본 발명의 진정한 기술적 보호 범위는 첨부된 특허청구범위의 기술적 사상에 의하여 정해져야 할 것이다.Although the present invention has been described with reference to the embodiments shown in the drawings, this is merely exemplary, and it will be understood by those skilled in the art that various modifications and equivalent other embodiments are possible. Therefore, the true technical protection scope of the present invention will be defined by the technical spirit of the appended claims.
10‘ : 제1스크린
12’ : 호퍼
14’ : 제1죠크러셔
16‘ : 제1자력선별기
18‘ : 제2스크린
32’ : 제1컨베이어
34’ : 제1송풍기
36‘ : 제3스크린10 ': the first screen
12 ': hopper
14 ': 1st Jaw Crusher
16 ': 1st magnetic separator
18 ': second screen
32 ': 1st conveyor
34 ': first blower
36 ': 3rd screen
Claims (9)
건설폐기물 선별 시스템을 구비하는 단계;
건설폐기물 선별 시스템 상에 비산방지 수단을 설치하는 단계; 및
건설폐기물 선별 시스템을 이용하여 건설폐기물을 선별하는 단계를 포함하며,
상기 건설폐기물 선별 시스템은,
제1스크린; 건축폐기물을 파쇄하는 제1죠크러셔; 건축폐기물에 자력을 제공하여 금속 이물질을 거르는 제1자력선별기; 제2스크린; 상기 제2스크린을 통과하는 건설폐기물을 이동시키고, 건설폐기물에 포함되는 분진을 제거하고 수작업 선별이 이루어지는 제1컨베이어를 포함하며,
상기 비산방지 수단은,
베이스블록(92')이 지면에 안착되도록 구비되는 단계와, 복수 개의 지지파이프가 상기 베이스블록(92')으로부터 상측으로 연장되도록 구비되는 단계와, 급수관이 상기 베이스블록(92')에 연결되어 비산되는 물을 제공하는 단계를 포함하며,
상기 베이스블록(92')은,
넘어짐과 충격의 발생을 억제하기 위한 지지보강모듈이 구비되며,
상기 지지보강모듈은,
상기 베이스블록(92')의 하부에서 상기 베이스블록(92')을 적어도 일부 수용하는 소정 형상의 연동보강체(210)와,
상기 연동보강체(210)의 하부에 구비되어, 상기 연동보강체(210)와 연동 결속되는 중심보강체(230)가 구비되며,
상기 연동보강체(210)는,
홀딩수단이 구비되어 상기 베이스블록(92')을 상기 중심보강체(230)와 연동 결속시키며,
상기 홀딩수단은,
상기 연동보강체(210)의 전면 하부측으로 돌출되어 상기 중심보강체(230)의 외측면으로 결속되는 제1 홀딩수단과, 상기 연동보강체(210)의 후면 하부측으로 돌출되어 상기 중심보강체(230)의 외측면으로 결속되는 제2 홀딩수단을 포함하며,
상기 제1 홀딩수단은,
상기 중심보강체(230)측에 구비되는 제1 홀딩바(211)와, 상기 제1 홀딩바(211)의 단부에 구비되어 상기 중심보강체(230)의 외측면을 관통시키기 위한 드릴형태의 제1 관통체(213)가 구비되는 제1 접촉부(212)가 구비되며,
상기 제2 홀딩수단은,
상기 중심보강체(230)측에 구비되는 제2 홀딩바(221)와, 상기 제2 홀딩바(221)의 단부에 구비되어 상기 중심보강체(230)의 외측면을 관통시키기 위한 드릴형태의 제2 관통체(223)가 구비되는 제2 접촉부(222)가 구비되며,
상기 홀딩수단은,
상기 연동보강체(210)의 일측면과 타측면 하부측으로 각각 돌출되어 상기 중심보강체(230)의 외측면으로 결속되는 제3 홀딩수단과, 상기 연동보강체(210)의 일측면과 타측면 하부측으로 각각 돌출되어 상기 중심보강체(230)의 외측면으로 결속되는 제4 홀딩수단을 더 포함하며,
상기 제3 홀딩수단은,
상기 중심보강체(230)측에 구비되는 제3 홀딩바(231)와, 상기 제3 홀딩바(231)의 단부에 구비되어 상기 중심보강체(230)의 외측면을 관통시키기 위한 드릴형태의 제3 관통체(233)가 구비되는 제3 접촉부(232)가 구비되며,
상기 제4 홀딩수단은,
상기 중심보강체(230)측에 구비되는 제4 홀딩바(241)와, 상기 제4 홀딩바(241)의 단부에 구비되어 상기 중심보강체(230)의 외측면을 관통시키기 위한 드릴형태의 제4 관통체(243)가 구비되는 제4 접촉부(242)가 구비되며,
상기 제1 관통체(213) 및 상기 제2 관통체(223)가 상기 중심보강체(230)에 관통결속된 상태에서,
상기 제1 홀딩바(221)가 제1 방향으로 유동하여 제1 가압힘을 발생시키며,
상기 제2 홀딩바(221)가 상기 제1 방향과 대향되는 제2 방향으로 유동하여 제2 가압힘을 발생시키며,
상기 제1 가압힘과 상기 제2 가압힘에 의하여 상기 연동보강체(210)는 상기 중심보강체(230)와 결속력이 강화되며,
상기 제3 관통체(233) 및 상기 제4 관통체(243)가 상기 중심보강체(230)에 관통결속된 상태에서,
상기 제3 홀딩바(231)가 제3 방향으로 유동하여 제3 가압힘을 발생시키며,
상기 제4 홀딩바(241)가 상기 제3 방향과 대향되는 제4 방향으로 유동하여 제4 가압힘을 발생시키며,
상기 제3 가압힘과 상기 제4 가압힘에 의하여 상기 연동보강체(210)는 상기 중심보강체(230)와 결속력이 강화되며,
상기 연동보강체(210)는,
제1 연동부(210a)와,
상기 제1 연동부(210a) 내부에 적어도 일부가 수용 가능하도록 전후진 유동되는 제2 연동부(210b)가 구비되며,
상기 베이스블록(92')은,
제1 영역이 상기 제1 연동부에 위치되며 제2 영역이 상기 제2 연동부에 위치되며,
상기 제1 연동부(210a)와 상기 제2 연동부(210b)의 의하여 가압 고정되는 건설폐기물 선별방법.As a construction waste sorting method,
Providing a construction waste sorting system;
Installing shatterproof means on the construction waste sorting system; And
Screening construction waste using a construction waste sorting system;
The construction waste sorting system,
A first screen; A first jaw crusher for crushing construction waste; A first magnetic separator providing magnetic force to building waste to filter metal foreign matter; Second screen; It includes a first conveyor to move the construction waste passing through the second screen, to remove the dust contained in the construction waste and to manually sort,
The scattering prevention means,
The base block 92 'is provided so as to be seated on the ground, and the plurality of support pipes are provided to extend upward from the base block 92', and a water supply pipe is connected to the base block 92 ' Providing water that is scattered,
The base block 92 ',
Support reinforcement module is provided to suppress the occurrence of falling and impact,
The support reinforcement module,
An interlocking reinforcement 210 having a predetermined shape to receive at least a portion of the base block 92 'from the bottom of the base block 92';
The central reinforcement body 230 is provided below the interlocking reinforcement body 210 to be interlocked with the interlocking reinforcement body 210.
The interlocking reinforcement body 210,
A holding means is provided to link the base block 92 'with the central reinforcement body 230,
The holding means,
A first holding means protruding toward the front lower side of the interlocking reinforcement 210 and binding to an outer surface of the central reinforcing body 230; A second holding means which is bound to an outer surface of 230;
The first holding means,
The first holding bar 211 provided on the side of the center reinforcement body 230, and is provided at the end of the first holding bar 211 of the drill shape for penetrating the outer surface of the center reinforcement 230 The first contact portion 212 provided with the first through-body 213 is provided,
The second holding means,
The second holding bar 221 provided on the side of the center reinforcing body 230 and the end of the second holding bar 221 is provided in the form of a drill for penetrating the outer surface of the center reinforcing body 230 A second contact portion 222 having a second through body 223 is provided.
The holding means,
Third holding means which protrude to one side and the other side lower side of the interlocking reinforcement 210 and are bound to the outer side of the central reinforcing body 230, and one side and the other side of the interlocking reinforcement 210; It further comprises a fourth holding means which is protruded toward the lower side and bound to the outer surface of the center reinforcement 230,
The third holding means,
The third holding bar 231 provided on the side of the center reinforcement 230 and the end of the third holding bar 231 is provided in the form of a drill for penetrating the outer surface of the center reinforcement 230 A third contact portion 232 provided with a third through body 233 is provided,
The fourth holding means,
The fourth holding bar 241 provided on the side of the center reinforcement 230 and the end of the fourth holding bar 241 is provided in the form of a drill for penetrating the outer surface of the center reinforcement 230 The fourth contact portion 242 is provided with a fourth through body 243,
In a state where the first through body 213 and the second through body 223 are penetrated through the central reinforcement body 230,
The first holding bar 221 flows in a first direction to generate a first pressing force,
The second holding bar 221 flows in a second direction opposite to the first direction to generate a second pressing force,
By the first pressing force and the second pressing force, the interlocking reinforcement 210 is strengthened with the central reinforcing body 230, the binding force,
In a state where the third through body 233 and the fourth through body 243 are penetrated through the central reinforcement body 230,
The third holding bar 231 flows in a third direction to generate a third pressing force,
The fourth holding bar 241 flows in a fourth direction opposite to the third direction to generate a fourth pressing force.
By the third pressing force and the fourth pressing force, the interlocking reinforcement 210 is strengthened with the central reinforcing body 230, the binding force,
The interlocking reinforcement body 210,
The first linking unit 210a,
A second interlocking portion 210b that is moved forward and backward to accommodate at least a portion of the first interlocking portion 210a is provided.
The base block 92 ',
A first area is located in the first linkage and a second area is located in the second linkage,
Construction waste sorting method is fixed by the first linkage (210a) and the second linkage (210b).
상기 베이스블록(92')은,
넘어짐과 충격의 발생을 억제하기 위한 지지보강모듈이 구비되며,
상기 지지보강모듈은,
상기 베이스블록(92')의 하부에서 상기 베이스블록(92')를 적어도 일부 수용하는 소정 형상의 연동보강체(210)와,
상기 연동보강체(210)의 하부에 구비되어, 상기 연동보강체(210)와 연동 결속되는 중심보강체(230)가 구비되며,
상기 연동보강체(210)는,
홀딩수단이 구비되어 상기 베이스블록(92')를 상기 중심보강체(230)와 연동 결속시키는 건설폐기물 선별방법.
The method according to claim 1,
The base block 92 ',
Support reinforcement module is provided to suppress the occurrence of falling and impact,
The support reinforcement module,
An interlocking reinforcement 210 having a predetermined shape to receive at least a portion of the base block 92 'from the bottom of the base block 92';
A central reinforcement body 230 is provided below the interlocking reinforcement body 210 and interlocked with the interlocking reinforcement body 210.
The interlocking reinforcement body 210,
Construction waste sorting method is provided with a holding means is provided to link the base block (92 ') and the central reinforcement (230).
Priority Applications (1)
| Application Number | Priority Date | Filing Date | Title |
|---|---|---|---|
| KR1020190090977A KR102055552B1 (en) | 2019-07-26 | 2019-07-26 | Methodfor sorting waste from construction site |
Applications Claiming Priority (1)
| Application Number | Priority Date | Filing Date | Title |
|---|---|---|---|
| KR1020190090977A KR102055552B1 (en) | 2019-07-26 | 2019-07-26 | Methodfor sorting waste from construction site |
Publications (1)
| Publication Number | Publication Date |
|---|---|
| KR102055552B1 true KR102055552B1 (en) | 2019-12-13 |
Family
ID=68847510
Family Applications (1)
| Application Number | Title | Priority Date | Filing Date |
|---|---|---|---|
| KR1020190090977A Active KR102055552B1 (en) | 2019-07-26 | 2019-07-26 | Methodfor sorting waste from construction site |
Country Status (1)
| Country | Link |
|---|---|
| KR (1) | KR102055552B1 (en) |
Cited By (1)
| Publication number | Priority date | Publication date | Assignee | Title |
|---|---|---|---|---|
| CN113102004A (en) * | 2021-03-19 | 2021-07-13 | 陈高宗 | Medical treatment glass rubbish auxiliary treatment device |
Citations (4)
| Publication number | Priority date | Publication date | Assignee | Title |
|---|---|---|---|---|
| KR19990040748U (en) * | 1998-05-07 | 1999-12-06 | 김기중 | Post Support Structure |
| KR20040053713A (en) | 2002-12-18 | 2004-06-24 | 백진환경합자회사 | Fly away preventive device for dust collector of building waste |
| KR101505812B1 (en) * | 2013-11-28 | 2015-04-07 | 주식회사 지이엠 | block locking device |
| KR101938656B1 (en) * | 2018-06-25 | 2019-01-15 | 신은식 | Foreign suvstance removal device for separate collection system and foreign suvstance removal method for separate collection system |
-
2019
- 2019-07-26 KR KR1020190090977A patent/KR102055552B1/en active Active
Patent Citations (4)
| Publication number | Priority date | Publication date | Assignee | Title |
|---|---|---|---|---|
| KR19990040748U (en) * | 1998-05-07 | 1999-12-06 | 김기중 | Post Support Structure |
| KR20040053713A (en) | 2002-12-18 | 2004-06-24 | 백진환경합자회사 | Fly away preventive device for dust collector of building waste |
| KR101505812B1 (en) * | 2013-11-28 | 2015-04-07 | 주식회사 지이엠 | block locking device |
| KR101938656B1 (en) * | 2018-06-25 | 2019-01-15 | 신은식 | Foreign suvstance removal device for separate collection system and foreign suvstance removal method for separate collection system |
Cited By (1)
| Publication number | Priority date | Publication date | Assignee | Title |
|---|---|---|---|---|
| CN113102004A (en) * | 2021-03-19 | 2021-07-13 | 陈高宗 | Medical treatment glass rubbish auxiliary treatment device |
Similar Documents
| Publication | Publication Date | Title |
|---|---|---|
| KR101938656B1 (en) | Foreign suvstance removal device for separate collection system and foreign suvstance removal method for separate collection system | |
| KR100516470B1 (en) | Peeling off device for recycling gravels | |
| KR102073421B1 (en) | Apparatus and method for separating waste using fall and wind power | |
| KR101068582B1 (en) | A sorting separation device of construction waste | |
| DE19619411A1 (en) | Machine for treatment of mineral material e.g. stone for tiles | |
| KR100873954B1 (en) | Apparatus for separating waste | |
| WO1994009089A1 (en) | Waste material separating apparatus and method | |
| KR101895436B1 (en) | Separate collection system for construction waste with removal function for metal debris | |
| KR101173286B1 (en) | A sorting and collection device for fine aggregate | |
| DE69711861T2 (en) | CRUSHING MACHINE WITH COVERED ROTATING DRUM | |
| KR102055552B1 (en) | Methodfor sorting waste from construction site | |
| KR102071876B1 (en) | Method for installing prevention of flying foreign substances | |
| WO2006097179A2 (en) | Universal unit and attachment classifier | |
| KR102055553B1 (en) | Methodfor sorting waste from construction site | |
| KR100467868B1 (en) | A system of crushing and sorting the construction wastes | |
| CN218834755U (en) | Building rubbish disposal and recycling device | |
| EP1391251A2 (en) | Aggregate cleaning | |
| JP3082844B2 (en) | Bucket type crusher | |
| KR100494579B1 (en) | Waste selector | |
| KR100453933B1 (en) | The conveyor apparatus for separating aggregate with wind from construction waste articles | |
| KR20060039034A (en) | Construction Waste Treatment System | |
| KR0152297B1 (en) | Method and apparatus for separation of waste materials | |
| KR100771660B1 (en) | Earth and sand foreign matter sorting device using true comb meat conveyor | |
| AU2008202666B2 (en) | Improved jaw crusher bucket | |
| JP4031357B2 (en) | Self-propelled crusher |
Legal Events
| Date | Code | Title | Description |
|---|---|---|---|
| PA0109 | Patent application |
St.27 status event code: A-0-1-A10-A12-nap-PA0109 |
|
| PA0201 | Request for examination |
St.27 status event code: A-1-2-D10-D11-exm-PA0201 |
|
| PA0302 | Request for accelerated examination |
St.27 status event code: A-1-2-D10-D17-exm-PA0302 St.27 status event code: A-1-2-D10-D16-exm-PA0302 |
|
| D13-X000 | Search requested |
St.27 status event code: A-1-2-D10-D13-srh-X000 |
|
| D14-X000 | Search report completed |
St.27 status event code: A-1-2-D10-D14-srh-X000 |
|
| PE0902 | Notice of grounds for rejection |
St.27 status event code: A-1-2-D10-D21-exm-PE0902 |
|
| E13-X000 | Pre-grant limitation requested |
St.27 status event code: A-2-3-E10-E13-lim-X000 |
|
| P11-X000 | Amendment of application requested |
St.27 status event code: A-2-2-P10-P11-nap-X000 |
|
| P13-X000 | Application amended |
St.27 status event code: A-2-2-P10-P13-nap-X000 |
|
| E701 | Decision to grant or registration of patent right | ||
| PE0701 | Decision of registration |
St.27 status event code: A-1-2-D10-D22-exm-PE0701 |
|
| GRNT | Written decision to grant | ||
| PR0701 | Registration of establishment |
St.27 status event code: A-2-4-F10-F11-exm-PR0701 |
|
| PR1002 | Payment of registration fee |
St.27 status event code: A-2-2-U10-U11-oth-PR1002 Fee payment year number: 1 |
|
| PG1601 | Publication of registration |
St.27 status event code: A-4-4-Q10-Q13-nap-PG1601 |
|
| PR1001 | Payment of annual fee |
St.27 status event code: A-4-4-U10-U11-oth-PR1001 Fee payment year number: 4 |
|
| R18-X000 | Changes to party contact information recorded |
St.27 status event code: A-5-5-R10-R18-oth-X000 |
|
| PR1001 | Payment of annual fee |
St.27 status event code: A-4-4-U10-U11-oth-PR1001 Fee payment year number: 5 |
|
| PR1001 | Payment of annual fee |
St.27 status event code: A-4-4-U10-U11-oth-PR1001 Fee payment year number: 6 |
|
| R18-X000 | Changes to party contact information recorded |
St.27 status event code: A-5-5-R10-R18-oth-X000 |
|
| PR1001 | Payment of annual fee |
St.27 status event code: A-4-4-U10-U11-oth-PR1001 Fee payment year number: 7 |
|
| U11 | Full renewal or maintenance fee paid |
Free format text: ST27 STATUS EVENT CODE: A-4-4-U10-U11-OTH-PR1001 (AS PROVIDED BY THE NATIONAL OFFICE) Year of fee payment: 7 |
