JP7691007B2 - 施工支援装置および施工支援方法 - Google Patents

施工支援装置および施工支援方法 Download PDF

Info

Publication number
JP7691007B2
JP7691007B2 JP2024005668A JP2024005668A JP7691007B2 JP 7691007 B2 JP7691007 B2 JP 7691007B2 JP 2024005668 A JP2024005668 A JP 2024005668A JP 2024005668 A JP2024005668 A JP 2024005668A JP 7691007 B2 JP7691007 B2 JP 7691007B2
Authority
JP
Japan
Prior art keywords
underground
construction support
remote
search
objects
Prior art date
Legal status (The legal status is an assumption and is not a legal conclusion. Google has not performed a legal analysis and makes no representation as to the accuracy of the status listed.)
Active
Application number
JP2024005668A
Other languages
English (en)
Other versions
JP2024032802A (ja
Inventor
伸吾 関口
徳雄 高木
Current Assignee (The listed assignees may be inaccurate. Google has not performed a legal analysis and makes no representation or warranty as to the accuracy of the list.)
Kobelco Construction Machinery Co Ltd
Original Assignee
Kobelco Construction Machinery Co Ltd
Priority date (The priority date is an assumption and is not a legal conclusion. Google has not performed a legal analysis and makes no representation as to the accuracy of the date listed.)
Filing date
Publication date
Application filed by Kobelco Construction Machinery Co Ltd filed Critical Kobelco Construction Machinery Co Ltd
Priority to JP2024005668A priority Critical patent/JP7691007B2/ja
Publication of JP2024032802A publication Critical patent/JP2024032802A/ja
Priority to JP2025090531A priority patent/JP2025120205A/ja
Application granted granted Critical
Publication of JP7691007B2 publication Critical patent/JP7691007B2/ja
Active legal-status Critical Current
Anticipated expiration legal-status Critical

Links

Images

Classifications

    • EFIXED CONSTRUCTIONS
    • E02HYDRAULIC ENGINEERING; FOUNDATIONS; SOIL SHIFTING
    • E02FDREDGING; SOIL-SHIFTING
    • E02F9/00Component parts of dredgers or soil-shifting machines, not restricted to one of the kinds covered by groups E02F3/00 - E02F7/00
    • E02F9/24Safety devices, e.g. for preventing overload
    • E02F9/245Safety devices, e.g. for preventing overload for preventing damage to underground objects during excavation, e.g. indicating buried pipes or the like
    • EFIXED CONSTRUCTIONS
    • E02HYDRAULIC ENGINEERING; FOUNDATIONS; SOIL SHIFTING
    • E02FDREDGING; SOIL-SHIFTING
    • E02F9/00Component parts of dredgers or soil-shifting machines, not restricted to one of the kinds covered by groups E02F3/00 - E02F7/00
    • E02F9/26Indicating devices
    • E02F9/261Surveying the work-site to be treated
    • EFIXED CONSTRUCTIONS
    • E02HYDRAULIC ENGINEERING; FOUNDATIONS; SOIL SHIFTING
    • E02FDREDGING; SOIL-SHIFTING
    • E02F9/00Component parts of dredgers or soil-shifting machines, not restricted to one of the kinds covered by groups E02F3/00 - E02F7/00
    • E02F9/20Drives; Control devices
    • E02F9/2025Particular purposes of control systems not otherwise provided for
    • E02F9/205Remotely operated machines, e.g. unmanned vehicles

Landscapes

  • Engineering & Computer Science (AREA)
  • Mining & Mineral Resources (AREA)
  • Civil Engineering (AREA)
  • General Engineering & Computer Science (AREA)
  • Structural Engineering (AREA)
  • Life Sciences & Earth Sciences (AREA)
  • General Life Sciences & Earth Sciences (AREA)
  • Paleontology (AREA)
  • Component Parts Of Construction Machinery (AREA)
  • Processing Or Creating Images (AREA)
  • Operation Control Of Excavators (AREA)

Description

本発明は、作業機械によって地中を掘削中に、地中埋設物を誤って損傷することを防止するための技術に関する。
油圧ショベルを用いて地表近くの地中に埋設された埋設物の周囲の土を掘削するに際して、埋設物を破損させることなく、しかも掘削作業を効率的に行うことのできる技術が提案されている(例えば、特許文献1参照)。具体的には、埋設管の絶対位置とバケット刃先の絶対位置との関係が決められ、この関係に基づいてバケットによる掘削位置および掘削深さが決定される。この決定された掘削位置および掘削深さを例えばモニタ表示することで、オペレータはモニタ表示を見ながら埋設物の破損を防止しつつ油圧ショベルの操作を確実に、かつ迅速に行うことができる。
作業機による掘削の正確性及び効率性を向上させることができる技術が提案されている(例えば、特許文献2参照)。具体的には、レーダーが地表から所定の精度で探査を行うことができる深度である許容深度と、レーダーが探査を行った探査位置と、に基づいて、許容深度および作業装置が掘削作業を行う掘削位置がマップに表示される。例えば、1つの作業場内を複数の地中探索エリアに区分されたメッシュ型の作業場マップにおいて、各地中探索エリアに対応する分割データに対して、探査結果および許容深度を示す複数のグループ(複数のランク)が割り当てられている。作業場マップにおいて、各地中探索エリアQnに予め割り当てられたグループ(ランク)が識別できるように、グループ(ランク)が色、数値、文字等で示されている。
地中埋設物の位置および姿勢をユーザに把握させるためには、2次元画像よりも3次元画像のほうが好ましいが、施工支援画像データはその情報量の豊富さゆえにデータ量が過多になる傾向がある。
特開2003-056010号公報 特開2021-189127号公報
そこで、本発明は、地中埋設物への接触を回避する建設機械の動作制御に活用可能なデータを生成する装置等を提供することを目的とする。
本発明の施工支援装置は、
施工を行う領域における地中に埋設している地中埋設物に関する情報に基づいて、前記地
中埋設物の上側の領域であって、前記地中埋設物の地表からの深さ位置に応じて識別可能に差別化されたオブジェクトを前記地中埋設物に沿って配置した施工支援画像データを生成する手段を有する。
前記構成の施工支援装置において、
前記地中埋設物に関する情報は、前記地中埋設物の位置の情報を含む
ことが好ましい。
前記構成の施工支援装置において、
前記施工支援画像データは、前記地中埋設物の地表からの深さの情報を含むことが好ましい。
前記構成の施工支援装置において、
前記施工支援画像データは、前記地中埋設物に沿った複数の矩形のデータを含むことが好ましい。
また、前記施工支援画像データが、作業環境を撮像した撮像画像に重畳して出力されることが好ましい。
本発明のプログラムは、コンピュータに、施工を行う領域における地中に埋設している
地中埋設物に関する情報に基づいて、前記地中埋設物の上側の領域であって、前記地中埋設物の地表からの深さ位置に応じて識別可能に差別化されたオブジェクトを前記地中埋設物に沿って配置した施工支援画像データを生成する機能を実現させる
ためのプログラムである。
施工支援装置の構成に関する説明図。 遠隔操作装置の構成に関する説明図。 作業機械の構成に関する説明図。 地中探索機の構成に関する説明図。 施工支援装置(施工支援システム)の機能に関する説明図。 作業環境画像および施工支援画像に関する説明図。 複数の地中探索エリアの固定的な配置態様に関する説明図。 複数の地中探索エリアの流動的な配置態様に関する説明図。 重複度が閾値以上である地中探索エリアの処理方法に関する説明図。 重複度が閾値未満である地中探索エリアの第1処理方法に関する説明図。 重複度が閾値未満である地中探索エリアの第2処理方法に関する説明図。 代表座標値の決定方法に関する説明図。 施工支援画像の他の実施形態に関する説明図。
(施工支援装置の構成)
図1に示されている施工支援システムは、本発明の一実施形態としての施工支援装置10と、施工支援装置10と相互にネットワーク通信可能に構成されている遠隔操作装置20、作業機械40および地中探索機60と、により構成されている。施工支援装置が、施工支援装置10と、遠隔操作装置20、作業機械40および地中探索機60のうち1つまたは2つと、により構成されていてもよい。施工支援装置10および遠隔操作装置20の相互通信ネットワークと、施工支援装置10および作業機械40の相互通信ネットワークと、施工支援装置10および地中探索機60の相互通信ネットワークと、は同一であってもよく相違していてもよい。
(施工支援装置の構成)
施工支援装置10は、一または複数のコンピュータまたはサーバコンピュータにより構成されている。図1に示されているように、施工支援装置10は、データベース102と、地中探索結果認識要素120と、代表深さ位置決定要素121と、施工支援画像データ生成要素122と、を備えている。データベース102は、撮像画像データのほか、施工対象領域の地中埋設物の探索結果等を記憶保持する。データベース102は、施工支援装置10とは別個のデータベースサーバにより構成されていてもよい。施工支援装置10の各構成要素は、演算処理装置(シングルコアプロセッサまたはマルチコアプロセッサもしくはこれを構成するプロセッサコア)により構成され、メモリなどの記憶装置から必要なデータおよびソフトウェアを読み取り、当該データを対象として当該ソフトウェアにしたがった後述の演算処理を実行する。
本発明の構成要素が情報(またはデータ)を「認識する」とは、当該情報を受信、読み取りまたは検索等により取得すること、基礎となるデータまたは信号に対して演算処理を実行することにより当該情報を決定、測定、同定、推定、予測等することなど、当該情報を後続の演算処理の実行に際して利用可能な形態で準備するあらゆる処理を包含する概念である。
(遠隔操作装置の構成)
図1に示されているように、遠隔操作装置20は、遠隔制御装置200と、遠隔入力インターフェース210と、遠隔出力インターフェース220と、を備えている。遠隔制御装置200は、演算処理装置(シングルコアプロセッサまたはマルチコアプロセッサもしくはこれを構成するプロセッサコア)により構成され、メモリなどの記憶装置から必要なデータおよびソフトウェアを読み取り、当該データを対象として当該ソフトウェアにしたがった演算処理を実行する。
遠隔入力インターフェース210は、遠隔操作機構211を備えている。遠隔出力インターフェース220は、遠隔画像出力装置221と、遠隔音響出力装置222と、遠隔無線通信機器224と、を備えている。
遠隔操作機構211には、走行用操作装置と、旋回用操作装置と、ブーム用操作装置と、アーム用操作装置と、バケット用操作装置と、が含まれている。各操作装置は、回動操作を受ける操作レバーを有している。走行用操作装置の操作レバー(走行レバー)は、作業機械40の下部走行体41を動かすために操作される。走行レバーは、走行ペダルを兼ねていてもよい。例えば、走行レバーの基部または下端部に固定されている走行ペダルが設けられていてもよい。旋回用操作装置の操作レバー(旋回レバー)は、作業機械40の旋回機構43を構成する油圧式の旋回モータを動かすために操作される。ブーム用操作装置の操作レバー(ブームレバー)は、作業機械40のブームシリンダ442を動かすために操作される。アーム用操作装置の操作レバー(アームレバー)は作業機械40のアームシリンダ444を動かすために操作される。バケット用操作装置の操作レバー(バケットレバー)は作業機械40のバケットシリンダ446を動かすために操作される。
遠隔操作機構211を構成する各操作レバーは、例えば、図2に示されているように、オペレータが着座するためのシートStの周囲に配置されている。シートStは、アームレスト付きのハイバックチェアのような形態であるが、ヘッドレストがないローバックチェアのような形態、または、背もたれがないチェアのような形態など、オペレータが着座できる任意の形態の着座部であってもよい。
シートStの前方に左右のクローラに応じた左右走行レバー2110が左右横並びに配置されている。一つの操作レバーが複数の操作レバーを兼ねていてもよい。例えば、図2に示されているシートStの左側フレームの前方に設けられている左側操作レバー2111が、前後方向に操作された場合にアームレバーとして機能し、かつ、左右方向に操作された場合に旋回レバーとして機能してもよい。同様に、図2に示されているシートStの右側フレームの前方に設けられている右側操作レバー2112が、前後方向に操作された場合にブームレバーとして機能し、かつ、左右方向に操作された場合にバケットレバーとして機能してもよい。レバーパターンは、オペレータの操作指示によって任意に変更されてもよい。
遠隔画像出力装置221は、例えば図2に示されているように、シートStの前方、左斜め前方および右斜め前方のそれぞれに配置された略矩形状の画面を有する中央遠隔画像出力装置2210、左側遠隔画像出力装置2211および右側遠隔画像出力装置2212により構成されている。中央遠隔画像出力装置2210、左側遠隔画像出力装置2211および右側遠隔画像出力装置2212のそれぞれの画面(画像表示領域)の形状およびサイズは同じであってもよく相違していてもよい。遠隔画像出力装置221は、単一の湾曲したまたは湾曲可能な画像出力装置、シートStの前方を囲むように配置される2つまたは4つ以上の画像出力装置により構成されていてもよい。
図2に示されているように、中央遠隔画像出力装置2210の画面および左側遠隔画像出力装置2211の画面が傾斜角度θ1(例えば、120°≦θ1≦150°)をなすように、左側遠隔画像出力装置2211の右縁が、中央遠隔画像出力装置2210の左縁に隣接している。図2に示されているように、中央遠隔画像出力装置2210の画面および右側遠隔画像出力装置2212の画面が傾斜角度θ2(例えば、120°≦θ2≦150°)をなすように、右側遠隔画像出力装置2212の左縁が、中央遠隔画像出力装置2210の右縁に隣接している。当該傾斜角度θ1およびθ2は同じであっても相違していてもよい。
中央遠隔画像出力装置2210、左側遠隔画像出力装置2211および右側遠隔画像出力装置2212のそれぞれの画面は、鉛直方向に対して平行であってもよく、鉛直方向に対して傾斜していてもよい。中央遠隔画像出力装置2210、左側遠隔画像出力装置2211および右側遠隔画像出力装置2212のうち少なくとも1つの画像出力装置が、複数に分割された画像出力装置により構成されていてもよい。例えば、中央遠隔画像出力装置2210が、略矩形状の画面を有する上下に隣接する画像出力装置により構成されていてもよい。
遠隔音響出力装置222は、一または複数のスピーカーにより構成され、例えば図2に示されているように、シートStの後方、左アームレスト後部および右アームレスト後部のそれぞれに配置された中央音響出力装置2220、左側音響出力装置2221および右側音響出力装置2222により構成されている。中央音響出力装置2220、左側音響出力装置2221および右側音響出力装置2222のそれぞれの仕様は同じであってもよく相違していてもよい。
(作業機械の構成)
図1に示されているように、作業機械40は、実機制御装置400と、実機入力インターフェース410と、実機出力インターフェース420と、実機無線通信機器422と、を備えている。実機制御装置400の構成要素のそれぞれは、演算処理装置(シングルコアプロセッサまたはマルチコアプロセッサもしくはこれを構成するプロセッサコア)により構成され、メモリなどの記憶装置から必要なデータおよびソフトウェアを読み取り、当該データを対象として当該ソフトウェアにしたがった演算処理を実行する。
作業機械40は、例えばクローラショベル(建設機械)であり、図3に示されているように、クローラ式の下部走行体41と、下部走行体41に旋回機構43を介して旋回可能に搭載されている上部旋回体42と、を備えている。上部旋回体42の前方左側部にはキャブ42C(運転室)が設けられている。上部旋回体42の前方中央部には作業機構44が設けられている。
実機入力インターフェース410は、実機操作機構411と、実機撮像装置412と、実機測位装置414と、を備えている。実機操作機構411は、キャブ42Cの内部に配置されたシートの周囲に遠隔操作機構211と同様に配置された複数の操作レバーを備えている。遠隔操作レバーの操作態様に応じた信号を受信し、当該受信信号に基づいて実機操作レバーを動かす駆動機構またはロボットがキャブ42Cに設けられている。実機撮像装置412は、例えばキャブ42Cの内部に設置され、フロントウィンドウおよび左右サイドウィンドウ越しに作業機構44の少なくとも一部を含む環境を撮像する。フロントウィンドウおよびサイドウィンドウのうち一部または全部が省略されていてもよい。実機測位装置414は、GPSまたはGNSSおよび必要に応じてジャイロセンサ等により構成され、作業機械40の位置(緯度および経度)を測定する。
図3に示されているように、作業機構44は、上部旋回体42に起伏可能に装着されているブーム441と、ブーム441の先端に回動可能に連結されているアーム443と、アーム443の先端に回動可能に連結されているバケット445と、を備えている。作業機構44には、伸縮可能な油圧シリンダにより構成されているブームシリンダ442、アームシリンダ444およびバケットシリンダ446が装着されている。
ブームシリンダ442は、作動油の供給を受けることにより伸縮してブーム441を起伏方向に回動させるように当該ブーム441と上部旋回体42との間に介在する。アームシリンダ444は、作動油の供給を受けることにより伸縮してアーム443をブーム441に対して水平軸回りに回動させるように当該アーム443と当該ブーム441との間に介在する。バケットシリンダ446は、作動油の供給を受けることにより伸縮してバケット445をアーム443に対して水平軸回りに回動させるように当該バケット445と当該アーム443との間に介在する。
(地中探索機の構成)
図1に示されているように、地中探索機60は、探索制御装置600と、探索記憶装置602と、深さ位置測定要素611と、探索位置測定要素612と、探索無線通信機器624と、を備えている。
深さ位置測定要素611は、地中レーダー装置により構成され、地中埋設物の地表からの深さ位置を測定する。例えば、図4に示されているように、1台の地中探索機60の異なる位置のそれぞれに複数の深さ位置測定要素611が搭載されていてもよい。探索位置測定要素612は、GPSまたはGNSSおよび必要に応じてジャイロセンサ等により構成され、地中探索機60の2次元位置(緯度および経度)を測定する。
探索記憶装置602は、深さ位置測定要素611により測定された深さ位置および探索位置測定要素612により測定された水平位置を地中探索結果として記憶保持する。探索記憶装置602は、そのほか、探索座標系(地中探索機60に対して位置および姿勢が固定されている座標系)における地中レーダー装置の座標値を記憶保持していてもよい。探索無線通信機器624は、探索記憶装置602に記憶保持されている地中探索結果をネットワーク経由で施工支援装置10(またはデータベースサーバ)に対して送信するように構成されている。地中探索結果はデータベース102に蓄積または保存される。
(機能)
前記構成の施工支援装置および撮像機能制御システムの機能について図5に示されているフローチャートを用いて説明する。当該フローチャートにおいて「C●」というブロックは、記載の簡略のために用いられ、データの送信および/または受信を意味し、当該データの送信および/または受信を条件として分岐方向の処理が実行される条件分岐を意味している。
遠隔操作装置20において、遠隔制御装置200により、遠隔無線通信機器224を通じて、施工支援装置10に対して地上状況確認要求が送信される(図4/STEP210)。オペレータにより遠隔入力インターフェース210を通じた第1指定操作の有無が判定され、当該判定結果が肯定的である場合に地上状況確認要求が送信されてもよい。「第1指定操作」は、例えば、オペレータが遠隔操作を意図する作業機械40を指定するための遠隔入力インターフェース210におけるタップなどの操作である。
施工支援装置10において、地上状況確認要求が受信された場合、施工支援装置10から当該地上状況確認要求が該当する作業機械40に対して送信される(図4/C10)。
作業機械40において、実機無線通信機器424を通じて地上状況確認要求が受信された場合(図4/C40)、実機制御装置400が実機撮像装置412を通じて取得された撮像画像(適当な画像処理が施されていてもよい。)を表わす撮像画像データが施工支援装置10に対して送信される(図4/STEP410)。
施工支援装置10において、撮像画像データが受信された場合(図4/C11)、施工支援装置10から撮像画像に応じた環境画像データが遠隔操作装置20に対して送信される(図4/STEP110)。環境画像データは、撮像画像データそのもののほか、撮像画像に基づいて生成された模擬的な環境画像を表わす画像データである。
遠隔操作装置20において、遠隔無線通信機器224を通じて環境画像データが受信された場合(図4/C21)、遠隔制御装置200により、環境画像データに応じた環境画像が遠隔画像出力装置221に出力される(図4/STEP212)。
これにより、例えば、図6に示されているように、キャブ42Cの前方に広がる地面のほか、作業機構44の一部であるブーム441、アーム443および施工対象領域における(バケット445による作業対象である)瓦礫または土砂の山などが映り込んでいる環境画像が遠隔画像出力装置221に出力される。
遠隔操作装置20において、遠隔制御装置200により、遠隔無線通信機器224を通じて、施工支援装置10に対して地中状況確認要求が送信される(図4/STEP220)。オペレータにより遠隔入力インターフェース210を通じた第2指定操作の有無が判定され、当該判定結果が肯定的である場合に地中状況確認要求が送信されてもよい。「第2指定操作」は、例えば、オペレータが遠隔操作を意図する作業機械40を指定するための遠隔入力インターフェース210におけるタップなどの操作である。第2指定操作は、第1指定操作と同一の操作であってもよいし異なる操作であってもよい。
施工支援装置10において、地中状況確認要求が受信された場合(図4/C20)、地中探索結果認識要素120により、当該地中状況確認要求に係る施工対象領域における、地中探索機60による地中探索結果が認識(データベース102から検索)される(図4/STEP120)。
施工対象領域は、例えばその境界を表わす世界座標系の水平座標値(X(経度),Y(緯度))の集合により特定される。施工対象領域は、施工支援装置10と遠隔操作装置20またはその操作対象である作業機械40との通信に基づき、例えば、遠隔操作装置20および/または作業機械40を識別するための識別子に基づき、データベース102が検索されることにより認識される。
施工対象領域における複数の地中探索エリアのそれぞれにおいて、地中探索機60により測定された配管等の地中埋設物の地表からの深さ位置(Z(深度))が地中探索結果として認識される。各地中探索エリアは、例えばその境界を表わす世界座標系の水平座標値(X(経度),Y(緯度))の集合により特定される。複数の地中探索エリアは、相互に隣接または連続して定義されていてもよいが、相互に離間して定義されていることが好ましい。複数の地中探索エリアの形状、または、形状およびサイズは同一であってもよく、相違していてもよい。
複数の地中探索エリアが固定的に定義されていてもよい。例えば、図7Aに示されているように、相互に離間して規則的に(正方格子状または三角格子状に)配置されている略矩形状または正方形状の複数の地中探索エリアSi1、Si2、‥、Sim、Sim+1が複数の地中探索エリアとして定義されていてもよい。複数の地中探索エリアSi1、Si2、‥、Sim、Sim+1が相互に隣接してまたは連続して規則的に配置されていてもよい。この場合、図7Aに破線矢印で示されているように、地中探索機60が受動的または能動的に変位した場合、地中探索エリアSi1、Si2、‥、Sim、Sim+1における地中探索結果がデータベース102に登録され、地中探索結果認識要素120により認識されうる。地中探索エリアの形状は、三角形状、台形状、平行四辺形上、正多角形状(正六角形、正八角形、正十二角形など)、円形状または楕円形状など、さまざまな形状であってもよい。
複数の地中探索エリアが地中探索機60による探索結果に応じて流動的に定義されていてもよい。例えば、図7Bに破線矢印で示されているように、地中探索機60が受動的または能動的に変位する過程で、所定周期のそれぞれにおいて図7Bに黒丸(●)で表わされている箇所が地中埋設物の地表からの深さ位置が測定された地中探索点である場合を想定する。この場合、当該地中探索点(2次元座標値(X(緯度),Y(経度))により定義される)を中心または重心とし、相互に離間して不規則的に配置されている略矩形状または正方形状の複数の地中探索エリアSi1、Si2、‥、Sim、Sim+1が複数の地中探索エリアとして定義されていてもよい。一の所定周期において複数の地中探索点が存在する場合、それらの重心が各地中探索エリアSik(k=1,2,‥,m,m+1)の中心または重心として定義されてもよい。各地中探索エリアSikのサイズおよび形状はさまざまに変更されてもよいが、あらかじめ定義されていることが好ましい。各地中探索エリアSikのサイズは、地中探索機60の変位速度および所定周期(時間間隔)に応じて定められていてもよい。
複数の地中探索エリアが地中探索機60の変位態様に応じて流動的に定義されていてもよい。例えば、地中探索機60が受動的または能動的に変位する過程において、地中探索機60の所定周期ごとの重心の位置(2次元座標値により定義される)を中心または重心とし、相互に離間して配置されている略矩形状または正方形状の複数の地中探索エリアSi1、Si2、‥、Sim、Sim+1が複数の地中探索エリアとして定義されていてもよい。各地中探索エリアSikの姿勢(例えば、長辺または短辺の方位)は、地中探索機60の変位方向に沿うように定義されていてもよい。
ここで、複数の地中探索エリアが重複している場合の処理に関して説明する。例えば、図8A左側に示されている略矩形状の2つの地中探索エリアS1およびS2の重複度が閾値以上である場合、他の地中探索エリアS1が削除(間引き)された結果として残った一の地中探索エリアS2が、図8A右側に示されている単一の地中探索エリアS-として定義される。重複している複数の地中探索エリアのうち、地中探索機60により測定された深さ位置の地表からの距離または平均距離が最大(または最小)である一の地中探索エリアを除く他の地中探索エリアが削除されてもよい。重複している複数の地中探索エリアのうち、地中探索機60による深さ位置の測定数が最多(または最少)である一の地中探索エリアを除く他の地中探索エリアが削除されてもよい。
一方、図8B左側に示されている略矩形状の2つの地中探索エリアS1およびS2の重複度が閾値未満である場合、図8B右側に示されているように、当該2つの地中探索エリアS1およびS2がまとめられた単一の地中探索エリアS+が定義される。図8C左側に示されている略矩形状の2つの地中探索エリアS1およびS2の重複度が閾値未満である場合、図8C右側に示されているように、当該2つの地中探索エリアS1およびS2が相互に離間するように変位された2つの地中探索エリアS1’およびS2’が定義されてもよい。
続いて、代表深さ位置決定要素121により、複数の地中探索エリアのそれぞれにおける一または複数の深さ位置からなる深さ位置群のそれぞれの代表位置が決定される(図4/STEP121)。
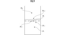
例えば、図9に黒丸(●)で模式的に示されているように、一の地中探索エリアにおいて地中探索機60により地表からの深さ位置が測定された地中埋設物の複数の地中探索点P1,‥Pi-1,Pi,Pi+1,‥Pn-1,Pnからなる地中探索点群が存在する場合について考察する。この場合、地表に最も近い地中探索点P+または地表から最も遠い地中探索点P1の深さ位置が当該地中探索点群の代表深さ位置として決定されてもよい。複数の地中探索点P1,‥Pi-1,Pi,Pi+1,‥Pn-1,Pnの平均深さ位置(図9の一点鎖線参照)または中心深さ位置もしくは最頻深さ位置(図9の点線参照)が、当該地中探索点群の代表深さ位置として決定されてもよい。
続いて、施工支援画像データ生成要素122により、施工支援画像データが生成され、かつ、遠隔操作装置20に対して送信される(図5/STEP122)。施工支援画像データは、地中探索点群のそれぞれの代表深さ位置を表わすように複数の地中探索エリアのそれぞれに配置されている複数のオブジェクトが含まれている3次元画像を表わす3次元画像データである。
オブジェクトは、例えば、図5に示されているように、略矩形状または略正方形状の地中探索エリアが鉛直方向または深さ方向に投影されたような形状およびサイズを有し、かつ、水平面に対して平行な閉曲面m1およびm2ある。複数の地中探索エリアの形状(例えば、略矩形状または略正方形状)およびサイズのそれぞれが同一である場合、オブジェクトとしての複数の閉曲面の形状およびサイズのそれぞれも同一になる。複数の地中探索エリアの形状が同一である場合、オブジェクトとしての複数の閉曲面の形状も同一になり、相似する。
閉曲面は、Bezier(ベジエ)曲面および/またはNURBS(非一様有理Bスプライン)曲面などの複数の制御点により定義される曲面として定義されていてもよい。当該曲面は連続性(G1連続性、G2連続性またはG3連続性)を有する曲面として定義されていてもよい。例えば、閉曲面がベジエ三角形曲面によって定義される場合、ベジエ三角形曲面の制御ネットの定義域が水平面に張られた三角形メッシュにより定義され、地中探索点が制御点とされたうえで、三角パッチの連続性が確保されるように閉曲面が定義される。
遠隔操作装置20において、遠隔無線通信機器224を通じて施工支援画像データが受信された場合(図4/C22)、遠隔制御装置200により、施工支援情報に応じた施工支援画像が遠隔画像出力装置221に出力される(図4/STEP222)。
これにより、例えば、図に示されているように、施工対象領域に含まれる複数の地中探索エリアのそれぞれにおいて、地中探索点群の代表深さ位置に配置された複数の閉曲面m1およびm2を含む施工支援画像が、環境画像に重畳された形で遠隔画像出力装置221に出力される。図に示されている第1オブジェクト群M1を構成する複数の閉曲面m1および第2オブジェクト群M2を構成する複数の閉曲面m2のそれぞれの意匠(例えば、色)が、閉曲面m1およびm2の深さ位置に応じて識別可能に差異化されている。図に示されているように、各閉曲面m1、m2から地表まで延びる鉛直線分がオブジェクトの一部を構成していてもよいが、当該鉛直線分は省略されてもよい。
施工支援情報におけるオブジェクトの空間占有態様が世界座標系で定義されているので、オブジェクトの配置態様が環境画像座標系に座標変換される。この座標変換のため、作業機械40の世界座標系における座標値がGPS等を用いて測定され、実機撮像装置412の実機座標系(上部旋回体42に対して位置および姿勢が固定された座標系)が、遠隔制御装置200を構成する記憶装置および/またはデータベース102に記憶保持されていてもよい。オペレータは、遠隔画像出力装置221に出力された環境画像およびこれに重畳された施工支援画像を見ながら、バケット445を動かすように遠隔操作機構211を構成する操作レバーを操作することができる。
そのほか、施工支援画像が環境画像に重畳されずに、単独で遠隔画像出力装置221に出力されてもよい。この場合、3次元仮想空間において地表に存在する作業機械40および地中埋設物の地表からの深さ位置を表わすように配置されたオブジェクトのそれぞれの空間占有態様を表わす3次元モデル画像が施工支援画像として、環境画像とは別個に遠隔画像出力装置221に出力される。施工支援情報により表わされる閉曲面の配置態様が世界座標系で定義されているので、作業機械40の世界座標系における座標値がGPS等を用いて測定され、遠隔制御装置200を構成する記憶装置および/またはデータベース102に記憶保持されていてもよい。
遠隔操作装置20において、遠隔制御装置200により遠隔操作機構211の操作態様が認識され、かつ、遠隔無線通信機器224を通じて、当該操作態様に応じた遠隔操作指令が施工支援装置10に対して送信される(図5/STEP214)。
施工支援装置10において当該遠隔操作指令が受信された場合、当該遠隔操作指令が作業機械40に対して送信される(図5/C14)。
作業機械40において、実機制御装置400により、実機無線通信機器422を通じて操作指令が受信された場合(図5/C44)、作業機構440等の動作が制御される(図5/STEP414)。例えば、バケット445により作業機械40の前方の施工対象領域の土を掘り起こしてすくい、上部旋回体42を旋回させたうえで施工対象領域の外にバケット445から土を落とす作業が実行される。
(作用効果)
前記機能を発揮する施工支援装置10によれば、複数の地中探索エリアSi1、Si2、‥、Sim、Sim+1(図7Aおよび図7B参照)のうち少なくとも一部の地中探索エリアにおいて、地中探索機60により地表からの深さ位置が測定された地中埋設物の地中探索点P1,‥Pi-1,Pi,Pi+1,‥Pn-1,Pnのそれぞれの深さが代表深さ位置に集約される(図5/STEP121、図9参照)。そして、当該複数の地中探索エリアSi1、Si2、‥、Sim、Sim+1のそれぞれに配置されている代表深さ位置を表わすオブジェクトとしての閉曲面m1、m2が含まれている3次元画像を表わす施工支援画像データが生成される(図5/STEP122、図5参照)。
これにより、地中探索機60によるすべての地中探索点P1,‥Pi-1,Pi,Pi+1,‥Pn-1,Pnの深さ位置のそれぞれを表わす複数のオブジェクトが含まれている施工支援画像データが生成される場合と比較して、施工支援画像データのデータ量の低減が図られている。遠隔出力インターフェース220を構成する遠隔画像出力装置221に出力された施工支援画像(図5参照)における複数のオブジェクトとしての閉曲面m1、m2の空間占有態様を通じて、当該遠隔画像出力装置221に接したユーザまたはオペレータに3次元実空間における地中埋設物の空間占有態様を把握させることができる。
さらに、オブジェクトとしての各閉曲面m1、m2は該当する代表深さ位置を表わすように別個独立に配置されていればよく、複数のオブジェクトの間の相対的な位置および姿勢が調節される必要がない分だけ、施工支援画像データの生成処理に要する演算処理負荷の軽減が図られる。
(本発明の他の実施形態)
前記実施形態では、施工支援装置10が遠隔操作装置20、作業機械40および地中探索機60とは別個のコンピュータにより構成されていたが、他の実施形態として、施工支援装置10が、遠隔操作装置20、作業機械40または地中探索機60に搭載されていてもよい。
前記実施形態では、作業機械40がオペレータにより遠隔操作装置20を通じて遠隔操作されていたが、他の実施形態として、作業機械40が当該作業機械40に搭乗したオペレータにより実機操作されてもよい。この場合、施工支援装置10から作業機械40に対して施工支援画像データが送信され(図5/STEP122参照)、実機出力インターフェース420を構成する実機画像出力装置に当該データに応じた施工支援画像が出力されてもよい(図5参照)。
地中探索エリアに配置されているオブジェクトとして、当該地中探索エリアの地表から地中探索点群の代表深さ位置まで延在する立体物が含まれている3次元画像を表わす施工支援画像データが生成されてもよい。例えば、図10に示されているように、地中探索エリアのそれぞれにおいて地表に底面が配置され、代表深さ位置に頂点が配置されている複数の逆円錐体m1、m2がオブジェクトとして含まれている3次元画像を表わす施工支援画像データが生成されてもよい。図5に示されている例と同様に、第1オブジェクト群M1を構成する複数の逆円錐体m1および第2オブジェクト群M2を構成する複数の逆円錐体m2のそれぞれの意匠(例えば、色)が、閉曲面m1およびm2の深さ位置に応じて識別可能に差異化されている。
立体物の表面は、Bezier(ベジエ)曲面および/またはNURBS(非一様有理Bスプライン)曲面などの複数の制御点により定義される曲面として定義されていてもよい。当該曲面は連続性(G1連続性、G2連続性またはG3連続性)を有する曲面として定義されていてもよい。立体物は、逆円錐体とは異なる逆四角錐体などの逆錐体、逆錘台、柱体、球体または楕円球体など、様々な形状の立体物であってもよい。
10‥施工支援装置
102‥データベース
120‥地中探索結果認識要素
121‥代表深さ位置決定要素
122‥施工支援画像データ生成要素
20‥遠隔操作装置
200‥遠隔制御装置
210‥遠隔入力インターフェース
211‥遠隔操作機構
220‥遠隔出力インターフェース
221‥遠隔画像出力装置
222‥遠隔音響出力装置
224‥遠隔無線通信機器
40‥作業機械
41‥下部走行体
42‥上部旋回体
42C‥キャブ(運転室)
44‥作業機構
445‥バケット
400‥実機制御装置
410‥実機入力インターフェース
420‥実機出力インターフェース
60‥地中探索機
600‥探索制御装置
602‥探索記憶装置
611‥深さ位置測定要素
612‥探索位置測定要素
624‥探索無線通信機器
1、m2‥オブジェクト(閉曲面、立体物)
1,‥Pi-1,Pi,Pi+1,‥Pn-1,Pn‥地中探索点
i1、Si2、‥、Sim、Sim+1‥地中探索エリア。

Claims (6)

  1. 施工を行う領域における地中に埋設している地中埋設物に関する情報に基づいて、前記地中埋設物の上側の領域であって、前記地中埋設物の地表からの深さ位置に応じて識別可能に差別化されたオブジェクトを前記地中埋設物に沿って配置した施工支援画像データを生成する手段を有する施工支援装置。
  2. 前記地中埋設物に関する情報は、前記地中埋設物の位置の情報を含む請求項1に記載の施工支援装置。
  3. 前記施工支援画像データは、前記地中埋設物の地表からの深さの情報を含む請求項1に記載の施工支援装置。
  4. 前記施工支援画像データは、前記地中埋設物に沿った複数の矩形のデータを含む請求項1乃至3のいずれか1項に記載の施工支援装置。
  5. 前記施工支援画像データが、作業環境を撮像した撮像画像に重畳して出力される請求項1乃至3のいずれか1項に記載の施工支援装置。
  6. コンピュータに、施工を行う領域における地中に埋設している地中埋設物に関する情報に基づいて、前記地中埋設物の上側の領域であって、前記地中埋設物の地表からの深さ位置に応じて識別可能に差別化されたオブジェクトを前記地中埋設物に沿って配置した施工支援画像データを生成する機能を実現させるためのプログラム。
JP2024005668A 2022-07-29 2024-01-17 施工支援装置および施工支援方法 Active JP7691007B2 (ja)

Priority Applications (2)

Application Number Priority Date Filing Date Title
JP2024005668A JP7691007B2 (ja) 2022-07-29 2024-01-17 施工支援装置および施工支援方法
JP2025090531A JP2025120205A (ja) 2022-07-29 2025-05-30 施工支援装置および施工支援方法

Applications Claiming Priority (2)

Application Number Priority Date Filing Date Title
JP2022121870A JP7597087B2 (ja) 2022-07-29 2022-07-29 施工支援装置および施工支援方法
JP2024005668A JP7691007B2 (ja) 2022-07-29 2024-01-17 施工支援装置および施工支援方法

Related Parent Applications (1)

Application Number Title Priority Date Filing Date
JP2022121870A Division JP7597087B2 (ja) 2022-07-29 2022-07-29 施工支援装置および施工支援方法

Related Child Applications (1)

Application Number Title Priority Date Filing Date
JP2025090531A Division JP2025120205A (ja) 2022-07-29 2025-05-30 施工支援装置および施工支援方法

Publications (2)

Publication Number Publication Date
JP2024032802A JP2024032802A (ja) 2024-03-12
JP7691007B2 true JP7691007B2 (ja) 2025-06-11

Family

ID=89706674

Family Applications (3)

Application Number Title Priority Date Filing Date
JP2022121870A Active JP7597087B2 (ja) 2022-07-29 2022-07-29 施工支援装置および施工支援方法
JP2024005668A Active JP7691007B2 (ja) 2022-07-29 2024-01-17 施工支援装置および施工支援方法
JP2025090531A Pending JP2025120205A (ja) 2022-07-29 2025-05-30 施工支援装置および施工支援方法

Family Applications Before (1)

Application Number Title Priority Date Filing Date
JP2022121870A Active JP7597087B2 (ja) 2022-07-29 2022-07-29 施工支援装置および施工支援方法

Family Applications After (1)

Application Number Title Priority Date Filing Date
JP2025090531A Pending JP2025120205A (ja) 2022-07-29 2025-05-30 施工支援装置および施工支援方法

Country Status (4)

Country Link
EP (1) EP4512964A4 (ja)
JP (3) JP7597087B2 (ja)
CN (1) CN119585486A (ja)
WO (1) WO2024024948A1 (ja)

Families Citing this family (1)

* Cited by examiner, † Cited by third party
Publication number Priority date Publication date Assignee Title
JP7655428B1 (ja) 2024-03-22 2025-04-02 コベルコ建機株式会社 掘削支援装置、掘削システム、掘削支援方法、建設機械、及びプログラム

Citations (5)

* Cited by examiner, † Cited by third party
Publication number Priority date Publication date Assignee Title
JP2003075546A (ja) 2001-09-06 2003-03-12 Toyo Machine Kogyo Kk 地中埋設管の探知システム
JP2012133471A (ja) 2010-12-20 2012-07-12 Kokusai Kogyo Co Ltd 画像合成装置、画像合成プログラム、及び画像合成システム
JP2015114823A (ja) 2013-12-11 2015-06-22 三菱電機株式会社 携帯用端末装置
WO2019124549A1 (ja) 2017-12-21 2019-06-27 住友建機株式会社 ショベル及びショベルの管理システム
JP2023128880A (ja) 2022-03-04 2023-09-14 戸田建設株式会社 推定結果表示システム

Family Cites Families (9)

* Cited by examiner, † Cited by third party
Publication number Priority date Publication date Assignee Title
JP4642288B2 (ja) 2001-08-09 2011-03-02 株式会社小松製作所 地下埋設物掘削システム
JP3728433B2 (ja) * 2002-09-20 2005-12-21 エヌ・ティ・ティ・インフラネット株式会社 ケーブル位置情報管理システム及びケーブル位置情報管理方法並びにケーブル位置情報管理プログラム
JP4024201B2 (ja) * 2003-10-29 2007-12-19 日立建機株式会社 移動式作業機械の作業管理装置
WO2014110502A1 (en) * 2013-01-11 2014-07-17 The Regents Of The University Of Michigan Monitoring proximity of objects at construction jobsites via three-dimensional virtuality in real-time
JP6463052B2 (ja) * 2014-09-11 2019-01-30 大阪瓦斯株式会社 探査装置
US10748427B1 (en) * 2019-05-24 2020-08-18 Saudi Arabian Oil Company Systems and methods for preventing damage to unseen utility assets
JP7322616B2 (ja) * 2019-09-12 2023-08-08 東京電力ホールディングス株式会社 情報処理装置、情報処理方法、プログラム及び掘削システム
JP7408491B2 (ja) * 2020-06-04 2024-01-05 株式会社クボタ 作業機の掘削支援システム、及び作業機の掘削支援方法
IL275318A (en) * 2020-06-11 2022-01-01 G A A A Global Infrastructures Tech Ltd A system for locating an underground infrastructure line

Patent Citations (5)

* Cited by examiner, † Cited by third party
Publication number Priority date Publication date Assignee Title
JP2003075546A (ja) 2001-09-06 2003-03-12 Toyo Machine Kogyo Kk 地中埋設管の探知システム
JP2012133471A (ja) 2010-12-20 2012-07-12 Kokusai Kogyo Co Ltd 画像合成装置、画像合成プログラム、及び画像合成システム
JP2015114823A (ja) 2013-12-11 2015-06-22 三菱電機株式会社 携帯用端末装置
WO2019124549A1 (ja) 2017-12-21 2019-06-27 住友建機株式会社 ショベル及びショベルの管理システム
JP2023128880A (ja) 2022-03-04 2023-09-14 戸田建設株式会社 推定結果表示システム

Also Published As

Publication number Publication date
CN119585486A (zh) 2025-03-07
JP2024032802A (ja) 2024-03-12
EP4512964A4 (en) 2025-10-22
WO2024024948A1 (ja) 2024-02-01
JP7597087B2 (ja) 2024-12-10
JP2025120205A (ja) 2025-08-15
JP2024018497A (ja) 2024-02-08
EP4512964A1 (en) 2025-02-26

Similar Documents

Publication Publication Date Title
AU2022209235B2 (en) Display control device and display control method
JP6867132B2 (ja) 作業機械の検出処理装置及び作業機械の検出処理方法
AU2019292457B2 (en) Display control device, display control system, and display control method
KR102637524B1 (ko) 작업 기계
JP6794449B2 (ja) 管理システム
WO2019049475A1 (ja) 施工管理装置および施工管理方法
US12123171B2 (en) Autonomous control of operations of powered earth-moving vehicles using data from on-vehicle perception systems
JP2020117982A (ja) 作業機械
JP2019190193A (ja) 作業機械
JP2021001436A (ja) 作業機械
JP7691007B2 (ja) 施工支援装置および施工支援方法
CN108779985B (zh) 施工管理系统
JP7552494B2 (ja) 施工支援システムおよび施工支援方法
JP2024052764A (ja) 表示制御装置及び表示方法
WO2023100533A1 (ja) 画像表示システム、遠隔操作支援システムおよび画像表示方法
JP6616149B2 (ja) 施工方法、作業機械の制御システム及び作業機械
JP7107792B2 (ja) 建設機械
JP2022026596A (ja) 作業機械および施工支援システム
JP2022129500A (ja) 地形情報管理システムおよび作業機械
CN114731388A (zh) 作业支援服务器、作业支援方法以及作业支援系统
JP2024057362A (ja) 作業支援システム、遠隔操作支援システム、作業支援方法および表示装置
WO2025052859A1 (ja) 作業支援システムおよび作業支援方法

Legal Events

Date Code Title Description
A521 Request for written amendment filed

Free format text: JAPANESE INTERMEDIATE CODE: A523

Effective date: 20240117

A621 Written request for application examination

Free format text: JAPANESE INTERMEDIATE CODE: A621

Effective date: 20240520

A871 Explanation of circumstances concerning accelerated examination

Free format text: JAPANESE INTERMEDIATE CODE: A871

Effective date: 20240520

A131 Notification of reasons for refusal

Free format text: JAPANESE INTERMEDIATE CODE: A131

Effective date: 20240709

A521 Request for written amendment filed

Free format text: JAPANESE INTERMEDIATE CODE: A523

Effective date: 20240829

A131 Notification of reasons for refusal

Free format text: JAPANESE INTERMEDIATE CODE: A131

Effective date: 20241029

A601 Written request for extension of time

Free format text: JAPANESE INTERMEDIATE CODE: A601

Effective date: 20241224

A521 Request for written amendment filed

Free format text: JAPANESE INTERMEDIATE CODE: A523

Effective date: 20250227

TRDD Decision of grant or rejection written
A01 Written decision to grant a patent or to grant a registration (utility model)

Free format text: JAPANESE INTERMEDIATE CODE: A01

Effective date: 20250430

A61 First payment of annual fees (during grant procedure)

Free format text: JAPANESE INTERMEDIATE CODE: A61

Effective date: 20250513

R150 Certificate of patent or registration of utility model

Ref document number: 7691007

Country of ref document: JP

Free format text: JAPANESE INTERMEDIATE CODE: R150