JP7689747B2 - 頭部安定化装置における張力付加機構および使用方法 - Google Patents

頭部安定化装置における張力付加機構および使用方法 Download PDF

Info

Publication number
JP7689747B2
JP7689747B2 JP2022546336A JP2022546336A JP7689747B2 JP 7689747 B2 JP7689747 B2 JP 7689747B2 JP 2022546336 A JP2022546336 A JP 2022546336A JP 2022546336 A JP2022546336 A JP 2022546336A JP 7689747 B2 JP7689747 B2 JP 7689747B2
Authority
JP
Japan
Prior art keywords
actuator
stabilization assembly
frame
stabilization
patient
Prior art date
Legal status (The legal status is an assumption and is not a legal conclusion. Google has not performed a legal analysis and makes no representation as to the accuracy of the status listed.)
Active
Application number
JP2022546336A
Other languages
English (en)
Other versions
JPWO2021152399A5 (ja
JP2023511742A (ja
Inventor
フォースト、ピーター
エッサー、マティアス
ブルム、アンドレアス
デヴラン カルハ、デイビッド
エドガー シューエル、マティアス
Original Assignee
プロ メッド インストゥルメンツ ゲーエムベーハー
Priority date (The priority date is an assumption and is not a legal conclusion. Google has not performed a legal analysis and makes no representation as to the accuracy of the date listed.)
Filing date
Publication date
Application filed by プロ メッド インストゥルメンツ ゲーエムベーハー filed Critical プロ メッド インストゥルメンツ ゲーエムベーハー
Publication of JP2023511742A publication Critical patent/JP2023511742A/ja
Publication of JPWO2021152399A5 publication Critical patent/JPWO2021152399A5/ja
Priority to JP2025084486A priority Critical patent/JP2025114854A/ja
Application granted granted Critical
Publication of JP7689747B2 publication Critical patent/JP7689747B2/ja
Active legal-status Critical Current
Anticipated expiration legal-status Critical

Links

Images

Classifications

    • AHUMAN NECESSITIES
    • A61MEDICAL OR VETERINARY SCIENCE; HYGIENE
    • A61BDIAGNOSIS; SURGERY; IDENTIFICATION
    • A61B90/00Instruments, implements or accessories specially adapted for surgery or diagnosis and not covered by any of the groups A61B1/00 - A61B50/00, e.g. for luxation treatment or for protecting wound edges
    • A61B90/10Instruments, implements or accessories specially adapted for surgery or diagnosis and not covered by any of the groups A61B1/00 - A61B50/00, e.g. for luxation treatment or for protecting wound edges for stereotaxic surgery, e.g. frame-based stereotaxis
    • A61B90/14Fixators for body parts, e.g. skull clamps; Constructional details of fixators, e.g. pins
    • AHUMAN NECESSITIES
    • A61MEDICAL OR VETERINARY SCIENCE; HYGIENE
    • A61FFILTERS IMPLANTABLE INTO BLOOD VESSELS; PROSTHESES; DEVICES PROVIDING PATENCY TO, OR PREVENTING COLLAPSING OF, TUBULAR STRUCTURES OF THE BODY, e.g. STENTS; ORTHOPAEDIC, NURSING OR CONTRACEPTIVE DEVICES; FOMENTATION; TREATMENT OR PROTECTION OF EYES OR EARS; BANDAGES, DRESSINGS OR ABSORBENT PADS; FIRST-AID KITS
    • A61F5/00Orthopaedic methods or devices for non-surgical treatment of bones or joints; Nursing devices ; Anti-rape devices
    • A61F5/37Restraining devices for the body or for body parts; Restraining shirts
    • A61F5/3707Restraining devices for the body or for body parts; Restraining shirts for the head
    • AHUMAN NECESSITIES
    • A61MEDICAL OR VETERINARY SCIENCE; HYGIENE
    • A61FFILTERS IMPLANTABLE INTO BLOOD VESSELS; PROSTHESES; DEVICES PROVIDING PATENCY TO, OR PREVENTING COLLAPSING OF, TUBULAR STRUCTURES OF THE BODY, e.g. STENTS; ORTHOPAEDIC, NURSING OR CONTRACEPTIVE DEVICES; FOMENTATION; TREATMENT OR PROTECTION OF EYES OR EARS; BANDAGES, DRESSINGS OR ABSORBENT PADS; FIRST-AID KITS
    • A61F5/00Orthopaedic methods or devices for non-surgical treatment of bones or joints; Nursing devices ; Anti-rape devices
    • A61F5/37Restraining devices for the body or for body parts; Restraining shirts
    • A61F5/3769Restraining devices for the body or for body parts; Restraining shirts for attaching the body to beds, wheel-chairs or the like
    • AHUMAN NECESSITIES
    • A61MEDICAL OR VETERINARY SCIENCE; HYGIENE
    • A61BDIAGNOSIS; SURGERY; IDENTIFICATION
    • A61B90/00Instruments, implements or accessories specially adapted for surgery or diagnosis and not covered by any of the groups A61B1/00 - A61B50/00, e.g. for luxation treatment or for protecting wound edges
    • A61B90/08Accessories or related features not otherwise provided for
    • A61B2090/0807Indication means

Landscapes

  • Health & Medical Sciences (AREA)
  • Life Sciences & Earth Sciences (AREA)
  • General Health & Medical Sciences (AREA)
  • Animal Behavior & Ethology (AREA)
  • Engineering & Computer Science (AREA)
  • Biomedical Technology (AREA)
  • Heart & Thoracic Surgery (AREA)
  • Veterinary Medicine (AREA)
  • Public Health (AREA)
  • Vascular Medicine (AREA)
  • Nursing (AREA)
  • Orthopedic Medicine & Surgery (AREA)
  • Surgery (AREA)
  • Otolaryngology (AREA)
  • Neurosurgery (AREA)
  • Nuclear Medicine, Radiotherapy & Molecular Imaging (AREA)
  • Oral & Maxillofacial Surgery (AREA)
  • Pathology (AREA)
  • Medical Informatics (AREA)
  • Molecular Biology (AREA)
  • Accommodation For Nursing Or Treatment Tables (AREA)
  • Orthopedics, Nursing, And Contraception (AREA)

Description

本出願は、2020年1月30日付で出願され、「Radiolucent Head Stabilization Device and Method of Use(放射線透過性頭部安定化装置および使用方法)」と題する、米国特許仮出願第62/967,712号に対して優先権を主張するものであり、当該米国特許仮出願の開示はこの参照により本明細書に組み込まれる。当該米国特許仮出願は、さらに、2020年10月14日付で出願され、「Head Stabilization Device Tensioning Feature and Method of Use(頭部安定化装置における張力付加機構および使用方法)」と題する、米国特許仮出願第63/091,572号に対して優先権を主張するものであり、当該米国特許仮出願の開示はこの参照により本明細書に組み込まれる。
特定の医療措置の際、患者の身体全体または身体の一部を安定化させて固定することが必要若しくは望ましい場合がある。特定の神経学的措置では、頭部および/または頸部が安定化される部位に含まれる。患者の特定部位を安定化するために特定の装置および方法が利用される。例えば、頭蓋骨用クランプは、患者の頭部および/または頸部を安定化させる頭部安定化装置の一種である。さらに、様々な画像診断法を利用して処置前、処置中、および/または処置後に画像を取得することが必要若しくは望ましい場合がある。
様々な頭部安定化装置および当該装置の使用方法が考案および使用されてきたが、本発明者らよりも以前に本明細書に記載する発明を考案および使用した者はいないものと考えられる。
この出願の発明に関連する先行技術文献情報としては、以下のものがある(国際出願日以降国際段階で引用された文献及び他国に国内移行した際に引用された文献を含む)。
(先行技術文献)
(特許文献)
(特許文献1) 欧州特許出願公開第2614790号明細書
(特許文献2) 欧州特許出願公開第2819607号明細書
(特許文献3) 欧州特許出願公開第3132767号明細書
(特許文献4) 米国特許出願公開第2006/190010号明細書
(特許文献5) 米国特許出願公開第2014/276823号明細書
(特許文献6) 米国特許出願公開第2009/306662号明細書
(特許文献7) 欧州特許出願公開第1152727号明細書
本明細書は、本発明を特定し、明確に規定する特許請求の範囲をもって完結するが、添付の図面と併せて以下の特定の実施形態の記載によってより理解が深まるものと考えられる。図面においては、同一の参照番号は同一の要素を特定する。
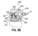
図1Aは、例示的な頭蓋骨用クランプの斜視図を示す。 図1Bは、図1Aの頭蓋骨用クランプの別の斜視図を示す。 図2Aは、図1Aの頭蓋骨用クランプの解除機構の部分斜視図であり、内部構成要素を明らかにするために一部を二点鎖線で示す。 図2Bは、図1Aの頭蓋骨用クランプの部分断面図であり、例示的な解除機構を示す。 図2Cは、図2Bの頭蓋骨用クランプの拡大部分断面図であり、頭蓋骨用クランプのアーム部の非装着状態での相対位置を示す。 図3は、図1Aの頭蓋骨用クランプとともに使用可能な別の例示的なアーム部の断面図を示し、別の例示的な解除機構を有する。 図4Aは、例示的なモジュール式ピンアセンブリの正面図を示す。 図4Bは、図4Aの断面図を示す。 図5Aは、アダプタを含む、別の例示的なモジュール式ピンアセンブリの正面図を示す。 図5Bは、図5Aの断面図を示す。 図6Aは、2つのピンを有するロッカーアームアセンブリ(rocker arm assembly)とともに示した図5Aの例示的なモジュール式ピンアセンブリの正面図である。 図6Bは、図6Aの断面図を示す。 図6Cは、頭蓋骨用ピンおよび頭蓋骨用ピンとの不慮の接触を防ぐ着脱自在なキャップとともに示した、図6Aのアセンブリの斜視図である。 図7Aは、例示的なモジュール式固定のための2つのピンを有するロッカーアームアセンブリの斜視図を示す。 図7Bは、図7Aのアセンブリの別の斜視図を示す。 図7Cは、図7Aのアセンブリの別の斜視図であり、内部構成要素を明らかにするためにハウジングを二点鎖線で示す。 図7Dは、図7Aのアセンブリの断面図を示す。 図8Aは、図1Aの頭蓋骨用クランプのアーム部であり、ピンアセンブリ張力調整機構を示す。 図8Bは、図8Aのアーム部に組み込み可能、若しくは当該アームとともに使用可能な例示的な目盛りを示す。 図8Cは、図8Aのアーム部の断面図を示す。 図8Dは、図8Aのアーム部の上部の斜視図を示す。 図8Eは、図8Aのアーム部の別の断面図であり、張力付加機構における特定の構成要素間のピン固定接続を示す。 図9は、別の例示的な頭蓋骨用クランプの斜視図を示す。 図10は、図9頭蓋骨用クランプのアーム部の側面図であり、代替張力調整機構を示す。 図11Aは、図10のアーム部の断面図を示す。 図11Bは、図10のアーム部の別の断面図であり、アクチュエータの作動構成を示す。 図11Cは、図10のアーム部の別の断面図であり、図11Bのアクチュエータの使用による張力調整機構の調整を示す。 図12は、図10のアーム部の上部側面図を示す。 図13は、図10のアーム部の例示的な力インジケーターの斜視図を示す。 図14は、別の例示的な頭蓋骨用クランプの斜視図を示す。 図15は、図14の頭蓋骨用クランプのアーム部の側面図であり、別の代替張力調整機構を示す。 図16Aは、図15のアーム部の断面図を示す。 図16Bは、図15のアーム部の別の断面図であり、アクチュエータの作動構成を示す。 図16Cは、図15のアーム部の別の断面図であり、図16Bのアクチュエータの使用による張力調整機構の調整を示す。 図17は、図15のアーム部の上部側面図を示す。 図18は、図15のアーム部の例示的な力インジケーターの斜視図を示す。 図19は、回転方向に固定されたロッカーアームアセンブリとともに示した、図14の頭蓋骨用クランプの例示的な安定化アセンブリの断面の斜視図である。 図20は、回転方向に調整可能なロッカーアームアセンブリとともに示した、図19の例示的な安定化アセンブリの断面の斜視図である。 図21は、回転方向に調整可能なロッカーアームアセンブリとともに示した、図9、図14の頭蓋骨用クランプとともに使用可能な別の例示的な安定化アセンブリの断面の斜視図である。 図22は、図14の例示的な安定化アセンブリの断面の斜視図である。
本図面は限定を意図するものではなく、本発明の様々な実施形態は、本図面に必ずしも記載されていない態様を含むその他の態様で実施可能であると考えられる。本明細書に組み込まれ、かつ本明細書の一部を成す添付の図面は、本発明の観点の一部を図示し、関連する記載とともに本発明の原理を説明する。しかしながら、本発明は図面で示す精密な配置構成に限定されるものではない。
本発明の特定の実施形態に関する以下の記載によって本発明の範囲が限定されるものではない。本発明の他の実施例、特徴、観点、実施形態、および利点は、本発明を実施するに際して最良の態様の1つである、以下の例示的な記載から当業者であれば自明であると考えられる。本発明は、当該発明から逸脱することなく、他の異なる観点および自明な観点を有することが理解される。したがって、本図面および記載は実質的に例示的なものであり、限定的と解釈されるべきではない。
図1Aおよび図1Bは、例示的な頭部安定化装置または頭部固定装置(10)を図示する。本明細書全体と通して、用語「HFD」は、用語「頭部安定化装置」、「頭部固定装置」、または「頭蓋骨用クランプ」と同義で使用される。図示する態様において、HFD(10)は、頭蓋骨用クランプの形状または形態を有する。この点において、HFD(10)はフレーム(100)を有する。フレーム(100)は、第1のフレーム部(102)と、第2のフレーム部(104)とを含む。フレーム部(102、104)は、調整可能に接続でき、それにより当該フレーム部間の間隔が調整される。フレーム部(102、104)は安定化アセンブリを受容するように構成された受容部(106、108)をそれぞれ含む。図示する態様では、安定化アセンブリ(200)は、フレーム部(102)の受容部(106)によって受容される。さらに、安定化アセンブリ(300)は、フレーム部(104)の受容部(108)によって受容される。
図1Bにおいてより明確に示すように、HFD(10)は、フレーム部(102、104)間の相対間隔を調整するように動作可能なフレーム調整機構(400)を含む。フレーム調整機構(400)は、図1Bに示すように、アクチュエータ(402)を含む。フレーム調整機構(400)の追加的な構成要素および操作性については、図2A~図3を参照して以下詳細に説明する。
HFD(10)は、モジュール設計となっており、受容部(106、108)は、単一タイプまたは単一設計の安定化アセンブリのみを受容するように構成されているものではなく、様々な安定化アセンブリを受容するように構成されている。例えば、図1Aおよび図1Bに図示する態様では、安定化アセンブリ(200)および安定化アセンブリ(300)は、互いに交換可能であるため、安定化アセンブリ(200)は受容部(108)に接続され、同様に安定化アセンブリ(300)は受容部(106)に接続される。様々な安定化アセンブリに関連する、モジュール方式のHFD(10)の追加的な構成要素および操作性については、図4A~図7Dを参照して以下詳細に説明する。
さらに、図1Aおよび図1Bを参照すると、HFD(10)は、安定化アセンブリが患者に対して加える力の量を調整するように動作可能な張力付加機構(500)を含む。張力付加機構(500)は、図1Aおよび図1Bに示すように、アクチュエータ(502)を含む。張力付加機構(500)の追加的な構成要素および操作性については、図8A~8Dを参照して以下詳細に説明する。
I.例示的なフレーム調整機構
図2A~2Cを参照すると、フレーム調整機構(400)が図示されており、このフレーム調整機構については、以下詳細に説明する。図2Aに示すように、フレーム部(102)は、フレーム部(104)の細長いシャフト(112)の内部に受容される細長いシャフト(110)を含む。細長いシャフト(110)の内部にはフレーム調整機構(400)のロック機構(404)が延長している。本実施形態では、ロック機構(404)は、ピン結合部を介してアクチュエータ(402)と接続自在である。図1Bおよび図2Bに示すように、アクチュエータ(402)は、このピン結合部を中心に回転自在である。図2Bに示すように、アクチュエータ(402)は、上方または垂直方向に回転されると、ロック機構(404)を当該アクチュエータ(402)を伴うピン結合部に向かって引っ張る若しくは引き込む。これとは逆に、アクチュエータ(402)が反対方向に回転された場合、アクチュエータ(402)は、ロック機構(404)を当該アクチュエータ(402)を伴うピン結合部から離れる方向に押動させる。
図示する態様では、ロック機構(404)は、傾斜または角度を成す外面(408)を有する遠位部(406)を含む。本実施形態では、外面(408)は、傾斜または角度を成すことに加えて曲面を有する。このように、本実施形態において遠位部(406)は、当該遠位部(406)の最先端部において直径が最大となる、テーパー形状または円錐形状を有する。遠位部(406)は、さらに、近位肩部(410)を有する。細長いシャフト(110)は、ロック機構(404)が延長する中空内部(114)を含む。中空内部(114)は、遠位端部の近傍には停止部(116)が画定され、この停止部(116)が肩部(410)と相互作用することにより、ロック機構(404)が細長いシャフト(110)からアクチュエータ側に引き込まれることが阻止される。
細長いシャフト(110)は、遠位端部の近傍に開口部(118)を含む。開口部(118)は、ロック機構(404)の遠位部(406)の表面(408)により接触自在であるロック機構(412)を受容するように構成されている。ロック機構(412)は、ロック機構(404)の遠位部(406)の表面(408)と接触する傾斜または角度を成す外面(414)を含む。このように、ロック機構(404)がアクチュエータ(402)の配置側に向かって移動されると、傾斜または角度を成す外面(408、414)の相互作用により、ロック機構(412)がフレーム部(104)の細長いシャフト(112)に作用する。この接触は、これらの構成要素間に摩擦嵌合を生じさせるのに十分であるため、フレーム部(102、104)の互いに離れる方向に対する移動が阻止される。本実施形態では、ロック機構(412)のシャフト(112)に対する係合または接触が十分である場合、フレーム部(102、104)の互いに離れる方向に対する移動が阻止されるが、フレーム部(102、104)を互いに近づく方向に移動させることが可能であり、これによりフレーム(100)はより接近した位置に配置されることにさらに注目されたい。
フレーム(100)を解放することが望ましい場合、基本的に上記で説明した工程と逆の工程が行われる。特に、アクチュエータ(402)は、ロック機構(404)に対して垂直の配向から離れるように下方に向かって回転される。これにより、ロック機構(404)は、フレーム部(104)に向かって移動されて遠位部(406)はロック機構(412)から係合解除され、ロック機構(412)は、任意の摩擦力を克服できる程度までシャフト(112)から係合解除され、フレーム部(102、104)は、必要に応じてより開放位置(離れた位置)に調整される。
上記で説明したように、フレーム調整機構(400)は、フレーム部(102、104)が互いに調整可能となるように構成され、次に所望の位置または配置が達成されると、フレーム部(102、104)を固定して当該フレーム部が開放されるのを阻止するように構成されている。さらに、調整幅の増加が機械的な係合構造によって制限される、噛合歯などの相補的構造による機械的係合とは異なり、構成要素間の摩擦嵌合を備える本ロック構成によるフレーム部(102、104)の相対位置の調整では、その増加量を無限に変化させることができる。換言すると、図示された実施形態では、ロック機構(412)、遠位部(406)、およびシャフト(112)の構成により、非段階的な嵌合(stepless fit)が実現できる。このように、噛み合い係合機構または段付き機構を使用してフレーム部(102、104)の調整幅の増加を制御または規制する装置とは対照的に、フレーム部(102、104)の調整幅を制限なく変化させることができる。当然のことながら、別のいくつかの実施形態では、締まりばめが望ましい場合、1若しくはそれ以上の段付きまたは係合機構をロック機構(404、412)に含めることができる。特にこのような変更は、本明細書の教示に鑑みて、当業者にとって自明であると考えられる。
図2Bおよび2Cにおいて最もよく分かるように、細長いシャフト(110)は、底部領域に沿って溝部(120)を含む。位置合わせ機構(416)は細長いシャフト(112)を通って延長し、溝部(120)の内部に受容されるように構成されており、これにより細長いシャフト(110、112)の位置合わせが維持されるため、フレーム部(102、104)の間隔が調整される際に細長いシャフト(110、112)の相対回転位置の変化を阻止する。
図3は、フレーム部(102)の代わりに、HFD(10)とともに使用可能な代替的なフレーム部(102')を示す。フレーム部(102')は、アクチュエータの構成が異なることを除いて、フレーム部(102)と類似している。フレーム部(102')は、ロック機構と接続するアクチュエータ(402')を有する。アクチュエータ(402')は、安定化アセンブリに近接または当該アセンブリの近傍、かつフレーム部(102')の直立部分に沿って設けられた押圧自在部を含む。本実施形態では、アクチュエータ(402')は、ばねによって付勢されており、これによってロック機構(404)はフレーム部(104)から離れる方向に付勢されるため、遠位部(406)がロック機構(412)に接触してフレーム部(102、104)間に摩擦嵌合または摩擦係止が生じる。押圧式アクチュエータ(402')がばねの付勢力を克服してロック機構(404)をフレーム部(104)に向かって押動することにより、摩擦嵌合または摩擦係止が低減または除去され、フレーム部(102、104)の開放、または当該フレーム部間の間隔を増加させることが可能となる。
II.例示的なモジュール式安定化アセンブリ
図4Aおよび4Bは、安定化アセンブリ(200)を示す。安定化アセンブリ(200)は、ハウジング(202)を有する。ハウジング(202)は、患者に接触するように構成されたピン(14)を備えるピン保持部(12)を受容するように構成された穴部(204)を含む。ハウジング(202)は、安定化アセンブリ(200)が搭載されたフレーム部(102、104)に応じて、受容部(106、108)を貫通して延長するピン(122)を受容するように構成された近位切り欠き部(206)を含む。ハウジング(202)は、その内部に弾性部材(210)と接触する球状部材(208)を有する。ピン(212)、またはピン(212)および本体部の組み合わせが弾性部材(210)の下方に配置されている。
安定化アセンブリ(200)を取り付ける際、ハウジング(202)は、受容部(106、108)内に嵌合するように、その近接位置にスライドまたは平行移動される。ハウジング(202)と受容部(106、108)は、例えば、安定化アセンブリ(200)を適切な位置に案内し、ハウジング(202)を特定の配向に維持する、相補的蟻継ぎ機構などの相補的係合機構を含む。ピン(122)は、切り欠き部(206)と整合し、球状部材(208)と接触し、次にこの球状部材(208)は弾性部材(210)に対して押圧される。これにより、球状部材(208)が移動されてピン(122)を切り欠き部(206)内に完全に着座させることが可能となる。完全に着座するとピン(122)は球状部材(208)を通過し、球状部材(208)は、弾性部材(210)の付勢力によりピン(122)の背後に復帰する。このような態様で、安定化アセンブリ(200)を受容部(106、108)に対して適切な位置に維持するロック効果が達成される。
図5A~図6Cは、安定化アセンブリ(600)を示す。安定化アセンブリ(600)は、アダプタ(614)を受容するように構成された穴部(604)を有するハウジング(602)を含む点を除いて、安定化アセンブリ(200)と類似する。図5Bに示す1実施形態において、アダプタ(614)は、患者に接触するように構成されたピン(14)を受容するように構成されている。図6Aおよび6Bに示す別の実施形態において、アダプタ(614)は、ロッカーアームアセンブリ(616)を受容するように構成されている。
安定化アセンブリ(600)は、アダプタ(614)を穴部(604)内の適切な位置に維持するために、球状部材(618)と、弾性部材(620)とを含む。アダプタ(614)は、アダプタ(614)が穴部(604)内に完全に着座した際に球状部材(618)と連結するように構成された環状溝部(622)を含む。アダプタ(614)が挿入されると、球状部材(618)は弾性部材(620)に対して押圧されるが、アダプタ(614)が完全に着座すると、環状溝部(622)は球状部材(618)の上方に位置合わせされるため、弾性部材(620)の付勢力により球状部材(618)は元の位置に復帰し、環状溝部(622)と係合する。このような構成では、アダプタ(614)は平行移動により固定されるが、環状溝部(622)と係合を維持する球状部材(618)により回転可能である。
安定化アセンブリ(600)の別の態様では、ハウジング(602)とともに複数のアダプタ(614)を使用可能であり、例えば、アダプタ(614)は単一のピン(14)とともに使用されるように構成され、別のアダプタはロッカーアームアセンブリ(616)とともに使用されるように構成されている。このようにモジュール式設計では、特定タイプの安定化機構に関連するアダプタに交換することによって安定化機構のタイプを交換することが可能である。また、上述したような別の態様では、同一のアダプタ(614)を複数のタイプの安定化機構とともに使用することができ、このようなモジュール式設計では、安定化機構自体を交換し、同一のアダプタ(614)を維持することにより、安定化機構のタイプを交換することが可能である。
図7A~図7Dは、固定用ロッカーアームアセンブリ(locking rocker arm assembly)(316)とともに構成された安定化アセンブリ(300)を示す。安定化アセンブリ(300)は、ハウジング(302)と、アクチュエータ(324、326)と、球状部材(208、618)と、弾性部材(210、620)と、ピン(212)と、固定用ロッカーアームアセンブリ(316)の一部を受容するように構成された穴部(304)とを有する。安定化アセンブリ(300)は、上述した安定化アセンブリ(200)と同様の態様で受容部(106、108)と接続する。図7Aに示すように、ハウジング(302)は、安定化アセンブリ(200、600)と同様の態様で蟻継ぎ機構を含む。
図7Cおよび図7Dに示すように、固定用ロッカーアームアセンブリ(316)は、ピン結合部を介してロッカーアーム(332)を受容するように構成された一対の延長部(330)を有する本体部(328)を含む。本体部(328)は、さらに、アダプタ(614)と類似するアダプタ(314)を含むが、このアダプタ(314)には、固定用ロッカーアームアセンブリ(316)の回転位置を固定するロック機構がさらに組み込まれている。例えば、アダプタ(314)は、球状部材(618)と係合する環状フランジ(622)を含む。しかしながら、アダプタ(314)は、さらに、歯付部材(334)を含み、この歯付部材(334)は、当該歯付部材の歯と係合するように構成された歯付端部を有するシャフト(336)と選択的に係合するように構成されている。このシャフト(336)と歯付部材(334)との間の係合により、ロッカーアーム(332)のハウジング(302)およびフレーム(100)に対する回転位置が固定される。
アクチュエータ(324、326)が押圧されていない場合、若しくはロッカーアーム(332)が固定された中立状態にある場合、アクチュエータ(326)の切り欠き部の表面(327)は、シャフト(336)の切り欠き部の表面(337)と接触しているため、シャフト(336)は歯付部材(334)との係合・固定状態を維持する。ロッカーアーム(332)の回転位置を調整するために、押圧式アクチュエータ(326)は、バネ(340)の付勢力を克服して表面(327)を表面(337)から係合解除し、これにより、アクチュエータ(326)の切り欠き部が干渉されることなくシャフト(336)の切り欠き部と整合される。このように干渉を伴わずに整合されることで、ばね(338)および当該ばねに備わった付勢力により、解放式アクチュエータ(324)および当該アクチュエータに接続されたシャフト(336)は、歯付部材(334)から上方かつ離れる方向に駆動されて歯付機構を係合解除し、これによって回転調整が可能となる。所望の回転調整が達成されると、解放式アクチュエータ(324)は下方に押圧されてばね(338)の付勢力を克服し、シャフト(336)の切り欠き部と解放式アクチュエータ(326)の切り欠き部を整合させる。さらに、アクチュエータ(326)上の付勢ばね(340)は、アクチュエータ(326)を平行移動させるため、表面(327)は再びシャフト(336)の表面(337)と接触する。このような態様で、シャフト(336)の歯付部分は歯付部材(334)と係合し、ロッカーアーム(332)の回転位置が固定される。
III.例示的なトーションロッド(Torsion Rod)張力付加機構
図8A~図8Dは、HFD(10)の使用中に、接続された安定化アセンブリにより患者に加える力の量を調整するために使用される張力付加機構(tensioning feature)(500)を示す。張力付加機構(500)は、フレーム部(104)の穴部を通って延長し本体部(504)に螺着する一端部を有するアクチュエータ(502)を有する。本体部(504)は、ロッド(506)を受容する穴部を有し、このロッド(506)は、細長い部材(508)を本体部(504)に接続する。ロッド(506)は、本体部(504)に締着されており、また、ロッド(506)が貫通する本体部(504)の少なくとも1つの位置において多角形状の外形を含む。このような態様で、ロッド(506)は本体部(504)に固定されるため、本体部(504)に対して回転しない。図8Cに示すように、細長い部材(508)はロッド(506)と接続している。ロッド(506)が貫通する細長い部材(508)の別の位置において、ロッド(506)は多角形状の外形を含むため、細長い部材(508)はロッド(506)に固定され、ロッド(506)に対して回転しない。
もう一方の端部において、細長い部材(508)は、間隔を置いて配置された一対の延長部(510)を有する。受容部(108)はこの間隔内に配置され、一対の延長部(510)とピン結合される。図8Cおよび図8Dに示すように、一対の延長部とピン結合される受容部(108)内の穴部は細長くなっており、この細長い形態により、受容部(108)の所定の横方向の移動が可能となる。
張力付加機構(500)を調整するために、アクチュエータ(502)が回転され、それにより本体部(504)が平行移動される。平行移動の方向はアクチュエータ(502)の回転方向に依存する。本体部(504)がフレーム部(102)に向かって移動される場合、張力が増加、すなわち、患者に加えられる力が増加する。この運動によりロッド(506)は同じ方向に移動する。細長い部材(508)はロッド(506)と接続されているため、同様に同じ方向に移動する。上述したように、細長い部材(508)は、上端部において受容部(108)とピン結合されている。このピン結合により、HFD(10)が、患者の頭部がその中間部に配置され、安定化アセンブリおよび各安定化機構が接触する装着状態にあるとき、細長い部材(508)が移動できる範囲が固定、または制限される。したがって、このような条件下では、ロッド(506)に対してねじり力またはトルクが存在する。このように、ロッド(506)はトーションロッドと同様の機能を果たす。すなわち、本体部(504)およびロッド(506)がフレーム部(102)に向かって移動するにつれてロッド(506)および細長い部材(508)内の張力が増加するため、その結果、細長い部材(508)により受容部(108)に対してより大きな力が加えられることになる。このような態様で細長い部材(508)は張力付加部材として機能するが、この張力は調整が可能である。患者の頭部がHFD(10)内に配置されているとき、受容部(108)は横方向において静止状態を維持するため、張力が増加すると、患者の頭部により大きな力が加わることになる。アクチュエータ(502)を反対方向に回転させ、本体部(504)およびロッド(506)をフレーム部(104)に向かって平行移動させることにより、患者に加わる力を低下させることができる。
細長い部材(508)は、アクチュエータ(512)も含む。アクチュエータ(512)は、予備張力付加機構(pre-tensioning feature)として構成されている。このような態様では、患者をHFD(10)内に固定する前に、アクチュエータ(512)を押圧して、フレーム部(102、104)に接続された安定化機構が患者の頭部に接触するまでフレーム部(102、104)の双方を同時に移動させることができる。患者の頭部への接触が達成されると、アクチュエータ(512)は解除され、上述したように、張力付加機構を用いて張力を調整することができる。限定ではなく一例としてのみ示すが、いくつかの実施形態では、アクチュエータ(512)を使用する予備張力付加機構は、患者の頭部に対して約50~150ニュートンの力を加えることができる。
図8Bを参照すると、いくつかの態様では、力インジケーターまたは目盛り(514)が張力付加機構に含まれる。この目盛りは、本体部(504)の移動に基づいたロッド(506)および細長い部材(508)内部の張力と、この張力によって生じた、安定化アセンブリ(300)に加えられる力を相関させるように構成されていてもよい。1実施形態において、目盛り(514)は、ロッド(506)の外側面に含めることができる。当業者であれば、本明細書の教示に鑑みて、張力および/または力を表示する他の方法が自明であると考えられる。
IV.曲げ梁を備える張力付加機構を有する例示的な代替頭蓋骨用クランプ
図9は、上記で説明したHFD(10)と実質的に類似した代替HFD(1010)を示す。例えば、HFD(10)とともに上記で説明したように、本実施形態のHFD(1010)は、頭蓋骨用クランプの形状または形態を有する。したがって、本実施形態のHFD(1010)は、上記で説明したフレーム(100)と類似したフレーム(1100)を有する。フレーム(1100)は、第1のフレーム部(1102)と、第2のフレーム部(1104)とを含む。フレーム部(1102、1104)は、調整可能に接続でき、それにより当該フレーム部間の間隔が調整される。フレーム部(1102、1104)は安定化アセンブリを受容するように構成された受容部(1106、1108)をそれぞれ含む。図示する態様では、安定化アセンブリ(1200)は、フレーム部(1102)の受容部(1106)によって受容される。さらに、安定化アセンブリ(1300)は、フレーム部(1104)の受容部(1108)によって受容される。
HFD(10)とともに上記で説明したように、本実施形態のHFD(1010)は、さらに、フレーム部(1102、1104)間の相対間隔を調整するように動作可能なフレーム調整機構を含む。いくつかの態様において、フレーム調整機構は、上述したフレーム調整機構(400)と同一または類似していてもよい。本実施形態では、HFD(1010)は、一対の係合部材(図示せず)を含むフレーム調整機構(1400)を含み、当該係合部材の各々は、1若しくはそれ以上の歯(図示せず)を有する。このような態様では、一方の係合部材の歯が他方の係合部材の歯と選択的に係合するように構成されている。作動機構(1103)は、作動されると、少なくとも一方の係合部材を移動または変位させて各係合部材の歯を係合解除する。係合部材が係合解除されると、フレームアセンブリの間隔がより大きくまたはより小さくなるように調整可能となる。いくつかの態様では、係合部材が係合されるとフレームアセンブリの間隔は固定される。一方、別の態様では、フレームアセンブリの間隔がより小さくなるように調整可能であるが、より大きくなるようには調整可能ではない。このようなフレーム調整機構とともに、1若しくはそれ以上の安全機構(図示せず)を組み込んでもよく、その場合、1若しくはそれ以上の安全機構が最初に作動しない限り、作動機構(1103)の動作は阻止される。別の実施形態では、当業者であれば、本明細書の教示に鑑みて、様々な代替フレーム調整機構をHFD(1010)またはHFD(10)に容易に組み込むことができることを理解するものと考えられる。
HFD(10)と同様に、本実施形態のHFD(1010)はモジュール設計となっており、受容部(1106、1108)は、単一タイプまたは設計の安定化アセンブリのみを受容するように構成されているのではなく、様々な安定化アセンブリを受容するように構成されている。上述したものと同様に、安定化アセンブリ(1200)および安定化アセンブリ(1300)は、互いに交換可能であるため、安定化アセンブリ(1200)を受容部(1108)に接続し、同様に安定化アセンブリ(1300)を受容部(1106)に接続することができる。このように、安定化アセンブリ(1200、1300)およびHFD(1010)に関連したモジュール方式および互換性は、安定化アセンブリ(200、300)およびHFD(10)に関連して上記で説明した態様と同一または類似した態様で提供される。
図10は、第2のフレーム部(1104)をより詳細に示す。本実施形態の第2のフレーム部(1104)は、張力付加機構(1500)を含む。本実施形態の張力付加機構(1500)は、HFD(1010)の使用中に患者に加えられる力の量を調整するために使用される。図11Aに示すように、本実施形態の張力付加機構(1500)は、アクチュエータ(1502)と、細長い部材(1508)とを有する。アクチュエータ(1502)は、細長い部材(1508)の位置を調整することで、HFD(1010)の使用中に、接続された安定化アセンブリ(1300)により患者に加えられる力の量を調整するように構成されている。図示するように、いくつかの実施形態では、張力付加機構(1500)は、安定化アセンブリ(1300)から所定の距離をおいて配置されたアクチュエータ(1502)から離間して配置されている。換言すると、張力付加機構(1500)のアクチュエータ(1502)は、フレーム(1100)の直立部分ではなく、その底部または側部に沿って配置することができる。それと同時に、ピンによる固定力を調整するために安定化アセンブリ(1300)と接触する、張力付加機構(1500)の他の部分は、アクチュエータ(1502)から所定の距離だけ離れて配置されている。いくつかの実施形態では、この距離は、標準的な患者の頭部の大きさによって表される距離と略同一の距離であってもよく、これにより、患者の頭部がHFD(1010)内に位置決めされた際に、アクチュエータ(1502)が患者の側頭部と重なることがなくなる。
図11Aは、アクチュエータ(1502)の構成をより詳細に示す。本実施形態のアクチュエータ(1502)は、通常、本体部(1504)と相互作用して、選択的な本体部(1504)の回転および回転解除を行うように構成されている。以下、より詳細に説明するように、本体部(1504)は、細長い部材(1508)の一部、または当該細長い部材と関連するその他の構成要素と係合するように構成されており、これにより、アクチュエータ(1502)による本体部(1504)の回転を介して、細長い部材(1508)の平行移動が駆動される。
アクチュエータ(1502)と本体部(1504)との間の好適かつ選択的な回転係合は様々な方法で実現できる。一例としてのみ示すが、本実施形態のアクチュエータ(1502)は、細長いロッド(1512)を有するハンドル(1510)を含み、この細長いロッド(1512)は、ハンドル(1510)から第2のフレーム部(1104)の内部に延長する。ハンドル(1510)と反対側の細長いロッド(1512)の端部はキー止め端部(keyed end)(1516)を含む。以下、より詳細に説明するように、通常、キー止め端部(1516)は、アクチュエータ(1502)が所定の位置に平行移動された後、本体部(1504)の一部と係合して、本体部(1504)の回転を提供するように構成されている。
本体部(1504)は、アクチュエータ(1502)との係合のために、アクチュエータ(1502)の細長いロッド(1512)を受容するように構成された中空内部(1520)を含む。中空内部(1520)は、円筒部(1522)と、本体部(1504)の反対側の端部に向かう係合部(1524)を画定する。円筒部(1522)は、通常、その内部でキー止め端部(1516)が自由に回転できるような略円筒形状を画定する。一方、係合部(1524)は、通常、キー止め端部(1516)の形状に対応する形状を画定する。したがって、係合部(1524)は、キー止め端部(1516)を受容してキー止め関係(keyed relationship)を形成し、これにより、細長いロッド(1512)から本体部(1504)への回転運動の伝達が可能となる。
上述したように、アクチュエータ(1502)は、本体部(1504)に対して所定の長手方向位置にあるとき、本体部(1504)を回転させるように構成されている。したがって、以下、より詳細に説明するように、アクチュエータ(1502)は、選択的に本体部(1504)と係合若しくは係合解除して本体部を回転させるために、1若しくはそれ以上の位置間を移動自在である。アクチュエータ(1502)を本体部(1504)に対して所定の位置に維持するため、アクチュエータの細長いロッド(1512)は、その表面から内部に延びる1若しくはそれ以上の戻り止め形状部(1514)を含む。本実施形態では、細長いロッド(1512)は、当該ロッドの縦軸に沿った3つの位置に位置付けられた3つの半円形刻み目を含む。各戻り止め形状部(1514)は、ばね付勢軸受、ボール、またはその他の弾性機構と係合して、細長いロッド(1512)を当該ロッドの縦軸に沿った所定の位置に解放自在に保持するように構成されている。以下、より詳細に説明するように、この構成により、アクチュエータ(1502)は、当該アクチュエータの動作に対応する、複数の所定位置のうち選択された1つに選択的に固定される。
本体部(1504)は、略円筒形状を画定する。本体部(1504)の外側は雄ねじを含む。以下、より詳細に説明するように、このような雄ねじは、細長い部材(1508)または細長い部材(1508)と関連するその他の構成要素を駆動するように構成することができる。本体部(1504)は、第2のフレーム部(1104)内部の適切な位置に固定される。特に、第2のフレーム部(1104)の内部形状は、本体部(1504)が単一の横方向および長手方向位置に固定されるようになっている。しかしながら、本体部(1504)は、このように固定されている場合でも、第2のフレーム部(1104)内で回転するように構成されている。
細長い部材(1508)を、図11Aにおいてより詳細に示す。本実施形態の細長い部材(1508)は通常、HFD(1010)の使用中に、接続された安定化アセンブリ(1300)が患者に対して加える力の量を調整するために移動するように構成されている。本図から分かるように、細長い部材(1508)は、本体部(1504)から上方に安定化アセンブリ(1300)に向かって延長する。以下、より詳細に説明するように、細長い部材(1508)の少なくとも一部は、接続された安定化アセンブリ(1300)と接触しており、これにより本体部(1504)からの力を安定化アセンブリ(1300)に伝達する。
細長い部材(1508)は、インジケーター部材(1542)と関連している。特に、インジケーター部材(1542)の下部は細長い部材(1508)の下部に締結されているため、インジケーター部材(1542)の下部および細長い部材(1508)の下部は互いにしっかりと固定されている。このような固定は任意の適切な手段によって実現することができる。例えば、本実施形態では、1若しくはそれ以上のピンを使用してこのような固定が実現されている。
インジケーター部材(1542)は、細長い部材(1508)とは独立して第2のフレーム部(1104)の内で上方に向かって延長する。すなわち、インジケーター部材(1542)は、その下部においてのみ細長い部材(1508)と連結している。インジケーター部材(1542)のその他の部分は細長い部材(1508)と連結していないため、インジケーター部材(1542)の上部および細長い部材(1508)の上部は互いに対して移動自在である。以下、より詳細に説明するように、この構成により、インジケーター部材(1542)は、安定化アセンブリ(1300)により患者の頭部に加えられる力の量に関する目盛りまたは力インジケーターとして機能することが可能となる。
細長い部材(1508)は、安定化アセンブリ(1300)と反対側の端部にねじ付き開口部(1530)を含む。ねじ付き開口部(1530)は、通常、本体部(1504)をその内部に受容して、本体部(1504)の雄ねじと係合するように構成されている。上述したように、本体部(1504)は、第2のフレーム部(1104)の内部において定位置にある。したがって、ねじ付き開口部(1530)が本体部(1504)を受容することにより、細長い部材(1508)の底部は、本体部(1504)によって同様に定位置に固定される。さらに、以下、より詳細に説明するように、細長い部材(1508)は、本体部(1504)の回転、およびねじ付き開口部(1530)のねじと本体部(1504)のねじとの係合により、第2のフレーム部(1104)内で平行移動するように構成されている。すなわち、本体部(1504)は、細長い部材(1508)の一部を機械的に固定する一方で、アクチュエータ(1502)からの回転入力により細長い部材(1508)を平行移動させる親ねじと同様の構成を有する。
図11Bに示すように、張力付加機構(1500)の調整のため、アクチュエータ(1502)は、まず、第2のフレーム部(1104)から離れる方向に引かれる。この引き運動により、アクチュエータ(1502)は、初期の収容形態から作動形態に移行する。図示していないが、いくつかの実施形態では、アクチュエータ(1502)は、中間形態を有するように構成されていてもよいことを理解されたい。この中間形態において、アクチュエータ(1502)は、張力付加機構(1500)に何ら影響を与えることなく回転自在である。一例としてのみ示すが、このような形態は、操作者がアクチュエータ(1502)を張力付加機構(1500)の調整のために使用する前に、アクチュエータ(1502)の操作位置を調整する上で望ましい。
図11Bに示すように、アクチュエータ(1502)は、作動形態になると、張力付加機構(1500)の調整のために位置合わせされる。図11Cに示すように、アクチュエータ(1502)は、アクチュエータ(1502)が作動形態にあるときに回転され、この回転に応じて本体部(1504)が回転する。本体部(1504)が回転するにつれて、本体部(1504)の外側のねじがねじ付き開口部(1530)の内側のねじと係合し、これにより、細長い部材(1508)が本体部(1504)の縦軸に沿って平行移動する。
いくつかの実施形態では、第2のフレーム部(1104)内の1若しくはそれ以上の開口部または窓部により細長い部材(1508)の平行移動を視覚化することができる。例えば、図9および図10を再び参照すると、第2のフレーム部(1104)は、操作者が細長い部材(1508)の移動を視覚化できるように構成された開口部(1105)を含む。本実施形態の開口部(1105)は、細長い部材(1508)から突出するピンを受容する細長いスロットとして構成されている。したがって、細長い部材(1508)のピンが開口部(1105)によって画定された長さに沿って前進することで移動経路全体に沿った細長い部材(1508)の前進を表示することができる。本実施形態の開口部(1105)は細長いスロットとして構成されているが、別の実施形態では、楕円形または正方形の窓部、透明な区画部など、様々な代替形態を用いることができることを理解されたい。
細長い部材(1508)の平行移動の方向はアクチュエータ(1502)の回転方向に依存する。本体部(1504)が細長い部材(1508)をフレーム部(1102)に向かって移動するように回転される場合、張力、すなわち、患者に加えられる力が大きくなる。一方、アクチュエータ(1502)によって本体部(1504)が反対方向に回転され、フレーム部(1102)から離れる方向に細長い部材(1508)が移動される場合、張力は低下する。
図12に示すように、本体部(1504)と反対側の細長い部材(1508)の端部は、間隔を置いて配置された一対の延長部(1509)を有する。安定化アセンブリ(1300)はこの間隔内に配置され、一対の延長部(1509)とピン結合される。したがって、細長い部材(1508)が、第1のフレーム部(1102)に向かって移動されることにより、安定化アセンブリ(1300)に対してフレーム部(1102)に向かう方向に圧力が加わる。一方、細長い部材(1508)の第1のフレーム部(1102)から離れる方向に向かう移動により、安定化アセンブリ(1300)に対して加わる圧力は低下する。図12はまた、安定化アセンブリ(1300)に組み込まれた一対のスロット(1302)のうちの1つを示す。スロット(1302)は、安定化アセンブリ(1300)の各側部に設けられており、当該スロットが第2のフレーム部(1104)の突出上部を受容することで、安定化アセンブリ(1300)は、細長い部材(1508)によって加えられた力に応答して、フレーム部(1104)に対して横方向に平行移動またはスライドすることが可能となる。
図12はまた、本図において安定化アセンブリ(1300)の頂部に位置し、上方に向かって、若しくはフレーム部(1104)から離れる方向に向かって配向されたインターフェース(1304)を示す。本実施形態では、インターフェース(1304)は星形形状部として構成されているが、別の態様では、別の方法で構成することができる。さらに、神経外科の医療処置などにおいて使用される様々な付属品を選択的にインターフェース(1304)に取り付けることができる。
再び張力付加機構について説明すると、本実施形態の細長い部材(1508)は、本体部(1504)に対して湾曲または屈曲するように構成されている。特に、患者の頭部は、安定化アセンブリ(1200、1300)のピンを当該頭部に接触させることにより、フレーム部(1102、1104)間に位置決め可能である。患者がこのようにピンで固定された位置にあるとき、上述したように細長い部材(1508)は、安定化アセンブリ(1300)に対して力を加えるために、第1のフレーム部(1102)に向かって移動され、また、患者の頭部がピンで固定された位置にあることにより、反対方向の力が細長い部材(1508)に対して加わる。その結果、細長い部材(1508)の本体部(1504)から離れた方向に延長する部分は湾曲または屈曲する。したがって、細長い部材(1508)のこの湾曲または屈曲により、安定化アセンブリ(1300)、そして最終的には患者に接触するピンに対して加えられるばね力または曲げ力が提供されるものであり、このように細長い部材(1508)は、患者に対して用いられるピンの固定力を調整する方法を提供する。
図13を参照すると、本実施形態の張力付加機構(1500)は、さらに、細長い部材(1508)と関連する力インジケーターまたは目盛り(1540)と、インジケーター部材(1542)とを含む。目盛り(1540)は、通常、安定化アセンブリ(1300)に加えられる力に基づいた細長い部材(1508)内部の張力と相関するように構成されている。一般的には、目盛り(1540)は、細長い部材(1508)とインジケーター部材(1542)との間の相対運動を利用して細長い部材(1508)内部の張力を表示するが、この張力は患者に加えられるピン固定力と相関する。本図に示すように、目盛り(1540)は、インジケーター部材(1542)の上部表面に配置された、複数の水平方向に延びる、色分けされた棒線部(1544)によって形成される。
追加的に、細長い部材(1508)は、インジケーター部材(1542)の棒線部(1544)に隣接した傾斜突出部(1546)を含む。傾斜突出部(1546)は、通常、第1のフレーム部(1102)から離れる方向に突出するように角度を成している。それ故に、細長い部材(1508)が湾曲または屈曲すると、細長い部材(1508)の上部とインジケーター部材(1542)の上部のとの間の相対移動によって生じる、細長い部材(1508)の特定の湾曲または屈曲量に応じて、対応する複数の棒線部(1544)が覆われるか若しくは露出する。本明細書の教示から理解されるように、細長い部材(1508)がより大きく湾曲または屈曲すると、細長い部材(1508)により大きな張力が生じ、それにより、より大きなピン固定力が患者に加えられる。したがって、例えば、細長い部材(1508)に比較的大きな張力が加えられた場合、細長い部材(1508)の上部は、インジケーター部材(1542)に対してより長い距離移動するため、傾斜突出部(1546)により多くの棒線部(1544)が覆われることとなる。
上記したように、棒線部(1544)は、細長い部材(1508)内部の張力の量を示すために色分けされている。本実施形態において使用される特定の色分けは、オレンジ色または黄色(低張力)と赤色(高張力)との間のグラデーションである。別の実施形態では、当業者であれば、本明細書の教示に鑑みて自明であるように、その他の適切な色分けを使用することができる。本実施形態では、様々な色の個別の棒線部を使用して示しているが、別の実施形態においては、個別の棒線部を使用せずに連続したグラデーションを用いることができる。追加的または代替的に、番号または記号など、色分けに依存しない符号を使用することができる。また、いくつかの態様では、色分けを使用する代わりに、視覚可能な棒線部の数を使用して張力を表示することができる。
V.曲げ梁および移動自在フレームを備える張力付加機構を有する例示的な代替頭蓋骨用クランプ
図14は、本明細書において明記していない限り、上記で説明したHFD(10、1010)と実質的に類似した代替HFD(2010)を示す。例えば、HFD(10)とともに上記で説明したように、本実施形態のHFD(2010)は、頭蓋骨用クランプの形状または形態を有する。したがって、本実施形態のHFD(2010)は、上記で説明したフレーム(100)と類似したフレーム(2100)を有する。フレーム(2100)は、第1のフレーム部(2102)と、第2のフレーム部(2104)とを含む。フレーム部(2102、2104)は、調整可能に接続でき、それにより当該フレーム部間の間隔が調整される。フレーム部(2102、2104)は安定化アセンブリを受容するように構成された受容部(2106、2108)をそれぞれ含む。図示する態様では、安定化アセンブリ(2200)は、フレーム部(2102)の受容部(2106)によって受容される。さらに、安定化アセンブリ(2300)は、フレーム部(2104)の受容部(2108)によって受容される。
HFD(10、1010)とともに上記で説明したように、本実施形態のHFD(2010)は、さらに、フレーム部(2102、2104)間の相対間隔を調整するように動作可能なフレーム調整機構を含む。いくつかの態様において、フレーム調整機構は、上述したフレーム調整機構(400)またはフレーム調整機構(1400)と同一または類似していてもよい。別の実施形態では、様々な代替フレーム調整機構をHFD(2010)またはHFD(10、1010)に容易に組み込むことができるが、その点については、当業者であれば、本明細書の教示に鑑みて、理解するものと考えられる。
HFD(10)と同様に、本実施形態のHFD(2010)はモジュール設計となっており、受容部(2106、2108)は、単一タイプまたは設計の安定化アセンブリのみを受容するように構成されているのではなく、様々な安定化アセンブリを受容するように構成されている。上述したものと同様に、安定化アセンブリ(2200)および安定化アセンブリ(2300)は、互いに交換可能であるため、安定化アセンブリ(2200)を受容部(2108)に接続し、同様に安定化アセンブリ(2300)を受容部(2106)に接続することができる。このように、安定化アセンブリ(2200、2300)およびHFD(2010)に関連したモジュール方式および互換性は、安定化アセンブリ(200、300)およびHFD(10)に関連して上記で説明した態様と同一または類似した態様で提供される。
図15は、第2のフレーム部(2104)をより詳細に示す。第2のフレーム部(104、1104)とともに上記で説明したように、本実施形態の第2のフレーム部(2104)は、張力付加機構(2500)を含む。本実施形態の張力付加機構(2500)は、HFD(2010)の使用中に安定化アセンブリ(2200)によって患者に加えられる力の量を調整するために使用される。本実施形態の張力付加機構(2500)は、アクチュエータ(2502)と、細長い部材(2508)とを有する。アクチュエータ(2502)は、細長い部材(2508)の位置を調整することで、HFD(2010)の使用中に、接続された安定化アセンブリ(2300)により患者に加えられる力の量を調整するように構成されている。しかしながら、上記で説明したアクチュエータ(1502)とは異なり、本実施形態のアクチュエータ(2502)は、細長い部材(2508)の位置を調整するのみでなく、第2のフレーム部(2104)および細長い部材(2508)の位置を調整することで、細長い部材(2508)の位置を調整する。
図16Aは、アクチュエータ(2502)の構成をより詳細に示す。本実施形態のアクチュエータ(2502)は、通常、本体部(2504)と相互作用して、選択的な本体部(2504)の回転および回転解除を行うように構成されている。以下、より詳細に説明するように、本体部(2504)は、第2のフレーム部(2104)の一部、または当該第2のフレーム部と関連するその他の構成要素と係合するように構成されており、これにより、アクチュエータ(2502)による本体部(2504)の回転を介して、第2のフレーム部(2104)とともに細長い部材(2508)の平行移動が駆動される。
アクチュエータ(2502)と本体部(2504)との間の好適かつ選択的な回転係合は様々な方法で実現できる。一例としてのみ示すが、本実施形態のアクチュエータ(2502)は、細長いロッド(2512)を有するハンドル(2510)を含み、この細長いロッド(2512)は、ハンドル(2510)から第2のフレーム部(2104)の内部に延長する。ハンドル(2510)と反対側の細長いロッド(2512)の端部はキー止め端部(keyed end)(2516)を含む。以下、より詳細に説明するように、通常、キー止め端部(2516)は、アクチュエータ(2502)が所定の位置に平行移動された後、本体部(2504)の一部と係合して、本体部(2504)の回転を提供するように構成されている。
本体部(2504)は、アクチュエータ(2502)との係合のために、アクチュエータ(2502)の細長いロッド(2512)を受容するように構成された中空内部(2520)を含む。中空内部(2520)は、円筒部(2522)と、本体部(2504)の反対側の端部に向かう係合部(2524)を画定する。円筒部(2522)は、通常、その内部でキー止め端部(2516)が自由に回転できるような略円筒形状を画定する。一方、係合部(2524)は、通常、キー止め端部(2516)の形状に対応する形状を画定する。したがって、係合部(2524)は、キー止め端部(2516)を受容してキー止め関係を形成し、これにより、細長いロッド(2512)から本体部(2504)への回転運動の伝達が可能となる。
上述したように、アクチュエータ(2502)は、本体部(2504)に対して所定の長手方向位置にあるとき、本体部(2504)を回転させるように構成されている。したがって、以下、より詳細に説明するように、アクチュエータ(2502)は、選択的に本体部(2504)と係合若しくは係合解除して本体部を回転させるために、1若しくはそれ以上の位置間を移動自在である。アクチュエータ(2502)を本体部(2504)に対して所定の位置に維持するため、アクチュエータの細長いロッド(2512)は、その表面から内部に延びる1若しくはそれ以上の戻り止め形状部(2514)を含む。本実施形態では、細長いロッド(2512)は、当該ロッドの縦軸に沿った3つの位置に位置付けられた3つの半円形刻み目を含む。各戻り止め形状部(2514)は、ばね付勢軸受、ボール、またはその他の弾性機構と係合して、細長いロッド(2512)を当該ロッドの縦軸に沿った所定の位置に解放自在に保持するように構成されている。以下、より詳細に説明するように、この構成により、アクチュエータ(2502)は、当該アクチュエータの動作に対応する、複数の所定位置のうち選択された1つに選択的に固定される。
本体部(2504)は、略円筒形状を画定し、本体部(2504)の外側は雄ねじを含む。以下、より詳細に説明するように、このような雄ねじは、第2のフレーム部(2104)および/または第2のフレーム部(2104)と関連するその他の構成要素を駆動するように構成することができる。本体部(2504)は、フレーム(2100)内の一部分の適切な位置に固定される。特に、フレーム(2100)の下部の内部形状は、本体部(2504)が単一の横方向および長手方向位置に固定されるように形成されている。しかしながら、本体部(2504)は、このように固定されている場合でも、第2のフレーム部(2106)内で回転するように構成されている。
細長い部材(2508)を、図16Aにおいてより詳細に示す。本実施形態の細長い部材(2508)は通常、HFD(2010)の使用中に、接続された安定化アセンブリ(2300)が患者に対して加える力の量を調整するために移動するように構成されている。本図から分かるように、細長い部材(2508)は、本体部(2504)から上方に安定化アセンブリ(2300)に向かって延長する。以下、より詳細に説明するように、細長い部材(2508)の少なくとも一部は、接続された安定化アセンブリ(2300)と接触しており、これにより本体部(2504)からの力を安定化アセンブリ(2300)に伝達する。
細長い部材(2508)は、第2のフレーム部(2104)の一部にピンで固定されている。特に、細長い部材(2508)の下部は、1若しくはそれ以上のピンにより、第2のフレーム部(2104)の下部に固定されている。このため、以下、より詳細に説明するように、第2のフレーム部(2104)が移動すると、少なくとも細長い部材(2508)の下部は当該移動に応じて移動することを理解されたい。
第2のフレーム部(2104)は、その下部に近接してねじ付き穴部(2530)を含む。ねじ付き穴部(2530)は、通常、本体部(2504)を内部に受容して、本体部(2504)の雄ねじと係合するように構成されている。上述したように、通常、本体部(2504)は、フレーム(2100)の下部に対して定位置にある。したがって、ねじ付き穴部(2530)が本体部(2504)を受容することで、第2のフレーム部(2104)は、同様に本体部(2504)により定位置に固定される。細長い部材(2508)の下部は第2のフレーム部(2104)に固定されているため、細長い部材(2508)の下部は、同様に本体部(2504)により定位置に固定される。さらに、以下、より詳細に説明するように、細長い部材(2508)は、本体部(2504)の回転およびねじ付き穴部(2530)のねじと本体部(2504)のねじとの係合により、平行移動するように構成されている。すなわち、本体部(2504)は、第2のフレーム部(2104)の一部および細長い部材(2508)の一部を機械的に固定する一方で、アクチュエータ(2502)からの回転入力により、第2のフレーム部(2104)および細長い部材(2508)を平行移動させる親ねじと同様の構成を有する。
図16Bに示すように、張力付加機構(2500)の調整のため、アクチュエータ(2502)は、まず、第2のフレーム部(2104)から離れる方向に引かれる。この引き運動により、アクチュエータ(2502)は、初期の収容形態から作動形態に移行する。いくつかの実施形態では、アクチュエータ(2502)は、中間形態を有するように構成されていてもよいことを理解されたい。この中間形態において、アクチュエータ(2502)は、張力付加機構(2500)に何ら影響を与えることなく回転自在である。一例としてのみ示すが、このような形態は、操作者がアクチュエータ(2502)を張力付加機構(1500)の調整のために使用する前に、アクチュエータ(2502)の操作位置を調整する上で望ましい。
図16Bに示すように、アクチュエータ(2502)は、作動形態になると、張力付加機構(2500)の調整のために位置合わせされる。図16Cに示すように、アクチュエータ(2502)は、アクチュエータ(1502)が作動形態にあるときに回転され、この回転に応じて本体部(2504)が回転する。本体部(2504)が回転するにつれて、本体部(2504)の外側のねじが、第2のフレーム部(2104)のねじ付き穴部(2530)の内側のねじと係合し、これにより、第2のフレーム部(2104)が本体部(2504)の縦軸に沿って平行移動する。これと同時に、第2のフレーム部(2104)の平行移動によって、この平行移動に応じた、細長い部材(2508)の少なくとも底部の、本体部(2504)の縦軸に沿った平行移動が生じる。
いくつかの実施形態では、第2のフレーム部(2104)内の1若しくはそれ以上の開口部または窓部により、第2のフレーム部(2104)および細長い部材(1508)の平行移動を視覚化することができる。例えば、図14および図15を再び参照すると、第2のフレーム部(2104)は、操作者が第2のフレーム部(2104)および細長い部材(2508)の移動を視覚化できるように構成された開口部(2105)を含む。本実施形態の開口部(2105)は、フレーム(2100)の下部から突出するピンを受容する細長いスロットとして構成されている。したがって、フレーム(2100)の下部のピンが開口部(2105)によって画定された長さに沿って前進することで移動経路全体に沿った第2のフレーム部(2104)および細長い部材(2508)の前進を表示することができる。本実施形態の開口部(2105)は細長いスロットとして構成されているが、別の実施形態では、楕円形または正方形の窓部、透明な区画部など、様々な代替形態を用いることができることを理解されたい。
第2のフレーム部(2104)および細長い部材(2508)の平行移動の方向はアクチュエータ(2502)の回転方向に依存する。本体部(2504)が第2のフレーム部(2104)および細長い部材(2508)を第1のフレーム部(2102)に向かって移動するように回転される場合、張力、すなわち、患者に加えられる力が大きくなる。一方、アクチュエータ(2502)によって本体部(2504)が反対方向に回転され、第1のフレーム部(2102)から離れる方向に第2のフレーム部(2104)および細長い部材(2508)が移動される場合、張力は低下する。
図17に示すように、本体部(2504)と反対側の細長い部材(2508)の端部は、間隔を置いて配置された一対の延長部(2509)を有する。安定化アセンブリ(2300)はこの間隔内に配置され、一対の延長部(2509)とピン結合される。したがって、細長い部材(2508)が、第1のフレーム部(2102)に向かって移動されることにより、安定化アセンブリ(2300)に対してフレーム部(2102)に向かう方向に圧力が加わる。一方、細長い部材(2508)の第1のフレーム部(2102)から離れる方向に向かう移動により、安定化アセンブリ(2300)に対して加わる圧力は低下する。図17はまた、安定化アセンブリ(2300)に組み込まれた一対のスロット(2302)のうちの1つを示す。スロット(2302)は、安定化アセンブリ(2300)の各側部に設けられており、当該スロットが第2のフレーム部(2104)の突出上部を受容することで、第2のフレーム部(2104)は、細長い部材(1508)によって加えられた力に応答して、安定化アセンブリ(2300)に対して横方向に平行移動またはスライドすることが可能となる。
本実施形態の細長い部材(2508)は、本体部(2504)に対して湾曲または屈曲するように構成されている。特に、患者の頭部は、安定化アセンブリ(2200、2300)のピンを当該頭部に接触させることにより、フレーム部(2102、2104)間に位置決め可能である。患者がこのようにピンで固定された位置にあるとき、上述したように細長い部材(2508)は、安定化アセンブリ(2300)に対して力を加えるために、第1のフレーム部(2102)に向かって移動され、また、患者の頭部がピンで固定された位置にあることにより、反対方向の力が細長い部材(2508)に対して加わる。その結果、細長い部材(2508)の本体部(2504)から離れた方向に延長する部分は湾曲または屈曲する。したがって、細長い部材(2508)のこの湾曲または屈曲により、安定化アセンブリ(2300)、そして最終的には患者に接触するピンに対して加えられるばね力または曲げ力が提供されるものであり、このように細長い部材(2508)は、患者に対して用いられるピンの固定力を調整する方法を提供する。
図18を参照すると、本実施形態の張力付加機構(2500)は、さらに、細長い部材(2508)と関連する力インジケーターまたは目盛り(2540)を含む。目盛り(2540)は、通常、安定化アセンブリ(2300)に加えられる力に基づいた細長い部材(2508)内部の張力と相関するように構成されている。一般的には、目盛り(2540)は、細長い部材(2508)と第2のフレーム部(2104)との間の相対運動を利用して細長い部材(2508)内部の張力を表示するが、この張力は患者に加えられるピン固定力と相関する。本図に示すように、目盛り(2540)は、第2のフレーム部(2104)の上部表面に配置された、複数の水平方向に延びる、色分けされた棒線部(2544)によって形成される。
追加的に、細長い部材(2508)は、第2のフレーム部(2104)の棒線部(2544)に隣接した傾斜突出部(2546)を含む。傾斜突出部(1546)は、通常、第1のフレーム部(2102)から離れる方向に突出するように角度を成している。それ故に、細長い部材(2508)が湾曲または屈曲すると、細長い部材(2508)の上部と第2のフレーム部(2104)の上部のとの間の相対移動によって生じる、細長い部材(2508)の特定の湾曲または屈曲量に応じて、傾斜突出部(2546)が移動され、複数の棒線部(2544)のうちの所定の棒線部(2544)と交差する、所定の棒線部(2544)を指し示す、若しくは所定の棒線部(2544)と整合する。本明細書の教示から理解されるように、細長い部材(2508)がより大きく湾曲または屈曲すると、細長い部材(2508)により大きな張力が生じ、それにより、より大きなピン固定力が患者に加えられる。したがって、例えば、細長い部材(2508)に比較的大きな張力が加えられた場合、細長い部材(2508)の上部は、第1のフレーム部(2102)に対してより長い距離移動するため、傾斜突出部(2546)は、目盛り上においてより上方の棒線部(2544)と整合する位置に移動される。
上記したように、棒線部(2544)は、細長い部材(2508)内部の張力の量を示すために色分けされている。本実施形態において使用される特定の色分けは、オレンジ色または黄色(低張力)と赤色(高張力)との間のグラデーションである。別の実施形態では、当業者であれば、本明細書の教示に鑑みて自明であるように、その他の適切な色分けを使用することができる。本実施形態では、様々な色の個別の棒線部を使用して示しているが、別の実施形態においては、個別の棒線部を使用せずに連続したグラデーションを用いることができる。追加的または代替的に、番号または記号など、色分けに依存しない符号を使用することができる。また、いくつかの態様では、色分けを使用する代わりに、視覚可能な棒線部の数を使用して張力を表示することができる。
VI.例示的なロッカーアームロック機構
HFD(1010、2010)の別の特徴は、安定化アセンブリ(1300、2300)のロック機構に関する。図19および図20は、安定化アセンブリ(2300)の断面斜視図を示す。ロック機構および操作性は、安定化アセンブリ(1300)と安定化アセンブリ(2300)とにおいて同一である。簡潔にするため、安定化アセンブリ(2300)を示す図19および図20を参照してロック機構を説明するが、当該説明は、安定化アセンブリ(1300)に対して同様に適用されると理解される。
ここで、図19および図20を参照すると、ロック機構は、安定化アセンブリ(2300)のハウジング(2301)に対するロッカーアームアセンブリ(2316)の選択的な回転調整を可能とする。安定化アセンブリ(2300)は、キーまたは押圧部材(2305)を含むアクチュエータ(2303)と、ピン(2307)と、ばね(2309)と、ばねシート部(2311)と、レバー(2315)とを有する。ロッカーアームアセンブリ(2316)は、ロッカーアーム(2332)とピン結合する保持部(2317)を有する。安定化アセンブリ(2300)は、さらに、ロック部材(2319)を有する。
図19に示す状態において、ロッカーアームアセンブリ(2316)は、ロック状態またはロック位置にある。例えば、保持部(2317)は、本実施形態では、当該保持部の内側に形成された歯車または歯付環状部(2321)を有する。歯付環状部(2321)は、保持部(2317)の内側穴部を通る縦軸を中心に径方向に設けられた複数の歯を有する。すなわち、本実施形態では、歯付環状部(2321)を構成する複数の歯は、保持部(2317)の周面に沿って延長する。ロック状態を達成するために、歯付環状部(2321)は、ロック部材(2319)の歯車または歯付環状部(2323)と係合する。歯付環状部(2321、2323)が係合している状態では、ロッカーアームアセンブリ(2316)は、ハウジング(2301)に対して回転方向に固定されている。
図20は、調整可能またはロック解除状態にあるロッカーアームアセンブリ(2316)を示す。この状態では、歯付環状部(2321、2323)は相互に分離されており、歯付環状部(2321、2323)の対応する歯は係合していない。具体的には、図20に示すように、保持部(2317)は縦軸(LA)を画定し、ロック部材(2319)の歯付環状部(2323)は、保持部(2317)の歯付環状部(2321)からロッカーアーム(2332)に向かってオフセットされている。同様に、このオフセットは、歯付環状部(2321、2323)は、縦軸(LA)に沿って異なる平行移動位置にあるということもできる。図20に示すように、歯付環状部(2321、2323)が係合していない場合は、ロッカーアームアセンブリ(2316)は、ハウジング(2301)に対して回転方向に調整可能である。
安定化アセンブリ(2300)をロックまたはロック解除の状態、若しくは固定または調整可能状態、およびその反対の状態に移動させるために、利用者がキー(2305)を押すと、それによってばね(2309)がシート部(2311)に押し付けられる。キー(2305)は、押圧された状態であるとき、固定差込み部材(2313)に対して平行移動可能である。図22に示すように、キー(2305)が押圧されていない場合、キー(2305)は、差込み部材(2313)のスロット(2314)に係合する突出形状部(2306)を含むため、差込み部材(2313)に対して平行移動方向に固定されている。例えば、図19および図20に示すように、キー(2305)が上昇状態、若しくは押圧されていない場合、キー(2305)は、差込み部材(2313)に対して平行移動方向に固定されている。キー(2305)を、図19および図20に示すいずれかの位置に対応させるために、差込み部材(2313)は2若しくはそれ以上のスロット(2314)を有する。図22に示すように、キー(2305)はまた、複数の突出形状部(2306)を含むことができる。
図19に示す固定状態と図20に示す調整可能状態との間の移動についての実施形態を引き続き説明すると、キー(2305)は、押圧後、ロッカーアーム(2332)に向かって前進または平行移動する。キー(2305)とともに、ピン(2307)、ばね(2309)、シート部(2311)、ロック部材(2319)、およびレバー(2315)が移動する。図19および図20の対比において示すように、レバー(2315)は、ハウジング(2301)とのピン結合部を中心として回転移動し、一方、キー(2305)、ピン(2307)、ばね(2309)、シート部(2311)、およびロック部材(2319)は平行移動する。図20に示す、キー(2305)およびロック部材(2319)の歯付環状部(2323)が前進した状態で、押圧キー(2305)は停止し、ばね(2309)の付勢力により中立位置に復帰する。次に、上述したように、キー(2305)上の突出部材が差込み部材(2313)の対応するスロットと係合してキー(2305)および当該キーの関連構成要素の平行移動位置を固定する。
上述したように、安定化アセンブリ(2300)は、アクチュエータ(2303)が第1の位置と第2の位置との間を移動できるように構成されており、第1の位置においてロッカーアームアセンブリ(2316)は回転方向に固定されており、第2の位置において回転方向に調整可能である。さらに、本態様では、キー(2305)と差込み部材(2313)との係合により、ロッカーアームアセンブリ(2316)を調整または固定のために利用者が押圧位置または平行移動位置にキー(2305)を保持する必要がない。このような構成により、利用者は、安定化アセンブリ(2300)を所望の位置に設定した後、ロッカーアームアセンブリ(2316)の回転位置を固定することが可能となる。追加的に、上述したように、安定化アセンブリを、ロッカーアームアセンブリが調整可能な状態と固定された状態との間で移動する動作は、径方向に配置された歯付環状部(2321、2323)の平行移動によって達成される。
当業者であれば、本明細書の教示を鑑みて、安定化アセンブリ(2300)をその他の方法で構成すること、若しくはロッカーアームアセンブリの回転位置を調整するその他の安定化アセンブリが自明であると考えられる。一例としてのみ示すが、図21は、安定化アセンブリ(1300、2300)の代わりにHFD(1010、2010)ともに使用可能な安定化アセンブリ(3300)を示す。安定化アセンブリ(3300)は、キー(3305)を有するアクチュエータ(3303)、ピン(3307)と、ばね(3309)と、シート部(3311)と、差込み部材(3313)と、レバー(2315)とを有する。安定化アセンブリはまた、歯付環状部(3323)を備えるロック部材(3319)を有し、一方、ロッカーアームアセンブリ(3316)は、歯付環状部(3321)を備える保持部(3317)を有する。これらの構成要素は、図19および図20に示す安定化アセンブリ(2300)と類似した対応構成要素に対して、上記で説明した態様と同様の態様で動作可能である。
しかしながら、安定化アセンブリ(3300)と安定化アセンブリ(2300)は、安定化アセンブリ(3300)の場合、キー(3305)をロッカーアーム(3332)に向かって前進させることによってロック部材(3319)の歯付環状部(3323)を保持部(3317)の歯付環状部(3321)と係合させ、ハウジング(3301)に対してロッカーアームアセンブリ(3316)を固定する点で異なる。これは、安定化アセンブリ(2300)に関連して上記で説明した移動とは逆の移動、または反対方向の移動である。同様に、図21に示すように、安定化アセンブリ(3300)の場合、ロッカーアームアセンブリ(3316)を調整するために、ロック部材(3319)は、ロッカーアーム(3332)から後退、またはロッカーアーム(3332)から離れる方向に平行移動することにより、歯付領域(3321、3323)を係合解除する。
また、当業者であれば、本明細書の教示に鑑みて、関連するロッカーアームアセンブリの回転位置を選択的に調整するロック機構を実現するために、安定化アセンブリ(1300、2300、3300)を変更するその他の方法が自明であると考えられる。
VII.例示的な組み合わせ
以下の実施例は、本明細書の教示を組み合わせる、若しくは適用する非包括的な態様に関する。以下の実施例は、本出願、または本出願の後続出願の任意の時点において提示される任意の特許請求の範囲を限定することを意図するものではないことを理解されたい。また、ディスクレーマーを意図するものではない。以下の実施例は、単に例示目的で提供されているにすぎない。本明細書の様々な教示は、別の多数の異なる態様で構成および適用することができるものと考えられる。また、以下の実施例において言及される特定の構成は、変形実施形態の一部において省略される可能性があると考えられる。したがって、以下言及される観点または特徴のいずれも、本発明者らまたは本発明者らの利益の継承者により後日明示されない限り、必須であると見なされるべきではない。以下の特許請求の範囲に記載の特徴を超える追加の特徴を含む任意の請求項が本出願または本出願に関連する後続出願で提示される場合、そのような追加の特徴が、特許性に関わる任意の理由をもって追加されたものであると見なされるべきではない。
患者を安定させるための装置であって、(a)前記患者と接触するように構成された安定化機構を受容するように構成された安定化アセンブリと、(b)第1の位置において前記安定化アセンブリを受容するように構成された張力付加機構であって、前記張力付加機構は、さらに、前記第1の位置から所定の距離だけ離間された第2の位置を含み、当該第2の位置は前記安定化アセンブリから所定の距離だけ離間されているものであり、前記張力付加機構は、前記第2の位置に配置され、前記安定化アセンブリから離間されたアクチュエータと、前記アクチュエータから前記安定化アセンブリまで延長する細長い部材とを含み、前記アクチュエータは、前記安定化機構が前記患者と接触しているとき、前記アクチュエータは、前記安定化機構が前記患者と接触しているとき、前記細長い部材を前記安定化アセンブリに対して移動させるように構成されており、これにより前記安定化アセンブリによって前記患者に加えられる力の量が調整されるものである、装置。
実施例1記載の装置において、前記細長い部材の少なくとも一部は、前記安定化アセンブリに加えられる力の増加に応じて湾曲するように構成されているものである、装置。
実施例1~2の1若しくはそれ以上に記載の装置において、前記アクチュエータは本体部を有し、回転運動を当該本体部に伝達するように構成されているものであり、前記本体部はねじ山を含む円筒部を有し、当該ねじ山は、前記細長い部材のねじ山と係合して前記細長い部材を前記本体部に対して移動させるように構成されているものである、装置。
実施例1~2の1若しくはそれ以上に記載の装置において、さらに、第1のフレーム部と第2のフレーム部とを有するフレームアセンブリを有し、前記アクチュエータは本体部を有し、回転運動を当該本体部に伝達するように構成されているものであり、前記本体部はねじ山を含む円筒部を有し、当該ねじ山は、前記第2のフレーム部のねじ山と係合して、前記第2のフレーム部および前記細長い部材を前記第1のフレーム部に対して移動させるように構成されているものである、装置。
実施例1~4のうちの1若しくはそれ以上に記載の装置において、前記アクチュエータは、さらに、ロッドと、前記ロッドを前記本体部に対して複数の所定の位置のうちの選択された位置に解放自在に保持するように構成されたロック機構とを有するものである、装置。
実施例1~5のうちの1若しくはそれ以上に記載の装置において、さらに、
前記安定化アセンブリによって前記患者に加えられる力の量を示すように構成された力表示機構を有するものである、装置。
実施例6記載の装置において、前記力表示機構は複数のインジケーターを含み、前記細長い部材は、前記安定化アセンブリによって前記患者に加えられる力の量を示すために前記複数のインジケーターに対して移動自在である、装置。
実施例1~3のうちの1若しくはそれ以上に記載の装置において、さらに、第1のフレーム部と第2のフレーム部とを有するフレームアセンブリを有し、前記第1および第2のフレーム部は互いに対して移動自在であり、これにより前記第1および第2のフレーム部の間の間隔が調整されるものである、装置。
実施例8記載の装置において、前記張力付加機構は、前記安定化アセンブリによって前記患者に加えられる力の量を調整する一方で前記第1および第2のフレーム部の相対位置を維持するように構成されているものであり、これにより前記第1および第2のフレーム部の間の間隔は変化しないものである、装置。
実施例8記載の装置において、前記張力付加機構は、前記安定化アセンブリによって前記患者に加えられる力の量を調整するように構成されており、前記安定化アセンブリによって前記患者に加えられる力の量が調整されるにつれて前記第1および第2のフレーム部の相対位置が変化するものであり、これにより前記第1および第2のフレーム部の間の間隔が変化するものである、装置。
実施例1~2の1若しくはそれ以上に記載の装置において、前記張力付加機構は本体部を有し、前記アクチュエータは、前記細長い部材を前記本体部対して移動させることで力を前記細長い部材に伝達するように構成されているものであり、前記細長い部材は、前記安定化アセンブリによって前記患者に加えられる力の量を調整するために前記力の少なくとも一部を前記安定化アセンブリに伝達するように構成されているものである、装置。
実施例1~3のうちの1若しくはそれ以上に記載の装置において、さらに、第1のフレーム部と第2のフレーム部とを有するフレームアセンブリと、前記張力付加機構によって前記安定化アセンブリに加えられる力を克服するために、前記第1および第2のフレーム部の相対位置を調整するように構成された調整機構とを有するものである、装置。
実施例1~12の1若しくはそれ以上に記載の装置において、前記張力付加機構はトーションロッドを有し、前記トーションロッドに加えられたトルクにより力が前記細長い部材に伝達されるものであり、前記細長い部材が前記力の少なくとも一部を前記安定化アセンブリに伝達することにより、前記安定化アセンブリによって前記患者に加えられる力の量が増加するものである、装置。
実施例1~13のうちの1若しくはそれ以上に記載の装置において、前記張力付加機構は、ねじり動作により前記力の量を前記安定化アセンブリに対して加えるように構成されているものである、装置。
実施例1~14のうちの1若しくはそれ以上に記載の装置において、前記アクチュエータは、前記安定化アセンブリに対して予備張力を提供するように構成されているものである、装置。
実施例1~15のうちの1若しくはそれ以上に記載の装置において、当該装置は2若しくはそれ以上の安定化アセンブリを有するものである、装置。
実施例4~10、および実施例12~16のうちの1若しくはそれ以上に記載の装置において、前記フレームアセンブリはU形状を有するものである、装置。
実施例1~17のうちの1若しくはそれ以上に記載の装置において、前記安定化アセンブリは、近位端部と遠位端部とを画定し、前記遠位端部は前記安定化機構を受容部するように構成されているものであり、前記安定化アセンブリは、さらに、前記近位端部から前記遠位端部に延長する軸を画定するものであり、前記第2の位置に配置された前記アクチュエータは、前記安定化アセンブリによって画定された前記軸とは異なる軸に沿って配置されているものである、装置。
患者を安定させるための装置とともに使用されるように構成された装置であって、この装置は、前記患者を安定させるための装置によって前記患者に加えられる力の量を調整するものであり、(a)第1の端部と第2の端部とを有する第1の本体部であって、前記第1の端部は前記安定化装置の安定化アセンブリと接続するように構成されているものである、前記第1の本体部と、(b)前記第1の本体部に直接的または間接的に接続自在なアクチュエータであって、前記アクチュエータは、前記第1の本体部に加えられるトルクを発生させるように構成されており、前記第1の本体部に対するトルクの増加により、前記第1の本体部の内部の張力が増加するものであり、前記第1の本体部の内部の張力の増加に応じて、前記第1の本体部によって前記安定化アセンブリに加えられる力が増加するものである、前記アクチュエータとを有する装置。
実施例19記載の装置において、前記第1の本体部は剛体である、装置。
実施例19~20の1若しくはそれ以上に記載の装置において、前記トルクが前記第1の本体部に加えられて、当該本体部の内部の張力の増加する間、前記第1の本体部の寸法は一定に維持されるものである、装置。
実施例19~21のうちの1若しくはそれ以上に記載の装置において、当該装置は、前記第2の端部において前記第1の本体部とキー止め接続される第2の本体部を有し、これにより前記第1の本体部および前記2の本体部の相対回転が阻止されるものである、装置。
実施例22記載の装置において、前記第2の本体部および前記第1の本体部は、実質的に互いに垂直方向に配置されているものである、装置。
実施例22~23の1若しくはそれ以上に記載の装置において、前記第2の本体部は剛体である、装置。
実施例22~24のうちの1若しくはそれ以上に記載の装置において、前記アクチュエータは、前記第2の本体部に直接的または間接的に接続自在であり、
前記アクチュエータは、前記第2の本体部に加えられるトルクを発生させ、このトルクが前記第1の本体部に伝達されることにより、前記第1の本体部に加えられるトルクを発生させるように構成されているものであり、これにより前記第1の本体部の内部の張力が増加するものである、装置。
実施例22~25のうちの1若しくはそれ以上に記載の装置において、前記第1の本体部の内部に張力を増加させるトルクが前記第2の本体部に加えられる間、前記第2の本体部の寸法は一定に維持されるものである、装置。
患者を安定させるための装置であって、(a)受容部とこの受容部を通って横方向に延長するピンとを有するフレームと、(b)前記患者と接触するように構成された安定化機構を有する安定化アセンブリであって、選択的に前記受容部に受容されるように構成されているものであり、当該安定化アセンブリはハウジングを有し、このハウジングは、(i)前記ハウジングの近位側に位置するスロットであって、前記フレームの前記受容部を通って横方向に延長する前記ピンを受容するように構成されているものである、前記スロットと、(ii)前記ハウジングに対して第1の位置から第2の位置に移動自在な第1の保持機構であって、前記第1の位置において、前記第1の保持機構により前記フレームの前記ピンが前記ハウジングの前記スロット内に完全に着座することが可能となり、これにより、前記安定化アセンブリは前記フレームの前記受容部内に完全に着座するものであり、前記第2の位置において、前記第1の保持機構により前記受容部内に前記安定化アセンブリが固定されるものである、前記安定化アセンブリとを有する装置。
実施例27記載の装置において、前記ハウジングは、前記ハウジングの遠位側に位置する穴部を有し、当該穴部は、前記安定化機構を選択的に保持するように構成されているものである、装置。
実施例27~28の1若しくはそれ以上に記載の装置において、前記ハウジングは、前記第1の保持機構と接続自在な第1の弾性機構を有し、前記第1の弾性機構は、前記第1の保持機構を前記ハウジング内において前記第2の位置に維持する付勢力を有するものであり、前記第1の保持機構は、前記第1の弾性機構を圧縮することにより、前記第1の位置に移動可能となるものである、装置。
実施例27~29のうちの1若しくはそれ以上に記載の装置において、当該装置は、前記フレームの幅を設定する調整機構を有するものである、装置。
実施例27~29のうちの1若しくはそれ以上に記載の装置において、前記ハウジングは、前記ハウジングの遠位側に位置する穴部を有し、当該装置は、さらに、前記ハウジングの前記穴部に選択的に保持されるアダプタを有し、前記アダプタは、前記安定化機構を選択的に保持するように構成されているものである、装置。
実施例31記載の装置において、前記アダプタは係合機構を有するものである、装置。
実施例31~32の1若しくはそれ以上に記載の装置において、前記ハウジングは、前記ハウジングに対して移動自在な第2の保持機構を有し、前記第2の保持機構は、前記アダプタの前記係合機構と整合および係合するように構成可能であり、前記第2の保持機構と前記アダプタの前記係合機構との係合により、前記アダプタが前記ハウジングの前記穴部内に固定されるものである、装置。
実施例31~33のうちの1若しくはそれ以上に記載の装置において、前記アダプタを前記ハウジングの前記穴部内に固定することにより、前記ハウジングの前記穴部内での前記アダプタの平行移動が阻止される一方、前記アダプタの前記ハウジングに対する回転運動は許容されるものである、装置。
実施例32~34のうちの1若しくはそれ以上に記載の装置において、前記アダプタの前記係合機構は環状溝部を有し、前記第2の保持機構は前記環状溝部内に嵌合する球状部材を有するものである、装置。
実施例33~35のうちの1若しくはそれ以上に記載の装置において、前記ハウジングは、前記第2の保持機構と接続自在な第2の弾性機構を有し、前記第2の弾性機構は、前記第2の保持機構を前記ハウジング内において、前記第2の保持機構と前記アダプタの前記係合機構との係合を維持する延長位置に維持する付勢力を有するものであり、前記第2の保持機構は、前記第2の弾性機構を圧縮して前記アダプタの前記係合機構との係合を解除するように移動可能である、装置。
患者の頭部を安定させるための装置であって、(a)受容部を有するフレームと、(b)前記受容部内に受容されるように構成された安定化アセンブリであって、前記患者の頭部に接触するように構成された1若しくはそれ以上の安定化機構を保持するように構成されているものであり、(i)選択的に回転自在な部材と、(ii)第1の位置と第2の位置との間を長手方向に平行移動するアクチュエータであって、前記第1の位置において、前記選択的に回転自在な部材は回転方向に調整可能であり、前記第2の位置において、前記選択的に回転自在な部材は回転方向に固定されるものであり、前記アクチュエータは、第1の係合機構を有するロック機構を有するものである、前記アクチュエータと、(iii)前記選択的に回転自在な部材と接続自在な保持部であって、前記第1の係合機構と選択的に係合するように構成された第2の係合機構を有し、前記第1および第2の係合機構が長手方向に互いに平行移動して選択的に係合および係合解除することで、前記選択的に回転自在な部材の回転位置を調整または固定するものである、前記保持部とを有する、前記安定化アセンブリとを有する、装置。
実施例37記載の装置において、前記アクチュエータは、第3の位置と第4の位置との間を移動するように構成された押圧部材を有し、前記押圧部材は前記第3の位置に付勢されており、前記押圧部材は、前記第1および第2の位置との間で前記アクチュエータを移動させるために、前記第3の位置から前記第4の位置に移動され、それにより付勢力が克服されるものである、装置。
実施例37~38の1若しくはそれ以上に記載の装置において、前記第1の係合機構を有する前記ロック機構は、前記アクチュエータが前記第1の位置から前記第2の位置に移動されたとき、長手方向において前記選択的に回転自在な部材から離れる方向に移動するものである、装置。
実施例37~38の1若しくはそれ以上に記載の装置において、前記第1の係合機構を有する前記ロック機構は、前記アクチュエータが前記第1の位置から前記第2の位置に移動されたとき、長手方向において前記選択的に回転自在な部材に向かって前進するものである、装置。
実施例37~40の1若しくはそれ以上に記載の装置において、前記第1の係合機構および前記第2の係合機構の各々は、歯付環状形態を有するものである、装置。
実施例38~41の1若しくはそれ以上に記載の装置において、前記選択的に回転自在な部材は、前記アクチュエータが前記第3の位置にあるときに、回転方向に調整可能な状態、または固定状態のいずれかの状態に維持されるものである、装置。
実施例37記載の装置において、前記アクチュエータは、押圧部材と、差込み部材とを有し、前記押圧部材は前記差込み部材と選択的に係合可能であり、前記押圧部材と前記差込み部材との係合により、前記選択的に回転自在な部材は、前記アクチュエータの長手方向における位置に応じて、回転方向に調整可能な状態、または固定状態のうちの選択された1つの状態に維持されるものである、装置。
実施例37~43の1若しくはそれ以上に記載の装置において、利用者は、前記安定化アセンブリの回転方向における調整を行っている間、前記アクチュエータとの接触を維持することなく、前記安定化アセンブリを所望の回転位置に設定することができるものである、装置。
実施例37記載の装置において、前記押圧部材は、前記第3の位置に付勢され、前記第3の位置と第4の位置との間で移動するように構成されているものであり、前記押圧部材は、前記第3の位置において前記差込み部材と係合し、前記第4の位置において前記差込み部材と係合解除するものである、装置。
患者を安定させるための装置とともに使用される安定化アセンブリであって、(a)前記患者に接触するように構成された1若しくはそれ以上の安定化機構を保持するように構成された選択的に回転自在な部材と、(b)第1の位置から第2の位置へ長手方向に互いに平行移動するように構成された一対の係合機構であって、前記第1の位置において、前記一対の係合機構は係合され、前記選択的に回転自在な部材は固定されるものであり、前記第2の位置において、前記一対の係合機構は係合解除され、前記選択的に回転自在な部材は回転方向に調整可能なものである、前記一対の係合機構とを有する、安定化アセンブリ。
患者を安定させるための装置であって、(a)第1の受容部を有するフレームと、(b)1若しくはそれ以上の安定化機構を受容するように構成された第1の安定化アセンブリであって、前記フレームの前記第1の受容部と接続するようにさらに構成されているものであり、(i)前記フレームの前記第1の受容部と接続するハウジングと、(ii)前記ハウジングと接続自在であり、前記1若しくはそれ以上の安定化機構を受容するように構成されたアーム部であって、当該アーム部は、前記ハウジングに対して回転自在である第1の状態となるように構成されており、さらに、前記ハウジングに対して回転可能ではない第2の状態となるように構成されているものである、前記アーム部と、(iii)前記アーム部を前記第2の状態に配置するように構成された第1のアクチュエータと、
(iv)前記アーム部を前記第1の状態に配置するように構成された第2のアクチュエータとを有する、装置。
実施例47記載の装置において、前記第1のアクチュエータは前記ハウジングと接続自在であり、前記アーム部の回転位置を固定するために、前記アーム部に関連する第2の係合機構と接触するように構成された第1の係合機構を有するものである、装置。
実施例48記載の装置において、前記第2のアクチュエータは前記ハウジングと接続自在であり、前記第1のアクチュエータの前記第1の係合機構と前記第2の係合機構との接触を維持するために付勢されているものであり、前記第2のアクチュエータの付勢力を克服することにより、前記第1の係合機構の前記第2の係合機構からの係合解除が可能となり、これにより前記アーム部の回転方向における調整が可能となるものである、装置。
実施例48~49の1若しくはそれ以上に記載の装置において、前記第1のアクチュエータは、第1の係合機構を前記アーム部に関連する第2の係合機構から係合解除するために付勢されているものである、装置。
実施例50記載の装置において、前記第1のアクチュエータの付勢力が克服されることにより、前記第1の係合機構は前記第2の係合機構と係合または接触し、さらに、前記第2の係合機構の付勢が可能となり、前記第1および第2の係合機構の間の係合が維持されるものである、装置。
実施例47~51の1若しくはそれ以上に記載の装置において、前記フレームは、さらに、第2の受容部を有し、当該装置は、前記第2の受容部と接続自在な第2の安定化アセンブリを有するものである、装置。
患者を安定させるための装置であって、(a)第1の部材と第2の部材とを有するフレームであって、前記第1および第2の部材の位置は、前記第1および第2の部材の相対位置が互いに変化するように調整可能である、前記フレームと、(b)前記フレームに接続自在なアクチュエータと、(c)前記アクチュエータと接続自在な第1のロック機構であって、前記アクチュエータは、前記第1のロック機構を第1の位置と第2の位置との間で移動するように構成されており、前記第1の位置において、前記第1のロック機構は、前記フレームの前記第1および第2の部材が互いに離れる方向へ移動することを阻止する摩擦嵌合を提供するものであり、前記第2の位置において、前記第1のロック機構は、前記フレームの前記第1および第2の部材が互いに離れる方向へ移動することを可能とするものである、前記第1のロック機構とを有する、装置。
実施例53記載の装置において、当該装置は、前記患者の頭部を安定させるための頭蓋骨用クランプを有するものである、装置。
実施例53~54の1若しくはそれ以上に記載の装置において、当該装置は、前記第1のロック機構と接触するように構成された第2のロック機構を有するものである、装置。
実施例55記載の装置において、前記第2のロック機構および前記第1のロック機構の一部はそれぞれ傾斜面を有し、前記傾斜面の各々は互いに接触するように構成されているものである、装置。
実施例55~56の1若しくはそれ以上に記載の装置において、前記第1のロック機構が第1の方向に平行移動することにより、前記第1のロック機構は、前記第2のロック機構を前記フレームの一部と接触するように駆動するものである、装置。
患者を安定させるための装置であって、(a)第1の部材と第2の部材とを有するフレームであって、前記第1および第2の部材の位置は、前記第1および第2の部材の相対位置が互いに変化するように調整可能である、前記フレームと、(b)前記フレームに接続自在なアクチュエータと、(c)前記アクチュエータと接続自在な第1のロック機構であって、前記アクチュエータは、前記第1のロック機構を第1の位置と第2の位置との間で移動するように構成されており、前記第1の位置において、前記第1のロック機構は、前記フレームの前記第1および第2の部材が互いに離れる方向へ移動することを阻止する非段階的な嵌合(stepless fit)提供するものであり、前記第2の位置において、前記第1のロック機構は、前記フレームの前記第1および第2の部材が互いに離れる方向へ移動することを可能とするものであり、前記非段階的な嵌合により、前記第1および第2の部材の相対間隔の調整幅を制限なく変化させることが可能となるものである、前記第1のロック機構とを有する、装置。
実施例58記載の装置において、当該装置は、前記患者の頭部を安定させるための頭蓋骨用クランプを有するものである、装置。
実施例58~59の1若しくはそれ以上に記載の装置において、当該装置は、前記第1のロック機構と接触するように構成された第2のロック機構を有するものである、装置。
実施例60記載の装置において、前記第2のロック機構および前記第1のロック機構の一部はそれぞれ傾斜面を有し、前記傾斜面の各々は互いに接触するように構成されているものである、装置。
実施例60~61の1若しくはそれ以上に記載の装置において、前記第1のロック機構が第1の方向に平行移動することにより、前記第1のロック機構は、前記第2のロック機構を前記フレームの一部と接触するように駆動するものである、装置。
VIII.雑則
本明細書に記載した任意の1若しくはそれ以上の教示、表現、実施形態、および実施例等は、本明細書に記載した任意の1若しくはそれ以上の別の教示、表現、実施形態、および実施例等との組み合わせが可能である。したがって、上記で説明した教示、表現、実施形態、および実施例等は、互いに独立したものとして見なすべきではない。当業者であれば、本明細書の教示に鑑みて、当該教示の様々な適切な組み合わせが可能であることは自明である。そのような変更実施形態および変形実施形態は、本特許請求の範囲内に含まれることが意図されている。
本発明の様々な実施形態を図示し、説明してきたが、本発明の範囲から逸脱することなく、当業者が適切な変更を行うことによって本明細書に記載した方法およびシステムのさらなる改良が可能である。そのような可能な変更実施形態の一部について説明してきたが、当業者であれば他の変更実施形態についても自明である。例えば、上記で説明した実施例、実施形態、幾何学的特性、材料、寸法、比率、工程などは例示的なものであり、必須ではない。したがって、本発明の範囲は以下の特許請求の範囲に基づいて考慮されるべきであり、本明細書および図面に図示および記載された構造および作用の詳細に限定されないことを理解されたい。

Claims (25)

  1. 患者を安定させるための装置であって、
    (a)前記患者と接触するように構成された安定化機構を受容するように構成された安定化アセンブリと、
    (b)第1の位置において前記安定化アセンブリを受容するように構成された張力付加機構であって、前記張力付加機構は、さらに、前記第1の位置から所定の距離だけ離間された第2の位置を含み、当該第2の位置は前記安定化アセンブリから所定の距離だけ離間されているものであり、前記張力付加機構は、
    前記第2の位置に配置され、前記安定化アセンブリから離間されたアクチュエータと、
    前記アクチュエータから前記安定化アセンブリまで延長する細長い部材と
    を含み、
    前記アクチュエータは、前記安定化機構が前記患者と接触しているとき、前記細長い部材を前記安定化アセンブリに対して移動させるように構成されており、これにより前記安定化アセンブリによって前記患者に加えられる力の量が調整されるものである、
    前記張力付加機構と
    を有し、
    記細長い部材の少なくとも一部は、前記安定化アセンブリに加えられる力の増加に応じて湾曲するように構成されているものである、装置。
  2. 患者を安定させるための装置であって、
    (a)前記患者と接触するように構成された安定化機構を受容するように構成された安定化アセンブリと、
    (b)第1の位置において前記安定化アセンブリを受容するように構成された張力付加機構であって、前記張力付加機構は、さらに、前記第1の位置から所定の距離だけ離間された第2の位置を含み、当該第2の位置は前記安定化アセンブリから所定の距離だけ離間されているものであり、前記張力付加機構は、
    前記第2の位置に配置され、前記安定化アセンブリから離間されたアクチュエータと、
    前記アクチュエータから前記安定化アセンブリまで延長する細長い部材と
    を含み、
    前記アクチュエータは、前記安定化機構が前記患者と接触しているとき、前記細長い部材を前記安定化アセンブリに対して移動させるように構成されており、これにより前記安定化アセンブリによって前記患者に加えられる力の量が調整されるものである、
    前記張力付加機構と
    を有し、
    記アクチュエータは本体部を有し、前記アクチュエータは回転運動を当該本体部に伝達するように構成されているものであり、
    前記本体部はねじ山を含む円筒部を有し、当該ねじ山は、前記細長い部材のねじ山と係合して前記細長い部材を前記本体部に対して移動させるように構成されているものである、装置。
  3. 患者を安定させるための装置であって、
    (a)前記患者と接触するように構成された安定化機構を受容するように構成された安定化アセンブリと、
    (b)第1の位置において前記安定化アセンブリを受容するように構成された張力付加機構であって、前記張力付加機構は、さらに、前記第1の位置から所定の距離だけ離間された第2の位置を含み、当該第2の位置は前記安定化アセンブリから所定の距離だけ離間されているものであり、前記張力付加機構は、
    前記第2の位置に配置され、前記安定化アセンブリから離間されたアクチュエータと、
    前記アクチュエータから前記安定化アセンブリまで延長する細長い部材と
    を含み、
    前記アクチュエータは、前記安定化機構が前記患者と接触しているとき、前記細長い部材を前記安定化アセンブリに対して移動させるように構成されており、これにより前記安定化アセンブリによって前記患者に加えられる力の量が調整されるものである、
    前記張力付加機構と、
    (c)第1のフレーム部と第2のフレーム部とを有するフレームアセンブリ
    を有し、
    前記アクチュエータは本体部を有し、前記アクチュエータは回転運動を当該本体部に伝達するように構成されているものであり、
    前記本体部はねじ山を含む円筒部を有し、当該ねじ山は、前記第2のフレーム部のねじ山と係合して、前記第2のフレーム部および前記細長い部材を前記第1のフレーム部に対して移動させるように構成されているものである、装置。
  4. 患者を安定させるための装置であって、
    (a)前記患者と接触するように構成された安定化機構を受容するように構成された安定化アセンブリと、
    (b)第1の位置において前記安定化アセンブリを受容するように構成された張力付加機構であって、前記張力付加機構は、さらに、前記第1の位置から所定の距離だけ離間された第2の位置を含み、当該第2の位置は前記安定化アセンブリから所定の距離だけ離間されているものであり、前記張力付加機構は、
    前記第2の位置に配置され、前記安定化アセンブリから離間されたアクチュエータと、
    前記アクチュエータから前記安定化アセンブリまで延長する細長い部材と
    を含み、
    前記アクチュエータは、前記安定化機構が前記患者と接触しているとき、前記細長い部材を前記安定化アセンブリに対して移動させるように構成されており、これにより前記安定化アセンブリによって前記患者に加えられる力の量が調整されるものである、
    前記張力付加機構と、
    (c)第1のフレーム部と第2のフレーム部とを有するフレームアセンブリと
    を有し、
    前記第1および第2のフレーム部は互いに対して移動自在であり、これにより前記第1および第2のフレーム部の間の間隔が調整されるものであり、
    前記張力付加機構は、前記安定化アセンブリによって前記患者に加えられる力の量を調整する一方で前記第1および第2のフレーム部の相対位置を維持するように構成されているものであり、これにより前記第1および第2のフレーム部の間の間隔は変化しないものである、装置。
  5. 請求項2~4のいずれか1つに記載の装置において、前記細長い部材の少なくとも一部は、前記安定化アセンブリに加えられる力の増加に応じて湾曲するように構成されているものである、装置。
  6. 請求項1または4記載の装置において、前記アクチュエータは本体部を有し、前記アクチュエータは回転運動を当該本体部に伝達するように構成されているものであり、
    前記本体部はねじ山を含む円筒部を有し、当該ねじ山は、前記細長い部材のねじ山と係合して前記細長い部材を前記本体部に対して移動させるように構成されているものである、装置。
  7. 請求項3記載の装置において、前記円筒部のねじ山は、前記細長い部材のねじ山と係合して前記細長い部材を前記本体部に対して移動させるように構成されているものである、装置。
  8. 請求項1または2記載の装置において、さらに、
    第1のフレーム部と第2のフレーム部とを有するフレームアセンブリを有し、
    前記アクチュエータは本体部を有し、前記アクチュエータは回転運動を当該本体部に伝達するように構成されているものであり、
    前記本体部はねじ山を含む円筒部を有し、当該ねじ山は、前記第2のフレーム部のねじ山と係合して、前記第2のフレーム部および前記細長い部材を前記第1のフレーム部に対して移動させるように構成されているものである、装置。
  9. 請求項4記載の装置において、
    前記アクチュエータは本体部を有し、前記アクチュエータは回転運動を当該本体部に伝達するように構成されているものであり、
    前記本体部はねじ山を含む円筒部を有し、当該ねじ山は、前記第2のフレーム部のねじ山と係合して、前記第2のフレーム部および前記細長い部材を前記第1のフレーム部に対して移動させるように構成されているものである、装置。
  10. 請求項1または4記載の装置において、
    前記アクチュエータは本体部を有し、前記アクチュエータは回転運動を当該本体部に伝達するように構成されているものであり、
    前記アクチュエータは、さらに、ロッドと、前記ロッドを前記本体部に対して複数の所定の位置のうちの選択された位置に解放自在に保持するように構成されたロック機構とを有するものである、装置。
  11. 請求項2または3記載の装置において、前記アクチュエータは、さらに、ロッドと、前記ロッドを前記本体部に対して複数の所定の位置のうちの選択された位置に解放自在に保持するように構成されたロック機構とを有するものである、装置。
  12. 請求項1~4のいずれか1つに記載の装置において、さらに、
    前記安定化アセンブリによって前記患者に加えられる力の量を示すように構成された力表示機構を有するものである、装置。
  13. 請求項12記載の装置において、前記力表示機構は複数のインジケーターを含み、前記細長い部材は、前記安定化アセンブリによって前記患者に加えられる力の量を示すために前記複数のインジケーターに対して移動自在である、装置。
  14. 請求項1記載の装置において、さらに、
    第1のフレーム部と第2のフレーム部とを有するフレームアセンブリを有し、
    前記第1および第2のフレーム部は互いに対して移動自在であり、これにより前記第1および第2のフレーム部の間の間隔が調整されるものである、装置。
  15. 請求項2記載の装置において、さらに、
    第1のフレーム部と第2のフレーム部とを有するフレームアセンブリを有し、
    前記第1および第2のフレーム部は互いに対して移動自在であり、これにより前記第1および第2のフレーム部の間の間隔が調整されるものである、装置。
  16. 請求項3記載の装置において、前記第1および第2のフレーム部は互いに対して移動自在であり、これにより前記第1および第2のフレーム部の間の間隔が調整されるものである、装置。
  17. 請求項14~16のいずれか1つに記載の装置において、前記張力付加機構は、前記安定化アセンブリによって前記患者に加えられる力の量を調整する一方で前記第1および第2のフレーム部の相対位置を維持するように構成されているものであり、これにより前記第1および第2のフレーム部の間の間隔は変化しないものである、装置。
  18. 請求項14~16のいずれか1つに記載の装置において、前記張力付加機構は、前記安定化アセンブリによって前記患者に加えられる力の量を調整するように構成されており、前記安定化アセンブリによって前記患者に加えられる力の量が調整されるにつれて前記第1および第2のフレーム部の相対位置が変化するものであり、これにより前記第1および第2のフレーム部の間の間隔が変化するものである、装置。
  19. 請求項1~4のいずれか1つに記載の装置において、前記張力付加機構は本体部を有し、
    前記アクチュエータは、前記細長い部材を前記本体部対して移動させることで力を前記細長い部材に伝達するように構成されているものであり、
    前記細長い部材は、前記安定化アセンブリによって前記患者に加えられる力の量を調整するために前記力の少なくとも一部を前記安定化アセンブリに伝達するように構成されているものである、装置。
  20. 請求項1または2記載の装置において、さらに、
    第1のフレーム部と第2のフレーム部とを有するフレームアセンブリと、
    前記張力付加機構によって前記安定化アセンブリに加えられる力を克服するために、前記第1および第2のフレーム部の相対位置を調整するように構成された調整機構と
    を有するものである、装置。
  21. 請求項3または4記載の装置において、さらに、
    前記張力付加機構によって前記安定化アセンブリに加えられる力を克服するために、前記第1および第2のフレーム部の相対位置を調整するように構成された調整機構を有するものである、装置。
  22. 請求項1~4のいずれか1つに記載の装置において、前記張力付加機構はトーションロッドを有し、
    前記トーションロッドに加えられたトルクにより力が前記細長い部材に伝達されるものであり、
    前記細長い部材が前記力の少なくとも一部を前記安定化アセンブリに伝達することにより、前記安定化アセンブリによって前記患者に加えられる力の量が増加するものである、装置。
  23. 請求項1~4のいずれか1つに記載の装置において、前記張力付加機構は、ねじり動作により前記力の量を前記安定化アセンブリに対して加えるように構成されているものである、装置。
  24. 請求項1~4のいずれか1つに記載の装置において、前記アクチュエータは、前記安定化アセンブリに対して予備張力を提供するように構成されているものである、装置。
  25. 請求項1~4のいずれか1つに記載の装置において、前記安定化アセンブリは、近位端部と遠位端部とを画定し、前記遠位端部は前記安定化機構を受容するように構成されているものであり、
    前記安定化アセンブリは、さらに、前記近位端部から前記遠位端部に延長する軸を画定するものであり、
    前記第2の位置に配置された前記アクチュエータは、前記安定化アセンブリによって画定された前記軸とは異なる軸に沿って配置されているものである、装置。
JP2022546336A 2020-01-30 2021-01-29 頭部安定化装置における張力付加機構および使用方法 Active JP7689747B2 (ja)

Priority Applications (1)

Application Number Priority Date Filing Date Title
JP2025084486A JP2025114854A (ja) 2020-01-30 2025-05-21 頭部安定化装置における張力付加機構および使用方法

Applications Claiming Priority (5)

Application Number Priority Date Filing Date Title
US202062967712P 2020-01-30 2020-01-30
US62/967,712 2020-01-30
US202063091572P 2020-10-14 2020-10-14
US63/091,572 2020-10-14
PCT/IB2021/000048 WO2021152399A2 (en) 2020-01-30 2021-01-29 Head stabilization device tensioning feature and method of use

Related Child Applications (1)

Application Number Title Priority Date Filing Date
JP2025084486A Division JP2025114854A (ja) 2020-01-30 2025-05-21 頭部安定化装置における張力付加機構および使用方法

Publications (3)

Publication Number Publication Date
JP2023511742A JP2023511742A (ja) 2023-03-22
JPWO2021152399A5 JPWO2021152399A5 (ja) 2024-01-17
JP7689747B2 true JP7689747B2 (ja) 2025-06-09

Family

ID=74853670

Family Applications (2)

Application Number Title Priority Date Filing Date
JP2022546336A Active JP7689747B2 (ja) 2020-01-30 2021-01-29 頭部安定化装置における張力付加機構および使用方法
JP2025084486A Pending JP2025114854A (ja) 2020-01-30 2025-05-21 頭部安定化装置における張力付加機構および使用方法

Family Applications After (1)

Application Number Title Priority Date Filing Date
JP2025084486A Pending JP2025114854A (ja) 2020-01-30 2025-05-21 頭部安定化装置における張力付加機構および使用方法

Country Status (6)

Country Link
US (3) US12343278B2 (ja)
EP (1) EP4096561A2 (ja)
JP (2) JP7689747B2 (ja)
CN (1) CN115397358A (ja)
BR (1) BR112022014467A8 (ja)
WO (1) WO2021152399A2 (ja)

Families Citing this family (2)

* Cited by examiner, † Cited by third party
Publication number Priority date Publication date Assignee Title
WO2022064275A1 (en) 2020-09-28 2022-03-31 Pro Med Instruments Gmbh Head stabilization device interface and joint assembly
WO2024028625A1 (en) * 2022-08-04 2024-02-08 Pro Med Instruments Gmbh Enhanced imaging head stabilization device

Citations (2)

* Cited by examiner, † Cited by third party
Publication number Priority date Publication date Assignee Title
JP2013144106A (ja) 2012-01-16 2013-07-25 Imris Inc 磁気共鳴とx線による撮像で使用するための頭部クランプ用駆動システム
US20150020817A1 (en) 2012-03-01 2015-01-22 Brainlab Ag Medical head holder

Family Cites Families (5)

* Cited by examiner, † Cited by third party
Publication number Priority date Publication date Assignee Title
WO2000047155A1 (en) * 1999-02-11 2000-08-17 Ohio Medical Instrument Company, Inc. Hinged adaptor assembly for radiolucent table extension
US7544007B2 (en) 2003-03-21 2009-06-09 Integra Lifesciences Corporation Swivel adapter and base unit handle
DE112009001275T5 (de) 2008-06-05 2011-04-14 Dinkler Surgical Devices, Inc., Dayton Kopf-Fixierungsvorrichtung
IN2015DN03776A (ja) * 2012-11-09 2015-10-02 Pro Med Instruments Gmbh
WO2014162212A2 (en) * 2013-03-12 2014-10-09 Pro Med Instruments Gmbh Interchangeable pin holder system and method

Patent Citations (2)

* Cited by examiner, † Cited by third party
Publication number Priority date Publication date Assignee Title
JP2013144106A (ja) 2012-01-16 2013-07-25 Imris Inc 磁気共鳴とx線による撮像で使用するための頭部クランプ用駆動システム
US20150020817A1 (en) 2012-03-01 2015-01-22 Brainlab Ag Medical head holder

Also Published As

Publication number Publication date
US20250288448A1 (en) 2025-09-18
WO2021152399A3 (en) 2021-09-23
US20210236321A1 (en) 2021-08-05
EP4096561A2 (en) 2022-12-07
WO2021152399A2 (en) 2021-08-05
US12343278B2 (en) 2025-07-01
JP2023511742A (ja) 2023-03-22
CN115397358A (zh) 2022-11-25
BR112022014467A8 (pt) 2022-09-20
JP2025114854A (ja) 2025-08-05
BR112022014467A2 (pt) 2022-09-13
US20230201021A1 (en) 2023-06-29

Similar Documents

Publication Publication Date Title
JP2025114854A (ja) 頭部安定化装置における張力付加機構および使用方法
US10682167B2 (en) Low friction rod persuader
US8235997B2 (en) Rod locking instrument
US8959667B2 (en) Head-mountable apparatus
EP3287088B1 (en) Instrument for locking and unlocking a head of a bone anchor in a polyaxial bone anchoring device
US11298172B2 (en) Tensioning instruments
EP2865319B1 (en) Deflectable Access Sheath Handle
US20070270640A1 (en) Endoscope tool coupling
US10085623B2 (en) Bending operation apparatus of endoscope, and endoscope
EP3351192B1 (de) Chirurgisches instrument, insbesondere für die neurochirurgie
US20130123800A1 (en) Surgical Instrument
EP3416570B1 (en) Endoscope tool
CN116473485A (zh) 一种用于内窥镜调整的锁紧装置、内窥镜及锁紧装置
JP7682513B2 (ja) 取り外し可能なトルクアプリケータを備えた頭部安定化装置
CN109077696B (zh) 一种内窥镜及其内窥镜蛇骨调节装置
EP2804799B1 (en) Cable actuators and cable actuated apparatuses and systems
US11497386B2 (en) Control element for an endoscopic apparatus, and endoscopic apparatus comprising a control element of this kind
CN219270847U (zh) 一种用于内窥镜调整的锁紧装置、内窥镜及锁紧装置
JP2025160121A (ja) 局所麻酔用カテーテルアセンブリ
CN219423052U (zh) 一种具有浮动机构的修复装置控制系统
JP2020075702A (ja) 高精度制御される自転車ギアシフト装置および自転車ギアシフト装置におけるギアシフト方法
EP3796848B1 (en) Anchor delivery systems
DE102022125703A1 (de) Kopplungsstation und fernmanipulationssystem
CN118304054A (zh) 一种医疗器械递送系统的控制手柄
JPWO2021152399A5 (ja)

Legal Events

Date Code Title Description
A521 Request for written amendment filed

Free format text: JAPANESE INTERMEDIATE CODE: A523

Effective date: 20240109

A621 Written request for application examination

Free format text: JAPANESE INTERMEDIATE CODE: A621

Effective date: 20240109

A131 Notification of reasons for refusal

Free format text: JAPANESE INTERMEDIATE CODE: A131

Effective date: 20240813

A977 Report on retrieval

Free format text: JAPANESE INTERMEDIATE CODE: A971007

Effective date: 20240816

A601 Written request for extension of time

Free format text: JAPANESE INTERMEDIATE CODE: A601

Effective date: 20241113

A601 Written request for extension of time

Free format text: JAPANESE INTERMEDIATE CODE: A601

Effective date: 20250114

A521 Request for written amendment filed

Free format text: JAPANESE INTERMEDIATE CODE: A523

Effective date: 20250125

TRDD Decision of grant or rejection written
A01 Written decision to grant a patent or to grant a registration (utility model)

Free format text: JAPANESE INTERMEDIATE CODE: A01

Effective date: 20250422

A61 First payment of annual fees (during grant procedure)

Free format text: JAPANESE INTERMEDIATE CODE: A61

Effective date: 20250521

R150 Certificate of patent or registration of utility model

Ref document number: 7689747

Country of ref document: JP

Free format text: JAPANESE INTERMEDIATE CODE: R150