JP7686828B1 - コンクリートフィニッシャ - Google Patents
コンクリートフィニッシャ Download PDFInfo
- Publication number
- JP7686828B1 JP7686828B1 JP2024052036A JP2024052036A JP7686828B1 JP 7686828 B1 JP7686828 B1 JP 7686828B1 JP 2024052036 A JP2024052036 A JP 2024052036A JP 2024052036 A JP2024052036 A JP 2024052036A JP 7686828 B1 JP7686828 B1 JP 7686828B1
- Authority
- JP
- Japan
- Prior art keywords
- concrete
- oscillating
- finishing member
- rail
- finisher
- Prior art date
- Legal status (The legal status is an assumption and is not a legal conclusion. Google has not performed a legal analysis and makes no representation as to the accuracy of the status listed.)
- Active
Links
Images
Landscapes
- On-Site Construction Work That Accompanies The Preparation And Application Of Concrete (AREA)
Abstract
【解決手段】コンクリートフィニッシャ10は、コンクリート70の舗装幅方向の両側の枠部71に移動可能に配置された可動台20と、可動台20を接続するレール30と、レール30に移動可能に設けられコンクリート70を敷き均して仕上げる作業装置40と、作業装置40を移動させる移動機構34と、を備えている。作業装置40は、前後のフレーム48に上下方向に延出して回動可能に設けられた第1の軸51と、この第1の軸51に固定部材53を介して舗装方向前方に向けて揺動可能に設けられコンクリート70を敷き均して仕上げる第1の揺動仕上げ部材52と、この第1の揺動仕上げ部材52の揺動角度を制限する第1の揺動角度制限部材と、を備えている。
【選択図】図1
Description
前記コンクリートの舗装幅方向の両側の枠部に移動可能に配置された可動台と、両側の前記可動台に掛け渡して設けられ前記可動台を接続するレールと、前記レールに移動可能に設けられ前記コンクリートを敷き均して仕上げる作業装置と、前記作業装置を前記レールに沿って移動させる移動機構と、を備え、
前記作業装置は、本体となるフレームと、前記フレームに上下方向に延出して設けられた第1の軸と、前記第1の軸に舗装方向前方に向けて揺動可能に設けられ前記コンクリートを敷き均して仕上げる第1の揺動仕上げ部材と、前記第1の揺動仕上げ部材の揺動角度を制限する第1の揺動角度制限部材と、を備えていることを特徴とする。
前記レールが平面視で舗装幅方向に対して斜めとなるレール角度で配置され、前記レール角度は前記揺動角度よりも小さい。
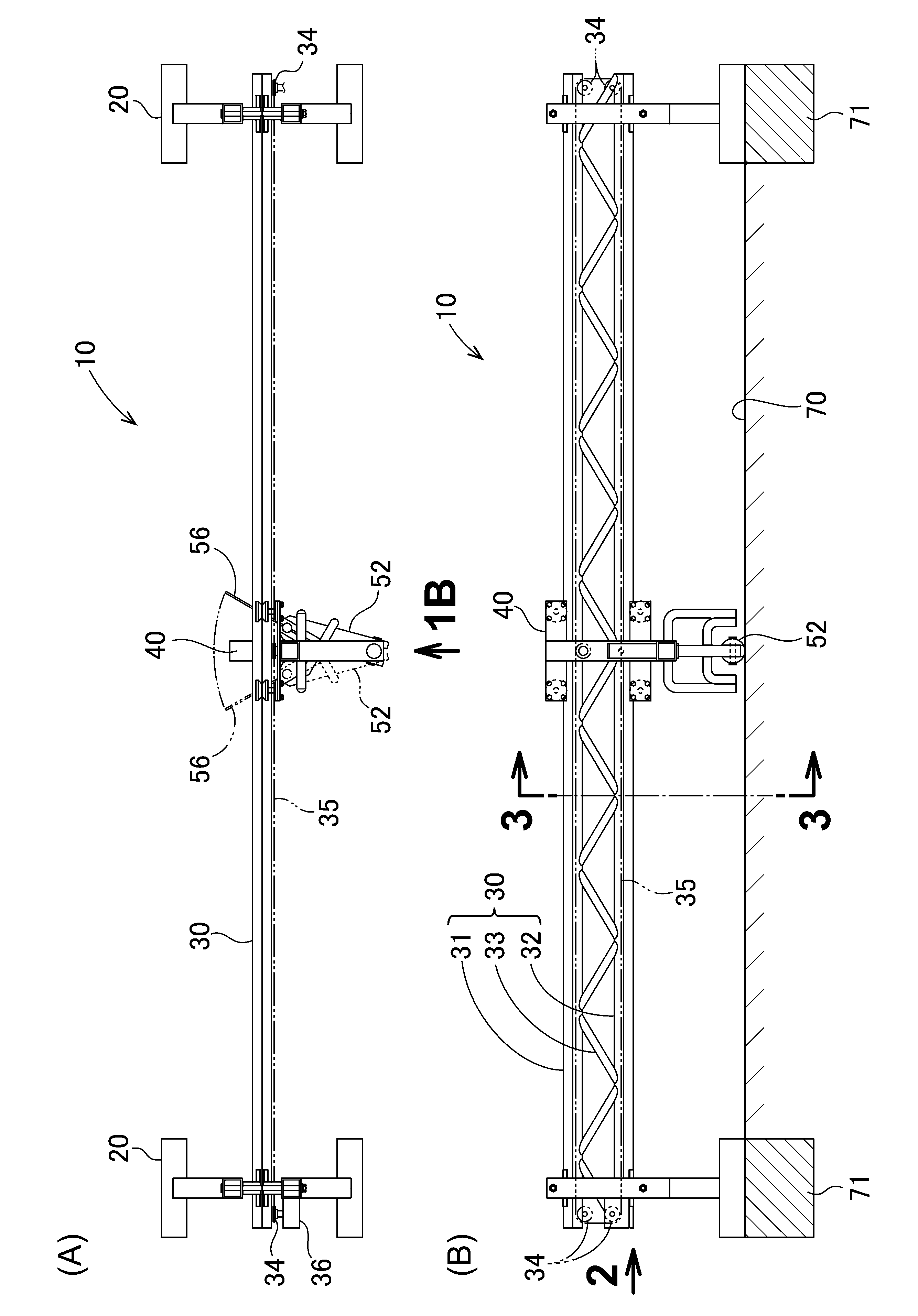
図1、図8に示されるように、例えば道路にコンクリート舗装を施工する場合、道路の舗装幅方向の両端に舗装方向に沿って枠部71が配置されている。なお、枠部71の代わりに角材、縁石、路肩を使用してもよい。道路の両端にある枠部71の上面は、敷き均して仕上げられるコンクリート70の上面より高い位置か同等の位置にあり、両側の枠部71に可動台20がそれぞれ配置され、両側の可動台20にレール30が掛け渡され接続されている。可動台20及びレール30は一体に移動させることができる。また、レール30にコンクリートを敷き均して仕上げる作業装置40が移動可能に設けられている。
図1に示されるように、コンクリートフィニッシャ10は、硬化前のコンクリート70を敷き均して平坦に仕上げる装置である。コンクリートフィニッシャ10は、コンクリート70の舗装幅方向の両側の枠部71に作業者の手によって移動可能に配置された可動台20と、両側の可動台20に掛け渡して設けられ可動台20を接続するレール30と、レール30に移動可能に設けられコンクリート70を敷き均して仕上げる作業装置40と、作業装置40をレール30に沿って移動させる移動機構34と、を備えている。
図1、図2に示されるように、可動台20は、枠部71に配置される2つの設置部21と、設置部21に側面視でハの字状に設けられたハの字部22と、ハの字部22の上部から上方に設けられた柱部23と、2つの柱部23を接続する上下の接続部24とからなる。また、舗装幅方向両側に配置される可動台20のうち、一方の可動台20には、移動機構を構成するモータ36が設けられ、このモータ36の軸にスプロケット34が設けられている。
図1、図2、図4に示されるように、レール30は、可動台20の上部に設けられた上部レール31と、可動台20の上下方向中程に設けられた下部レール32と、上部レール31と下部レール32の間に斜めに設けられた複数の斜め補強部材33と、上部レール31及び下部レール32の幅方向両端部にそれぞれ回転可能に設けられたスプロケット34と、スプロケット34に掛けられたチェーン35と、1つのスプロケット34を駆動させるモータ36と、を備えている。なお、モータ36は、可動台20とレール30のいずれに設けられていてもよい。
図1、図3~図7に示されるように、作業装置40は、レール30を転がり移動可能に設けられたローラー41と、これらのローラー41を回転可能に支持するローラー支持部42と、ローラー支持部42に設けられ本体となる上下のフレーム43と、この上下のフレーム43に回動可能に設けられ上側のチェーン35が掛けられた作業側スプロケット44と、上下のフレーム43に設けられ下側のチェーン35が固定れた固定部45と、上下のフレーム43の下端に前後方向(レール直角方向)に延びて設けられた前後のフレーム48と、を備えている。
移動機構は、レール30の両端部にそれぞれ設けられたスプロケット34、スプロケット34の間に掛けられたチェーン35と、スプロケット34を回転させるモータ36と、作業装置40に設けられチェーン35に固定される固定部45と、を備えている。なお、固定部45は、例えば、固定軸46を備え、この固定軸46をチェーン35の接続部に挿通して、固定部46の先端部をピン47で留める構成である。
図8の下側に示されるように、硬化前のコンクリート70の舗装幅方向の両側に枠部71が配置されている。コンクリートフィニッシャ10は、左の可動台20を左の枠部71に配置し、右の可動台20を右の枠部71に配置している。右の可動台20は左の可動台20よりも舗装方向前方に配置しており、レール30の舗装幅方向に対する右上がりの角度は、例えば10度である。
本発明の実施例では、コンクリートフィニッシャ10は、コンクリート70の舗装幅方向の両側の枠部71に移動可能に配置された可動台20を接続するレール30と、レール30に移動機構を介して移動可能に設けられコンクリート70を敷き均して仕上げる作業装置40と、を備えている。作業装置40は、フレーム43、48に上下方向に延出して設けられた第1の軸51にコンクリート70を敷き均して仕上げる第1の揺動仕上げ部材52が舗装方向前方に向けて揺動可能に設けられているので、作業装置40がレール30上を左右(舗装幅方向)に往復移動するときに第1の揺動仕上げ部材52によって、作業装置40(可動台20及びレール30)前方に供給されたコンクリート30を敷き広げることで、いわゆる左官ゴテでコンクリートを敷き均して仕上げるのと同様にコンクリート70を仕上げることができる。また、第1の揺動仕上げ部材52の揺動角度を制限する第1の揺動角度制限部材54を備えているので、第1の揺動仕上げ部材52がレール30に沿って左右に移動する際に、移動直角方向から移動後方側へ揺動角度を保った状態で移動することで、コンクリート30が仕上げ済みの舗装方向後方ではなく、未仕上げの舗装方向前方に押し出される。このため、作業装置40を舗装幅方向に1回移動させる毎に、可動台20及びレール30を舗装方向前方に少し移動させて再び作業装置40を舗装幅方向に1回移動させてコンクリート70を仕上げる作業を繰り返すことで、コンクリート70全面を綺麗に仕上げることができる。また、コンクリートフィニッシャ10は、2つの可動台20及びレール30と、移動機構により移動する小型の作業装置40とからなるので、装置全体としても小型で構造が簡単であり、大きな動力が不要でコンクリート70を簡便に仕上げ施工できる。
20… 可動台(作業台車)
30… レール(作業台車)
34… スプロケット(移動機構)
35… チェーン(移動機構)
36… モータ(移動機構)
40… 作業装置
43… 上下のフレーム(フレーム)
45… 固定部(移動機構)
48… 前後のフレーム(フレーム)
51… 第1の軸
52… 第1の揺動仕上げ部材(棒状部材)
54… 第1の角度制限部材
55… 第2の軸
56… 第2の揺動仕上げ部材(ブレード)
58… 第2の角度制限部材
70… コンクリート(硬化前のコンクリート)
71… 枠部(角材、縁石、路肩)
Claims (6)
- 硬化前のコンクリートを敷き均して平坦に仕上げるコンクリートフィニッシャであって、
前記コンクリートの舗装幅方向の両側の枠部に移動可能に配置された可動台と、両側の前記可動台に掛け渡して設けられ前記可動台を接続するレールと、前記レールに移動可能に設けられ前記コンクリートを敷き均して仕上げる作業装置と、前記作業装置を前記レールに沿って移動させる移動機構と、を備え、
前記作業装置は、本体となるフレームと、前記フレームに上下方向に延出して設けられた第1の軸と、前記第1の軸に舗装方向前方に向けて揺動可能に設けられ前記コンクリートを敷き均して仕上げる第1の揺動仕上げ部材と、前記第1の揺動仕上げ部材の揺動角度を制限する第1の揺動角度制限部材と、を備えていることを特徴とするコンクリートフィニッシャ。 - 請求項1記載のコンクリートフィニッシャであって、
前記第1の揺動仕上げ部材の前記第1の軸と反対側の位置に上下方向に延出して設けられた第2の軸と、前記第2の軸に揺動可能に設けられ前記コンクリートを敷き均して仕上げる第2の揺動仕上げ部材と、前記第2の揺動仕上げ部材の揺動角度を制限する第2の揺動角度制限部材と、を備えていることを特徴とするコンクリートフィニッシャ。 - 請求項1又は請求項2記載のコンクリートフィニッシャであって、
前記揺動角度制限部材は、前記揺動仕上げ部材の揺動角度を左右それぞれに10度以上20度以下に制限し、
前記レールが平面視で舗装幅方向に対して斜めとなるレール角度で配置され、前記レール角度は前記揺動角度よりも小さいことを特徴とするコンクリートフィニッシャ。 - 請求項1又は請求項2記載のコンクリートフィニッシャであって、
前記第1の揺動仕上げ部材は、棒状部材であることを特徴とするコンクリートフィニッシャ。 - 請求項2記載のコンクリートフィニッシャであって、
前記第2の揺動仕上げ部材は、ブレードであることを特徴とするコンクリートフィニッシャ。 - 請求項1又は請求項2記載のコンクリートフィニッシャであって、
前記移動機構は、前記レールの両端部にそれぞれ設けられたスプロケットと、前記スプロケットの間に掛けられたチェーンと、前記スプロケットを回転させるモータと、前記作業装置に設けられ前記チェーンに固定される固定部と、を備えていることを特徴とするコンクリートフィニッシャ。
Priority Applications (1)
| Application Number | Priority Date | Filing Date | Title |
|---|---|---|---|
| JP2024052036A JP7686828B1 (ja) | 2024-03-27 | 2024-03-27 | コンクリートフィニッシャ |
Applications Claiming Priority (1)
| Application Number | Priority Date | Filing Date | Title |
|---|---|---|---|
| JP2024052036A JP7686828B1 (ja) | 2024-03-27 | 2024-03-27 | コンクリートフィニッシャ |
Publications (2)
| Publication Number | Publication Date |
|---|---|
| JP7686828B1 true JP7686828B1 (ja) | 2025-06-02 |
| JP2025150884A JP2025150884A (ja) | 2025-10-09 |
Family
ID=95895093
Family Applications (1)
| Application Number | Title | Priority Date | Filing Date |
|---|---|---|---|
| JP2024052036A Active JP7686828B1 (ja) | 2024-03-27 | 2024-03-27 | コンクリートフィニッシャ |
Country Status (1)
| Country | Link |
|---|---|
| JP (1) | JP7686828B1 (ja) |
Citations (4)
| Publication number | Priority date | Publication date | Assignee | Title |
|---|---|---|---|---|
| JPH06287910A (ja) * | 1992-05-19 | 1994-10-11 | Maeda Road Constr Co Ltd | 道路舗装装置 |
| JPH08260417A (ja) * | 1995-03-27 | 1996-10-08 | Nippon Hodo Co Ltd | フィニッシングスクリード |
| JPH08333710A (ja) * | 1995-06-09 | 1996-12-17 | Nippon Hodo Co Ltd | コンクリートフィニッシャーの締固め装置の支持構造 |
| JP2023115602A (ja) * | 2022-02-08 | 2023-08-21 | 株式会社Nippo | コンクリート敷均装置及びコンクリート敷均方法 |
-
2024
- 2024-03-27 JP JP2024052036A patent/JP7686828B1/ja active Active
Patent Citations (4)
| Publication number | Priority date | Publication date | Assignee | Title |
|---|---|---|---|---|
| JPH06287910A (ja) * | 1992-05-19 | 1994-10-11 | Maeda Road Constr Co Ltd | 道路舗装装置 |
| JPH08260417A (ja) * | 1995-03-27 | 1996-10-08 | Nippon Hodo Co Ltd | フィニッシングスクリード |
| JPH08333710A (ja) * | 1995-06-09 | 1996-12-17 | Nippon Hodo Co Ltd | コンクリートフィニッシャーの締固め装置の支持構造 |
| JP2023115602A (ja) * | 2022-02-08 | 2023-08-21 | 株式会社Nippo | コンクリート敷均装置及びコンクリート敷均方法 |
Also Published As
| Publication number | Publication date |
|---|---|
| JP2025150884A (ja) | 2025-10-09 |
Similar Documents
| Publication | Publication Date | Title |
|---|---|---|
| CN100432355C (zh) | 地面抹光装置 | |
| US3095789A (en) | Adjustable portable strike-off | |
| EP0756654B2 (en) | Machine for levelling concrete | |
| JP7686828B1 (ja) | コンクリートフィニッシャ | |
| US5190396A (en) | Concrete leveling apparatus | |
| CN216034545U (zh) | 一种用于建筑施工的钢管运输装置 | |
| CN110644748B (zh) | 一种平沙机 | |
| CN202577910U (zh) | 建筑饰面机 | |
| CN210190090U (zh) | 一种预制墙板振动抹平装置 | |
| ITTO960041A1 (it) | Macchina semovente per la stabilizzazione, mediante martellinatura e compattazione, di binari posati su massicciata. | |
| US3256788A (en) | Concrete screeder | |
| KR20190001618U (ko) | 지반 다짐용 장치 | |
| KR101322639B1 (ko) | 경량콘크리트 바닥면 마감장치 | |
| JP7680974B2 (ja) | コンクリート敷均装置及びコンクリート敷均方法 | |
| KR20210002301A (ko) | 건축바닥면에 미장마감되는 슬러지형 모르타르타설 면의 진동고름대 | |
| JP5116648B2 (ja) | コンクリート分配装置 | |
| CN211817772U (zh) | 一种能够避免混凝土开裂的混凝土抹平机 | |
| KR102729727B1 (ko) | 타설 콘크리트의 평탄화 장치 | |
| CN217552641U (zh) | 一种t梁混凝土振平滑台 | |
| KR100283524B1 (ko) | 터널거푸집 이송장치 | |
| JP2017145648A (ja) | インバートコンクリート施工装置 | |
| US8366345B1 (en) | Powered screed machine | |
| CN206859011U (zh) | 支架式行走装置 | |
| CN214866842U (zh) | 一种建筑施工用钢筋快速折弯装置 | |
| CN220335652U (zh) | 一种新型摊铺整平机 |
Legal Events
| Date | Code | Title | Description |
|---|---|---|---|
| A621 | Written request for application examination |
Free format text: JAPANESE INTERMEDIATE CODE: A621 Effective date: 20250222 |
|
| A871 | Explanation of circumstances concerning accelerated examination |
Free format text: JAPANESE INTERMEDIATE CODE: A871 Effective date: 20250222 |
|
| TRDD | Decision of grant or rejection written | ||
| A01 | Written decision to grant a patent or to grant a registration (utility model) |
Free format text: JAPANESE INTERMEDIATE CODE: A01 Effective date: 20250422 |
|
| A61 | First payment of annual fees (during grant procedure) |
Free format text: JAPANESE INTERMEDIATE CODE: A61 Effective date: 20250521 |
|
| R150 | Certificate of patent or registration of utility model |
Ref document number: 7686828 Country of ref document: JP Free format text: JAPANESE INTERMEDIATE CODE: R150 |
