JP7674580B1 - 光線治療器 - Google Patents
光線治療器 Download PDFInfo
- Publication number
- JP7674580B1 JP7674580B1 JP2024186871A JP2024186871A JP7674580B1 JP 7674580 B1 JP7674580 B1 JP 7674580B1 JP 2024186871 A JP2024186871 A JP 2024186871A JP 2024186871 A JP2024186871 A JP 2024186871A JP 7674580 B1 JP7674580 B1 JP 7674580B1
- Authority
- JP
- Japan
- Prior art keywords
- attachment
- light
- attached
- tip portion
- light source
- Prior art date
- Legal status (The legal status is an assumption and is not a legal conclusion. Google has not performed a legal analysis and makes no representation as to the accuracy of the status listed.)
- Active
Links
Images
Landscapes
- Radiation-Therapy Devices (AREA)
Abstract
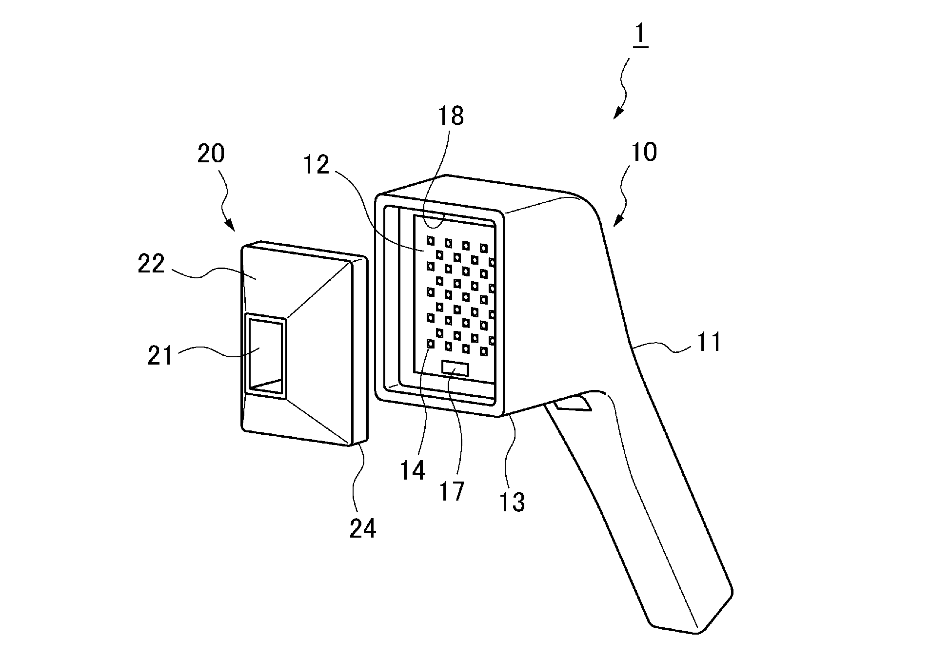
【解決手段】光線治療器1は、治療光を出力する光源14と、治療光を透過して被照射部に照射する照射面12と、照射面12を包囲する先端部13を有し、光源14を収容する筐体11と、先端部13に着脱可能に構成され、開口部21と開口部21の周囲に配置される遮光部22とを有し、先端部13に装着された状態で遮光部22が先端部13から開口部21に向けて先細り形状とされたアタッチメント20と、先端部13に、アタッチメント20が装着されたか否かを認識可能に構成された認識部17と、認識部17による認識結果に応じて光源14を制御する制御部30と、を備える。
【選択図】図1
Description
治療光を出力する光源と、
前記治療光を透過して被照射部に照射する照射面と、
前記照射面を包囲する先端部を有し、前記光源を収容する筐体と、
前記先端部に着脱可能に構成され、開口部と前記開口部の周囲に配置される遮光部とを有し、前記先端部に装着された状態で前記遮光部が前記先端部から前記開口部に向けて先細り形状とされたアタッチメントと、
前記先端部に、前記アタッチメントが装着されたか否かを認識可能に構成された認識部と、
前記認識部による認識結果に応じて前記光源を制御する制御部と、
を備えた光線治療器を提供する。
1)アタッチメント タイプ1:磁石N極(上) 磁石N極(下)
2)アタッチメント タイプ2:磁石N極(上) 磁石S極(下)
3)アタッチメント タイプ3:磁石S極(上) 磁石N極(下)
4)アタッチメント タイプ4:磁石S極(上) 磁石S極(下)
前記治療光を透過して被照射部に照射する照射面(12)と、
前記照射面を包囲する先端部(13)を有し、前記光源を収容する筐体(11)と、
前記先端部に着脱可能に構成され、開口部(21)と前記開口部の周囲に配置される遮光部(22)とを有し、前記先端部に装着された状態で前記遮光部が前記先端部から前記開口部に向けて先細り形状とされたアタッチメント(20)と、
前記先端部に、前記アタッチメントが装着されたか否かを認識可能に構成された認識部(17)と、
前記認識部による認識結果に応じて前記光源を制御する制御部(30)と、
を備えた光線治療器(1)。
(1)に記載の光線治療器。
(1)に記載の光線治療器。
(1)に記載の光線治療器。
(4)に記載の光線治療器。
前記認識部は、前記先端部の一箇所又は異なる複数箇所に設けられた一又は複数の前記磁気センサを含み、前記複数のアタッチメントに設けられた前記マグネットの種類及び取付位置の少なくともいずれか一方に応じて、前記複数のアタッチメントのいずれが装着されたかを認識可能に構成された、
(5)に記載の光線治療器。
設定照射量に応じて前記光源から出力される前記治療光の照射量を算出し、
アタッチメントタイプに応じた、前記光源から出力される前記治療光の減衰率を予め記憶し、
前記認識部が前記アタッチメントの装着を認識した場合、当該アタッチメントの前記アタッチメントタイプに応じた前記減衰率に応じて、前記治療光の照射時間及び前記治療光の出力強度の少なくともいずれか一方を調整することで、前記開口部を介して前記被照射部に照射される前記治療光の照射量が、算出された前記照射量となるように、前記光源を制御する、
(2)に記載の光線治療器。
前記認識部によって、前記アタッチメントが装着されたと認識された場合に、前記複数のLED素子のうち、当該アタッチメントの前記遮光部に対応するLED素子を消灯する、
(1)に記載の光線治療器。
10 本体部
11 筐体
12 照射面
13 先端部
14 光源
17 認識部
18 凹部
20 アタッチメント
21 開口部
22 遮光部
24 端部
25 取付面
26 マグネット
30 制御部
31 算出部
32 記憶部
33 照射量設定部
Claims (7)
- 治療光を出力する光源と、
前記治療光を透過して被照射部に照射する照射面と、
前記照射面を包囲する先端部を有し、前記光源を収容する筐体と、
前記先端部に着脱可能に構成され、開口部と前記開口部の周囲に配置される遮光部とを有し、前記先端部に装着された状態で前記遮光部が前記先端部から前記開口部に向けて先細り形状とされたアタッチメントと、
前記先端部に、前記アタッチメントが装着されたか否かを認識可能に構成された認識部と、
前記認識部による認識結果に応じて前記光源を制御する制御部と、
を備え、
前記制御部は、前記認識結果に応じて、前記治療光の照射時間及び前記治療光の出力強度の少なくともいずれか一方を調整するよう、前記光源を制御し、
前記制御部は、
設定照射量に応じて前記光源から出力される前記治療光の照射量を算出し、
アタッチメントタイプに応じた、前記光源から出力される前記治療光の減衰率を予め記憶し、
前記認識部が前記アタッチメントの装着を認識した場合、当該アタッチメントの前記アタッチメントタイプに応じた前記減衰率に応じて、前記治療光の照射時間及び前記治療光の出力強度の少なくともいずれか一方を調整することで、前記開口部を介して前記被照射部に照射される前記治療光の照射量が、算出された前記照射量となるように、前記光源を制御する、
光線治療器。 - 治療光を出力する光源と、
前記治療光を透過して被照射部に照射する照射面と、
前記照射面を包囲する先端部を有し、前記光源を収容する筐体と、
前記先端部に着脱可能に構成され、開口部と前記開口部の周囲に配置される遮光部とを有し、前記先端部に装着された状態で前記遮光部が前記先端部から前記開口部に向けて先細り形状とされたアタッチメントと、
前記先端部に、前記アタッチメントが装着されたか否かを認識可能に構成された認識部と、
前記認識部による認識結果に応じて前記光源を制御する制御部と、
を備え、
前記光源は、前記照射面に対向して配置された複数のLED素子を含み、
前記認識部によって、前記アタッチメントが装着されたと認識された場合に、前記複数のLED素子のうち、当該アタッチメントの前記遮光部に対応するLED素子を消灯する、
光線治療器。 - 前記認識部は、装着された前記アタッチメントの種別を認識可能に構成された、
請求項1又は2に記載の光線治療器。 - 前記認識部は、前記先端部に対して前記アタッチメントが近接したことを検知することにより、当該アタッチメントが装着されたことを認識可能に構成された、
請求項1又は2に記載の光線治療器。 - 前記認識部は、前記先端部に設けられた磁気センサであり、前記アタッチメントに設けられたマグネットが近接したことを検知することにより、当該アタッチメントが装着されたことを認識可能に構成された、
請求項4に記載の光線治療器。 - 前記先端部は、複数の前記アタッチメントのいずれか一つが選択的に装着可能となるように構成され、
前記認識部は、前記先端部の一箇所又は異なる複数箇所に設けられた一又は複数の前記磁気センサを含み、前記複数のアタッチメントに設けられた前記マグネットの種類及び取付位置の少なくともいずれか一方に応じて、前記複数のアタッチメントのいずれが装着されたかを認識可能に構成された、
請求項5に記載の光線治療器。 - 前記光源は、前記照射面に対向して配置された複数のLED素子を含み、
前記認識部によって、前記アタッチメントが装着されたと認識された場合に、前記複数のLED素子のうち、当該アタッチメントの前記遮光部に対応するLED素子を消灯する、
請求項1に記載の光線治療器。
Priority Applications (1)
| Application Number | Priority Date | Filing Date | Title |
|---|---|---|---|
| JP2024186871A JP7674580B1 (ja) | 2024-10-23 | 2024-10-23 | 光線治療器 |
Applications Claiming Priority (1)
| Application Number | Priority Date | Filing Date | Title |
|---|---|---|---|
| JP2024186871A JP7674580B1 (ja) | 2024-10-23 | 2024-10-23 | 光線治療器 |
Publications (1)
| Publication Number | Publication Date |
|---|---|
| JP7674580B1 true JP7674580B1 (ja) | 2025-05-09 |
Family
ID=95580392
Family Applications (1)
| Application Number | Title | Priority Date | Filing Date |
|---|---|---|---|
| JP2024186871A Active JP7674580B1 (ja) | 2024-10-23 | 2024-10-23 | 光線治療器 |
Country Status (1)
| Country | Link |
|---|---|
| JP (1) | JP7674580B1 (ja) |
Citations (6)
| Publication number | Priority date | Publication date | Assignee | Title |
|---|---|---|---|---|
| US20150272675A1 (en) * | 2012-02-01 | 2015-10-01 | Lumenis Ltd. | Reconfigurable handheld laser treatment systems and methods |
| JP2016533224A (ja) * | 2013-10-17 | 2016-10-27 | セブ ソシエテ アノニム | タッピングフィンガーを装備したマッサージヘッドを持つマッサージ器具 |
| JP2019092859A (ja) * | 2017-11-22 | 2019-06-20 | パナソニックIpマネジメント株式会社 | 光照射型美容装置 |
| CN117257443A (zh) * | 2023-11-07 | 2023-12-22 | 北京友恩特科技有限公司 | 一种可更换治疗头的激光治疗手具 |
| JP2024063771A (ja) * | 2022-10-26 | 2024-05-13 | ヤーマン株式会社 | 肌処理装置 |
| WO2024101365A1 (ja) * | 2022-11-07 | 2024-05-16 | ヤーマン株式会社 | 肌処理装置 |
-
2024
- 2024-10-23 JP JP2024186871A patent/JP7674580B1/ja active Active
Patent Citations (6)
| Publication number | Priority date | Publication date | Assignee | Title |
|---|---|---|---|---|
| US20150272675A1 (en) * | 2012-02-01 | 2015-10-01 | Lumenis Ltd. | Reconfigurable handheld laser treatment systems and methods |
| JP2016533224A (ja) * | 2013-10-17 | 2016-10-27 | セブ ソシエテ アノニム | タッピングフィンガーを装備したマッサージヘッドを持つマッサージ器具 |
| JP2019092859A (ja) * | 2017-11-22 | 2019-06-20 | パナソニックIpマネジメント株式会社 | 光照射型美容装置 |
| JP2024063771A (ja) * | 2022-10-26 | 2024-05-13 | ヤーマン株式会社 | 肌処理装置 |
| WO2024101365A1 (ja) * | 2022-11-07 | 2024-05-16 | ヤーマン株式会社 | 肌処理装置 |
| CN117257443A (zh) * | 2023-11-07 | 2023-12-22 | 北京友恩特科技有限公司 | 一种可更换治疗头的激光治疗手具 |
Similar Documents
| Publication | Publication Date | Title |
|---|---|---|
| CN215351596U (zh) | 皮肤处理设备 | |
| EP2384227B1 (en) | System for administering light therapy | |
| US8870740B2 (en) | System and method for providing light therapy to a subject | |
| EP2384225B1 (en) | System for administering light therapy | |
| KR102320696B1 (ko) | 엘리베이터 버튼 살균 장치 | |
| EP2882491B1 (en) | Phototherapy system that adapts to the position of an infant in neonatal care | |
| US20110257713A1 (en) | System and method for providing light therapy to a subject | |
| JP2022014681A (ja) | 感染防止機能付き生体認証装置 | |
| WO2014037867A1 (en) | System and method to selectively illuminate an infant during phototherapy | |
| JP2013529105A (ja) | 睡眠マスクを用いる効率的な概日系及び間連する系の調節 | |
| WO2014024140A1 (en) | Led-based phototherapy panel capable of fitting in an x-ray cassette tray of an incubator | |
| JP2018512232A (ja) | レーザー照射装置 | |
| JP7674580B1 (ja) | 光線治療器 | |
| EP2535085A1 (en) | Phototherapy device | |
| JP2013236812A (ja) | 光照射装置 | |
| JP3230230U (ja) | Uv殺菌器 | |
| JP2739219B2 (ja) | レーザ治療装置 | |
| JP7780053B1 (ja) | 光線治療器 | |
| US20230330431A1 (en) | Phototherapy | |
| KR20110129788A (ko) | 자외선 조사기 | |
| KR20130094111A (ko) | 휴대용 광 치료기 | |
| JP2022153204A (ja) | 紫外線殺菌装置 | |
| CN113975649A (zh) | 一种光疗装置 | |
| JPWO2024101365A5 (ja) |
Legal Events
| Date | Code | Title | Description |
|---|---|---|---|
| A621 | Written request for application examination |
Free format text: JAPANESE INTERMEDIATE CODE: A621 Effective date: 20241023 |
|
| A871 | Explanation of circumstances concerning accelerated examination |
Free format text: JAPANESE INTERMEDIATE CODE: A871 Effective date: 20241023 |
|
| A131 | Notification of reasons for refusal |
Free format text: JAPANESE INTERMEDIATE CODE: A131 Effective date: 20250107 |
|
| A521 | Request for written amendment filed |
Free format text: JAPANESE INTERMEDIATE CODE: A523 Effective date: 20250228 |
|
| TRDD | Decision of grant or rejection written | ||
| A01 | Written decision to grant a patent or to grant a registration (utility model) |
Free format text: JAPANESE INTERMEDIATE CODE: A01 Effective date: 20250415 |
|
| A61 | First payment of annual fees (during grant procedure) |
Free format text: JAPANESE INTERMEDIATE CODE: A61 Effective date: 20250424 |
|
| R150 | Certificate of patent or registration of utility model |
Ref document number: 7674580 Country of ref document: JP Free format text: JAPANESE INTERMEDIATE CODE: R150 |
