JP7651237B2 - 導光板 - Google Patents

導光板 Download PDF

Info

Publication number
JP7651237B2
JP7651237B2 JP2021058956A JP2021058956A JP7651237B2 JP 7651237 B2 JP7651237 B2 JP 7651237B2 JP 2021058956 A JP2021058956 A JP 2021058956A JP 2021058956 A JP2021058956 A JP 2021058956A JP 7651237 B2 JP7651237 B2 JP 7651237B2
Authority
JP
Japan
Prior art keywords
light
light guide
incident
guide plate
deflection element
Prior art date
Legal status (The legal status is an assumption and is not a legal conclusion. Google has not performed a legal analysis and makes no representation as to the accuracy of the status listed.)
Active
Application number
JP2021058956A
Other languages
English (en)
Other versions
JP2022155627A (ja
Inventor
幸広 長久
研一 笠澄
圭司 杉山
聡 葛原
和博 南
Current Assignee (The listed assignees may be inaccurate. Google has not performed a legal analysis and makes no representation or warranty as to the accuracy of the list.)
Panasonic Automotive Systems Co Ltd
Original Assignee
Panasonic Automotive Systems Co Ltd
Priority date (The priority date is an assumption and is not a legal conclusion. Google has not performed a legal analysis and makes no representation as to the accuracy of the date listed.)
Filing date
Publication date
Application filed by Panasonic Automotive Systems Co Ltd filed Critical Panasonic Automotive Systems Co Ltd
Priority to JP2021058956A priority Critical patent/JP7651237B2/ja
Priority to PCT/JP2022/000017 priority patent/WO2022209106A1/ja
Publication of JP2022155627A publication Critical patent/JP2022155627A/ja
Priority to US18/373,753 priority patent/US20240019621A1/en
Application granted granted Critical
Publication of JP7651237B2 publication Critical patent/JP7651237B2/ja
Active legal-status Critical Current
Anticipated expiration legal-status Critical

Links

Images

Landscapes

  • Instrument Panels (AREA)

Description

本発明は、導光板、および、表示装置に関する。
表示画像の広画角化を図り得る光学装置が開示されている(特許文献1参照)。上記光学装置は、導光板内に複数のホログラム素子を有する。
特開2020-112746号公報
しかしながら、導光板を用いて表示される画像の品質が低下することがある。
そこで、本発明は、表示される画像の品質の低下を抑制する導光板などを提供することを目的とする。
本発明の一態様に係る導光板は、第一導光体と、第二導光体と、入射光に含まれる第一波長成分の光を選択的に偏向することで前記第一導光体に入射させる第一偏向素子と、前記入射光に含まれる第二波長成分の光を選択的に偏向することで前記第二導光体に入射させる第二偏向素子とを備える導光板である。
本発明に係る導光板は、表示される画像の品質の低下を抑制することができる。
図1は、実施の形態に係る表示装置が設置される車両の一例を示す模式図である。 図2は、表示装置の構成を示す模式図である。 図3は、関連技術に係る導光板の構成を示す模式図である。 図4は、実施の形態に係る導光板の構成を示す模式図である。 図5は、実施の形態に係る入射部の構成の第一例を示す模式図である。 図6は、実施の形態に係る入射部の構成の第二例を示す模式図である。 図7は、実施の形態の変形例に係る導光板の構成の第一例を示す模式図である。 図8は、実施の形態の変形例に係る導光板の構成の第二例を示す模式図である。 図9は、実施の形態の変形例に係る導光板の構成の第三例を示す模式図である。
(本発明の基礎となった知見)
車両のウィンドシールド(一般にフロントガラスともよばれる)などの透明板に画像を投影し、透明板の向こう側の景色とともに当該画像を運転者などのユーザに視認させる表示装置がある。このような表示装置は、一般に、ヘッドアップディスプレイ装置ともよばれる。
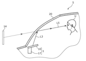
図1は、表示装置1が設置される車両の一例である車両5を示す模式図である。図2は、表示装置1の構成を示す模式図である。
図1に示されるように、車両5は、表示装置1と、ウィンドシールド20とを備える。表示装置1は、例えば、ウィンドシールド20の下部に設置され、上方つまりウィンドシールド20に向けて、画像の表示に係る光(表示光ともいう)を出射する。表示装置1は、例えばダッシュボードの内部に設置される。表示装置1が出射する表示光の光路は確保されており、言い換えれば、出射された表示光は、遮られずにウィンドシールド20に到達する。表示装置1の構成について、より詳しく説明する。
図2に示されるように、表示装置1は、導光板10と、画像生成装置17とを備える。
画像生成装置17は、表示光を生成して導光板10に提供する装置である。画像生成装置17は、例えば、画像生成装置17が有する光源(不図示)から出射された光を、液晶などの画像形成素子に照射することで表示光を生成する。画像生成装置17は、生成した表示光を導光板10に向けて出射する。
導光板10は、画像生成装置17が生成した表示光のビーム幅を拡大しながら偏向する板体である。ここで、ビーム幅とは、光の進行方向に対して垂直な方向における光束の幅を意味する。
導光板10には、画像生成装置17が生成した表示光が入射される。入射された表示光は、導光板10内で導光され、導光板10の外部に光L3として出射される。光L3は、ウィンドシールド20により反射されて光L5となり、ユーザUの眼に入射する。導光板10は、光L3がウィンドシールド20に向けて出射される位置および姿勢で設置されている。
導光板10による表示光のビーム幅の拡大と偏向とは、導光板10が有する複数の回折素子を用いてなされる。そのため、導光板10が有する複数の回折素子それぞれは、表示光を適切な方向に回折する回折特性を有し、また、適切な寸法を有している。
ユーザUは、表示光である光L5が目に入射したことにより、画像生成装置17が生成した画像を視認する。ユーザUは、表示光である光L5によって視認する画像を、ウィンドシールド20の向こう側に位置する虚像14として認識する。
導光板10が有する上記の機能は、凹面鏡などの光学部材によっても実現され得る。ただし、凹面鏡などの光学部材によって実現する場合よりも、導光板10を用いるほうが、表示装置1の寸法を小さくすることができる利点がある。表示装置1は、車両5の例えばダッシュボード内部に設置されるので、寸法を小さくすることで、設置の自由度がより高くなる利点がある。
しかしながら、導光板10を用いて表示される画像の品質が低下することがある。具体的には、導光板10が複数の導光体を用いて複数の波長の光を導光する場合に、光の強度の低下、または、迷光の発生により、表示装置1によって表示される画像の品質が低下することがある。
以降において、光の強度の低下、または、迷光の発生による表示画像の品質の低下について詳しく説明する。このような表示画像の品質の低下を生じさせる導光板を導光板90と称する。
図3は、関連技術に係る導光板90の構成を示す模式図である。図3の(a)は、導光板90を上面視した場合、つまり、Z軸プラス方向から見た構成を示す図である。図3の(b)は、導光板90を側面視した場合、つまり、Y軸マイナス方向から見た場合の構成を示す図である。図3の(c)は、導光板90を側面視した場合、つまり、X軸プラス方向から見た場合の構成を示す図である。
図3の(b)および(c)に示されるように導光板90は、導光体90A、90Bおよび90C(導光体90A等ともいう)を備える。導光体90A等は、互いに平行する姿勢で配置されており、上面視において重なる位置に配置されている。また、導光体90A等は、上面視において同じ形状、例えば矩形形状を有するが、これに限定されない。
図3の(a)は、上記導光体90A等のうち導光体90Aのみを示すものである。導光体90Bおよび90Cについても図3の(a)と同様の説明が成立する。
図3に示されるように、導光体90Aは、透明部材15を有し、透明部材15の内部または表面にホログラム素子91A、12Aおよび13A(ホログラム素子91A等ともいう)を有する板体である。導光体90Aは、入射された光L1を導光体90A内部で全反射によって導光し、また、ホログラム素子91A等による回折によって偏向された光を、導光体90Aの外部に光L3Aとして出射する。透明部材15は、ガラスまたはアクリル樹脂などで構成されている。
導光体90Aに入射される光L1は、Y軸プラス方向およびZ軸プラス方向に進行する光である。光L1は、画像生成装置17が生成した表示光であることが想定され、この場合、複数の波長成分の光(例えば、赤色、緑色および青色の波長成分の光)を含む。導光体90Aは、表示装置1の使用状態(つまり、表示装置1が図2に示されるように設置された状態)において、図3に示されるような適切な角度で光L1が入射される位置および姿勢で設置されている。
ホログラム素子91Aは、導光体90Aの内部または表面に配置されている回折素子である。ホログラム素子91Aは、導光体90Aの外部から内部へ入射した光L1を回折によって偏向することで、導光体90Aの内部で伝搬させる。ホログラム素子91Aは、上面視において直線状の干渉縞が形成されており、干渉縞による回折によって光L1を偏向し、光L12AおよびLAとする。光L12Aは、X軸マイナス方向へ進行する光であって、特定の周波数成分の光(例えば、赤色に相当する周波数成分の光)である。光L12Aは、透明部材15と空気との界面で全反射を繰り返すことで導光体90A内部をX軸マイナス方向へ伝搬する。
ホログラム素子91Aに形成されている干渉縞は、光L12Aが透明部材15と空気との界面で全反射をするように光L1を偏向させる干渉縞である。上記干渉縞は、具体的には、界面への光L12Aの入射角が臨界角より大きい状態を保つように、光L1を偏向させる。
また、光LAは、X軸マイナス方向へ進行する光であって、上記特定の周波数成分以外の周波数成分の光(例えば、青色および緑色に相当する周波数成分の光)である。光LAは、光L1がホログラム素子91Aにより回折された際に、周波数ごとに回折角がばらつくことに起因して生ずる光である。光LAは、上記干渉縞によって回折された場合、透明部材15と空気との界面で全反射をする場合もあればしない場合もあり、迷光となる。
ホログラム素子12Aは、導光体90Aの内部または表面に配置されている回折素子である。ホログラム素子12Aは、ホログラム素子91Aによって偏向された光L12Aを、回折によって偏向することで、導光体90Aの内部で伝搬させる。ホログラム素子12Aは、上面視において直線状の干渉縞が形成されており、干渉縞による回折によって光L12Aを偏向し、光L23Aとする。光L23Aは、Y軸プラス方向へ進行する光である。光L23Aは、透明部材15と空気との界面で全反射を繰り返すことで導光体90A内部をY軸プラス方向へ伝搬する。
ホログラム素子12Aに形成されている干渉縞は、光L23Aが透明部材15と空気との界面で全反射をするように光L12Aを偏向させる干渉縞である。上記干渉縞は、具体的には、界面への光L23Aの入射角が臨界角より大きい状態を保つように、光L12Aを偏向させる。
ホログラム素子13Aは、導光体90Aの内部または表面に配置されている回折素子である。ホログラム素子13Aは、ホログラム素子12Aによって偏向された光L23Aを、回折によって偏向することで、導光体90Aの外部へ出射させる。ホログラム素子13Aは、上面視において直線状の干渉縞が形成されており、干渉縞による回折によって光L23Aを偏向し、光L3Aとする。光L3Aは、Y軸プラス方向およびZ軸プラス方向へ進行する光である。
ホログラム素子13Aに形成されている干渉縞は、光L3Aが透明部材15と空気との界面で、全反射せずに、光L3Aが導光体90Aから出射するように光L23Aを偏向させる干渉縞である。上記干渉縞は、具体的には、界面への光L3Aの入射角が臨界角より小さい状態を保つように、光L23Aを偏向させる。
導光体90Aは、表示装置1の使用状態で、出射する光L3Aがウィンドシールド20に向かう位置および姿勢で設置されている。
導光体90Bについても導光体90Aと同様である。導光体90Bには、ホログラム素子91Aを透過した光L1Bが入射する。導光体90Bは、入射した光L1Bを偏向し、その特定の周波数成分の光(例えば、緑色に相当する周波数成分の光)をホログラム素子91B、12Bおよび13Bによって順次に回折して光L3Bを出射する。その際、導光体90Bは、迷光となる光LBを発生させる。
導光体90Cについても導光体90Aと同様である。導光体90Cには、ホログラム素子91Bを透過した光L1Cが入射する。導光体90Cは、入射した光L1Cを偏向し、その特定の周波数成分の光(例えば、青色に相当する周波数成分の光)をホログラム素子91C、12Cおよび13Cによって順次に回折して光L3Cを出射する。その際、導光体90Cは、迷光となる光LCを発生させる。
光L3A、L3BおよびL3Cは、光L3となり導光板90から出射される。導光板90から出射された後にウィンドシールド20による反射を経てユーザUの眼に入射する。
ここで、光L1Bは、ホログラム素子91Aにより回折された光であるので、光L1Bの強度は、光L1の強度より低い。また、光L1Cは、ホログラム素子91Aおよび91Bにより回折された光であるので、光L1の強度より低い。そのため、光L3の強度は光L1の強度より低下している。さらに、光L1がホログラム素子91Aおよび91Bにより回折される際に、迷光である光LA、LBおよびLCが発生する。
このようにして、導光板90が、入射した光L1を回折する際に、光の強度の低下、または、迷光の発生による表示画像の品質の低下が発生する。
そこで、本発明は、表示される画像の品質の低下を抑制する導光板などを提供することを目的とする。
本発明の一態様に係る導光板は、第一導光体と、第二導光体と、入射光に含まれる第一波長成分の光を選択的に偏向することで前記第一導光体に入射させる第一偏向素子と、前記入射光に含まれる第二波長成分の光を選択的に偏向することで前記第二導光体に入射させる第二偏向素子とを備える導光板である。
上記態様によれば、導光板は、入射光に含まれる2つの波長成分の光それぞれを、偏向素子によって選択的に偏向することで2つの導光体それぞれに入射させるので、光の強度の低下、および、迷光の発生を抑制することができる。このように、導光板は、表示される画像の品質の低下を抑制することができる。
また、前記第一偏向素子は、前記入射光に含まれる前記第一波長成分の光を選択的に反射することで前記第一導光体に入射させ、前記入射光に含まれる前記第一波長成分以外の光を透過し、前記第二偏向素子は、前記入射光に含まれる前記第二波長成分の光を選択的に反射することで前記第二導光体に入射させ、前記入射光に含まれる前記第二波長成分以外の光を透過してもよい。
上記態様によれば、導光板は、入射光に含まれる2つの波長成分の光それぞれを偏向素子による反射を用いて2つの導光体それぞれに入射させるので、光の強度の低下、および、迷光の発生を抑制することができる。このように、導光板は、表示される画像の品質の低下を抑制することができる。
また、前記第一波長成分は、赤色に相当する波長成分であり、前記第二波長成分は、緑色に相当する波長成分と青色に相当する波長成分とであってもよい。
上記態様によれば、導光板は、赤色に相当する波長成分を第一導光体に入射させるとともに、緑色および青色に相当する波長成分を第二導光体に入射させることで、赤色、緑色および青色の3つの波長成分を含む光を導光し、上記3つの波長成分を含むフルカラーの表示画像を表示することに寄与する。よって、導光板は、フルカラーの表示画像の品質の低下をより一層抑制することができる。
また、前記導光板は、さらに、前記第一偏向素子と前記第二偏向素子とを内部に有する透明部材を備えてもよい。
上記態様によれば、導光板は、透明部材が光を透過させながら偏向素子を支持するので、偏向素子の位置をより高い精度で適切な位置に維持することができ、その結果、偏向素子が偏向した光の光路をより適切に維持することができる。この効果は、振動がある環境に導光板が配置される場合には、特に顕著である。これにより、偏向素子の位置が変化することによる光の光路のずれを抑制し、表示される画像の品質の低下を抑制することができる。よって、導光板は、表示される画像の品質の低下をより一層抑制することができる。
また、前記導光板は、さらに、第三導光体と、前記入射光に含まれる第三波長成分の光を前記第三導光体に入射させる第三偏向素子とを備えてもよい。
上記態様によれば、導光板は、入射光に含まれる3つの波長成分の光それぞれを、偏向素子によって選択的に偏向することで3つの導光体それぞれに入射させるので、光の強度の低下、および、迷光の発生を抑制することができる。このように、導光板は、表示される画像の品質の低下を抑制することができる。
また、前記第三偏向素子は、前記入射光に含まれる前記第三波長成分の光を選択的に偏向することで、前記第三導光体に入射させてもよい。
上記態様によれば、導光板は、入射光に含まれる3つの波長成分の光それぞれを偏向素子による反射を用いて3つの導光体それぞれに入射させるので、光の強度の低下、および、迷光の発生を抑制することができる。このように、導光板は、表示される画像の品質の低下を抑制することができる。
また、前記第一導光体は、前記第一導光体により導光された光を前記入射光が入射された面と反対側の面から出射し、前記第二導光体は、前記第二導光体により導光された光を前記入射光が入射された面と反対側の面から出射してもよい。
上記態様によれば、導光板は、入射光が入射する面と反対側の面に光を出射するので、入射光を出射する機材(例えば画像生成装置に相当)と、出射した光を受ける機材(例えばウィンドシールドに相当)とが、当該導光板に対して反対側に存在する場合に、両機材の間で適切に光を導光することができる。よって、導光板は、光を適切に導光しながら、表示される画像の品質の低下を抑制することができる。
また、前記第一導光体は、前記第一導光体により導光された光を前記入射光が入射された面と同じ側の面から出射し、前記第二導光体は、前記第二導光体により導光された光を前記入射光が入射された面と同じ側の面から出射してもよい。
上記態様によれば、導光板は、入射光が入射する面と同じ側の面に光を出射するので、入射光を出射する機材(例えば画像生成装置に相当)と、出射した光を受ける機材(例えばウィンドシールドに相当)とが、当該導光板に対して同じ側に存在する場合に、両機材の間で適切に光を導光することができる。よって、導光板は、光を適切に導光しながら、表示される画像の品質の低下を抑制することができる。
また、本発明の一態様に係る表示装置は、上記の導光板と、画像を示す光を生成して前記導光板に入射させる画像生成装置とを備える表示装置である。
上記態様によれば、表示装置は、導光板を用いて、表示される画像の品質の低下を抑制することができる。
以下、実施の形態について、図面を参照しながら具体的に説明する。
なお、以下で説明する実施の形態は、いずれも包括的または具体的な例を示すものである。以下の実施の形態で示される数値、形状、材料、構成要素、構成要素の配置位置及び接続形態、ステップ、ステップの順序などは、一例であり、本発明を限定する主旨ではない。また、以下の実施の形態における構成要素のうち、最上位概念を示す独立請求項に記載されていない構成要素については、任意の構成要素として説明される。
(実施の形態)
本実施の形態において、表示される画像の品質の低下を抑制する導光板および表示装置について説明する。本実施の形態の導光板および表示装置は、車両のウィンドシールドに、画像を投影することで表示する表示装置である。以降の説明において、図に示されるXYZ軸を用いて説明することがある。
図4は、本実施の形態に係る導光板10の構成を示す模式図である。図4の(a)は、導光板10を上面視した場合、つまり、Z軸プラス方向から見た構成を示す図である。図4の(b)は、導光板10を側面視した場合、つまり、Y軸マイナス方向から見た場合の構成を示す図である。図4の(c)は、導光板10を側面視した場合、つまり、X軸プラス方向から見た場合の構成を示す図である。
図4に示されるように、導光板10は、入射部10Eと、導光体10A、10Bおよび10C(導光体10A等ともいう)とを備える。導光体10A等は、互いに平行する姿勢で配置されており、上面視において重なる位置に配置されている。また、導光体10A等は、上面視において同じ形状、例えば矩形形状を有するが、これに限定されない。
図4の(a)は、上記導光体10A等のうち導光体10Aのみを示すものである。導光体10Bおよび10Cについても図4の(a)と同様の説明が成立する。
図4に示されるように、導光体10Aは、透明部材15を有し、透明部材15の内部または表面にホログラム素子12Aおよび13A(ホログラム素子12A等ともいう)を有する板体である。導光体10Aは、入射された光L1を導光体10A内部で全反射によって導光し、また、ホログラム素子12A等による回折によって偏向された光を、導光体10Aの外部に光L3Aとして出射する。透明部材15は、ガラスまたは樹脂などで構成されている。
入射部10Eに入射される光L1は、Y軸プラス方向およびZ軸プラス方向に進行する光である。光L1は、画像生成装置17が生成した表示光であることが想定される。導光板10は、表示装置1の使用状態(つまり、表示装置1が図2に示されるように設置された状態)において、図4に示されるような適切な角度で光L1が入射部10Eに入射される位置および姿勢で設置されている。
入射部10Eは、偏向素子30A、30Bおよび30C(偏向素子30A等ともいう)を有する。入射部10Eは、光L1を偏向素子30A等によって偏向して導光体10A等に入射させる。入射部10Eは、光L1の進行方向において導光体10A等が存在している範囲を包含する幅を有する柱状体(例えば直方体)である。
偏向素子30Aは、入射光に含まれる所定の波長成分(第一波長成分ともいう)の光を導光体10Aに入射させる偏向素子である。偏向素子30Aは、入射光に含まれる第一波長成分の光を選択的に偏向することで導光体10Aに入射させる。より具体的には、偏向素子30Aは、入射光に含まれる第一波長成分の光を選択的に反射することで導光体10Aに入射させ、また、入射光に含まれる第一波長成分以外の光を透過する偏向素子である。偏向素子30Aは、波長選択式ミラー(ダイクロイックミラー)により実現され得る。
偏向素子30Aは、導光板10の外部から内部へ入射した光L1を偏向することで光L12Aとし、導光体10Aの内部で伝搬させる。光L12Aは、X軸マイナス方向へ進行する光である。光L12Aは、透明部材15と空気との界面で全反射を繰り返すことで導光体10A内部をX軸マイナス方向へ伝搬する。偏向素子30Aは、界面への光L12Aの入射角が臨界角より大きくなるように、光L1を偏向させる。
偏向素子30Bは、入射光に含まれる所定の波長成分(第二波長成分ともいう)の光を導光体10Bに入射させる偏向素子である。偏向素子30Bは、入射光に含まれる第二波長成分の光を選択的に偏向することで導光体10Bに入射させる。より具体的には、偏向素子30Bは、入射光に含まれる第二波長成分の光を選択的に反射することで導光体10Bに入射させ、また、入射光に含まれる第二波長成分以外の光を透過する偏向素子である。偏向素子30Bは、波長選択式ミラー(ダイクロイックミラー)により実現され得る。第二波長成分は、第一波長成分とは異なる。
偏向素子30Bは、偏向素子30Aを透過した光L1Bを偏向することで光L12Bとし、導光体10Bの内部で伝搬させる。光L12Bは、X軸マイナス方向へ進行する光である。光L12Bは、透明部材15と空気との界面で全反射を繰り返すことで導光体10B内部をX軸マイナス方向へ伝搬する。偏向素子30Bは、界面への光L12Bの入射角が臨界角より大きくなるように、光L1Bを偏向させる。
偏向素子30Cは、入射光に含まれる所定の波長成分(第三波長成分ともいう)の光を導光体10Cに入射させる偏向素子である。偏向素子30Cは、入射光に含まれる第三波長成分の光を選択的に偏向することで導光体10Cに入射させる。より具体的には、偏向素子30Cは、入射光に含まれる第三波長成分の光を反射することで導光体10Cに入射させ、また、入射光に含まれる第三波長成分以外の光を透過する偏向素子である。偏向素子30Cは、波長選択式ミラー(ダイクロイックミラー)により実現され得る。第三波長成分は、第一波長成分および第二波長成分のいずれとも異なる。
偏向素子30Cは、偏向素子30Bを透過した光L1Cを偏向することで光L12Cとし、導光体10Cの内部で伝搬させる。光L12Cは、X軸マイナス方向へ進行する光である。光L12Cは、透明部材15と空気との界面で全反射を繰り返すことで導光体10C内部をX軸マイナス方向へ伝搬する。偏向素子30Cは、界面への光L12Cの入射角が臨界角より大きくなるように、光L1Cを偏向させる。
偏向素子30A等は、反射または透過によって、言い換えれば回折を用いないで、光L1、L1BおよびL1Cを偏向するので、周波数ごとの回折角のばらつきが生ずることがない。そのため、図3における迷光である光LA、LBおよびLCに相当する光が発生しない。
導光体10Aは、ホログラム素子12Aおよび13Aを備える。導光体10Bは、ホログラム素子12Bおよび13Bを備える。導光体10Cは、ホログラム素子12Cおよび13Cを備える。
ホログラム素子12A、12B、12C、13A、13B、および、13Cは、それぞれ、導光板90が備える同名のホログラム素子と同じであり、導光板90における場合と同様に、光L3の出射に寄与する。
導光板10は、表示装置1の使用状態で、出射する光L3がウィンドシールド20に向かう位置および姿勢で設置されている。光L3は、導光板10から出射された後にウィンドシールド20による反射を経てユーザUの眼に入射する。
なお、導光板10に入射する光L1が複数の波長成分を含んでいるとして説明したが、複数の波長成分それぞれを個別に含む複数の入射光が導光板10に入射する場合にも、本構成が適用され得る。その場合、偏向素子30A、30Bおよび30Cが、それぞれ、図4に示される角度で導光体10A、10B、および、10Cに光L12A、L12BおよびL12Cを入射させる位置および姿勢で配置されていることを要する。
図5は、本実施の形態に係る入射部10Eの構成の第一例を示す模式図である。
図5に示される入射部10Eは、偏向素子30A、30Bおよび30Cと、透明部材15とを備える。
透明部材15は、その内部に偏向素子30A、30Bおよび30Cを有する。透明部材15は、偏向素子30A等が、光L1、L1BおよびL1Cを適切な角度で反射する位置及び姿勢をとるように偏向素子30A等を支持している。
偏向素子30A、30Bおよび30Cは、透明部材15の内部に埋設されているともいえる。また、入射部10Eの内部のうち、偏向素子30A、30Bおよび30Cを除く空間は、透明部材15で満たされているともいえる。
このような構成をとることで、入射部10Eは、透明部材15によって、より高い精度で適切な位置および姿勢に支持された偏向素子30A等を用いて、光L1、L1BおよびL1Cを導光することができ、導光する光の光路をより適切に維持することができる。この効果は、振動がある環境に導光板10が配置される場合には、特に顕著である。
図6は、本実施の形態に係る入射部10Eの構成の第二例を示す模式図である。図6に示される入射部10Eは、入射部10Eの、図5とは異なる構成を示している。
図6に示される入射部10Eは、偏向素子30A、30Bおよび30Cと、支持部材(不図示)を備える。
入射部10Eは中空である。偏向素子30A、30Bおよび30Cは、入射部10Eの内部の空間40に、光L1、L1BおよびL1Cを適切な角度で反射する位置及び姿勢をとるように適切な支持部材によって支持されている。
このような構成をとることで、入射部10Eは、適切な位置および姿勢に支持された偏向素子30A等を用いて、光L1、L1BおよびL1Cを導光することができる。また、重量の増加を抑制できる利点がある。
(実施の形態の変形例)
図7は、本変形例に係る導光板の構成の第一例として、導光板50の構成を示す模式図である。
図7に示される導光板50は、入射部50Eと、導光体10Aおよび10Bとを備える。
入射部50Eは、偏向素子30Aおよび30Bを有する。
導光板50つまり入射部50Eに入射される光L1は、Y軸プラス方向およびZ軸プラス方向に進行する光であり、導光板50のZ軸マイナス方向側の面から導光板50に入射する。
偏向素子30Aは、入射光である光L1に含まれる所定の波長成分(第一波長成分ともいう)の光を選択的に偏向することで導光体10Aに入射させる偏向素子である。偏向素子30Aは、第一偏向素子に相当する。偏向素子30Aは、上記実施の形態における偏向素子30Aと同様である。
偏向素子30Bは、入射光である光L1に含まれる所定の波長成分(第二波長成分ともいう)の光を選択的に偏向することで導光体10Bに入射させる偏向素子である。偏向素子30Bは、第二偏向素子に相当する。偏向素子30Bは、上記実施の形態における偏向素子30Bと同様である。
このように、導光体10Aは、導光体10Aにより導光された光を、光L1が入射された面(つまりZ軸マイナス方向側の面)と反対側の面(つまりZ軸プラス方向側の面)から出射する。また、導光体10Bは、導光体10Bにより導光された光を、光L1が入射された面と反対側の面から出射する。
入射する光L1は、例えば、2つの色(例えば、赤色と緑色)に相当する波長成分を有する光である。この場合、偏向素子30Aは、例えば、赤色に相当する波長成分の光を偏向することで導光体10Aに入射させるとともに、緑色に相当する波長成分の光を透過させる。偏向素子30Bは、例えば、緑色に相当する波長成分の光を偏向することで導光体10Bに入射させる。このようにすることで、導光板50は、赤色および緑色の光による表示画像を表示させることができる。なお、上記の赤色と緑色とを入れ替えても同様の説明が成立する。また、上記の2つの色は、赤色と青色としてもよいし、緑色と青色としてもよい。
また、入射する光L1は、例えば、3つの色(例えば、赤色と緑色と青色)に相当する波長成分を有する光であってもよい。
この場合、偏向素子30Aは、例えば、赤色に相当する波長成分の光を偏向することで導光体10Aに入射させるとともに、緑色と青色とに相当する波長成分の光を透過させる。偏向素子30Bは、例えば、緑色と青色とに相当する波長成分の光を偏向することで導光体10Bに入射させる。このようにすることで、赤色、緑色および青色の光による表示画像を表示させることができる。
また、偏向素子30Aは、例えば、青色に相当する波長成分の光を偏向することで導光体10Aに入射させるとともに、緑色と赤色とに相当する波長成分の光を透過させてもよい。この場合、偏向素子30Bは、例えば、緑色と赤色とに相当する波長成分の光を偏向することで導光体10Bに入射させる。このようにすることで、赤色、緑色および青色の光による表示画像を表示させることができる。
図8は、本変形例に係る導光板の構成の第二例として、導光板51の構成を示す模式図である。
図8に示される導光板51は、入射部50Fと、導光体10Aおよび10Bとを備える。
入射部50Fは、偏向素子30Dおよび30Eを有する。
導光板51つまり入射部50Fに入射される光L1は、Y軸プラス方向およびZ軸マイナス方向に進行する光であり、導光板51のZ軸プラス方向側の面から導光板51に入射する。
偏向素子30Dは、入射光である光L1に含まれる所定の波長成分(第一波長成分ともいう)の光を導光体10Aに入射させる偏向素子である。偏向素子30Dは、第一偏向素子に相当する。偏向素子30Dは、上記の導光板50が有する偏向素子30Aと同じ構成を有するが、その位置および姿勢が異なり得る。
偏向素子30Eは、入射光である光L1に含まれる所定の波長成分(第二波長成分ともいう)の光を導光体10Bに入射させる偏向素子である。偏向素子30Eは、第二偏向素子に相当する。偏向素子30Eは、上記の導光板50が有する偏向素子30Bと同じ構成を有するが、その位置および姿勢が異なり得る。
この構成では、導光体10Aは、導光体10Aにより導光された光を、光L1が入射された面(つまりZ軸プラス方向側の面)と同じ側の面(つまりZ軸プラス方向側の面)から出射する。また、導光体10Bは、導光体10Bにより導光された光を、光L1が入射された面と同じ側の面から出射する。
図9は、本変形例に係る導光板の構成の第三例として、導光板52の構成を示す模式図である。
図9に示される導光板52は、入射部50Gと、導光体10Aおよび10Bとを備える。
入射部50Gは、偏向素子30Fおよび30Gを有する。
導光板52つまり入射部50Gに入射される光L1は、X軸マイナス方向およびZ軸プラス方向に進行する光であり、導光板52のX軸プラス方向側の面から導光板52に入射する。
偏向素子30Fは、入射光である光L1に含まれる所定の波長成分(第一波長成分ともいう)の光を導光体10Aに入射させる偏向素子である。偏向素子30Fは、上記所定の波長成分の光を透過することで導光体10Aに入射させ、上記所定の波長成分以外の光を偏向することで、偏向素子30Gに向けて進行させる。偏向素子30Fは、第一偏向素子に相当する。偏向素子30Fは、上記の導光板50が有する偏向素子30Aと同じ構成を有するが、その位置および姿勢が異なり得る。
偏向素子30Gは、入射光である光L1に含まれる所定の波長成分(第二波長成分ともいう)の光を導光体10Bに入射させる偏向素子である。偏向素子30Gは、第二偏向素子に相当する。偏向素子30Gは、上記の導光板50が有する偏向素子30Bと同じ構成を有するが、その位置および姿勢が異なり得る。
この構成では、導光体10Aは、導光体10Aにより導光された光を、光L1が入射された面(つまりX軸プラス方向側の面)と同じ側でも反対側でもない面(つまりZ軸プラス方向側の面)から出射する。また、導光体10Bは、導光体10Bにより導光された光を、光L1が入射された面と同じ側でも反対側でもない面から出射する。
以上のように、上記実施の形態または変形例における導光板は、入射光に含まれる2つの波長成分の光それぞれを、偏向素子によって選択的に偏向することで2つの導光体それぞれに入射させるので、光の強度の低下、および、迷光の発生を抑制することができる。このように、導光板は、表示される画像の品質の低下を抑制することができる。
また、導光板は、入射光に含まれる2つの波長成分の光それぞれを偏向素子による反射を用いて2つの導光体それぞれに入射させるので、光の強度の低下、および、迷光の発生を抑制することができる。このように、導光板は、表示される画像の品質の低下を抑制することができる。
また、導光板は、赤色に相当する波長成分を第一導光体に入射させるとともに、緑色および青色に相当する波長成分を第二導光体に入射させることで、赤色、緑色および青色の3つの波長成分を含む光を導光し、上記3つの波長成分を含むフルカラーの表示画像を表示することに寄与する。よって、導光板は、フルカラーの表示画像の品質の低下をより一層抑制することができる。
また、導光板は、透明部材が光を透過させながら偏向素子を支持するので、偏向素子の位置をより高い精度で適切な位置に維持することができ、その結果、偏向素子が偏向した光の光路をより適切に維持することができる。この効果は、振動がある環境に導光板が配置される場合には、特に顕著である。これにより、偏向素子の位置が変化することによる光の光路のずれを抑制し、表示される画像の品質の低下を抑制することができる。よって、導光板は、表示される画像の品質の低下をより一層抑制することができる。
また、導光板は、入射光に含まれる3つの波長成分の光それぞれを、偏向素子によって選択的に偏向することで3つの導光体それぞれに入射させるので、光の強度の低下、および、迷光の発生を抑制することができる。このように、導光板は、表示される画像の品質の低下を抑制することができる。
また、導光板は、入射光に含まれる3つの波長成分の光それぞれを偏向素子による反射を用いて3つの導光体それぞれに入射させるので、光の強度の低下、および、迷光の発生を抑制することができる。このように、導光板は、表示される画像の品質の低下を抑制することができる。
また、導光板は、入射光が入射する面と反対側の面に光を出射するので、入射光を出射する機材(例えば画像生成装置に相当)と、出射した光を受ける機材(例えばウィンドシールドに相当)とが、当該導光板に対して反対側に存在する場合に、両機材の間で適切に光を導光することができる。よって、導光板は、光を適切に導光しながら、表示される画像の品質の低下を抑制することができる。
また、導光板は、入射光が入射する面と同じ側の面に光を出射するので、入射光を出射する機材(例えば画像生成装置に相当)と、出射した光を受ける機材(例えばウィンドシールドに相当)とが、当該導光板に対して同じ側に存在する場合に、両機材の間で適切に光を導光することができる。よって、導光板は、光を適切に導光しながら、表示される画像の品質の低下を抑制することができる。
また、表示装置は、導光板を用いて、表示される画像の品質の低下を抑制することができる。
以上、一つまたは複数の態様に係る導光板などについて、実施の形態に基づいて説明したが、本発明は、この実施の形態に限定されるものではない。本発明の趣旨を逸脱しない限り、当業者が思いつく各種変形を本実施の形態に施したものや、異なる実施の形態における構成要素を組み合わせて構築される形態も、一つまたは複数の態様の範囲内に含まれてもよい。
本発明は、車両のヘッドアップディスプレイ装置等に利用可能である。
1 表示装置
5 車両
10、50、51、52、90 導光板
10A、10B、10C、90A、90B、90C 導光体
10E、50E、50F、50G 入射部
12A、12B、12C、13A、13B、13C、91A、91B、91C ホログラム素子
14 虚像
15 透明部材
17 画像生成装置
20 ウィンドシールド
30A、30B、30C、30D、30E、30F、30G 偏向素子
40 空間
L1、L1B、L1C、L12A、L12B、L12C、L23A、L23B、L23C、L3、L3A、L3B、L3C、L5、LA、LB、LC 光
U ユーザ

Claims (8)

  1. 導光板であって、
    前記導光板は、画像を示す光を生成して前記導光板に入射させる画像生成装置を備えるヘッドアップディスプレイに設けられ、
    第一導光体と、
    第二導光体と、
    入射光に含まれる第一波長成分の光を選択的に偏向することで前記第一導光体に入射させる第一偏向素子と、
    前記入射光に含まれる第二波長成分の光を選択的に偏向することで前記第二導光体に入射させる第二偏向素子と、
    前記第一偏向素子と前記第二偏向素子とを一つの透明部材内に有する入射部とを備え、
    前記入射部は、前記第一導光体及び前記第二導光体とは別体として設けられ、
    前記第一偏向素子と前記第二偏向素子とは、前記入射光の光を偏向することで入射させるそれぞれの導光体に対して、傾斜角を有するように設けられており、
    前記第一導光体と前記第二導光体とは、平行に配置されており、前記第一導光体または前記第二導光体の法線方向から見て重なっており、
    前記入射部内において前記光が進行する方向は、前記第一導光体が配置された平面、および、前記第二導光体が配置された平面のそれぞれに交差する方向である
    導光板。
  2. 前記第一偏向素子は、前記入射光に含まれる前記第一波長成分の光を選択的に反射することで前記第一導光体に入射させ、前記入射光に含まれる前記第一波長成分以外の光を透過し、
    前記第二偏向素子は、前記入射光に含まれる前記第二波長成分の光を選択的に反射することで前記第二導光体に入射させ、前記入射光に含まれる前記第二波長成分以外の光を透過する
    請求項1に記載の導光板。
  3. 前記第一波長成分は、赤色に相当する波長成分であり、
    前記第二波長成分は、緑色に相当する波長成分と青色に相当する波長成分とである
    請求項1または2に記載の導光板。
  4. 前記導光板は、さらに、
    前記第一偏向素子と前記第二偏向素子との、位置及び姿勢を支持する支持部材を備える
    請求項1~3のいずれか1項に記載の導光板。
  5. 前記導光板は、さらに、
    第三導光体と、
    前記入射光に含まれる第三波長成分の光を前記第三導光体に入射させる第三偏向素子とを備える
    請求項1~4のいずれか1項に記載の導光板。
  6. 前記第三偏向素子は、前記入射光に含まれる前記第三波長成分の光を選択的に偏向することで、前記第三導光体に入射させる
    請求項5に記載の導光板。
  7. 前記第一導光体は、前記第一導光体により導光された光を前記入射光が入射された面と反対側の面から出射し、
    前記第二導光体は、前記第二導光体により導光された光を前記入射光が入射された面と反対側の面から出射する
    請求項1~6のいずれか1項に記載の導光板。
  8. 前記第一導光体は、前記第一導光体により導光された光を前記入射光が入射された面と同じ側の面から出射し、
    前記第二導光体は、前記第二導光体により導光された光を前記入射光が入射された面と同じ側の面から出射する
    請求項1~6のいずれか1項に記載の導光板。
JP2021058956A 2021-03-31 2021-03-31 導光板 Active JP7651237B2 (ja)

Priority Applications (3)

Application Number Priority Date Filing Date Title
JP2021058956A JP7651237B2 (ja) 2021-03-31 2021-03-31 導光板
PCT/JP2022/000017 WO2022209106A1 (ja) 2021-03-31 2022-01-04 導光板、導光板ユニット、および、表示装置
US18/373,753 US20240019621A1 (en) 2021-03-31 2023-09-27 Light guide plate, light guide plate unit, and display device

Applications Claiming Priority (1)

Application Number Priority Date Filing Date Title
JP2021058956A JP7651237B2 (ja) 2021-03-31 2021-03-31 導光板

Publications (2)

Publication Number Publication Date
JP2022155627A JP2022155627A (ja) 2022-10-14
JP7651237B2 true JP7651237B2 (ja) 2025-03-26

Family

ID=83558611

Family Applications (1)

Application Number Title Priority Date Filing Date
JP2021058956A Active JP7651237B2 (ja) 2021-03-31 2021-03-31 導光板

Country Status (1)

Country Link
JP (1) JP7651237B2 (ja)

Citations (5)

* Cited by examiner, † Cited by third party
Publication number Priority date Publication date Assignee Title
JP2019510995A (ja) 2016-01-16 2019-04-18 レイア、インコーポレイテッドLeia Inc. マルチビーム回折格子ベースのヘッドアップディスプレイ
JP2019522230A (ja) 2016-05-12 2019-08-08 マジック リープ, インコーポレイテッドMagic Leap,Inc. イメージング導波管に対する分散光操作
JP2019184920A (ja) 2018-04-13 2019-10-24 株式会社デンソー ヘッドアップディスプレイ装置
WO2020080117A1 (ja) 2018-10-15 2020-04-23 ソニー株式会社 画像表示装置、頭部装着型ディスプレイ、画像表示装置の製造方法、及び画像表示装置の調整方法
JP2020519962A (ja) 2017-05-16 2020-07-02 マジック リープ, インコーポレイテッドMagic Leap,Inc. 複合現実のためのシステムおよび方法

Family Cites Families (2)

* Cited by examiner, † Cited by third party
Publication number Priority date Publication date Assignee Title
JP2774398B2 (ja) * 1991-09-17 1998-07-09 富士通株式会社 ホログラム作成装置
JPH05201272A (ja) * 1992-01-24 1993-08-10 Asahi Glass Co Ltd 車両用のヘッドアップディスプレイ

Patent Citations (5)

* Cited by examiner, † Cited by third party
Publication number Priority date Publication date Assignee Title
JP2019510995A (ja) 2016-01-16 2019-04-18 レイア、インコーポレイテッドLeia Inc. マルチビーム回折格子ベースのヘッドアップディスプレイ
JP2019522230A (ja) 2016-05-12 2019-08-08 マジック リープ, インコーポレイテッドMagic Leap,Inc. イメージング導波管に対する分散光操作
JP2020519962A (ja) 2017-05-16 2020-07-02 マジック リープ, インコーポレイテッドMagic Leap,Inc. 複合現実のためのシステムおよび方法
JP2019184920A (ja) 2018-04-13 2019-10-24 株式会社デンソー ヘッドアップディスプレイ装置
WO2020080117A1 (ja) 2018-10-15 2020-04-23 ソニー株式会社 画像表示装置、頭部装着型ディスプレイ、画像表示装置の製造方法、及び画像表示装置の調整方法

Also Published As

Publication number Publication date
JP2022155627A (ja) 2022-10-14

Similar Documents

Publication Publication Date Title
US11513473B2 (en) Waveguide, waveguide manufacturing apparatus, waveguide manufacturing method, and video display device using the same
JP5316391B2 (ja) 画像表示装置及び頭部装着型ディスプレイ
JP6394393B2 (ja) 画像表示装置、画像生成装置及び透過型空間光変調装置
JP6035793B2 (ja) 画像表示装置及び画像生成装置
JP4674634B2 (ja) 頭部装着型ディスプレイ
JP5732808B2 (ja) 虚像表示装置
US20210033774A1 (en) Image display device
JP4858512B2 (ja) 頭部装着型ディスプレイ
JP2010122478A (ja) 映像表示装置およびヘッドマウントディスプレイ
JP2008083539A (ja) 光束転送用の光学系、及び、これを用いた網膜走査型ディスプレイ
JP2010044172A (ja) 虚像表示装置
JP2012163657A (ja) 虚像表示装置
JP6565496B2 (ja) 導光装置及び虚像表示装置
JP5035465B2 (ja) 頭部装着型ディスプレイ
WO2020179470A1 (ja) 画像表示装置
US20250053008A1 (en) Optical waveguide with integrated optical elements
JP7651237B2 (ja) 導光板
US20210382309A1 (en) Image display device
US11754839B2 (en) Display module and display device
WO2022209106A1 (ja) 導光板、導光板ユニット、および、表示装置
US12468081B2 (en) Optical element and virtual image display device
WO2020241218A1 (ja) 投影装置及びヘッドアップディスプレイ
US20250102806A1 (en) Virtual image display device and optical unit
JP7751358B2 (ja) 表示装置
US20250237869A1 (en) Virtual-image display device and optical unit

Legal Events

Date Code Title Description
A621 Written request for application examination

Free format text: JAPANESE INTERMEDIATE CODE: A621

Effective date: 20231109

A711 Notification of change in applicant

Free format text: JAPANESE INTERMEDIATE CODE: A711

Effective date: 20240304

A131 Notification of reasons for refusal

Free format text: JAPANESE INTERMEDIATE CODE: A131

Effective date: 20240521

A521 Request for written amendment filed

Free format text: JAPANESE INTERMEDIATE CODE: A523

Effective date: 20240722

A131 Notification of reasons for refusal

Free format text: JAPANESE INTERMEDIATE CODE: A131

Effective date: 20240910

A521 Request for written amendment filed

Free format text: JAPANESE INTERMEDIATE CODE: A523

Effective date: 20241106

A131 Notification of reasons for refusal

Free format text: JAPANESE INTERMEDIATE CODE: A131

Effective date: 20241224

A521 Request for written amendment filed

Free format text: JAPANESE INTERMEDIATE CODE: A523

Effective date: 20250203

TRDD Decision of grant or rejection written
A01 Written decision to grant a patent or to grant a registration (utility model)

Free format text: JAPANESE INTERMEDIATE CODE: A01

Effective date: 20250212

A61 First payment of annual fees (during grant procedure)

Free format text: JAPANESE INTERMEDIATE CODE: A61

Effective date: 20250311

R150 Certificate of patent or registration of utility model

Ref document number: 7651237

Country of ref document: JP

Free format text: JAPANESE INTERMEDIATE CODE: R150