JP7635755B2 - 生体デバイス - Google Patents

生体デバイス Download PDF

Info

Publication number
JP7635755B2
JP7635755B2 JP2022099118A JP2022099118A JP7635755B2 JP 7635755 B2 JP7635755 B2 JP 7635755B2 JP 2022099118 A JP2022099118 A JP 2022099118A JP 2022099118 A JP2022099118 A JP 2022099118A JP 7635755 B2 JP7635755 B2 JP 7635755B2
Authority
JP
Japan
Prior art keywords
case
gas
insulating sheet
communication hole
liquid separator
Prior art date
Legal status (The legal status is an assumption and is not a legal conclusion. Google has not performed a legal analysis and makes no representation as to the accuracy of the status listed.)
Active
Application number
JP2022099118A
Other languages
English (en)
Other versions
JP2024000369A (ja
Inventor
京司郎 奥出
元太 中野
公太 椿坂
Current Assignee (The listed assignees may be inaccurate. Google has not performed a legal analysis and makes no representation or warranty as to the accuracy of the list.)
Murata Manufacturing Co Ltd
Original Assignee
Murata Manufacturing Co Ltd
Priority date (The priority date is an assumption and is not a legal conclusion. Google has not performed a legal analysis and makes no representation as to the accuracy of the date listed.)
Filing date
Publication date
Application filed by Murata Manufacturing Co Ltd filed Critical Murata Manufacturing Co Ltd
Priority to JP2022099118A priority Critical patent/JP7635755B2/ja
Priority to US18/328,529 priority patent/US12309945B2/en
Publication of JP2024000369A publication Critical patent/JP2024000369A/ja
Application granted granted Critical
Publication of JP7635755B2 publication Critical patent/JP7635755B2/ja
Active legal-status Critical Current
Anticipated expiration legal-status Critical

Links

Images

Classifications

    • AHUMAN NECESSITIES
    • A61MEDICAL OR VETERINARY SCIENCE; HYGIENE
    • A61BDIAGNOSIS; SURGERY; IDENTIFICATION
    • A61B5/00Measuring for diagnostic purposes; Identification of persons
    • A61B5/68Arrangements of detecting, measuring or recording means, e.g. sensors, in relation to patient
    • A61B5/6801Arrangements of detecting, measuring or recording means, e.g. sensors, in relation to patient specially adapted to be attached to or worn on the body surface
    • BPERFORMING OPERATIONS; TRANSPORTING
    • B01PHYSICAL OR CHEMICAL PROCESSES OR APPARATUS IN GENERAL
    • B01DSEPARATION
    • B01D39/00Filtering material for liquid or gaseous fluids
    • B01D39/14Other self-supporting filtering material ; Other filtering material
    • B01D39/16Other self-supporting filtering material ; Other filtering material of organic material, e.g. synthetic fibres
    • GPHYSICS
    • G06COMPUTING OR CALCULATING; COUNTING
    • G06FELECTRIC DIGITAL DATA PROCESSING
    • G06F1/00Details not covered by groups G06F3/00 - G06F13/00 and G06F21/00
    • G06F1/16Constructional details or arrangements
    • G06F1/1613Constructional details or arrangements for portable computers
    • G06F1/163Wearable computers, e.g. on a belt
    • GPHYSICS
    • G06COMPUTING OR CALCULATING; COUNTING
    • G06FELECTRIC DIGITAL DATA PROCESSING
    • G06F1/00Details not covered by groups G06F3/00 - G06F13/00 and G06F21/00
    • G06F1/16Constructional details or arrangements
    • G06F1/1613Constructional details or arrangements for portable computers
    • G06F1/1633Constructional details or arrangements of portable computers not specific to the type of enclosures covered by groups G06F1/1615 - G06F1/1626
    • G06F1/1656Details related to functional adaptations of the enclosure, e.g. to provide protection against EMI, shock, water, or to host detachable peripherals like a mouse or removable expansions units like PCMCIA cards, or to provide access to internal components for maintenance or to removable storage supports like CDs or DVDs, or to mechanically mount accessories
    • HELECTRICITY
    • H05ELECTRIC TECHNIQUES NOT OTHERWISE PROVIDED FOR
    • H05KPRINTED CIRCUITS; CASINGS OR CONSTRUCTIONAL DETAILS OF ELECTRIC APPARATUS; MANUFACTURE OF ASSEMBLAGES OF ELECTRICAL COMPONENTS
    • H05K5/00Casings, cabinets or drawers for electric apparatus
    • H05K5/0086Casings, cabinets or drawers for electric apparatus portable, e.g. battery operated apparatus
    • HELECTRICITY
    • H05ELECTRIC TECHNIQUES NOT OTHERWISE PROVIDED FOR
    • H05KPRINTED CIRCUITS; CASINGS OR CONSTRUCTIONAL DETAILS OF ELECTRIC APPARATUS; MANUFACTURE OF ASSEMBLAGES OF ELECTRICAL COMPONENTS
    • H05K5/00Casings, cabinets or drawers for electric apparatus
    • H05K5/02Details
    • H05K5/0213Venting apertures; Constructional details thereof
    • H05K5/0215Venting apertures; Constructional details thereof with semi-permeable membranes attached to casings
    • AHUMAN NECESSITIES
    • A61MEDICAL OR VETERINARY SCIENCE; HYGIENE
    • A61BDIAGNOSIS; SURGERY; IDENTIFICATION
    • A61B2560/00Constructional details of operational features of apparatus; Accessories for medical measuring apparatus
    • A61B2560/04Constructional details of apparatus
    • A61B2560/0406Constructional details of apparatus specially shaped apparatus housings
    • A61B2560/0412Low-profile patch shaped housings
    • AHUMAN NECESSITIES
    • A61MEDICAL OR VETERINARY SCIENCE; HYGIENE
    • A61BDIAGNOSIS; SURGERY; IDENTIFICATION
    • A61B5/00Measuring for diagnostic purposes; Identification of persons
    • A61B5/01Measuring temperature of body parts ; Diagnostic temperature sensing, e.g. for malignant or inflamed tissue
    • AHUMAN NECESSITIES
    • A61MEDICAL OR VETERINARY SCIENCE; HYGIENE
    • A61BDIAGNOSIS; SURGERY; IDENTIFICATION
    • A61B5/00Measuring for diagnostic purposes; Identification of persons
    • A61B5/02Detecting, measuring or recording for evaluating the cardiovascular system, e.g. pulse, heart rate, blood pressure or blood flow
    • A61B5/024Measuring pulse rate or heart rate
    • A61B5/0245Measuring pulse rate or heart rate by using sensing means generating electric signals, i.e. ECG signals
    • AHUMAN NECESSITIES
    • A61MEDICAL OR VETERINARY SCIENCE; HYGIENE
    • A61BDIAGNOSIS; SURGERY; IDENTIFICATION
    • A61B5/00Measuring for diagnostic purposes; Identification of persons
    • A61B5/68Arrangements of detecting, measuring or recording means, e.g. sensors, in relation to patient
    • A61B5/6801Arrangements of detecting, measuring or recording means, e.g. sensors, in relation to patient specially adapted to be attached to or worn on the body surface
    • A61B5/683Means for maintaining contact with the body
    • A61B5/6832Means for maintaining contact with the body using adhesives
    • A61B5/6833Adhesive patches

Landscapes

  • Engineering & Computer Science (AREA)
  • Health & Medical Sciences (AREA)
  • Life Sciences & Earth Sciences (AREA)
  • Computer Hardware Design (AREA)
  • Physics & Mathematics (AREA)
  • Microelectronics & Electronic Packaging (AREA)
  • Theoretical Computer Science (AREA)
  • General Engineering & Computer Science (AREA)
  • Pathology (AREA)
  • Chemical Kinetics & Catalysis (AREA)
  • Molecular Biology (AREA)
  • Surgery (AREA)
  • Animal Behavior & Ethology (AREA)
  • General Health & Medical Sciences (AREA)
  • Public Health (AREA)
  • Veterinary Medicine (AREA)
  • Chemical & Material Sciences (AREA)
  • Medical Informatics (AREA)
  • Heart & Thoracic Surgery (AREA)
  • Biomedical Technology (AREA)
  • Biophysics (AREA)
  • General Physics & Mathematics (AREA)
  • Human Computer Interaction (AREA)
  • Casings For Electric Apparatus (AREA)
  • Measuring And Recording Apparatus For Diagnosis (AREA)

Description

本発明は、生体デバイスに関する。
特許文献1には、身体に装着される生体デバイスが記載されている。生体デバイスは、ケースと、電子ユニットと、気液分離シートと、を備えている。ケースは、ケースの内部空間とケースの外部空間とをつなぐ連通孔を有している。電子ユニットは、ケースに内蔵されている。電子ユニットは、電子回路、電源、及び電子基板を有している。気液分離シートは、ケースの連通孔を塞いでいる。気液分離シートは、気体を通す一方で、液体の水を通さない。
国際公開第2019/065029号
特許文献1に記載の生体デバイスは、ケースの内部に水が浸入することを防止できる一方で、ケース内外の絶縁性については特に考慮していない。ところで、ユーザの身体のうち生体デバイスが装着された箇所の近傍において、電気メスや除細動器など、放電する機器が使用されることがある。この場合、これらの機器から生体デバイスへと電気的衝撃が加わることがある。そのため、生体デバイスのケースの外部から生体デバイスのケースに内蔵される電子ユニットへと電流が流れる虞がある。
上記課題を解決するため、本開示の一態様は、連通孔を有し、身体に装着可能なケースと、前記ケースに内蔵される電子ユニットと、前記ケースに取り付けられる気液分離体と、前記ケース又は前記電子ユニットに取り付けられる絶縁シートと、を備え、前記連通孔は第1方向に連通して前記ケースの内部空間と外部空間とをつなぎ、前記第1方向において、前記気液分離体と前記絶縁シートとは離れて配置され、前記第1方向を向いて平面視したときに、前記気液分離体、前記電子ユニット、及び前記絶縁シートは、前記連通孔と重なっている生体デバイスである。
上記構成によれば、第1方向を向いて平面視したときに、気液分離体、電子ユニット、及び絶縁シートは、連通孔と重なっている。そのため、連通孔を介して、ケースの外部から電子ユニットに向かって電流が流れることを、絶縁シートによって防止できる。
上記課題を解決するため、本開示の一態様は、身体に装着可能なケースと、前記ケースの壁の一部を構成し、当該壁の厚み方向である第1方向において前記ケースの内部空間と外部空間とを気体が通過可能に配置される気液分離体と、前記ケースに内蔵される電子ユニットと、前記ケース又は前記電子ユニットに取り付けられる絶縁シートと、を備え、前記第1方向において、前記気液分離体と前記絶縁シートとは離れて配置され、前記第1方向を向いて平面視したときに、前記気液分離体、前記電子ユニット、及び前記絶縁シートは重なっている生体デバイスである。
上記構成によれば、第1方向を向いて平面視したときに、気液分離体、電子ユニット、及び絶縁シートは、連通孔と重なっている。そのため、気液分離体を介してケースの外部から電子ユニットに向かって電流が流れることを、絶縁シートによって防止できる。
ケースの外部から電子ユニットに向かって、電流が流れることを防止できる。
図1は、第1実施形態の生体デバイスの一部を示す平面図である。 図2は、第1実施形態の生体デバイスの一部を示す断面図である。 図3は、第2実施形態の生体デバイスの一部を示す断面図である。 図4は、第3実施形態の生体デバイスの一部を示す断面図である。 図5は、第4実施形態の生体デバイスの一部を示す断面図である。 図6は、第5実施形態の生体デバイスの一部を示す断面図である。
(第1実施形態)
以下、生体デバイスの第1実施形態について、図面を参照して説明する。なお、図面は、理解を容易にするために構成要素を拡大して示している場合がある。構成要素の寸法比率は実際のものと、又は別の図面中のものと異なる場合がある。
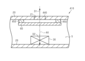
図1に示すように、生体デバイス10は、ケース20を備えている。ケース20は、身体に装着可能となっている。図2に示すように、ケース20は、内部空間Sを区画している。ケース20の材質は、例えば、合成樹脂である。そのため、ケース20は、身体の皮膚等に張り付けた際に、皮膚の動きに追従できる程度に弾性変形する。
ケース20は、円形状の連通孔21を有している。連通孔21は、内部空間Sとケース20の外部空間とを繋いでいる。連通孔21は、ケース20のうち、皮膚に張り付けられる面とは異なる面に開口している。そのため、生体デバイス10を身体に装着した場合でも、連通孔21は、身体によって塞がれない。
なお、連通孔21の開口する方向に沿うとともに、連通孔21の開口中心を通る軸を、仮想軸AXとする。そして、仮想軸AXに沿う方向のうち、内部空間Sからケース20の外部空間に向かう方向を第1方向D1とする。また、仮想軸AXに沿う方向のうち、第1方向D1と反対方向を第2方向D2とする。つまり、連通孔21は、第1方向D1に連通してケース20の内部空間Sとケース20の外部空間とをつないでいる。
生体デバイス10は、電子ユニット30を備えている。電子ユニット30は、内部空間S内に位置している。そのため、電子ユニット30は、ケース20に内蔵されている。電子ユニット30は、例えば、電子回路、電源及び電子基板を有している。特に、本実施形態では、電子ユニット30は、温度センサを有している。つまり、生体デバイス10は、温度センサによって、身体の温度を検出する生体センサとなっている。
電子ユニット30は、連通孔21の開口する方向を向いて平面視したときに、連通孔21と重なる箇所に位置している。具体的には、電子ユニット30は、仮想軸AX上に位置している。また、連通孔21の開口する方向を向いて平面したときに、電子ユニット30は、連通孔21の全域と重なっている。
生体デバイス10は、気液分離体40を備えている。気液分離体40は、気体を通し、且つ液体の水を通さない。具体的には、気液分離体40の材質は、ポリテトラフルオロエチレンである。また、気液分離体40の構造は、多孔質構造となっている。本明細書における、液体の水を通さないとは、0.3気圧の状態で液体の水を通さないことをいう。なお、本実施形態では、気液分離体40の耐水度は、200kPaである。本実施形態では、気液分離体40は多孔質構造であるため、外部から加わる圧力が耐水度を超えれば水を通す。
気液分離体40は、ケース20に取り付けられている。気液分離体40は、連通孔21を塞いでいる。そのため、気液分離体40は、連通孔21を介した水の出入りを塞いでいる。具体的には、気液分離体40は、第1スペーサ41と、気液分離シート42と、を有している。なお、図2では、第1スペーサ41及び気液分離シート42を別の部材として図示しているが、両者は、一体化した1つの部材として成形されることもある。
図1に示すように、第1スペーサ41は、円環状となっている。第1スペーサ41の内径は、連通孔21の直径よりも大きくなっている。そして、第2方向D2を向いて生体デバイス10を平面視したときに、第1スペーサ41は、連通孔21を外側から囲んでいる。第1スペーサ41は、ケース20の内面に、図示しない接着剤を介して取り付けられている。
図2に示すように、気液分離シート42は、第1スペーサ41の第2方向D2を向く面に、図示しない接着剤を介して取り付けられている。図1に示すように、気液分離シート42は、円形状のシートとなっている。気液分離シート42の直径は、連通孔21の直径よりも大きくなっている。そのため、第2方向D2を向いて生体デバイス10を平面視したときに、気液分離シート42の面積は、連通孔21の面積よりも大きくなっている。また、第2方向D2を向いて生体デバイス10を平面視したときに、気液分離シート42は、連通孔21のすべての範囲と重なっている。
上記の構造により、気液分離体40は、ケース20の内部空間Sを、気液分離体40に対して電子ユニット30が存在する側の空間と、電子ユニット30が存在しない側の空間と、に隔てている。そして、気液分離体40は、連通孔21を介して、ケース20の内部空間Sのうち気液分離体40よりも電子ユニット30が存在する側の空間に、液体の水が入り込むことを防止している。このように、気液分離体40は、液体の水が内部空間Sに入り込めないように、連通孔21を塞いでいる。
生体デバイス10は、2つの第2スペーサ50と、絶縁シート60と、を備えている。第2スペーサ50は、ケース20の内面と絶縁シート60との間に介在している。各第2スペーサ50の材質は、例えばポリエチレンテレフタラートである。つまり、各第2スペーサ50は、気体を通さない材質である。そして、各第2スペーサ50の材質は、電気を通さない絶縁体である。
各第2スペーサ50の仮想軸AXに沿う方向の寸法は、気液分離体40における仮想軸AXに沿う方向の最大寸法よりも大きくなっている。第2方向D2を向いて生体デバイス10を平面視したときに、2つの第2スペーサ50は、連通孔21を挟んで両側に位置している。そのため、2つの第2スペーサ50は、第1方向D1を向いて平面視したときに、連通孔21を挟むように配置されている。また、2つの第2スペーサ50は、互いに平行の位置関係である。その結果として、2つの第2スペーサ50の間には隙間が生じている。つまり、2つの第2スペーサ50は、第2方向D2を向いて生体デバイス10を平面視したときに、連通孔21を部分的に取り囲んでいる。各第2スペーサ50は、図示しない接着剤によってケース20の内面に取り付けられている。
なお、第2スペーサ50が連通孔21を部分的に取り囲んでいるとは、連通孔21が第2スペーサ50によって、完全に囲まれていない状態を指す。つまり、第2方向D2を向いて生体デバイス10を平面視したときに、連通孔21から、第2スペーサ50を跨がずに、第2スペーサ50よりも外側の空間へと至る通路がある場合、第2スペーサ50が連通孔21を部分的に取り囲んでいるという。
絶縁シート60は、第2スペーサ50の第2方向D2を向く面に、図示しない接着剤を介して取り付けられている。そのため、絶縁シート60は、第2スペーサ50を介して、ケース20に取り付けられている。また、絶縁シート60は、仮想軸AXに沿う方向において連通孔21から離れた箇所に位置している。さらに、絶縁シート60は、仮想軸AXに沿う方向において気液分離体40からも離れた箇所に位置している。すなわち、第1方向D1において、気液分離体40と絶縁シート60とは離れて配置されている。このように、生体デバイス10においては、第1方向D1に向かって、電子ユニット30、絶縁シート60、気液分離体40、連通孔21、の順に位置している。
絶縁シート60の材質は、絶縁体である。具体的には、絶縁シート60の材質は、ポリテトラフルオロエチレンである。また、絶縁シート60は、気体を通さない材質である。具体的には、絶縁シート60の構造は、気液分離体40のように多孔質構造となっていない。
絶縁シート60は、四角形状のシートである。絶縁シート60の一辺の寸法は、各第2スペーサ50の長手方向の寸法よりも僅かに大きくなっている。第2方向D2を向いて生体デバイス10を平面視したときに、絶縁シート60の向かい合う2辺が、各第2スペーサ50の長手方向と平行になっている。第2方向D2を向いて生体デバイス10を平面視したときに、絶縁シート60は、連通孔21のすべての範囲と重なっている。このようにして、第1方向D1を向いて平面視したときに、気液分離体40、電子ユニット30、及び絶縁シート60は、連通孔21と重なっている。
また、第2方向D2を向いて生体デバイス10を平面視したときに、絶縁シート60の一辺の寸法は、連通孔21の直径よりも大きくなっている。そのため、第2方向D2を向いて生体デバイス10を平面視したときに、絶縁シート60の面積は、連通孔21の面積よりも大きくなっている。
さらに、第2方向D2を向いて生体デバイス10を平面視したときに、絶縁シート60の一辺の寸法は、気液分離シート42の直径よりも大きくなっている。そのため、第2方向D2を向いて生体デバイス10を平面視したときに、絶縁シート60の面積は、気液分離シート42の面積よりも大きくなっている。
また、第2方向D2を向いて生体デバイス10を平面視したときに絶縁シート60の外縁は、気液分離体40の外縁を取り囲んでいる。つまり、第2方向D2を向いて生体デバイス10を平面視したときに絶縁シート60の面積は、気液分離体40の面積よりも大きくなっている。
<第1実施形態の作用>
生体デバイス10は、身体に装着されることで使用される。生体デバイス10のケース20が皮膚等に張り付けられると、皮膚の動きに併せてケース20が変形する。ケース20が変形すると、ケース20の内部空間Sの容積が変わることで、内部空間Sとケース20の外部空間との間で、空気が出入りする。
このとき、気液分離体40は気体を通すため、気液分離体40が連通孔21を介した気体の流通を遮断することはない。また、仮想軸AXに沿う方向において絶縁シート60は連通孔21から離れているので、絶縁シート60が連通孔21を介した気体の流通を遮断することはない。
<第1実施形態の効果>
(1-1)上記第1実施形態によれば、第1方向D1を向いて平面視したときに、気液分離体40、電子ユニット30、及び絶縁シート60は、連通孔21と重なっている。そのため、連通孔21を介してケース20の外部空間から電子ユニット30に向かって、電流が流れることを、絶縁シート60により防止できる。
(1-2)上記第1実施形態によれば、第2方向D2を向いて生体デバイス10を平面視したときに、絶縁シート60は、連通孔21のすべての範囲と重なっている。そのため、連通孔21を介して、ケース20の外部空間から電子ユニット30に向かって、電流が流れることを確実に防止できる。
(1-3)上記第1実施形態によれば、第2スペーサ50が連通孔21を部分的に取り囲んでいる。そのため、第2スペーサ50が設けられていない箇所を介して気体の出入りが可能となるので、第2スペーサ50がケース20の外部空間と内部空間Sとの間での気体の出入りを過度に妨げない。
(1-4)上記第1実施形態によれば、第2スペーサ50は、第1方向D1を向いて正面視したときに、連通孔21を挟むように配置されている。そのため、第2スペーサ50とケース20との間の隙間がつぶれるようにケース20が変形することを防止できる。
(1-5)上記第1実施形態によれば、第2方向D2を向いて生体デバイス10を透視したときに、絶縁シート60の面積は、連通孔21の面積よりも大きくなっている。そのため、ケース20の外部空間から連通孔21を介して電子ユニット30へと向かう電流の経路を長くできる。これにより、ケース20の外部からの電流が電子ユニット30へ届くことを抑制できる。
(1-6)上記第1実施形態によれば、第2方向D2を向いて生体デバイス10を透視したときに、絶縁シート60の面積は、気液分離体40の面積よりも大きくなっている。そのため、ケース20の外部空間から連通孔21を介して電子ユニット30へ向かう経路のうち、気液分離体40のどの箇所を通っても、当該経路をより長くできる。これにより、ケース20の外部からの電流が電子ユニット30へ届くことをより抑制できる。
(1-7)上記第1実施形態によれば、絶縁シート60及び気液分離体40のいずれも、内部空間Sに配置される。そのため、生体デバイス10を身体に装着して使用する際に、絶縁シート60及び気液分離体40は、ケース20によって、ケース20の外部空間からの物理的衝撃から保護される。よって、絶縁シート60及び気液分離体40が破損することを防げる。
(第2実施形態)
以下、生体デバイスの第2実施形態について、図面を参照して説明する。なお、以下では、第1実施形態における生体デバイス10と比べて異なる点を中心に説明し、同一の点については詳細を簡略又は省略する。
図3に示すように、第2実施形態では、生体デバイス110が第1実施形態の第2スペーサ50を有していない点と、絶縁シート160の配置と、が第1実施形態と比べて主に異なっている。絶縁シート160は、電子ユニット30の第1方向D1を向く面に取り付けられている。
(2-1)上記第2実施形態によれば、絶縁シート160は、電子ユニット30に取り付けられている。そのため、第1実施形態における第2スペーサ50を省くことができる。また、第1実施形態と比べて、絶縁シート160及び気液分離体40をいずれもケース20の内面に取り付ける場合と比べて、絶縁シート160と気液分離体40とを離して配置させやすい。これにより、絶縁シート160が気液分離体40をすべて覆ってしまうことで、絶縁シート160によって、連通孔21を介した気体の流通を遮断することを防ぎやすい。また、ケース20と比べて、電子ユニット30は変形しにくいため、絶縁シート160の位置が使用によりずれることを抑制できる。
(第3実施形態)
以下、生体デバイスの第3実施形態について、図面を参照して説明する。なお、以下では、第1実施形態における生体デバイス10と比べて異なる点を中心に説明し、同一の点については詳細を簡略又は省略する。
図4に示すように、第3実施形態では、生体デバイス210の第2スペーサ250及び絶縁シート260の位置が、第1実施形態と比べて異なっている。第2スペーサ250は、ケース20の外面に、図示しない接着剤を介して取り付けられている。また、2つの第2スペーサ250の間の隙間は、第1実施形態と比べて狭くなっている。
絶縁シート260は、第2スペーサ250の第1方向D1を向く面に、図示しない接着剤を介して取り付けられている。第2方向D2を向いて生体デバイス10を視たとき、絶縁シート260の面積は、第1実施形態と比べて小さくなっている。具体的には、絶縁シート260の一辺の寸法は、気液分離シート42の直径の寸法と等しくなっている。
このようにして、第2スペーサ250及び絶縁シート260がケース20の外部空間に配置されている。そのため、第1方向D1に向かって、電子ユニット30、気液分離体40、連通孔21、絶縁シート260、の順に位置している。
(3-1)上記第3実施形態によれば、絶縁シート260を、第2スペーサ250を介して、ケース20の外面に取り付けることができる。そのため、第1実施形態と比べて、絶縁シート260をケース20に取り付ける際に、気液分離体40の位置を考慮しなくて済む。よって、絶縁シート260をケース20に取り付ける作業が容易になる。
(第4実施形態)
以下、生体デバイスの第4実施形態について、図面を参照して説明する。なお、以下では、第3実施形態における生体デバイス210と比べて異なる点を中心に説明し、同一の点については詳細を簡略又は省略する。
図5に示すように、第4実施形態では、生体デバイス310の第2スペーサ350及び絶縁シート360の位置と、気液分離体340の位置とが、第3実施形態と比べて入れ替わっている。
具体的には、気液分離体340の第1スペーサ341は、ケース20の外面に、図示しない接着剤を介して取り付けられている。また、気液分離シート342は、第1スペーサ341の第1方向D1を向く面に、図示しない接着剤を介して取り付けられている。
各第2スペーサ350は、ケース20の内面に、図示しない接着剤を介して取り付けられている。また、絶縁シート360は、各第2スペーサ350の第2方向D2を向く面に、図示しない接着剤を介して取り付けられている。
このようにして、気液分離体340がケース20の外部空間に配置されている。一方で、第2スペーサ350及び絶縁シート360は、ケース20の内部空間Sに配置されている。そのため、第1方向D1に向かって、電子ユニット30、絶縁シート360、連通孔21、気液分離体340、の順に位置している。
(4-1)上記第4実施形態によれば、気液分離体340を、ケース20の外面に取り付けることができる。そのため、第1実施形態と比べて、気液分離体340をケース20に取り付ける際に、絶縁シート360の位置を考慮しなくて済む。よって、絶縁シート360をケース20に取り付ける作業が容易になる。
(第5実施形態)
以下、生体デバイスの第5実施形態について、図面を参照して説明する。なお、以下では、第1実施形態における生体デバイス10と比べて異なる点を中心に説明し、同一の点については詳細を簡略又は省略する。
図6に示すように、第5実施形態では、生体デバイス410の気液分離体440の位置が、第1実施形態と比べて異なっている。具体的には、気液分離体440は、連通孔21の内部に収容されている。特に、本実施形態では、気液分離体440は、連通孔21の内部をすべて埋めている。これにより、気液分離体440は、連通孔21を塞いでいる。さらに、気液分離体440は、連通孔21の内部のみに存在している。つまり、気液分離体440は、連通孔21の外部にはみ出していない。よって、第5実施形態では、ケース20は、連通孔21を有していないといえる。そして、ケース20の壁の一部は、気液分離体440によって構成されている。なお、第5実施形態では、気液分離体440を介して、ケース20の壁の厚み方向において、ケース20の内部空間Sとケース20の外部区間とを、気体が通過可能になる。よって、ケース20の壁のうち気液分離体440が構成する箇所の壁の厚み方向と、仮想軸AXとが一致する。
このようにして、仮想軸AXに沿う方向において、連通孔21と気液分離体440とは、同じ箇所に位置している。そして、第1方向D1に向かって、電子ユニット30、絶縁シート60、連通孔21、の順に位置している。
なお、生体デバイス410の第2スペーサ450の仮想軸AXに沿う方向の寸法は、第1実施形態と比べて、小さくなっている。
(5-1)上記第5実施形態によれば、気液分離体440を配置するために、連通孔21の内部の空間を活用できる。そのため、気液分離体440を設けるために、過度に大きな内部空間Sは必要なくなる。その結果、生体デバイス410の大型化が抑制されやすくなる。
(5-2)上記第5実施形態によれば、絶縁シート60は、内部空間Sに配置される。そのため、生体デバイス410を身体に取り付けて使用する際に、絶縁シート60は、ケース20によって保護される。
(その他の実施形態)
上記各実施形態は、以下のように変更して実施することができる。上記各実施形態及び以下の変更例は、技術的に矛盾しない範囲で組み合わせて実施することができる。
・生体デバイスは、身体に装着して使用されるデバイスであれば、生体センサに限られない。つまり、電子ユニット30がセンサを有していなくてもよい。
なお、生体デバイスが生体センサである場合、例えば、生体デバイスを身体に装着した状態で、生体デバイスを取り付けた箇所の近傍で、電気メスや除細動器などの放電する機器を使用するため、ケース20の外部から電流が入り込みやすい。そのため、絶縁シートを設けることによる効果を得る必要性がより高い。
・ケース20は、フィルム状であってもよい。つまり、ケース20は、自身で形状を保つことができない程度の剛性しか有していなくてもよい。この場合、ケース20を身体に装着した状態での仮想軸AXを基準とすればよい。
・気液分離体の材質は、ポリテトラフルオロエチレンに限られない。気液分離体の材質は、気体を通し、且つ液体の水を通さない材質であればよい。また、気液分離体の耐水度は、30kPa以上であればよい。
・気液分離体の形状は、連通孔21を塞いでいれば適宜変更してもよい。例えば、第1実施形態において、気液分離体40は、ブロック状となっていてもよい。なお、第5実施形態のように、気液分離体440が連通孔21を塞いだ結果、ケース20に連通孔21がなくなっていてもよい。
・第1実施形態~第4実施形態において、気液分離体は、第5実施形態のように、第1スペーサを省いてもよい。例えば、第1実施形態において、気液分離シート42は、ケース20の内面に第1スペーサ41を介さずに取り付けられてもよい。
・第2スペーサの形状は、上記各実施形態の例に限られない。例えば、第1実施形態において、第2方向D2を向いて生体デバイス10を透視したときに、第2スペーサ50は、C字状であってもよいし、渦巻状であってもよい。これらの場合、第2方向D2を向いて生体デバイス10を透視したときに、第2スペーサ50は、連通孔21を部分的に取り囲んでいる。
・第1実施形態、第3実施形態~第5実施形態において、第2方向D2を向いて生体デバイスを透視したときに、第2スペーサは、連通孔21の全体を取り囲んでいてもよい。この場合、例えば、第1実施形態において、絶縁シート60と第2スペーサ50との間に一部隙間があったり、第2スペーサ50の材質が気体を通す材質であったりすればよい。このようにして、第2方向D2を向いて生体デバイス10を透視したときに、第2スペーサ50の内側の空間と第2スペーサ50の外側の空間との気体の流通を遮断しなければよい。
・第2スペーサの材質は、絶縁体でなくてもよい。
・第3実施形態において、生体デバイス210は、第2スペーサ250を省いてもよい。この点、第4実施形態及び第5実施形態においても同様である。
・第2方向D2を向いて生体デバイスを透視したときに、絶縁シートの面積は、上記各実施形態の例に限られない。例えば、第1実施形態において、第2方向D2を向いて生体デバイス10を透視したときに、絶縁シート60の面積は、連通孔21の面積と等しくてもよい。また例えば、第1実施形態において、第2方向D2を向いて生体デバイス10を透視したときに、絶縁シート60の面積は、気液分離体40の面積以下であってもよい。
・各実施形態において、第1方向D1に向かう、電子ユニット30、絶縁シート、気液分離体、連通孔21の順が変わるように、各配置を変更してもよい。第1方向D1を向いて平面視したときに、気液分離体、電子ユニット30、及び絶縁シートが、連通孔21と重なっていればよい。これにより、例えば、第1実施形態において、ケース20の外部空間に、絶縁シート60及び気液分離体40が位置していてもよい。
上記実施形態及び変更例から把握できる技術的思想について記載する。
<1>
連通孔を有し、身体に装着可能なケースと、
前記ケースに内蔵される電子ユニットと、
前記ケースに取り付けられる気液分離体と、
前記ケース又は前記電子ユニットに取り付けられる絶縁シートと、
を備え、
前記連通孔は第1方向に連通して前記ケースの内部空間と外部空間とをつなぎ、
前記第1方向において、前記気液分離体と前記絶縁シートとは離れて配置され、
前記第1方向を向いて平面視したときに、前記気液分離体、前記電子ユニット、及び前記絶縁シートは、前記連通孔と重なっている
生体デバイス。
<2>
前記ケースと前記絶縁シートとの間に介在するスペーサをさらに備え、
前記スペーサは、前記第1方向を向いて平面視したときに、前記連通孔を挟むように配置されている
<1>に記載の生体デバイス。
<3>
前記第1方向を向いて平面視したときに、
前記絶縁シートの面積は、前記連通孔の面積よりも大きくなっている
<1>又は<2>に記載の生体デバイス。
<4>
前記第1方向を向いて平面視したときに、
前記絶縁シートの面積は、前記気液分離体の面積よりも大きくなっている
<1>~<3>のいずれか1つに記載の生体デバイス。
<5>
前記第1方向を前記ケースの内部空間から外部空間に向かう方向としたとき、
前記第1方向に向かって、前記電子ユニット、前記絶縁シート、前記気液分離体、前記連通孔、の順に位置している
<1>~<4>のいずれか1つに記載の生体デバイス。
<6>
前記第1方向を前記ケースの内部空間から外部空間に向かう方向としたとき、
前記第1方向に向かって、前記電子ユニット、前記絶縁シート、前記貫通孔、前記気液分離体、の順に位置している
<1>~<4>のいずれか1つに記載の生体デバイス。
<7>
前記貫通孔の開口する方向のうち、前記内部空間から前記ケースの外部空間に向かう方向を第1方向としたとき、
前記第1方向に向かって、前記電子ユニット、前記絶縁シート、前記貫通孔、前記気液分離体、の順に位置している
<1>~<4>のいずれか1つに記載の生体デバイス。
<8>
身体に装着可能なケースと、
前記ケースの壁の一部を構成し、当該壁の厚み方向である第1方向において前記ケースの内部空間と外部空間とを気体が通過可能に配置される気液分離体と、
前記ケースに内蔵される電子ユニットと、
前記ケース又は前記電子ユニットに取り付けられる絶縁シートと、
を備え、
前記第1方向において、前記気液分離体と前記絶縁シートとは離れて配置され、
前記第1方向を向いて平面視したときに、前記気液分離体、前記電子ユニット、及び前記絶縁シートは重なっている
生体デバイス。
<9>
前記第1方向を前記ケースの内部空間から外部空間に向かう方向としたとき、
前記第1方向に向かって、前記電子ユニット、前記絶縁シート、前記気液分離体、の順に位置している
<8>に記載の生体デバイス。
10,110,210,310,410…生体デバイス
20…ケース
21…連通孔
30…電子ユニット
40,340,440…気液分離体
41,341…第1スペーサ
42,342…気液分離シート
50,250,350,450…第2スペーサ
60,160,260,360…絶縁シート
AX…仮想軸
S…内部空間

Claims (6)

  1. 連通孔を有し、身体に装着可能なケースと、
    前記ケースに内蔵される電子ユニットと、
    前記ケースに取り付けられる気液分離体と、
    前記ケース又は前記電子ユニットに取り付けられる絶縁シートと、
    前記ケースと前記絶縁シートとの間に介在するスペーサと、
    を備え、
    前記連通孔は第1方向に連通して前記ケースの内部空間と外部空間とをつなぎ、
    前記第1方向において、前記気液分離体と前記絶縁シートとは離れて配置され、
    前記第1方向を向いて平面視したときに、前記気液分離体、前記電子ユニット、及び前記絶縁シートは、前記連通孔と重なっており、
    前記スペーサは、前記第1方向を向いて平面視したときに、前記連通孔を挟むように配置されている
    生体デバイス。
  2. 前記第1方向を向いて平面視したときに、
    前記絶縁シートの面積は、前記連通孔の面積よりも大きくなっている
    請求項1に記載の生体デバイス。
  3. 前記第1方向を向いて平面視したときに、
    前記絶縁シートの面積は、前記気液分離体の面積よりも大きくなっている
    請求項1に記載の生体デバイス。
  4. 前記第1方向を前記ケースの内部空間から外部空間に向かう方向としたとき、
    前記第1方向に向かって、前記電子ユニット、前記絶縁シート、前記気液分離体、前記連通孔、の順に位置している
    請求項1~請求項3のいずれか1項に記載の生体デバイス。
  5. 連通孔を有し、身体に装着可能なケースと、
    前記ケースに内蔵される電子ユニットと、
    前記ケースに取り付けられる気液分離体と、
    前記ケース又は前記電子ユニットに取り付けられる絶縁シートと、
    を備え、
    前記連通孔は第1方向に連通して前記ケースの内部空間と外部空間とをつなぎ、
    前記第1方向において、前記気液分離体と前記絶縁シートとは離れて配置され、
    前記第1方向を向いて平面視したときに、前記気液分離体、前記電子ユニット、及び前記絶縁シートは、前記連通孔と重なっており、
    前記第1方向を前記ケースの内部空間から外部空間に向かう方向としたとき、
    前記第1方向に向かって、前記電子ユニット、前記気液分離体、前記連通孔、前記絶縁シート、の順に位置している
    生体デバイス。
  6. 連通孔を有し、身体に装着可能なケースと、
    前記ケースに内蔵される電子ユニットと、
    前記ケースに取り付けられる気液分離体と、
    前記ケース又は前記電子ユニットに取り付けられる絶縁シートと、
    を備え、
    前記連通孔は第1方向に連通して前記ケースの内部空間と外部空間とをつなぎ、
    前記第1方向において、前記気液分離体と前記絶縁シートとは離れて配置され、
    前記第1方向を向いて平面視したときに、前記気液分離体、前記電子ユニット、及び前記絶縁シートは、前記連通孔と重なっており、
    前記第1方向を前記ケースの内部空間から外部空間に向かう方向としたとき、
    前記第1方向に向かって、前記電子ユニット、前記絶縁シート、前記連通孔、前記気液分離体、の順に位置している
    生体デバイス。
JP2022099118A 2022-06-20 2022-06-20 生体デバイス Active JP7635755B2 (ja)

Priority Applications (2)

Application Number Priority Date Filing Date Title
JP2022099118A JP7635755B2 (ja) 2022-06-20 2022-06-20 生体デバイス
US18/328,529 US12309945B2 (en) 2022-06-20 2023-06-02 Biological device

Applications Claiming Priority (1)

Application Number Priority Date Filing Date Title
JP2022099118A JP7635755B2 (ja) 2022-06-20 2022-06-20 生体デバイス

Publications (2)

Publication Number Publication Date
JP2024000369A JP2024000369A (ja) 2024-01-05
JP7635755B2 true JP7635755B2 (ja) 2025-02-26

Family

ID=89168890

Family Applications (1)

Application Number Title Priority Date Filing Date
JP2022099118A Active JP7635755B2 (ja) 2022-06-20 2022-06-20 生体デバイス

Country Status (2)

Country Link
US (1) US12309945B2 (ja)
JP (1) JP7635755B2 (ja)

Citations (3)

* Cited by examiner, † Cited by third party
Publication number Priority date Publication date Assignee Title
US20170340279A1 (en) 2014-12-22 2017-11-30 Tsinghua University Flexible extensile electronic device based on biocompatible film and preparation method
WO2019065029A1 (ja) 2017-09-29 2019-04-04 マクセルホールディングス株式会社 防水デバイス
JP2019063230A (ja) 2017-09-29 2019-04-25 マクセルホールディングス株式会社 デバイス

Family Cites Families (8)

* Cited by examiner, † Cited by third party
Publication number Priority date Publication date Assignee Title
AT411331B (de) * 2002-04-09 2003-12-29 Brain Flash Patententwicklungs Filtermodul
US8369919B2 (en) * 2003-08-01 2013-02-05 Dexcom, Inc. Systems and methods for processing sensor data
US9135402B2 (en) * 2007-12-17 2015-09-15 Dexcom, Inc. Systems and methods for processing sensor data
WO2012140707A1 (ja) * 2011-04-11 2012-10-18 パナソニック株式会社 薄型電池および電池デバイス
US10549106B2 (en) * 2016-08-11 2020-02-04 Cardiac Pacemakers, Inc. External audit of implantable medical device
US20190000350A1 (en) * 2017-06-28 2019-01-03 Incyphae Inc. Diagnosis tailoring of health and disease
US11547343B2 (en) * 2019-04-12 2023-01-10 Cardiac Pacemakers, Inc. PVC adjusted AF detection
KR102819930B1 (ko) * 2020-09-29 2025-06-11 삼성전자주식회사 연신 소자 시스템 및 전자 장치

Patent Citations (3)

* Cited by examiner, † Cited by third party
Publication number Priority date Publication date Assignee Title
US20170340279A1 (en) 2014-12-22 2017-11-30 Tsinghua University Flexible extensile electronic device based on biocompatible film and preparation method
WO2019065029A1 (ja) 2017-09-29 2019-04-04 マクセルホールディングス株式会社 防水デバイス
JP2019063230A (ja) 2017-09-29 2019-04-25 マクセルホールディングス株式会社 デバイス

Also Published As

Publication number Publication date
US12309945B2 (en) 2025-05-20
JP2024000369A (ja) 2024-01-05
US20230413460A1 (en) 2023-12-21

Similar Documents

Publication Publication Date Title
KR101704127B1 (ko) 스웰링 cid 작동 신뢰성이 향상되는 배터리 시스템
US9521226B2 (en) Molded shock resistant case for an electronic device
JP7230226B2 (ja) 二次電池用絶縁板及びその絶縁板を含む二次電池
US9121517B2 (en) Rupture disk and gas insulated switchgear having the same
KR20190064724A (ko) 파우치형 이차전지 및 그 제조방법
JP6423552B2 (ja) 電子制御装置
WO2005106988A1 (ja) ラミネート型二次電池、およびその組電池
EP3748714A1 (en) Battery pack
EP3748713B1 (en) Battery pack
ES3034137T3 (en) Secondary battery and battery pack including the same
GB2595078A (en) Piezoelectric pump
JP7635755B2 (ja) 生体デバイス
JP6489402B2 (ja) 蓄電装置
CN105895836A (zh) 动力电池顶盖及动力电池
JP2019169492A (ja) 半導体装置
EP3748716B1 (en) Battery pack
JP2006318671A (ja) 電池
WO2013005432A1 (ja) 外部操作の検出構造体
CN109698287B (zh) 二次电池
JP2017080078A (ja) 圧力測定用チャンバ
KR20130116174A (ko) 배터리 팩
JP2010050040A (ja) ハーネス接続用コネクタ
CN220086198U (zh) 电池及电池装置
JP6202127B2 (ja) 電池
KR20250054374A (ko) 배터리 조립체

Legal Events

Date Code Title Description
A621 Written request for application examination

Free format text: JAPANESE INTERMEDIATE CODE: A621

Effective date: 20240109

A131 Notification of reasons for refusal

Free format text: JAPANESE INTERMEDIATE CODE: A131

Effective date: 20241112

A521 Request for written amendment filed

Free format text: JAPANESE INTERMEDIATE CODE: A523

Effective date: 20250106

TRDD Decision of grant or rejection written
A01 Written decision to grant a patent or to grant a registration (utility model)

Free format text: JAPANESE INTERMEDIATE CODE: A01

Effective date: 20250114

A61 First payment of annual fees (during grant procedure)

Free format text: JAPANESE INTERMEDIATE CODE: A61

Effective date: 20250127

R150 Certificate of patent or registration of utility model

Ref document number: 7635755

Country of ref document: JP

Free format text: JAPANESE INTERMEDIATE CODE: R150