JP7635430B2 - 表示パネル及びモバイル端末 - Google Patents

表示パネル及びモバイル端末 Download PDF

Info

Publication number
JP7635430B2
JP7635430B2 JP2023570271A JP2023570271A JP7635430B2 JP 7635430 B2 JP7635430 B2 JP 7635430B2 JP 2023570271 A JP2023570271 A JP 2023570271A JP 2023570271 A JP2023570271 A JP 2023570271A JP 7635430 B2 JP7635430 B2 JP 7635430B2
Authority
JP
Japan
Prior art keywords
anode
light
layer
area
display panel
Prior art date
Legal status (The legal status is an assumption and is not a legal conclusion. Google has not performed a legal analysis and makes no representation as to the accuracy of the status listed.)
Active
Application number
JP2023570271A
Other languages
English (en)
Other versions
JP2024545980A (ja
Inventor
清 ▲塗▼
雪 周
Current Assignee (The listed assignees may be inaccurate. Google has not performed a legal analysis and makes no representation or warranty as to the accuracy of the list.)
Wuhan China Star Optoelectronics Semiconductor Display Technology Co Ltd
Original Assignee
Wuhan China Star Optoelectronics Semiconductor Display Technology Co Ltd
Priority date (The priority date is an assumption and is not a legal conclusion. Google has not performed a legal analysis and makes no representation as to the accuracy of the date listed.)
Filing date
Publication date
Priority claimed from CN202211468808.3A external-priority patent/CN115942772B/zh
Application filed by Wuhan China Star Optoelectronics Semiconductor Display Technology Co Ltd filed Critical Wuhan China Star Optoelectronics Semiconductor Display Technology Co Ltd
Publication of JP2024545980A publication Critical patent/JP2024545980A/ja
Application granted granted Critical
Publication of JP7635430B2 publication Critical patent/JP7635430B2/ja
Active legal-status Critical Current
Anticipated expiration legal-status Critical

Links

Images

Classifications

    • HELECTRICITY
    • H10SEMICONDUCTOR DEVICES; ELECTRIC SOLID-STATE DEVICES NOT OTHERWISE PROVIDED FOR
    • H10KORGANIC ELECTRIC SOLID-STATE DEVICES
    • H10K59/00Integrated devices, or assemblies of multiple devices, comprising at least one organic light-emitting element covered by group H10K50/00
    • H10K59/80Constructional details
    • H10K59/805Electrodes
    • H10K59/8051Anodes
    • H10K59/80515Anodes characterised by their shape
    • HELECTRICITY
    • H10SEMICONDUCTOR DEVICES; ELECTRIC SOLID-STATE DEVICES NOT OTHERWISE PROVIDED FOR
    • H10KORGANIC ELECTRIC SOLID-STATE DEVICES
    • H10K59/00Integrated devices, or assemblies of multiple devices, comprising at least one organic light-emitting element covered by group H10K50/00
    • H10K59/80Constructional details
    • H10K59/805Electrodes
    • H10K59/8051Anodes
    • HELECTRICITY
    • H10SEMICONDUCTOR DEVICES; ELECTRIC SOLID-STATE DEVICES NOT OTHERWISE PROVIDED FOR
    • H10KORGANIC ELECTRIC SOLID-STATE DEVICES
    • H10K59/00Integrated devices, or assemblies of multiple devices, comprising at least one organic light-emitting element covered by group H10K50/00
    • H10K59/10OLED displays
    • H10K59/12Active-matrix OLED [AMOLED] displays
    • H10K59/121Active-matrix OLED [AMOLED] displays characterised by the geometry or disposition of pixel elements
    • H10K59/1213Active-matrix OLED [AMOLED] displays characterised by the geometry or disposition of pixel elements the pixel elements being TFTs
    • HELECTRICITY
    • H10SEMICONDUCTOR DEVICES; ELECTRIC SOLID-STATE DEVICES NOT OTHERWISE PROVIDED FOR
    • H10KORGANIC ELECTRIC SOLID-STATE DEVICES
    • H10K59/00Integrated devices, or assemblies of multiple devices, comprising at least one organic light-emitting element covered by group H10K50/00
    • H10K59/10OLED displays
    • H10K59/12Active-matrix OLED [AMOLED] displays
    • H10K59/122Pixel-defining structures or layers, e.g. banks
    • HELECTRICITY
    • H10SEMICONDUCTOR DEVICES; ELECTRIC SOLID-STATE DEVICES NOT OTHERWISE PROVIDED FOR
    • H10KORGANIC ELECTRIC SOLID-STATE DEVICES
    • H10K59/00Integrated devices, or assemblies of multiple devices, comprising at least one organic light-emitting element covered by group H10K50/00
    • H10K59/10OLED displays
    • H10K59/12Active-matrix OLED [AMOLED] displays
    • H10K59/124Insulating layers formed between TFT elements and OLED elements
    • HELECTRICITY
    • H10SEMICONDUCTOR DEVICES; ELECTRIC SOLID-STATE DEVICES NOT OTHERWISE PROVIDED FOR
    • H10KORGANIC ELECTRIC SOLID-STATE DEVICES
    • H10K59/00Integrated devices, or assemblies of multiple devices, comprising at least one organic light-emitting element covered by group H10K50/00
    • H10K59/10OLED displays
    • H10K59/12Active-matrix OLED [AMOLED] displays
    • H10K59/131Interconnections, e.g. wiring lines or terminals
    • HELECTRICITY
    • H10SEMICONDUCTOR DEVICES; ELECTRIC SOLID-STATE DEVICES NOT OTHERWISE PROVIDED FOR
    • H10KORGANIC ELECTRIC SOLID-STATE DEVICES
    • H10K59/00Integrated devices, or assemblies of multiple devices, comprising at least one organic light-emitting element covered by group H10K50/00
    • H10K59/30Devices specially adapted for multicolour light emission
    • H10K59/35Devices specially adapted for multicolour light emission comprising red-green-blue [RGB] subpixels
    • HELECTRICITY
    • H10SEMICONDUCTOR DEVICES; ELECTRIC SOLID-STATE DEVICES NOT OTHERWISE PROVIDED FOR
    • H10KORGANIC ELECTRIC SOLID-STATE DEVICES
    • H10K59/00Integrated devices, or assemblies of multiple devices, comprising at least one organic light-emitting element covered by group H10K50/00
    • H10K59/30Devices specially adapted for multicolour light emission
    • H10K59/35Devices specially adapted for multicolour light emission comprising red-green-blue [RGB] subpixels
    • H10K59/352Devices specially adapted for multicolour light emission comprising red-green-blue [RGB] subpixels the areas of the RGB subpixels being different
    • HELECTRICITY
    • H10SEMICONDUCTOR DEVICES; ELECTRIC SOLID-STATE DEVICES NOT OTHERWISE PROVIDED FOR
    • H10KORGANIC ELECTRIC SOLID-STATE DEVICES
    • H10K59/00Integrated devices, or assemblies of multiple devices, comprising at least one organic light-emitting element covered by group H10K50/00
    • H10K59/80Constructional details
    • H10K59/805Electrodes
    • H10K59/8052Cathodes
    • HELECTRICITY
    • H10SEMICONDUCTOR DEVICES; ELECTRIC SOLID-STATE DEVICES NOT OTHERWISE PROVIDED FOR
    • H10KORGANIC ELECTRIC SOLID-STATE DEVICES
    • H10K59/00Integrated devices, or assemblies of multiple devices, comprising at least one organic light-emitting element covered by group H10K50/00
    • H10K59/80Constructional details
    • H10K59/875Arrangements for extracting light from the devices
    • H10K59/878Arrangements for extracting light from the devices comprising reflective means

Landscapes

  • Engineering & Computer Science (AREA)
  • Microelectronics & Electronic Packaging (AREA)
  • Physics & Mathematics (AREA)
  • Geometry (AREA)
  • Electroluminescent Light Sources (AREA)
  • Devices For Indicating Variable Information By Combining Individual Elements (AREA)

Description

本願は、表示の分野に関し、具体的には表示パネル及びモバイル端末に関するものである。
現在、有機エレクトロルミネッセンスディスプレイ(Organic Electroluminescence Display、OLED)は、小型携帯電話パネルにおいて主流市場を占める。従来の液晶ディスプレイがバックライトによって発光することとは異なり、OLEDパネルは、有機エレクトロルミネッセンス材料が自己発光し、各画素には1つの薄膜トランジスタスイッチが対応し、電流駆動型表示である。表示画面の端末は、例えば携帯電話、ノートパソコン、車両ディスプレイなどが挙げられ、画面の消費電力に対する要求がますます高くなり、そのため、パネル会社では、例えば低温ポリシリコン(Low Temperature Polycrystalline Oxide、LTPO)、偏光板レス(Pol-less)技術といった新規な低消費電力技術が湧き出ている。しかし、現在、これらの技術は、ほとんど薄膜トランジスタ(Thin Film Transistor、TFT)の製造プロセスセクション又はモジュラセクションで消費電力を低減させるだけであり、OLED内部の光取り出し効率が改善されていない。
そのため、光取り出し効率が高く且つ均衡で、発光素子の安定性が高く、且つ耐用年数が長い表示パネルが早急に求められている。
本願の実施例は、表示パネル及びモバイル端末を提供し、表示パネルの光取り出し効率を効果的に向上させることができ且つ光取り出しが均衡で、表示パネルの消費電力が低く、安定性が高く、耐用年数が長い。
本願は、
下地層と、
前記下地層に設置され、複数の第1の色発光素子、複数の第2の色発光素子、及び複数の第3の色発光素子を含み、さらにアノード層、画素定義層、発光層、及びカソードを含み、前記アノード層は、複数のアノードを含み、前記画素定義層には、前記アノードに対応して画素開口が設置され、前記発光層は、前記画素開口内に設置され且つ前記アノードに接続され、前記カソードは、前記発光層に設置される発光素子層と、を含み、
ここで、複数の前記アノードは、前記第1の色発光素子に対応する複数の第1のアノード、前記第2の色発光素子に対応する複数の第2のアノード、及び前記第3の色発光素子に対応する複数の第3のアノードを含み、前記画素開口内において、少なくとも1つの前記第1のアノード、1つの前記第2のアノード、及び1つの前記第3のアノードにいずれも窪み構造があり、前記窪み構造は、斜面を呈する反射側壁を含み、
前記第1のアノードの面積は、前記第2のアノードの面積よりも大きく、前記第2のアノードの面積は、前記第3のアノードの面積よりも大きく、
前記第1のアノードにおける前記窪み構造の面積と前記第1のアノードの面積との比率は、前記第2のアノードにおける前記窪み構造の面積と前記第2のアノードの面積との比率よりも小さく、前記第2のアノードにおける前記窪み構造の面積と前記第2のアノードの面積との比率は、前記第3のアノードにおける前記窪み構造の面積と前記第3のアノードの面積との比率よりも小さい表示パネルを提供する。
本願の一実施例において、前記第1のアノードにおける前記窪み構造の総面積は、前記第2のアノードにおける前記窪み構造の総面積よりも大きく、前記第2のアノードにおける前記窪み構造の総面積は、前記第3のアノードにおける前記窪み構造の総面積よりも大きい。
本願の一実施例において、前記窪み構造は、底面を含み、前記反射側壁は、前記底面の縁部に接続され、前記反射側壁は、前記底面の縁部に接続され、前記反射側壁と前記底面との間の鋭角夾角は、αであり、10≦α≦80°である。
本願の一実施例において、前記下地層に収容溝が設置され、前記窪み構造は、前記収容溝内に位置し、前記反射側壁は、前記収容溝の側壁に貼り合わせられ、前記窪み構造の形状は、前記収容溝の形状と同じであり、
ここで、前記下地層は、サブストレート、前記サブストレートに設置された駆動回路層、及び前記駆動回路層に設置された平坦層を含み、前記駆動回路層は、複数の駆動素子を含み、前記平坦層は、前記アノードに対応して設置された前記収容溝を含む。
本願の一実施例において、前記平坦層には、各アノードに対応してアノード接続孔が設置され、前記駆動素子は、前記アノード接続孔を介して対応する前記アノードに電気的に接続され、前記収容溝の縁部から前記アノード接続孔までの距離は、1um以上である。
本願の一実施例において、前記窪み構造の深さHは、0.1um≦H≦1umを満たし、前記底面の幅は、Wであり、且つ1um≦W≦10umである。
本願の一実施例において、前記アノードは、少なくとも2つの前記窪み構造を含み、隣接する2つの前記窪み構造の底面のエッジの間の間隔は、d1であり、前記d1>1um、且つ2H/tanα≦d1であり、Hは、前記窪み構造の深さである。
本願の一実施例において、前記窪み構造は、凹溝を含み、前記凹溝は、密閉凹溝又は線形凹溝を含み、
前記凹溝が前記線形凹溝である場合、前記アノードに複数本の前記線形凹溝が設置され、複数本の前記線形凹溝は、交差して設置される。
本願の一実施例において、前記凹溝の外輪郭は、それに対応する前記アノードの輪郭と少なくとも部分的に平行であり、且つ前記凹溝の外輪郭は、軸対称な図形である。
本願の一実施例において、各前記アノードにおける前記窪み構造の寸法は、同じであり、前記第1のアノードにおける前記窪み構造の数は、前記第2のアノードにおける前記窪み構造の数よりも大きく、前記第2のアノードにおける前記窪み構造の数は、前記第3のアノードにおける前記窪み構造の数よりも大きい。
本願は、さらに表示パネルを含むモバイル端末を提供し、前記表示パネルは、
下地層と、
前記下地層に設置され、複数の第1の色発光素子、複数の第2の色発光素子、及び複数の第3の色発光素子を含み、さらにアノード層、画素定義層、発光層、及びカソードを含み、前記アノード層は、複数のアノードを含み、前記画素定義層には、前記アノードに対応して画素開口が設置され、前記発光層は、前記画素開口内に設置され且つ前記アノードに接続され、前記カソードは、前記発光層に設置される発光素子層と、を含み、
ここで、複数の前記アノードは、前記第1の色発光素子に対応する複数の第1のアノード、前記第2の色発光素子に対応する複数の第2のアノード、及び前記第3の色発光素子に対応する複数の第3のアノードを含み、前記画素開口内において、少なくとも1つの前記第1のアノード、1つの前記第2のアノード、及び1つの前記第3のアノードにいずれも窪み構造があり、前記窪み構造は、斜面を呈する反射側壁を含み、
前記第1のアノードの面積は、前記第2のアノードの面積よりも大きく、前記第2のアノードの面積は、前記第3のアノードの面積よりも大きく、
前記第1のアノードにおける前記窪み構造の面積と前記第1のアノードの面積との比率は、前記第2のアノードにおける前記窪み構造の面積と前記第2のアノードの面積との比率よりも小さく、前記第2のアノードにおける前記窪み構造の面積と前記第2のアノードの面積との比率は、前記第3のアノードにおける前記窪み構造の面積と前記第3のアノードの面積との比率よりも小さい。
本願の一実施例において、前記第1のアノードにおける前記窪み構造の総面積は、前記第2のアノードにおける前記窪み構造の総面積よりも大きく、前記第2のアノードにおける前記窪み構造の総面積は、前記第3のアノードにおける前記窪み構造の総面積よりも大きい。
本願の一実施例において、前記窪み構造は、底面を含み、前記反射側壁は、前記底面の縁部に接続され、前記反射側壁と前記底面との間の鋭角夾角は、αであり、10≦α≦80°である。
本願の一実施例において、前記下地層に収容溝が設置され、前記窪み構造は、前記収容溝内に位置し、前記反射側壁は、前記収容溝の側壁に貼り合わせられ、前記窪み構造の形状は、前記収容溝の形状と同じであり、
ここで、前記下地層は、サブストレート、前記サブストレートに設置された駆動回路層、及び前記駆動回路層に設置された平坦層を含み、前記駆動回路層は、複数の駆動素子を含み、前記平坦層は、前記アノードに対応して設置された前記収容溝を含む。
本願の一実施例において、前記平坦層には、各アノードに対応してアノード接続孔が設置され、前記駆動素子は、前記アノード接続孔を介して対応する前記アノードに電気的に接続され、前記収容溝の縁部から前記アノード接続孔までの距離は、1um以上である。
本願の一実施例において、前記窪み構造の深さHは、0.1um≦H≦1umを満たし、前記窪み構造の底面の幅は、Wであり、且つ1um≦W≦10umである。
本願の一実施例において、前記アノードは、少なくとも2つの前記窪み構造を含み、隣接する2つの前記窪み構造の底面のエッジの間の間隔は、d1であり、前記d1>1um、且つ2H/tanα≦d1であり、Hは、前記窪み構造の深さである。
本願の一実施例において、前記窪み構造は、凹溝を含み、前記凹溝は、密閉凹溝又は線形凹溝を含み、
前記凹溝が前記線形凹溝である場合、前記アノードに複数本の前記線形凹溝が設置され、複数本の前記線形凹溝は、交差して設置される。
本願の一実施例において、前記凹溝の外輪郭は、それに対応する前記アノードの輪郭と少なくとも部分的に平行であり、且つ前記凹溝の外輪郭は、軸対称な図形である。
本願の一実施例において、各前記アノードにおける前記窪み構造の寸法は、同じであり、前記第1のアノードにおける前記窪み構造の数は、前記第2のアノードにおける前記窪み構造の数よりも大きく、前記第2のアノードにおける前記窪み構造の数は、前記第3のアノードにおける前記窪み構造の数よりも大きい。
本願では、表示パネルは積層して設置された下地層と発光素子層を含み、前記発光素子層は、複数の第1の色発光素子、複数の第2の色発光素子、及び複数の第3の色発光素子を含み、前記発光素子層は、アノード層、画素定義層、発光層及びカソードを含み、ここで、アノード層は、複数のアノードを含み、画素定義層に複数の画素開口が設置され、画素開口は、前記アノードに対応して、アノードの一部を露出させ、画素開口内に発光層が設置され、発光層は、画素開口内のアノードに接続され、発光層にカソードが設置されて、異なる色の発光素子を発光させ、前記複数のアノードは、前記第1の色発光素子に対応する複数の第1のアノード前記第2の色発光素子に対応する複数の第2のアノード、及び前記第3の色発光素子に対応する複数の第3のアノードを含み、且つ前記第1のアノードの面積は、前記第2のアノードの面積よりも大きく、前記第2のアノードの面積は、前記第3のアノードの面積よりも大きく、
前記画素開口内において、少なくとも1つの前記第1のアノード、1つの前記第2のアノード、及び1つの前記第3のアノードにいずれも窪み構造があり、前記窪み構造は、斜面を呈する反射側壁を含み、反射側壁は、一部の発光原子の側方向取り出した光を反射し、それを反射した後に順方向取り出した光を呈して射出させることができ、側方向取り出した光の光線の再利用を実現し、本来の順方向取り出した光を確保した上で、表示パネルの発光効率を効果的に向上させ、表示パネルの表示消費電力を低減させ、前記第1のアノードにおける前記窪み構造の面積と前記第1のアノードの面積との比率が前記第2のアノードにおける前記窪み構造の面積と前記第2のアノードの面積との比率よりも小さく、前記第2のアノードにおける前記窪み構造の面積と前記第2のアノードの面積との比率が前記第3のアノードにおける前記窪み構造の面積と前記第3のアノードの面積との比率よりも小さくなるように設置し、光取り出し効率の向上程度及びアノード表面の平坦度を平衡させて、表示パネルにおける異なる色発光素子の間の光取り出しをより均衡にし、光取り出し画面のホワイトバランスを確保し、表示パネルの表示効果を向上させ、表示パネルの耐用年数を延長する。
本願の実施例における技術的解決手段をより明確に説明するために、以下、実施例の説明に用いる必要がある図面を簡単に紹介し、明らかに、以下の説明における図面は、単に本願のいくつかの実施例であり、当業者であれば、創造的な労力を行わない前提で、さらにこれらの図面に基づいて他の図面を得ることができる。
本願の実施例にて提供される表示パネルの一部の構造の模式図である。 本願の実施例にて提供される表示パネルの膜層構造の模式図である。 本願の実施例にて提供される表示パネルの光取り出し原理図である。 本願の実施例にて提供される表示パネルにおける発光素子層の平面構造模式図である。 本願の実施例にて提供される別の表示パネルの発光素子層の平面構造模式図である。 本願の別の実施例にて提供される表示パネルの平面構造模式図である。 本願の別の実施例にて提供される表示パネルの平面構造模式図である。 本願の別の実施例にて提供される表示パネルの平面構造模式図である。 本願の実施例にて提供される表示パネルにおける発光素子の膜層断面図である。 本願の実施例にて提供される別の表示パネルにおける発光素子の膜層断面図である。 本願の実施例にて提供される別の表示パネルにおける発光素子の膜層断面図である。 図6又は図7のA-A’における断面図である。 図6又は図7のB-B’における断面図である。
以下、本願の実施例における図面と結び付けて、本願の実施例における技術的解決手段を明瞭、完全に説明し、明らかに、説明された実施例は、単に本願の一部の実施例であり、全ての実施例ではない。本願における実施例に基づき、当業者が創造的な労力を行わない前提で得た全ての他の実施例は、いずれも本願の保護範囲に属する。
本願の実施例は、表示パネル及びモバイル端末を提供する。以下、それぞれについて詳細に説明する。なお、以下の実施例の説明順序は、実施例の好ましい順序を限定するものではない。また、本願の説明において、用語の「含む」とは、「含むがこれらに限定されるものではない」ことである。第1の、第2の、第3のなどの用語は、標示として使用されるものに過ぎず、数字を押し付けることが要求されず、又は順序を確立することはない。本願の様々な実施例は、1つの範囲の形態で存在してもよく、理解すべきものとして、1つの範囲の形態での説明は、単に便利及び簡潔のためであり、本願の範囲に対する融通性のない制限として理解されるべきではなく、そのため、前記範囲説明は、全ての可能なサブ範囲及び当該範囲内の単一の数値を具体的に開示すると考えられるべきである。例えば、1から6までの範囲の説明は、1から3まで、1から4まで、1から5まで、2から4まで、2から6まで、3から6までなどのサブ範囲、及び例えば1、2、3、4、5及び6などの範囲内の単一の数字を具体的に開示し、これは、どんな範囲にも関わらず適用されると考えられるべきである。また、本明細書では数値の範囲が示される場合、示される範囲内の任意の引用される数字(分数又は整数)を含むことを意味する。
従来技術は、相対的に消費電力のより低い表示パネルを提供する傾向にあり、従来の表示パネルの低消費電力は、通常、駆動素子又は表示モジュール構造を改良することにより工程改良を行い、OLEDの発光層工程を改良することが少なく、よって、OLEDの消費電力低減にボトルネックがあり、表示パネル全体の光取り出し率が低い。
表示パネルの光取り出し効率を向上させ、表示パネルの表示消費電力を低減させ、表示パネルの耐用年数を延長するために、本願は、以下の技術的解決手段を提供し、具体的には図1a~図12を参照する。
本願の実施例は、具体的には図1a-図12を参照して、
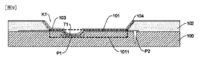
下地層100と、
前記下地層100に設置され、複数の第1の色発光素子201、複数の第2の色発光素子202、及び複数の第3の色発光素子203を含み、さらにアノード層、画素定義層102、発光層103、及びカソード104を含み、前記アノード層は、複数のアノード101を含み、前記画素定義層には、前記アノードに対応して画素開口K1が設置され、前記発光層103は、前記画素開口K1内に設置され且つ前記アノード101に接続され、前記カソード104は、前記発光層103に設置される発光素子層と、
を含み、
ここで、複数の前記アノード101は、前記第1の色発光素子201に対応する複数の第1のアノード201a、前記第2の色発光素子202に対応する複数の第2のアノード202a、及び前記第3の色発光素子203に対応する複数の第3のアノード203aを含み、前記画素開口K1内において、少なくとも1つの前記第1のアノード201a、1つの前記第2のアノード202a、及び1つの前記第3のアノード203aにいずれも窪み構造T1があり、前記窪み構造T1は、斜面を呈する反射側壁T12を含み、
前記第1のアノード201aの面積は、前記第2のアノード202aの面積よりも大きく、前記第2のアノード202aの面積は、前記第3のアノード203aの面積よりも大きく、
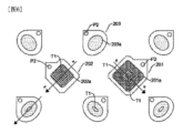
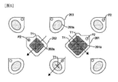
図4に示すように、前記窪み構造T1を有する複数の前記アノード101において、前記第1のアノード201aにおける前記窪み構造T1の面積の比率は、前記第2のアノード202aにおける前記窪み構造T1の面積の比率よりも小さく、前記第2のアノード202aにおける前記窪み構造T1の面積の比率は、前記第3のアノード203aにおける前記窪み構造T1の面積の比率よりも小さい表示パネルを提供する。
なお、アノード101の構造は、発光素子の安定性、発光素子の耐用年数、及び表示パネルの表示効果に大きな影響を与え、アノード101に窪み構造T1を設置することにより光取り出し効率を向上させる効果を果たすことができるが、窪み構造T1の製造プロセスにより、アノード101の表面に凹凸構造を呈させ、発光層103とアノード101との接触に不良が発生しやすく、光取り出し効率、発光素子の安定性及び発光素子の耐用年数を均衡させるために、本実施例の技術的解決手段が提供される。
具体的には、図1bに示すように、前記下地層100は、表示パネルのサブストレート1001と駆動回路層1002との組み合わせを含んでもよく、駆動回路層1002の発光層103に近い側に平坦層1003が設置され、前記平坦層1003の材料は、有機高重合体であってもよく、前記サブストレート1001の材料は、ガラス、又は透明セラミック、又は透明プラスチック、又は様々な可撓性若しくは屈曲性材料であってもよく、例えば、ポリエーテルスルホン(Polyethersulfone、PES)、ポリアクリレート(Polyacrylate、PAR)、ポリエーテルイミド(Polyetherimide、PEI)、ポリエチレンナフタレート(Polyethylenenaphthalate、PEN)、ポリエチレンテレフタレート(Polyethyleneterephthalate、PET)、ポリフェニレンサルファイド(Polyphenylenesulfide、PPS)、ポリアリレート、ポリイミド(Polyimide、PI)、ポリカーボネート(Polycarbonate、PC)又はセルロースアセテートプロピオネート(Cellulose Acetate Propionate、CAP)などの高分子樹脂が挙げられる。
図1bに示すように、前記駆動回路層1002は、本実施例において、アレイ基板層であってもよく、アレイ基板層は、複数の駆動素子10021を含み、前記駆動素子10021は、具体的には薄膜トランジスタであってもよく、前記薄膜トランジスタは、前記発光素子に接続され、前記発光層103における発光素子の発光を制御する。
具体的には、前記発光素子層は、画素定義層102を含み、前記画素定義層102に複数の画素開口K1が設置され、前記画素開口K1の直径は、同じであってもよく、異なってもよく、具体的には実際の生産状況に応じて調整することができ、ここでは限定されず、前記画素定義層102の材料は、光硬化型接着剤を含むがこれに限定されない。
具体的には、前記発光素子層は、さらにアノード層を含み、前記アノード層は、複数のアノード101を含み、複数のアノード101は、同層で且つ間隔を置いて設置され、且つ1つのアノード101は、1つの発光素子に対応する。
具体的には、本実施例において、前記第1の色発光素子201は、青色発光素子であり、前記第2の色発光素子202は、赤色発光素子であり、前記第3の色発光素子203は、緑色発光素子である。
具体的には、図1aに示すように、前記画素定義層102は、前記アノード層に設置され、且つ1つの前記画素開口K1は、1つの前記アノード101に対応して設置され、前記画素開口K1の輪郭形状は、それに対応するアノード101の形状と一致し、前記アノード101の材料は、高反射性能を有する導電材料であり、具体的には金属、合金、金属酸化物又は他の導電材料を含んでもよく、例えば銀、チタン、アルミニウムなどが挙げられる。
具体的には、図1aに示すように、前記画素開口K1内の前記アノード101に発光層103が設置され、前記発光層103の材料は、有機発光材料であり、前記画素開口の直径は、L1である。
具体的には、図1aに示すように、前記発光層103にカソード104が設置され、前記カソード104の材料は、金属、金属酸化物及び透明導電材料を含むがこれらに限定されない。
なお、図2に示すように、前記発光層103の発光原子が発する光線は、複数の向きを有し、一部の発光原子は、水平方向において光取り出しにより有利であり(しかし、全て水平な光取り出しではない)、発光層103の発光原子は、電荷注入と複合作用で、発する光線が順方向取り出した光SLと一部の側方向取り出した光BLを含み、従来の発光素子構造において、側方向取り出した光BLが絶えず反射され、導波モードが形成され、順方向取り出した光SLができず、光取り出しの結合効率を低減させ、通常、発光層103の光取り出しは、20%しか利用できない。
さらに光取り出し効果を向上させるために、本実施例のアノード101が窪み構造T1を有するように設置し、窪み構造T1は、反射側壁T12を有し、元の発光原子の順方向取り出した光SLを確保した上で、一部の側方向取り出した光BLは、前記反射側壁T12に照射して反射され、増加した順方向取り出した光SLが形成され、一部の側方向取り出した光BLの光線をさらに利用し、発光層103の光取り出し効率を向上させる。
具体的には、前記窪み構造T1は、具体的には凹溝であってもよく、底面T11を含み、反射側壁T12は、凹溝の内側壁として前記底面T11に接続され、反射側壁T12は、高い反射率を有する。
具体的には、前記窪み構造T1が斜面を呈する反射側壁T12を含むことにおいて、「斜面を呈する」とは、反射側壁T12全体が底面T11(水平面であってもよい)に対して一定の傾斜角度を有し、前記反射側壁T12と底面T11との鋭角夾角αは、0~90°であり、端点値を含まず、アノード層の厚さ及び画素開口K1の寸法に限定されるため、当該夾角は、好ましくは10~80°であり、より好ましくは20~60°であり、さらに好ましくは45°を選択する。
具体的には、本願の前記アノード101における窪み構造T1において、反射側壁T12は、形状又は具体的な構造が限定されず、側方向取り出した光BLを反射可能な構造は、いずれも本願の保護範囲内にある。
具体的には、前記アノード層におけるアノード101の周辺部分は、前記画素定義層102における画素開口K1の開口縁部と部分的に重なり、前記下地層100にアノード接続孔P2が設置され、前記アノード101の一部は、前記アノード接続孔P2を貫通して駆動素子10021に電気的に接続され、前記画素開口から露出したアノード101部分は、有効アノード1011である。
具体的には、前記発光層103は、前記画素開口K1内に設置され、且つ前記発光層103は、前記画素開口K1内のアノード101(具体的には有効アノード1011)、及び画素開口K1の側壁に密着する。
具体的には、前記発光層103は、蒸着された有機材料であり、積層して設置された正孔輸送層、機能層、発光層103、及び電子輸送と電子注入層を含む。
具体的には、前記発光層103にカソード104が設置され、前記カソード104は、全面に設置されてもよく、すなわち前記カソード104は、前記画素定義層102と前記発光層103を覆う。
具体的には、複数の前記第1の色発光素子201において、全ての第1の色発光素子201がいずれも前記窪み構造T1を有するとしてもよく、一部の前記第1の色発光素子201が前記窪み構造T1を有するとしてもよい。
具体的には、複数の前記第2の色発光素子202において、全ての第2の色発光素子202がいずれも前記窪み構造T1を有するとしてもよく、一部の前記第2の色発光素子202が前記窪み構造T1を有するとしてもよい。
具体的には、複数の前記第3の色発光素子203において、全ての第3の色発光素子203がいずれも前記窪み構造T1を有するとしてもよく、一部の前記第3の色発光素子203が前記窪み構造T1を有するとしてもよい。
具体的には、前記第1のアノード201aにおける前記窪み構造T1の面積の比率が前記第2のアノード202aにおける前記窪み構造T1の面積の比率よりも小さく、前記第2のアノード202aにおける前記窪み構造T1の面積の比率が前記第3のアノード203aにおける前記窪み構造T1の面積の比率よりも小さくなるように設置することにより、窪み構造T1が設置された第1のアノード201aの表面は、窪み構造T1が設置された第2のアノード202aの表面及び第3のアノード203aの表面よりもより高い平坦度を有し、青色発光素子のアノード101と発光層103との接触をより緊密にさせ、青色発光素子の耐用年数を効果的に延長し、青色発光素子自体の材料制限による耐用年数が他の色発光素子の耐用年数よりも短いという欠陥を補い、表示パネル全体の耐用年数を向上させ、しかも表示パネル全体の光取り出し効率を高くさせる。
理解できるように、表示パネルは積層して設置された下地層100と発光素子層を含み、前記発光素子層は、アノード層、画素定義層102、発光層103及びカソード104を含み、ここで、アノード層は、複数のアノード101を含み、画素定義層102は、アノード層に設置され、画素定義層102に複数の画素開口K1が設置され、画素開口K1は、前記アノード101と一対一で対応し、一部のアノード101を露出させ、画素開口K1内に発光層103が設置され、且つ発光層103は、画素開口K1内のアノード101に接続され、発光層103にカソード104が設置され、前記画素開口K1内に、少なくとも1つの前記アノード101に窪み構造T1があり、前記窪み構造T1は、斜面を呈する反射側壁T12を含み、反射側壁T12は、一部の発光原子の側方向取り出した光BLを反射し、それを反射した後に順方向取り出した光SLを呈して射出させることができ、側方向取り出した光BLの光線の再利用を実現し、本来の順方向取り出した光SLを確保した上で、表示パネルの発光効率を効果的に向上させ、表示パネルの表示消費電力を低減させ、表示パネルの耐用年数を延長した。
しかも、異なる色発光素子における窪み構造の配列を差別に調整することにより、前記第1の色発光素子201における前記窪み構造T1の面積の比率が前記第2の色発光素子202における前記窪み構造T1の面積の比率よりも小さく、前記赤色発光素子における前記窪み構造T1の面積の比率が前記緑色発光素子における前記窪み構造T1の面積の比率よりも大きくなり、赤色及び緑色発光素子に比べて、青色発光素子のアノードの上面の平坦度がより高く、発光素子の表示がより安定し、耐用年数がより長くなり、表示パネル全体における白色光の光取り出し効率を効果的に向上させるとともに、表示パネルの耐用年数を効果的に延長することができる。
1つの実施例において、前記第1のアノード201aにおける前記窪み構造T1の総面積は、前記第2のアノード202aにおける前記窪み構造T1の総面積よりも大きく、前記第2のアノード202aにおける前記窪み構造T1の総面積は、前記第3のアノード203aにおける前記窪み構造T1の総面積よりも大きい。
なお、図3~図7に示すように、実施例において、青色発光素子の耐用年数及び光取り出し効率が、通常、赤色発光素子と緑色発光素子よりも小さく、表示パネルに表示された光取り出し効率をさらに向上させ、表示効果を平衡させ、表示パネルの耐用年数を向上させるために、通常、青色発光素子の面積が赤色発光素子の面積よりも大きく、青色発光素子の面積が緑色発光素子の面積よりも大きく、又は青色発光素子の面積が赤色発光素子の面積よりも大きく、赤色発光素子の面積が緑色発光素子の面積よりも大きくなるように設置する。
上記の理由に基づき、図2に示すように、第1の色発光素子201に対応する青色発光素子の光取り出し効率を、第2の色発光素子202に対応する赤色発光素子の光取り出し効率よりも大きくさせ、第3の色発光素子203に対応する緑色発光素子の光取り出し効率よりも大きくさせ、ひいては全体の表示パネルの光取り出し効率を同期に向上させるために、全ての第1の色発光素子201における窪み構造T1の総面積が、全ての第2の色発光素子202における窪み構造T1の総面積よりも大きくなり、全ての第3の色発光素子203における窪み構造T1の総面積よりも大きくなるように設置する必要がある。
具体的には、図3、図5、図6及び図7に示すように、窪み構造T1が設置された第2の色発光素子202の数、窪み構造T1が設置された第1の色発光素子201の数、及び窪み構造T1が設置された第3の色発光素子203の数は、異なってもよく、具体的には、実際の状況に応じて調整してもよいが、第1の色発光素子201に対応する青色発光素子の光取り出し効率を、第2の色発光素子202に対応する赤色発光素子の光取り出し効率よりも大きくさせ、第3の色発光素子203に対応する緑色発光素子の光取り出し効率よりも大きくさせ、表示パネル全体の光取り出し効率を向上させ、青色発光素子自体の材料の要因による表示効果への影響を回避するために、全ての第1の色発光素子201における窪み構造T1の総面積が、全ての第2の色発光素子202における窪み構造T1の総面積よりも大きくなり、全ての第3の色発光素子203における窪み構造T1の総面積よりも大きくなることを満たす必要がある。
具体的には、前記窪み構造T1の総面積とは、前記下地層100に垂直な方向に、表示パネルにおいて、当該色の全ての発光素子における窪み構造T1の面積の総和である。
実際の生産過程において、前記窪み構造T1が凹溝である場合、前記窪み構造T1の面積とは、凹溝の底面T11の面積のみを指してもよく、前記下地層100に垂直な方向において、前記反射側壁T12の投影が小さいため、無視されてもよい。
1つの実施例において、第1のアノード201a、第2のアノード202a及び第3のアノード203aにおける窪み構造の形状を限定せず、通常、製造プロセスの便宜上、異なるアノード101における窪み構造T1の寸法を同じにする。
別の実施例において、第1のアノード201a、第2のアノード202a及び第3のアノード203aにおける窪み構造の寸法は、異なってもよく、例えば帯状凹溝である場合、異なるアノード101における凹溝の幅は、各色発光素子がそれに対応する大きい光取り出し効率を有することを確保するために、異なるように設置されてもよい。
理解できるように、前記第1のアノード201aにおける前記窪み構造T1の総面積を前記第2のアノード202aにおける前記窪み構造T1の総面積よりも大きくさせ、前記第2のアノード202aにおける前記窪み構造T1の総面積を前記第3のアノード203aにおける前記窪み構造T1の総面積よりも大きくさせ、異なる色発光素子について、それに対応するアノード101における窪み構造T1を区別して設置することにより、青色発光素子の光取り出し効率をより多く向上させ、表示パネルの青色発光素子の光取り出し効率を顕著に増強させ、青色発光素子の耐用年数を延長し、さらに表示パネルの耐用年数を向上させる。
1つの実施例において、各前記アノードにおける前記窪み構造の寸法は、同じであり、前記第1の色発光素子における前記窪み構造の数は前記第2の色発光素子における前記窪み構造の数よりも大きく、前記第2の色発光素子における前記窪み構造の数は前記第3の色発光素子における前記窪み構造の数よりも大きい。
具体的には、本実施例において、異なる前記発光素子における前記窪み構造T1の寸法は、同じであり、前記窪み構造T1の寸法が同じであるとは、窪み構造T1が密閉凹溝である場合、対応する凹溝の深さ、反射側壁T12の傾斜角度、底面T11の形状(又は外輪郭)がいずれも同じであり、窪み構造T1が線型凹溝である場合、寸法、具体的には対応する凹溝の深さ、反射側壁T12の傾斜角度、及び対向して設置された2つの反射側壁T12の間の最短距離(又は凹溝の幅)が同じであることを指す。
なお、図11は、図6又は図7におけるA-A’の断面図であってもよく、図12は、図6又は図7におけるB-B’の断面図であってもよい。
1つの具体的な実施例において、図7に示すように、発光素子が円形である場合、前記窪み構造T1の外輪郭は、円形であり、ここで、前記第3の色発光素子203に1つの密閉凹溝が設置され、前記赤色発光素子に円環形凹溝が設置され、前記青色発光素子に2つの同心環状凹溝が設置される。
1つの具体的な実施例において、図5に示すように、発光素子が方形/楕円形である場合、前記緑色発光素子に窪み構造T1が設置されなくてもよく、十字形の帯状凹溝が設置されてもよく、前記赤色発光素子に井字形凹溝(すなわちXYが上向きであり、2本ごとの線型凹溝が交差する)が設置されてもよく、前記青色発光素子に複数の帯状凹溝が交差して格子状(すなわちXYが上向きであり、3本ごとの線型凹溝が交差する)を呈するように設置されてもよい。
1つの具体的な実施例において、図6に示すように、発光素子が方形/楕円形である場合、前記緑色発光素子に窪み構造T1が設置されなくてもよく、楕円形密閉凹溝が設置されてもよく、前記赤色発光素子に方形環状凹溝が設置されてもよく、前記青色発光素子に回字形凹溝(すなわち2つの同心の方形環状凹溝)が設置されてもよい。
なお、上記実施例に加え、発光素子が多角形構造に設置され、例えば四角形から八角形又はN角形に設計されると、窪み構造T1の形状がそれに伴って変化し、窪み構造T1の各辺が対応する発光素子の側辺と平行であることを確保すればよく、且つ前記窪み構造T1の形状は、少なくとも1つの方向における対称性を有する。上記技術的解決手段により、OLED表示パネルの発光の視野角は対称性を有し、光学表現力の悪化を回避する。
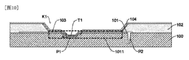
1つの実施例において、前記窪み構造T1は、底面T11を含み、前記反射側壁T12は、前記底面T11の縁部に接続され、前記反射側壁T12と前記下地層100との間の鋭角夾角は、αであり、10≦α≦80°である。
具体的には、前記窪み構造T1は、平坦面を有する底面T11を含み、前記画素開口K1内の前記発光層103は、前記画素開口K1内のアノード101、及び画素開口K1の側壁に密着して設置される。
具体的には、表示パネルの視野角の色かぶりを改善するために、反射側壁T12の傾斜角度をさらに制限する。
具体的には、前記下地層100に垂直な方向に、前記窪み構造T1の外輪郭形状が異なり、前記底面T11の形状も異なり、前記底面T11の外輪郭形状は、前記発光素子層の対応する発光素子形状と同じであることが好ましく、円形、環形、矩形又は他の規則的又は不規則な図形であってもよい。
理解できるように、反射側壁T12と前記第1層との間の鋭角角度αの範囲を10~80°の間にさらに制限することにより、側方向取り出した光BLの光取り出し量が増加し、表示パネルの色かぶりがある程度改善される。
1つの実施例において、図2、図3及び図4に示すように、前記窪み構造T1の底面T11は、平坦面であり、前記反射側壁T12は、平坦斜面又は弧状斜面である。
具体的には、前記底面T11が平坦であるのは、発光原子の光取り出し効果を向上させるためである。
なお、発光原子が発光し(順方向取り出した光SLの発光原子のみを指す)、順方向視野角(すなわち光線が光取り出し面に垂直であり、角度が0°である)での光取り出し輝度が最も強く、視野角が大きくなるにつれて、光線輝度が減衰し、底面T11が平坦ではなければ、発光原子の順方向取り出した光SLに影響を与える。
本実施例は、外側に突出する斜面が好ましく、反射側壁T12を外側に突出させるように設置することにより、可能な限り大きい角度で一部の発光原子の側方向取り出した光BLを反射することができる一方、反射側壁T12上の発光層103における発光原子自体の光取り出しモードに影響を与えず、平坦斜面の反射側壁T12と内側に凹んだ斜面よりも視野角範囲をさらに増加することができる。
1つの実施例において、図1aに示すように、前記下地層100に収容溝P1が設置され、前記窪み構造T1は、前記収容溝P1内に位置し、前記窪み構造T1の前記反射側壁T12は、前記収容溝P1の側壁に貼り合わせられ、前記窪み構造T1の形状は、前記収容溝P1の形状と同じであり、
ここで、前記下地層100は、サブストレート1001、前記サブストレート1001に設置された駆動回路層1002、及び前記駆動回路層1002に設置された平坦層1003を含み、前記駆動回路層1002は、複数の駆動素子10021を含み、前記収容溝P1は、前記平坦層1003に設置され、すなわち平坦層は、アノードに対応して設置された収容溝を含む。
なお、従来技術におけるアノード層は、通常、厚さが限られ、そのため窪み構造T1を設置しても、その反射側壁T12の登坂距離が長く、傾斜の角度αが小さく、側方向取り出した光BLをよりよく反射することができず、光取り出し効率の向上が限られる。
上記理由に基づき、下地層100の平坦層1003に収容溝P1を設置することにより、収容溝P1の形状及び深さは、実際に必要とされる窪み構造T1の寸法(形状や深さ)に応じて製造プロセス上のマッチング調整(平坦層1003をエッチングすることにより実現)を行うことができ、収容溝P1を形成した後、アノード層が下地層100に形成され、アノード層の当該収容溝P1に対応する位置に窪み構造T1が形成される。
理解できるように、下地層100に収容溝P1を設置することにより、アノード層の窪み構造T1における反射側壁T12の傾斜角度の選択可能な範囲性がより大きくなり、製造プロセスがより容易になり、精度要求は、アノード層に窪み構造T1を直接に設置する解決手段よりもさらに低く、且つ生産プロセスを追加せず、生産コストが低い。
上記実施例を基に、図11及び図12に示すように、前記平坦層1003に各アノード101に対応して1つのアノード接続孔P2が設置され、前記収容溝P1の縁部から前記アノード接続孔P2までの距離は、1um以上である。
具体的には、図11又は12に示すように、前記収容溝P1の縁部は、実際に発光素子の有効アノード1011の縁部であり、当該縁部から前記アノード接続孔P2までの距離が1um以上であるように設置するのは、発光素子と駆動素子10021とのより良好な接続を確保し、製造プロセスにおける穿孔の精度誤差による発光素子の表示不良を回避するためであり、具体的には1um、3um、5umなどを選択してもよい。
対応的に、1つの実施例において、前記発光素子における前記窪み構造T1から対応する画素開口K1の内縁部までの最短距離は、境界距離であり、前記第1の色発光素子201における前記窪み構造T1の境界距離は、前記第2の色発光素子202における前記窪み構造T1の境界距離よりも小さく、前記第2の色発光素子202における前記窪み構造T1の境界距離は、前記第3の色発光素子203における前記窪み構造T1の境界距離よりも小さい。
上記実施例を基に、図1aに示すように、前記窪み構造T1の深さHは、0.1um≦H≦1umを満たし、前記底面T11の幅は、Wであり、且つ1um≦W≦10umである。
具体的には、前記窪み構造T1の深さHは、具体的には0.1um、0.2um、0.3um、0.5um、0.7um、0.9um、1.0umのいずれかであってもよく、実際の生産状況に応じて調整することができる。
1つの実施例において、図11と図12に示すように、前記アノード101は、少なくとも2つの前記窪み構造T1を含み、隣接する2つの前記窪み構造T1の底面T11のエッジの間の間隔は、d1であり、前記d1>1um、且つ2H/tanα≦d1であり、Hは、前記窪み構造T1の深さである。
具体的には、d1は、隣接する2つの前記窪み構造T1の底面T11のエッジの間の間隔の最小値である。
具体的には、発光素子の光取り出し効率を可能な限り向上させるために、発光素子の光取り出し効率は、所定の段階で、傾斜角度が一定である場合、発光素子の光取り出し効率が前記反射側壁T12の面積と正の相関を呈し、複数の前記アノード101が少なくとも2つの前記窪み構造T1を含むように設置する。
理解できるように、アノード101に複数の窪み構造T1が設置されると、前記反射側壁T12の面積をある程度増加し、発光素子の光取り出し効率を向上させることができる。
1つの実施例において、前記アノード101は、少なくとも1つの前記窪み構造T1を含み、前記窪み構造T1は、凹溝を含み、前記凹溝は、密閉凹溝又は線形凹溝を含む。
具体的には、前記窪み構造T1は、底面T11及び前記反射側壁T12を含み、前記密閉凹溝の前記底面T11は、平面図形であり、例えば円形、楕円形、矩形などであり、前記線形凹溝の前記底面T11は、1つの延伸方向を有する長尺状であり、その延伸方向は、前記アノード101の縁部と平行であってもよい。
具体的には、前記発光素子に対応する前記アノード101に窪み構造T1を複数、好ましくは4個以下設置してもよく、具体的には窪み構造T1の寸法、製造プロセスの精度に応じて調整する。
具体的には、前記凹溝は、様々な形状を有してもよく、前記凹溝の断面形状は、軸対称な多角形、逆台形、半円弧形などを含むがそれらに限定されない。
さらに、前記長尺状は、直線長尺であってもよく、曲線長尺環状の凹溝であってもよく、図6と図7の第1のアノード201aと第2のアノード202aにおける凹溝は、例えば円環形、回字形である。
具体的には、前記密閉凹溝とは、底面T11が密閉図形の凹溝であり、図5、図6及び図7の第3のアノード203aにおける凹溝は、例えば底面T11が円形、楕円形、矩形のうちいずれか1つである。
本願は、窪み構造T1の形状を制限せず、実際の生産状況及び必要に応じて調整することができる。
1つの実施例において、前記凹溝は、前記線形凹溝であり、前記アノード101に複数本の前記線形凹溝が設置され、複数本の前記線形凹溝は、交差して設置される。
具体的には、図5に示すように、第2のアノード202aに設置された井字形凹溝、第1のアノード201aに設置された複数本の横縦に交差する網状凹溝が挙げられる。
1つの実施例において、図5、図6及び図7に示すように、前記凹溝の輪郭は、いずれもそれに対応する前記アノード101の輪郭と少なくとも部分的に平行であり、且つ前記凹溝の輪郭は、軸対称な図形である。
具体的には、前記発光素子層は、複数の発光素子を含み、平面視状態で、各発光素子は、いずれも対応する外輪郭を有し、円形、矩形、多角形、又は不規則的な形状であってもよい。
具体的には、前記凹溝の輪郭形状とは、平面視状態で、前記凹溝の長さ方向に囲まれた外輪郭がそれに対応する発光素子(具体的にはアノード101、さらに有効アノード1011)の外輪郭の形状と同じであることであり、例えば、前記有効アノード1011の外輪郭が円形であると、前記凹溝に囲まれたパターンも円形であり、例えば、前記有効アノード1011の外輪郭が矩形であると、前記凹溝に囲まれたパターンも矩形であり、又は前記凹溝は、前記有効アノード1011の縁部に平行な直線凹溝であり、囲まれたパターンは、井字形である。
なお、表示パネルの視野角の対称性を確保するために、従来の発光素子(サブ画素として理解されてもとい)の形状は、通常、軸対称な図形である。
理解できるように、本実施例は、前記凹溝に囲まれた形状が前記発光素子の形状と同じであり、又は凹溝の延伸方向がそれに対応する側辺と平行であるように設置し、いずれも表示パネルの視野角の対称性を効果的に向上させ、光学表現力を改善することができる。
本願は、さらに上記いずれか1項に記載の表示パネルを含むモバイル端末を提供する。
具体的には、前記モバイル端末は、巻き取り可能又は折り畳み可能な携帯電話、腕時計、ブレスレット、テレビ又は他のウェアラブルディスプレイ若しくはタッチコントロール電子機器、及びフレキシブルなスマートフォン、タブレットコンピュータ、ノートパソコン、デスクトップディスプレイ、テレビ、スマート眼鏡、スマート腕時計、ATM機器、デジタルカメラ、車載ディスプレイ、医療用ディスプレイ、産業用ディスプレイ、電子書籍、電気泳動表示装置、ゲーム機、透明ディスプレイ、両面ディスプレイ、裸眼3Dディスプレイ、鏡面表示装置、半反射半透過型表示装置などを含むがそれらに限定されない。
以上をまとめると、本願では、表示パネルは積層して設置された下地層100と発光素子層を含み、前記発光素子層は、アノード層、画素定義層102、発光層103及びカソード104を含み、ここで、アノード層は、複数のアノード101を含み、画素定義層102がアノード層に設置され、画素定義層102に複数の画素開口K1が設置され、画素開口K1は、前記アノード101と一対一で対応し、一部のアノード101を露出させ、画素開口K1内に発光層103が設置され、且つ発光層103は、画素開口K1内のアノード101に接続され、発光層103にカソード104が設置され、前記画素開口K1内において、少なくとも1つの前記アノード101に窪み構造T1があり、前記窪み構造T1は、斜面を呈する反射側壁T12を含み、反射側壁T12は、一部の発光原子の側方向取り出した光BLを反射し、それを反射した後に順方向取り出した光SLを呈して射出させることができ、側方向取り出した光BLの光線の再利用を実現し、本来の順方向取り出した光SLを確保した上で、表示パネルの発光効率を効果的に向上させ、表示パネルの表示消費電力を低減させ、表示パネルの耐用年数を延長する。
しかも、前記第1のアノード201aにおける前記窪み構造T1の総面積が前記第2のアノード202aにおける前記窪み構造T1の総面積よりも大きく、前記第2のアノード202aにおける前記窪み構造T1の総面積が前記第3のアノード203aにおける前記窪み構造T1の総面積よりも大きくなるように設置することにより、異なる色発光素子について、それに対応するアノード101における窪み構造T1を区別して設置し、青色発光素子の光取り出し効率をより多く向上させ、表示パネルの青色発光素子の光取り出し効率を顕著に増強させ、青色発光素子の耐用年数を延長し、さらに表示パネルの耐用年数を向上させる。
以上、本願の実施例にて提供される表示パネル及びモバイル端末について詳細に紹介し、本明細書では具体的な個別例を応用して本願の原理及び実施形態について記述し、以上の実施例の説明は、本願の方法及びその核心思想を理解することに役立つものに過ぎず、しかも、当業者が本願の思想に基づき、具体的な実施形態及び応用範囲に対していずれも変更を行うことがあり、要するに、本明細書の内容は、本願を限定するものとして理解されるべきではない。
下地層-100、アノード-101、有効アノード-1011、画素定義層-102、発光層-103、カソード-104、画素開口-K1、窪み構造-T1、反射側壁-T12、底面-T11、収容溝-P1、アノード接続孔-P2、画素開口直径L1、窪み構造の底面の幅W、窪み構造の深さH、反射側壁と底面との鋭角角度α、順方向取り出した光-SL、側方向取り出した光-BL、第1の色発光素子-201、第2の色発光素子-202、第3の色発光素子-203、第1のアノード-201a、第2のアノード-202a、第3のアノード-203a、サブストレート-1001、駆動回路層-1002、平坦層-1003、駆動素子-10021。

Claims (11)

  1. 下地層と、
    前記下地層に設置され、複数の第1の色発光素子、複数の第2の色発光素子、及び複数の第3の色発光素子を含み、さらにアノード層、画素定義層、発光層、及びカソードを含み、前記アノード層は、複数のアノードを含み、前記画素定義層には、前記アノードに対応して画素開口が設置され、前記発光層は、前記画素開口内に設置され且つ前記アノードに接続され、前記カソードは、前記発光層に設置される発光素子層と、
    を含み、
    ここで、複数の前記アノードは、前記第1の色発光素子に対応する複数の第1のアノード、前記第2の色発光素子に対応する複数の第2のアノード、及び前記第3の色発光素子に対応する複数の第3のアノードを含み、前記画素開口内において、少なくとも1つの前記第1のアノード、1つの前記第2のアノード、及び1つの前記第3のアノードにいずれも窪み構造があり、前記窪み構造は、斜面を呈する反射側壁を含み、
    前記第1のアノードの面積は、前記第2のアノードの面積よりも大きく、前記第2のアノードの面積は、前記第3のアノードの面積よりも大きく、
    前記第1のアノードにおける前記窪み構造の面積と前記第1のアノードの面積との比率は、前記第2のアノードにおける前記窪み構造の面積と前記第2のアノードの面積との比率よりも小さく、前記第2のアノードにおける前記窪み構造の面積と前記第2のアノードの面積との比率は、前記第3のアノードにおける前記窪み構造の面積と前記第3のアノードの面積との比率よりも小さい、表示パネル。
  2. 前記第1のアノードにおける前記窪み構造の総面積は、前記第2のアノードにおける前記窪み構造の総面積よりも大きく、前記第2のアノードにおける前記窪み構造の総面積は、前記第3のアノードにおける前記窪み構造の総面積よりも大きい、請求項1に記載の表示パネル。
  3. 前記窪み構造は、底面を含み、前記反射側壁は、前記底面の縁部に接続され、前記反射側壁と前記底面との間の鋭角夾角は、αであり、10≦α≦80°である、請求項1に記載の表示パネル。
  4. 前記下地層に収容溝が設置され、前記窪み構造は、前記収容溝内に位置し、前記反射側壁は、前記収容溝の側壁に貼り合わせられ、前記窪み構造の形状は、前記収容溝の形状と同じであり、
    ここで、前記下地層は、サブストレート、前記サブストレートに設置された駆動回路層、及び前記駆動回路層に設置された平坦層を含み、前記駆動回路層は、複数の駆動素子を含み、前記平坦層は、前記アノードに対応して設置された前記収容溝を含む、請求項3に記載の表示パネル。
  5. 前記平坦層には、各アノードに対応してアノード接続孔が設置され、前記駆動素子は、前記アノード接続孔を介して対応する前記アノードに電気的に接続され、前記収容溝の縁部から前記アノード接続孔までの距離は、1um以上である、請求項4に記載の表示パネル。
  6. 前記窪み構造の深さHは、0.1um≦H≦1umを満たし、前記窪み構造の底面の幅は、Wであり、且つ1um≦W≦10umである、請求項3に記載の表示パネル。
  7. 前記アノードは、少なくとも2つの前記窪み構造を含み、隣接する2つの前記窪み構造の底面のエッジの間の間隔は、d1であり、前記d1>1um、且つ2H/tanα≦d1であり、Hは、前記窪み構造の深さである、請求項6に記載の表示パネル。
  8. 前記窪み構造は、凹溝を含み、前記凹溝は、密閉凹溝又は線形凹溝を含み、
    前記凹溝が前記線形凹溝である場合、前記アノードに複数本の前記線形凹溝が設置され、複数本の前記線形凹溝は、交差して設置される、請求項1に記載の表示パネル。
  9. 前記凹溝の外輪郭は、それに対応する前記アノードの輪郭と少なくとも部分的に平行であり、且つ前記凹溝の外輪郭は、軸対称な図形である、請求項8に記載の表示パネル。
  10. 各前記アノードにおける前記窪み構造の寸法は、同じであり、前記第1のアノードにおける前記窪み構造の数は、前記第2のアノードにおける前記窪み構造の数よりも大きく、前記第2のアノードにおける前記窪み構造の数は、前記第3のアノードにおける前記窪み構造の数よりも大きい、請求項1に記載の表示パネル。
  11. 請求項1~10のいずれか一項に記載の表示パネルを含む、モバイル端末。
JP2023570271A 2022-11-22 2023-06-29 表示パネル及びモバイル端末 Active JP7635430B2 (ja)

Applications Claiming Priority (3)

Application Number Priority Date Filing Date Title
CN202211468808.3A CN115942772B (zh) 2022-11-22 2022-11-22 显示面板及移动终端
CN202211468808.3 2022-11-22
PCT/CN2023/103701 WO2024109046A1 (zh) 2022-11-22 2023-06-29 显示面板及移动终端

Publications (2)

Publication Number Publication Date
JP2024545980A JP2024545980A (ja) 2024-12-17
JP7635430B2 true JP7635430B2 (ja) 2025-02-25

Family

ID=91079825

Family Applications (1)

Application Number Title Priority Date Filing Date
JP2023570271A Active JP7635430B2 (ja) 2022-11-22 2023-06-29 表示パネル及びモバイル端末

Country Status (3)

Country Link
US (1) US20240172535A1 (ja)
JP (1) JP7635430B2 (ja)
KR (1) KR102891925B1 (ja)

Citations (11)

* Cited by examiner, † Cited by third party
Publication number Priority date Publication date Assignee Title
US20100176717A1 (en) 2009-01-12 2010-07-15 Samsung Mobile Display Co., Ltd. Organic light emitting display device
JP2011076804A (ja) 2009-09-29 2011-04-14 Panasonic Corp 有機el表示装置およびその製造方法
JP2015053137A (ja) 2013-09-05 2015-03-19 株式会社ジャパンディスプレイ 有機エレクトロルミネセンス表示装置
JP2016054085A (ja) 2014-09-04 2016-04-14 株式会社ジャパンディスプレイ 表示装置および表示装置の製造方法
JP2017103231A (ja) 2015-11-30 2017-06-08 エルジー ディスプレイ カンパニー リミテッド 有機発光表示装置及びその製造方法
JP2021096474A (ja) 2019-12-17 2021-06-24 エルジー ディスプレイ カンパニー リミテッド 発光表示装置
US20210202631A1 (en) 2019-12-31 2021-07-01 Lg Display Co., Ltd. Display Device and Method of Manufacturing Same
CN113380862A (zh) 2021-05-31 2021-09-10 合肥维信诺科技有限公司 显示面板及其制备方法
JP2023052370A (ja) 2018-03-30 2023-04-11 ソニーセミコンダクタソリューションズ株式会社 表示装置及び電子機器
JP2023070156A (ja) 2021-11-03 2023-05-18 エルジー ディスプレイ カンパニー リミテッド 表示装置
CN117098415A (zh) 2023-09-28 2023-11-21 京东方科技集团股份有限公司 显示面板及其制备方法、显示装置

Patent Citations (11)

* Cited by examiner, † Cited by third party
Publication number Priority date Publication date Assignee Title
US20100176717A1 (en) 2009-01-12 2010-07-15 Samsung Mobile Display Co., Ltd. Organic light emitting display device
JP2011076804A (ja) 2009-09-29 2011-04-14 Panasonic Corp 有機el表示装置およびその製造方法
JP2015053137A (ja) 2013-09-05 2015-03-19 株式会社ジャパンディスプレイ 有機エレクトロルミネセンス表示装置
JP2016054085A (ja) 2014-09-04 2016-04-14 株式会社ジャパンディスプレイ 表示装置および表示装置の製造方法
JP2017103231A (ja) 2015-11-30 2017-06-08 エルジー ディスプレイ カンパニー リミテッド 有機発光表示装置及びその製造方法
JP2023052370A (ja) 2018-03-30 2023-04-11 ソニーセミコンダクタソリューションズ株式会社 表示装置及び電子機器
JP2021096474A (ja) 2019-12-17 2021-06-24 エルジー ディスプレイ カンパニー リミテッド 発光表示装置
US20210202631A1 (en) 2019-12-31 2021-07-01 Lg Display Co., Ltd. Display Device and Method of Manufacturing Same
CN113380862A (zh) 2021-05-31 2021-09-10 合肥维信诺科技有限公司 显示面板及其制备方法
JP2023070156A (ja) 2021-11-03 2023-05-18 エルジー ディスプレイ カンパニー リミテッド 表示装置
CN117098415A (zh) 2023-09-28 2023-11-21 京东方科技集团股份有限公司 显示面板及其制备方法、显示装置

Also Published As

Publication number Publication date
KR20240078402A (ko) 2024-06-03
JP2024545980A (ja) 2024-12-17
KR102891925B1 (ko) 2025-11-28
US20240172535A1 (en) 2024-05-23

Similar Documents

Publication Publication Date Title
US11038151B2 (en) Display device
CN112786813B (zh) 一种显示面板及显示装置
TWI602003B (zh) 背光單元及包含背光單元的顯示裝置
US12219844B2 (en) Display panel and display device
CN108987451A (zh) 显示面板及其控制方法和显示装置
US9337449B2 (en) Organic light-emitting device and image display system employing the same
US11063233B2 (en) Organic light emitting diode display
CN108828841A (zh) Led背光装置及led显示装置
WO2021088662A1 (zh) 屏幕组件及电子设备
KR20150140498A (ko) 유기 발광 표시 장치
CN112106204A (zh) 显示基板及其制作方法和显示装置
CN113675247B (zh) 显示面板、显示面板的制造方法和显示装置
CN111048568B (zh) 显示面板及显示装置
CN114078930A (zh) 显示装置
US20240315118A1 (en) Display panel
CN113589590A (zh) 一种背光模组以及显示装置
CN115942772B (zh) 显示面板及移动终端
JP7635430B2 (ja) 表示パネル及びモバイル端末
CN115589753A (zh) 显示面板和显示装置
CN109841754A (zh) Oled显示面板
CN114256319B (zh) 一种显示面板和显示装置
US20200357843A1 (en) Foldable display panel
US20250008800A1 (en) Display panel, method for manufacturing display panel, and display apparatus
CN223207482U (zh) 显示基板及显示装置
US20230038990A1 (en) Display device

Legal Events

Date Code Title Description
A521 Request for written amendment filed

Free format text: JAPANESE INTERMEDIATE CODE: A523

Effective date: 20231113

A621 Written request for application examination

Free format text: JAPANESE INTERMEDIATE CODE: A621

Effective date: 20231113

A521 Request for written amendment filed

Free format text: JAPANESE INTERMEDIATE CODE: A523

Effective date: 20241127

TRDD Decision of grant or rejection written
A01 Written decision to grant a patent or to grant a registration (utility model)

Free format text: JAPANESE INTERMEDIATE CODE: A01

Effective date: 20250121

A61 First payment of annual fees (during grant procedure)

Free format text: JAPANESE INTERMEDIATE CODE: A61

Effective date: 20250212

R150 Certificate of patent or registration of utility model

Ref document number: 7635430

Country of ref document: JP

Free format text: JAPANESE INTERMEDIATE CODE: R150