JP7630552B2 - 化粧用補助部材 - Google Patents

化粧用補助部材 Download PDF

Info

Publication number
JP7630552B2
JP7630552B2 JP2023084720A JP2023084720A JP7630552B2 JP 7630552 B2 JP7630552 B2 JP 7630552B2 JP 2023084720 A JP2023084720 A JP 2023084720A JP 2023084720 A JP2023084720 A JP 2023084720A JP 7630552 B2 JP7630552 B2 JP 7630552B2
Authority
JP
Japan
Prior art keywords
lens
shielding portion
mirror
auxiliary member
cosmetic
Prior art date
Legal status (The legal status is an assumption and is not a legal conclusion. Google has not performed a legal analysis and makes no representation as to the accuracy of the status listed.)
Active
Application number
JP2023084720A
Other languages
English (en)
Other versions
JP2024168230A (ja
Inventor
憲治 宮澤
Current Assignee (The listed assignees may be inaccurate. Google has not performed a legal analysis and makes no representation or warranty as to the accuracy of the list.)
Individual
Original Assignee
Individual
Priority date (The priority date is an assumption and is not a legal conclusion. Google has not performed a legal analysis and makes no representation as to the accuracy of the date listed.)
Filing date
Publication date
Application filed by Individual filed Critical Individual
Priority to JP2023084720A priority Critical patent/JP7630552B2/ja
Publication of JP2024168230A publication Critical patent/JP2024168230A/ja
Application granted granted Critical
Publication of JP7630552B2 publication Critical patent/JP7630552B2/ja
Active legal-status Critical Current
Anticipated expiration legal-status Critical

Links

Images

Landscapes

  • Mirrors, Picture Frames, Photograph Stands, And Related Fastening Devices (AREA)

Description

本開示は化粧用補助部材に関する。
人は、通常、鏡に映った顔を見ながら、化粧をする。目元の化粧を行う場合は、鏡に映った目元を見ながら、化粧を行う。化粧をする人の目が近視、遠視、老眼、白内障術後等である場合、鏡に映った目元は見難い。特許文献1に化粧用メガネが開示されている。化粧用メガネは目元の化粧を容易にすることを目的とする。化粧用メガネは、レンズの度を目の状態に合わせて交換することができる。
特開2006-10939号公報
化粧用メガネを装着した状態では、化粧用メガネのレンズやフレームが目の近くに位置し、それらが邪魔になるため、目元の化粧を行うことが困難であった。本開示の1つの局面では、目元の化粧を容易にすることができる化粧用補助部材を提供することが好ましい。
本開示の1つの局面は、鏡の表面に貼り付けて使用される化粧用補助部材である。化粧用補助部材は、レンズを備える。レンズは、化粧用補助部材を鏡の表面に貼り付けたとき、鏡の表面に対向する。化粧用補助部材は、不透明な遮蔽部を備える。レンズの厚さ方向から見たとき、遮蔽部は、レンズに隣接する位置にある。
化粧用補助部材を使用するとき、ユーザは、鏡の表面に対向するレンズを通して、鏡に映った目元を見ることができる。よって、ユーザの目が近視、遠視、老眼、白内障術後等である場合でも、それに応じたレンズを使用すれば、ユーザは、鏡に映った目元のピントの合った像を容易に見ることができる。
また、例えば、ユーザの一方の目が、レンズを通して、鏡に映った目元を見ているとき、他方の目は、遮蔽部によって遮られるため、鏡に映った目元を見ることはない。そのため、一方の目で見た像と、反対の目で見た像とが2重に見えてしまうことを抑制できる。
化粧用補助部材の構成を表す正面図である。 化粧用補助部材の構成を表す背面図である。 化粧用補助部材の構成を表す側面図である。 図1におけるIV-IV断面での断面図である。 図1におけるV-V断面での断面図である。 化粧用補助部材の使用方法を表す説明図である。 参考例1の形態を表す説明図である。 参考例2の形態を表す説明図である。 参考例3の形態を表す説明図である。 別形態の化粧用補助部材の構成を表す正面図である。 別形態の化粧用補助部材の構成を表す側面図である。
本開示の例示的な実施形態について図面を参照しながら説明する。
<第1実施形態>
1.化粧用補助部材1の構成
化粧用補助部材1の構成を、図1~図5に基づき説明する。図1~図3に示すように、化粧用補助部材1は、シート状の形態を有する。化粧用補助部材1の厚さ方向(以下ではz方向とする)から見たとき、図1、図2に示すように、化粧用補助部材1の形状は、例えば、長方形である。長方形の長辺の長さは、140mm以上であることが好ましい。
化粧用補助部材1は、レンズ3と、遮蔽部5とを備える。図1、図2に示すように、レンズ3は、z方向から見たとき、化粧用補助部材1の中央に位置する。レンズ3の厚さ方向は、z方向である。レンズ3は、その外周側にある外周部3Aを除き、z方向において、他の部材に覆われていない。レンズ3のうち、外周部3Aを除く部分をレンズ本体部3Bとする。よって、ユーザは、z方向において、レンズ本体部3Bを通して、化粧用補助部材1の一方の側から、反対側を視認することができる。
図1、図2に示すように、z方向から見たとき、レンズ本体部3Bの形状は、例えば、円形である。レンズ3は、例えば、凹レンズ、又は凸レンズである。レンズ3は、例えば、近視用レンズ、遠視用レンズ、又は老眼用レンズである。レンズ3は、例えば、メニスカスレンズ、片面平面凸レンズである。x方向において、レンズ本体部3Bの長さ(すなわち直径)は、50mm以上80mm以下であることが好ましい。なお、x方向とは、z方向から見たときの化粧用補助部材1の長辺方向である。
x方向において、レンズ本体部3Bの長さが50mm以上である場合、ユーザの片目が、レンズ3を通して、鏡31に映ったユーザの目元を見ることが容易である。x方向において、レンズ本体部3Bの長さが80mm以下である場合、後述する参考例3のように、ユーザの両目に像が見えてしまう現象を抑制できる。
レンズ3の材質として、例えば、チオウレタン(MR)、アクリル(PMMA)、ポリカーボネート(PC)等が挙げられる。
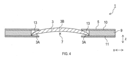
図1、図2に示すように、遮蔽部5の基本的な形態は、例えば、長方形のシートである。長方形の長辺の長さは、140mm以上であることが好ましい。遮蔽部5の厚さ方向はz方向である。遮蔽部5は、x方向における中央に、レンズ孔7を備える。z方向から見たときの化粧用補助部材1の短辺方向をy方向とする。遮蔽部5は、y方向における中央に、レンズ孔7を備える。図4、図5に示すように、レンズ孔7は、z方向において遮蔽部5を貫通している。レンズ3は、レンズ孔7に収容されている。
z方向から見たとき、遮蔽部5は、レンズ3に隣接する位置にある。遮蔽部5は、x方向において、レンズ3の両側に設けられている。すなわち、図1において、遮蔽部5は、レンズ3の右側と、レンズ3の左側との両方に設けられている。
遮蔽部5は、不透明である。不透明とは、遮蔽部5を鏡31の前に置いたとき、ユーザが遮蔽部5を通して鏡31を視認することができないことを意味する。遮蔽部5の色は特に限定されない。遮蔽部5の色は、黒ではないことが好ましく、明るい色であることが好ましい。
図4、図5に示すように、遮蔽部5は、中央板9と、表側板10と、裏側板11とをz方向に積層して構成される。中央板9は、z方向において、表側板10と、裏側板11とにより挟まれている。表側板10は、化粧用補助部材1を使用するとき、ユーザと対向する。裏側板11は、化粧用補助部材1を使用するとき、鏡31に貼り付けられる。
中央板9、表側板10、及び裏側板11にはそれぞれ、レンズ孔7が形成されている。図4、図5に示すように、中央板9におけるレンズ孔7の内径は、表側板10及び裏側板11におけるレンズ孔7の内径より大きくなっている。そのため、レンズ孔7の外周端面には、凹部13が形成されている。凹部13に外周部3Aが差し込まれることで、レンズ3は遮蔽部5に固定されている。表側板10及び裏側板11におけるレンズ孔7の内径は、レンズ本体部3Bの直径と等しい。
中央板9、表側板10、及び裏側板11の材質は特に限定されず、例えば、樹脂とすることができる。中央板9の材質として、例えば、スチロール樹脂等が挙げられる。表側板10及び裏側板11の材質として、例えば、PP等が挙げられる。遮蔽部5の厚さは、2mm以上3mm以下であることが好ましい。中央板9の厚さは、1.5mm以上2.5mm以下であることが好ましい。表側板10及び裏側板11の厚さは、それぞれ、0.05mm以上0.1mm以下であることが好ましい。
図1に示す遮蔽部長さLは、160mm以上200mm以下であることが好ましい。遮蔽部長さLとは、x方向において、レンズ本体部3Bの外周端15から、遮蔽部5の外周端17までの長さである。なお、x方向は、レンズ3の径方向に対応する。
図2に示すように、裏側板11に、複数の吸着テープ19が取り付けられている。吸着テープ19は、鏡31の表面に吸着する機能を有する。
2.化粧用補助部材1の使用方法
化粧用補助部材1を使用するとき、図6に示すように、化粧用補助部材1は、吸着テープ19によって、鏡31の表面に貼り付けられる。このとき、裏側板11は、鏡31の表面に対向する。表側板10は、ユーザの顔と対向する。x方向は水平方向となる。また、レンズ3は、鏡31と対向する。
例えば、図6に示すように、ユーザの右目33Rがレンズ3と対向する位置にある場合、右目33Rは、レンズ3を通して、鏡31に映った右目の目元35Rの像37Rを視認する。像37Rは、レンズ3を通して視認した像であるので、ピントが合った像である。
このとき、ユーザの左目33Lは、遮蔽部5のうち、図6においてレンズ3よりも左側の部分により遮られるため、右目の目元35Rを視認できない。ユーザは、右目33Rで、ピントが合った像37Rを見ながら、右目の目元35Rの化粧を行うことができる。
また、ユーザの左目33Lの位置を、図6における右目33Rの位置とすれば、左目33Lは、レンズ3を通して、鏡31に映った左目の目元35Lの像37Lを視認する。像37Lは、レンズ3を通して視認した像であるので、ピントが合った像である。
このとき、ユーザの右目33Rは、遮蔽部5のうち、図6においてレンズ3よりも右側の部分により遮られるため、左目の目元35Lを視認できない。ユーザは、左目33Lで、ピントが合った像37Lを見ながら、左目の目元35Lの化粧を行うことができる。
3.化粧用補助部材1が奏する効果
(1A)上述したとおり、化粧用補助部材1を用いれば、ユーザの右目33Rはピントが合った像37Rを視認することができる。このとき、ユーザの左目33Lは、遮蔽部5のうち、図6においてレンズ3よりも左側の部分により遮られるため、右目の目元35Rを視認できない。そのため、後述する参考例1のように、右目33Rで見た像37Rと、左目33Lで見た、ピントが合わない像とが二重に見えてしまうことを抑制できる。
同様に、化粧用補助部材1を用いれば、ユーザの左目33Lは、ピントがあった像37Lを視認することができる。このとき、ユーザの右目33Rは、遮蔽部5のうち、図6においてレンズ3よりも右側の部分により遮られるため、左目の目元35Lを視認できない。そのため、後述する参考例1のように、左目33Lで見た像37Lと、右目33Rで見た、ピントが合わない像とが二重に見えてしまうことを抑制できる。
一方、図7に見える参考例1は、レンズ3のみを鏡31に貼り付け、遮蔽部5を使用しない例である。この参考例1では、右目33Rは、レンズ3を通して、鏡31に映った右目の目元35Rの像37Rを視認する。また、左目33Lは、レンズ3を通さず、鏡31に映った右目の目元35Rの像39Rを視認する。像39Rはピントが合っていない像である。ユーザは、像37Rと像39Rとが二重に見えてしまい、不快に感じる。
(1B)化粧用補助部材1は、従来の化粧用メガネとは異なり、ユーザの顔に装着する必要がないため、化粧の邪魔になり難い。
図8に示す参考例2は、従来の化粧用メガネを使用する例である。右目の目元35Rを化粧する場合、化粧用メガネのレンズ103を左目33Lの側のみで使用する。なぜならば、レンズ103を右目33Rの側にも設置すると、そのレンズ103が、右目の目元35Rを化粧するときに邪魔になるからである。
このとき、右目33Rは、レンズ103を通さないため、ピントがぼけた像105を視認する。左目33Lは、レンズ103を通して、ピントが合った像107を視認する。ユーザは、像105と像107とが見えてしまい、像の見え方が曖昧且つ不快となる。化粧用補助部材1を用いれば、上述した従来の化粧用メガネの問題を抑制できる。
(1C)図9に示す参考例3は、直径が80mmを大きく超えるレンズ203を鏡31に貼り付けた例である。この参考例3では、右目33Rは、鏡31に映った右目の目元35Rの像37Rを視認すると同時に、左目33Lは、鏡31に映った左目の目元35Lの像37Lを視認する。レンズ203の光学中心からずれた分だけレンズ203のプリズム作用が働くので、像37Rと像37Lに水平方向のズレが発生する。
化粧用補助部材1では、x方向において、レンズ本体部3Bの長さ(すなわち直径)は、例えば、80mm以下である。この場合、像37Rと像37Lとを同時に視認し難くなるので、参考例3で生じる問題を抑制できる。
(1D)遮蔽部長さLは、例えば、180mm以上である。この場合、目元の化粧をしていない方の目が鏡31の像を視認することを抑制する効果が一層高い。
(1E)遮蔽部5は、x方向において、レンズ3の両側に設けられている。遮蔽部5のうち、図6においてレンズ3の左側にある部分は、ユーザの右目33Rが像37Rを視認するとき、ユーザの左目33Lが右目の目元35Rを視認することを抑制できる。
また、遮蔽部5のうち、図6においてレンズ3の右側にある部分は、ユーザの左目33Lが像37Lを視認するとき、ユーザの右目33Rが左目の目元35Lを視認することを抑制できる。
<他の実施形態>
以上、本開示の実施形態について説明したが、本開示は上述の実施形態に限定されることなく、種々変形して実施することができる。
(1)上記実施形態では、別体の部品であるレンズ3と遮蔽部5とを組み合わせて化粧用補助部材1を構成したが、図10、図11に示すように、化粧用補助部材1は、金型を用い、一体成型により製造されたものであってもよい。この化粧用補助部材1は、レンズ3と遮蔽部5(ただし被膜301は除く)を含む本体部303を備える。本体部303は、透明な単一の素材から成り、一体成型されている。本体部303のうち、遮蔽部5に該当する部分の表面に、不透明な被膜301が形成されている。被膜301は、例えば、プリント、又は塗装により形成される。
(2)吸着テープ19に代えて、吸盤、粘着性テープ等を用いることができる。吸着テープ19は、吸盤に比べて、化粧用補助部材1が鏡31から脱落し難い点で優れる。吸着テープ19は、粘着性テープに比べて、鏡31の表面を汚し難い点で優れる。
(3)上記各実施形態における1つの構成要素が有する機能を複数の構成要素に分担させたり、複数の構成要素が有する機能を1つの構成要素に発揮させたりしてもよい。また、上記各実施形態の構成の一部を省略してもよい。また、上記各実施形態の構成の少なくとも一部を、他の上記実施形態の構成に対して付加、置換等してもよい。
(4)上述した化粧用補助部材1の他、当該化粧用補助部材1を構成要素とするシステム、化粧用補助部材の製造方法、化粧方法等、種々の形態で本開示を実現することもできる。
1…化粧用補助部材、3…レンズ、3A…外周部、3B…レンズ本体部、5…遮蔽部、7…レンズ孔、9…中央板、10…表側板、11…裏側板、13…凹部、15…外周端、17…外周端、19…吸着テープ、31…鏡、33L…左目、33R…右目、35L…左目の目元、35R…右目の目元、37L、37R、39R、105、107…像、103、203…レンズ、301…被膜、303…本体部

Claims (3)

  1. 鏡の表面に吸着する部材又は粘着性のある部材を有し、前記鏡の表面に貼り付けて使用される化粧用補助部材であって、
    前記化粧用補助部材を前記鏡の表面に貼り付けたとき、前記鏡の表面に対向するレンズと、
    前記レンズの厚さ方向から見たとき、前記レンズに隣接する位置にあり、不透明な遮蔽部と、
    を備え、
    前記レンズの厚さ方向から見たとき、前記レンズの形状は円形であり、前記遮蔽部の形状は長方形であり、
    前記長方形の長辺方向において、前記遮蔽部は、前記レンズの両側に設けられている、
    化粧用補助部材。
  2. 鏡の表面に吸着する部材又は粘着性のある部材を有し、前記鏡の表面に貼り付けて使用される化粧用補助部材であって、
    前記化粧用補助部材を前記鏡の表面に貼り付けたとき、前記鏡の表面に対向するレンズと、
    前記レンズの厚さ方向から見たとき、前記レンズに隣接する位置にあり、不透明な遮蔽部と、
    を備え、
    前記レンズの厚さ方向から見たとき、前記遮蔽部の形状は、前記遮蔽部の長手方向であるx方向での長さが、前記x方向と直交するy方向での長さより大きい形状であり、
    前記x方向に平行な前記レンズの径方向における、前記レンズの外周端から、前記遮蔽部の外周端までの長さは、前記y方向に平行な前記レンズの径方向における、前記レンズの外周端から、前記遮蔽部の外周端までの長さよりも大き
    前記レンズの厚さ方向から見たとき、前記遮蔽部は、前記レンズの両側に設けられている、
    化粧用補助部材。
  3. 請求項1又は2に記載の化粧用補助部材であって、
    前記レンズの直径が80mm以下である、
    化粧用補助部材。
JP2023084720A 2023-05-23 2023-05-23 化粧用補助部材 Active JP7630552B2 (ja)

Priority Applications (1)

Application Number Priority Date Filing Date Title
JP2023084720A JP7630552B2 (ja) 2023-05-23 2023-05-23 化粧用補助部材

Applications Claiming Priority (1)

Application Number Priority Date Filing Date Title
JP2023084720A JP7630552B2 (ja) 2023-05-23 2023-05-23 化粧用補助部材

Publications (2)

Publication Number Publication Date
JP2024168230A JP2024168230A (ja) 2024-12-05
JP7630552B2 true JP7630552B2 (ja) 2025-02-17

Family

ID=93706337

Family Applications (1)

Application Number Title Priority Date Filing Date
JP2023084720A Active JP7630552B2 (ja) 2023-05-23 2023-05-23 化粧用補助部材

Country Status (1)

Country Link
JP (1) JP7630552B2 (ja)

Citations (2)

* Cited by examiner, † Cited by third party
Publication number Priority date Publication date Assignee Title
JP3024333U (ja) 1995-11-02 1996-05-21 鷹雄 東條 化粧用鏡
JP3216631U (ja) 2018-01-31 2018-06-14 隆 柳瀬 老眼用手鏡

Patent Citations (2)

* Cited by examiner, † Cited by third party
Publication number Priority date Publication date Assignee Title
JP3024333U (ja) 1995-11-02 1996-05-21 鷹雄 東條 化粧用鏡
JP3216631U (ja) 2018-01-31 2018-06-14 隆 柳瀬 老眼用手鏡

Also Published As

Publication number Publication date
JP2024168230A (ja) 2024-12-05

Similar Documents

Publication Publication Date Title
JP3243788U (ja) 抗周辺部遠視性デフォーカス用シート及び眼鏡
US6231179B1 (en) Method and device for coupling spectacles and clip-on sun-shades with each other
KR102346852B1 (ko) 선글라스 탈착 취부형 안경
JPH0433221B2 (ja)
JPH10268114A (ja) 光学プリズム
TW201727313A (zh) 具有處方集成之可用空間光學組合器
JP6673851B2 (ja) ユーザーの頭部においてフィットしうると共に画像を生成するディスプレイ装置用の眼鏡レンズ
AU2005227904A1 (en) Eyeglasses and method of manufacture thereof
KR20180044370A (ko) 교정 렌즈 장치 및 방법
EP2381292A1 (en) Lens assembly for viewing three-dimensional (3D) images integrated with prescription lens
JP7630552B2 (ja) 化粧用補助部材
KR101007884B1 (ko) 입체(쓰리디) 화상 시청용 시력 교정 렌즈조립체
KR102087621B1 (ko) 렌즈의 탈부착이 가능한 아이웨어
CN102355873B (zh) 具有反射式镜架的眼镜
JP2006276321A (ja) 水中眼鏡及び水中眼鏡用レンズ
CN204374515U (zh) 一种便于屈光不正患者使用的头戴式显示器
KR102667165B1 (ko) 아이웨어
JP4436299B2 (ja) 一眼眼鏡
KR20240023773A (ko) 일회용 안경
US12619097B2 (en) Eyewear
JP3010143B2 (ja) 眼 鏡
WO2011038664A1 (zh) 眼镜、望远眼镜及立体视像眼镜架组件
JP3007860U (ja) 双眼鏡
CN2153069Y (zh) 影视立体眼镜
CN117434718A (zh) 具有面向后的传感器的电子设备

Legal Events

Date Code Title Description
A621 Written request for application examination

Free format text: JAPANESE INTERMEDIATE CODE: A621

Effective date: 20230523

A521 Request for written amendment filed

Free format text: JAPANESE INTERMEDIATE CODE: A523

Effective date: 20230529

A131 Notification of reasons for refusal

Free format text: JAPANESE INTERMEDIATE CODE: A131

Effective date: 20240604

A521 Request for written amendment filed

Free format text: JAPANESE INTERMEDIATE CODE: A523

Effective date: 20240621

A131 Notification of reasons for refusal

Free format text: JAPANESE INTERMEDIATE CODE: A131

Effective date: 20241008

A521 Request for written amendment filed

Free format text: JAPANESE INTERMEDIATE CODE: A523

Effective date: 20241023

TRDD Decision of grant or rejection written
A01 Written decision to grant a patent or to grant a registration (utility model)

Free format text: JAPANESE INTERMEDIATE CODE: A01

Effective date: 20250121

A61 First payment of annual fees (during grant procedure)

Free format text: JAPANESE INTERMEDIATE CODE: A61

Effective date: 20250204

R150 Certificate of patent or registration of utility model

Ref document number: 7630552

Country of ref document: JP

Free format text: JAPANESE INTERMEDIATE CODE: R150