JP7628472B2 - 万年筆 - Google Patents

万年筆 Download PDF

Info

Publication number
JP7628472B2
JP7628472B2 JP2021106168A JP2021106168A JP7628472B2 JP 7628472 B2 JP7628472 B2 JP 7628472B2 JP 2021106168 A JP2021106168 A JP 2021106168A JP 2021106168 A JP2021106168 A JP 2021106168A JP 7628472 B2 JP7628472 B2 JP 7628472B2
Authority
JP
Japan
Prior art keywords
pen
pen body
barrel
core
window
Prior art date
Legal status (The legal status is an assumption and is not a legal conclusion. Google has not performed a legal analysis and makes no representation as to the accuracy of the status listed.)
Active
Application number
JP2021106168A
Other languages
English (en)
Other versions
JP2023004486A (ja
Inventor
隆 石川
Current Assignee (The listed assignees may be inaccurate. Google has not performed a legal analysis and makes no representation or warranty as to the accuracy of the list.)
Pilot Corp
Original Assignee
Pilot Corp
Priority date (The priority date is an assumption and is not a legal conclusion. Google has not performed a legal analysis and makes no representation as to the accuracy of the date listed.)
Filing date
Publication date
Application filed by Pilot Corp filed Critical Pilot Corp
Priority to JP2021106168A priority Critical patent/JP7628472B2/ja
Publication of JP2023004486A publication Critical patent/JP2023004486A/ja
Application granted granted Critical
Publication of JP7628472B2 publication Critical patent/JP7628472B2/ja
Active legal-status Critical Current
Anticipated expiration legal-status Critical

Links

Images

Landscapes

  • Pens And Brushes (AREA)

Description

本発明は万年筆に関し、軸筒の前方開口部に、ペン体とペン芯とを重ねて挿着した構造の万年筆に関する。
従来、万年筆のペン体は、ペン芯を抱持するように重ねられ該ペン芯と共に軸筒の前方開口部に挿着される固定部と、固定部の前方に位置した先細形状を有する弾性部と、弾性部の先端のペンポイントとを有し、ペンポイントから固定部に向かって軸心に沿って形成された切割溝が設けられている。この万年筆のペン体は、特許文献1(特開2018-103433号公報)に記載されているように、弾性部及び固定部が、軸筒の内周面とペン芯の外周面に沿うよう、横断面において孤状に湾曲されており、ペン体が14金や18金等からなるいわゆる金ペンのように軟らかい材質であっても、ペン体に筆圧が掛かった際に、筆圧に応じてペン体がペン芯から離れる方向に弾性変形し、筆圧の開放に伴い元の状態に戻る。
ところで、万年筆のペン体は、その製造工程において、回転式バレル研磨機に投入して回転させ、外面を滑らかに研磨することから、ペン体の質量が大きいと、ペン体同士が擦れることでペン体の表面が傷つく虞がある。
なお、万年筆のペン体の質量を小さくすることで、バレル研磨時における傷つきを軽減させることも可能である。
しかしながら、単にペン体の肉厚を薄くして質量を小さくしただけでは、ペン体の弾力性が低くなって筆記感が悪くなってしまう虞がある。
また、単にペン体に窓部を設けて質量を小さくしただけでは、開口の存在によりペン体の変形が大きくなって、ペン体の弾力性が低くなってしまったり、軸筒の前方開口部に対して十分に固定されずに脱落し易くなってしまう虞がある。
特開2018-103433号公報
本発明の目的は、ペン体が軸筒から脱落し難く、また製造工程においてペン体の表面に傷がつき難く、筆記感の良い万年筆を得ることである。
本発明は、
「1.ペン体が、ペン芯を抱持するように重ねられ該ペン芯と共に軸筒の前方開口部に挿着される固定部と、前記固定部の前方に位置した先細形状を有する弾性部と、前記弾性部の先端のペンポイントと、前記ペンポイントから固定部に向かって軸心に沿って形成された切割溝とを有し、前記軸筒の前方開口部に、前記ペン体と前記ペン芯とを重ねて挿着する構造の万年筆において、
前記ペン体の固定部の後方であり前記軸筒の前方開口部に挿着される挿着部に、該ペン体の前記切割溝を中心軸にして対称に形成され軸心に沿った方向に長手を有する二つの矩形状の窓部が形成され、該矩形状の窓部の後方の角部のいずれか一方に、後方へ向かって前記窓部が延出する延出部が形成され、
前記軸筒の前方開口部に、前記ペン体と前記ペン芯とが重ねて挿着された状態で、前記窓部の内方に該ペン芯の外面に形成された櫛溝が位置し、該ペン体における前記窓部以外の挿着部が前記軸筒と前記ペン芯とで狭持され固定される構造の万年筆。
2.前記ペン体に形成された窓部の周縁部に、該ペン体の裏面側に突出するバリ部を有した構造の前記1項に記載の万年筆。
3.前記ペン体の固定部の後端縁に、前記ペン芯の表面に形成した係止凸部に係止して該ペン体の後退を規制し、且つ該ペン芯の中央に軸心に沿って形成されたインキ溝と該ペン体の中心とを一致させる係止溝が形成された前記1項又は2項に記載の万年筆。
4.前記ペン体の挿着部における前記窓部の外辺側の近傍を、前記ペン芯側に向かって曲折することで、前記軸筒の前方開口部に、前記ペン体と前記ペン芯とを重ねて挿着する際に、前記ペン体の挿着部における前記二つの矩形状の窓部の間に形成された懸架部が、前記軸筒の内面に摺接して該ペン体が挿着される前記1項ないし3項のいずれか1項に記載の万年筆。」である。
本発明によれば、ペン体の挿着部に二つの矩形状の窓部を形成することで、ペン体に14金や18金といった比重の高い材料を使用する場合でも、質量を小さくすることが可能となる。
また、矩形状の窓部は、大きな開口を設けることができると共に、二つの矩形状の窓部の間に形成される懸架部を直線状に形成できることから、軸筒の前方開口部に、ペン体とペン芯とを重ねて挿着する際に、ペン体の挿着部における懸架部を、軸筒の内面に摺接させて滑らかに挿着することができる。
また、矩形状の窓部の後方の角部のいずれか一つに、後方へ向かって窓部が延出する延出部を形成することにより、軸筒の前方開口部に、ペン体とペン芯とを重ねて挿着する際に、軸筒の前方開口部に窓部が段階的に進入するため、滑らかに挿着することができる。
さらに、窓部の周縁部に、ペン体の裏面側に加工上で突出するバリ部を有することにより、延出部によって形成される突部がペン体の抜けや回転を防止することができる。
また、軸筒の前方開口部に、ペン体とペン芯とが重ねて挿着された状態で、窓部の内方にペン芯の外面に形成された櫛溝を位置させることにより、軸筒の内面と窓部の内周側とで構成される凹部が、インキタンク内の空気が暖められた際に生じる熱膨張によるインキの過剰流出を保持させる一時的な貯留部となり、筆記によりインキ溝のインキが減少するに従い凹部内のインキを櫛溝を介してインキ溝に供給することが可能な構造となる。
その他、筆記色の色替えなどで万年筆を水洗する場合においても、軸筒の内面と窓部の内周側とで構成された凹部が櫛溝に連通していることにより、水が凹部まで行き届き易く、洗浄し易いという利点がある。
また、ペン体の固定部の後端縁に、ペン芯の表面に形成した係止凸部に係止してペン体の後退を規制し、且つペン芯の中央に軸心に沿って形成されたインキ溝と該ペン体の中心とを一致させる係止溝を形成することにより、ペン芯を抱持するようにペン体を重ねる際の位置決めがし易くなる。
また、さらに、ペン体の挿着部における窓部の外辺側の近傍を、ペン芯側に向かって曲折することで、軸筒の前方開口部に、ペン体とペン芯とを重ねて挿着する際に、ペン体の挿着部における二つの矩形状の窓部の間に形成された懸架部が、軸筒の内面に摺接してペン体が挿着される構造とすることにより、ペン体の挿着をより簡単に行うことができる。
本発明は前述した構造なので、ペン体が軸筒から脱落し難く、また製造工程においてペン体の表面に傷がつき難く、筆記感の良い万年筆を得ることができる。
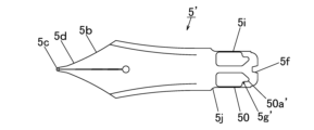
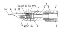
本実施形態における万年筆の前方部の平面図であり、軸筒を断面で表現した図である。 本実施形態における万年筆の前方部の側面図であり、軸筒を断面で表現した図である。 本実施形態における万年筆のペン体の平面図である。 本実施形態における万年筆のペン体をブランク加工した状態の図である。 本実施形態における万年筆のペン芯の平面図である。 本実施形態における万年筆のペン体とペン芯とを重ねた状態の平面図である。 他の実施形態における万年筆のペン体の平面図である。 他の実施形態における万年筆のペン体をブランク加工した状態の図である。
以下に、図面を参照して本実施の形態における万年筆を詳細に説明する。
図1は、本実施形態における万年筆の前方部の平面図であり、軸筒を断面で表現した図である。図2は、本実施形態における万年筆の前方部の側面図であり、軸筒を断面で表現した図である。図3は、本実施形態における万年筆のペン体の平面図である。図4は、本実施形態における万年筆のペン体をブランク加工した状態の図である。図5は、本実施形態における万年筆のペン芯の平面図である。図6は、本実施形態における万年筆のペン体とペン芯とを重ねた状態の平面図である。
なお、図面の説明においては、図面における筆記先端部側を前方と表現し、その反対側を後方と表現し、ペン芯に対してペン体がある側を上方と表現し、その反対側を下方と表現する。
本実施形態の万年筆1は、図1に示すように、軸筒本体2の前方に首筒3を螺着した軸筒4の前方開口部4aに、ペン体5とペン芯6とが重ねられた状態で挿着されている。
図1及び図3に示すように、本実施形態のペン体5は、軸筒4の前方開口部4aに挿着される固定部5aと、固定部5aの前方に位置した先細形状を有する弾性部5bと、弾性部5bの先端のペンポイント5cとを有し、ペンポイント5cから固定部5aに向かって軸心に沿って形成された切割溝5dが設けられている。
ペン体5の固定部5aの後方であり軸筒4の前方開口部4aに挿着される挿着部5eには、ペン体5の切割溝5dを中心軸にして対称に形成され軸心に沿った方向に長手を有する二つの矩形状の窓部50が形成され、矩形状の窓部50の後方の外側の角部に、後方へ向かって窓部50が延出する延出部50aが形成されている。
本実施形態では、図3に示すペン体5の固定部5aの後端縁に、図4に示すペン芯6の表面に形成した係止凸部6aに係止する前方に向かって凹むV型の係止溝5fが形成されており、図5に示すように、ペン体5をペン芯6に、係止溝5fが係止凸部6aに係止するよう重ねることで、ペン芯6に対するペン体5の後退を規制すると共に、ペン芯6の中央に軸心に沿って略全長に渡り形成されたインキ溝6bとペン体5の中心である切割溝5dとを、簡単に一致させることができる。
また、軸筒4の前方開口部4aに、ペン体5とペン芯6とが重ねて挿着された状態で、窓部50の内方にペン芯6の外面に形成された櫛溝6cが位置することから、軸筒4の内面と窓部50の内周側とで構成される凹部51が、インキタンク7内の空気が暖められた際に生じる熱膨張によるインキ(不図示、以下同様)の過剰流出を保持する一時的な貯留部となり、筆記によりインキ溝6bのインキが減少するに従い凹部51内のインキを櫛溝6cを介してインキ溝6bに供給することが可能となる。
また、筆記色の色替えなどで万年筆1を水洗する場合においても、軸筒4の内面と窓部50の内周側とで構成された凹部51が櫛溝6cに連通していることにより、洗浄する水が凹部51まで行き届き易く、インキを排出し易いという利点がある。
さらに、少なくとも軸筒4を構成する首筒3におけるペン体5の二つの窓部50の上方を、ペン体5及びペン芯6が視認できるよう透明に形成することにより、インキタンク7内の空気が暖められた際に生じる熱膨張でインキが過剰流出し、前記凹部51に貯留された状態を視認することで、インキが溢れ出す前に使用者が認識することができる。これにより、万年筆自体や紙面などの汚損を未然に防止することが可能となる。
本実施形態では、ペン体5を比重13.68である14金で形成しており、二つの窓部50を設けることで0.04gの軽量化を図っている。これにより、ペン体5の質量は0.475gとなり、その製造工程において、回転式バレル研磨機に投入して回転させ外面を滑らかに研磨する際にも、複数のペン体5同士が擦れることで当該ペン体5の表面が傷つくことを防止することができる。
また、矩形状の窓部50は、軸心に沿った方向に長手を有するように形成されており、ペン体5に沿って長く形成することができることから、大きな開口を設けることができ、ペン体5の質量を大きく軽減することができる。また、前述の通り、二つの矩形状の窓部50の間に形成される懸架部5hを直線状に形成できることから、軸筒4の前方開口部4aに、ペン体5とペン芯6とを重ねて挿着する際に、ペン体5の挿着部5eにおける懸架部5hを、軸筒4の内面に摺接させることで滑らかに挿着することができる。
さらに、本実施形態では、ペン体5の挿着部5eにおける窓部50の外辺側の近傍を、ペン芯6側(下方)に向かって垂設する垂設部5iとしたことから、軸筒4の前方開口部4aに、ペン体5とペン芯6とを重ねて挿着する際には、垂設部5iが触れることなく、ペン体5の挿着部5eにおける二つの矩形状の窓部50の間に形成された懸架部5hが基準となって、軸筒4の前端開口部4aの内面に摺接してペン体5が挿着されることから、ペン体5の挿着を簡単に行うことができる。
また、ペン体5の垂設部5iに形成した段部5jは、ペン芯6の側面の前記突部5jと相対向するよう形成した段部6dに係止されることで、軸筒4の前方開口部4aに、ペン体5とペン芯6とが重ねて挿着された状態で、軸筒4の前方からペン体5が抜け落ち難い構造となる。
また、ペン体5の固定部5a及び弾性部5bは、軸筒4の内周面とペン芯6の外周面に沿うよう、横断面において孤状に湾曲されていることから、前述の通りペン体5が軟らかい材質の14金で形成されているが、ペン体5に筆圧が掛かった際に、筆圧に応じてペン体5がペン芯6から離れる方向(上方向)に弾性変形し、筆圧の開放に伴い元の状態に戻るようになっている。
本実施形態のペン体5を、図3を用いて詳述すると、ペン体5の全長Lの長さを25.25mm、固定部5aの長さL1を7.75mm、弾性部5bの長さL2を17.5mmで形成してある。また、ペン体5は、固定部5aの内面の半径が3.0mmで一様に形成されており、弾性部5bの内面の孤状の半径は、固定部5a側が3.0mmで、そこから先端方向に向かって漸次大きくなるよう形成されており、最大幅の部分の半径が6.0mmで、最大幅の部分から先細形状の部分を至り、ペンポイント5c近傍で半径が7.0mmとなるよう形成してある。
また、ペン体5の肉厚は前方に向かって漸次厚くなるよう形成しており、後端は0.2mmで、前端は0.5mmで形成してある。
また、ペン体5における最も細い固定部5aの巾を5.35mmで形成し、窓部50の全長を固定部5aの巾より狭い4.85mmで形成したことから、複数のペン体5を、回転式バレル研磨機に投入して研磨する際にも、複数のペン体5同士が絡まり難い。
本実施形態では、軸筒4の前方開口部4aに、ペン体5とペン芯6とが重ねて挿着された状態において、ペン体5の固定部5aは、軸筒4の前方開口部4aの内部に6.6mm侵入しており、窓部50の前端縁は軸筒4の前方開口部4aから0.65mmまで離間している。
したがって、ペン体5に開口された二つの窓部50は、軸筒4内に没入していることから、筆記感に影響を及ぼすペン体5の弾力性の低下はない。特に、本実施形態では、ペン体5の挿着部5eにおける窓部50の外辺側の近傍に、ペン芯6側(下方)に向かって垂設する垂設部5iを設けてあることから、二つの窓部50による開口が大きくても、ペン体5の強度が得られ、結果、ペン体5の弾力性の低下はない。
また、図1及び図2に示すように、軸筒4の前方開口部4aに、ペン体5とペン芯6とが重ねて挿着された状態で、窓部50の内方に該ペン芯6の外面に形成された櫛溝6cが位置し、ペン体5における窓部50以外の挿着部5eが軸筒4とペン芯6とで狭持され固定される。本実施形態では、窓部50の周縁部に、ペン体5の下方(裏面側)に加工上で突出するバリ部(不図示、以下同様)があり、さらに、延出部50aの外縁で形成される突部5gの裏面側(下方)にも加工上で突出するバリ部があることから、バリ部がペン芯6の表面に引っかかり、ペン体5の抜けや回転が防止される。突部5gは、軸心に沿った方向の垂直部分と、それに直行する方向の水平部分とを有し、これによりペン芯6からの脱落がより防止でき、またペン芯6に対する回転も防止でき、安定した筆記が行えるようになる。
図7は、他の実施形態における万年筆のペン体の平面図である。図8は、他の実施形態における万年筆のペン体をブランク加工した状態の図である。
図7に示すペン体5’は、図3に示すペン体5と同様にペン体5の挿着部5eには、ペン体5’の切割溝5dを中心軸にして対称に形成され軸心に沿った方向に長手を有する二つの矩形状の窓部50’が形成されている。図3に示すペン体5と主に異なる点は、矩形状の窓部50’の内側の後方の角部に、後方へ向かって窓部50’が延出する延出部50a’が形成されおり、延出部50aの外縁で形成される突部5g’は、軸心に沿った方向の垂直部分と、45度で傾斜する傾斜部分とを有している点だけで、他の点は同様である。
1…万年筆、2…軸筒本体、3…首筒、
4…軸筒、4a…前方開口部、
5…ペン体、5a…固定部、5b…弾性部、5c…ペンポイント、
5d…切割溝、5e…挿着部、5f…係止溝、5g…突部、
5h…懸架部、5i…垂設部、5j…段部、
50…窓部、50a…延出部、51…凹部、
6…ペン芯、6a…係止凸部、6b…インキ溝、6c…櫛溝、
6d…段部、
7…インキタンク、
5’…ペン体、50’…窓部、50a’…延出部、5g’…突部。

Claims (4)

  1. ペン体が、ペン芯を抱持するように重ねられ該ペン芯と共に軸筒の前方開口部に挿着される固定部と、前記固定部の前方に位置した先細形状を有する弾性部と、前記弾性部の先端のペンポイントと、前記ペンポイントから固定部に向かって軸心に沿って形成された切割溝とを有し、前記軸筒の前方開口部に、前記ペン体と前記ペン芯とを重ねて挿着する構造の万年筆において、
    前記ペン体の固定部の後方であり前記軸筒の前方開口部に挿着される挿着部に、該ペン体の前記切割溝を中心軸にして対称に形成され軸心に沿った方向に長手を有する二つの矩形状の窓部が形成され、該矩形状の窓部の後方の角部のいずれか一方に、後方へ向かって前記窓部が延出する延出部が形成され、
    前記軸筒の前方開口部に、前記ペン体と前記ペン芯とが重ねて挿着された状態で、前記窓部の内方に該ペン芯の外面に形成された櫛溝が位置し、該ペン体における前記窓部以外の挿着部が前記軸筒と前記ペン芯とで狭持され固定される構造の万年筆。
  2. 前記ペン体に形成された窓部の周縁部に、該ペン体の裏面側に突出するバリ部を有した構造の請求項1に記載の万年筆。
  3. 前記ペン体の固定部の後端縁に、前記ペン芯の表面に形成した係止凸部に係止して該ペン体の後退を規制し、且つ該ペン芯の中央に軸心に沿って形成されたインキ溝と該ペン体の中心とを一致させる係止溝が形成された請求項1又は2に記載の万年筆。
  4. 前記ペン体の挿着部における前記窓部の外辺側の近傍を、前記ペン芯側に向かって曲折することで、前記軸筒の前方開口部に、前記ペン体と前記ペン芯とを重ねて挿着する際に、前記ペン体の挿着部における前記二つの矩形状の窓部の間に形成された懸架部が、前記軸筒の内面に摺接して該ペン体が挿着される請求項1ないし3のいずれか1項に記載の万年筆。
JP2021106168A 2021-06-25 2021-06-25 万年筆 Active JP7628472B2 (ja)

Priority Applications (1)

Application Number Priority Date Filing Date Title
JP2021106168A JP7628472B2 (ja) 2021-06-25 2021-06-25 万年筆

Applications Claiming Priority (1)

Application Number Priority Date Filing Date Title
JP2021106168A JP7628472B2 (ja) 2021-06-25 2021-06-25 万年筆

Publications (2)

Publication Number Publication Date
JP2023004486A JP2023004486A (ja) 2023-01-17
JP7628472B2 true JP7628472B2 (ja) 2025-02-10

Family

ID=85100442

Family Applications (1)

Application Number Title Priority Date Filing Date
JP2021106168A Active JP7628472B2 (ja) 2021-06-25 2021-06-25 万年筆

Country Status (1)

Country Link
JP (1) JP7628472B2 (ja)

Citations (5)

* Cited by examiner, † Cited by third party
Publication number Priority date Publication date Assignee Title
WO2000064688A1 (en) 1999-04-22 2000-11-02 The Gillette Company Pen nib
JP2006248114A (ja) 2005-03-11 2006-09-21 Pilot Ink Co Ltd 筆記具
JP2012192583A (ja) 2011-03-16 2012-10-11 Pilot Corporation 筆記具
JP2013526439A (ja) 2010-05-20 2013-06-24 ヨーロッパ・ブランズ・エス・アー エール・エル 筆記具およびインク・カートリッジ・ユニット
US20180201047A1 (en) 2017-01-19 2018-07-19 Michael S. Medhin Left Handed Fountain Pen

Patent Citations (5)

* Cited by examiner, † Cited by third party
Publication number Priority date Publication date Assignee Title
WO2000064688A1 (en) 1999-04-22 2000-11-02 The Gillette Company Pen nib
JP2006248114A (ja) 2005-03-11 2006-09-21 Pilot Ink Co Ltd 筆記具
JP2013526439A (ja) 2010-05-20 2013-06-24 ヨーロッパ・ブランズ・エス・アー エール・エル 筆記具およびインク・カートリッジ・ユニット
JP2012192583A (ja) 2011-03-16 2012-10-11 Pilot Corporation 筆記具
US20180201047A1 (en) 2017-01-19 2018-07-19 Michael S. Medhin Left Handed Fountain Pen

Also Published As

Publication number Publication date
JP2023004486A (ja) 2023-01-17

Similar Documents

Publication Publication Date Title
KR101585283B1 (ko) 절삭 인서트
EP2860045A1 (en) Ball pen
JP6990957B2 (ja) トイレブラシ
CN102894518A (zh) 头盔中的面罩附接机构
JP7628472B2 (ja) 万年筆
US20060130749A1 (en) Composite doctor blade
JP2020073349A5 (ja)
JP7538843B2 (ja) 筆記具
CN213154600U (zh) 一种眉笔削笔器
JP7356127B2 (ja) 筆記具
JP3088420B1 (ja) マーキングペン用ペン先
US12343803B2 (en) Retaining member and cutting tool
TWI293049B (en) Eraser
JPS6343106Y2 (ja)
US2151824A (en) Pencil eraser tip
JP7492071B2 (ja) 筆記具の部品の製造方法
JP2514862Y2 (ja) 小管式筆記具
JP7499117B2 (ja) カバー
JP3902656B2 (ja) 眼鏡フレーム
JP5379515B2 (ja) マーキングペン
CN220720692U (zh) 一种可以画格线的粉笔套
JP7575886B2 (ja) 歯間清掃具
JP7599936B2 (ja) 万年筆
US1975944A (en) Fountain pen
JP6968483B2 (ja) スリット付筆記用下敷き

Legal Events

Date Code Title Description
A621 Written request for application examination

Free format text: JAPANESE INTERMEDIATE CODE: A621

Effective date: 20240404

A977 Report on retrieval

Free format text: JAPANESE INTERMEDIATE CODE: A971007

Effective date: 20241220

TRDD Decision of grant or rejection written
A01 Written decision to grant a patent or to grant a registration (utility model)

Free format text: JAPANESE INTERMEDIATE CODE: A01

Effective date: 20250107

A61 First payment of annual fees (during grant procedure)

Free format text: JAPANESE INTERMEDIATE CODE: A61

Effective date: 20250129

R150 Certificate of patent or registration of utility model

Ref document number: 7628472

Country of ref document: JP

Free format text: JAPANESE INTERMEDIATE CODE: R150