JP7614232B2 - めっき処理方法およびめっき処理装置 - Google Patents

めっき処理方法およびめっき処理装置 Download PDF

Info

Publication number
JP7614232B2
JP7614232B2 JP2022575552A JP2022575552A JP7614232B2 JP 7614232 B2 JP7614232 B2 JP 7614232B2 JP 2022575552 A JP2022575552 A JP 2022575552A JP 2022575552 A JP2022575552 A JP 2022575552A JP 7614232 B2 JP7614232 B2 JP 7614232B2
Authority
JP
Japan
Prior art keywords
plating
solution
chemical
substrate
wafer
Prior art date
Legal status (The legal status is an assumption and is not a legal conclusion. Google has not performed a legal analysis and makes no representation as to the accuracy of the status listed.)
Active
Application number
JP2022575552A
Other languages
English (en)
Other versions
JPWO2022153914A1 (ja
Inventor
智規 江▲崎▼
Current Assignee (The listed assignees may be inaccurate. Google has not performed a legal analysis and makes no representation or warranty as to the accuracy of the list.)
Tokyo Electron Ltd
Original Assignee
Tokyo Electron Ltd
Priority date (The priority date is an assumption and is not a legal conclusion. Google has not performed a legal analysis and makes no representation as to the accuracy of the date listed.)
Filing date
Publication date
Application filed by Tokyo Electron Ltd filed Critical Tokyo Electron Ltd
Publication of JPWO2022153914A1 publication Critical patent/JPWO2022153914A1/ja
Application granted granted Critical
Publication of JP7614232B2 publication Critical patent/JP7614232B2/ja
Active legal-status Critical Current
Anticipated expiration legal-status Critical

Links

Images

Classifications

    • HELECTRICITY
    • H01ELECTRIC ELEMENTS
    • H01LSEMICONDUCTOR DEVICES NOT COVERED BY CLASS H10
    • H01L21/00Processes or apparatus adapted for the manufacture or treatment of semiconductor or solid state devices or of parts thereof
    • H01L21/70Manufacture or treatment of devices consisting of a plurality of solid state components formed in or on a common substrate or of parts thereof; Manufacture of integrated circuit devices or of parts thereof
    • H01L21/71Manufacture of specific parts of devices defined in group H01L21/70
    • H01L21/768Applying interconnections to be used for carrying current between separate components within a device comprising conductors and dielectrics
    • H01L21/76838Applying interconnections to be used for carrying current between separate components within a device comprising conductors and dielectrics characterised by the formation and the after-treatment of the conductors
    • H01L21/76841Barrier, adhesion or liner layers
    • H01L21/76871Layers specifically deposited to enhance or enable the nucleation of further layers, i.e. seed layers
    • H01L21/76874Layers specifically deposited to enhance or enable the nucleation of further layers, i.e. seed layers for electroless plating
    • CCHEMISTRY; METALLURGY
    • C23COATING METALLIC MATERIAL; COATING MATERIAL WITH METALLIC MATERIAL; CHEMICAL SURFACE TREATMENT; DIFFUSION TREATMENT OF METALLIC MATERIAL; COATING BY VACUUM EVAPORATION, BY SPUTTERING, BY ION IMPLANTATION OR BY CHEMICAL VAPOUR DEPOSITION, IN GENERAL; INHIBITING CORROSION OF METALLIC MATERIAL OR INCRUSTATION IN GENERAL
    • C23CCOATING METALLIC MATERIAL; COATING MATERIAL WITH METALLIC MATERIAL; SURFACE TREATMENT OF METALLIC MATERIAL BY DIFFUSION INTO THE SURFACE, BY CHEMICAL CONVERSION OR SUBSTITUTION; COATING BY VACUUM EVAPORATION, BY SPUTTERING, BY ION IMPLANTATION OR BY CHEMICAL VAPOUR DEPOSITION, IN GENERAL
    • C23C18/00Chemical coating by decomposition of either liquid compounds or solutions of the coating forming compounds, without leaving reaction products of surface material in the coating; Contact plating
    • C23C18/16Chemical coating by decomposition of either liquid compounds or solutions of the coating forming compounds, without leaving reaction products of surface material in the coating; Contact plating by reduction or substitution, e.g. electroless plating
    • C23C18/1601Process or apparatus
    • C23C18/1633Process of electroless plating
    • CCHEMISTRY; METALLURGY
    • C23COATING METALLIC MATERIAL; COATING MATERIAL WITH METALLIC MATERIAL; CHEMICAL SURFACE TREATMENT; DIFFUSION TREATMENT OF METALLIC MATERIAL; COATING BY VACUUM EVAPORATION, BY SPUTTERING, BY ION IMPLANTATION OR BY CHEMICAL VAPOUR DEPOSITION, IN GENERAL; INHIBITING CORROSION OF METALLIC MATERIAL OR INCRUSTATION IN GENERAL
    • C23CCOATING METALLIC MATERIAL; COATING MATERIAL WITH METALLIC MATERIAL; SURFACE TREATMENT OF METALLIC MATERIAL BY DIFFUSION INTO THE SURFACE, BY CHEMICAL CONVERSION OR SUBSTITUTION; COATING BY VACUUM EVAPORATION, BY SPUTTERING, BY ION IMPLANTATION OR BY CHEMICAL VAPOUR DEPOSITION, IN GENERAL
    • C23C18/00Chemical coating by decomposition of either liquid compounds or solutions of the coating forming compounds, without leaving reaction products of surface material in the coating; Contact plating
    • C23C18/16Chemical coating by decomposition of either liquid compounds or solutions of the coating forming compounds, without leaving reaction products of surface material in the coating; Contact plating by reduction or substitution, e.g. electroless plating
    • CCHEMISTRY; METALLURGY
    • C23COATING METALLIC MATERIAL; COATING MATERIAL WITH METALLIC MATERIAL; CHEMICAL SURFACE TREATMENT; DIFFUSION TREATMENT OF METALLIC MATERIAL; COATING BY VACUUM EVAPORATION, BY SPUTTERING, BY ION IMPLANTATION OR BY CHEMICAL VAPOUR DEPOSITION, IN GENERAL; INHIBITING CORROSION OF METALLIC MATERIAL OR INCRUSTATION IN GENERAL
    • C23CCOATING METALLIC MATERIAL; COATING MATERIAL WITH METALLIC MATERIAL; SURFACE TREATMENT OF METALLIC MATERIAL BY DIFFUSION INTO THE SURFACE, BY CHEMICAL CONVERSION OR SUBSTITUTION; COATING BY VACUUM EVAPORATION, BY SPUTTERING, BY ION IMPLANTATION OR BY CHEMICAL VAPOUR DEPOSITION, IN GENERAL
    • C23C18/00Chemical coating by decomposition of either liquid compounds or solutions of the coating forming compounds, without leaving reaction products of surface material in the coating; Contact plating
    • C23C18/16Chemical coating by decomposition of either liquid compounds or solutions of the coating forming compounds, without leaving reaction products of surface material in the coating; Contact plating by reduction or substitution, e.g. electroless plating
    • C23C18/1601Process or apparatus
    • C23C18/1603Process or apparatus coating on selected surface areas
    • CCHEMISTRY; METALLURGY
    • C23COATING METALLIC MATERIAL; COATING MATERIAL WITH METALLIC MATERIAL; CHEMICAL SURFACE TREATMENT; DIFFUSION TREATMENT OF METALLIC MATERIAL; COATING BY VACUUM EVAPORATION, BY SPUTTERING, BY ION IMPLANTATION OR BY CHEMICAL VAPOUR DEPOSITION, IN GENERAL; INHIBITING CORROSION OF METALLIC MATERIAL OR INCRUSTATION IN GENERAL
    • C23CCOATING METALLIC MATERIAL; COATING MATERIAL WITH METALLIC MATERIAL; SURFACE TREATMENT OF METALLIC MATERIAL BY DIFFUSION INTO THE SURFACE, BY CHEMICAL CONVERSION OR SUBSTITUTION; COATING BY VACUUM EVAPORATION, BY SPUTTERING, BY ION IMPLANTATION OR BY CHEMICAL VAPOUR DEPOSITION, IN GENERAL
    • C23C18/00Chemical coating by decomposition of either liquid compounds or solutions of the coating forming compounds, without leaving reaction products of surface material in the coating; Contact plating
    • C23C18/16Chemical coating by decomposition of either liquid compounds or solutions of the coating forming compounds, without leaving reaction products of surface material in the coating; Contact plating by reduction or substitution, e.g. electroless plating
    • C23C18/1601Process or apparatus
    • C23C18/1619Apparatus for electroless plating
    • CCHEMISTRY; METALLURGY
    • C23COATING METALLIC MATERIAL; COATING MATERIAL WITH METALLIC MATERIAL; CHEMICAL SURFACE TREATMENT; DIFFUSION TREATMENT OF METALLIC MATERIAL; COATING BY VACUUM EVAPORATION, BY SPUTTERING, BY ION IMPLANTATION OR BY CHEMICAL VAPOUR DEPOSITION, IN GENERAL; INHIBITING CORROSION OF METALLIC MATERIAL OR INCRUSTATION IN GENERAL
    • C23CCOATING METALLIC MATERIAL; COATING MATERIAL WITH METALLIC MATERIAL; SURFACE TREATMENT OF METALLIC MATERIAL BY DIFFUSION INTO THE SURFACE, BY CHEMICAL CONVERSION OR SUBSTITUTION; COATING BY VACUUM EVAPORATION, BY SPUTTERING, BY ION IMPLANTATION OR BY CHEMICAL VAPOUR DEPOSITION, IN GENERAL
    • C23C18/00Chemical coating by decomposition of either liquid compounds or solutions of the coating forming compounds, without leaving reaction products of surface material in the coating; Contact plating
    • C23C18/16Chemical coating by decomposition of either liquid compounds or solutions of the coating forming compounds, without leaving reaction products of surface material in the coating; Contact plating by reduction or substitution, e.g. electroless plating
    • C23C18/1601Process or apparatus
    • C23C18/1633Process of electroless plating
    • C23C18/1675Process conditions
    • C23C18/1676Heating of the solution
    • CCHEMISTRY; METALLURGY
    • C23COATING METALLIC MATERIAL; COATING MATERIAL WITH METALLIC MATERIAL; CHEMICAL SURFACE TREATMENT; DIFFUSION TREATMENT OF METALLIC MATERIAL; COATING BY VACUUM EVAPORATION, BY SPUTTERING, BY ION IMPLANTATION OR BY CHEMICAL VAPOUR DEPOSITION, IN GENERAL; INHIBITING CORROSION OF METALLIC MATERIAL OR INCRUSTATION IN GENERAL
    • C23CCOATING METALLIC MATERIAL; COATING MATERIAL WITH METALLIC MATERIAL; SURFACE TREATMENT OF METALLIC MATERIAL BY DIFFUSION INTO THE SURFACE, BY CHEMICAL CONVERSION OR SUBSTITUTION; COATING BY VACUUM EVAPORATION, BY SPUTTERING, BY ION IMPLANTATION OR BY CHEMICAL VAPOUR DEPOSITION, IN GENERAL
    • C23C18/00Chemical coating by decomposition of either liquid compounds or solutions of the coating forming compounds, without leaving reaction products of surface material in the coating; Contact plating
    • C23C18/16Chemical coating by decomposition of either liquid compounds or solutions of the coating forming compounds, without leaving reaction products of surface material in the coating; Contact plating by reduction or substitution, e.g. electroless plating
    • C23C18/1601Process or apparatus
    • C23C18/1633Process of electroless plating
    • C23C18/1675Process conditions
    • C23C18/1683Control of electrolyte composition, e.g. measurement, adjustment
    • CCHEMISTRY; METALLURGY
    • C23COATING METALLIC MATERIAL; COATING MATERIAL WITH METALLIC MATERIAL; CHEMICAL SURFACE TREATMENT; DIFFUSION TREATMENT OF METALLIC MATERIAL; COATING BY VACUUM EVAPORATION, BY SPUTTERING, BY ION IMPLANTATION OR BY CHEMICAL VAPOUR DEPOSITION, IN GENERAL; INHIBITING CORROSION OF METALLIC MATERIAL OR INCRUSTATION IN GENERAL
    • C23CCOATING METALLIC MATERIAL; COATING MATERIAL WITH METALLIC MATERIAL; SURFACE TREATMENT OF METALLIC MATERIAL BY DIFFUSION INTO THE SURFACE, BY CHEMICAL CONVERSION OR SUBSTITUTION; COATING BY VACUUM EVAPORATION, BY SPUTTERING, BY ION IMPLANTATION OR BY CHEMICAL VAPOUR DEPOSITION, IN GENERAL
    • C23C18/00Chemical coating by decomposition of either liquid compounds or solutions of the coating forming compounds, without leaving reaction products of surface material in the coating; Contact plating
    • C23C18/16Chemical coating by decomposition of either liquid compounds or solutions of the coating forming compounds, without leaving reaction products of surface material in the coating; Contact plating by reduction or substitution, e.g. electroless plating
    • C23C18/31Coating with metals
    • CCHEMISTRY; METALLURGY
    • C23COATING METALLIC MATERIAL; COATING MATERIAL WITH METALLIC MATERIAL; CHEMICAL SURFACE TREATMENT; DIFFUSION TREATMENT OF METALLIC MATERIAL; COATING BY VACUUM EVAPORATION, BY SPUTTERING, BY ION IMPLANTATION OR BY CHEMICAL VAPOUR DEPOSITION, IN GENERAL; INHIBITING CORROSION OF METALLIC MATERIAL OR INCRUSTATION IN GENERAL
    • C23CCOATING METALLIC MATERIAL; COATING MATERIAL WITH METALLIC MATERIAL; SURFACE TREATMENT OF METALLIC MATERIAL BY DIFFUSION INTO THE SURFACE, BY CHEMICAL CONVERSION OR SUBSTITUTION; COATING BY VACUUM EVAPORATION, BY SPUTTERING, BY ION IMPLANTATION OR BY CHEMICAL VAPOUR DEPOSITION, IN GENERAL
    • C23C18/00Chemical coating by decomposition of either liquid compounds or solutions of the coating forming compounds, without leaving reaction products of surface material in the coating; Contact plating
    • C23C18/16Chemical coating by decomposition of either liquid compounds or solutions of the coating forming compounds, without leaving reaction products of surface material in the coating; Contact plating by reduction or substitution, e.g. electroless plating
    • C23C18/31Coating with metals
    • C23C18/32Coating with nickel, cobalt or mixtures thereof with phosphorus or boron
    • C23C18/34Coating with nickel, cobalt or mixtures thereof with phosphorus or boron using reducing agents
    • CCHEMISTRY; METALLURGY
    • C23COATING METALLIC MATERIAL; COATING MATERIAL WITH METALLIC MATERIAL; CHEMICAL SURFACE TREATMENT; DIFFUSION TREATMENT OF METALLIC MATERIAL; COATING BY VACUUM EVAPORATION, BY SPUTTERING, BY ION IMPLANTATION OR BY CHEMICAL VAPOUR DEPOSITION, IN GENERAL; INHIBITING CORROSION OF METALLIC MATERIAL OR INCRUSTATION IN GENERAL
    • C23CCOATING METALLIC MATERIAL; COATING MATERIAL WITH METALLIC MATERIAL; SURFACE TREATMENT OF METALLIC MATERIAL BY DIFFUSION INTO THE SURFACE, BY CHEMICAL CONVERSION OR SUBSTITUTION; COATING BY VACUUM EVAPORATION, BY SPUTTERING, BY ION IMPLANTATION OR BY CHEMICAL VAPOUR DEPOSITION, IN GENERAL
    • C23C18/00Chemical coating by decomposition of either liquid compounds or solutions of the coating forming compounds, without leaving reaction products of surface material in the coating; Contact plating
    • C23C18/16Chemical coating by decomposition of either liquid compounds or solutions of the coating forming compounds, without leaving reaction products of surface material in the coating; Contact plating by reduction or substitution, e.g. electroless plating
    • C23C18/31Coating with metals
    • C23C18/38Coating with copper
    • C23C18/40Coating with copper using reducing agents
    • HELECTRICITY
    • H01ELECTRIC ELEMENTS
    • H01LSEMICONDUCTOR DEVICES NOT COVERED BY CLASS H10
    • H01L21/00Processes or apparatus adapted for the manufacture or treatment of semiconductor or solid state devices or of parts thereof
    • H01L21/02Manufacture or treatment of semiconductor devices or of parts thereof
    • H01L21/04Manufacture or treatment of semiconductor devices or of parts thereof the devices having potential barriers, e.g. a PN junction, depletion layer or carrier concentration layer
    • H01L21/18Manufacture or treatment of semiconductor devices or of parts thereof the devices having potential barriers, e.g. a PN junction, depletion layer or carrier concentration layer the devices having semiconductor bodies comprising elements of Group IV of the Periodic Table or AIIIBV compounds with or without impurities, e.g. doping materials
    • H01L21/28Manufacture of electrodes on semiconductor bodies using processes or apparatus not provided for in groups H01L21/20 - H01L21/268
    • H01L21/283Deposition of conductive or insulating materials for electrodes conducting electric current
    • H01L21/285Deposition of conductive or insulating materials for electrodes conducting electric current from a gas or vapour, e.g. condensation
    • H01L21/28506Deposition of conductive or insulating materials for electrodes conducting electric current from a gas or vapour, e.g. condensation of conductive layers
    • H01L21/28512Deposition of conductive or insulating materials for electrodes conducting electric current from a gas or vapour, e.g. condensation of conductive layers on semiconductor bodies comprising elements of Group IV of the Periodic Table
    • H01L21/28556Deposition of conductive or insulating materials for electrodes conducting electric current from a gas or vapour, e.g. condensation of conductive layers on semiconductor bodies comprising elements of Group IV of the Periodic Table by chemical means, e.g. CVD, LPCVD, PECVD, laser CVD
    • H01L21/28562Selective deposition
    • HELECTRICITY
    • H01ELECTRIC ELEMENTS
    • H01LSEMICONDUCTOR DEVICES NOT COVERED BY CLASS H10
    • H01L21/00Processes or apparatus adapted for the manufacture or treatment of semiconductor or solid state devices or of parts thereof
    • H01L21/02Manufacture or treatment of semiconductor devices or of parts thereof
    • H01L21/04Manufacture or treatment of semiconductor devices or of parts thereof the devices having potential barriers, e.g. a PN junction, depletion layer or carrier concentration layer
    • H01L21/18Manufacture or treatment of semiconductor devices or of parts thereof the devices having potential barriers, e.g. a PN junction, depletion layer or carrier concentration layer the devices having semiconductor bodies comprising elements of Group IV of the Periodic Table or AIIIBV compounds with or without impurities, e.g. doping materials
    • H01L21/28Manufacture of electrodes on semiconductor bodies using processes or apparatus not provided for in groups H01L21/20 - H01L21/268
    • H01L21/283Deposition of conductive or insulating materials for electrodes conducting electric current
    • H01L21/288Deposition of conductive or insulating materials for electrodes conducting electric current from a liquid, e.g. electrolytic deposition
    • HELECTRICITY
    • H01ELECTRIC ELEMENTS
    • H01LSEMICONDUCTOR DEVICES NOT COVERED BY CLASS H10
    • H01L21/00Processes or apparatus adapted for the manufacture or treatment of semiconductor or solid state devices or of parts thereof
    • H01L21/70Manufacture or treatment of devices consisting of a plurality of solid state components formed in or on a common substrate or of parts thereof; Manufacture of integrated circuit devices or of parts thereof
    • H01L21/71Manufacture of specific parts of devices defined in group H01L21/70
    • H01L21/768Applying interconnections to be used for carrying current between separate components within a device comprising conductors and dielectrics
    • H01L21/76838Applying interconnections to be used for carrying current between separate components within a device comprising conductors and dielectrics characterised by the formation and the after-treatment of the conductors
    • H01L21/76877Filling of holes, grooves or trenches, e.g. vias, with conductive material
    • HELECTRICITY
    • H01ELECTRIC ELEMENTS
    • H01LSEMICONDUCTOR DEVICES NOT COVERED BY CLASS H10
    • H01L21/00Processes or apparatus adapted for the manufacture or treatment of semiconductor or solid state devices or of parts thereof
    • H01L21/70Manufacture or treatment of devices consisting of a plurality of solid state components formed in or on a common substrate or of parts thereof; Manufacture of integrated circuit devices or of parts thereof
    • H01L21/71Manufacture of specific parts of devices defined in group H01L21/70
    • H01L21/768Applying interconnections to be used for carrying current between separate components within a device comprising conductors and dielectrics
    • H01L21/76838Applying interconnections to be used for carrying current between separate components within a device comprising conductors and dielectrics characterised by the formation and the after-treatment of the conductors
    • H01L21/76877Filling of holes, grooves or trenches, e.g. vias, with conductive material
    • H01L21/76879Filling of holes, grooves or trenches, e.g. vias, with conductive material by selective deposition of conductive material in the vias, e.g. selective C.V.D. on semiconductor material, plating
    • HELECTRICITY
    • H05ELECTRIC TECHNIQUES NOT OTHERWISE PROVIDED FOR
    • H05KPRINTED CIRCUITS; CASINGS OR CONSTRUCTIONAL DETAILS OF ELECTRIC APPARATUS; MANUFACTURE OF ASSEMBLAGES OF ELECTRICAL COMPONENTS
    • H05K3/00Apparatus or processes for manufacturing printed circuits
    • H05K3/10Apparatus or processes for manufacturing printed circuits in which conductive material is applied to the insulating support in such a manner as to form the desired conductive pattern
    • H05K3/18Apparatus or processes for manufacturing printed circuits in which conductive material is applied to the insulating support in such a manner as to form the desired conductive pattern using precipitation techniques to apply the conductive material

Landscapes

  • Chemical & Material Sciences (AREA)
  • Engineering & Computer Science (AREA)
  • Chemical Kinetics & Catalysis (AREA)
  • General Chemical & Material Sciences (AREA)
  • Mechanical Engineering (AREA)
  • Materials Engineering (AREA)
  • Metallurgy (AREA)
  • Organic Chemistry (AREA)
  • Microelectronics & Electronic Packaging (AREA)
  • Manufacturing & Machinery (AREA)
  • Computer Hardware Design (AREA)
  • Power Engineering (AREA)
  • General Physics & Mathematics (AREA)
  • Condensed Matter Physics & Semiconductors (AREA)
  • Physics & Mathematics (AREA)
  • Electrochemistry (AREA)
  • Chemically Coating (AREA)

Description

本開示は、めっき処理方法およびめっき処理装置に関する。
従来、基板である半導体ウェハ(以下、ウェハと呼称する。)に多層配線を形成する手法として、ビアの底面に露出する金属配線を触媒に無電解めっき処理を行い、ビアの内部を金属で埋める手法が知られている(特許文献1参照)。
国際公開第2019/163531号
本開示は、無電解めっき処理に用いられるめっき液の劣化を抑制することができる技術を提供する。
本開示の一態様によるめっき処理方法は、準備工程と、めっき液生成工程と、めっき処理工程と、を含む。準備工程は、基板を準備する。めっき液生成工程は、金属イオン、還元剤および錯化剤を含有する第1の薬液と、pH調整剤を主成分とする第2の薬液とを混合してめっき液を生成する。めっき処理工程は、前記めっき液生成工程の直後に、生成された前記めっき液を用いて前記基板に対して無電解めっき処理を行う。
本開示によれば、無電解めっき処理に用いられるめっき液の劣化を抑制することができる。
図1は、実施形態に係る基板処理システムの構成を示す模式平面図である。 図2は、実施形態に係るめっき処理ユニットの構成を示す模式断面図である。 図3は、実施形態に係る熱処理ユニットの構成を示す模式断面図である。 図4は、実施形態に係るめっき処理前のウェハ表面の状態を示す拡大断面図である。 図5は、実施形態に係るめっき処理方法を説明するための図である。 図6は、実施形態に係るめっき処理後のウェハ表面の状態を示す拡大断面図である。 図7は、実施形態の変形例1に係るめっき処理方法を説明するための図である。 図8は、実施形態の変形例1に係るめっき処理方法を説明するための図である。 図9は、実施形態の変形例2に係るめっき処理方法を説明するための図である。 図10は、実施形態に係るめっき処理における処理手順を示すフローチャートである。 図11は、実施形態に係るめっき処理における別の処理手順を示すフローチャートである。
以下、添付図面を参照して、本願の開示するめっき処理方法およびめっき処理装置の実施形態を詳細に説明する。なお、以下に示す実施形態により本開示が限定されるものではない。また、図面は模式的なものであり、各要素の寸法の関係、各要素の比率などは、現実と異なる場合があることに留意する必要がある。さらに、図面の相互間においても、互いの寸法の関係や比率が異なる部分が含まれている場合がある。
従来、基板である半導体ウェハ(以下、ウェハと呼称する。)に多層配線を形成する手法として、ビアの底面に露出する金属配線を触媒に無電解めっき処理を行い、ビアの内部を金属で埋める手法が知られている。
また、近年の多層配線の微細化にともない、ビアの底面に露出する金属配線の面積が徐々に縮小していることから、ビアの内部を無電解めっき処理で良好に埋めるため、めっき液の活性度を高めることが求められている。
一方で、めっき液の活性度を高めた場合、貯留されているめっき液内で金属イオンと還元剤との反応が待機中にも進んでしまうことから、無電解めっき処理を行う前にめっき液が劣化してしまう恐れがある。
そこで、上述の問題点を克服し、無電解めっき処理に用いられるめっき液の劣化を抑制することができる技術の実現が期待されている。
<基板処理システムの概要>
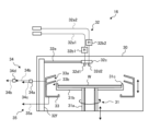
最初に、実施形態に係る基板処理システム1の概略構成について、図1を参照しながら説明する。図1は、実施形態に係る基板処理システム1の構成を示す模式平面図である。基板処理システム1は、めっき処理装置の一例である。
以下では、位置関係を明確にするために、互いに直交するX軸、Y軸およびZ軸を規定し、Z軸正方向を鉛直上向き方向とする。
図1に示すように、基板処理システム1は、搬入出ステーション2と、処理ステーション3とを備える。搬入出ステーション2と処理ステーション3とは隣接して設けられる。
搬入出ステーション2は、キャリア載置部11と、搬送部12とを備える。キャリア載置部11には、複数枚の半導体ウェハW(以下、ウェハWと呼称する。)を水平状態で収容する複数のキャリアCが載置される。ウェハWは、基板の一例である。
搬送部12は、キャリア載置部11に隣接して設けられ、内部に基板搬送装置13と、受渡部14とを備える。基板搬送装置13は、ウェハWを保持するウェハ保持機構を備える。また、基板搬送装置13は、水平方向および鉛直方向への移動ならびに鉛直軸を中心とする旋回が可能であり、ウェハ保持機構を用いてキャリアCと受渡部14との間でウェハWの搬送を行う。
処理ステーション3は、搬送部12に隣接して設けられる。処理ステーション3は、搬送部15と、複数のめっき処理ユニット16と、複数の熱処理ユニット17とを備える。
複数のめっき処理ユニット16と、複数の熱処理ユニット17とは、搬送部15の両側に並べて設けられる。なお、図1に示すめっき処理ユニット16および熱処理ユニット17の配置や個数は一例であり、図示のものに限定されない。
搬送部15は、内部に基板搬送装置18を備える。基板搬送装置18は、ウェハWを保持するウェハ保持機構を備える。また、基板搬送装置18は、水平方向および鉛直方向への移動ならびに鉛直軸を中心とする旋回が可能であり、ウェハ保持機構を用いて受渡部14と、めっき処理ユニット16と、熱処理ユニット17との間でウェハWの搬送を行う。
めっき処理ユニット16は、基板搬送装置18によって搬送されるウェハWに対して所与の無電解めっき処理を行う。かかるめっき処理ユニット16の構成例については後述する。
熱処理ユニット17は、基板搬送装置18によって搬送されるウェハWに対して所与の熱処理を行う。かかる熱処理ユニット17の構成例については後述する。
また、基板処理システム1は、制御装置4を備える。制御装置4は、たとえばコンピュータであり、制御部5と記憶部6とを備える。
制御部5は、CPU(Central Processing Unit)、ROM(Read Only Memory)、RAM(Random Access Memory)、入出力ポートなどを有するマイクロコンピュータや各種の回路を含む。
かかるマイクロコンピュータのCPUは、ROMに記憶されているプログラムを読み出して実行することにより、搬送部12や搬送部15、めっき処理ユニット16、熱処理ユニット17などの制御を実現する。
なお、かかるプログラムは、コンピュータによって読み取り可能な記憶媒体に記録されていたものであって、その記憶媒体から制御装置4の記憶部6にインストールされたものであってもよい。コンピュータによって読み取り可能な記憶媒体としては、たとえばハードディスク(HD)、フレキシブルディスク(FD)、コンパクトディスク(CD)、マグネットオプティカルディスク(MO)、メモリカードなどがある。
記憶部6は、たとえば、RAM、フラッシュメモリ(Flash Memory)などの半導体メモリ素子、または、ハードディスク、光ディスクなどの記憶装置によって実現される。
上記のように構成された基板処理システム1では、まず、搬入出ステーション2の基板搬送装置13が、キャリア載置部11に載置されたキャリアCからウェハWを取り出し、取り出したウェハWを受渡部14に載置する。受渡部14に載置されたウェハWは、処理ステーション3の基板搬送装置18によって受渡部14から取り出されて、めっき処理ユニット16に搬入される。
めっき処理ユニット16に搬入されたウェハWは、めっき処理ユニット16によって所与の無電解めっき処理が施された後、基板搬送装置18によってめっき処理ユニット16から搬出され、熱処理ユニット17に搬入される。
熱処理ユニット17に搬入されたウェハWは、熱処理ユニット17によって所与の熱処理が施された後、基板搬送装置18によって熱処理ユニット17から搬出され、受渡部14に載置される。そして、受渡部14に載置された処理済のウェハWは、基板搬送装置13によってキャリア載置部11のキャリアCへ戻される。
<めっき処理ユニットの概要>
次に、めっき処理ユニット16の概略構成について、図2を参照しながら説明する。図2は、実施形態に係るめっき処理ユニット16の構成を示す模式断面図である。めっき処理ユニット16は、たとえば、ウェハWを1枚ずつ処理する枚葉式の処理ユニットとして構成される。
めっき処理ユニット16は、図2に示すように、筐体30と、基板保持部31と、薬液供給部32と、カップ33と、液排出部34、35とを備える。
基板保持部31は、筐体30の内部でウェハWを回転保持する。基板保持部31は、回転軸31aと、ターンテーブル31bと、ウェハチャック31cと、図示しない回転機構とを有する。
回転軸31aは、中空円筒状であり、筐体30内で上下に伸延する。ターンテーブル31bは、回転軸31aの上端部に取り付けられる。ウェハチャック31cは、ターンテーブル31bの上面外周部に設けられ、ウェハWを支持する。
そして、基板保持部31は、制御装置4の制御部5により制御され、回転機構によって回転軸31aが回転駆動される。これにより、ウェハチャック31cに支持されたウェハWを回転させることができる。
薬液供給部32は、基板保持部31に保持されるウェハWの表面に所与の薬液を供給する。薬液供給部32は、ウェハWの表面に対して第1の薬液L1(図5参照)を供給する第1供給部32a1と、ウェハWの表面に対して第2の薬液L2(図5参照)を供給する第2供給部32a2とを含む。
実施形態に係る第1の薬液L1は、金属イオンと、還元剤と、錯化剤とを含有する。かかる第1の薬液L1に含まれる金属イオンは、たとえば、コバルト(Co)イオン、ニッケル(Ni)イオン、タングステン(W)イオン、銅(Cu)イオン、パラジウム(Pd)イオン、金(Au)イオンなどである。
第1の薬液L1に含まれる還元剤は、たとえば、ヒドラジンやグリオキシル酸、EDTA(エチレンジアミン四酢酸)、ジメチルアミンボランなどである。第1の薬液L1に含まれる錯化剤は、金属イオンと錯体を形成しうるものであればよく、たとえば金属イオンがコバルトイオンである場合、クエン酸やクエン酸ナトリウムなどである。
実施形態に係る第2の薬液L2は、pH調整剤を主成分とする薬液である。なお、本開示において、「pH調整剤を主成分とする」とは、pH調整剤を80(体積%)以上含むことを意味する。
実施形態に係るpH調整剤は、第1の薬液L1のpHが大きくなるようにpHを調整する薬液であり、たとえば、TMAH(TetraMethylAmmonium Hydroxide:水酸化テトラメチルアンモニウム)や水酸化ナトリウムなどの高アルカリ水溶液である。
第1供給部32a1には、ウェハWに供給される第1の薬液L1を所与の温度に昇温するヒータ32b1が設けられ、第2供給部32a2には、ウェハWに供給される第2の薬液L2を所与の温度に昇温するヒータ32b2が設けられる。
また、薬液供給部32はノズルヘッド32cを有し、かかるノズルヘッド32cに第1のノズル32d1および第2のノズル32d2が取り付けられる。第1のノズル32d1は、第1供給部32a1に対応するノズルであり、第2のノズル32d2は、第2供給部32a2に対応するノズルである。
ノズルヘッド32cは、アーム32eの先端部に取り付けられる。かかるアーム32eは、上下方向に移動可能となっており、かつ、図示しない回転機構により回転駆動される支持軸32fに固定され、回転可能となっている。
このような構成により、薬液供給部32は、第1の薬液L1および第2の薬液L2を、第1のノズル32d1および第2のノズル32d2を介してウェハW表面の任意の箇所に所望の高さから吐出することができる。
なお、図2には図示していないが、薬液供給部32には、所与の洗浄液をウェハWに供給する洗浄液供給部が別途設けられてもよい。
カップ33は、ウェハWから飛散した処理液を受ける。カップ33は、2つの排出口33a、33bを有し、図示しない昇降機構により上下方向に駆動可能に構成される。2つの排出口33a、33bは、それぞれ液排出部34、35に接続される。
液排出部34、35は、排出口33a、33bに集められた処理液をそれぞれ排出する。液排出部34は、流路切換器34aにより切り替えられる回収流路34bおよび廃棄流路34cを有する。回収流路34bは、たとえば、薬液を回収して再利用するための流路であり、廃棄流路34cは、薬液を廃棄するための流路である。
また、回収流路34bの出口側には、回収される薬液がめっき液M(図5参照)である場合に、かかるめっき液Mを冷却する冷却バッファ34dが設けられる。なお、液排出部35には、廃棄流路35aのみが設けられる。
<熱処理ユニットの概要>
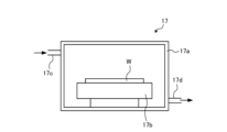
次に、熱処理ユニット17の概略構成について、図3を参照しながら説明する。図3は、実施形態に係る熱処理ユニット17の構成を示す模式断面図である。熱処理ユニット17は、たとえば、ウェハWを1枚ずつ処理する枚葉式の処理ユニットとして構成される。
図3に示すように、熱処理ユニット17は、密閉可能である筐体17aと、かかる筐体17aの内部に配置されたホットプレート17bとを備える。また、筐体17aには、ウェハWを搬入出するための搬送口(図示せず)が設けられるとともに、筐体17a内に所与の雰囲気ガスを供給するガス供給口17cと、筐体17a内から雰囲気ガスを排出するガス排出口17dとが設けられる。
そして、ウェハWを搬送口から搬入してホットプレート17bに載置し、それぞれの熱処理に対応する雰囲気ガスを供給しながらホットプレート17bを所与の温度に昇温することにより、ウェハWに所与の熱処理を行うことができる。
<実施形態>
つづいて、実施形態に係るめっき処理の詳細について、図4~図6を参照しながら説明する。図4は、実施形態に係るめっき処理前のウェハW表面の状態を示す拡大断面図である。
なお、図4に示すウェハWには図示しない素子がすでに形成されている。そして、かかる素子形成後の配線形成工程(いわゆるBEOL(Back End of Line))において、配線50上の絶縁膜60に形成されたビア70を金属配線で埋める各種処理について以下に説明する。
図4に示すように、ウェハWには金属である配線50が形成されるとともに、かかる配線50上に絶縁膜60が設けられる。実施形態では、たとえば、絶縁膜60の全体が酸化膜で構成される。
実施形態に係る配線50は、酸化膜である絶縁膜60の内部を拡散しない元素で構成される。配線50は、たとえば、Co、NiまたはRuを含む導電性の材料で構成される。
また、ウェハWには、絶縁膜60における所与の位置にビア70が形成される。かかるビア70は、絶縁膜60の上面61から配線50まで貫通するように形成される。そして、ビア70は、配線50が露出する底面71と、側面72とを含む。
ここで、ウェハWの絶縁膜60にビア70を形成する方法としては、従来公知の方法から適宜採用することができる。具体的には、たとえば、ドライエッチング技術として、フッ素系または塩素系ガスなどを用いた汎用的技術を適用することができる。
特に、アスペクト比(径に対する深さの比率)の大きなビア70を形成する手法として、高速な深掘エッチングが可能なICP-RIE(Inductively Coupled Plasma Reactive Ion Etching:誘導結合プラズマ-反応性イオンエッチング)の技術を採用することができる。
たとえば、六フッ化硫黄(SF)を用いたエッチングステップとCなどのガスを用いた保護ステップとを繰り返しながら行う、いわゆるボッシュプロセスを好適に採用することができる。
図4に示すように、配線50上の絶縁膜60にビア70が形成されたウェハWは、上述のめっき処理ユニット16に搬入され、所与の無電解めっき処理が行われる。
図5は、実施形態に係るめっき処理方法を説明するための図である。図5に示すように、実施形態に係るめっき処理方法では、制御部5(図1参照)が、薬液供給部32を制御して、ウェハWの表面に第1のノズル32d1から第1の薬液L1を吐出するとともに、第2のノズル32d2から第2の薬液L2を吐出する。
これにより、制御部5は、ウェハWの表面で第1の薬液L1と第2の薬液L2とを混合し、めっき液Mを生成する。そして、制御部5は、めっき液Mが生成された直後に、かかるめっき液Mを用いて、ビア70(図4参照)に対する無電解めっき処理を行う。
なお、本開示において、「めっき液Mが生成された直後」とは、めっき液Mが生成されてから、かかるめっき液Mの劣化が進展するまでの任意の期間を表す。
この無電解めっき処理により、図6に示すように、ビア70の底面71に露出する配線50を触媒にして、ビア70の底面71からボトムアップして無電解めっき膜80が形成され、ビア70の内部が無電解めっき膜80で埋まる。図6は、実施形態に係るめっき処理後のウェハW表面の状態を示す拡大断面図である。
このように、実施形態では、底面71に露出させた配線50を触媒にして、底面71からボトムアップして無電解めっき膜80を形成し、ビア70の内部を無電解めっき膜80で埋める。これにより、アスペクト比が大きく金属配線を形成しにくいビア70の内部に、ボイドやシームなどが含まれない良好な金属配線を形成することができる。
ここで、実施形態では、めっき液Mの原料となる第1の薬液L1がpH調整剤を含んでいないことから、かかる第1の薬液L1内では金属イオンと還元剤との反応が抑制される(すなわち、活性度が低い)pHに制御されている。実施形態に係る第1の薬液L1は、たとえば、pHが11~12程度である。
そして、実施形態では、pH調整剤を主成分とする第2の薬液L2を第1の薬液L1に混ぜることにより、第1の薬液L1のpHが大きくなるようにpHを調整する。これにより、第1の薬液L1と第2の薬液L2とを混合して生成されためっき液Mにおいて、金属イオンと還元剤との反応が促進される。
このように、実施形態では、貯留されている第1の薬液L1内では金属イオンと還元剤との反応が待機中にも進んでしまうことを抑制できるとともに、ウェハWに対するめっき処理の際にはめっき液Mの活性度を高めることができる。
すなわち、実施形態では、めっき処理の直前に第1の薬液L1と第2の薬液L2とを混合してめっき液Mを生成することにより、無電解めっき処理に用いられるめっき液Mの劣化を抑制することができる。
また、実施形態では、第1の薬液L1においてあらかじめ金属イオンと還元剤とが混ぜられた状態である。これにより、無電解めっき処理の直前に金属イオンと還元剤とを混合してめっき液Mを生成する場合と比べて、生成されためっき液Mの活性度を高めることができる。
したがって、実施形態によれば、ビア70が微細化されている場合でも、かかるビア70の内部を無電解めっき処理で良好に埋めることができる。
なお、本開示は、あらかじめ金属イオンと還元剤とが混ぜられた第1の薬液L1を基板処理システム1などで貯留して用いる場合に限られない。
たとえば、本開示では、第1のノズル32d1よりも上流側の第1供給部32a1(図2参照)において、金属イオンを含有する第3の薬液(図示せず)と還元剤を含有する第4の薬液(図示せず)とを混合して、第1の薬液L1を生成してもよい。
これにより、第1の薬液L1内で金属イオンと還元剤とが反応することを抑制することができることから、かかる第1の薬液L1を用いて生成されためっき液Mの活性度を高めることができる。
また、実施形態では、高アルカリ水溶液を主成分とする第2の薬液L2を用いて、第1の薬液L1のpHが大きくなるようにpHを調整するとよい。これにより、酸性水溶液を主成分とする第2の薬液L2を用いて、非常にpHが大きい第1の薬液L1のpHが小さくなるようにpHを調整する場合に比べて、第1の薬液L1の管理を容易にすることができる。
したがって、実施形態によれば、無電解めっき処理を簡便に実施することができる。
また、実施形態では、pH調整剤を主成分とする第2の薬液L2が、高アルカリ水溶液および不可避的不純物からなっているとよい。これにより、第2の薬液L2の管理が容易になることから、無電解めっき処理を簡便に実施することができる。
なお、本開示は、第2の薬液L2が高アルカリ水溶液および不可避的不純物からなる場合に限られず、たとえば、主成分である高アルカリ水溶液に、金属イオンや還元剤、錯化剤などが混ざっていてもよい。
また、実施形態では、第1のノズル32d1および第2のノズル32d2で第1の薬液L1および第2の薬液L2を同時にウェハWに吐出して、かかるウェハWの表面でめっき液Mを生成する。これにより、めっき液Mを生成した直後にウェハWの無電解めっき処理を実施することができる。
したがって、実施形態によれば、めっき液Mが劣化する前に無電解めっき処理を実施することができることから、ビア70が微細化されている場合でも、かかるビア70の内部を無電解めっき処理で良好に埋めることができる。
また、実施形態では、第1の薬液L1および第2の薬液L2のうち少なくとも一方の温度を、室温より高い温度(たとえば、40(℃)~70(℃))に昇温した後に、めっき液Mを生成するとよい。
これにより、室温よりも高い温度のめっき液Mで無電解めっき処理を実施することができることから、ビア70が微細化されている場合でも、かかるビア70の内部を無電解めっき処理でさらに良好に埋めることができる。
ここまで説明した無電解めっき処理が終了し、無電解めっき膜80が形成されたウェハWは、めっき処理ユニット16において所与の洗浄処理が施される。かかる洗浄処理は、たとえば、ウェハWをスピン回転させながら、所与の洗浄液をウェハW上に吐出することにより行われる。これにより、ウェハWの表面に付着しためっき液Mなどが除去される。
そして、洗浄処理が終了したウェハWは、上述の熱処理ユニット17に搬入され、所与の熱処理が行われる。かかる熱処理は、たとえば、窒素ガスと水素ガスとを所与の割合で混合したフォーミングガス雰囲気中でウェハWが載置されたホットプレート17bを加熱することにより、ウェハWを所与の温度(たとえば、400℃)に昇温して行われる。
このように、無電解めっき膜80に対して熱処理を行うことにより、無電解めっき膜80を結晶化させることができることから、ビア70の内部に形成された金属配線の電気抵抗を低減することができる。
ここまで説明した各種処理により、実施形態では、アスペクト比の大きいビア70の内部を良好な金属配線で埋めることができる。
なお、ここまで説明した実施形態では、第1の薬液L1と第2の薬液L2とをウェハWの表面で混合してめっき液Mを生成する例について示した。しかしながら、本開示はかかる例に限られず、たとえば、第1の薬液L1と第2の薬液L2とをウェハWの上方で(すなわち、吐出された第1の薬液L1および第2の薬液L2がウェハWに到達する前に)混合してめっき液Mを生成してもよい。
<変形例1>
つづいて、実施形態の各種変形例について、図7~図9を参照しながら説明する。図7および図8は、実施形態の変形例1に係るめっき処理方法を説明するための図である。
図7に示すように、変形例1では、制御部5(図1参照)が、薬液供給部32を制御して、第2のノズル32d2から第2の薬液L2を吐出する。これにより、制御部5は、ウェハWの表面に第2の薬液L2の液膜を形成する。
つづいて、図8に示すように、制御部5(図1参照)は、薬液供給部32を制御して、第1のノズル32d1から第1の薬液L1を吐出する。これにより、制御部5は、吐出された第1の薬液L1とウェハW表面の第2の薬液L2の液膜とを混合し、めっき液Mを生成する。
そして、制御部5は、生成されためっき液Mを用いて、ビア70(図4参照)に対する無電解めっき処理を行う。これにより、かかるビア70内に無電解めっき膜80(図6参照)が形成される。
ここまで説明した変形例1では、上述の実施形態と同様に、貯留されている第1の薬液L1内では金属イオンと還元剤との反応が待機中にも進んでしまうことを抑制できるとともに、ウェハWに対するめっき処理の際にはめっき液Mの活性度を高めることができる。
したがって、変形例1によれば、無電解めっき処理に用いられるめっき液Mの劣化を抑制することができる。
また、変形例1では、活性度の高いめっき液Mが劣化する前に無電解めっき処理を実施することができることから、ビア70が微細化されている場合でも、かかるビア70の内部を無電解めっき処理で良好に埋めることができる。
なお、図7および図8の例では、第2の薬液L2の液膜が形成されたウェハWに対して第1の薬液L1を吐出する例について示したが、本開示はかかる例に限られず、例えば、第1の薬液L1の液膜が形成されたウェハWに対して第2の薬液L2を吐出してもよい。
<変形例2>
図9は、実施形態の変形例2に係るめっき処理方法を説明するための図である。図9に示す変形例2では、薬液供給部32の構成が上述の実施形態および変形例1とは異なる。
具体的には、変形例2に係る薬液供給部32は、第1のノズル32d1および第2のノズル32d2に替えて、混合ノズル32d3を有する。かかる混合ノズル32d3には、第1の薬液L1(図5参照)を供給する第1供給部32a1と、第2の薬液L2(図5参照)を供給する第2供給部32a2とが接続される。
そして、変形例2では、制御部5(図1参照)が、薬液供給部32を制御して、混合ノズル32d3内で第1の薬液L1と第2の薬液L2とを混合し、めっき液Mを生成する。また、制御部5は、混合ノズル32d3内で生成されためっき液MをウェハWの表面に吐出する。
この変形例2では、上述の実施形態と同様に、貯留されている第1の薬液L1内では金属イオンと還元剤との反応が待機中にも進んでしまうことを抑制できるとともに、ウェハWに対するめっき処理の際にはめっき液Mの活性度を高めることができる。
したがって、変形例2によれば、無電解めっき処理に用いられるめっき液Mの劣化を抑制することができる。
また、変形例2では、活性度の高いめっき液Mが劣化する前に無電解めっき処理を実施することができることから、ビア70が微細化されている場合でも、かかるビア70の内部を無電解めっき処理で良好に埋めることができる。
実施形態に係るめっき処理装置(基板処理システム1)は、基板(ウェハW)を保持する基板保持部31と、基板(ウェハW)に薬液を供給する薬液供給部32と、各部を制御する制御部5と、を備える。また、制御部5は、基板保持部31で基板(ウェハW)を保持する。また、制御部5は、薬液供給部32を制御して、金属イオン、還元剤および錯化剤を含有する第1の薬液L1と、pH調整剤を主成分とする第2の薬液L2とを混合してめっき液Mを生成する。また、制御部5は、めっき液Mを生成した直後に、生成されためっき液Mを用いて基板(ウェハW)に対してめっき処理を行う。これにより、無電解めっき処理に用いられるめっき液Mの劣化を抑制することができる。
<めっき処理の詳細>
つづいて、図10および図11を参照しながら、実施形態に係る基板処理システム1が実行するめっき処理の詳細について説明する。図10は、実施形態に係るめっき処理の処理手順を示すフローチャートである。
最初に、制御部5は、基板搬送装置13、18を制御して、キャリアCからめっき処理ユニット16の内部にウェハWを搬送し、基板保持部31でウェハWを保持することにより、ウェハWを準備する(ステップS101)。
次に、制御部5は、薬液供給部32を制御して、第1の薬液L1と第2の薬液L2とを同時にウェハWの表面に吐出することにより第1の薬液L1と第2の薬液L2とを混合し、めっき液Mを生成する(ステップS102)。
そして、制御部5は、めっき液Mが生成された直後に、かかるめっき液Mを用いて、ビア70に対する無電解めっき処理を行う(ステップS103)。さらに、制御部5は、薬液供給部32を制御して、無電解めっき処理が施されたウェハWに所与の洗浄処理を行う(ステップS104)。
次に、制御部5は、基板搬送装置18を制御して、無電解めっき処理が施されたウェハWをめっき処理ユニット16から熱処理ユニット17に搬送し、かかる熱処理ユニット17でウェハWに所与の熱処理を行う(ステップS105)。これにより、一連の処理が終了する。
図11は、実施形態に係るめっき処理の別の処理手順を示すフローチャートである。最初に、制御部5は、基板搬送装置13、18を制御して、キャリアCからめっき処理ユニット16の内部にウェハWを搬送し、基板保持部31でウェハWを保持することにより、ウェハWを準備する(ステップS201)。
次に、制御部5は、薬液供給部32を制御して、第1のノズル32d1よりも上流側の第1供給部32a1において、金属イオンを含有する第3の薬液と還元剤を含有する第4の薬液とを混合して、第1の薬液L1を生成する(ステップS202)。
次に、制御部5は、薬液供給部32を制御して、ステップS202の処理で生成された第1の薬液L1と、第2の薬液L2とを同時にウェハWの表面に吐出することにより第1の薬液L1と第2の薬液L2とを混合し、めっき液Mを生成する(ステップS203)。
そして、制御部5は、めっき液Mが生成された直後に、かかるめっき液Mを用いて、ビア70に対する無電解めっき処理を行う(ステップS204)。さらに、制御部5は、薬液供給部32を制御して、無電解めっき処理が施されたウェハWに所与の洗浄処理を行う(ステップS205)。
次に、制御部5は、基板搬送装置18を制御して、無電解めっき処理が施されたウェハWをめっき処理ユニット16から熱処理ユニット17に搬送し、かかる熱処理ユニット17でウェハWに所与の熱処理を行う(ステップS206)。これにより、一連の処理が終了する。
実施形態に係るめっき処理方法は、準備工程(ステップS101、S201)と、めっき液生成工程(ステップS102、S203)と、めっき処理工程(ステップS103、S204)と、を含む。準備工程(ステップS101、S201)は、基板(ウェハW)を準備する。めっき液生成工程(ステップS102、S203)は、金属イオン、還元剤および錯化剤を含有する第1の薬液L1と、pH調整剤を主成分とする第2の薬液L2とを混合してめっき液Mを生成する。めっき処理工程(ステップS103、S204)は、めっき液生成工程(ステップS102、S203)の直後に、生成されためっき液Mを用いて基板(ウェハW)に対して無電解めっき処理を行う。これにより、無電解めっき処理に用いられるめっき液Mの劣化を抑制することができる。
また、実施形態に係るめっき処理方法において、めっき液生成工程(ステップS102、S203)は、第1の薬液L1を第1のノズル32d1で基板(ウェハW)に吐出する。また、めっき液生成工程(ステップS102、S203)は、これとともに、第2の薬液L2を第2のノズル32d2で基板(ウェハW)に吐出して、基板(ウェハW)上で第1の薬液L1と第2の薬液L2とを混合することにより行われる。これにより、ビア70が微細化されている場合でも、かかるビア70の内部を無電解めっき処理で良好に埋めることができる。
また、実施形態に係るめっき処理方法において、めっき液生成工程(ステップS102、S203)は、第2の薬液L2の液膜が形成された基板(ウェハW)に対して、第1の薬液L1を基板(ウェハW)に吐出することにより行われる。これにより、ビア70が微細化されている場合でも、かかるビア70の内部を無電解めっき処理で良好に埋めることができる。
また、実施形態に係るめっき処理方法において、めっき液生成工程(ステップS102、S203)は、第1の薬液L1と第2の薬液L2とを混合ノズル32d3内で混合することにより行われる。これにより、ビア70が微細化されている場合でも、かかるビア70の内部を無電解めっき処理で良好に埋めることができる。
また、実施形態に係るめっき処理方法において、第2の薬液L2は、第1の薬液L1のpHが大きくなるようにpHを調整する。これにより、無電解めっき処理を簡便に実施することができる。
また、実施形態に係るめっき処理方法において、第2の薬液L2は、高アルカリ水溶液および不可避的不純物からなる。これにより、無電解めっき処理を簡便に実施することができる。
また、実施形態に係るめっき処理方法において、めっき液生成工程(ステップS102、S203)は、第1の薬液L1および第2の薬液L2のうち少なくとも一方を室温より高い温度に昇温した後に行われる。これにより、ビア70が微細化されている場合でも、かかるビア70の内部を無電解めっき処理でさらに良好に埋めることができる。
また、実施形態に係るめっき処理方法は、めっき液生成工程(ステップS102、S203)の前に行われ、金属イオンを含む第3の薬液と、還元剤を含む第4の薬液とを混合して第1の薬液L1を生成する第1薬液生成工程(ステップS202)、をさらに含む。これにより、第1の薬液L1を用いて生成されためっき液Mの活性度を高めることができる。
以上、本開示の実施形態について説明したが、本開示は上記実施形態に限定されるものではなく、その趣旨を逸脱しない限りにおいて種々の変更が可能である。
今回開示された実施形態は全ての点で例示であって制限的なものではないと考えられるべきである。実に、上記した実施形態は多様な形態で具現され得る。また、上記の実施形態は、添付の請求の範囲及びその趣旨を逸脱することなく、様々な形態で省略、置換、変更されてもよい。
1 基板処理システム(めっき処理装置の一例)
5 制御部
16 めっき処理ユニット
31 基板保持部
32 薬液供給部
32d1 第1のノズル
32d2 第2のノズル
32d3 混合ノズル
L1 第1の薬液
L2 第2の薬液
M めっき液
W ウェハ(基板の一例)

Claims (9)

  1. 基板を準備する準備工程と、
    金属イオン、還元剤および錯化剤を含有する第1の薬液と、アルカリ性を有する水溶液であるアルカリ水溶液を80(体積%)以上含む第2の薬液とを混合してめっき液を生成するめっき液生成工程と、
    前記めっき液生成工程で前記めっき液を生成した直後に、生成された前記めっき液を用いて前記基板に対して無電解めっき処理を行うめっき処理工程と、
    を含むめっき処理方法。
  2. 前記めっき液生成工程は、前記第1の薬液を第1のノズルで前記基板に吐出するとともに、前記第2の薬液を第2のノズルで前記基板に吐出して、前記基板上で前記第1の薬液と前記第2の薬液とを混合することにより行われる
    請求項1に記載のめっき処理方法。
  3. 前記めっき液生成工程は、前記第2の薬液の液膜が形成された前記基板に対して、前記第1の薬液を前記基板に吐出することにより行われる
    請求項1に記載のめっき処理方法。
  4. 前記めっき液生成工程は、前記第1の薬液と前記第2の薬液とを混合ノズル内で混合することにより行われる
    請求項1に記載のめっき処理方法。
  5. 前記第2の薬液は、前記第1の薬液のpHが大きくなるようにpHを調整する
    請求項1~4のいずれか一つに記載のめっき処理方法。
  6. 前記第2の薬液は、前記アルカリ水溶液および不可避的不純物からなる
    請求項5に記載のめっき処理方法。
  7. 前記めっき液生成工程は、前記第1の薬液および前記第2の薬液のうち少なくとも一方を室温より高い温度に昇温した後に行われる
    請求項1~6のいずれか一つに記載のめっき処理方法。
  8. 前記めっき液生成工程の前に行われ、前記金属イオンを含む第3の薬液と、前記還元剤を含む第4の薬液とを混合して前記第1の薬液を生成する第1薬液生成工程、をさらに含む
    請求項1~7のいずれか一つに記載のめっき処理方法。
  9. 基板を保持する基板保持部と、
    前記基板に薬液を供給する薬液供給部と、
    各部を制御する制御部と、
    を備え、
    前記制御部は、
    前記基板保持部で前記基板を保持し、
    前記薬液供給部を制御して、金属イオン、還元剤および錯化剤を含有する第1の薬液と、アルカリ性を有する水溶液であるアルカリ水溶液を80(体積%)以上含む第2の薬液とを混合してめっき液を生成し、
    前記めっき液を生成した直後に、生成された前記めっき液を用いて前記基板に対して無電解めっき処理を行う
    めっき処理装置。
JP2022575552A 2021-01-18 2022-01-06 めっき処理方法およびめっき処理装置 Active JP7614232B2 (ja)

Applications Claiming Priority (3)

Application Number Priority Date Filing Date Title
JP2021005548 2021-01-18
JP2021005548 2021-01-18
PCT/JP2022/000191 WO2022153914A1 (ja) 2021-01-18 2022-01-06 めっき処理方法およびめっき処理装置

Publications (2)

Publication Number Publication Date
JPWO2022153914A1 JPWO2022153914A1 (ja) 2022-07-21
JP7614232B2 true JP7614232B2 (ja) 2025-01-15

Family

ID=82447320

Family Applications (1)

Application Number Title Priority Date Filing Date
JP2022575552A Active JP7614232B2 (ja) 2021-01-18 2022-01-06 めっき処理方法およびめっき処理装置

Country Status (4)

Country Link
US (1) US20240079269A1 (ja)
JP (1) JP7614232B2 (ja)
KR (1) KR20230129541A (ja)
WO (1) WO2022153914A1 (ja)

Families Citing this family (1)

* Cited by examiner, † Cited by third party
Publication number Priority date Publication date Assignee Title
JP2024130021A (ja) * 2023-03-14 2024-09-30 株式会社Screenホールディングス 基板処理方法および基板処理装置

Citations (6)

* Cited by examiner, † Cited by third party
Publication number Priority date Publication date Assignee Title
JP2004346399A (ja) 2003-05-23 2004-12-09 Ebara Corp 基板処理方法及び基板処理装置
JP2005097736A (ja) 2003-08-27 2005-04-14 Freescale Semiconductor Inc 銅を覆う障壁物質を形成するための半導体処理方法及び組成物
JP2006111938A (ja) 2004-10-15 2006-04-27 Tokyo Electron Ltd 無電解めっき装置
JP2013253282A (ja) 2012-06-06 2013-12-19 Kanto Gakuin 無電解めっき浴および無電解めっき膜
WO2019239772A1 (ja) 2018-06-13 2019-12-19 株式会社Screenホールディングス 無電解めっき方法、無電解めっき装置およびプログラム
WO2020137652A1 (ja) 2018-12-28 2020-07-02 東京エレクトロン株式会社 基板液処理装置及び基板液処理方法

Family Cites Families (3)

* Cited by examiner, † Cited by third party
Publication number Priority date Publication date Assignee Title
JPH07197267A (ja) * 1994-01-05 1995-08-01 Nisshinbo Ind Inc 無電解メッキ浴液調合装置
US20050227074A1 (en) * 2004-04-08 2005-10-13 Masaaki Oyamada Conductive electrolessly plated powder and method for making same
TWI833730B (zh) 2018-02-21 2024-03-01 日商東京威力科創股份有限公司 多層配線之形成方法及記憶媒體

Patent Citations (6)

* Cited by examiner, † Cited by third party
Publication number Priority date Publication date Assignee Title
JP2004346399A (ja) 2003-05-23 2004-12-09 Ebara Corp 基板処理方法及び基板処理装置
JP2005097736A (ja) 2003-08-27 2005-04-14 Freescale Semiconductor Inc 銅を覆う障壁物質を形成するための半導体処理方法及び組成物
JP2006111938A (ja) 2004-10-15 2006-04-27 Tokyo Electron Ltd 無電解めっき装置
JP2013253282A (ja) 2012-06-06 2013-12-19 Kanto Gakuin 無電解めっき浴および無電解めっき膜
WO2019239772A1 (ja) 2018-06-13 2019-12-19 株式会社Screenホールディングス 無電解めっき方法、無電解めっき装置およびプログラム
WO2020137652A1 (ja) 2018-12-28 2020-07-02 東京エレクトロン株式会社 基板液処理装置及び基板液処理方法

Also Published As

Publication number Publication date
US20240079269A1 (en) 2024-03-07
WO2022153914A1 (ja) 2022-07-21
KR20230129541A (ko) 2023-09-08
JPWO2022153914A1 (ja) 2022-07-21
TW202242969A (zh) 2022-11-01

Similar Documents

Publication Publication Date Title
JP6903171B2 (ja) 多層配線の形成方法および記憶媒体
JP6910528B2 (ja) 多層配線の形成方法および記憶媒体
JP7614232B2 (ja) めっき処理方法およびめっき処理装置
TWI906450B (zh) 鍍膜處理方法及鍍膜處理裝置
WO2012102062A1 (ja) めっき処理装置、めっき処理方法および記録媒体
US10892176B2 (en) Substrate processing apparatus having top plate with through hole and substrate processing method
JP2022143230A (ja) 基板処理方法および基板処理装置
US11795546B2 (en) Substrate liquid processing apparatus, substrate liquid processing method and recording medium
KR20220148247A (ko) 기판 처리 장치 및 기판 처리 방법
WO2012102098A1 (ja) めっき処理装置、めっき処理方法および記憶媒体
KR102745887B1 (ko) 기판 처리 장치, 기판 처리 방법 및 기억매체
KR102745382B1 (ko) 기판 처리 장치, 기판 처리 방법 및 기억매체
JP7221414B2 (ja) 基板液処理方法および基板液処理装置
CN113227453B (zh) 基板液处理装置和基板液处理方法
WO2024252965A1 (ja) 基板処理方法、基板処理装置および記憶媒体
JP7657245B2 (ja) めっき処理方法およびめっき処理装置
JP7467264B2 (ja) 基板処理装置、基板処理方法およびノズル
TW202444963A (zh) 鍍敷處理方法及鍍敷處理裝置
WO2024009762A1 (ja) 基板液処理方法及び基板液処理装置
KR20220136385A (ko) 기판 처리 방법 및 기판 처리 장치

Legal Events

Date Code Title Description
A621 Written request for application examination

Free format text: JAPANESE INTERMEDIATE CODE: A621

Effective date: 20230710

A131 Notification of reasons for refusal

Free format text: JAPANESE INTERMEDIATE CODE: A131

Effective date: 20240514

A521 Request for written amendment filed

Free format text: JAPANESE INTERMEDIATE CODE: A523

Effective date: 20240627

A131 Notification of reasons for refusal

Free format text: JAPANESE INTERMEDIATE CODE: A131

Effective date: 20240910

A521 Request for written amendment filed

Free format text: JAPANESE INTERMEDIATE CODE: A523

Effective date: 20241011

TRDD Decision of grant or rejection written
A01 Written decision to grant a patent or to grant a registration (utility model)

Free format text: JAPANESE INTERMEDIATE CODE: A01

Effective date: 20241203

A61 First payment of annual fees (during grant procedure)

Free format text: JAPANESE INTERMEDIATE CODE: A61

Effective date: 20241226

R150 Certificate of patent or registration of utility model

Ref document number: 7614232

Country of ref document: JP

Free format text: JAPANESE INTERMEDIATE CODE: R150