JP7604810B2 - モータおよび送風装置 - Google Patents

モータおよび送風装置 Download PDF

Info

Publication number
JP7604810B2
JP7604810B2 JP2020145423A JP2020145423A JP7604810B2 JP 7604810 B2 JP7604810 B2 JP 7604810B2 JP 2020145423 A JP2020145423 A JP 2020145423A JP 2020145423 A JP2020145423 A JP 2020145423A JP 7604810 B2 JP7604810 B2 JP 7604810B2
Authority
JP
Japan
Prior art keywords
coil
electric element
stator
resin
coils
Prior art date
Legal status (The legal status is an assumption and is not a legal conclusion. Google has not performed a legal analysis and makes no representation as to the accuracy of the status listed.)
Active
Application number
JP2020145423A
Other languages
English (en)
Other versions
JP2021058079A (ja
Inventor
有貴延 白石
喬誌 内野
毅 安村
Current Assignee (The listed assignees may be inaccurate. Google has not performed a legal analysis and makes no representation or warranty as to the accuracy of the list.)
Nidec Corp
Original Assignee
Nidec Corp
Priority date (The priority date is an assumption and is not a legal conclusion. Google has not performed a legal analysis and makes no representation as to the accuracy of the date listed.)
Filing date
Publication date
Application filed by Nidec Corp filed Critical Nidec Corp
Priority to CN202010948448.1A priority Critical patent/CN112564371B/zh
Priority to US17/031,992 priority patent/US11705789B2/en
Publication of JP2021058079A publication Critical patent/JP2021058079A/ja
Application granted granted Critical
Publication of JP7604810B2 publication Critical patent/JP7604810B2/ja
Active legal-status Critical Current
Anticipated expiration legal-status Critical

Links

Images

Landscapes

  • Motor Or Generator Frames (AREA)

Description

本発明は、モータおよび送風装置に関する。
従来、熱可塑性樹脂で一体的にモールド成形したモータが知られる。このようなモータは、例えば、固定子鉄心と、固定子鉄心に巻装した駆動コイルと、電子部品を実装したプリント基板と、固定子鉄心と駆動コイルと基板とを電気絶縁性を有する熱硬化性樹脂で射出成形により一体的にモールド成形固化した固定子と、を備える(例えば、特許文献1参照)。
特開2010-022192号公報
熱可塑性樹脂で一体的にモールド成形したモータにおいて、基板に実装される電気素子のサイズが大きいと、モータ全体のサイズが大きくなり易い。モータのサイズが大きくなると、モールドに必要となる樹脂の量が増え、例えば、モータの製造コストが上昇する虞がある。
例えば、基板とステータとの距離を小さくすることによりモールドに使用する樹脂の量を減らすことができる。ただし、基板とステータとの距離を近づけると、ロータとの接触を避けるために、基板に実装される電気素子を覆う樹脂の厚みが薄くなる可能性がある。基板に実装される電気素子を覆う樹脂の厚みは、強度を増すために厚い方が好ましい。
本発明は、モータにおいて、ステータと基板とを覆うために使用する樹脂の量を抑制することができる技術と、モールドに使用される樹脂の量の増加を抑制しつつ、強度を確保することができる技術との少なくとも一方を提供することを目的とする。
本発明の例示的なモータは、上下に延びる中心軸を中心として回転する回転部と、前記回転部を回転可能に支持する静止部と、を有する。前記静止部は、前記回転部の少なくとも一部と径方向に対向するステータと、前記ステータの軸方向下方に配置される基板と、前記ステータの少なくとも一部および基板を覆う樹脂部と、を有する。前記ステータは、周方向に配列される複数のコイルを有する。前記基板の軸方向上方の面には、前記複数のコイルのうちの隣り合う2つのコイルの周方向間と、前記コイルの下方とのうち少なくとも一方に配置される電気素子が実装される。
本発明の例示的な送風装置は、上記構成のモータと、前記回転部とともに回転するインペラと、を有する。
例示的な本発明によれば、モータにおいて、ステータと基板とを覆うために使用する樹脂の量を抑制することができる。また、例示的な本発明によれば、モールド成型されるモータにおいて、モールドに使用される樹脂の量の増加を抑制しつつ、強度を確保することができる。
図1は、本発明の実施形態に係る送風装置の斜視図である。 図2は、本発明の第1実施形態に係るモータの斜視図である。 図3は、本発明の第1実施形態に係るモータの概略縦断面図である。 図4は、本発明の第1実施形態に係るモータが有する静止部の斜視図である。 図5は、図4に示す静止部から樹脂部を除いた図である。 図5Aは、本発明の第1実施形態に係るモータが有するステータコアの斜視図である。 図5Bは、本発明の第1実施形態に係るモータが有するステータコアおよびインシュレータの斜視図である。 図6は、本発明の第1実施形態に係るモータの概略断面斜視図である。 図7は、本発明の第1実施形態に係るモータにおける注入部とコイルとの位置関係を説明するための図である。 図8は、本発明の第1実施形態に係るモータにおけるゲート痕と基板との位置関係を説明するための図である。 図9は、本発明の第1実施形態に係るモータの変形例を説明するための図である。 図10は、変形例のモータにおける樹脂部の成型時の状態を示す概略縦断面図である。 図11は、図10の状態から金型および樹脂の不要部が取り除かれた状態を示す図である。 図12は、本発明の第2実施形態に係るモータの静止部の一部の構成を示す概略平面図である 図13は、本発明の第2実施形態に係るモータの静止部の一部の構成を示す概略断面図である。 図14は、本発明の第2実施形態に係るモータが有する電気素子とステータコアとの関係について説明するための図である。
以下、本発明の例示的な実施形態について、図面を参照しながら詳細に説明する。なお、本明細書では、送風装置100およびモータ1の説明にあたって、図3に示すモータ1の中心軸Cに平行な方向を「軸方向」、中心軸Cと直交する方向を「径方向」、中心軸Cを中心とする円弧に沿う方向を「周方向」とそれぞれ称する。また、本明細書では、軸方向を上下方向とし、ステータ21に対してベース22が設けられる側を下として、各部の形状や位置関係を説明する。ただし、この上下方向の定義により、本発明に係る送風装置100およびモータ1の使用時の向きを限定する意図はない。また、本明細書では、図7における、周方向の時計回り側を周方向一方側とし、周方向の反時計周り側を周方向他方側とする。また、部材における周方向一方側の端を周方向一端とし、部材における周方向他方側の端を周方向他端とする。
<1.送風装置>
図1は、本発明の実施形態に係る送風装置100の斜視図である。本実施形態の送風装置100は、遠心ファンである。ただし、本発明が適用される送風装置は、遠心ファンに限らず、例えば、軸流ファン又はターボファン等であってもよい。図1に示すように、送風装置100は、モータ1と、インペラ2とを有する。送風装置100は、ファンカバー3を更に有する。モータ1の詳細は後述する。
インペラ2は、モータ1の駆動により、中心軸Cを中心として回転する。インペラ2は、インペラ環状部2aと、複数の羽根部2bとを有する。インペラ2は、例えば樹脂により構成される。本実施形態では、インペラ環状部2aと、複数の羽根部2bとは単一部材である。ただし、インペラ環状部2aと、複数の羽根部2bとは別部材であってもよい。
インペラ環状部2aは、中心軸Cを中心とする円環状である。インペラ環状部2aは、モータ1の後述する回転部10に取り付けられる。すなわち、インペラ2は、回転部10とともに回転する。各羽根部2bは、少なくとも一部がインペラ環状部2aの軸方向上面に配置される。各羽根部2bは、中心軸Cから離れる方向に、インペラ環状部2aから延びる。なお、中心軸Cから離れる方向は、径方向と平行であってもよいし、径方向に対して傾いた方向であってもよい。複数の羽根部2bは、周方向に間隔をあけて配置される。本実施形態では、複数の羽根部2bは、周方向に等間隔に配置される。
ファンカバー3は、モータ1の後述するベース22と組になって、送風装置100のハウジング4を構成する。ファンカバー3には、軸方向に貫通し、軸方向からの平面視において中心軸Cを中心とする円形状のカバー貫通孔3aが設けられる。
送風装置100においては、モータ1の駆動により、インペラ2が回転し、カバー貫通孔3aを介して外部からハウジング4内に気流が流れ込む。ハウジング4内に流れ込んだ気流は、複数の羽根部2bに沿って中心軸Cから離れる方向に流れ、ハウジング4に設けられるハウジング開口4aから外部に吹き出す。後述のようにモータ1の軸方向の厚みを薄くすることができるために、送風装置100の軸方向の厚みも薄くすることができる。
<2.モータ>
[2-A.第1実施形態]
(2-A-1.モータの概略構成)
図2は、本発明の第1実施形態に係るモータ1の斜視図である。図3は、本発明の第1実施形態に係るモータ1の概略縦断面図である。図2および図3に示すように、モータ1は、回転部10と、静止部20とを有する。
回転部10は、上下に延びる中心軸Cを中心として回転する。回転部10は、ロータホルダ13と、マグネット14と、を有する。回転部10は、シャフト11と、ブッシュ12と、を更に有する。
シャフト11は、中心軸Cに沿って配置された柱状の部材である。シャフト11の材料には、例えば、ステンレス等の金属が用いられる。本実施形態では、シャフト11は、中心軸Cを中心として回転する。ただし、シャフト11は、例えばベース22等に固定され、回転しない構成であってもよい。すなわち、シャフト11は、回転部10に含まれなくてもよい。
ブッシュ12は、軸方向に延びる筒状である。シャフト11の上端部がブッシュ12内に入れられ、ブッシュ12はシャフト11の上端部に固定される。
ロータホルダ13は、軸方向下方に開口する有蓋円筒状である。すなわち、ロータホルダ13は上壁部131を有する。上壁部131は、軸方向と交差する方向に広がる。また、ロータホルダ13は側壁部132を有する。側壁部132は、上壁部131の径方向外端部から軸方向下方に延びる。
上壁部131の中央部には、軸方向に貫通するロータホルダ貫通孔13aが設けられる。ロータホルダ貫通孔13aは、軸方向からの平面視において、中心軸Cを中心とする円形状である。ロータホルダ貫通孔13a内には、ブッシュ12が入れられ、ブッシュ12は、ロータホルダ13に固定される。すなわち、ロータホルダ13は、シャフト11とともに中心軸Cを中心として回転可能に設けられる。
なお、ロータホルダ13は、インペラ環状部2a内に嵌め込まれ、インペラ2は、ロータホルダ13に固定される。すなわち、インペラ2は、ロータホルダ13の回転とともに回転する。
マグネット14は、側壁部132に配置される。詳細には、マグネット14は、側壁部132の径方向内方の面に固定される。本実施形態においては、マグネット14は単一の環状マグネットである。マグネット14の径方向内方の面には、N極とS極とが周方向に交互に着磁される。ただし、単一の環状マグネットに替えて、複数のマグネットが側壁部132の径方向内方の面に配置されてもよい。この場合、複数のマグネットは周方向に配列される。
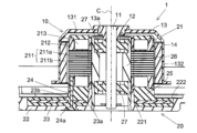
静止部20は、回転部10を回転可能に支持する。図4は、本発明の第1実施形態に係るモータ1が有する静止部20の斜視図である。なお、図4は、図2に示すモータ1から回転部10を除いた図である。図5は、図4に示す静止部20から樹脂部25を除いた図である。ただし、図5は、図4とモータ1を見る角度が異なる。図2から図5に示すように、静止部20は、ステータ21と、基板23と、樹脂部25と、を有する。静止部20は、ベース22と、導通部材24と、軸受ホルダ26と、軸受27と、を更に有する。
ステータ21は、駆動電流に応じて磁束を発生させる電機子である。ステータ21は、回転部10の少なくとも一部と径方向に対向する。本実施形態では、ステータ21は、回転部10の一部と径方向に対向する。ステータ21は、回転部10の一部の径方向内方に配置される。ロータホルダ13は、ステータ21の径方向外方に側壁部132を有する。詳細には、ステータ21は、ステータコア211と、インシュレータ212と、コイル213と、を有する。
ステータコア211は、磁性体である。ステータコア211は、例えば電磁鋼板を積層して構成される。ステータコア211の径方向外方に、マグネット14が径方向に間隔をあけて配置される。図5Aは、本発明の第1実施形態に係るモータ1が有するステータコア211の斜視図である。ステータコア211は、中心軸Cを中心とする円環状のコアバック211aと、コアバック211aから径方向外方に延びる複数のティース211bとを有する。複数のティース211bは、周方向に間隔をあけて配列される。各ティース211bは、詳細には、コアバック211aから径方向外方に延びるティース本体部211baと、ティース本体部211baの径方向外方に配置されるアンブレラ部211bbと、を有する。アンブレラ部211bbは周方向に延びる。アンブレラ部211bbは、一部がティース本体部211baの周方向一端から周方向一方に延び、他の一部がティース本体部211baの周方向他端から周方向他方に延びる。すなわち、アンブレラ部211bbは、ティース本体部211baよりも周方向の幅が広い。周方向に隣り合うアンブレラ部211bbの周方向間には、間隙Sが設けられる。
インシュレータ212は、絶縁体である。インシュレータ212の材料には、例えば樹脂が用いられる。インシュレータ212は、ステータコア211の少なくとも一部を覆う。本実施形態では、インシュレータ212は、ステータコア211の一部を覆う。各ティース211bの径方向外面がインシュレータ212に覆われることなく露出される。すなわち、各アンブレラ部211bbの径方向外面は、インシュレータ212に覆われることなく露出する。各ティース211bの径方向外面は、マグネット14と隙間をあけて径方向に対向する。図5Bは、本発明の第1実施形態に係るモータ1が有するステータコア211およびインシュレータ212の斜視図である。図5Bに示すように、インシュレータ212は、詳細には、ステータコア211の軸方向上方に配置される上インシュレータ212Uと、ステータコア211の軸方向下方に配置される下インシュレータ212Lと、を有する。上インシュレータ212Uは、中心軸Cを中心とする環状の上インシュレータ環状部212aUと、上インシュレータ環状部212aUから径方向外方に延びる複数の上インシュレータ径方向部212bUと、各上インシュレータ径方向部212bUの径方向外方に配置されて周方向に延びる上インシュレータ周方向部212cUと、を有する。下インシュレータ212Lは、中心軸Cを中心とする環状の下インシュレータ環状部212aLと、下インシュレータ環状部212aLから径方向外方に延びる複数の下インシュレータ径方向部212bLと、各下インシュレータ径方向部212bLの径方向外方に配置されて周方向に延びる下インシュレータ周方向部212cLと、を有する。上下のインシュレータ環状部212aU、212aLにより、コアバック211aの径方向外面は覆われる。上下のインシュレータ径方向部212bU、212bLにより、ティース本体部211baは覆われる。上インシュレータ周方向部212cUは、アンブレラ部211bbの上に配置され、上インシュレータ径方向部212bUよりも軸方向上方に延びる。下インシュレータ周方向部212cLは、アンブレラ部211bbの下に配置され、下インシュレータ径方向部212bLよりも軸方向下方に延びる。上下のインシュレータ周方向部212cU、212cLにより、アンブレラ部211bbの径方向内面は覆われる。コイル213は、インシュレータ212を介してティース211bに導線を巻くことによって構成される。ティース211bは、周方向に複数配列される。このため、ステータ21は、周方向に配列される複数のコイル213を有する。なお、本実施形態では、コイル213の数は6個である。ただし、複数のコイル213の数は6個以外であってもよい。また、各コイル213の径方向内方および径方向外方の面の全てはインシュレータ212により覆われる。
ベース22は、ステータ21の軸方向下方に配置される。本実施形態では、ベース22は樹脂により構成される。ただし、ベース22は、金属等の樹脂以外の素材で構成されてよい。ベース22は、中心軸Cを中心とし軸方向に延びるベース筒状部221を中央部に有する。ベース22は、軸方向上方の面に軸方向下方に向けて凹み、基板23が収容されるベース凹部222を有する。
基板23は、ステータ21の軸方向下方に配置される。基板23は、ベース22の軸方向上方に配置される。すなわち、基板23は、ステータ21とベース22との軸方向間に配置される。基板23には、コイル213に駆動電流を供給するための電気回路が構成される。基板23の軸方向上方の面には、各種の電気部品が搭載される。基板23には、軸方向に貫通し、ベース筒状部221を通す第1基板貫通孔23aが設けられる。基板23には、軸方向に貫通し、導通部材24を通す第2基板貫通孔23bが設けられる。
導通部材24は、コイル213と基板23とに電気的に接続される。本実施形態では、導通部材24は、軸方向に延びるピン形状である。詳細には、導通部材24は角柱状の端子ピンである。導通部材24は、インシュレータ212に固定される。導通部材24には、コイル213から引き出された導線が絡げられる。導通部材24は、軸方向下方の一部が第2基板貫通孔23bを介して基板23より軸方向下方に延びる。すなわち、導通部材24は、基板23より軸方向下方に延びる延伸部24aを有する。導通部材24は、基板23の軸方向下方側にて、半田により基板23に固定される。本実施形態では、静止部20は複数の導通部材24を有する。詳細には、導通部材24の数は4つである。ただし、導通部材24の数は適宜変更されてよい。
なお、導通部材24は、軸方向に延びる部分を有する構成であれば、ピン形状でなくてもよく、例えば軸方向に延びる平端子であってよい。導通部材24は、コイル213と電気的に接続されればよく、コイル213から引き出された導線が絡げられなくてもよい。
樹脂部25は、ステータ21の少なくとも一部および基板23を覆う。樹脂部25は、モールド成型により構成される。樹脂部25を構成する樹脂は、例えばホットメルト樹脂等であってもよい。本実施形態では、樹脂部25を構成する樹脂は、基板23が収容されるベース凹部222内に入れられ、基板23の全体を覆う。また、樹脂部25を構成する樹脂は、製造時においてベース22の軸方向上方の面に一時的に配置される金型の形状に合わせて、ステータ21の概ね全体を覆う。本実施形態では、ティース211bの径方向外面は、樹脂部25に覆われることなく露出される。また、樹脂部25を構成する樹脂は、ステータ21と基板23との軸方向間、および、基板23とベース22との軸方向間にも配置される。樹脂部25を構成する樹脂は、導通部材24の全体を覆う。樹脂部25は、全体として一つながりであり、ベース22とステータ21とを機械的に接続する。
軸受ホルダ26は、中心軸Cを中心とする円筒状である。軸受ホルダ26は、当該ホルダの径方向内方に配置される軸受27を保持する。軸受ホルダ26は、ベース筒状部221内に嵌められ、ベース22に固定される。軸受ホルダ26は、ステータコア211の径方向内方に配置される。ステータコア211は、軸受ホルダ26に固定される。すなわち、ステータ21はベース22に支持される。
軸受27は、シャフト11の径方向外方、且つ、軸受ホルダ26の径方向内方に配置され、シャフト11を回転可能に支持する。本実施形態では、軸受27の数は2つであり、2つの軸受27は軸方向に間隔をあけて並ぶ。2つの軸受27はボールベアリングで構成される。ただし、軸受27の数および種類は、適宜変更されてよい。軸受は、例えばスリーブ軸受等であってもよい。
モータ1においては、コイル213に駆動電流を供給することによって、マグネット14とステータ21との間で回転トルクが発生する。これにより、ステータ21に対してロータホルダ13が回転する。ロータホルダ13が回転すると、ロータホルダ13に固定されたインペラ2も中心軸Cを中心に回転する。
なお、本実施形態のモータ1は、ステータ21の径方向外方に回転部10を構成するマグネット14が配置されるアウターロータ型のモータである。例示的な本実施形態によれば、アウターロータ型のモータに対して、軸方向サイズが大きくなることを抑制して、樹脂部25を構成する樹脂量の量を抑制することができる。ただし、本発明が適用されるモータは、ステータの径方向内方に回転部を構成するマグネットが配置されるインナーロータ型のモータであってもよい。
(2-A-2.静止部の詳細構成)
図5に示すように、基板23の軸方向上方の面には、複数のコイル213のうちの隣り合う2つのコイル213の周方向間に配置される電気素子28が実装される。本実施形態では、好ましい形態として、隣り合う2つのコイル213の周方向間に配置される電気素子28の軸方向上端は、コイル213の軸方向下端よりも上方に位置する。また、隣り合う2つのコイル213の周方向間に配置される電気素子28の少なくとも一部は、コイル213の径方向外端よりも中心軸Cからの距離が短い位置に配置される。換言すると、電気素子28の少なくとも一部は、アンブレラ部211bbの径方向内方に位置する。なお、隣り合う2つのコイル213の周方向間に配置される電気素子28の数は、単数でも複数でもよい。
本構成では、従来においては樹脂が充填されていたステータ21の内部の空間に電気素子28の少なくとも一部を配置するために、当該空間への樹脂の充填量を減らすことができ、効果的に樹脂の量を抑制することができる。本構成によれば、電気素子28をコイル213の軸方向下方に配置する場合に比べて、モータ1の軸方向の厚みを薄くすることができる。この結果、樹脂部25を構成する樹脂の量を抑制することができる。なお、電気素子28をステータ21より径方向外方に配置すれば、電気素子28がコイル213の軸方向下方に存在することが原因となってモータ1の軸方向の厚みが厚くなることを抑制できる。しかし、この場合にも、電気素子28を樹脂で覆う必要があるために、ステータ21の径方向外方において、樹脂の量が多くなり易い。
なお、基板23の軸方向上方の面には、電気素子28以外の電気素子が配置されてよく、これらの電気素子は、ステータ21の径方向外方に配置されてよい。
本実施形態では、電気素子28はコンデンサである。電気素子28は、例えば平滑用のコンデンサである。詳細には、電気素子28は電解コンデンサである。本構成によれば、モータ1において軸方向の高さが最も高くなり易い電気素子28が隣り合う2つのコイル213の周方向間に配置されるために、モータ1の厚みを薄くして樹脂部25を構成する樹脂の量を効果的に抑制することができる。なお、電気素子28は、コンデンサ以外であってもよい。電気素子28は、例えば、チョークコイル等のインダクタであってもよい。
本実施形態においては、複数のコイル213は、第1コイル213aと、第2コイル213bと、第3コイル213cとを有する。第2コイル213bおよび第3コイル213cは、いずれも第1コイル213aと隣り合うコイルである。複数のコイル213は、その他、3つのコイル213を有する。この3つのコイル213の数は変更されてよい。詳細には、第2コイル213bは、第1コイル213aの周方向一方側の隣に配置される。第3コイル213cは、第1コイル213aの周方向他方側の隣に配置される。
また、本実施形態においては、電気素子28は、第1電気素子28aと第2電気素子28bとを有する。第1電気素子28aと第2電気素子28bとは同じ種類の電気素子である。詳細には、第1電気素子28aと第2電気素子28bとは、いずれもコンデンサである。ただし、第1電気素子28aと第2電気素子28bとは互いに異なる種類の電気素子であってもよい。
第1電気素子28aは、第1コイル213aと第2コイル213bとの周方向間に配置される。第2電気素子28bは、第1コイル213aと第3コイル213cとの周方向間に配置される。なお、本実施形態では、隣り合う2つのコイル213の周方向間に配置される電気素子28として、第1電気素子28aと第2電気素子28bとが存在する構成としているが、第1電気素子28aと第2電気素子28bとのうち、いずれか一方のみが存在する構成としてもよい。
図6は、本発明の第1実施形態に係るモータ1の概略断面斜視図である。図6に示すように、ベース22には、樹脂部25を形成する際に、外部からベース22内に樹脂を注入する位置となる注入部223が設けられる。注入部223は、ベース22の外部とベース凹部222とを空間的に繋ぐ。本実施形態では、注入部223は、ベース22の側壁を軸方向下端から軸方向上方に向けて切り欠いて構成された切欠部である。本実施形態では、樹脂が側方から注入される。なお、注入部223は、切欠部でなく貫通孔であってもよい。
樹脂部25を形成する際には、例えば、ベース22の上下に金型が配置される。なお、金型はベース22の上側のみに配置される構成であってもよい。樹脂の注入が完了して金型が除かれた後に、樹脂成型時に形成された不要な樹脂部分が取り除かれる。本実施形態では、注入部223よりベース22の外方に形成される樹脂部分が不要な樹脂部分である。これを取り除く際に、樹脂部25の成型時のゲートの痕跡であるゲート痕251(図8参照)が形成される。すなわち、本実施形態では、注入部223の位置にゲート痕251が形成される。ゲート痕251は、樹脂部25の径方向の外面に形成される。
図7は、本発明の第1実施形態に係るモータ1における注入部223とコイル213との位置関係を説明するための図である。図7は、樹脂部25を取り除いた静止部20を軸方向上方から見た概略平面図である。注入部223は、発明の理解を容易とするために、模式的に図示している。注入部223の少なくとも一部は、第2コイル213bの周方向一端E3から第1コイル213aの周方向他端E2までの角度範囲に位置することが好ましい。また、注入部223の少なくとも一部は、第1コイル213aの周方向一端E1から第3コイル213cの周方向他端E4までの角度範囲に位置することが好ましい。
上述のように、注入部223の位置にゲート痕251が形成される。この点に鑑みて換言すると、ゲート痕251の少なくとも一部は、第2コイル213bの周方向一端E3から第1コイル213aの周方向他端E2までの角度範囲に位置することが好ましい。また、ゲート痕251の少なくとも一部は、第1コイル213aの周方向一端E1から第1コイル213aの周方向他端E4までの角度範囲に位置することが好ましい。
すなわち、ゲート痕251の少なくとも一部は、2つのコイル213a、213b(又は213a、213c)のうちの一方の周方向一端から他方の周方向他端までの角度範囲に位置することが好ましい。2つのコイル213a、213b(又は213a、213c)は、周方向間に電気素子28が配置される周方向に隣り合うコイルの組である。本構成によれば、樹脂部25の成型時において、2つのコイル213a、213b(又は213a、213c)の周方向間に配置される電気素子28がゲートの近傍に配置される。このために、電気素子28とコイル213との間の狭い隙間にも、樹脂部25を構成する樹脂を十分に行き渡らせることができる。すなわち、絶縁を適切に確保することができる。
また、注入部223は、径方向において、2つのコイル213a、213b(又は213a、213c)のうちのいずれか一方と重なることが好ましい。換言すると、ゲート痕251は、径方向において、2つのコイル213a、213b(又は213a、213c)のうちのいずれか一方と重なることが好ましい。これによれば、樹脂部25の成型時において、2つのコイル213a、213b(又は213a、213c)の周方向間に配置される電気素子28に対して、ゲートの位置が周方向にずれた位置になるために、樹脂の勢いによって電気素子28が基板23から外れることを抑制することができる。なお、ゲートの位置、すなわち、ゲート痕251は、径方向において、間隙Sと重なる位置を避けて設けられることが好ましい。また、ゲートの位置、すなわち、ゲート痕251は、隣り合う2つのコイル213a、213bのうちの一方213bの周方向他端から他方213aの周方向一端までの角度範囲、および、隣り合う2つのコイル213a、213cのうちの一方213aの周方向他端から他方213cの周方向一端までの角度範囲には設けられないことが好ましい。
本実施形態では、第1コイル213aと第2コイル213bとの周方向間に配置される第1電気素子28aと、第1コイル213aと第3コイル213cとの周方向間に配置される第2電気素子28bとが存在する。このように第1電気素子28aと第2電気素子28bとが備えられる構成では、注入部223は、第2コイル213bの周方向一端E3から第3コイル213cの周方向他端E4までの角度範囲内に位置すればよい。これにより、第1電気素子28aもしくは第2電気素子28bの周辺に樹脂を行き渡り易くすることができる。ただし、注入部223は、径方向において、第1コイル213aと重なることがより好ましい。これによれば、第1電気素子28aおよび第2電気素子28bの近傍から樹脂を注入することができ、且つ、第1電気素子28aおよび第2電気素子28bが注入される樹脂の勢いで基板23から外れることを抑制できる。したがって、本実施形態では、より好ましい形態として、ゲート痕251は、第1コイル213aの周方向一端E1から周方向他端E2までの角度範囲内に位置する。
なお、ゲート痕251の一部は、第1コイル213aの周方向一端E1から周方向他端E2までの角度範囲から外れてもよい。すなわち、ゲート痕251の少なくとも一部が、第1コイル213aの周方向一端E1から周方向他端E2までの角度範囲内に位置する構成であってよい。このような構成においても、樹脂部25の成型時において、第1電気素子28aと第2電気素子28bとの両方をゲートの近傍に配置することができ、第1電気素子28aと第2電気素子28bとの両方について、電気素子28とコイル213との間の狭い空間に樹脂を十分に行き渡らせることができる。
また、第1電気素子28aと第2電気素子28bとのうち、第2電気素子28bがない場合には、ゲート痕251は、径方向において、第1コイル213aではなく、第2コイル213bに重なってもよい。また、第1電気素子28aと第2電気素子28bとのうち、第1電気素子28aがない場合には、ゲート痕251は、径方向において、第1コイル213aではなく、第3コイル213cに重なってもよい。
図8は、本発明の第1実施形態に係るモータ1におけるゲート痕251と基板23との位置関係を説明するための図である。図8は、モータ1の概略縦断面図の一部を拡大して示した図である。図8に示すように、本実施形態では、基板23の軸方向の高さ位置は、ゲート痕251の軸方向上端から軸方向下端までの範囲内に位置する。これによれば、樹脂部25を成型時において、注入部223から注入される樹脂を基板23の側面に当てることができ、樹脂を基板23の軸方向上方および下方に行き渡り易くすることができる。
なお、基板23は、必ずしも、軸方向の全体の高さ位置がゲート痕251の軸方向上端から軸方向下端までの範囲内に位置しなくてもよい。基板23の軸方向の少なくとも一部の高さ位置が、ゲート痕251の軸方向上端から軸方向下端までの範囲内に位置する構成であってよい。また、基板23の軸方向の高さ位置は、ゲート痕251の軸方向の高さ位置と大きくずれてもよい。
また、基板23の少なくとも一部は、径方向においてゲート痕251と重なることが好ましい。本実施形態では、基板23は、径方向においてゲート痕251と重なる。このような構成によれば、樹脂部25の成型時において、樹脂を基板23の側面に当て易く、樹脂を軸方向上方と下方に回り込みやすくすることができる。ただし、基板23は、径方向において、ゲート痕251と重ならなくともよい。このような構成は、例えば、基板23が周方向全周にわたって存在しない場合等に適用されてよい。
(2-A-3.変形例)
図9は、本発明の第1実施形態に係るモータ1の変形例を説明するための図である。図9は、変形例のモータ1Aの概略斜視図である。ただし、図9においては、モータ1Aが有する回転部10および樹脂部25Aが省略されている。また、図9には、樹脂部25Aの成型時に配置される金型200により構成される通路202が模式的に示されている。
変形例のモータ1Aにおいては、樹脂部25Aの成型時にベース22A内に樹脂を注入する位置となる注入部223Aの位置が、上述の実施形態と異なる。注入部223Aは、ベース22Aの側壁を軸方向上端から軸方向下方に向けて切り欠いて構成された切欠部である。なお、注入部223Aは、切欠部でなく貫通孔であってもよい。本変形例においても、樹脂は側方から注入される。また、注入部223Aは、第1コイル213aの周方向一端から周方向他端までの角度範囲内に位置する。
図10は、変形例のモータ1Aにおける樹脂部25Aの成型時の状態を示す概略縦断面図である。ベース22Aの軸方向上方には、金型200が配置される。なお、ベース22Aの軸方向下方にも必要に応じて金型が配置されてよい。側方に配置される成型機ノズル300から注入部223Aを介して樹脂が注入される。金型200には、樹脂部25Aを形作る成型部201の手前に、注入部223から注入された樹脂を成型部201へと運ぶ通路202が設けられる。通路202は、いわゆるゲートを含む部分である。
図11は、図10の状態から金型200および樹脂の不要部252が取り除かれた状態を示す図である。樹脂部25Aは、ステータ21の少なくとも一部および基板23を覆う。不要部252は、図10に示す通路202内に充填される樹脂である。不要部252が取り除かれることにより、樹脂部25Aの外面には、ゲート痕251Aが形成される。
本変形例では、ゲート痕251Aが形成される位置と注入部223Aの位置とが離れる。ただし、本変形例においても、上述の実施形態と同様に、ゲート痕251Aの少なくとも一部は、第1コイル213aの周方向一端E1から周方向他端E2までの角度範囲内に位置する。このために、本変形例においても、ゲートの位置を各電気素子28a、28bの近くとして、電気素子28とコイル213との間の狭い隙間に樹脂部25Aを構成する樹脂を十分に行き渡らせることができる。すなわち、絶縁を適切に確保することができる。また、樹脂部25Aの成型時において、樹脂の勢いによって各電気素子28a、28bが基板23から外れることを抑制することができる。
なお、ゲート痕251Aの位置が電気素子28の近くに配置される構成であれば、注入部223Aの位置は、変形例の位置から変更されてよい。例えば、注入部223Aの位置は、径方向から見た時に、ゲート痕251Aが形成される位置とずれてもよい。注入部223Aの軸方向の高さ位置は、ゲート痕251Aが形成される軸方向の高さ位置とずれてもよい。
[2-B.第2実施形態]
次に、第2実施形態のモータ1Bについて説明する。第2実施形態のモータ1Bの構成は、概ね第1実施形態と同様である。第2実施形態の説明にあたって、第1実施形態と同様の部分については、同一の符号を付し、特に説明の必要がない場合には説明を省略する。第2実施形態の説明では、第1実施形態と異なる部分を中心に説明する。
図12は、本発明の第2実施形態に係るモータ1Bの静止部20Bの一部の構成を示す概略平面図である。ただし、図12においては、静止部20Bを構成する樹脂部25Bは省略されている。図13は、本発明の第2実施形態に係るモータ1Bの静止部20Bの一部の構成を示す概略断面図である。図13は、図12におけるX-X位置における概略断面図である。ただし、図13においては、静止部20Bを構成する樹脂部25Bも示されている。なお、図12および図13においては、基板23B上に搭載される電気素子のうち、第2実施形態のモータ1Bにおいて特徴的な電気素子(第3電気素子)29のみが示されている。電気素子29は、第1実施形態で示した電気素子28とは異なる素子である。
第2実施形態でも第1実施形態と同様に、ステータ21は、コイル213を構成する導線が巻かれるティース211bを有するステータコア211を有する。
図12および図13に示すように、第2実施形態においては、基板23Bの軸方向上方の面には、コイル213の下方に配置される電気素子29が実装される。本実施形態では、電気素子29の一部が、コイル213の下方に配置される。ただし、電気素子29は、全体がコイル213の下方に配置されてもよい。すなわち、電気素子29は、少なくとも一部がコイル213の下方に配置される構成であってよい。
詳細には、電気素子29は、隣り合う2つのコイル213の周方向間に一部が配置される。なお、本実施形態では、電気素子29の軸方向の高さは、基板23Bからコイル213までの軸方向距離よりも小さい。このために、より正確には、電気素子29の一部は、軸方向からの平面視において、隣り合う2つのコイル213の周方向間に配置される。また、電気素子29は、コイル213の径方向外端よりも径方向外方に一部が配置される。より詳細には、電気素子29は、ステータコア211の径方向外端2111よりも径方向外方に一部が配置される。
なお、電気素子29は、隣り合う2つのコイル213の周方向間に全体が配置される構成であってもよい。また、電気素子29は、隣り合う2つのコイル213の周方向間に一部が配置され、コイル213より径方向外方に残りの一部が配置される構成であってもよい。
以上の通り、基板23Bの軸方向上方の面には、複数のコイル213のうちの隣り合う2つのコイル213の周方向間と、コイル213の下方とのうち少なくとも一方に配置される電気素子29が実装される。このような構成とすれば、電気素子29がステータコア211の径方向外端2111よりも径方向内方に配置されることになる。このために、従来においては樹脂のみが充填されていた空間に電気素子29の少なくとも一部が配置されて、樹脂の充填量を減らすことができる。また、電気素子29の少なくとも一部において、ロータホルダ13等の回転部10を構成する部材に邪魔されることなく、電気素子29を上から覆う樹脂部25Bの厚みを厚くすることができる。このために、モータ1の樹脂部25Bの強度を確保することができる。
本実施形態の電気素子29の軸方向の高さは、第1実施形態における基板23からコイル213までの軸方向距離よりも小さい。このために、基板23Bとコイル213との軸方向間距離を第1実施形態のまま維持して、電気素子29をコイル213の下に配置することができる。電気素子29は、例えば、ノイズを除去するフィルタとして機能するインダクタである。ただし、電気素子29は、インダクタ以外であってもよい。
図14は、本発明の第2実施形態に係るモータ1Bが有する電気素子29とステータコア211との関係について説明するための図である。図14は、図13に位置関係を示す線および符号を追加した図である。図14に示すように、本実施形態においては、電気素子29は、第1領域R1と第2領域R2とを有する。第1領域R1は、ステータコア211の径方向外端2111よりも径方向内方に位置する領域である。第2領域R2は、ステータコア211の径方向外端2111よりも径方向外方に位置する領域である。
軸方向からの平面視において、第1領域R1は、第2領域R2に比べて面積が大きい。すなわち、本実施形態では、軸方向からの平面視において、電気素子29の半分より多くの部分が、ステータコア211の径方向外端2111より径方向内方に存在する。このような構成することにより、ステータコア211の下方に電気素子29の多くの部分を配置することができるために、樹脂の使用量を減らすことができる。また、多くの部分をステータコア211の下に配置させることができるために、ロータホルダ13等の回転部10を構成する部材との干渉を避けて、電気素子29を上から覆う樹脂部25Bの厚みを厚くしやすくすることができる。なお、電気素子29は、できる限り多くの領域がステータコア211の径方向外端2111よりも径方向内方に配置されることが好ましい。
また、第1領域R1とコイル213との軸方向間に存在する樹脂部25Bの軸方向の最大厚みは、第2領域R2の上に存在する樹脂部25Bの軸方向の最大厚みよりも大きい。本構成によれば、電気素子29の全体をステータコア211の径方向外端に配置する場合に比べて、電気素子29を上から覆う樹脂部25Bの厚みを厚くすることができ、樹脂部25Bの強度を確保することが可能になる。なお、最大厚みは、厚みが最も厚い部分の厚みのことを意味する。樹脂部25Bの軸方向の最大厚みは、樹脂部25Bの軸方向高さが最も高い部分の軸方向の高さのことを意味する。
なお、コイル213の下端は、自身が巻かれるティース211bから周方向に離れるにつれて軸方向の高さ位置が高くなる。すなわち、コイル213の下部は、径方向からの平面視において、軸方向下方に向けて凸状となる湾曲構造を有する。このために、コイル213の下方に電気素子29を配置した場合に、コイル213の周方向端部側において特に、電気素子29を上から覆う樹脂部25Bの厚みを厚くすることができる。
本実施形態では、図13および図14に示すように、第2領域R2の上に存在する樹脂部25は、径方向外方に向かうにつれて軸方向の厚みが薄くなる傾斜部253を有する。傾斜部253は、平面であってもよいが、湾曲した面であってもよい。このような構成とすることにより、ステータコア211よりも径方向外方において、回転部10を構成する部材との接触を避けつつ、なるべく、電気素子29を上から覆う樹脂部25Bの軸方向の厚みを厚くすることができる。
本実施形態では、詳細には、第2領域R2の上に存在する樹脂部25は、径方向外方に向かって、平坦部254と、傾斜部253とを順に有する。平坦部254は、第2領域R2の上に存在する樹脂部25の厚みを一定とする部分である。平坦部254と傾斜部253との接続部分は曲面状であることが好ましい。なお、平坦部254は設けられなくてもよい。ただし、回転部10を構成する要素との接触を避け、且つ、なるべく樹脂部25Bの厚みを厚くするために、平坦部254が設けられることが好ましい。
また、回転部10を構成する要素との接触を避けるために、平坦部254と、平坦部254の径方向外端から軸方向下方に延びる壁面と接続される他の平坦部とを設けた段差構造を形成する構成としてもよい。ただし、本実施形態のように、傾斜部253を設ける構成とした方が、応力が集中しやすい尖った角部の形成を避けやすいために好ましい。
<3.留意事項>
本明細書中に開示されている種々の技術的特徴は、その技術的創作の主旨を逸脱しない範囲で種々の変更を加えることが可能である。また、本明細書中に示される複数の実施形態および変形例は可能な範囲で組み合わせて実施されてよい。
本発明は、例えば、車載用、家電用、事務機器用等の冷却ファン等に利用することができる。
1、1A、1B・・・モータ
2・・・インペラ
10・・・回転部
13・・・ロータホルダ
14・・・マグネット
20、20B・・・静止部
21・・・ステータ
22、22A・・・ベース
23、23B・・・基板
25、25A、25B・・・樹脂部
28、29・・・電気素子
28a・・・第1電気素子
28b・・・第2電気素子
100・・・送風装置
132・・・側壁部
211・・・ステータコア
213・・・コイル
213a・・・第1コイル
213b・・・第2コイル
213c・・・第3コイル
251、251A・・・ゲート痕
253・・・傾斜部
2111・・・ステータコアの径方向外端
C・・・中心軸
R1・・・第1領域
R2・・・第2領域

Claims (10)

  1. モータであって、
    上下に延びる中心軸を中心として回転する回転部と、
    前記回転部を回転可能に支持する静止部と、
    を有し、
    前記静止部は、
    前記回転部の少なくとも一部と径方向に対向するステータと、
    前記ステータの軸方向下方に配置される基板と、
    前記ステータの少なくとも一部および基板を覆う樹脂部と、
    を有し、
    前記ステータは、周方向に配列される複数のコイルを有し、
    前記基板の軸方向上方の面には、前記複数のコイルのうちの隣り合う2つのコイルの周方向間と、前記コイルの下方とのうち少なくとも一方に配置される電気素子が実装される、
    前記ステータは、前記コイルを構成する導線が巻かれるティースを有するステータコアを有し、
    前記電気素子は、
    前記ステータコアの径方向外端よりも径方向内方に位置する第1領域と、
    前記ステータコアの径方向外端よりも径方向外方に位置する第2領域と、
    を有し、
    軸方向からの平面視において、前記第1領域は、前記第2領域に比べて面積が大きく、
    前記電気素子の一部が、前記コイルの下方に配置され、
    前記第1領域と前記コイルとの軸方向間に存在する前記樹脂部の軸方向の最大厚みは、
    前記第2領域の上に存在する前記樹脂部の軸方向の最大厚みよりも大きい、モータ。
  2. 前記樹脂部の成型時のゲートの痕跡であるゲート痕の少なくとも一部は、前記2つのコイルのうちの一方の周方向一端から他方の周方向他端までの角度範囲内に位置する、請求項1に記載のモータ。
  3. 前記ゲート痕は、径方向において、前記2つのコイルのうちのいずれか一方と重なる、
    請求項2に記載のモータ。
  4. 前記基板の軸方向の高さ位置は、前記ゲート痕の軸方向上端から軸方向下端までの範囲内に位置する、請求項2又は3に記載のモータ。
  5. 前記基板の少なくとも一部は、径方向において前記ゲート痕と重なる、請求項4に記載のモータ。
  6. 前記複数のコイルは、
    第1コイルと、
    前記第1コイルの周方向一方側の隣に配置される第2コイルと、
    前記第1コイルの周方向他方側の隣に配置される第3コイルと、
    を有し、
    前記電気素子は、
    前記第1コイルと前記第2コイルとの周方向間に配置される第1電気素子と、
    前記第1コイルと前記第3コイルとの周方向間に配置される第2電気素子と、
    を有し、
    前記ゲート痕の少なくとも一部は、前記第1 コイルの周方向一端から周方向他端までの角度範囲内に位置する、請求項2から5のいずれか1項に記載のモータ。
  7. 前記2つのコイルの周方向間に配置される前記電気素子は、コンデンサである、請求項1から6のいずれか1項に記載のモータ。
  8. モータであって、
    上下に延びる中心軸を中心として回転する回転部と、
    前記回転部を回転可能に支持する静止部と、
    を有し、
    前記静止部は、
    前記回転部の少なくとも一部と径方向に対向するステータと、
    前記ステータの軸方向下方に配置される基板と、
    前記ステータの少なくとも一部および基板を覆う樹脂部と、
    を有し、
    前記ステータは、周方向に配列される複数のコイルを有し、
    前記基板の軸方向上方の面には、前記複数のコイルのうちの隣り合う2つのコイルの周方向間と、前記コイルの下方とのうち少なくとも一方に配置される電気素子が実装され、
    前記ステータは、前記コイルを構成する導線が巻かれるティースを有するステータコアを有し、
    前記電気素子は、
    前記ステータコアの径方向外端よりも径方向内方に位置する第1領域と、
    前記ステータコアの径方向外端よりも径方向外方に位置する第2領域と、
    を有し、
    軸方向からの平面視において、前記第1領域は、前記第2領域に比べて面積が大きく、
    前記第2領域の上に存在する前記樹脂部は、径方向外方に向かうにつれて軸方向の厚みが薄くなる傾斜部を有するモータ。
  9. 前記回転部は、
    前記ステータの径方向外方に側壁部を有するロータホルダと、
    前記側壁部に配置されるマグネットと、
    を有する、請求項1から8のいずれか1項に記載のモータ。
  10. 請求項1から9のいずれか1項に記載のモータと、
    前記回転部とともに回転するインペラと、
    を有する、送風装置。
JP2020145423A 2019-09-26 2020-08-31 モータおよび送風装置 Active JP7604810B2 (ja)

Priority Applications (2)

Application Number Priority Date Filing Date Title
CN202010948448.1A CN112564371B (zh) 2019-09-26 2020-09-10 马达及送风装置
US17/031,992 US11705789B2 (en) 2019-09-26 2020-09-25 Motor and blower

Applications Claiming Priority (2)

Application Number Priority Date Filing Date Title
JP2019176170 2019-09-26
JP2019176170 2019-09-26

Publications (2)

Publication Number Publication Date
JP2021058079A JP2021058079A (ja) 2021-04-08
JP7604810B2 true JP7604810B2 (ja) 2024-12-24

Family

ID=75271383

Family Applications (1)

Application Number Title Priority Date Filing Date
JP2020145423A Active JP7604810B2 (ja) 2019-09-26 2020-08-31 モータおよび送風装置

Country Status (1)

Country Link
JP (1) JP7604810B2 (ja)

Citations (3)

* Cited by examiner, † Cited by third party
Publication number Priority date Publication date Assignee Title
JP2001197706A (ja) 2000-01-17 2001-07-19 Nidec Shibaura Corp 回路内蔵モールドモータ
JP2010110153A (ja) 2008-10-31 2010-05-13 Panasonic Corp モールドモータ
JP2018042362A (ja) 2016-09-07 2018-03-15 日本電産株式会社 ステータユニット、モータ、およびファンモータ

Family Cites Families (7)

* Cited by examiner, † Cited by third party
Publication number Priority date Publication date Assignee Title
JPH04295263A (ja) * 1991-03-25 1992-10-20 Matsushita Electric Ind Co Ltd ブラシレスモータ
JP3065813B2 (ja) * 1992-09-30 2000-07-17 芝浦メカトロニクス株式会社 コンデンサ内蔵型インダクションモータ
JPH09172749A (ja) * 1995-12-19 1997-06-30 Matsushita Electric Ind Co Ltd モールドモータ
JP2011160602A (ja) * 2010-02-03 2011-08-18 Panasonic Corp モールドモータ
CN203984139U (zh) * 2011-09-08 2014-12-03 三菱电机株式会社 电动机以及搭载有电动机的泵、空调机、热水器及热源机
JP6676622B2 (ja) * 2015-04-17 2020-04-08 株式会社ミツバ ブラシレスモータ、電動ポンプ、およびブラシレスモータの製造方法
JP6790783B2 (ja) * 2016-12-12 2020-11-25 日本電産株式会社 ステータユニット、モータ、およびステータユニットの製造方法

Patent Citations (3)

* Cited by examiner, † Cited by third party
Publication number Priority date Publication date Assignee Title
JP2001197706A (ja) 2000-01-17 2001-07-19 Nidec Shibaura Corp 回路内蔵モールドモータ
JP2010110153A (ja) 2008-10-31 2010-05-13 Panasonic Corp モールドモータ
JP2018042362A (ja) 2016-09-07 2018-03-15 日本電産株式会社 ステータユニット、モータ、およびファンモータ

Also Published As

Publication number Publication date
JP2021058079A (ja) 2021-04-08

Similar Documents

Publication Publication Date Title
JP4287215B2 (ja) 回転電機の電機子のボビン
JP6766535B2 (ja) ステータユニット、モータ、およびファンモータ
US11336143B2 (en) Stator assembly of a blowing device having terminal PIN secured to a circuit board
JP6848132B1 (ja) 回転電機の固定子
EP4080742A1 (en) Molded motor production method, and molded motor
JP7600566B2 (ja) モータおよび送風装置
US10734849B2 (en) Stator of motor having upper and lower insulator
US11489391B2 (en) Stator, motor, and blowing device
US20140077655A1 (en) Stator and rotating electrical machine
JP7604810B2 (ja) モータおよび送風装置
JP7363287B2 (ja) モータおよび送風装置
CN112564371B (zh) 马达及送风装置
JP7225700B2 (ja) モータ及び送風機
US11005333B2 (en) Electric motor having a stator with a radially outside rotor with the rotor having a fan mounting portion comprising a noncontact region and a contract region configured to contact a mouting surface of a fan
JP7631634B2 (ja) ステータ、モータ、及び、ステータの製造方法
JP7445898B2 (ja) モールドモータ
KR102690237B1 (ko) 전기자의 보빈 구조
JP7714449B2 (ja) ステータおよびモータ
JP7589544B2 (ja) モータ及び送風装置
KR20170129419A (ko) 모터용 커버 조립체 및 이를 포함하는 모터
JP2021164261A (ja) ブラシレスモータ
JP2007116867A (ja) ブラシレスモータ

Legal Events

Date Code Title Description
A621 Written request for application examination

Free format text: JAPANESE INTERMEDIATE CODE: A621

Effective date: 20230726

A977 Report on retrieval

Free format text: JAPANESE INTERMEDIATE CODE: A971007

Effective date: 20240221

A131 Notification of reasons for refusal

Free format text: JAPANESE INTERMEDIATE CODE: A131

Effective date: 20240305

A521 Request for written amendment filed

Free format text: JAPANESE INTERMEDIATE CODE: A523

Effective date: 20240424

A131 Notification of reasons for refusal

Free format text: JAPANESE INTERMEDIATE CODE: A131

Effective date: 20240730

A521 Request for written amendment filed

Free format text: JAPANESE INTERMEDIATE CODE: A523

Effective date: 20240921

TRDD Decision of grant or rejection written
A01 Written decision to grant a patent or to grant a registration (utility model)

Free format text: JAPANESE INTERMEDIATE CODE: A01

Effective date: 20241112

A61 First payment of annual fees (during grant procedure)

Free format text: JAPANESE INTERMEDIATE CODE: A61

Effective date: 20241125

R150 Certificate of patent or registration of utility model

Ref document number: 7604810

Country of ref document: JP

Free format text: JAPANESE INTERMEDIATE CODE: R150