JP7585380B2 - 筐体内に配置された部品を冷却するシステム - Google Patents

筐体内に配置された部品を冷却するシステム Download PDF

Info

Publication number
JP7585380B2
JP7585380B2 JP2023062947A JP2023062947A JP7585380B2 JP 7585380 B2 JP7585380 B2 JP 7585380B2 JP 2023062947 A JP2023062947 A JP 2023062947A JP 2023062947 A JP2023062947 A JP 2023062947A JP 7585380 B2 JP7585380 B2 JP 7585380B2
Authority
JP
Japan
Prior art keywords
air
rack
heat dissipation
enclosure
racks
Prior art date
Legal status (The legal status is an assumption and is not a legal conclusion. Google has not performed a legal analysis and makes no representation as to the accuracy of the status listed.)
Active
Application number
JP2023062947A
Other languages
English (en)
Other versions
JP2023090735A (ja
Inventor
ネルソン・エリック・シー
ライツマ・スコット
テラ・ジェームズ・エス
ネルソン・ブライアン
Current Assignee (The listed assignees may be inaccurate. Google has not performed a legal analysis and makes no representation or warranty as to the accuracy of the list.)
LG Energy Solution Vertech Inc
Original Assignee
LG Energy Solution Vertech Inc
Priority date (The priority date is an assumption and is not a legal conclusion. Google has not performed a legal analysis and makes no representation as to the accuracy of the date listed.)
Filing date
Publication date
Application filed by LG Energy Solution Vertech Inc filed Critical LG Energy Solution Vertech Inc
Publication of JP2023090735A publication Critical patent/JP2023090735A/ja
Application granted granted Critical
Publication of JP7585380B2 publication Critical patent/JP7585380B2/ja
Active legal-status Critical Current
Anticipated expiration legal-status Critical

Links

Images

Classifications

    • HELECTRICITY
    • H01ELECTRIC ELEMENTS
    • H01MPROCESSES OR MEANS, e.g. BATTERIES, FOR THE DIRECT CONVERSION OF CHEMICAL ENERGY INTO ELECTRICAL ENERGY
    • H01M10/00Secondary cells; Manufacture thereof
    • H01M10/60Heating or cooling; Temperature control
    • H01M10/65Means for temperature control structurally associated with the cells
    • H01M10/656Means for temperature control structurally associated with the cells characterised by the type of heat-exchange fluid
    • H01M10/6561Gases
    • H01M10/6563Gases with forced flow, e.g. by blowers
    • HELECTRICITY
    • H01ELECTRIC ELEMENTS
    • H01MPROCESSES OR MEANS, e.g. BATTERIES, FOR THE DIRECT CONVERSION OF CHEMICAL ENERGY INTO ELECTRICAL ENERGY
    • H01M10/00Secondary cells; Manufacture thereof
    • H01M10/60Heating or cooling; Temperature control
    • H01M10/61Types of temperature control
    • H01M10/613Cooling or keeping cold
    • HELECTRICITY
    • H01ELECTRIC ELEMENTS
    • H01MPROCESSES OR MEANS, e.g. BATTERIES, FOR THE DIRECT CONVERSION OF CHEMICAL ENERGY INTO ELECTRICAL ENERGY
    • H01M10/00Secondary cells; Manufacture thereof
    • H01M10/60Heating or cooling; Temperature control
    • H01M10/62Heating or cooling; Temperature control specially adapted for specific applications
    • H01M10/627Stationary installations, e.g. power plant buffering or backup power supplies
    • HELECTRICITY
    • H01ELECTRIC ELEMENTS
    • H01MPROCESSES OR MEANS, e.g. BATTERIES, FOR THE DIRECT CONVERSION OF CHEMICAL ENERGY INTO ELECTRICAL ENERGY
    • H01M10/00Secondary cells; Manufacture thereof
    • H01M10/60Heating or cooling; Temperature control
    • H01M10/65Means for temperature control structurally associated with the cells
    • H01M10/655Solid structures for heat exchange or heat conduction
    • HELECTRICITY
    • H01ELECTRIC ELEMENTS
    • H01MPROCESSES OR MEANS, e.g. BATTERIES, FOR THE DIRECT CONVERSION OF CHEMICAL ENERGY INTO ELECTRICAL ENERGY
    • H01M10/00Secondary cells; Manufacture thereof
    • H01M10/60Heating or cooling; Temperature control
    • H01M10/66Heat-exchange relationships between the cells and other systems, e.g. central heating systems or fuel cells
    • H01M10/663Heat-exchange relationships between the cells and other systems, e.g. central heating systems or fuel cells the system being an air-conditioner or an engine
    • HELECTRICITY
    • H01ELECTRIC ELEMENTS
    • H01MPROCESSES OR MEANS, e.g. BATTERIES, FOR THE DIRECT CONVERSION OF CHEMICAL ENERGY INTO ELECTRICAL ENERGY
    • H01M50/00Constructional details or processes of manufacture of the non-active parts of electrochemical cells other than fuel cells, e.g. hybrid cells
    • H01M50/20Mountings; Secondary casings or frames; Racks, modules or packs; Suspension devices; Shock absorbers; Transport or carrying devices; Holders
    • HELECTRICITY
    • H01ELECTRIC ELEMENTS
    • H01MPROCESSES OR MEANS, e.g. BATTERIES, FOR THE DIRECT CONVERSION OF CHEMICAL ENERGY INTO ELECTRICAL ENERGY
    • H01M6/00Primary cells; Manufacture thereof
    • H01M6/50Methods or arrangements for servicing or maintenance, e.g. for maintaining operating temperature
    • H01M6/5038Heating or cooling of cells or batteries
    • HELECTRICITY
    • H05ELECTRIC TECHNIQUES NOT OTHERWISE PROVIDED FOR
    • H05KPRINTED CIRCUITS; CASINGS OR CONSTRUCTIONAL DETAILS OF ELECTRIC APPARATUS; MANUFACTURE OF ASSEMBLAGES OF ELECTRICAL COMPONENTS
    • H05K7/00Constructional details common to different types of electric apparatus
    • H05K7/20Modifications to facilitate cooling, ventilating, or heating
    • H05K7/20709Modifications to facilitate cooling, ventilating, or heating for server racks or cabinets; for data centers, e.g. 19-inch computer racks
    • H05K7/20718Forced ventilation of a gaseous coolant
    • H05K7/20736Forced ventilation of a gaseous coolant within cabinets for removing heat from server blades
    • HELECTRICITY
    • H05ELECTRIC TECHNIQUES NOT OTHERWISE PROVIDED FOR
    • H05KPRINTED CIRCUITS; CASINGS OR CONSTRUCTIONAL DETAILS OF ELECTRIC APPARATUS; MANUFACTURE OF ASSEMBLAGES OF ELECTRICAL COMPONENTS
    • H05K7/00Constructional details common to different types of electric apparatus
    • H05K7/20Modifications to facilitate cooling, ventilating, or heating
    • H05K7/20709Modifications to facilitate cooling, ventilating, or heating for server racks or cabinets; for data centers, e.g. 19-inch computer racks
    • H05K7/20718Forced ventilation of a gaseous coolant
    • H05K7/20745Forced ventilation of a gaseous coolant within rooms for removing heat from cabinets, e.g. by air conditioning device
    • HELECTRICITY
    • H01ELECTRIC ELEMENTS
    • H01MPROCESSES OR MEANS, e.g. BATTERIES, FOR THE DIRECT CONVERSION OF CHEMICAL ENERGY INTO ELECTRICAL ENERGY
    • H01M10/00Secondary cells; Manufacture thereof
    • H01M10/42Methods or arrangements for servicing or maintenance of secondary cells or secondary half-cells
    • H01M10/425Structural combination with electronic components, e.g. electronic circuits integrated to the outside of the casing
    • H01M2010/4271Battery management systems including electronic circuits, e.g. control of current or voltage to keep battery in healthy state, cell balancing
    • YGENERAL TAGGING OF NEW TECHNOLOGICAL DEVELOPMENTS; GENERAL TAGGING OF CROSS-SECTIONAL TECHNOLOGIES SPANNING OVER SEVERAL SECTIONS OF THE IPC; TECHNICAL SUBJECTS COVERED BY FORMER USPC CROSS-REFERENCE ART COLLECTIONS [XRACs] AND DIGESTS
    • Y02TECHNOLOGIES OR APPLICATIONS FOR MITIGATION OR ADAPTATION AGAINST CLIMATE CHANGE
    • Y02EREDUCTION OF GREENHOUSE GAS [GHG] EMISSIONS, RELATED TO ENERGY GENERATION, TRANSMISSION OR DISTRIBUTION
    • Y02E60/00Enabling technologies; Technologies with a potential or indirect contribution to GHG emissions mitigation
    • Y02E60/10Energy storage using batteries

Landscapes

  • Engineering & Computer Science (AREA)
  • General Chemical & Material Sciences (AREA)
  • Electrochemistry (AREA)
  • Chemical Kinetics & Catalysis (AREA)
  • Chemical & Material Sciences (AREA)
  • Manufacturing & Machinery (AREA)
  • Microelectronics & Electronic Packaging (AREA)
  • Thermal Sciences (AREA)
  • Physics & Mathematics (AREA)
  • General Engineering & Computer Science (AREA)
  • Computer Hardware Design (AREA)
  • Cooling Or The Like Of Electrical Apparatus (AREA)
  • Secondary Cells (AREA)
  • Cold Air Circulating Systems And Constructional Details In Refrigerators (AREA)

Description

関連出願
本願は、2017年1月3日に出願された米国特許出願第15/397,256号の継続出願であり、その全体を参照により本出願の一部をなすものとして引用する。
様々な機器運転の場面において、特定領域または空間領域内に、比較的多数の放熱部品または装置を配置することが必要となる場合がある。そうした場面の一例としては、一定空間(すなわち、サーバルームや建物)内に1つ以上の機器ラックが配置され得るサーバクラスタが挙げられる。
各機器ラックにはプロセッサモジュールのスタックが設けられており、各プロセッサモジュールはサーバ(例えば、印刷サーバまたはファイルサーバ)として機能する。ラック内にサーバモジュールを積み重ねることにより、これらのモジュールの後部が並ぶ機器ラックの後部領域に沿ってケーブル配線ハーネスを配置することができるので、モジュール間の相互接続を簡便とすることができる。
上記場面の他の例としては、一定空間(例えば、建物または専用の筐体)内に複数の蓄電装置を備える蓄電システムが挙げられる。このような蓄電システムの例は、2016年6月3日出願の米国特許出願公開第2016/0359364号(特許文献1)に記載されており、この文献の全体を参照により本出願の一部をなすものとして引用する。サーバクラスタと同様に、複数の蓄電装置は、囲まれた空間(例えば、建物または筐体)内に配置された蓄電モジュールのスタックがそれぞれ設けられた1つ以上の機器ラックを有していてもよい。本明細書に記載する例は主にこのような蓄電システムに関するものであるが、本明細書に記載する構想は、これ以外の複数の放熱部品にも適用できるということを理解されたい。
具体的な用途にかかわらず、ラックに設けられた多数の放熱部品は多量の熱を放散することがあるので、これらの部品が過熱しないように、部品から熱を取り除くことが必要となる。既存の部品設計では、複数のファンアセンブリを用いることで、放散された熱を取り除くことができる。一般的な手法としては、ラックに取り付けられた各部品の内部に1つ以上のファンアセンブリを設け、その部品を通してまたはその周囲に空気を送る手法がある。
米国特許出願公開第2016/0359364号
通常、囲まれた設備領域の全体に対して、筐体内の環境温度を所望の範囲内で維持するために冷却システム(例えば、大容量空調(HVAC)システム)が用いられる。標準的な方式では、HVAC空気供給ポートと戻りポートとの間をしっかりと隔離することが求められるが、これにはダクトの設置が必要となり、またこのような分離ができない狭い密閉空間での利用可能性が制限される。あるいは、あまり望ましくないが、要求される隔離を利用可能な空間内で実現するために、設置されるラックの数の制限が必要となることもある。
本明細書に記載する実施形態は、囲まれた空間内にスタック構造で配置された1つ以上のラック内に設置された複数の部品を冷却するように構成された部品冷却システムに向けられている。
前記冷却システムの実施形態は、先行技術に対する改良をなすために、以下の要素を1つ以上含んでいてもよい。ここに挙げるものは網羅的なリストとして意図されたものではなく、本発明の特定の態様の例を挙げるものである。このリストに含まれていない他の態様についても、本明細書の他の部分に記載している場合もある。
・ 各放熱部品のラックの後部に配置され、これらの部品の後部に沿って空気チャネルを形成する空気プレナム。
・ 前記プレナムから、冷却される部品のスタックへの冷たい空気の動きを促進するように構成された構造(冷却する必要がある部品の内部または周囲に冷たい空気が吹き付けられるように前記プレナムに設けられた孔の列またはパターンなど)。
・ 各ラックの底部に配置され、前記ラックの外部から空気を吸引して、前記プレナムへとこの空気を送ることで、前記部品の後部に沿って前記空気チャネルを加圧する1つ以上の送風装置(例えば、ファンアセンブリ)。
・ 筐体内に配置された2列以上のラックであって、各対の列が、それらの列の間で空気の空間領域(例えば、通路)を囲んでいる2列以上のラック。
・ 前記筐体の上に配置され、(i)ラックの列の間にある前記空間領域から上昇する温かい空気を受け取り、(ii)前記温かい空気を冷却して冷却された空気を生成し、(iii)前記冷却された空気をラックの列の間の前記空間領域に供給するように構成された1つ以上の空気冷却システム。
・ 前記空気冷却システムの冷風ポートに接続され、前記筐体においてラックの列の間にある前記空間領域内へと部分的に延びている冷風ダクト。
冷たい空気は温かい空気よりも密度が高いので、冷たい空気は、(対流の作用により)ラックの列の間の前記空間領域の底部へと流れる傾向がある。前記冷風ダクトは、前記空間領域の頂部における密度の低い暖かい空気と、前記空気冷却システムによって生成される冷たい空気とが混ざり合うことを防止する。前記冷風ダクトによって搬送される密度が高く冷たい空気は、前記ラック底部付近の、前記空間領域の底部へと流れる。
各ラック底部に送風装置が配置されていることにより、この送風装置がラック外部から取り込んで前記ラックの空気プレナムを加圧するために用いる空気は、ラックの列の間の前記空間領域の他の部分と比較すると、冷たい空気となる傾向がある。
本明細書に記載する実施形態は、各ラックの底部に配置された1つの送風装置を有していてもよい。これにより、各部品に複数の送風装置を配置する必要性を軽減し、またはこの必要性をなくすことができる。
加圧された前記空気プレナムにより、前記ラックの各放熱部品へと冷たい空気が分散され、各部品の後方から部品前方へと案内される。冷たい空気は、前記ラックの後方から前記ラックの前方へと、前記部品を通ってまたはその周囲を流れる。前記プレナムからの冷たい空気は、前記冷たい空気が前記部品の内部またはその周囲を通過する際に前記部品から熱を吸収するので、前記ラックの前部から出る空気の温度は、前記空気プレナムから出て前記部品の内部またはその周囲を通る空気の温度よりも高くなる。
前記ラック前部から出る温かい空気は、前記空気冷却システムによって生成される冷たい空気よりも密度が低いので、前記ラックの列の間の前記空間領域の頂部へと上昇する傾向がある。前記空気冷却システムは、1つ以上の温風ポートを介して前記空間領域頂部のこの温かい空気を吸引し、この分野で周知の多くの手法や方法のいずれかを用いる1つ以上の冷凍冷却システムによって前記温かい空気を冷却する。
本発明は、1つの態様において、筐体と、筐体天井の温風ポートを介して前記筐体内から温かい空気を受け取り、前記温かい空気を冷却して冷却された空気を生成し、前記筐体天井の冷風ポートを介して前記筐体に前記冷却された空気を供給するように構成された空気冷却システムとを備える、部品冷却用のシステムである。前記システムは、前記筐体内に配置された1つ以上のラックをさらに備える。各ラックは、前記ラックに設置された放熱部品スタックと、前記ラックの後面開口部を覆うことで、前記ラックの各前記部品の後部に沿って空気チャネルを形成する空気プレナムと、前記ラックの底部に配置された送風装置とを備える。前記送風装置は、前記ラックの外部から空気を吸引し、前記空気プレナムへと前記空気を送ることで、前記空気プレナムを加圧するように構成されている。各ラックについて、前記放熱部品スタックは、加圧された前記空気プレナムから前記放熱部品の内部またはその周囲を通り、前記部品の前方の前記ラックの外部へと空気流を案内するように構成されていてもよい。前記放熱部品スタックは、各前記部品の前記後部にある加圧された前記空気プレナムから各前記部品の前部への空気流を促進するように構成されていてもよい。
実施形態において、前記放熱部品スタックは、内部を通る空気流路を有することによって前記空気流を促進するように構成された部品を含んでいてもよい。前記放熱部品の第1の側には、前記部品の前記後部の開口部が設けられていてもよく、前記部品内の1つ以上のチャネルは、前記部品の前記第1の側から前記部品の第2の側へ、かつ前記部品の前記後部から前記部品の前記前部へ、前記部品の内部を通って前記空気流路を案内するように構成されていてもよい。
前記放熱部品スタックは、隣接する対の部品の間に空気流路を有することによって前記空気流を促進するように構成されていてもよい。
前記送風装置は、可変速度ファンであってもよい。1つ以上のラックのそれぞれについて、前記送風装置は、前記空気流を促進するために前記ラックに設けられた唯一の能動的な部品であってもよい。
前記部品スタックは、少なくとも3つのバッテリモジュール部品のスタックをさらに備えていてもよい。前記部品スタックは、バッテリ管理モジュール部品を含んでいてもよい。
請求項1のシステムにおいて、前記空気冷却システムは、前記筐体の頂部かつその外側に取り付けられている。前記筐体内において、前記冷風ポートに冷風ダクトが取り付けられ、前記冷風ポートから前記筐体の床へと延びていてもよい。前記冷風ダクトは、前記筐体の前記床の上方かつ前記1つ以上のラックの前面開口部の側に設けられた出口を有していてもよい。前記出口は、前記床から前記天井までの距離の40%から60%の範囲内で前記床の上方に設けられていてもよい。前記冷風ダクトは、可撓性材料から形成してもよい。
前記1つ以上のラックは、前記筐体の第1の側に沿って並べて配置された第1のラックの列と、前記筐体の第2の側に沿って並べて配置された第2のラックの列とを有していてもよい。各ラックの空気プレナムは、各筐体側部にそれぞれ隣接していてもよい。
前記1つ以上のラックは、第1のラックの列と、第2のラックの列とを有し、前記第1のラックの列および前記第2のラックの列は、前記第1の列の各ラックの前記空気プレナムが、前記第2のラックの列のうちの1つのラックの前記空気プレナムとそれぞれ隣接するように背面合わせで配置されていてもよい。
本発明は、別の態様において、放熱部品のラックの冷却方法であって、空気を冷却することと、前記ラックの前方に形成された空間領域に前記空間領域の上方から、冷却された前記空気を案内することと、を含む方法である。前記方法は、前記ラックの底部分に配置された送風装置を用いて、前記ラックの前方に形成された前記空間領域から前記ラックの後部のプレナムへと前記冷却された空気を移動させて、前記プレナムを加圧することをさらに含む。また、前記方法は、前記プレナムから前記ラック内の前記放熱部品の周囲またはその内部(またはその両方)を通して前記ラックの前方の前記空間領域へと、前記プレナムの圧力のみによって空気を流すことと、前記ラックの前方に形成された前記空間領域の上部から温められた空気を取り込み、この温められた空気を再度冷却することとを含む。
前記方法は、さらに、前記部品の後部の開口部から前記部品の前部における開口部まで各放熱部品の内部を通るように形成された通路に、前記プレナムから空気を流すことを含んでいてもよい。前記方法は、さらに、隣接する放熱部品の間における、前記隣接する部品の後部から前記隣接する部品の前部までの空間に、前記プレナムから空気を流すことを含んでいてもよい。前記空気は、前記ラックおよび前記空間領域を囲む筐体の頂部に配置された空気冷却システムによって冷却してもよい。前記方法は、前記冷風ポートから前記筐体の床に向かって延びる冷風ダクトであって、前記1つ以上のラックの前面開口部の側において前記床の上方に出口が設けられた前記冷風ダクトを介して前記筐体に冷却された空気を供給することを含んでいてもよい。
前記方法は、前記筐体の第1の側に沿って第1のラックの列を配置することと、前記筐体の第2の側に沿って第2のラックの列を配置することとを含んでいてもよい。各前記ラックの列は、それぞれの筐体側部に隣接する空気プレナムと、他のラックの前面開口部に面する側の前面開口部とを有していてもよい。前記方法は、さらに、前記第1のラックの列と前記第2のラックの列との間において前記筐体に前記冷却された空気を供給することを含んでいてもよい。
本発明は、別の態様において、複数の放熱部品の冷却方法であって、前記複数の部品を、1つ以上のラック内でスタック構造に配置することを含む方法である。各ラックは、前記ラックに取り付けられた空気プレナムを有していてもよく、前記空気プレナムは、前記ラックの後面開口部を覆うことで、前記ラックの各部品の外側表面の周囲に空気チャネルを形成し、空気の通過を容易にする。前記方法は、さらに、前記1つ以上のラックを筐体内に収容することと、前記天井の温風ポートを介して前記筐体内から温かい空気を受け取り、前記温かい空気を冷却して冷却された空気を生成し、前記天井の冷風ポートを介して前記筐体内に前記冷却された空気を提供することを含んでいてもよい。また、前記方法は、前記ラックの外部かつ底部における位置から前記冷却された空気を吸引し、前記空気プレナムに前記冷却された空気を送って前記空気プレナムを加圧することとを含む。
前記方法は、さらに、前記放熱部品の後部の開口部から前記部品の前部の開口部まで各部品を通るように形成された通路に、前記プレナムから空気を流すことを含んでいてもよい。また、前記方法は、隣接する部品の間における、前記隣接する部品の後部から前記隣接する部品の前部までの空間に、前記プレナムから空気を流すことを含んでいてもよい。前記冷風ポートから前記筐体の床に向かって冷風ダクトが延びていてもよく、前記冷風ダクトは、前記1つ以上のラックの前面開口部の側において前記床の上方に設けられた出口を有している。
本発明は、別の態様において、ラックであって、当該ラックに取り付けられた放熱部品スタックと、前記ラックの後部の空気プレナムとを有するラックを備える部品冷却用のシステムである。前記空気プレナムの構造は、前記ラックおよび部品と共に、前記ラックの各部品の後部に沿って空気チャネルを形成している。また、前記システムは、前記ラックの底部に配置された送風装置を有する。前記送風装置は、ラック外部から空気を吸引し、前記空気プレナムへと前記空気を送ることで、前記空気プレナムを加圧するように構成されていてもよい。前記部品スタックは、各前記部品の前記後部の加圧された前記空気プレナムから各前記部品の前部への空気流を促進するように構成されていてもよい。
前記放熱部品スタックは、その内部を通る空気流路を有することによって前記空気流を促進するように構成された部品を含んでいてもよい。前記放熱部品の第1の側には、前記部品の前記後部の開口部が設けられており、前記部品内の1つ以上のチャネルは、前記部品の前記第1の側から前記部品の第2の側へ、かつ前記部品の前記後部から前記部品の前記前部へ、前記部品の中を通って前記空気流路を案内するように構成されている。
本発明は、別の態様において、筐体と、筐体天井の温風ポートを介して前記筐体内から温かい空気を受け取り、前記温かい空気を冷却して冷却された空気を生成し、前記筐体の床に向かって前記筐体内へと延びる冷風ダクトを介して前記筐体に前記冷却された空気を供給するように構成された空気冷却システムとを備え、前記冷風ダクトは、前記床から前記天井までの距離の40%から60%の範囲内で前記筐体の床の上方に設けられた出口を有する、バッテリ部品冷却用のシステムである。前記システムは、前記筐体内に配置されたラックをさらに有する。前記ラックは、前記筐体の第1の側に沿って配置された第1のラックの列と、前記筐体の第2の側に沿って配置された第2のラックの列とを有していてもよい。各ラックは、その空気プレナムが筐体側に隣接し、かつその前部が空間領域に面していてもよい。各ラックは、前記ラックに設置されたスタック配列の少なくとも3つのバッテリ部品と、前記ラックの後面開口部における空気プレナムとを有していてもよい。前記スタック配列および前記空気プレナムは、前記ラック内の各バッテリ部品の後部に沿って空気チャネルを形成するように構成されていてもよい。各ラックは、さらに、前記ラックの底部に配置された送風装置を有していてもよい。この送風装置は、前記空間領域から空気を吸引し、前記空気プレナムへと前記空気を送ることで、前記空気プレナムを加圧するように構成されていてもよい。前記スタック配列のバッテリ部品は、各前記部品の前記後部の加圧された前記空気プレナムから各前記部品の前部へと、そしてラックの列の間の前記空間領域への空気流を促進するように構成されていてもよい。
上記の内容は、添付の図面に示される本発明の例示的な実施形態についての以下のより具体的な説明から明らかになる。図面において、同一の符号は、異なる図面においても同一の部品を示している。これらの図面は、必ずしも縮尺のとおりではなく、本発明の実施形態を説明するにあたり強調が加えられている。
本発明に係る部品冷却システムの様々な例示的な実施形態を示す図である。 本発明に係る部品冷却システムの様々な例示的な実施形態を示す図である。 本発明に係る部品冷却システムの様々な例示的な実施形態を示す図である。 本発明に係る部品冷却システムの様々な例示的な実施形態を示す図である。 本発明に係る部品冷却システムの例示的な実施形態の斜視図である。 空気プレナムが取り除かれた状態の図2Aの実施形態の図である。 本発明に係る放熱部品の例示的な実施形態の横断面図である。 本発明に係るラックに積み重ねられた3つの部品の例示的な実施形態の縦断面図である。 図1Aの実施形態と一致する実施形態の斜視図である。 本発明に従って構成された1つの機器ラックの分解図である。 本発明に従って構成された1つの機器ラックの分解図である。 本発明に従って構成された1つの機器ラックの分解図である。
以下において、本発明の例示的な実施形態を説明する。
本明細書で引用する全ての特許、公開広報および引用文献の教示内容については、その全体を参照により本出願の一部をなすものとして引用する。
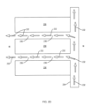
図1Aには、本発明に係る部品冷却システム100の例示的な実施形態が示されている。この部品冷却システム100は、筐体102と、空気冷却システム104と、2つの機器ラック106a,106bとを備える。
少なくとも1つの実施形態において、空気冷却システム104は、筐体102の頂部かつその外部に設置してもよい。空気冷却システム104は、筐体102の頂部に位置する少なくとも1つの温風ポート110を介して筐体102から温かい空気108を受け取り、少なくとも1つの空気冷却ユニット112を介して受け取った温かい空気108を通過させることで、この受け取った温かい空気108を冷却してもよい。空気冷却ユニット112によって生成された冷たい空気114は、筐体102の頂部に位置する少なくとも1つの冷風ポート116を介して筐体102へと再び搬送される。例示的な実施形態を説明する図において、冷たい空気114の流れは、無地の矢印で示されており、温められた空気108の流れは、網掛けした矢印で示されている。
冷風ポート116に取り付けられた冷風ダクト118は、筐体の床に向かって筐体102内へと少なくとも部分的に延びている。冷風ダクト118は、筐体102の上部において、冷却された空気114を温かい空気108から分離して、温かい空気108と冷たい空気114とが混ざらないようにする。このように温かい空気を冷たい空気から分離することにより、エア部品冷却システム100全体としての総合熱効率を向上させることができる。
少なくとも1つの実施形態において、冷風ダクト118の出口は、床から天井までの距離の40%から60%の範囲内に設けてもよい。しかし、他の実施形態において、冷風ダクトの出口を、床から天井までの他の範囲に設けることもできる。前記冷風ダクトは、布や軟質プラスチックなどの可撓性材料から作成してもよい。このような可撓性の材料は、筐体内で作業する人が誤って冷風ダクト118にぶつかってしまった場合に、その安全を保障するために好都合である。
各機器ラック106a,106bは、スタック配列で構成された2つ以上の放熱部品120を有する。各ラック106a,106bは、前面開口部と、後面開口部とを有する。この前面開口部は各放熱部品120の前部を露出させ、後面開口部は各放熱部品120の後部を露出させる。放熱部品120は、熱エネルギーの放散が可能な任意の装置を備えていてもよい。例示的な実施形態において、前記放熱部品は、バッテリモジュールまたは他の蓄電要素を備えていてもよい。各機器ラック106a,106bは、このようなバッテリモジュールを3つ以上備えていてもよい。幾つかの実施形態において、前記放熱部品は、1セットのバッテリモジュールを制御し、調整し、かつ他の方法で管理するバッテリ管理モジュールを備えていてもよい。
各ラック106a,106bは、ラック底部に配置された送風装置122をさらに備える。送風装置122は、放熱部品と同様の専有面積を有するモジュールを備えていてもよく、これにより、放熱部品120を機器ラックに取り付けるために用いられるものと同様の取付用具を用いて前記送風装置をラックに取り付けてもよい。また、送風装置122の他の形態要素を代替的に用いてもよい。送風装置122は、この分野で公知のように、回転可能な軸に取り付けられた一定間隔のブレードを有するファンをさらに備えていてもよい。このファンは、制御入力に応じて送風装置122を通る空気流の速度を変化させる可変速度ファンであってもよい。前記制御入力は、筐体102および/またはラック106内の1つ以上の温度センサに応じたものであってもよい。あるいは、送風装置122は、通路にわたって空気を流すための、この分野で公知の他の機構を備えていてもよい。
幾つかの実施形態において、各ラック106a,106bの底部に配置された送風装置122は、放熱部品120を通る空気流を促進するためにラックに設けられた唯一の能動的な部品である。これらの実施形態においては、部品120を通る空気流を促進または他の方法でこれを補助するために、他のファンまたは送風装置を、個々の放熱部品内に配置する必要はない。
送風装置122は、前記筐体の底部分(すなわち、前記筐体の床)から空気を吸引し、その空気を、各ラック106a,106bの後面開口部に設置された空気プレナム124へと送る。空気プレナム124は、2つ以上の放熱部品120のスタックの後ろに空気チャネル126を形成する被覆部である。空気プレナム124がラック102と接触する箇所は、気密または略気密に構成されているので、送風装置122が(空気チャネル126に空気を送ることで)空気プレナムを加圧するとき、加圧された前記空気の経路は、放熱部品120の後部の開口部を通り、放熱部品120の内部および/またはその周囲を通る経路のみである。
図1Aおよび図1Bの例示的な実施形態には、送風装置122がラック106a,106bの下から直接空気を吸引するように、送風装置122と筐体102の底部との間に空間を有するラック106a,106bが示されている。他の実施形態において、ラック106a,106bは、その下に空間を設けずに筐体の床に直接設置して、送風装置122がラックの下からではなく、ラック底部の前方から空気を吸引するようにしてもよい。このような代替的な実施形態の例は図1Dに示されている。
図2Aは、ラック106aの後部に取り付けられた空気プレナム124を示す、機器ラック106aの斜視図である。図2Bは、前記空気プレナムが取り外された状態の機器ラック106aの斜視図である。図2Bでは、各放熱部品120の後部が見えており、種々のコネクタ202、制御機能部204(例えば、スイッチ、ボタンなど)、および空気入口206が示されている。なお、これらの構成は、ラックに設置された放熱部品の後部に見られる構成の種類の例示に過ぎず、限定を意図したものではないと理解されたい。
送風装置122は、1つ以上の空気吹出し口208をさらに備えていてもよく、送風装置122は、前記プレナムがラック106aに取り付けられたときに形成される空気チャネル126へと、この空気吹出し口を介して冷たい空気を送る。
なお、例示的な実施形態における空気プレナム124は矩形のボックス状の物品として示されているものの、空気プレナム124は、本明細書に記載されるように、このプレナムが放熱部品120の後ろに封止された気密(または略気密)の空気チャネル126を形成する限り、他の形状としてもよいと理解されたい。さらに、(空気プレナム124がラック106aに取り付けられたときにラック106aと接する)空気プレナムの縁部210には、空気プレナム124とラック106aとの間のシールを強化するために、ガスケットまたは他のシール材が取り付けられていてもよいと理解されたい。
再度図1Aを参照すると、送風装置122は、筐体の環境圧力の冷たい空気を筐体102の底部から吸引し、その冷たい空気を、空気プレナム124によって形成される空気チャネル126へと送ることで、空気プレナム124を加圧して筐体の環境圧力よりも高い圧力とする。加圧された前記空気プレナムは、各放熱部品120の内部またはその周囲を通って機器ラック106a,106bの間の領域にある放熱部品120の前部の低圧領域へと流れる空気流を生じさせる。
放熱部品120は、吸気ポート、出口ポート、空気チャネル、通路、バッフル、および放熱部品120の内部またはその周囲を通して空気を効率的に通過させるための他の構成を有するように構成してもよい。一実施形態において、前記放熱部品の後部には、放熱部品120の後面に分散された1つ以上の吸気ポートを設けてもよい。別の実施形態において、前記放熱部品の後面の一方側に1つ以上の吸気ポートを設け、放熱部品120の前面の反対側に出口ポートを設けてもよい。
図2Cは、サブ部品221を有する放熱部品220の例示的な実施形態の横断面図である。図2Cには、部品220の内部を通る空気チャネル222が図示されており、この空気チャネルにより、空気流224は、空気プレナム226から後部の吸気ポート228を通り、チャネル222を通って出口ポート230へと通過して、放熱部品220の前部から出ることができる。分かりやすくするために、空気流224を示す図形(矢印)およびチャネル222の一部にのみ符号を付している。
図2Dは、ラックに積み重ねられた3つの放熱部品230の例示的な実施形態の縦断面図であり、この実施形態は、空気が部品230の後方から当該部品の前方へと装置の間を通過するように構成されている。この例示的な実施形態では放熱部品が3つしか示されていないが、この構想は、より多くの放熱部品に対して適用することも可能である。図2Dには、空気プレナム234から、隣接する部品230の頂部238および底部240と、部品230が取り付けられているラックの側部(図示せず)とによって形成されるチャネル236を通る空気流232が示されている。
図2Cおよび図2Dに示される例示的な実施形態は、部品の冷却に空気流を用いることができる方法を示すためのものであり、限定を意図したものではない。上記構成の代わりに、またはそれに加えて、冷却される部品と関連付けられた他の構成の空気チャネルおよび通路を用いてもよい。さらに、図2Cに示されているような、部品を通して空気を通過させる構成を、図2Dに示されているような、部品の外側表面に沿って空気を通過させる構成と組み合わせて用いてもよい。
空気チャネル126からの冷たい空気は、この冷たい空気が部品120の内部を通過するときに、放熱部品120(および/または放熱部品120内のサブ部品)から放出された熱エネルギーを吸収することができ、これにより、放熱部品120を通過する空気の温度が上昇する。したがって、放熱部品120から出る空気の温度は、空気プレナムから部品120に入る空気の温度よりも高い。前記空気チャネル、経路、バッフル、および放熱部品120を通して空気を搬送する他の構成は、さらに、放熱部品120およびサブ部品から部品120を通過する空気へと熱エネルギーを効率的に伝達するように設計してもよい。
放熱部品120から出る温かい空気は、空気冷却システム104によって生成される冷たい空気よりも密度が低いので、熱対流によって筐体102の頂部へと上昇する傾向がある。空気冷却システム104は、1つ以上の温風ポート110を介して、筐体102の頂部において温かい空気108を引き込み、この分野で公知の1つ以上の冷却ユニット112によって温かい空気108を冷却する。例示的な実施形態において、各冷却ユニットは、圧縮/膨張冷凍サイクルシステムであってもよいが、圧縮/膨張冷凍サイクルシステムの代わりに、またはそれに加えて、この分野で公知の他の冷却システムを用いてもよい。
他の実施形態において、前記冷たい空気は、放熱部品122の中を流す代わりに(またはそれに加えて)、隣接する放熱部品122の対の間を通過させてもよい。
図1Aに示される例示的な実施形態では、2つの機器ラック106aおよび106bが図示されているが、本明細書に記載する構想は、図1Bの例示的な実施形態で示すように1つの機器ラックを有するものや、図1Cの例示的な実施形態で示すように2つ以上の機器ラック106a~106fを有するものにも適用可能であると理解されたい。図1Cの実施形態における特定の対のラックは、背面合わせで設けられたラックの一方のプレナムが、背面合わせで設けられたラックの他方のプレナムと隣接するように構成されている。
また、図1Aから図1Dに示された機器ラックは、一列のラックのうちの個々のラックを表していてもよいと理解されたい。例えば、図3は、図1Aの実施形態と一致する実施形態の斜視図であり、筐体内に平行な2列の機器ラックを有している。図3に示されているように、第1列302のラック304は、筐体308の一方の長辺の側壁306につけて配置されており、第2列310のラック304は、筐体308の他方の長辺の側壁312につけて配置されている。図3では、ラックの列が見えるように、筐体308の天井および冷却システムが取り外された状態で示されている。また、分かりやすくするために、一部のラック304にのみ符号を付している。図3の実施形態において、各列302,310のラック304は、各ラックの後部(すなわち、プレナム)が筐体の側壁306,312に隣接した状態で並べて配置されている。冷風ダクト318の対は、筐体の天井における対応する冷風ポートとは連結されていない状態で、ラック304の列302,310の間で筐体の下方へと延びるように示されている。図3に示された筐体内のラックの列についての構想は、例えば図1Cに示されるような2つ以上の列を有する実施形態に適用することも可能である。
図4Aは、本発明に従って構成された1つの例示的な機器ラック402の正面図である。この例示的な実施形態では、16個のバッテリモジュール404と、1つのバッテリ管理モジュール405とがスタック状に配置され、1つの送風装置モジュール406がラック402の底部に設けられている。
図4Bは、図4Aに示されたラック402の底部をより詳細に示す図である。図4bには4つのバッテリモジュール404が示されており、送風装置モジュール406は、ラック402から部分的に取り出された状態で示されている。各モジュール404,406は、交換、修理、又は他の必要なメンテナンスのために個別に取り出すことができる。
図4Cには、部分的に分解された送風装置モジュール406が示されており、カバー408を取り外し、電気回転式のファンアセンブリ410を露出させた状態となっている。ファンアセンブリ410は、送風装置モジュール406の底部の第1開口部412から空気を吸引し、第2開口部414を通して空気プレナム(図示せず)へと空気を送る。
開示された各実施形態において、各部品またはモジュールに対して1つの送風装置を用いるのではなく、各ラックに対して1つの送風装置を使用することにより、効率性および信頼性が高く、より長い寿命が得られる比較的高品質な送風装置を使用しつつも、コストを抑えたシステムとすることができる。このため、空気プレナムの寸法は、空気プレナムの高さにわたる圧力低下が、各部品または各モジュールにわたる圧力低下よりも低くなるような寸法となっている。通常、部品またはモジュールを通る空気流に対する抵抗は一定であるが、部品またはモジュールを通る相対的な流れを制御するために変化させてもよい。
本発明について、その例示的な実施形態を参照しながら具体的に図示および説明を行ったが、当業者は、添付の請求の範囲に含まれる本発明の範囲から逸脱することなく、本発明において形状および細部に様々な変更を施すことができるということを理解されたい。
なお、本発明は、実施の態様として以下の内容を含む。
[態様1]
筐体と、
筐体天井の温風ポートを介して前記筐体内から温かい空気を受け取り、前記温かい空気を冷却して冷却された空気を生成し、前記筐体天井の冷風ポートを介して前記筐体に前記冷却された空気を供給するように構成された空気冷却システムと、
前記筐体内に配置された1つ以上のラックと、
を備え、
各ラックは、
(i)前記ラックに設置された放熱部品スタックと、
(ii)前記ラックの後面開口部を覆うことで、前記ラックの各前記部品の後部に沿って空気チャネルを形成する空気プレナムと、
(iii)前記ラックの底部に配置された送風装置であって、前記ラックの外部から空気を吸引し、前記空気プレナムへと前記空気を送ることで、前記空気プレナムを加圧する送風装置と、を有し、
(iv)前記放熱部品スタックは、加圧された前記空気プレナムから前記放熱部品の内部またはその周囲を通り、前記部品の前方の前記ラックの外部へと空気流を案内するように構成されており、
前記放熱部品スタックは、各前記部品の前記後部にある加圧された前記空気プレナムから各前記部品の前部への空気流を促進するように構成されている、
部品冷却用のシステム。
[態様2]
態様1に記載のシステムにおいて、前記放熱部品スタックは、内部を通る空気流路を有することによって前記空気流を促進するように構成された部品を含むシステム。
[態様3]
態様2に記載のシステムにおいて、前記放熱部品の第1の側には、前記部品の前記後部の開口部が設けられており、前記部品内の1つ以上のチャネルは、前記部品の前記第1の側から前記部品の第2の側へ、かつ前記部品の前記後部から前記部品の前記前部へ、前記部品の内部を通って前記空気流路を案内するように構成されているシステム。
[態様4]
態様1に記載のシステムにおいて、前記放熱部品スタックは、隣接する部品の対の間に空気流路を有することによって前記空気流を促進するように構成されているシステム。
[態様5]
態様1に記載のシステムにおいて、前記送風装置は、可変速度ファンであるシステム。
[態様6]
態様1に記載のシステムにおいて、前記1つ以上のラックのそれぞれについて、前記送風装置は、前記空気流を促進するために前記ラックに設けられた唯一の能動的な部品であるシステム。
[態様7]
態様1に記載のシステムにおいて、前記部品スタックは、少なくとも3つのバッテリモジュール部品を含むスタックを備えるシステム。
[態様8]
態様7に記載のシステムにおいて、前記部品スタックは、バッテリ管理モジュール部品を含むシステム。
[態様9]
態様1に記載のシステムにおいて、前記空気冷却システムは、前記筐体の頂部かつその外側に取り付けられているシステム。
[態様10]
態様1に記載のシステムにおいて、前記筐体内で前記冷風ポートに取り付けられ、かつ前記冷風ポートから前記筐体の床へと延びる冷風ダクトをさらに備え、前記冷風ダクトは、前記筐体の前記床の上方かつ前記1つ以上のラックの前面開口部の側に設けられた出口を有するシステム。
[態様11]
態様10に記載のシステムにおいて、前記出口は、前記床から前記天井までの距離の40%から60%の範囲内で前記床の上方に設けられているシステム。
[態様12]
態様10に記載のシステムにおいて、前記冷風ダクトは、可撓性材料から形成されているシステム。
[態様13]
態様1に記載のシステムにおいて、前記1つ以上のラックは、前記筐体の第1の側に沿って並べて配置された第1のラックの列と、前記筐体の第2の側に沿って並べて配置された第2のラックの列とを有し、各前記ラックの前記空気プレナムは、各筐体側部にそれぞれ隣接しているシステム。
[態様14]
態様1に記載のシステムにおいて、前記1つ以上のラックは、第1のラックの列と、第2のラックの列とを有し、前記第1のラックの列および前記第2のラックの列は、前記第1の列の各ラックの前記空気プレナムが、前記第2のラックの列のうちの1つのラックの空気プレナムとそれぞれ隣接するように背面合わせで配置されているシステム。
[態様15]
放熱部品のラックの冷却方法であって、
空気を冷却することと、
前記ラックの前方に形成された空間領域に前記空間領域の上方から前記空気を案内することと、
前記ラックの底部分に配置された送風装置を用いて、前記ラックの前方に形成された前記空間領域から前記ラックの後部のプレナムへと冷たい空気を移動させて、前記プレナムを加圧することと、
前記プレナムから前記ラック内の前記放熱部品の周囲またはその内部を通して前記ラックの前方の前記空間領域へと、前記プレナムの圧力のみによって空気を流すことと、
前記ラックの前方に形成された前記空間領域の上部から温められた空気を取り込み、前記温められた空気を冷却することとを含む方法。
[態様16]
態様14に記載の方法において、前記部品の後部の開口部から前記部品の前部における開口部まで各前記放熱部品の内部を通るように形成された通路に、前記プレナムから空気を流すことをさらに含む方法。
[態様17]
態様14に記載の方法において、隣接する放熱部品の間における、前記隣接する部品の後部から前記隣接する部品の前部までの空間に、前記プレナムから空気を流すことをさらに含む方法。
[態様18]
態様17に記載の方法において、前記空気は、前記ラックおよび前記空間領域を囲む筐体の頂部に配置された空気冷却システムによって冷却される方法。
[態様19]
態様17に記載の方法において、前記冷風ポートから前記筐体の床に向かって延びる冷風ダクトであって、前記1つ以上のラックの前面開口部の側において前記床の上方に出口が設けられた冷風ダクトを介して前記筐体に冷却された空気を供給することをさらに含む方法。
[態様20]
態様17に記載の方法において、前記筐体の第1の側に沿って第1のラックの列を配置することと、前記筐体の第2の側に沿って第2のラックの列を配置することとをさらに含み、各前記ラックの列は、それぞれの筐体側部に隣接する空気プレナムと、他のラックの前面開口部に面する側に前面開口部とを有する方法。
[態様21]
態様20に記載の方法において、前記第1のラックの列と前記第2のラックの列との間において前記筐体に前記冷却された空気を供給することをさらに含む方法。
[態様22]
複数の放熱部品の冷却方法であって、
1つ以上のラック内で、前記複数の部品をスタック構造に配置することであって、各ラックに空気プレナムが取り付けられており、前記空気プレナムは、前記ラックの後面開口部を覆うことで、前記ラックの各前記部品の外側表面の周囲に空気チャネルを形成している、ことと、
前記1つ以上のラックを筐体内に収容することと、
天井の温風ポートを介して前記筐体内から温かい空気を受け取り、前記温かい空気を冷却して冷却された空気を生成し、前記天井の冷風ポートを介して前記筐体内に前記冷却された空気を提供することと、
前記ラックの外部かつ底部における位置から前記冷却された空気を吸引し、
前記空気プレナムに前記冷却された空気を送って前記空気プレナムを加圧することと、を含む方法。
[態様23]
態様22に記載の方法において、前記放熱部品の後部の開口部から前記部品の前部の開口部まで各部品を通るように形成された通路に、前記プレナムから空気を流すことをさらに含む方法。
[態様24]
態様22に記載の方法において、隣接する部品の間における、前記隣接する部品の後部から前記隣接する部品の前部までの空間に、前記プレナムから空気を流すことをさらに含む方法。
[態様25]
態様22に記載の方法において、冷風ダクトが、前記冷風ポートから前記筐体の床に向かって延びており、前記冷風ダクトは、前記1つ以上のラックの前面開口部の側において前記床の上方に設けられた出口を有している方法。
[態様26]
ラックであって、(i)当該ラックに取り付けられた放熱部品スタックと、(ii)前記ラックの後部に設けられて、前記ラックの各前記部品の後部に沿って空気チャネルを形成している空気プレナムと、(iii)前記ラックの底部に配置された送風装置であって、前記ラックの外部から空気を吸引し、前記空気プレナムへと前記空気を送ることで、前記空気プレナムを加圧するように構成された送風装置とを有するラックを備え、
前記部品スタックは、各前記部品の前記後部の加圧された前記空気プレナムから各前記部品の前部への空気流を促進するように構成されている、部品冷却用のシステム。
[態様27]
態様26に記載の方法において、前記放熱部品スタックは、その内部を通る空気流路を有することによって前記空気流を促進するように構成された部品を含む方法。
[態様28]
態様26に記載の方法において、前記放熱部品の第1の側には、前記部品の前記後部の開口部が設けられており、前記部品内の1つ以上のチャネルは、前記部品の前記第1の側から前記部品の第2の側へと、そして前記部品の前記後部から前記部品の前記前部へと、前記部品の中を通って前記空気流路を案内するように構成されている方法。
[態様29]
筐体と、
筐体天井の温風ポートを介して前記筐体内から温かい空気を受け取り、前記温かい空気を冷却して冷却された空気を生成し、前記筐体の床に向かって前記筐体内へと延びる冷風ダクトを介して前記筐体に前記冷却された空気を供給するように構成された空気冷却システムであって、前記冷風ダクトは、前記床から前記天井までの距離の40%から60%の範囲内で前記筐体の床の上方に設けられた出口を有する、空気冷却システムと、
前記筐体内に配置されたラックであって、前記筐体の第1の側に沿って配置された第1のラックの列と、前記筐体の第2の側に沿って配置された第2のラックの列とを有し、各ラックが、筐体側部にそれぞれ隣接した空気プレナムと、空間領域に面する前部とを有する、ラックと、
を備え、
各ラックは、
(i)前記ラックに設置されたスタック配列の少なくとも3つのバッテリ部品と、
(ii)前記ラックの後面開口部に設けられて、前記ラック内の各前記バッテリ部品の後部に沿って空気チャネルを形成している空気プレナムと、
(iii)前記ラックの底部に配置された送風装置であって、前記空間領域から空気を吸引し、前記空気プレナムへと前記空気を送ることで、前記空気プレナムを加圧するように構成された送風装置と、を有し、
前記スタック配列のバッテリ部品は、各前記部品の前記後部の加圧された前記空気プレナムから各前記部品の前部へと、そしてラックの列の間の前記空間領域への空気流を促進するように構成されている、
バッテリ部品冷却用のシステム。

Claims (27)

  1. 筐体と、
    前記筐体の天井部の温風ポートを介して前記筐体内から温かい空気を受け取り、前記受け取った温かい空気を冷凍冷却システム内を通過させることで、冷却された空気を生成し、前記筐体の天井部の冷風ポートを介して前記筐体に前記冷却された空気を供給するように構成された空気冷却システムと、
    前記筐体内に配置された1つ以上のラックと、
    を備え、
    各ラックは、
    (i)前記ラックに設置された放熱部品のスタックと、
    (ii)前記ラックの後面開口部を覆うことで、前記ラックの各前記放熱部品の後部に沿って空気チャネルを形成する空気プレナムと、
    (iii)前記ラックの底部に配置された送風装置であって、前記ラックの外部から空気を吸引し、前記空気プレナムへと前記空気を送ることで、前記空気プレナムを加圧する送風装置と、を有し、
    (iv)前記放熱部品のスタックは、加圧された前記空気プレナムから前記放熱部品の内部またはその周囲を通り、前記放熱部品の前側に前記ラックの外部へと空気流を案内するように構成されており、
    記放熱部品のスタックは、各前記放熱部品の後部において加圧された前記空気プレナムから、前記放熱部品の前部への空気流を促進するように構成され、
    前記筐体内で前記冷風ポートに取り付けられ、かつ前記冷風ポートから前記筐体の床に向かって筐体内部へと延びる冷風ダクトが、前記筐体の前記天井部に位置する温かい空気に対して、前記冷風ダクト内を流れる前記冷却された空気を分離できるように構成され、
    前記冷風ダクトは、前記筐体の前記床の上方に配置されると共に前記筐体の床へと前記冷却された空気を放出するために設けられた出口を有し、前記各ラックの前記底部に配置された送風装置によって、前記筐体の前記床から前記冷却された空気を吸引し、当該前記冷却された空気をそれぞれの前記空気プレナムへと送るように構成されている、
    部品冷却用のシステム。
  2. 請求項1に記載のシステムにおいて、前記放熱部品のスタックは、前記放熱部品の内部を通る空気流路を有することによって前記空気流を促進するように構成された空気流促進部品を含むシステム。
  3. 請求項2に記載のシステムにおいて、前記放熱部品の第1の側には、前記放熱部品の前記後部の開口部が設けられており、前記放熱部品内の1つ以上のチャネルは、前記放熱部品の前記第1の側から前記放熱部品の第2の側へ、かつ前記放熱部品の前記後部から前記放熱部品の前部へ、前記放熱部品の内部を通って前記空気流路を案内するように構成されているシステム。
  4. 請求項1に記載のシステムにおいて、前記放熱部品のスタックは、隣接する当該部品の対の間に空気流路を有することによって前記空気流を促進するように構成されているシステム。
  5. 請求項1に記載のシステムにおいて、前記送風装置は、可変速度ファンであるシステム。
  6. 請求項1に記載のシステムにおいて、前記1つ以上のラックのそれぞれについて、前記送風装置は、前記空気流を促進するために前記ラックに設けられた唯一の能動的な部品であるシステム。
  7. 請求項1に記載のシステムにおいて、前記放熱部品のスタックは、少なくとも3つのバッテリモジュール部品を含むスタックを備えるシステム。
  8. 請求項7に記載のシステムにおいて、前記放熱部品のスタックは、バッテリ管理モジュール部品を含むシステム。
  9. 請求項1に記載のシステムにおいて、前記空気冷却システムは、前記筐体の頂部かつその外側に取り付けられているシステム。
  10. 請求項1に記載のシステムにおいて、前記出口は、前記床から前記天井部までの距離の40%から60%の範囲内で前記床の上方に設けられているシステム。
  11. 請求項1に記載のシステムにおいて、前記冷風ダクトは、可撓性材料から形成されているシステム。
  12. 請求項1に記載のシステムにおいて、前記1つ以上のラックは、前記筐体の第1の側に沿って並べて配置された第1のラックの列と、前記筐体の第2の側に沿って並べて配置された第2のラックの列とを有し、各前記ラックの前記空気プレナムは、各筐体側部にそれぞれ隣接しているシステム。
  13. 請求項1に記載のシステムにおいて、前記1つ以上のラックは、第1のラックの列と、第2のラックの列とを有し、前記第1のラックの列および前記第2のラックの列は、前記第1のラックの列の各ラックの前記空気プレナムが、前記第2のラックの列のうちの1つのラックの空気プレナムとそれぞれ隣接するように背面合わせで配置されているシステム。
  14. 放熱部品のラックの冷却方法であって、
    空気を冷却することと、
    前記ラックの前側に形成された空間領域の上方から、前記空間領域へと、前記冷却された空気を案内することと、
    前記冷却された空気を筐体の床へ向かって放出することと、
    前記ラックの底部に配置された送風装置によって、前記筐体の前記床から前記冷却された空気を吸引することと、
    前記ラックの前側に形成された前記空間領域から前記ラックの後部のプレナムへと、吸引された冷却空気を移動させて、前記プレナムを加圧することと、
    前記プレナムから前記ラック内の前記放熱部品の周囲またはその内部を通して前記ラックの前側の前記空間領域へと、前記プレナムの圧力によって前記吸引された冷却空気を流すことと、
    前記筐体の天井部に位置する温かい空気と、前記筐体の前記天井部の冷風ポートから前記筐体の床に向かって延びると共に、前記筐体の前記床の上方に出口が設けられた冷風ダクト内を流れる前記冷却された空気とを分離することと、
    記ラックの前記前側に形成された前記空間領域の上部から温められた空気を取り込むこととを含む方法。
  15. 請求項14に記載の方法において、前記放熱部品の後部の開口部から前記放熱部品の前部における開口部まで、各前記放熱部品の内部を通るように形成された通路に、前記プレナムから吸引されると共に冷却された空気を流すことをさらに含む方法。
  16. 請求項14に記載の方法において、隣り合う前記放熱部品の後部からこの隣り合う前記放熱部品の前部まで、前記プレナムから吸引されると共に冷却された空気を、隣接する前記放熱部品の間の空間へと流すことをさらに含む方法。
  17. 請求項16に記載の方法において、前記空気は、前記ラックおよび前記空間領域を囲む筐体の頂部に配置された空気冷却システムによって冷却される方法。
  18. 請求項16に記載の方法において、前記冷風ポートから前記筐体の床に向かって延びると共に、前記ラックの前面開口部の側において前記床の上方に出口が設けられた冷風ダクトを介して前記筐体に冷却された空気を供給することをさらに含む方法。
  19. 請求項16に記載の方法において、前記筐体の第1の側に沿って第1のラックの列を配置することと、前記筐体の第2の側に沿って第2のラックの列を配置することとをさらに含み、各前記ラックの列は、それぞれの筐体側部に隣接する空気プレナムと、他のラックの前面開口部に面する側に設けられる前面開口部とを有する方法。
  20. 請求項19に記載の方法において、前記第1のラックの列と前記第2のラックの列との間において前記筐体に前記冷却された空気を供給することをさらに含む方法。
  21. 複数の放熱部品の冷却方法であって、
    1つ以上のラック内で、前記複数の放熱部品をスタック構造に配置することであって、各ラックに空気プレナムが取り付けられており、前記空気プレナムは、前記ラックの後面開口部を覆うことで、前記ラックの各前記放熱部品の外側表面の周囲に空気チャネルを形成している、ことと、
    前記1つ以上のラックを筐体内に収容することと、
    天井部の温風ポートを介して前記筐体内から温かい空気を受け取り、前記温かい空気を冷却して冷却された空気を生成し、前記天井部の冷風ポートから前記筐体の床に向かって延びると共に、前記床の上方に設けられた出口を有する冷風ダクトを介して、前記筐体内の床に、前記冷却された空気を提供することと、
    各前記ラック内の底部に配置された送風装置によって、前記筐体内の前記床から前記冷却された空気を吸引し、前記空気プレナムに前記冷却された空気を送って前記空気プレナムを加圧することと、を含む方法。
  22. 請求項21に記載の方法において、前記放熱部品の後部の開口部から前記放熱部品の前部の開口部まで各前記放熱部品を通るように形成された通路に、前記プレナムから空気を流すことをさらに含む方法。
  23. 請求項21に記載の方法において、隣接する各前記放熱部品の間における、前記隣接する各前記放熱部品の後部から前記隣接する各前記放熱部品の前部までの空間に、前記プレナムから空気を流すことをさらに含む方法。
  24. 筐体と、
    前記筐体の天井部の温風ポートを介して前記筐体内から温かい空気を受け取り、前記温かい空気を冷却して冷却された空気を生成し、前記筐体の前記天井部の冷風ポートを介して前記筐体に前記冷却された空気を供給するように構成された空気冷却システムと、
    ラックであって、(i)当該ラックに設置された放熱部品のスタックと、(ii)前記ラックの後部に設けられて、前記ラックの各前記放熱部品の後部に沿って空気チャネルを形成している空気プレナムと、(iii)前記ラックの底部に配置された送風装置であって、前記ラックの外部から空気を吸引し、前記空気プレナムへと前記空気を送ることで、前記空気プレナムを加圧するように構成された送風装置とを有するラックとを備え、
    前記筐体内で前記冷風ポートに取り付けられ、かつ前記冷風ポートから前記筐体の床に向かって筐体内部へと延びる冷風ダクトが、前記筐体の前記天井部に位置する温かい空気に対して、前記冷風ダクト内を流れる前記冷却された空気を分離できるように構成され、
    前記冷風ダクトは、前記筐体の前記床の上方に配置されると共に前記筐体の床へと前記冷却された空気を放出するために設けられた出口を有し、前記各ラックの前記底部に配置された前記送風装置によって、前記筐体の前記床部から前記冷却された空気を吸引し、前記冷却された空気をそれぞれの前記空気プレナムへと送るように構成されている部品冷却用のシステム。
  25. 請求項24に記載のシステムにおいて、前記放熱部品のスタックは、前記放熱部品の内部を通る空気流路を有することによって前記空気流を促進するように構成された空気流促進部品を含むシステム。
  26. 請求項24に記載のシステムにおいて、各前記放熱部品の第1の側には、前記放熱部品の前記後部の開口部が設けられており、前記放熱部品内の1つ以上のチャネルは、前記放熱部品の前記第1の側から前記放熱部品の第2の側へと、そして前記放熱部品の前記後部から前記放熱部品の前部へと、前記放熱部品の内部を通る空気流路を案内するように構成されているシステム。
  27. 筐体と、
    前記筐体の天井部の温風ポートを介して前記筐体内から温かい空気を受け取り、前記温かい空気を冷却して冷却された空気を生成し、前記筐体の床に向かって前記筐体内へと延びる冷風ダクトを介して前記筐体に前記冷却された空気を供給するように構成された空気冷却システムであって、前記冷風ダクトは、前記床から前記天井部までの距離の40%から60%の範囲内で前記筐体の前記床の上方に設けられた出口を有する、空気冷却システムと、
    前記筐体内に配置されたラックであって、前記筐体の第1の側に沿って配置された第1のラックの列と、前記筐体の第2の側に沿って配置された第2のラックの列とを有し、各前記ラックが、筐体側部にそれぞれ隣接した空気プレナムと、空間領域に面する前部とを有する、ラックと、
    を備え、
    各前記ラックは、
    (i)前記ラックに設置されたスタック配列の少なくとも3つのバッテリ部品と、
    (ii)前記ラックの後面開口部に設けられて、前記ラック内の各前記バッテリ部品の後部に沿って空気チャネルを形成している空気プレナムと、
    (iii)前記ラックの底部に配置された送風装置であって、前記空間領域から空気を吸引し、前記空気プレナムへと前記空気を送ることで、前記空気プレナムを加圧するように構成された送風装置と、
    を有し、
    スタック配列のバッテリ部品は、各前記バッテリ部品の前記後部の加圧された前記空気プレナムから各前記バッテリ部品の前部へと、そして前記ラックの列の間の前記空間領域への空気流を促進するように構成されており、
    前記冷風ダクトは、当該冷風ダクト内を流れる前記冷却された空気を、前記筐体の天井部に位置する前記温かい空気から分離できるように、かつ前記冷却された空気を前記筐体の前記床へと放出するように構成され、
    各前記ラックの前記底部に配置された送風装置によって、前記筐体の前記床から前記冷却された空気を吸引し、当該冷却された空気をそれぞれの前記空気プレナムへと送るように構成されている、
    バッテリ部品冷却用のシステム。
JP2023062947A 2017-01-03 2023-04-07 筐体内に配置された部品を冷却するシステム Active JP7585380B2 (ja)

Applications Claiming Priority (4)

Application Number Priority Date Filing Date Title
US15/397,256 2017-01-03
US15/397,256 US11978875B2 (en) 2017-01-03 2017-01-03 System for cooling components arranged within an enclosure
PCT/US2017/066952 WO2018128783A1 (en) 2017-01-03 2017-12-18 A system for cooling components arranged within an enclosure
JP2019536221A JP7261161B2 (ja) 2017-01-03 2017-12-18 筐体内に配置された部品を冷却するシステム

Related Parent Applications (1)

Application Number Title Priority Date Filing Date
JP2019536221A Division JP7261161B2 (ja) 2017-01-03 2017-12-18 筐体内に配置された部品を冷却するシステム

Publications (2)

Publication Number Publication Date
JP2023090735A JP2023090735A (ja) 2023-06-29
JP7585380B2 true JP7585380B2 (ja) 2024-11-18

Family

ID=61007793

Family Applications (2)

Application Number Title Priority Date Filing Date
JP2019536221A Active JP7261161B2 (ja) 2017-01-03 2017-12-18 筐体内に配置された部品を冷却するシステム
JP2023062947A Active JP7585380B2 (ja) 2017-01-03 2023-04-07 筐体内に配置された部品を冷却するシステム

Family Applications Before (1)

Application Number Title Priority Date Filing Date
JP2019536221A Active JP7261161B2 (ja) 2017-01-03 2017-12-18 筐体内に配置された部品を冷却するシステム

Country Status (11)

Country Link
US (2) US11978875B2 (ja)
EP (1) EP3545733B1 (ja)
JP (2) JP7261161B2 (ja)
KR (1) KR102579774B1 (ja)
CN (1) CN110235535A (ja)
ES (1) ES3032617T3 (ja)
HR (1) HRP20250854T1 (ja)
HU (1) HUE072295T2 (ja)
PL (1) PL3545733T3 (ja)
RS (1) RS67010B1 (ja)
WO (1) WO2018128783A1 (ja)

Families Citing this family (13)

* Cited by examiner, † Cited by third party
Publication number Priority date Publication date Assignee Title
US10993353B2 (en) * 2014-09-29 2021-04-27 Hewlett Packard Enterprise Development Lp Fan controlled ambient air cooling of equipment in a controlled airflow environment
WO2017017922A1 (ja) * 2015-07-24 2017-02-02 パナソニックIpマネジメント株式会社 温度調和ユニット、温度調和システム、車両
US10736231B2 (en) * 2016-06-14 2020-08-04 Dell Products L.P. Modular data center with passively-cooled utility module
FR3055983A1 (fr) * 2016-09-14 2018-03-16 Vernet Dispositif de regulation thermostatique d'un fluide
KR102212034B1 (ko) * 2018-12-13 2021-02-04 보성파워텍 주식회사 에너지 저장 시스템이 적용된 컨테이너
US12100823B2 (en) * 2019-08-09 2024-09-24 Kabushiki Kaisha Toshiba Cooling system
WO2021226011A1 (en) * 2020-05-04 2021-11-11 Fluence Energy, Llc Energy storage system with removable, adjustable, and lightweight plenums
KR102861151B1 (ko) * 2020-10-27 2025-09-16 주식회사 엘지에너지솔루션 배터리 랙 및 이러한 배터리 랙을 포함하는 전력 저장 장치
CN112670617A (zh) * 2020-12-23 2021-04-16 林玉珍 一种新能源电池管理用散热机构
EP4117406A4 (en) * 2021-04-13 2023-06-21 Contemporary Amperex Technology Co., Limited FAN ASSEMBLY, POWER SUPPLY DEVICE AND METHOD OF MANUFACTURING FOR POWER SUPPLY DEVICE
CN113471574B (zh) * 2021-09-02 2022-01-04 深圳联钜自控科技有限公司 一种温度控制装置及方法
CN216698514U (zh) 2021-09-26 2022-06-07 华为数字能源技术有限公司 储能系统
TWI805035B (zh) * 2021-10-20 2023-06-11 利佳興業股份有限公司 具有散熱均溫系統的儲能櫃

Citations (3)

* Cited by examiner, † Cited by third party
Publication number Priority date Publication date Assignee Title
JP2010032174A (ja) 2008-07-31 2010-02-12 Hitachi Ltd 冷却システム及び電子装置
JP2013128143A (ja) 2007-06-04 2013-06-27 Yahoo Inc サーバファーム冷却システムのための冷気列封入
JP2015125577A (ja) 2013-12-26 2015-07-06 株式会社日立システムズ サーバ冷却設備

Family Cites Families (34)

* Cited by examiner, † Cited by third party
Publication number Priority date Publication date Assignee Title
JP2623742B2 (ja) 1988-08-16 1997-06-25 日本電気株式会社 異常共振防止プリント基板
JPH0252493U (ja) * 1988-10-07 1990-04-16
US6330925B1 (en) * 1997-01-31 2001-12-18 Ovonic Battery Company, Inc. Hybrid electric vehicle incorporating an integrated propulsion system
JP3844839B2 (ja) 1997-03-07 2006-11-15 ヤンマー株式会社 V型ディーゼルエンジン
US6034873A (en) 1998-06-02 2000-03-07 Ericsson Inc System and method for separating air flows in a cooling system
US20020100579A1 (en) 2001-01-31 2002-08-01 Timo Heikkila Cooling an apparatus cabinet
FR2831019B1 (fr) 2001-10-12 2004-07-09 Legrand Sa Armoire refrigeree pour appareillage electrique ou electronique, comportant un circuit de ventilation perfectionne
JP4422935B2 (ja) 2001-11-06 2010-03-03 三菱電機株式会社 空調システム
JP3842631B2 (ja) * 2001-11-30 2006-11-08 高砂熱学工業株式会社 通信・情報処理機器室等の空調システム
US6628520B2 (en) 2002-02-06 2003-09-30 Hewlett-Packard Development Company, L.P. Method, apparatus, and system for cooling electronic components
JP4314044B2 (ja) * 2003-03-18 2009-08-12 パナソニックEvエナジー株式会社 電池パック
US7508663B2 (en) 2003-12-29 2009-03-24 Rackable Systems, Inc. Computer rack cooling system with variable airflow impedance
JP4922943B2 (ja) 2004-11-14 2012-04-25 リーバート・コーポレイシヨン 電子部品筐体冷却システムおよび方法
ITPD20040303A1 (it) 2004-11-30 2005-02-28 Liebert Hiross Spa Apparecchiatura di condizionamento particolarmente per racks per strumenti elettrici, elettronici, di telecomunicazioni o simili
US7438124B2 (en) 2005-10-04 2008-10-21 Delphi Technologies, Inc. Evaporative cooling system for a data-communications cabinet
WO2007139560A1 (en) 2006-06-01 2007-12-06 Google, Inc. Modular computing environments
US20070283710A1 (en) 2006-06-12 2007-12-13 Sun Microsystems, Inc. Method and system for cooling electronic equipment
US7857688B1 (en) 2006-12-11 2010-12-28 Emc Corporation Electrical cabinet having multi-channel exhaust with bleeding vents to alleviate back-pressure
US8763414B2 (en) 2008-03-31 2014-07-01 Google Inc. Warm floor data center
JP2010061446A (ja) 2008-09-04 2010-03-18 Gac Corp サーバークーラーシステム
JP2009133617A (ja) 2009-03-11 2009-06-18 Takasago Thermal Eng Co Ltd 空調システム
TW201115082A (en) 2009-10-16 2011-05-01 Law Chain Comp Technology Co Ltd Method for improving energy saving of air condition of equipment room
JP5496604B2 (ja) * 2009-10-30 2014-05-21 三洋電機株式会社 電源装置及びこれを備える車両
CN102131369B (zh) 2010-01-20 2014-09-17 华为技术有限公司 一种集装箱式数据中心
TW201210433A (en) 2010-08-18 2012-03-01 Hon Hai Prec Ind Co Ltd Computer server cabinet
TW201214096A (en) 2010-09-28 2012-04-01 Hon Hai Prec Ind Co Ltd Container data center and power generation system thereof
TW201222219A (en) 2010-11-25 2012-06-01 Hon Hai Prec Ind Co Ltd Data center
WO2012075624A1 (zh) 2010-12-07 2012-06-14 北京纳源丰科技发展有限公司 一种制冷一体化机柜
US20140011059A1 (en) * 2011-03-31 2014-01-09 Hiroyuki Hashimoto Power supply device and vehicle equipped therewith
KR102028919B1 (ko) * 2012-06-08 2019-10-07 에스케이이노베이션 주식회사 배터리 팩
WO2014158857A1 (en) * 2013-03-14 2014-10-02 Allison Transmission, Inc. Fluid bath cooled energy storage system
JP6382067B2 (ja) 2014-10-27 2018-08-29 株式会社協豊製作所 電池パック
WO2016196968A1 (en) 2015-06-04 2016-12-08 Nec Energy Solutions, Inc. Utilizing a load for optimizing energy storage size and operation in power systems regulation applications
CN205029550U (zh) * 2015-10-23 2016-02-10 北京天诚同创电气有限公司 变流器及风力发电机组

Patent Citations (3)

* Cited by examiner, † Cited by third party
Publication number Priority date Publication date Assignee Title
JP2013128143A (ja) 2007-06-04 2013-06-27 Yahoo Inc サーバファーム冷却システムのための冷気列封入
JP2010032174A (ja) 2008-07-31 2010-02-12 Hitachi Ltd 冷却システム及び電子装置
JP2015125577A (ja) 2013-12-26 2015-07-06 株式会社日立システムズ サーバ冷却設備

Also Published As

Publication number Publication date
US20240291068A1 (en) 2024-08-29
EP3545733A1 (en) 2019-10-02
JP2020504885A (ja) 2020-02-13
JP2023090735A (ja) 2023-06-29
EP3545733B1 (en) 2025-05-14
WO2018128783A1 (en) 2018-07-12
HUE072295T2 (hu) 2025-11-28
PL3545733T3 (pl) 2025-10-06
HRP20250854T1 (hr) 2025-09-26
EP3545733C0 (en) 2025-05-14
US20180191043A1 (en) 2018-07-05
US12444786B2 (en) 2025-10-14
ES3032617T3 (en) 2025-07-22
JP7261161B2 (ja) 2023-04-19
US11978875B2 (en) 2024-05-07
KR20190102217A (ko) 2019-09-03
CN110235535A (zh) 2019-09-13
RS67010B1 (sr) 2025-08-29
KR102579774B1 (ko) 2023-09-19

Similar Documents

Publication Publication Date Title
JP7585380B2 (ja) 筐体内に配置された部品を冷却するシステム
JP4212625B2 (ja) 機器及びネットワークのキャビネット冷却システム、及び、機器及びネットワークのキャビネット冷却方法
US11927363B2 (en) Air curtain containment system and assembly for data centers
US20090061755A1 (en) Intake Duct
US7349209B2 (en) Apparatus and method for facilitating cooling of an electronics rack by mixing cooler air flow with re-circulating air flow in a re-circulation region
US10701830B1 (en) Data center cooling device
US7184267B2 (en) Longitudinally cooled electronic assembly
JP2020504885A5 (ja)
US7236362B2 (en) Minimization of cooling air preheat for maximum packaging density
EP2071910B1 (en) Method of heat dissipating for plug-in boxes in cabinet and air-guiding apparatus
US20120100795A1 (en) Air-conditioning system
US20190357390A1 (en) Fan apparatuses for chassis airflow
US20190357380A1 (en) Apparatuses to vent air therethrough
CN216162109U (zh) 激光器冷却装置及激光器设备
GB2387716A (en) Cooling electrical circuitry
US20070082598A1 (en) Module frame for receiving electronic plug-in modules
CN113347849B (zh) 用于电子设备的横流式空气冷却模块
US20190343024A1 (en) Mini-split hvac ducted return and supply system
TW201238462A (en) Electronic equipment
HK1213418A1 (zh) 数据中心模块、数据中心冷却系统及方法

Legal Events

Date Code Title Description
A521 Request for written amendment filed

Free format text: JAPANESE INTERMEDIATE CODE: A523

Effective date: 20230407

A621 Written request for application examination

Free format text: JAPANESE INTERMEDIATE CODE: A621

Effective date: 20230407

A131 Notification of reasons for refusal

Free format text: JAPANESE INTERMEDIATE CODE: A131

Effective date: 20240514

A521 Request for written amendment filed

Free format text: JAPANESE INTERMEDIATE CODE: A523

Effective date: 20240808

TRDD Decision of grant or rejection written
A01 Written decision to grant a patent or to grant a registration (utility model)

Free format text: JAPANESE INTERMEDIATE CODE: A01

Effective date: 20241008

A61 First payment of annual fees (during grant procedure)

Free format text: JAPANESE INTERMEDIATE CODE: A61

Effective date: 20241106

R150 Certificate of patent or registration of utility model

Ref document number: 7585380

Country of ref document: JP

Free format text: JAPANESE INTERMEDIATE CODE: R150